RU65380U1 - Цервикальный электрод-наконечник - Google Patents
Цервикальный электрод-наконечник Download PDFInfo
- Publication number
- RU65380U1 RU65380U1 RU2007113462/22U RU2007113462U RU65380U1 RU 65380 U1 RU65380 U1 RU 65380U1 RU 2007113462/22 U RU2007113462/22 U RU 2007113462/22U RU 2007113462 U RU2007113462 U RU 2007113462U RU 65380 U1 RU65380 U1 RU 65380U1
- Authority
- RU
- Russia
- Prior art keywords
- cervical
- tip
- tube
- distal end
- central channel
- Prior art date
Links
Landscapes
- Percussion Or Vibration Massage (AREA)
- Electrotherapy Devices (AREA)
Abstract
Полезная модель относится к медицине, а именно к гинекологии и может быть использована в гинекологическом, физиотерапевтическом отделениях и кабинетах больниц, поликлиник, санаториев, медицинских центров.
Изделие предназначено для применения в комплексном лечении хронического обструктивного (кистозного) цервицита.
Автором разработан цервикальный электрод-наконечник для одновременного проведения электростимуляции шейки матки и эндоцервикального вибромассажа с вакуумной аспирацией содержимого шеечного канала.
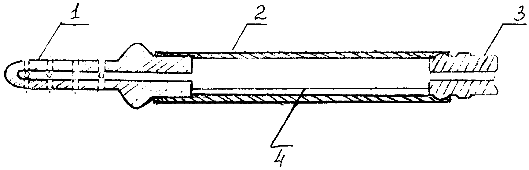
Он включает в себя цервикальный наконечник (1), который выполнен цилиндрическим с гладкозакругленным дистальным концом. По оси цервикального наконечника расположен центральный канал, на боковой поверхности дистального конца расположены радиальные отверстия, сообщающиеся с центральным каналом, а в средней части имеется циркулярно расположенный конический выступ-ограничитель. Цервикальный наконечник соединен трубкой, изготовленной из диэлектрического гибкого материала, например, из хлорвинила (2), со штуцером (3). Последний соединен с цервикальным наконечником внутри трубки проводом из токопроводного материала (4).
Description
Полезная модель относится к медицине, а именно к гинекологии и может быть использована в гинекологическом, физиотерапевтическом отделениях и кабинетах больниц, поликлиник, санаториев, медицинских центров.
Изделие предназначено для применения в комплексном лечении хронического обструктивного (кистозного) цервицита.
В настоящее время в комплексном лечении ряда гинекологических заболеваний применяется физиотерапевтический метод электростимуляции шейки матки. Он показан при дисменорее, гипофункции яичников (гипогонадизме), генитальном инфантилизме, дисфункциональных маточных кровотечениях.
Вышеуказанные патологические состояния нередко сочетаются с хроническим воспалительными болезнями шейки матки (цервицитом) и воспалительными заболеваниями органов малого таза (ВЗОМТ). На практике отсутствуют устройства для комбинированного физиотерапевтического воздействия, включающего электростимуляцию шейки матки и эндоцервикальное дренирование при обструктивном (кистозном) хроническом цервиците (ХЦ).
ХЦ не менее чем в 60% случаев имеет обструктивную форму, т.е. сопровождается образованием кистоподобных микрополостей (КПМ) в эндоцервиксе (данные образования диагностируются трансвагинальным ультразвуковым исследованием - ТВУЗИ). Лечение обструктивного ХЦ, особенно при сочетании его с гипогонадизмом, представляет значительные трудности.
Нами ранее был разработан цервикальный наконечник для осуществления эндоцервикального вибромассажа и вакуум-аспирации содержимого шеечного канала (входит в комплект к Виброаспиратору цервикальному ВАЦ, свидетельство на полезную модель №21345, регистрационное удостоверение МЗ СР РФ ФС 022Ф2004/1073-05 от
11.01.2005), но его конструкция не позволяет проводить электростимуляцию шейки матки.
Автором разработан цервикальный электрод-наконечник (ЦЭН) для одновременного проведения электростимуляции шейки матки и эндоцервикального вибромассажа с вакуумной аспирацией содержимого шеечного канала.
Предлагаемое устройство изображено на фигуре 1, где:
1. Цервикальный наконечник (ЦН), например, из набора ВАЦ
2. Сменная соединительная трубка
3. Штуцер
4. Провод из токопроводного материала
Он включает в себя ЦН из токопроводного металла (1), который выполнен цилиндрическим с гладкозакругленным дистальным концом. По оси ЦН расположен центральный канал, на боковой поверхности дистального конца расположены радиальные отверстия, сообщающиеся с центральным каналом, а в средней части имеется циркулярно расположенный конический выступ-ограничитель. ЦН соединен трубкой, изготовленной из диэлектрического гибкого материала, например, из хлорвинила (2), со штуцером из токопроводного металла (3). Последний соединен с ЦН внутри трубки проводом из токопроводного материала (4).
Устройство используется следующим образом:
Положение пациентки при выполнении процедуры - лежа на гинекологическом кресле. Под крестец подкладывается наружный электрод, смазанный эхогелем. Половые органы и шейка матки, выведенная с помощью зеркала Куско, обрабатываются стерильным тампоном, смоченным дезинфицирующим раствором.
В цервикальный канал вводится стерильный ЦН, например, из набора ВАЦ, надетый на одноразовый шприц «Луэр» 20 мл с 3% раствором перекиси водорода. Производится орошение эндоцервикса, шприц с ЦН вынимается, затем стерильный
ЦЭН, вводится в канал шейки матки, фиксируется специальным держателем, а к штуцеру крепится пневмошланг аспиратора. Диаметр ЦН подбирается с учетом размера наружного зева, чтобы повысить герметичность в канале шейки матки. В работе использовали ЦН с диаметром рабочей части 3 мм, 4 мм, 5 мм, 6 мм. Штуцер ЦЭН соединяется зажимом типа «крокодил» с кабелем, подключенным к блоку электростимуляции аппарата АЭ-01 - «Санос» и наружному электроду. Затем начинают процедуру эндоцервикального вибромассажа и вакуум-аспирации содержимого цервикального канала в импульсном режиме и электростимуляции. При воздействии на шейку в этом режиме происходит дозированное дренирование и вакуум-вибромассаж эндоцервикса за счет подключения пневмотракта вакуумного насоса аппарата к штуцеру ЦЭН. Амплитуда электростимуляции устанавливается индивидуально в соответствии с принятыми методиками, используемыми в клинической практике.
Аспиратор обеспечивает плавно регулируемую величину разрежения в ЦН в пределах от 20кПа до 40 кПа. Время пневмоимпульса разрежения, например - 2 секунды, паузы - 1 секунда. Вибрация ЦН возникает за счет работы воздушного клапана во время пневмоимпульса. Длительность разрежения и пауз, а также амплитуда электростимуляции регулируется электронным блоком управления аппарата.
Использование предлагаемого устройства отличается атравматичностью, простотой реализации и полностью совместимо с другими методами лечения. Применение данного электрода-наконечника для одновременной электростимуляции шейки матки и эндоцервикального вибромассажа с вакуумной аспирацией содержимого шеечного канала у 40 больных обструктивным (кистозным) цервицитом позволило сократить сроки и повысить эффективность комплексного лечения.
Побочных явлений и осложнений не отмечено.
Claims (1)
- Цервикальный электрод-наконечник, состоящий из цервикального наконечника, выполненного цилиндрическим с гладкозакругленным дистальным концом с радиальньши отверстиями на его поверхности, сообщающимися с центральным каналом, а в средней части циркулярно расположен конический выступ-ограничитель, причем проксимальный отдел наконечника соединен с гибкой трубкой из диэлектрика, отличающийся тем, что на проксимальном конце трубки имеется металлический токопроводный штуцер, соединенный с цервикальным наконечником проводником, расположенным внутри трубки.
Priority Applications (1)
| Application Number | Priority Date | Filing Date | Title |
|---|---|---|---|
| RU2007113462/22U RU65380U1 (ru) | 2007-04-10 | 2007-04-10 | Цервикальный электрод-наконечник |
Applications Claiming Priority (1)
| Application Number | Priority Date | Filing Date | Title |
|---|---|---|---|
| RU2007113462/22U RU65380U1 (ru) | 2007-04-10 | 2007-04-10 | Цервикальный электрод-наконечник |
Publications (1)
| Publication Number | Publication Date |
|---|---|
| RU65380U1 true RU65380U1 (ru) | 2007-08-10 |
Family
ID=38511017
Family Applications (1)
| Application Number | Title | Priority Date | Filing Date |
|---|---|---|---|
| RU2007113462/22U RU65380U1 (ru) | 2007-04-10 | 2007-04-10 | Цервикальный электрод-наконечник |
Country Status (1)
| Country | Link |
|---|---|
| RU (1) | RU65380U1 (ru) |
Cited By (1)
| Publication number | Priority date | Publication date | Assignee | Title |
|---|---|---|---|---|
| RU2429792C1 (ru) * | 2010-04-21 | 2011-09-27 | Муниципальное учреждение здравоохранения "1-я Городская клиническая больница им. Ю.А. Гордеева" комитета здравоохранения администрации г. Саратова | Наконечник для вакуумной аспирации полости матки |
-
2007
- 2007-04-10 RU RU2007113462/22U patent/RU65380U1/ru not_active IP Right Cessation
Cited By (1)
| Publication number | Priority date | Publication date | Assignee | Title |
|---|---|---|---|---|
| RU2429792C1 (ru) * | 2010-04-21 | 2011-09-27 | Муниципальное учреждение здравоохранения "1-я Городская клиническая больница им. Ю.А. Гордеева" комитета здравоохранения администрации г. Саратова | Наконечник для вакуумной аспирации полости матки |
Similar Documents
| Publication | Publication Date | Title |
|---|---|---|
| CN102917656B (zh) | 用于微创组织处理的系统 | |
| US20090143649A1 (en) | Speculum for the electropharmacological treatment of vaginal diseases | |
| JP2009541015A (ja) | 超音波による傷の治療装置及び方法 | |
| US11638808B2 (en) | Neovaginal and vaginal health devices | |
| CN205459852U (zh) | 一种新型快速进针穴位埋线器 | |
| JP2011509759A (ja) | 超音波注射器 | |
| RU65380U1 (ru) | Цервикальный электрод-наконечник | |
| RU2537779C2 (ru) | Способ местного лечения воспалительных заболеваний полости матки и устройство для его осуществления | |
| RU116043U1 (ru) | Устройство для пневмокомпрессионно-вакуумной терапии и электростимуляции | |
| RU125853U1 (ru) | Устройство для местного лечения воспалительных заболеваний полости матки | |
| CN110742695A (zh) | 一种可视微创诊疗台车 | |
| RU2749812C2 (ru) | Способ лечения цервицита и хронического эндометрита | |
| CN211325590U (zh) | 一种可视微创诊疗台车 | |
| CN215192519U (zh) | 一种建立神经损伤性勃起功能障碍模型的装置 | |
| RU72854U1 (ru) | Вагинальный наконечник для гинекологического пневмовибромассажа | |
| CN201194824Y (zh) | 腋臭吸切器 | |
| CN108939328B (zh) | 一种变频超声通乳、吸乳系统 | |
| CN209790615U (zh) | 用于经皮电刺激的电针装置 | |
| RU18350U1 (ru) | Электрод для одновременного эндовагинального и эндоцервикального электрофореза | |
| RU21345U1 (ru) | Виброаспиратор цервикальный (вац) | |
| CN110464971A (zh) | 一种前列腺治疗的靶向给药探头 | |
| CN112603576A (zh) | 一种建立神经损伤性勃起功能障碍模型的装置与方法 | |
| RU204450U1 (ru) | Устройство для проведения вакуум-терапии | |
| RU113473U1 (ru) | Пневмоэлектростимулятор (пэс) | |
| CN213697932U (zh) | 一种中医针灸针 |
Legal Events
| Date | Code | Title | Description |
|---|---|---|---|
| QB1K | Licence on use of utility model |
Free format text: LICENCE Effective date: 20120130 |
|
| MM1K | Utility model has become invalid (non-payment of fees) |
Effective date: 20150411 |
