RU59409U1 - CHAIR TREATMENT AND PREVENTIVE - Google Patents
CHAIR TREATMENT AND PREVENTIVE Download PDFInfo
- Publication number
- RU59409U1 RU59409U1 RU2006123928/22U RU2006123928U RU59409U1 RU 59409 U1 RU59409 U1 RU 59409U1 RU 2006123928/22 U RU2006123928/22 U RU 2006123928/22U RU 2006123928 U RU2006123928 U RU 2006123928U RU 59409 U1 RU59409 U1 RU 59409U1
- Authority
- RU
- Russia
- Prior art keywords
- backrest
- armrests
- chair
- treatment
- home
- Prior art date
Links
- 230000003449 preventive effect Effects 0.000 title abstract 2
- 230000007246 mechanism Effects 0.000 claims abstract description 12
- 210000004705 lumbosacral region Anatomy 0.000 claims description 2
- 238000004519 manufacturing process Methods 0.000 abstract description 4
- 230000006837 decompression Effects 0.000 abstract description 3
- 230000002265 prevention Effects 0.000 abstract description 3
- 230000003068 static effect Effects 0.000 abstract description 2
- 230000001225 therapeutic effect Effects 0.000 abstract description 2
- 201000010099 disease Diseases 0.000 abstract 1
- 208000037265 diseases, disorders, signs and symptoms Diseases 0.000 abstract 1
- 230000000694 effects Effects 0.000 description 2
- 208000019775 Back disease Diseases 0.000 description 1
- 208000017667 Chronic Disease Diseases 0.000 description 1
- 201000009859 Osteochondrosis Diseases 0.000 description 1
- 208000020339 Spinal injury Diseases 0.000 description 1
- 230000002708 enhancing effect Effects 0.000 description 1
- 230000000737 periodic effect Effects 0.000 description 1
- 230000002085 persistent effect Effects 0.000 description 1
- 206010039722 scoliosis Diseases 0.000 description 1
Landscapes
- Accommodation For Nursing Or Treatment Tables (AREA)
- Orthopedics, Nursing, And Contraception (AREA)
Abstract
Полезная модель относится к устройствам профилактики и лечения различных заболеваний спины, для которых прописана статическая или динамическая декомпрессия позвоночного столба и может применяться в медицинских учреждениях, домашних условиях и в качестве офисной мебели.The utility model relates to devices for the prevention and treatment of various diseases of the back, for which static or dynamic decompression of the spinal column is prescribed and can be used in medical institutions, at home and as office furniture.
Задачей полезной модели является разработка универсального и простого в изготовлении кресла, позволяющего осуществлять профилактическую и лечебную гимнастику, направленную на растяжение позвоночника в домашних условиях. Поставленная задача решается конструкцией лечебно-профилактического кресла состоящего из регулируемого по высоте, вращающегося сидения с возможностью менять угол наклона в любую сторону, подвижной по вертикали спинки, выгнутой в районе поясницы, подголовника, механизмов подъема и подлокотников, установленных на П-образной стойке с изменяющимся углом наклона и закрепленной на основании, отличающегося тем, что спинка снабжена подмышечными ложементами, а в подлокотники встроены механизмы привода спинки.The objective of the utility model is the development of a universal and easy-to-manufacture chair, which allows for preventive and therapeutic exercises aimed at stretching the spine at home. The problem is solved by the design of the treatment and prevention chair consisting of a height-adjustable, rotating seat with the ability to change the angle of inclination in any direction, the vertical backrest curved in the region of the lower back, head restraint, lifting mechanisms and armrests mounted on a U-shaped rack with a variable angle of inclination and fixed on the base, characterized in that the backrest is equipped with axillary tool holders, and backrest drive mechanisms are integrated into the armrests.
Description
Полезная модель относится к устройствам для профилактики и лечения заболеваний спины человека типа остеохондроза, сколиоза и может применяться в медицинских учреждениях, домашних условиях и в качестве офисной мебели.The utility model relates to devices for the prevention and treatment of human back diseases such as osteochondrosis, scoliosis and can be used in medical institutions, at home and as office furniture.
Известно лечебно-профилактическое кресло (1), состоящее из сиденья, установленного на телескопической стойке с опорой, спинки с изогнутой опорой, закрепленной на сидении, и подлокотников, в него дополнительно введены торсионный узел и рама для крепления ног. Спинка выполнена выпуклой, снабжена регулируемым подголовником. Изогнутая опора спинки выполнена деформируемой по кривизне позвоночника и связана посредством торсионного узла, к которому прикреплен кронштейн, с телескопической стойкой. Подлокотники закреплены на спинке кресла и выполнены укороченными. Рама для ног закреплена на оси жестко установленной сзади спинки кресла и выполнена с возможностью поворота относительно этой оси, в сторону сиденья. Сиденье связано с телескопической стойкой с помощью плоского шарнира с ограничителем и имеет возможность наклона вперед под углом 15°. В результате повышается удобство использования и возможности отдыха путем создания периодического "внутреннего" массажа позвоночника за счет покачивания сиденья на плоском шарнире и выполнения торсионных движений бедрами без прерывания основной работы человека. Достигается возможность кратковременного отдыха за столом с разгибанием спины в обратном направлении и фиксации рук, ног и головы в расслабленном состоянии. Однако, описанное устройство не позволяет его Known medical chair (1), consisting of a seat mounted on a telescopic stand with a support, a backrest with a curved support mounted on the seat, and armrests, it additionally introduced a torsion unit and a frame for attaching legs. The back is convex, equipped with an adjustable headrest. The curved support of the back is made deformable along the curvature of the spine and is connected through a torsion unit to which the bracket is attached, with a telescopic stand. The armrests are mounted on the back of the chair and are made shortened. The frame for the legs is fixed on the axis of a rigidly mounted rear seat back and is made with the possibility of rotation about this axis, towards the seat. The seat is connected to the telescopic stand using a flat hinge with a limiter and has the ability to tilt forward at an angle of 15 °. As a result, the convenience of use and the possibility of relaxation is increased by creating a periodic “internal” massage of the spine by swaying the seat on a flat hinge and performing torsion movements with the hips without interrupting the main work of the person. The opportunity is achieved for a short rest at the table with back extension in the opposite direction and fixing the arms, legs and head in a relaxed state. However, the described device does not allow it
использовать при лечении травм позвоночника, устойчивых хронических заболеваниях.use in the treatment of spinal injuries, persistent chronic diseases.
Известны многочисленные дорогостоящие тренажеры, позволяющие достигнуть эффекта декомпрессии позвоночника, устанавливаемые обычно в специализированных учреждениях.Numerous expensive simulators are known to achieve the effect of decompression of the spine, usually installed in specialized institutions.
Задачей полезной модели является разработка универсального и простого в изготовлении кресла, позволяющего осуществлять лечебную гимнастику, направленную на растяжение позвоночника, в домашних условиях.The objective of the utility model is to develop a versatile and easy-to-manufacture chair, which allows for therapeutic exercises aimed at stretching the spine at home.
Поставленная задача решается конструкцией кресла лечебно-профилактического, состоящего из сиденья с подвижной спинкой с разгрузочной выгнутой линией в районе поясницы, механизмами подъема и подлокотниками, подставки для ног, подголовника, установленных на П-образной телескопической стойке, закрепленной на основании, отличающегося тем, что спинка снабжена подмышечными ложементами, а в подлокотниках установлены встроенные в рукоятки подлокотников механизмы привода спинки.The problem is solved by the design of a medical chair, consisting of a seat with a movable backrest with a discharge curved line in the lumbar region, lifting mechanisms and armrests, footrests, head restraints mounted on a U-shaped telescopic rack fixed to the base, characterized in that the back is equipped with axillary lodges, and backrest drive mechanisms integrated into the arms of the armrests are installed in the armrests.
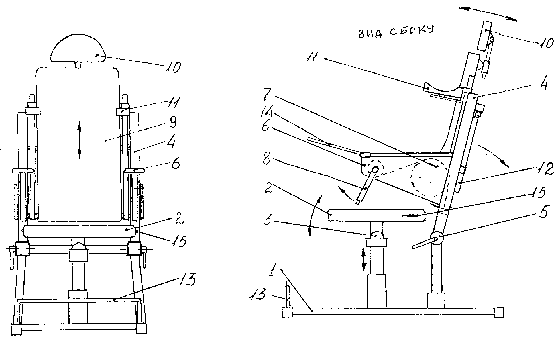
Конструкция кресла представлена на рисунке 1, где:The design of the chair is shown in Figure 1, where:
1 - основание, 2 - сиденье, 3 - шарнир, 4 - П-образная стойка, 5 - стопорное устройство, 6 - подлокотники, 7 - механизм подъема спинки. 8 - рукоять привода механизма, 9 - спинка кресла, 10 - подголовник. 11 - ложементы подмышечные, 12 - упор откидывающийся, 13 - подставка для ног, 14 - столик съемный, 15 - петли для ремня.1 - base, 2 - seat, 3 - hinge, 4 - U-shaped rack, 5 - locking device, 6 - armrests, 7 - backrest lifting mechanism. 8 - the handle of the drive mechanism, 9 - the back of the chair, 10 - headrest. 11 - axillary tool holders, 12 - reclining stop, 13 - footrest, 14 - removable table, 15 - belt loops.
Основание 1 состоит из двух продольных и двух поперечных деталей, причем первые - коробчатого сечения, а вторые выполнены в виде швеллеров, на которые крепятся основание сиденья 2 и стойки 4.The base 1 consists of two longitudinal and two transverse parts, the first of which is box-shaped, and the second are made in the form of channels, on which the base of the seat 2 and the rack 4 are mounted.
Сиденье 2 имеет верхний шарнир для возможности наклона и вращения и ремень с защелкой для удержания тела. Сиденье регулируется по вертикали.The seat 2 has an upper hinge for tilting and rotating, and a latch belt for holding the body. The seat is adjustable vertically.
П-образная стойка 4 является основанием для крепления подвижной спинки 9, и с ее внутренней стороны выполнены вертикальные вырезы, в которые входят штыри спинки 9.U-shaped rack 4 is the basis for mounting the movable backrest 9, and vertical cutouts are made on its inside, which include the pins of the backrest 9.
Для изменения угла наклона спинки 9 предусмотрено поворотное устройство 5, которое расположено на одном уровне с шарниром сиденья 9. Для жесткости стойка 4 стянута двумя поперечинами, на верхней из которых крепится откидывающийся упор 12.To change the angle of inclination of the backrest 9, a rotary device 5 is provided, which is located flush with the hinge of the seat 9. For stiffness, the strut 4 is pulled together by two cross members, on the upper of which a reclining stop 12 is attached.
Основание сойки 4 выполнено разборным.The base of the jay 4 is made collapsible.
Подлокотники 6 со встроенными механизмами привода спинки 7 установлены на вертикальных частях стойки 4 и могут регулироваться по высоте, а также имеют спереди узел крепления переносного столика для книг и тетрадей.The armrests 6 with built-in mechanisms for driving the backrest 7 are mounted on the vertical parts of the rack 4 and can be height-adjustable, and also have a front mount unit for the portable table for books and notebooks.
Через подмышечные ложементы 11 спинки 9 передается усилие растяжения. К каркасу спинки 9 прикреплены четыре пальца, которые входят в боковые стойки, при этом нижние два пальца имеют узлы для закрепления тросов, вывешивающих спинку кресла (на рисунке не показано).Through axillary lodgements 11 of the back 9, the tensile force is transmitted. Four fingers are attached to the backrest frame 9, which are included in the side racks, while the lower two fingers have nodes for securing the cables hanging the back of the chair (not shown in the figure).
Ложементы 11 регулируются по высоте, в продольном направлении и вращаются. Во внерабочем состоянии они либо снимаются, либо откидываются.The lodges 11 are adjustable in height, in the longitudinal direction and rotate. Out of service, they are either removed or reclined.
Механизм привода спинки 7 вмонтирован в подлокотники и представляет два отдельных привода, синхронно воздействующих на спинку 9.The drive mechanism of the backrest 7 is mounted in the armrests and represents two separate drives synchronously acting on the backrest 9.
Регулировка подъема, а значит, и усилие растяжения обеспечивает фиксатор храпового колеса, приводимый в действие кнопкой, установленной на рукоятке привода механизма 8.The adjustment of the lift, and hence the tensile force, is provided by the ratchet wheel lock actuated by a button mounted on the handle of the drive mechanism 8.
При статическом воздействии на позвоночник рукоятки 8 стопорятся.With a static effect on the spine, the arms 8 lock.
Производя движения рукоятками вперед-назад создаются динамические напряжения на позвоночник, усиливая декомпрессионный эффект.By making movements with the arms back and forth, dynamic stresses are created on the spine, enhancing the decompression effect.
Благодаря возможности регулировать опорные элементы кресла, оно является универсальным и подходит под индивидуальное строение тела любого человека. Кресло можно устанавливать дома, на работе, в медицинских и спортивных учреждениях.Due to the ability to adjust the supporting elements of the chair, it is universal and fits the individual body structure of any person. The chair can be installed at home, at work, in medical and sports facilities.
Применяемые в кресле механизмы стандартны и просты в изготовлении, что позволяет быстро наладить его производство по оптимальной себестоимостиThe mechanisms used in the chair are standard and easy to manufacture, which allows you to quickly establish its production at the optimal cost
Использованная литература:References:
1. Патент РФ №2213549, 2003 г.1. RF patent No. 2213549, 2003
Claims (1)
Priority Applications (1)
| Application Number | Priority Date | Filing Date | Title |
|---|---|---|---|
| RU2006123928/22U RU59409U1 (en) | 2006-07-04 | 2006-07-04 | CHAIR TREATMENT AND PREVENTIVE |
Applications Claiming Priority (1)
| Application Number | Priority Date | Filing Date | Title |
|---|---|---|---|
| RU2006123928/22U RU59409U1 (en) | 2006-07-04 | 2006-07-04 | CHAIR TREATMENT AND PREVENTIVE |
Publications (1)
| Publication Number | Publication Date |
|---|---|
| RU59409U1 true RU59409U1 (en) | 2006-12-27 |
Family
ID=37760154
Family Applications (1)
| Application Number | Title | Priority Date | Filing Date |
|---|---|---|---|
| RU2006123928/22U RU59409U1 (en) | 2006-07-04 | 2006-07-04 | CHAIR TREATMENT AND PREVENTIVE |
Country Status (1)
| Country | Link |
|---|---|
| RU (1) | RU59409U1 (en) |
Cited By (2)
| Publication number | Priority date | Publication date | Assignee | Title |
|---|---|---|---|---|
| WO2017082763A1 (en) * | 2015-11-13 | 2017-05-18 | Николай Федорович ОБЪЕДКОВ | Multifunctional wheelchair |
| RU222826U1 (en) * | 2023-08-31 | 2024-01-18 | Общество с ограниченной ответственностью "ВИРА" (ООО "ВИРА") | Movable kinesitherapy simulator (TCRP) |
-
2006
- 2006-07-04 RU RU2006123928/22U patent/RU59409U1/en not_active IP Right Cessation
Cited By (6)
| Publication number | Priority date | Publication date | Assignee | Title |
|---|---|---|---|---|
| WO2017082763A1 (en) * | 2015-11-13 | 2017-05-18 | Николай Федорович ОБЪЕДКОВ | Multifunctional wheelchair |
| RU2651228C2 (en) * | 2015-11-13 | 2018-04-18 | Николай Фёдорович Объедков | Multi-functional wheel chair |
| RU2817922C1 (en) * | 2023-05-25 | 2024-04-23 | Ашот Арменакович Етумян | Mobile training complex for social and medical adaptation |
| RU222826U1 (en) * | 2023-08-31 | 2024-01-18 | Общество с ограниченной ответственностью "ВИРА" (ООО "ВИРА") | Movable kinesitherapy simulator (TCRP) |
| RU230209U1 (en) * | 2024-06-07 | 2024-11-21 | Максим Викторович Сысоев | BACK SUPPORT WITH ARMRESTS FOR BEDRIDDEN PATIENTS |
| RU232702U1 (en) * | 2024-10-15 | 2025-03-18 | Вадим Валентинович Сергеев | Corrective device for spinal decompression |
Similar Documents
| Publication | Publication Date | Title |
|---|---|---|
| US8801638B2 (en) | Delordosation device | |
| US9585478B1 (en) | Adjustable seating | |
| AU2018418625A1 (en) | Multifunctional wheelchair | |
| CN102160716A (en) | Chair frame with adjustable position of backrest | |
| US3672722A (en) | Invalid chair having adjustable headrest seat and footrest | |
| KR101906672B1 (en) | Chair for stretching of spine and cervical vertebrae | |
| KR20200046600A (en) | move chair | |
| RU59409U1 (en) | CHAIR TREATMENT AND PREVENTIVE | |
| CN211382034U (en) | Spinal traction equipment | |
| CN211301794U (en) | Chair with physiotherapy function | |
| CN209530005U (en) | A kind of Neurology Multifunctional rehabilitation exercise device | |
| CN203723724U (en) | Multifunctional office chair | |
| JP2006101957A (en) | Cervical traction therapy apparatus | |
| RU2213549C1 (en) | Treatment-and-prophylactic armchair | |
| RU170246U1 (en) | OFFICE CHAIR FOR UNLOADING THE SPINE | |
| US20080203803A1 (en) | Lumber Distraction Chair | |
| TWM473848U (en) | Electric handstand machine | |
| RU196658U1 (en) | Device for unloading the musculoskeletal system of a person during work or rest | |
| RU2497427C1 (en) | Orthopaedic chair | |
| WO2002098341A1 (en) | Backrest bracket on bed | |
| RU2290157C2 (en) | Device for reducing negative influence of gravity field of earth on human organism | |
| SU1747068A1 (en) | Device for executing vibrotherapy | |
| RU2844442C1 (en) | Universal device for relaxation | |
| CN222899666U (en) | Health care massage device | |
| CN114948574B (en) | Ophthalmic chair |
Legal Events
| Date | Code | Title | Description |
|---|---|---|---|
| MM1K | Utility model has become invalid (non-payment of fees) |
Effective date: 20090705 |
