RU30964U1 - Боеприпас для гранатомета (варианты) - Google Patents
Боеприпас для гранатомета (варианты) Download PDFInfo
- Publication number
- RU30964U1 RU30964U1 RU2003106237/20U RU2003106237U RU30964U1 RU 30964 U1 RU30964 U1 RU 30964U1 RU 2003106237/20 U RU2003106237/20 U RU 2003106237/20U RU 2003106237 U RU2003106237 U RU 2003106237U RU 30964 U1 RU30964 U1 RU 30964U1
- Authority
- RU
- Russia
- Prior art keywords
- warhead
- combustion chamber
- barrel
- adapter
- propellant powder
- Prior art date
Links
- 238000002485 combustion reaction Methods 0.000 claims description 51
- 239000003380 propellant Substances 0.000 claims description 44
- 239000000843 powder Substances 0.000 claims description 34
- 239000002775 capsule Substances 0.000 claims description 18
- 239000000853 adhesive Substances 0.000 claims description 9
- 230000001070 adhesive effect Effects 0.000 claims description 9
- 238000010304 firing Methods 0.000 claims description 8
- 239000002184 metal Substances 0.000 claims description 7
- 239000000203 mixture Substances 0.000 claims description 7
- 238000006073 displacement reaction Methods 0.000 claims description 4
- 150000001875 compounds Chemical class 0.000 claims 1
- 230000007704 transition Effects 0.000 claims 1
- 239000007789 gas Substances 0.000 description 11
- 238000000926 separation method Methods 0.000 description 5
- 239000012528 membrane Substances 0.000 description 3
- 238000013467 fragmentation Methods 0.000 description 2
- 238000006062 fragmentation reaction Methods 0.000 description 2
- 238000000034 method Methods 0.000 description 2
- 230000005236 sound signal Effects 0.000 description 2
- 238000006243 chemical reaction Methods 0.000 description 1
- 238000010276 construction Methods 0.000 description 1
- 230000006378 damage Effects 0.000 description 1
- 230000000694 effects Effects 0.000 description 1
- 230000005489 elastic deformation Effects 0.000 description 1
- 239000003721 gunpowder Substances 0.000 description 1
- 239000000463 material Substances 0.000 description 1
- 230000013011 mating Effects 0.000 description 1
- 230000035515 penetration Effects 0.000 description 1
Landscapes
- Aiming, Guidance, Guns With A Light Source, Armor, Camouflage, And Targets (AREA)
Description
БОЕПРИПАС ДЛЯ ГРАНАТОМЕТА (ВАРИАНТЫ)
Полезная модель относится к боепринасам для подствольных гранатометов, которые крепятся под стволом автоматов Калашникова АКМ, АК-74 и т.п. Полезная модель предназначена преимущественно для поражения открыто расположенной, или находящейся в открытых окопах и за естественными складками местности живой силы.
Известен унитарный артиллерийский патрон, содержащий гильзу, установленную в уступе гильзы боевую часть в виде осколочной гранаты с ведущим пояском, размещенные в гильзе: капсюль-воспламенитель, камеру сгорания, в которой помещен метательный пороховой заряд, закрытый перфорированной горизонтальной диафрагмой с мембраной и уплотнительную прокладку, а также ресивер, образованный донным срезом гранаты и мембраной (Патент РФ №2087837, МПК6 F42 В 5/02, 20.08.97г.). При стрельбе продукты горения метательного заряда патрона истекают в ресивер и под их давлением происходит разделение боевой части с гильзой, движение её по каналу ствола оружия и метание на траекторию. При выходе боевой части патрона из канала ствола вслед за ней из канала ствола истекают пороховые газы, издавая характерный звуковой сигнал. Таким образом, еще до падения боевой части и её срабатывания издается звуковой сигнал, который с одной стороны сигнализирует о начале обстрела живой силы из гранатомета, позволяя ей укрыться в открытых окопах и за естественными складками местности, а с другой стороны позволяет обнаружить стрелка для нанесения против него контратаки.
Паиболее близким аналогом по технической сущности и числу совпадающих существенных признаков является унитарный артиллерийский патрон для гранатомета, содержащий боевую часть в виде осколочной гранаты с ведущим пояском, наружная поверхность хвостовой части которой выполнена под форкамеру ствола с гарантированным минимальным зазором. В хвостовой части боевой части размещена камера сгорания, в которой помещен метательный пороховой заряд, закрытый перфорированной горизонтальной диафрагмой с мембраной, уплотнительная прокладка и капсюль-воспламенитель (Патент РФ №2125226, МПК6 F42 В 5/02, 20.01.99г.). Артиллерийский патрон устанавливается с дульного
торца ствола оружия, при этом загранатный объем ствола оружия образует ресиверкамеру для пороховых газов сгорающего метательного заряда. Таким образом, при выстреле продукты горения истекают в ресивер и под их давлением происходит движение всей гранаты по стволу оружия и метание её на траекторию. Пороховые газы, накопленные в ресивере, также вслед за гранатой истекают из ствола оружия, издавая характерный звуковой сигнал. Поэтому данному артиллерийскому патрону присущи те же недостатки, что и нредшествующему аналогу. Кроме того, начальной разброс скорости метания боевой части, ухудщает кучность стрельбы, так на дальности 400 м среднее отклонение точек попадания гранат составляет: по дальности - 6,6 м, по фронту -3 м.
Полезная модель, прежде всего, рещает задачу повыщения эффективности поражения открыто расположенной, или находящейся в открытых окопах и за естественными складками местности живой силы за счет обеспечения бесшумного метания боевой части гранаты, а также повышение кучности стрельбы.
Поставленная задача решается двумя вариантами полезной модели, реализующими один принцип разными конструкциями боеприпаса.
По первому варианту поставленная задача рещается тем, что в боеприпасе для гранатомета, содержащем боевую часть, ведущий поясок, корпус камеры сгорания, наружная поверхность хвостовой части которой выполнена под форкамеру ствола с гарантированным минимальным зазором, метательный пороховой заряд и капсюльвоспламенитель, размещенные в камере сгорания, боевая часть гранаты и корпус камеры сгорания, вынолняющий роль метательной части боеприпаса, выполнены индивидуальными модулями. Передний торец корпуса камеры сгорания скренлен с дном боевой части, например, клеевым составом с возможностью отделения при выстреле. При этом боковая поверхность корпуса камеры сгорания выполнена диаметром равным диаметру корпуса боевой части и на его боковой поверхности выполнена кольцевая канавка под подпружиненный фиксатор ствола. Камера сгорания выполнена цилиндрической с сужением у переднего торца, и в ней размещены: цилиндрический металлический стержень диаметром равным диаметру сужения, передний плоский торец которого упирается в дно боевой части, и холостой патрон, содержащий гильзу, капсюль-воспламенитель и метательный пороховой заряд, между метательным пороховом зарядом и цилиндрическим металлическим стержнем размещен пыж-поршень с обтюрирующей боковой поверхностью и выемкой со стороны метательного порохового заряда. Причем в
хвостовой части корпуса камеры сгорания установлена крышка с внешним профилем под форкамеру ствола, и в дне которой размешен переходный боек.
Для исключения разделения и заклинивания боевой части гранаты, и корпуса камеры сгорания боеприпаса в процессе заряжания, боевая часть гранаты и корпус камеры сгорания снабжены фиксаторами радиального перемещения, которые могут быть выполнены, например, в виде кольцевых выступов, выполненных на переднем торце корпуса камеры сгорания или/и в дне боевой части и ответных кольцевых впадин, выполненных в дне боевой части или/и на переднем торце корпуса камеры сгорания.
По первому варианту реализации полезной модели в качестве боевой части может быть использована боевая часть штатной гранаты без метательного заряда, например, ВОГ-25 с профилем хвостовой части под форкамеру ствола. В этом случае в передней части корпуса камеры сгорания выполнен кольцевой выступ, который размещен в полости хвостовой полости боевой части штатной гранаты.
По второму варианту реализации полезной модели в боеприпасе для гранатомета, содержащем боевую часть, ведущий поясок, камеру сгорания, в которой размещен метательный пороховой заряд и капсюль-воспламенитель, в качестве камеры сгорания с метательным пороховым зарядом и капсюлемвоспламенителем используют штатный бесшумный патрон СП-4. Штатный бесшумный патрон содержит гильзу бутылочного типа, в которой размещены: цилиндрическая пуля, диаметром равным диаметру сужения гильзы, капсюльвоспламенитель, метательный пороховой заряд и пыж-поршень с обтюрирующей боковой поверхностью и выемкой со стороны метательного порохового заряда, разделяющий метательный пороховой заряд и цилиндрическая тупоносую пулю. Причем боеприпас дополнительно снабжен переходником с осевым профильным отверстием под гильзу штатного бесшумного патрона. При этом передний торец переходника скреплен с дном боевой части, например, клеевым составом с возможностью отделения при выстреле, а на боковой поверхности переходника диаметром равным диаметру корпуса боевой части выполнена кольцевая канавка под подпружиненный фиксатор ствола. В хвостовой части переходника установлена крышка с внешним профилем под форкамеру ствола с гарантированным минимальным зазором, в дне которой размешен переходный боек.
3 Для исключения разделения и заклинивания боевой части гранаты и
переходника в процессе заряжания боевая часть гранаты, и переходник снабжены фиксаторами радиального перемещения, например кольцевым выступом, выполненным на переднем торце переходника или/и в дне боевой части и ответной кольцевой впадины, выполненной в дне боевой части или/и на переднем торце переходника.
По второму варианту реализации полезной модели в качестве боевой части также может использоваться боевая часть штатной гранаты без метательного заряда, например, ВОГ-25 с профилем хвостовой части под форкамеру ствола, при этом на переднем торце переходника выполнен кольцевой выступ размещенный в полости хвостовой полости боевой части.
Сущность полезной модели поясняется чертежами, которые имеют чисто иллюстративные цели и не ограничивают объем прав совокупности существенных признаков, где на Фиг. 1 изображен боеприпас по первому варианту, на Фиг. 2 боеприпас по второму варианту, а на Фиг. 3 (А, Б, В, Г) схематично представлен процесс метания боеприпаса.
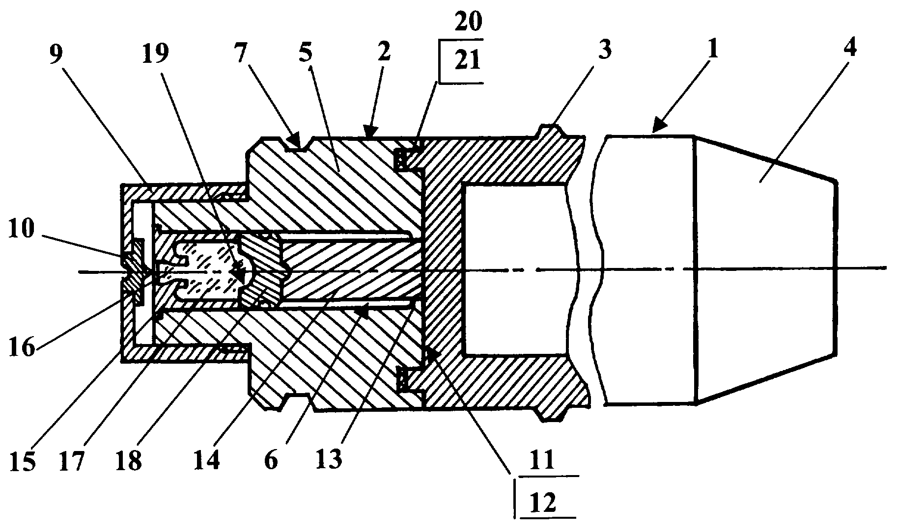
По первому варианту реализации полезной модели зобретения боеприпас для гранатомета состоит из двух индивидуальных модулей: боевой части 1 и метательной части 2. На внещней боковой поверхности боевой части 1, выполнен ведущий поясок 3, а в головной части - головной взрыватель 4. Метательная часть 2 боеприпаса состоит из корпуса 5 камеры сгорания 6, боковая поверхность которого выполнена диаметром равным диаметру корпуса боевой части 1 и на его боковой поверхности выполнена кольцевая канавка 7 под подпружиненный фиксатор 8 ствола оружия. В хвостовой части корпуса 5 камеры сгорания 6 установлена крышка 9 с внешним профилем под форкамеру ствола с гарантированным минимальным зазором, и в дне которой размещен переходный боек 10. Причем передний торец 11 корпуса 5 камеры сгорания 6 скреплен с дном 12 боевой части 1, например, клеевым составом с возможностью отделения при выстреле. Сама камера сгорания 6 выполнена цилиндрической с сужением 13 у переднего торца 11. В камере сгорания 6 размещен цилиндрический металлический стержень 14 диаметром равным диаметру сужения 13, передний плоский торец которого упирается в дно 12 боевой части 1. В камере сгорания 6 размещен также холостой патрон, содержащий гильзу 15 с капсюлем-воспламенителем 16 и метательным пороховым зарядом 17. В камере
4 сгорания 6 размещен и пыж-норшень 18, разделяющий холостой патрон и
цилиндрический стержень 14. Пыж-норщень 18 выполнен с обтюрирующей боковой поверхностью и выемкой 19 со стороны метательного порохового заряда 17.
На переднем торце 11 корпуса 5 камеры сгорания 6 или в дне 12 боевой части 1 могут быть выполнены кольцевые выступы 20, размещенные в ответных кольцевых впадинах 21, выполненных в дне 12 боевой части 1 или на переднем торце 11 корпуса 5 камеры сгорания 6.
В качестве боевой части может быть использована щтатная боевая часть, например, 40 мм выстрел ВОГ-25 с профилем хвостовой части под форкамеру ствола и с предварительно вывинченной капсюльной втулкой, т.е. без метательного заряда. В этом случае переднюю, часть корпуса 5 камеры сгорания 6 выполняют с кольцевым выступом 22, который размещают в полости 23 под капсюльную втулку боевой части 1.
По второму варианту реализации полезной модели боеприпас для гранатомета отличается от первого варианта тем, что в качестве камеры сгорания с метательным пороховым зарядом и капсюлем-воспламенителем используют щтатный бесщумный патрон СП-4, калибра 7,62. Данный бесщумный патрон содержит гильзу 24 бутылочного типа, в которой размещены: цилиндрическая пуля 25, диаметром равным диаметру сужения гильзы 24, капсюль-воспламенитель 26, метательный пороховой заряд 27 и пыж-порщень 28, разделяющий метательный пороховой заряд и пулю, выполненный с обтюрирующей боковой поверхностью и выемкой 29 со стороны метательного порохового заряда 27. Штатный бесщумный патрон СП-4 размещают в центральном канале переходника 30, имеющем сужение 31, служащим упором для бутылочной гильзы 24. Причем передний торец переходника 30 скреплен с дном 12 боевой части 1, например, клеевым составом с возможностью отделения при выстреле. В остальном конструкция данного варианта реализации полезной модели аналогична конструкции первого варианта.
Также как и в первом варианте, по второму варианту в качестве боевой части может быть использована щтатная боевая часть. Тогда на переднем торце переходника 30 должен быть выполнен кольцевой выступ 22, который размещают в полости 23 под капсюльную втулку боевой части.
5
соответствует профилю форсированной камеры ствола оружия. В крышке 9 размещен подвижный переходный боек 10. При этом метательная часть боеприпаса с камерой сгорания 5, на переднем торце 11 корпуса 6 которой выполнена кольцевая впадина 21, скреплена клеевым составом с боевой частью 1, в дне которой выполнены кольцевые выступы 20. Клеевое соединение позволяет надежно удерживать в окончательном собранном виде боеприпас и в то же время позволяет обеспечить постоянство усилия распатронирования боевой части 1 от камеры сгорания или переходника.
Боеприпас в собранном виде устанавливается с дульного торца ствола оружия, базируясь выступами ведущего пояска 3 в наклонных нарезах ствола, и фиксируется в казенной части ствола подпружиненным фиксатором 8 гранатомета, фиксирующий выступ которого размещается в кольцевой канавке 7 метательной части боеприпаса.
Функционирование боеприпаса иллюстрируется на первом варианте реализации боеприпаса.
При выстреле ударник гранатомета передает усилие на переходный боек 10, который производит накол капсюля-воспламенителя 16, но исключает его сквозное пробитие и, как следствие, чрезмерный прорыв пороховых газов из гильзы в казенную часть оружия. Импульс от капсюля-воспламенителя 16 поджигает порох метательного заряда 17. Корпус камеры сгорания 5, представляющий собой толстостенный цилиндр из высокопрочного материала, позволяет выдерживать максимально высокое давление, возникающее при воспламенении порохового метательного заряда. Давление от пороховых газов метательного заряда 17 воздействует на дно пыжа-поршня 18 с радиусной выемкой 19. Под действием расширяющихся пороховых газов пыж-поршень 18 перемещается и передает импульс перемещения металлическому стержню 14, который в свою очередь, своей передней плоской частью воздействует на торцевую плоскую донную поверхность 12 боевой части 1 боеприпаса и передает ей движение. При этом происходит разъединение в месте склеивания боевой части гранаты 1 с корпусом 5 камеры сгорания 6. Благодаря выступам ведущего пояска 3, происходит разгон, и закрутка боевой части 1. Боевая часть 1, получив поступательное и вращательное движение в канале ствола оружия, при выходе из него осуществляет движение по заданной траектории.
/(
в то же время, сужение 13 камеры сгорания 6 тормозит ныж-поршень 18, отсекая пороховые газы метательного заряда 17, оставляя их в замкнутом объеме камера сгорания 6 и тем самым, обеспечивая бесшумность и беспламенность выстрела. Пороховые газы осуществляют также воздействие на боковые стенки гильзы 15, осуществляя их упругое деформирование и надежную фиксацию гильзы 15 в камере сгорания 6, отсекая пороховые газы от казенной части ствола оружия.
Под воздействием реакции от корпуса форкамеры ствола оружия, полученной при разделении металлического стержня 14 с корпусом 5 камеры сгорания 6, а также за счет кинетической энергии пыжа-порщня 18, воздействующего в крайнем своем положении на суженную часть 13 корпуса 5 камеры сгорания, происходит его экстракция из канала ствола и метание с незначительной скоростью на некоторое расстояние ( 2.. .3 м.) от стрелка.
По второму варианту, давление пороховых газов от метательного заряда 27 щтатного бесшумного патрона СП-4 передается цилиндрической пуле 25. В остальном боеприпас функционирует аналогичным образом.
Заявленные конструкции боеприпаса позволили добиться уменьщения звука выстрела до 60 дБ. Соединение боевой части с метательной с помощью клеевого состава и конструктивное исполнение метательной части боеприпаса по сравнению с прототипом позволили исключить дополнительную балластную массу хвостовой части боеприпаса.
Полезная модель позволяет производить выстрел боеприпасами без пламени и со звуком сравнимым с хлопком ладоней, оно позволяет также увеличить кучность стрельбы и уменьщения разброса начальной скорости, исключив возмущающее влияние прорыва газов метательного порохового заряда на траекторию полета боеприпаса при его выходе из канала ствола.
Claims (6)
1. Боеприпас для гранатомета, содержащий боевую часть, ведущий поясок, корпус камеры сгорания, наружная поверхность хвостовой части которой выполнена под форкамеру ствола с гарантированным минимальным зазором, метательный пороховой заряд и капсюль-воспламенитель, размещенные в камере сгорания, отличающийся тем, что боевая часть гранаты и корпус камеры сгорания выполнены индивидуальными модулями, причем передний торец корпуса камеры сгорания скреплен с дном боевой части, например, клеевым составом с возможностью отделения при выстреле, при этом боковая поверхность корпуса камеры сгорания выполнена диаметром равным диаметру корпуса боевой части и на его боковой поверхности выполнена кольцевая канавка под подпружиненный фиксатор ствола, камера сгорания выполнена цилиндрической с сужением у переднего торца, в ней размещены цилиндрический металлический стержень диаметром равным диаметру сужения, передний торец которого упирается в дно боевой части, и холостой патрон, содержащий гильзу, капсюль-воспламенитель и метательный пороховой заряд, между метательным пороховом зарядом и цилиндрическим металлическим стержнем размещен пыж-поршень с обтюрирующей боковой поверхностью и выемкой со стороны метательного порохового заряда, а в хвостовой части корпуса камеры сгорания установлена крышка с внешним профилем под форкамеру ствола, и в дне которой размещен переходный боек.
2. Боеприпас по п.1, отличающийся тем, что боевая часть гранаты и корпус камеры сгорания снабжены фиксаторами радиального перемещения, например кольцевым выступом, выполненным на переднем торце корпуса камеры сгорания или/и в дне боевой части и ответной кольцевой впадины, выполненной в дне боевой части или/и на переднем торце корпуса камеры сгорания.
3. Боеприпас по п.1, отличающийся тем, что в качестве боевой части используется штатная боевая часть без метательного заряда, например, ВОГ-25 с профилем хвостовой части под форкамеру ствола, а в передней части корпуса камеры сгорания выполнен кольцевой выступ, размещенный в полости хвостовой полости боевой части.
4. Боеприпас для гранатомета, содержащий боевую часть, ведущий поясок, камеру сгорания, в которой размещен метательный пороховой заряд и капсюль-воспламенитель, отличающийся тем, что в качестве камеры сгорания с метательным пороховым зарядом и капсюлем-воспламенителем используют штатный бесшумный патрон СП-4, содержащий гильзу бутылочного типа, в которой размещены цилиндрическая пуля, диаметром равным диаметру сужения гильзы, капсюль-воспламенитель, метательный пороховой заряд и пыж-поршень с обтюрирующей боковой поверхностью и выемкой со стороны метательного порохового заряда, разделяющий метательный пороховой заряд и пулю, причем боеприпас дополнительно снабжен переходником с осевым профильным отверстием под гильзу штатного бесшумного патрона, при этом передний торец переходника скреплен с дном боевой части, например, клеевым составом с возможностью отделения при выстреле, на боковой поверхности переходника диаметром равным диаметру корпуса боевой части выполнена кольцевая канавка под подпружиненный фиксатор ствола, а в хвостовой части переходника установлена крышка с внешним профилем под форкамеру ствола с гарантированным минимальным зазором, и в дне которой размещен переходный боек.
5. Боеприпас по п.4, отличающийся тем, что боевая часть гранаты и переходник снабжены фиксаторами радиального перемещения, например кольцевым выступом, выполненным на переднем торце переходника или/и в дне боевой части и ответной кольцевой впадины, выполненной в дне боевой части или/и на переднем торце переходника.
6. Боеприпас по п.4, отличающийся тем, что в качестве боевой части используется штатная боевая часть без метательного заряда, например, ВОГ-25 с профилем хвостовой части под форкамеру ствола, а на переднем торце переходника выполнен кольцевой выступ, размещенный в полости хвостовой полости боевой части.
Priority Applications (1)
| Application Number | Priority Date | Filing Date | Title |
|---|---|---|---|
| RU2003106237/20U RU30964U1 (ru) | 2003-03-12 | 2003-03-12 | Боеприпас для гранатомета (варианты) |
Applications Claiming Priority (1)
| Application Number | Priority Date | Filing Date | Title |
|---|---|---|---|
| RU2003106237/20U RU30964U1 (ru) | 2003-03-12 | 2003-03-12 | Боеприпас для гранатомета (варианты) |
Publications (1)
| Publication Number | Publication Date |
|---|---|
| RU30964U1 true RU30964U1 (ru) | 2003-07-10 |
Family
ID=35365358
Family Applications (1)
| Application Number | Title | Priority Date | Filing Date |
|---|---|---|---|
| RU2003106237/20U RU30964U1 (ru) | 2003-03-12 | 2003-03-12 | Боеприпас для гранатомета (варианты) |
Country Status (1)
| Country | Link |
|---|---|
| RU (1) | RU30964U1 (ru) |
Cited By (1)
| Publication number | Priority date | Publication date | Assignee | Title |
|---|---|---|---|---|
| RU2744227C1 (ru) * | 2020-03-23 | 2021-03-03 | ФЕДЕРАЛЬНОЕ ГОСУДАРСТВЕННОЕ КАЗЕННОЕ ВОЕННОЕ ОБРАЗОВАТЕЛЬНОЕ УЧРЕЖДЕНИЕ ВЫСШЕГО ОБРАЗОВАНИЯ "Военная академия Ракетных войск стратегического назначения имени Петра Великого" МИНИСТЕРСТВА ОБОРОНЫ РОССИЙСКОЙ ФЕДЕРАЦИИ | Боеприпас для гранатомета против беспилотных летательных аппаратов |
-
2003
- 2003-03-12 RU RU2003106237/20U patent/RU30964U1/ru not_active IP Right Cessation
Cited By (1)
| Publication number | Priority date | Publication date | Assignee | Title |
|---|---|---|---|---|
| RU2744227C1 (ru) * | 2020-03-23 | 2021-03-03 | ФЕДЕРАЛЬНОЕ ГОСУДАРСТВЕННОЕ КАЗЕННОЕ ВОЕННОЕ ОБРАЗОВАТЕЛЬНОЕ УЧРЕЖДЕНИЕ ВЫСШЕГО ОБРАЗОВАНИЯ "Военная академия Ракетных войск стратегического назначения имени Петра Великого" МИНИСТЕРСТВА ОБОРОНЫ РОССИЙСКОЙ ФЕДЕРАЦИИ | Боеприпас для гранатомета против беспилотных летательных аппаратов |
Similar Documents
| Publication | Publication Date | Title |
|---|---|---|
| US5492063A (en) | Reduced energy cartridge | |
| US5677505A (en) | Reduced energy cartridge | |
| US5359937A (en) | Reduced energy cartridge | |
| US7793591B1 (en) | Projectile having ignitable payload with delay column igniter | |
| US11629941B2 (en) | Caseless ammunition for firearm and the mechanism for the extraction of caseless ammunition | |
| CN1416521A (zh) | 教练弹的改进及其相关的改进 | |
| US5639982A (en) | Means to fire a fully automatic gun underwater using a special barrel clearance blank round | |
| CN115574665B (zh) | 一种爆震抛洒的子母式球形布袋弹 | |
| RU2525352C1 (ru) | Выстрел к гранатомету | |
| RU2744227C1 (ru) | Боеприпас для гранатомета против беспилотных летательных аппаратов | |
| RU2229090C1 (ru) | Боеприпас для гранатомета (варианты) | |
| RU187777U1 (ru) | Гранатометный выстрел с готовыми поражающими элементами | |
| RU30964U1 (ru) | Боеприпас для гранатомета (варианты) | |
| RU2494337C2 (ru) | Минометный бесшумный выстрел | |
| RU2613698C2 (ru) | Комплект для самообороны | |
| RU38923U1 (ru) | Боеприпас для гранатомета | |
| RU198235U1 (ru) | Патрон безгильзовый | |
| RU2326334C1 (ru) | Практический выстрел | |
| RU2839328C1 (ru) | Выстрел для подствольного гранатомета | |
| RU220821U1 (ru) | Практический выстрел для гранатомета | |
| RU2845854C1 (ru) | Дульная насадка, снаряд для дульной насадки (варианты) и способ осуществления выстрела снаряда из дульной насадки | |
| RU2812632C1 (ru) | Снаряд | |
| RU2842474C1 (ru) | Боеприпас для гранатомета против беспилотных летательных аппаратов | |
| RU2602633C1 (ru) | Выстрел для гранатометов | |
| RU2814863C2 (ru) | Имитатор боевого патрона |
Legal Events
| Date | Code | Title | Description |
|---|---|---|---|
| MM1K | Utility model has become invalid (non-payment of fees) |
Effective date: 20040313 |
