RU2585480C2 - Стационарный холодильник, работающий на возобновляемом природном источнике холода - Google Patents
Стационарный холодильник, работающий на возобновляемом природном источнике холода Download PDFInfo
- Publication number
- RU2585480C2 RU2585480C2 RU2014124402/13A RU2014124402A RU2585480C2 RU 2585480 C2 RU2585480 C2 RU 2585480C2 RU 2014124402/13 A RU2014124402/13 A RU 2014124402/13A RU 2014124402 A RU2014124402 A RU 2014124402A RU 2585480 C2 RU2585480 C2 RU 2585480C2
- Authority
- RU
- Russia
- Prior art keywords
- refrigerator
- cold
- cold storage
- tanks
- coolers
- Prior art date
Links
- 238000005192 partition Methods 0.000 claims abstract description 5
- 238000003860 storage Methods 0.000 claims description 43
- 239000011232 storage material Substances 0.000 claims 1
- 238000009413 insulation Methods 0.000 abstract description 12
- 238000005057 refrigeration Methods 0.000 abstract description 11
- 239000003795 chemical substances by application Substances 0.000 abstract description 7
- 239000012080 ambient air Substances 0.000 abstract description 2
- 230000000694 effects Effects 0.000 abstract description 2
- 238000010438 heat treatment Methods 0.000 abstract description 2
- 239000000126 substance Substances 0.000 abstract 1
- 239000007788 liquid Substances 0.000 description 20
- 239000003350 kerosene Substances 0.000 description 10
- 239000002689 soil Substances 0.000 description 10
- 238000000034 method Methods 0.000 description 8
- 238000007710 freezing Methods 0.000 description 7
- 239000003570 air Substances 0.000 description 6
- 230000008014 freezing Effects 0.000 description 6
- 230000008569 process Effects 0.000 description 6
- 238000001816 cooling Methods 0.000 description 5
- 239000002184 metal Substances 0.000 description 5
- 230000002776 aggregation Effects 0.000 description 4
- 238000004220 aggregation Methods 0.000 description 4
- 238000009833 condensation Methods 0.000 description 4
- 230000005494 condensation Effects 0.000 description 4
- 239000004033 plastic Substances 0.000 description 4
- 229920003023 plastic Polymers 0.000 description 4
- 239000003507 refrigerant Substances 0.000 description 3
- XKRFYHLGVUSROY-UHFFFAOYSA-N Argon Chemical compound [Ar] XKRFYHLGVUSROY-UHFFFAOYSA-N 0.000 description 2
- IJGRMHOSHXDMSA-UHFFFAOYSA-N Atomic nitrogen Chemical compound N#N IJGRMHOSHXDMSA-UHFFFAOYSA-N 0.000 description 2
- ATUOYWHBWRKTHZ-UHFFFAOYSA-N Propane Chemical compound CCC ATUOYWHBWRKTHZ-UHFFFAOYSA-N 0.000 description 2
- FAPWRFPIFSIZLT-UHFFFAOYSA-M Sodium chloride Chemical compound [Na+].[Cl-] FAPWRFPIFSIZLT-UHFFFAOYSA-M 0.000 description 2
- 238000009825 accumulation Methods 0.000 description 2
- 230000015572 biosynthetic process Effects 0.000 description 2
- 238000009835 boiling Methods 0.000 description 2
- 239000000969 carrier Substances 0.000 description 2
- 239000002826 coolant Substances 0.000 description 2
- 238000009434 installation Methods 0.000 description 2
- 238000004519 manufacturing process Methods 0.000 description 2
- XLYOFNOQVPJJNP-UHFFFAOYSA-N water Substances O XLYOFNOQVPJJNP-UHFFFAOYSA-N 0.000 description 2
- 230000009471 action Effects 0.000 description 1
- 229910052786 argon Inorganic materials 0.000 description 1
- 230000004888 barrier function Effects 0.000 description 1
- 230000008859 change Effects 0.000 description 1
- 238000002485 combustion reaction Methods 0.000 description 1
- 238000004891 communication Methods 0.000 description 1
- 230000005611 electricity Effects 0.000 description 1
- 238000005516 engineering process Methods 0.000 description 1
- 238000001704 evaporation Methods 0.000 description 1
- 230000008020 evaporation Effects 0.000 description 1
- 230000010006 flight Effects 0.000 description 1
- 239000012530 fluid Substances 0.000 description 1
- 239000007789 gas Substances 0.000 description 1
- 238000003306 harvesting Methods 0.000 description 1
- 235000013490 limbo Nutrition 0.000 description 1
- 230000033001 locomotion Effects 0.000 description 1
- 229910052757 nitrogen Inorganic materials 0.000 description 1
- 239000001294 propane Substances 0.000 description 1
- 150000003839 salts Chemical class 0.000 description 1
- 239000013535 sea water Substances 0.000 description 1
- 238000000926 separation method Methods 0.000 description 1
- 239000011780 sodium chloride Substances 0.000 description 1
- 239000000243 solution Substances 0.000 description 1
- 238000010257 thawing Methods 0.000 description 1
- 238000010792 warming Methods 0.000 description 1
Images
Classifications
-
- F—MECHANICAL ENGINEERING; LIGHTING; HEATING; WEAPONS; BLASTING
- F25—REFRIGERATION OR COOLING; COMBINED HEATING AND REFRIGERATION SYSTEMS; HEAT PUMP SYSTEMS; MANUFACTURE OR STORAGE OF ICE; LIQUEFACTION SOLIDIFICATION OF GASES
- F25D—REFRIGERATORS; COLD ROOMS; ICE-BOXES; COOLING OR FREEZING APPARATUS NOT OTHERWISE PROVIDED FOR
- F25D1/00—Devices using naturally cold air or cold water
-
- F—MECHANICAL ENGINEERING; LIGHTING; HEATING; WEAPONS; BLASTING
- F25—REFRIGERATION OR COOLING; COMBINED HEATING AND REFRIGERATION SYSTEMS; HEAT PUMP SYSTEMS; MANUFACTURE OR STORAGE OF ICE; LIQUEFACTION SOLIDIFICATION OF GASES
- F25D—REFRIGERATORS; COLD ROOMS; ICE-BOXES; COOLING OR FREEZING APPARATUS NOT OTHERWISE PROVIDED FOR
- F25D11/00—Self-contained movable devices, e.g. domestic refrigerators
- F25D11/006—Self-contained movable devices, e.g. domestic refrigerators with cold storage accumulators
Landscapes
- Engineering & Computer Science (AREA)
- Chemical & Material Sciences (AREA)
- Combustion & Propulsion (AREA)
- Physics & Mathematics (AREA)
- Mechanical Engineering (AREA)
- Thermal Sciences (AREA)
- General Engineering & Computer Science (AREA)
- Devices That Are Associated With Refrigeration Equipment (AREA)
Abstract
Стационарный холодильник, работающий на возобновляемом природном источнике холода, включает корпус и холодоаккумулирующие емкости, в которых находится холодоаккумулирующий агент, размещенные внутри рабочего пространства холодильника, герметичные трубчатые охладители, установленные внутри емкостей вертикально или под углом, головки которых выведены за пределы корпуса холодильника и заполнены транспортирующим холод агентом, который обеспечивает передачу холода при минусовых температурах окружающего воздуха от головок трубчатых охладителей, контактирующих с наружным воздухом, к их нижним частям, погруженным в холодоаккумулирующие емкости. Холодоаккумулирующие емкости снабжены теплоизоляцией для защиты их от рабочего пространства холодильника, которая нанесена либо непосредственно на емкости, либо выполнена в виде теплоизолирующих перегородок с обеспечением их в обоих случаях средствами управления тепловым режимом в холодильной камере в виде окон с дверцами, которые установлены с возможностью регулирования их положения. Использование данного изобретения позволяет исключить использование электрической энергии для обеспечения функционирования холодильников и тем самым обеспечивает возможность его применения в труднодоступных местах и в первую очередь - на отгонных пастбищах, в отдаленных рыболовецких бригадах, охотничьих хозяйствах, в районах с нестабильным электроснабжением, а также с целью экономии электроэнергии при больших ее затратах. 1 з.п. ф-лы, 4 ил.
Description
Область техники
Изобретение относится к холодильной технике, а именно к аккумуляторам холода для использования в первую очередь в сооружениях для хранения пищевых продуктов.
Важнейшей задачей в холодильной промышленности является сокращение затрат электрической энергии на функционирование холодильников. Эта задача решается путем обеспечения холодильных камер эффективной теплоизоляцией, применением современных хладоагентов и использованием сложных дорогостоящих холодильных агрегатов, гарантирующих при этом их надежную эксплуатацию.
Предшествующий уровень техники
В холодильной технике широко известны способы и устройства для накопления холода в помещениях для хранения продуктов, которые делятся на следующие направления:
1. Создание холода в стационарных холодильниках и передвижных рефрижераторах с использованием специальных хладоносителей и холодильных компрессоров, приводимых в действие с помощью электрической энергии или двигателей внутреннего сгорания.
2. Создание холода в стационарных холодильниках путем их предварительного заполнения в зимний период специально заготовленным льдом. При этом передвижные холодильники заполняются в промежутках между периодами их эксплуатации из этих же заранее заготовленных запасов льда.
3. Создание холода в холодильниках путем создания искусственного снега и льда.
4. Создание холода в ограниченных объемах путем использования сжиженных газов (азот, аргон и т.д.).
Все эти способы требуют больших затрат энергии (электричество и жидкие или газообразные энергоносители). Кроме того, заготовка льда требует значительных затрат ручного труда и транспортных расходов.
Известны простейшие холодильные сооружения с охлаждением их камер естественным льдом, ежегодно заготавливаемым путем распиловки речного льда (см. Н.С. Комаров. Справочник холодильщика. Изд. 2-е. Государственное научно-техническое издат. машиностр. лит-ры. М., 1962. С. 283).
Недостатком этого холодильника является необходимость ежегодной его заправки запасами добытого льда.
Наиболее близким по технической сущности к заявляемому является холодильник в виде вагона-ледника, включающего теплоизолированный корпус, оборудованный холодоаккумулирующими емкостями в виде баков, заполняемых периодически естественным или искусственным дробленым льдом (см. В.А. Бобров. Производство и применение льда. М.: Пищевая промышленность, 1977. С. 87).
Недостатком холодильника-прототипа является также необходимость его многократной заправки запасом добытого льда в промежутках между рейсами.
Технической задачей настоящего изобретения является зарядка стационарного холодильника путем использования природных ресурсов холода для прямого его накопления непосредственно в стационарном холодильнике.
Краткое изложение сущности изобретения
Поставленная задача достигается тем, что в известном холодильнике, включающем корпус и холодоаккумулирующие емкости (-ть), согласно изобретению холодоаккумулирующие емкости заполняют холодоаккумулирущей жидкостью, а внутри емкостей устанавливают, в свою очередь, вертикально ориентированные герметичные трубчатые охладители, выведенные своими головками за пределы корпуса холодильника и заполненные транспортирующим холод агентом, обеспечивающим передачу холода от головок трубчатых охладителей к их нижним частям, погруженным в емкости с холодоаккумулирующей жидкостью.
Емкости с холодоаккумулирующей жидкостью размещают внутри рабочего пространства холодильника по периметру стен и (или) в донной и (или) потолочной частях и (или) устанавливают внутри холодильника.
При этом холодоаккумулирующие емкости выполняют из конструкционного металла.
В то же время холодоаккумулирующие емкости могут быть выполнены в виде опорных конструкций для поддержания потолка и потолочных холодонакопительных емкостей.
Также холодоаккумулирующие емкости могут быть выполнены из пластика.
Рекомендуется в холодоаккумулирующих емкостях устанавливать компенсаторы расширения жидкости при изменении ее агрегатного состояния.
Корпус холодильника может быть заглублен ниже нулевой отметки почвы.
В другом варианте корпус холодильника может быть расположен выше уровня нулевой отметки почвы и выполнен теплоизолированным.
При этом трубчатые охладители могут быть выполнены наклонными.
Холодоаккумулирующие емкости можно снабжать теплоизоляцией от рабочего пространства корпуса, причем теплоизоляция может быть нанесена непосредственно на холодоаккумулирующие емкости либо выполнена в виде отстраненных от них перегородок, а теплоизоляция может быть снабжена средствами для управления тепловым режимом, выполненными, например, в виде окон, снабженных регулируемыми дверцами.
Как вариант, потолочное перекрытие корпуса холодильника с проходящими через него вверх транспортирующими холод трубчатыми охладителями может быть перекрыто дополнительной крышей с образованием «аэродинамической трубы» между дополнительной крышей и наружной поверхностью потолочного перекрытия корпуса в направлении розы ветров.
Эти нововведения позволят обеспечить работу холодильника в автономном режиме, используя ежегодное наступление зимних холодов, а также обеспечить без использования автоматики и вмешательства человека начальную температуру в аккумуляторе холода, соответствующую минимальной температуре воздуха в зимнее время.
При этом выполнение аккумуляторов холода в виде герметичных емкостей (секций), заполненных постоянно холодоаккумулирующей жидкостью, способной менять агрегатное состояние под воздействием холода, передаваемого по вертикали жидким или газообразным агентом, помещенным в герметичный трубчатый охладитель, позволяет осуществлять зарядку холодом в зимнее время до нижнего температурного предела и самозапираться при достижении наружной температуры воздуха величины более высокой, чем набранная температура в аккумуляторе холода.
Выполнение холодоаккумулирующих емкостей из конструкционного металла позволяет обеспечить их конструкционную прочность и герметичность при замораживании жидкости, а также хорошую теплоотдачу внутрь рабочего пространства холодильника. Причем благодаря высокой вертикальной жесткости и устойчивости, например, трубчатых конструкций эти емкости могут играть роль опорных конструкций для поддержания потолка и потолочных емкостей, что существенно уменьшает металлоемкость холодильника.
В то же время изготовление холодонакопительных емкостей из пластмасс с формованными компенсационными изгибами плоскостей повышает их надежность в условиях расширения объемов, помещенных в них водосодержащих жидкостей при замерзании, а также упрощает монтаж этих конструктивных элементов.
Применение компенсаторов позволяет избежать разрыва емкостей при замерзании холодоаккумулирующей жидкости.
Заглубление корпуса холодильника ниже нулевой отметки почвы позволяет обеспечить более высокую наружную теплоизоляцию корпуса и, тем самым, более длительный период его эффективной работы при наступлении сезона положительных температур окружающего воздуха.
Размещение корпуса холодильника выше уровня нулевой отметки почвы облегчит процесс его эксплуатации, а при наличии открытых окон в начальной стадии замораживания ускорит процесс создания ледяного массива внутри холодоаккумулирующих емкостей.
Установка трубчатых охладителей с транспортирующим холод агентом-керосином под наклоном позволяет увеличить скорость процесса конвективного переноса холода за счет более четкого расслоения «холодного» и «теплого» слоев.
Наружная теплоизоляция холодоаккумулирующих емкостей от рабочего пространства корпуса холодильника, а также наличие окон с дверцами в ней позволяют управлять процессом подачи холода в рабочее пространство корпуса холодильника. При этом теплоизоляция может быть нанесена непосредственно на холодоаккумулирующие емкости либо выполнена в виде перегородок различной конфигурации.
В свою очередь, оформление зоны между дополнительной крышей и потолочным перекрытием холодильных камер в виде «аэродинамической трубы» увеличивает скорость ветра в этой зоне, что препятствует накоплению в ней снега и ускоряет процесс охлаждения головок труб за счет скоростного напора ветра.
Предлагаемое устройство поясняется чертежами.
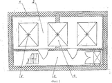
На фиг. 1 изображен пример холодильника с установленными внутри накопителями холода с полезным объемом 60 м3 (вид сверху).
На фиг. 2 показан разрез холодильника АА на фиг. 1.
На фиг.3 показан холодильник с холодоаккумулирующими емкостями из пластмассы, расположенными по периметру стен.
На фиг. 4 показан общий вид холодильника в разрезе.
Устройство на фиг. 1 и 2 содержит теплоизолированный корпус 1, холодильное помещение в виде камер 2 и вспомогательное помещение 3, расположенные ниже нулевой отметки почвы, холодоаккумулирующие емкости 4, заполненные холодоаккумулирующей средой с установленными вертикально в аккумуляторах трубчатыми охладителями 5 и компенсаторами 6. Верхняя часть трубчатого охладителя 5 выведена из рабочего пространства корпуса холодильника в пространство, сообщающееся с атмосферой, и снабжена ребрами 7 в виде радиаторов для улучшения процесса теплопередачи. При этом пространство между перекрытием 8 и дополнительной крышей 9 выполнено с образованием «аэродинамической трубы» и ориентировано по направлению розы ветров в зимнее время. Для удобства обслуживания холодильника в его вспомогательной зоне установлен лифт.
Другой вариант размещения в заглубленном помещении холодоаккумулирующих емкостей показан на фиг. 3, где применены пластмассовые формованные емкости 10, в основном расставленные по периметру холодильника в его заглубленной части. Трубчатые охладители 11 нижним концом заглублены в холодоаккумулирующие емкости 10, а верхние оребренные части выведены за пределы холодильной камеры в зону, сообщающуюся с окружающим пространством. Внутрь трубчатых охладителей заливается хладоагент, например хладон или керосин, причем керосином заполняют практически все пространство трубчатого охладителя, оставляя только свободное пространство для его расширения при нагревании. Хладоном же заполняют только нижнюю часть трубы, оставляя при этом свободное пространство для его испарения и конденсации его паров в зоне, контактирующей с холодной атмосферой.
В качестве холодоаккумулирующих сред используются вода, морская вода, растворы солей, таких как NaCl и КСl.
При использовании в качестве теплоносителя в трубчатых охладителях керосина или любой другой жидкости, не меняющей агрегатного состояния при охлаждении и нагревании в диапазоне имеющихся зимой температур, трубчатые охладители могут быть установлены под углом к вертикали для ускорения процесса циркуляции теплоносителя вдоль трубчатого охладителя и, как следствие, ускорения охлаждения холодоаккумулирующей жидкости.
Наряду с описанным, холодоаккумулирующие емкости могут быть расположены на дне холодильной камеры, на потолке, а также могут быть установлены внутри холодильной камеры в линейном или в шахматном порядке и иметь в поперечном сечении прямоугольную или круглую форму.
При этом эти емкости могут быть выполнены из конструкционного металла и играть роль опорных элементов для потолочных холодоаккумулирующих емкостей и потолочной несущей конструкции.
Для минимизации потерь холода корпус холодильника может быть заглублен ниже нулевой отметки почвы.
В то же время при интенсивной эксплуатации холодильника корпус холодильника может быть размещен выше нулевой отметки с обеспечением надежной изоляции поверхностей, контактирующих с открытым воздухом, и дна холодильной камеры. Необходимым является применение теплоизолированного тамбура.
Наружные стены корпуса заглубленного холодильника могут либо обеспечиваться надежной теплоизоляцией от окружающего грунта, либо, наоборот, им могут создать максимальный контакт с окружающим грунтом для его замораживания с созданием теплового барьера и тем самым для максимального сокращения расхода холода в почву из самого холодильника. При этом для большего эффекта грунт вокруг корпуса перед замораживанем увлажняют.
Холодоаккумулирующие емкости теплоизолируют от рабочего пространства холодильника, при этом теплоизоляция может наноситься (крепиться) непосредственно на наружную поверхность емкостей либо сооружаться дистанционно от емкостей в виде теплоизолирующих перегородок.
В обоих случаях для управления тепловым режимом рабочего пространства в теплоизоляции делают окна, оборудованные регулировочными дверками.
Для ускорения процесса охлаждения головок трубчатых охладителей, выходящих в пространство между наружной поверхностью потолочного перекрытия корпуса холодильника 12 и дополнительной крышей 13 (фиг. 4), зазор между последними выполняют в виде «аэродинамической трубы».
Холодильник работает следующим образом.
Холодоаккумулирующие емкости 4 заполняют холодоаккумулирующей жидкостью, способной менять агрегатное состояние в нужном диапазоне минусовых температур, а холодопроводящие герметичные трубчатые охладители 5 заполняют агентом, транспортирующим холод сверху вниз за счет конвекции или конденсации паров.
В качестве холодопередающего агента используют незамерзающую жидкость, например керосин, или низкокипящую жидкость (например, сжиженные хладон или пропан).
При использовании керосина в сезон с низкими температурами окружающего воздуха, более низкими, чем температура внутри холодильника, верхние слои керосина охлаждаются окружающим воздухом и за счет большей плотности опускаются вниз по трубчатому охладителю, вытесняя из нижней части более теплый керосин и одновременно отбирая тепло через стенку трубчатого охладителя от холодоаккумулирующей жидкости, находящейся в холодоаккумулирующей емкости.
В свою очередь, «теплые» слои керосина поднимаются вверх, в зону низких температур, отдают тепло окружающему головку трубчатого охладителя воздуху и, охладившись, опускаются вниз по трубчатому охладителю.
Происходит так называемый конвективный перенос тепла. Этот перенос продолжается до тех пор, пока температура воздуха наверху не станет выше установившейся температуры внизу. В этом случае конвекция прекращается и транспортирующие холод трубчатые охладители прекращают работу, то есть самозапираются до наступления более низких температур либо до следующего зимнего сезона.
В процессе захолаживания холодонакапливающая жидкость замерзает при минусовых температурах, что позволяет накопить большее количество холода при изменении ее агрегатного состояния, чем при простом ее охлаждении. При этом для создания упорядоченного движения по вертикали слоев «холодного» и «теплого» керосина трубчатый охладитель необходимо наклонить от вертикали, что увеличивает конвекцию и, как следствие, скорость накопления холода.
Внутри холодоаккумулирующих емкостей необходимо устанавливать компенсаторы 6 для предотвращения их размораживания в процессе температурного расширения холодоаккумулирующей жидкости при замерзании. В качестве них могут использоваться деревянные бруски и пустотелые эластичные изделия в подвешенном состоянии.
При использовании низкокипящих жидкостей в качестве переносчиков холода температуру их конденсации выбирают в нижнем диапазоне среднестатистических минусовых температур зимы. При этом находящаяся в нижней части трубчатого охладителя жидкость испаряется, пары ее поднимаются вверх, под действием холода, окружающего пространство головок, конденсируются, отдавая тепло, и стекают по стенкам трубчатого охладителя вниз, где отдают холод холодоаккумулирующей жидкости, а затем вновь испаряются.
При потеплении наружного воздуха конденсация паров прекращается и трубчатый охладитель прекращает работу.
Во избежание передачи тепла по металлу трубчатого охладителя в весенний, летний и осенний сезоны рекомендуется на верхние головки трубчатых охладителей надевать теплоизолирующие чехлы.
Как показывают расчеты, холодильник, заряженный холодом в зимний период, в районах с температурами до минус 30°С накапливает достаточное количество холода и при хорошей наружной теплоизоляции обеспечивает минусовую температуру в рабочих камерах в течение всех восьми весенних, летних и осенних месяцев.
Применение предлагаемого холодильника позволяет организовать обеспечение холодильниками нового типа удаленные от источников энергии объекты, такие как отгонные пастбища, рыболовецкие базы, полевые станы, заготовительные пункты, а также отказаться от применения электрической энергии для функционирования стационарных холодильников большого объема.
Claims (2)
1. Стационарный холодильник, работающий на возобновляемом природном источнике холода, включающий корпус и холодоаккумулирующие емкости с находящимся в них холодоаккумулирующим агентом, размещенные внутри рабочего пространства холодильника, установленные внутри емкостей вертикально ориентированные и (или) под углом к вертикали герметичные трубчатые охладители, головки которых выведены за пределы корпуса холодильника и заполнены транспортирующим холод агентом, обеспечивающим передачу холода при минусовых температурах окружающего воздуха от головок трубчатых охладителей, контактирующих с наружным воздухом, к их нижним частям, погруженным в холодоаккумулирующие емкости, отличающийся тем, что холодоаккумулирующие емкости снабжены теплоизоляцией для защиты их от рабочего пространства холодильника, нанесенной либо непосредственно на холодоаккумулирующие емкости, либо выполненной в виде теплоизолирующих перегородок с обеспечением их в обоих случаях средствами управления тепловым режимом в холодильной камере в виде окон с дверцами, установленными с возможностью регулировки их положения.
2. Холодильник по п. 1, отличающийся тем, что потолочное перекрытие корпуса холодильника с проходящими через него вверх трубчатыми охладителями снабжено дополнительной крышей с образованием аэродинамической трубы между дополнительной крышей и наружной поверхностью потолочного перекрытия корпуса холодильника в направлении розы ветров.
Applications Claiming Priority (2)
| Application Number | Priority Date | Filing Date | Title |
|---|---|---|---|
| KZ20130841 | 2013-06-26 | ||
| KZ2013/0841.1 | 2013-06-26 |
Publications (2)
| Publication Number | Publication Date |
|---|---|
| RU2014124402A RU2014124402A (ru) | 2015-12-27 |
| RU2585480C2 true RU2585480C2 (ru) | 2016-05-27 |
Family
ID=52142326
Family Applications (1)
| Application Number | Title | Priority Date | Filing Date |
|---|---|---|---|
| RU2014124402/13A RU2585480C2 (ru) | 2013-06-26 | 2014-06-16 | Стационарный холодильник, работающий на возобновляемом природном источнике холода |
Country Status (2)
| Country | Link |
|---|---|
| RU (1) | RU2585480C2 (ru) |
| WO (1) | WO2014209090A1 (ru) |
Citations (4)
| Publication number | Priority date | Publication date | Assignee | Title |
|---|---|---|---|---|
| FR2155998A1 (ru) * | 1971-10-04 | 1973-05-25 | Transelektro Magyar Villamossa | |
| RU2023384C1 (ru) * | 1991-07-22 | 1994-11-30 | Дагестанский Политехнический Институт | Устройство для хранения сельскохозяйственных продуктов |
| RU2123648C1 (ru) * | 1997-10-03 | 1998-12-20 | Общество с ограниченной ответственностью "Рютар" | Способ аккумулирования холода и устройство для его реализации |
| RU121351U1 (ru) * | 2012-06-07 | 2012-10-20 | Александр Анатольевич Васильев | Хранилище для пищевых продуктов |
Family Cites Families (6)
| Publication number | Priority date | Publication date | Assignee | Title |
|---|---|---|---|---|
| SU72903A1 (ru) * | 1940-04-30 | 1947-11-30 | М.М. Крылов | Склад дл хранени овощей, скоропорт щихс продуктов и других товаров в бочках |
| SU1615497A1 (ru) * | 1988-05-18 | 1990-12-23 | Институт Мерзлотоведения Со Ан Ссср | Аккумул тор-охладитель |
| RU2271504C2 (ru) * | 2003-10-23 | 2006-03-10 | Вячеслав Васильевич Подосинников | Аккумулятор холода |
| RU45511U1 (ru) * | 2005-01-11 | 2005-05-10 | Федеральное государственное унитарное предприятие "Производственное объединение "Завод имени Серго" | Морозильник-ларь |
| RU66149U1 (ru) * | 2007-05-10 | 2007-09-10 | Эрих Гербертович Лиске | Хранилище для сельскохозяйственной продукции |
| RU113821U1 (ru) * | 2011-10-31 | 2012-02-27 | Общество с ограниченной ответственностью "ТехноИнжПромСтрой" | Аккумулятор холода |
-
2014
- 2014-06-11 WO PCT/KZ2014/000007 patent/WO2014209090A1/ru not_active Ceased
- 2014-06-16 RU RU2014124402/13A patent/RU2585480C2/ru not_active IP Right Cessation
Patent Citations (4)
| Publication number | Priority date | Publication date | Assignee | Title |
|---|---|---|---|---|
| FR2155998A1 (ru) * | 1971-10-04 | 1973-05-25 | Transelektro Magyar Villamossa | |
| RU2023384C1 (ru) * | 1991-07-22 | 1994-11-30 | Дагестанский Политехнический Институт | Устройство для хранения сельскохозяйственных продуктов |
| RU2123648C1 (ru) * | 1997-10-03 | 1998-12-20 | Общество с ограниченной ответственностью "Рютар" | Способ аккумулирования холода и устройство для его реализации |
| RU121351U1 (ru) * | 2012-06-07 | 2012-10-20 | Александр Анатольевич Васильев | Хранилище для пищевых продуктов |
Also Published As
| Publication number | Publication date |
|---|---|
| RU2014124402A (ru) | 2015-12-27 |
| WO2014209090A1 (ru) | 2014-12-31 |
Similar Documents
| Publication | Publication Date | Title |
|---|---|---|
| CN101842651A (zh) | 具有温度调平装置的用于保鲜产品的冰箱 | |
| CA3110361C (en) | Hybrid thermosiphon system | |
| CN105444488A (zh) | 蓄冷蓄热组合式恒温设备及控制方法 | |
| Li et al. | Quantitative analysis of passive seasonal cold storage with a two-phase closed thermosyphon | |
| KR101429165B1 (ko) | 축냉모듈을 이용한 브라인 냉각 열교환 시스템 | |
| RU2585480C2 (ru) | Стационарный холодильник, работающий на возобновляемом природном источнике холода | |
| CN204513877U (zh) | 冰蓄冷式制冷装置 | |
| CN216920800U (zh) | 一种食品冷藏用建筑结构 | |
| RU109498U1 (ru) | Система предотвращения замерзания устья нагнетательной скважины | |
| RU2566988C1 (ru) | Способ использования естественных (природных) ресурсов холода для функционирования модульных холодильников и устройство для его осуществления | |
| CN102493690B (zh) | 一种低温冷库装置结构 | |
| CN207247618U (zh) | 一种半封闭式太阳能风能驱动的制冷装置 | |
| KR100945184B1 (ko) | 빙축열 시스템의 열교환장치 | |
| RU2486750C2 (ru) | Энергосберегающая аккумуляционная установка для охлаждения молока | |
| RU2470114C2 (ru) | Термосвая для опор моста | |
| CN204513878U (zh) | 冰蓄冷式制冷设备 | |
| CN105987557A (zh) | 冰蓄冷式制冷装置及制冷方法 | |
| CN105987556A (zh) | 冰蓄冷式制冷设备及制冷方法 | |
| RU2390124C1 (ru) | Комбинированная установка для охлаждения молока с использованием естественного холода | |
| RU2271504C2 (ru) | Аккумулятор холода | |
| CN220707582U (zh) | 一种应用在冰蓄冷空调系统中的防结冰应力装置 | |
| RU2508627C2 (ru) | Энергосберегающая холодильная установка с аккумулятором природного холода для животноводческих ферм | |
| WO2016006986A1 (ru) | Холодильник, работающий на возобновляемом природном источнике холода | |
| JP2001317845A (ja) | 自然氷の冷熱利用方法と冷熱利用装置 | |
| RU2073819C1 (ru) | Установка для охлаждения |
Legal Events
| Date | Code | Title | Description |
|---|---|---|---|
| MM4A | The patent is invalid due to non-payment of fees |
Effective date: 20170617 |