RU2530800C2 - Упаковка - Google Patents
Упаковка Download PDFInfo
- Publication number
- RU2530800C2 RU2530800C2 RU2011120182/12A RU2011120182A RU2530800C2 RU 2530800 C2 RU2530800 C2 RU 2530800C2 RU 2011120182/12 A RU2011120182/12 A RU 2011120182/12A RU 2011120182 A RU2011120182 A RU 2011120182A RU 2530800 C2 RU2530800 C2 RU 2530800C2
- Authority
- RU
- Russia
- Prior art keywords
- package
- product
- valve
- wrapper
- peelable
- Prior art date
Links
- 239000000463 material Substances 0.000 claims abstract description 80
- 238000004806 packaging method and process Methods 0.000 claims abstract description 49
- 238000000034 method Methods 0.000 claims abstract description 31
- 239000000853 adhesive Substances 0.000 claims abstract description 19
- 230000001070 adhesive effect Effects 0.000 claims abstract description 19
- 235000009508 confectionery Nutrition 0.000 claims description 10
- 239000003292 glue Substances 0.000 claims description 9
- 238000005304 joining Methods 0.000 claims description 5
- 238000005452 bending Methods 0.000 claims description 4
- 238000005520 cutting process Methods 0.000 claims description 3
- 230000015572 biosynthetic process Effects 0.000 claims description 2
- 238000012545 processing Methods 0.000 claims description 2
- 235000019219 chocolate Nutrition 0.000 abstract description 10
- 238000012856 packing Methods 0.000 abstract description 2
- 230000000694 effects Effects 0.000 abstract 1
- 239000000126 substance Substances 0.000 abstract 1
- 235000013305 food Nutrition 0.000 description 9
- 239000011888 foil Substances 0.000 description 8
- 239000002184 metal Substances 0.000 description 8
- 229910052751 metal Inorganic materials 0.000 description 8
- 239000004033 plastic Substances 0.000 description 5
- 239000011248 coating agent Substances 0.000 description 3
- 238000000576 coating method Methods 0.000 description 3
- 238000013461 design Methods 0.000 description 3
- 238000010438 heat treatment Methods 0.000 description 3
- 230000014759 maintenance of location Effects 0.000 description 3
- 230000000979 retarding effect Effects 0.000 description 3
- 238000000926 separation method Methods 0.000 description 3
- 239000000654 additive Substances 0.000 description 2
- 230000000996 additive effect Effects 0.000 description 2
- 238000010924 continuous production Methods 0.000 description 2
- 239000002648 laminated material Substances 0.000 description 2
- 239000003973 paint Substances 0.000 description 2
- 238000003860 storage Methods 0.000 description 2
- 230000000007 visual effect Effects 0.000 description 2
- 229910052782 aluminium Inorganic materials 0.000 description 1
- XAGFODPZIPBFFR-UHFFFAOYSA-N aluminium Chemical compound [Al] XAGFODPZIPBFFR-UHFFFAOYSA-N 0.000 description 1
- 230000003321 amplification Effects 0.000 description 1
- 230000003247 decreasing effect Effects 0.000 description 1
- 230000005670 electromagnetic radiation Effects 0.000 description 1
- 238000009459 flexible packaging Methods 0.000 description 1
- 230000002401 inhibitory effect Effects 0.000 description 1
- 238000003698 laser cutting Methods 0.000 description 1
- 238000010329 laser etching Methods 0.000 description 1
- 238000013532 laser treatment Methods 0.000 description 1
- 230000007774 longterm Effects 0.000 description 1
- 230000000813 microbial effect Effects 0.000 description 1
- 238000012986 modification Methods 0.000 description 1
- 230000004048 modification Effects 0.000 description 1
- 238000003199 nucleic acid amplification method Methods 0.000 description 1
- 239000002985 plastic film Substances 0.000 description 1
- 229920006255 plastic film Polymers 0.000 description 1
- 230000005855 radiation Effects 0.000 description 1
- 238000007789 sealing Methods 0.000 description 1
- 238000009423 ventilation Methods 0.000 description 1
Images
Classifications
-
- B—PERFORMING OPERATIONS; TRANSPORTING
- B65—CONVEYING; PACKING; STORING; HANDLING THIN OR FILAMENTARY MATERIAL
- B65D—CONTAINERS FOR STORAGE OR TRANSPORT OF ARTICLES OR MATERIALS, e.g. BAGS, BARRELS, BOTTLES, BOXES, CANS, CARTONS, CRATES, DRUMS, JARS, TANKS, HOPPERS, FORWARDING CONTAINERS; ACCESSORIES, CLOSURES, OR FITTINGS THEREFOR; PACKAGING ELEMENTS; PACKAGES
- B65D75/00—Packages comprising articles or materials partially or wholly enclosed in strips, sheets, blanks, tubes or webs of flexible sheet material, e.g. in folded wrappers
- B65D75/52—Details
- B65D75/58—Opening or contents-removing devices added or incorporated during package manufacture
- B65D75/5827—Tear-lines provided in a wall portion
- B65D75/5833—Tear-lines provided in a wall portion for tearing out a portion of the wall
-
- B—PERFORMING OPERATIONS; TRANSPORTING
- B65—CONVEYING; PACKING; STORING; HANDLING THIN OR FILAMENTARY MATERIAL
- B65D—CONTAINERS FOR STORAGE OR TRANSPORT OF ARTICLES OR MATERIALS, e.g. BAGS, BARRELS, BOTTLES, BOXES, CANS, CARTONS, CRATES, DRUMS, JARS, TANKS, HOPPERS, FORWARDING CONTAINERS; ACCESSORIES, CLOSURES, OR FITTINGS THEREFOR; PACKAGING ELEMENTS; PACKAGES
- B65D75/00—Packages comprising articles or materials partially or wholly enclosed in strips, sheets, blanks, tubes or webs of flexible sheet material, e.g. in folded wrappers
- B65D75/52—Details
- B65D75/58—Opening or contents-removing devices added or incorporated during package manufacture
- B65D75/5855—Peelable seals
-
- B—PERFORMING OPERATIONS; TRANSPORTING
- B65—CONVEYING; PACKING; STORING; HANDLING THIN OR FILAMENTARY MATERIAL
- B65D—CONTAINERS FOR STORAGE OR TRANSPORT OF ARTICLES OR MATERIALS, e.g. BAGS, BARRELS, BOTTLES, BOXES, CANS, CARTONS, CRATES, DRUMS, JARS, TANKS, HOPPERS, FORWARDING CONTAINERS; ACCESSORIES, CLOSURES, OR FITTINGS THEREFOR; PACKAGING ELEMENTS; PACKAGES
- B65D2575/00—Packages comprising articles or materials partially or wholly enclosed in strips, sheets, blanks, tubes or webs of flexible sheet material, e.g. in folded wrappers
- B65D2575/52—Details
- B65D2575/58—Opening or contents-removing devices added or incorporated during package manufacture
- B65D2575/586—Opening or contents-removing devices added or incorporated during package manufacture with means for reclosing
Landscapes
- Engineering & Computer Science (AREA)
- Mechanical Engineering (AREA)
- Packages (AREA)
- Packging For Living Organisms, Food Or Medicinal Products That Are Sensitive To Environmental Conditiond (AREA)
Abstract
Упаковка для продукта (12), имеющего в общем форму блока, выполненная из обертки (14) из гибкого материала, полностью охватывающей продукт. Обертка содержит сгибаемый участок (24) клапана, смежный концу упаковки. Свободные края (28, 30, 32) клапана покрывают дополнительный участок (34) обертки и соединяются посредством отслаиваемого и повторно запечатываемого клея (37). Клапан (24) продолжается полностью через одну поверхность (38) упаковки и, по меньшей мере, частично вниз на противоположные стороны для образования герметичного и повторного закрытия упаковки. Упаковка может быть образована с использованием способов поточного обертывания и особенно пригодна для упаковки шоколадных плиток и подобных изделий. 2 н. и 20 з.п. ф-лы, 22 ил.
Description
Область техники
Настоящее изобретение относится к упаковке и, конкретно, к усовершенствованной упаковке для продуктов, имеющих в общем форму блока. Настоящее изобретение также относится к способу упаковки таких продуктов и к объединению по существу жесткого продукта, имеющего в общем форму блока, и гибкой обертки, полностью охватывающей продукт.
Уровень техники
Известно, что продукты, имеющие в общем форму блока, включающие такие пищевые продукты, как плитки шоколада и другие кондитерские продукты, упаковывают в обертку из по существу влаго- и газонепроницаемого материала, такого как металлическая фольга, пластиковая пленка или ламинированный материал, включающий один или оба из указанных материалов, чтобы защитить продукт.
Такая известная обертка может быть образована из длины ровного, сгибаемого материала, содержащего внутреннюю поверхность, направленную к пищевому продукту и наружную поверхность. На наружной поверхности может быть напечатана или иным способом обеспечена информация для потребителя. Материал сгибается вокруг продукта, и продольные боковые края соединяют вместе для образования продольного запечатанного шва, иногда называемого «ребристым соединением» или «плавниковым швом». Материал продолжается за края продукта и противоположные краевые области на каждом конце обертки соединены вместе для образования поперечных концевых швов. Швы могут быть образованы с использованием клея для соединения противоположных поверхностей обертки или нагреванием материала под давлением, так что противоположные поверхности плавятся и сплавляются вместе для образования сварного шва.
Упаковка этого вида может производиться поточным способом обертывания, в котором пленочный материал поставляется в рулоне для упаковки множества продуктов в по существу непрерывном процессе. Материал подают через машину, которая сгибает его поочередно вокруг каждого продукта так, что противоположные боковые края вводятся в контакт и соединяются вместе с образованием продольного шва, который обычно продолжается вдоль задней поверхности продукта. Материал сгибают на каждом конце продукта для образования концевых швов, и материал отрезают для отделения каждой упаковки от остатка пленки. Альтернативно, упаковка может также быть образована из подаваемого конверта или листа, а запечатывание может осуществляться посредством давления и/или нагревания.
Известная упаковка образует полностью запечатанный контейнер для продукта, который является по существу влаго- и газонепроницаемым. Однако, материал, используемый для образования такой упаковки обычно является довольно плотным, что может затруднять ее открывание, поскольку этот материал нелегко разорвать контролируемым образом, так что часто требуется несколько разрывов для извлечения продукта из обертки.
Кроме того, известная упаковка повторно не закрывается после ее открывания. Это ограничивает срок хранения продукта после открывания и делает возможным потерю оставшегося содержимого. Многие большие плитки шоколада разделены на участки с тем, чтобы потребитель мог отломить один или более участков за один раз и сохранить остаток для более позднего использования. Типично, потребитель должен протолкнуть оставшуюся плитку обратно в обертку после того, как участок был удален, и сложить открытый конец поверх обертки. Когда потребитель желает отломить еще от плитки, обертку нужно развернуть и оставшуюся плитку обратно выдвинуть. Эта обременительная процедура не может гарантировать надежного сохранения оставшегося содержимого. Такая конструкция может создавать беспорядок, так как маленькие части плитки могут отламываться, а не удерживаться надежно в обертке, когда ее сгибают сверху.
Чтобы сделать этот вид упаковки более легким для открывания, в GB 1107200 А предложили использовать отслаиваемое и повторно запечатываемое клейкое покрытие для образования продольного шва и для обеспечения сложенных язычков, за которые может браться потребитель и тянуть в стороны для отделения, чтобы открыть продольный шов. Эта конструкция помогает сделать упаковку более легкой для открывания и позволяет повторное закрывание упаковки после открывания. Однако, было обнаружено, что упаковка не вполне эффективна для надежного удерживания оставшегося содержимого, так как она зависит от повторно запечатываемого покрытия для удерживания продольного шва вместе. Это является особенной проблемой с упаковкой для больших разделенных на части плиток, которую можно открывать и повторно герметично закрывать несколько раз, в то время как повторно запечатываемое покрытие имеет тенденцию становиться менее эффективным с непрерывным открыванием, со временем нарушающим целостность упаковки.
Другие известные виды упаковки для продуктов, имеющих в общем форму блока образуются из одного или более листов гибкого материала. В одном таком известном расположении лист гибкого материала сгибается вокруг продукта вдоль одного края, и противоположные участки листа соединяются или свариваются вместе вдоль других трех краев для защиты продукта. Дополнительно известная форма гибкой упаковки содержит два листа гибкого материала, расположенных по одному на каждой стороне продукта и соединенных или сваренных вместе вдоль всех четырех краев для образования герметичной упаковки. Там, где материалом, используемым для образования упаковок, является металлическая фольга, ламинат или другой плотный материал, можно страдать от похожих проблем исходя из сложности открывания и невозможности повторного закрывания.
Задачей изобретения является обеспечение усовершенствованной упаковки для продукта, имеющего в общем форму блока, которая преодолевает или, по меньшей мере, уменьшает некоторые или все вышеупомянутые проблемы.
Другой задачей изобретения является обеспечение усовершенствованных способов упаковки продукта, имеющего в общем форму блока, которые преодолевают или, по меньшей мере, уменьшают некоторые или все вышеупомянутые проблемы.
Еще одной задачей изобретения является обеспечение объединения по существу жесткого продукта, имеющего в общем форму блока и гибкой обертки, полностью охватывающей продукт, которое преодолевает или, по меньшей мере, уменьшает некоторые или все проблемы предшествующего уровня техники.
Сущность изобретения
Согласно первому варианту изобретения, обеспечена упаковка для продукта, имеющего в общем форму блока, причем упаковка содержит обертку из гибкого материала, полностью охватывающую продукт, причем обертка содержит сгибаемый клапанный участок, смежный концу упаковки, причем свободные края клапана покрывают дополнительный участок обертки и приклеены к нему посредством отслаиваемого и повторно запечатываемого клея, причем клапан продолжается полностью через одну поверхность упаковки и, по меньшей мере, частично вниз на противоположные стороны для образования герметичного и повторного закрытия для упаковки.
Упаковка может быть выполнена так, что при использовании свободные края клапана могут отслаиваться от дополнительного участка обертки и клапан сгибать назад для открывания отверстия на одном конце упаковки, через которое продукт может быть удален. Клапан может быть выполнен для возможности удаления продукта через отверстие в продольном направлении.
Обертка может герметично закрываться по длине посредством продольного плавникового шва, который может быть расположен на противоположной от клапана стороне упаковки.
Обертка может закрываться на каждом конце посредством поперечного шва.
Клапан может с возможностью сгибания присоединяться вдоль одного края, смежного одному из поперечных швов и может поворачиваться вокруг поперечного шва. Один или более швов могут быть расположены на центральном участке упаковки или могут быть смещены от центрального участка.
В одном варианте выполнения упаковкой является пленочная упаковка поточного обертывания.
Повторно запечатываемым клеем может быть холодный запечатываемый клей.
Шов между клапаном и дополнительным участком обертки может представлять собой средство индикации вскрытия. В качестве альтернативы, может быть обеспечена этикетка для индикации вскрытия. Свободные края клапана могут быть прикреплены к дополнительному участку обертки посредством двух швов: первого разрушаемого шва и второго отслаиваемого и повторно запечатываемого шва.
Упаковка может содержать по меньшей мере один отслаиваемый участок, образованный в одной поверхности упаковки, что отслаиваемый участок может отслаиваться от остатка соответствующей поверхности для увеличения глубины отверстия, после того как клапан открыли. Упаковка может содержать первый отслаиваемый участок, образованный в одной поверхности упаковки, через которую продолжается клапан, причем первый отслаиваемый участок продолжается частично вдоль поверхности от ее края, образующего отверстие. В дополнение или в качестве альтернативы, упаковка может содержать второй отслаиваемый участок во второй поверхности упаковки, противоположной поверхности, через которую продолжается клапан. Или каждый отслаиваемый участок может иметь краевые области, которые покрывают соответствующие краевые области остатка соответствующей поверхности упаковки, причем частично покрывающие краевые области соединены вместе с возможностью высвобождения. Покрывающие краевые области могут быть соединены вместе с использованием отслаиваемого и повторно запечатываемого клея.
Упаковка может быть предназначена для пищевого продукта, имеющего в общем форму блока, такого как кондитерское изделие в виде батончика.
Продукт, имеющий в общем форму блока может содержать два или более участка, имеющих блочную форму.
Согласно второму варианту изобретения обеспечено объединение упаковки согласно первому варианту и продукта, имеющего в общем форму блока, закрытого упаковкой.
Продуктом может быть пищевой продукт, которым может быть шоколадная или другая кондитерская плитка.
Согласно третьему варианту изобретения обеспечен способ упаковки продукта, имеющего в общем форму блока, включающий:
а) обеспечение обертки из гибкого материала, содержащей повторно запечатываемый клапан, закрывающий отверстие в обертке;
b) сгибание обертки вокруг продукта, имеющего в общем форму блока и соединение противоположных поверхностей материала для образования швов, так чтобы охватить продукт;
с) позиционирование обертки при ее сгибании вокруг продукта так, чтобы клапан располагался смежно одному концу упаковки и продолжался полностью через одну поверхность упаковки и, по меньшей мере, частично вниз на противоположные стороны.
Стадия сгибания обертки вокруг продукта, имеющего в общем форму блока, и соединения противоположных поверхностей материала для образования швов, так чтобы охватить продукт, может включать образование продольного шва и поперечного шва на каждом конце продукта, причем повторно запечатываемый клапан сгибаемо соединен вдоль одного края, смежного одному из поперечных швов.
Способ может содержать образование продольного шва вдоль задней поверхности упаковки, причем клапан располагают так, чтобы он продолжался через переднюю поверхность, противоположную задней поверхности. В качестве альтернативы способ может содержать образование продольного шва вдоль передней поверхности упаковки, причем клапан располагается поперек, по меньшей мере, части задней поверхности.
Упаковка может производиться с использованием способа поточного обертывания, причем обертка обеспечивается как часть рулона материала, содержащая множество повторно запечатываемых клапанных участков, разнесенных по длине, причем материал сгибается вокруг продукта так, что противоположные продольные краевые области материала вводятся в контакт и соединены вместе для образования продольного шва, причем противоположные участки материала на каждом конце продукта вводятся в контакт и соединяются для образования поперечных концевых швов и материал отрезается для отделения упаковки от остатка пленки.
Способ может содержать обеспечение обертки, содержащей по меньшей мере один отслаиваемый участок и позиционирование обертки так, чтобы участок располагался на поверхности упаковки.
Способ может включать отрезание оберточного материала для образования интегрального клапанного участка. Обертка может быть отрезана для образования клапанного участка с использованием лазерной обработки. В качестве альтернативы обертка может быть отрезана для образования клапана с использованием механического средства. Отслаиваемый клей может быть, по меньшей мере, частично нанесен на интегральный участок обертки. При желании отслаиваемый клей может быть нанесен на интегральный участок обертки на отдельных участках, в результате чего некоторые участки участка обертки не содержат клея. Там где упаковка производится с использованием способа поточного обертывания, способ может включать производство рулона материала, содержащего множество предварительно отрезаемых клапанных участков.
Согласно четвертому варианту изобретения обеспечена комбинация из по существу жесткого продукта, имеющего в общем форму блока, и обертки из гибкого материала, охватывающей продукт, причем обертка содержит отверстие и сгибаемый клапанный участок, причем клапанный участок содержит одну или более свободных краевых областей, покрывающих дополнительный участок обертки, и приклеены к нему посредством отслаиваемого и повторно запечатываемого клея для повторного закрывания отверстия, в котором отверстие имеет максимальную ширину, равную или немного больше стороны продукта.
Отверстие может иметь максимальную ширину, которая на 1-15%, 1-14%, 1-13%, 1-12% или 1-11% больше стороны продукта.
Отверстие может иметь максимальную ширину, которая на 1-10% больше стороны продукта. В качестве альтернативы отверстие может иметь максимальную ширину, которая на 1-9%, 1-8%, 1-7% или 1-6% больше стороны продукта.
Отверстие может иметь максимальную ширину, которая на 1-5% больше стороны продукта.
Продукт может быть по существу прямоугольным при виде сверху, с длинными и короткими краями, при этом клапан и отверстие могут быть выровнены с одним из длинных боковых краев продукта.
Продукт может быть по существу прямоугольным при виде сверху, с длинными и короткими краями, при этом клапан и отверстие могут быть выровнены с одним из коротких боковых краев продукта.
При виде сверху форма продукта может варьировать, например, прямоугольник может быть правильным или может иметь волнистые края.
Обертка может содержать два клапанных участка и два отверстия, причем первый клапанный участок и отверстие выровнены с одним из боковых краев продукта и второй клапанный участок и отверстие выровнены с другим одним из боковых краев продукта.
Обертка может содержать продольный плавниковый шов и участок плавникового шва может образовывать язычок, за который можно браться для открывания клапана.
Обертка может быть оберткой поточного обертывания.
Обертка может содержать по меньшей мере один отслаиваемый участок, образованный в одной поверхности упаковки, что отслаиваемый участок может отслаиваться с остатка соответствующей поверхности для увеличения глубины отверстия, после открывания клапана. Упаковка может содержать первый отслаиваемый участок, образованный в одной поверхности упаковки, через которую продолжается клапан, причем первый отслаиваемый участок продолжается частично вдоль поверхности от ее края, образующего отверстие. В дополнение или в качестве альтернативы, упаковка может содержать второй отслаиваемый участок во второй поверхности упаковки, противоположной поверхности, через которую продолжается клапан. Или каждый, отслаиваемый участок содержит краевые области, которые покрывают соответствующие краевые области остатка соответствующей поверхности упаковки, причем покрывающие краевые области соединены вместе с возможностью высвобождения. Покрывающие краевые области могут быть соединены вместе с использованием отслаиваемого и повторно запечатываемого клея.
Продуктом может быть пищевой продукт, которым может быть шоколадная или другая кондитерская плитка.
Продукт может содержать два или более по существу жестких участков блочной формы, расположенных на одной линии внутри обертки. Продукт может содержать две или более шоколадных или других кондитерских плиток, расположенных на одной линии или бок о бок внутри обертки.
Согласно пятому варианту изобретения обеспечен способ упаковки по существу жесткого продукта, имеющего в общем форму блока, в обертку из гибкого материала, включающий:
а) обеспечение обертки из гибкого материала, содержащей отверстие и сгибаемый клапанный участок, причем клапанный участок содержит одну или более свободных краевых областей, покрывающих дополнительный участок обертки и приклеивающихся к нему посредством отслаиваемого и повторно запечатываемого клея для повторного закрывания отверстия, и отверстие имеет максимальную ширину, равную или немного больше стороны продукта;
b) сгибание обертки вокруг продукта, имеющего в общем форму блока и соединение поверхностей материала для образования швов, так чтобы охватить продукт;
с) позиционирование обертки при ее сгибании вокруг продукта, так что отверстие в обертке располагается смежно одной стороне упаковки.
Согласно шестому варианту изобретения обеспечена упаковка для продукта, имеющего в общем форму блока, причем упаковка содержит обертку из гибкого материала, полностью охватывающей продукт, причем обертка содержит сгибаемый клапанный участок, смежный концу упаковки, причем свободные края клапана покрывают дополнительный участок обертки и приклеены к нему посредством отслаиваемого и повторно запечатываемого клея, причем клапан продолжается, по меньшей мере, частично поперек первой поверхности упаковки для образования герметичного и повторного закрытия упаковки, причем упаковка также содержит первый отслаиваемый участок, образованный на первой поверхности упаковки и второй отслаиваемый участок, образованный в одной поверхности упаковки, противоположной первой поверхности, причем каждый из первого и второго отслаиваемых участков выполнен так, что его можно отделить от остатка соответствующей поверхности для увеличения глубины отверстия в упаковке, образуемого когда открывается клапан.
Подробное описание изобретения
Некоторые варианты выполнения изобретения описаны ниже только в качестве примера со ссылкой на сопровождающие чертежи, на которых:
Фиг.1 - вид сверху первого варианта выполнения упаковки по изобретению, показывающий упаковку в закрытом положении;
Фиг.2 - вид сбоку упаковки Фиг.1;
Фиг.3 - вид, подобный Фиг.1, но показывающий упаковку в открытом положении;
Фиг.4 - вид сбоку упаковки Фиг.3;
Фиг.5 - еще один вид сбоку упаковки Фиг.3, показывающий продукт, частично удаленный;
Фиг.6 - еще один вид сбоку упаковки в открытом положении, показывающий как клапан, образующий часть упаковки, может сгибаться сверху для содействия перемещению продукта внутрь и наружу;
Фиг.7 - вид в разрезе в увеличенном масштабе части обертки по линии Х-Х Фиг.1;
Фиг.8 - вид, подобный Фиг.7, но показывающий способ образования клапана, где оберткой является ламинированный материал ("ламинат");
Фиг.9 - вид сверху упаковки согласно второму варианту выполнения, показывающий упаковку в закрытом положении;
Фиг.10 - вид сверху упаковки согласно третьему варианту выполнения, показывающий упаковку в закрытом положении;
Фиг.11 - вид сверху упаковки согласно четвертому варианту выполнения, показывающий упаковку в закрытом положении;
Фиг.12 - вид сверху упаковки согласно пятому варианту выполнения, показывающий упаковку в закрытом положении;
Фиг.13 - вид сверху с лицевой стороны упаковки согласно шестому варианту выполнения, в закрытом положении;
Фиг.14 - вид сбоку упаковки Фиг.13;
Фиг.15 - вид, подобный Фиг.13, но показывающий клапан, образующий часть повторного закрытия в открытом положении;
Фиг.16 - вид сбоку упаковки Фиг.15;
Фиг.17 - вид, подобный Фиг.16, но показывающий открытие отслаиваемого переднего участка;
Фиг.18 - вид, подобный Фиг.17, показывающий открытие отслаиваемого заднего участка;
Фиг.19 - вид сверху с задней стороны упаковки Фиг.13-18, показывающий упаковку в закрытом положении;
Фиг.20 - вид, подобный Фиг.19, но показывающий упаковку в открытом положении;
Фиг.21 - вид сверху с лицевой стороны упаковки согласно седьмому варианту выполнения, в закрытом положении; и
Фиг.22 - вид сбоку упаковки Фиг.21, показанной в частично открытом положении.
Для разных вариантов выполнения, описанных ниже, использованы одинаковые позиции, в каждом варианте увеличенные на 100.
Упаковка согласно первому варианту выполнения изобретения обозначена в целом позицией 10. Упаковка 10 по данному варианту особенно пригодна для упаковки пищевых продуктов, имеющих в общем форму блока, таких как шоколадные плитки 12 или других подобных кондитерских продуктов. Однако упаковка 10 может быть приспособлена для упаковки других продуктов, имеющих в общем форму блока. Упаковка 10 может также быть использована для упаковки продуктов, обеспеченных в виде двух или более по существу блочных частей. Например, упаковку 10 можно использовать для упаковки многочисленных шоколадных или других кондитерских плиток, расположенных на одной линии.
Упаковка 10 содержит обертку 14 из гибкого материала, которую сгибают вокруг продукта и запечатывают так, чтобы полностью охватить продукт. Покрывающие продольные краевые области обертки 14 соединены вместе для образования продольного плавникового шва 16, который продолжается вдоль задней поверхности 18 упаковки. Противоположные концевые краевые области материала соединены вместе для образования поперечных швов 20, 22 на каждом конце продукта.
Продольный шов 16 и поперечные швы 20, 22 могут быть образованы с использованием клея для соединения противоположных поверхностей обертки или нагреванием материала под давлением, так что противоположные поверхности плавятся и сплавляются вместе для образования сварного шва. В качестве альтернативы может быть использовано ультразвуковое средство соединения противоположных поверхностей вместе. На Фиг.2 продольный плавниковый шов 16 показан для ясности выступающим наружу от задней поверхности 18 упаковки. В действительности, и как показано на Фиг. 4 и 6, плавниковый шов 16 сгибается поверх одной стороны или другой. Плавниковый шов 16 необязательно должен быть расположен центрально вдоль задней поверхности, но может быть смещен к одной стороне или другой.
Обертка может быть выполнена из любого сгибаемого материала, пригодного для упаковки соответствующего продукта. Там где продуктом является пищевой продукт, материал может быть по существу не пропускающим влагу и газ, так что когда он полностью запечатан, упаковка обеспечивает герметично закрытый контейнер для продукта. В качестве альтернативы, упаковка может иметь вентиляционное отверстие для возможности длительного хранения продукта (например, Turkish Delight продукты требуют вентиляции для предотвращения микробной деятельности во время хранения). Примеры типичных материалов, которые могут использоваться, включают в себя: материалы с бумажным наполнителем, один или более полимерных материалов и металлическую фольгу. Обертка может быть слоистым материалом, содержащим слои из одинаковых или разных материалов, которая может включать любые из вышеупомянутых в любом подходящем объединении. В одном варианте выполнения материал содержит ламинат металлической фольги, который может быть алюминиевой фольгой с одной стороны и пластиковым материалом с другой стороны. Когда материал образовывает упаковку, металлическая фольга размещается на внутренней стороне, обращенной к продукту и пластиковый материал на наружной стороне. На пластиковом материале может быть напечатана или иным путем обеспечена информация для потребителя.
Обертка 14 содержит отверстие, которое закрывается клапанным участком 24 возле одного конца, который образует запечатанный и повторно закрываемый конец упаковки. Клапан 24 с возможностью сгибания соединяется с остатком обертки 14 вдоль одного края 26, смежного поперечному шву 20 на одном конце упаковки. Клапан содержит три свободных края 28, 30, 32, которые покрывают основной участок 34 корпуса обертки. Свободные края 28, 30, 32 клапана присоединены к покрывающему участку 36 основного участка корпуса посредством отслаиваемого и повторно запечатываемого клея 37. В ряде случаев повторно запечатываемый клей 37 только продолжается вдоль части клапана. Клапан продолжается через всю переднюю поверхность 38 упаковки и, по меньшей мере, частично вниз на противоположные стороны 40, 42 так, что когда его отгибают, он открывает отверстие 44 на конце упаковки, через которое может быть удален продукт 12 в продольном направлении, как указано стрелкой А на Фиг.4. Язычок 46 обеспечен на свободном конце 30 клапана, который лежит на передней поверхности 38 основного участка корпуса. Язычок 46 не полностью приклеен к передней поверхности 38 упаковки, так что он может захватываться потребителем для отделения, чтобы открыть клапан 24.
Отслаиваемый и повторно запечатываемый клей 37 может быть холодным запечатываемым клеем и может наноситься на свободные края клапана 24 или на покрывающий участок 36 основного участка 34 корпуса или на то и другое. Шов клапана может представлять собой средство индикации вскрытия, обеспечивающее визуальную индикацию того, что клапан уже открывали. Расположение клапана может включать два шва, а именно - первый шов, который разрушается, когда клапан впервые открывают, и второй, отслаиваемый и повторно запечатываемый шов для повторного закрывания после открытия. Первый разрушаемый шов обычно расположен с наружной стороны второго отслаиваемого шва, так что отчетливая визуальная индикация обеспечивается для потенциальных потребителей, если клапан 24 открывали или повторно закрывали.
Хотя отслаиваемый шов на клапане 24 является повторно запечатываемым, это необязательно подразумевает образование герметично запечатанного шва, когда клапан повторно закрывают. Однако, когда клапан 24 повторно закрыт, он будет надежно удерживать оставшееся содержимое в упаковке и будет обеспечивать определенную защиту продукта от окружающей среды. Ссылки на клапан, являющийся повторно закрываемым или «повторно запечатываемым» следует толковать соответственно. Однако когда упаковка используется для упаковки пищевого продукта, такого как шоколадная плитка, предполагается, что клапан 24 будет полностью закрываться, когда упаковка образована до первого открывания, так что упаковка в исходном положении образует герметичную упаковку. Таким образом, первый разрушаемый шов может быть выполнен с возможностью запечатывания клапана 24, тогда как второй отслаиваемый шов может быть просто выполнен для удерживания клапана в положении повторного закрывания, без образования идеального шва. Соответственно, отслаиваемый клей, образующий второй шов, можно не наносить на весь участок поверхности свободных краев клапана 24.
Упаковка 10 может быть произведена с использованием способа поточного обертывания, в котором пленочный материал, содержащий некоторое количество соответственно расположенных участков 24 клапана, размещенных по длине, поставляется в рулоне для упаковки продуктов 12 в по существу непрерывном процессе. Материал подается через машину, которая сгибает его вокруг каждого продукта по очереди так, что противоположные продольные краевые области вводятся в контакт и соединяются вместе для образования продольного шва 16. Материал загибается на каждом конце продукта для образования поперечных концевых швов 20, 22, и материал отрезается для отделения каждой упаковки от остатка пленки.
В предпочтительном варианте выполнения участок 24 клапана является интегральной частью обертки и образуется в оберточном материале лазерной обработкой (например, лазерной резкой/травлением) или механическим средством для образования покрывающих участков 36 вдоль свободных краев 28, 30, 32 клапана 24. Фиг.7 представляет собой вид в разрезе края 30 клапана 24 и показывает, как выполняется разрез по материалу, следуя по растянутому или удлиненному S-образному пути 48 для образования покрывающего участка 36 между свободным краем 30 и основным участком 34 корпуса. Там где упаковка производится с использованием поточного обертывания, методом «конверт» или «панель», участки 24 клапана предварительно отрезают на пленочном материале.
Альтернативное расположение для образования клапана, где материалом является ламинат, показано на Фиг.8. В этом варианте выполнения материал содержит внутренний слой 50, который может быть металлической фольгой или другим металлизированным материалом и наружный слой 52, который может быть пластиковым материалом, но может быть использован любой подходящий ламинат. Два слоя 50, 52 соединены вместе прочным клеем 54 на большинстве участков. Однако, на, по меньшей мере, части участка, где образуются покрывающие свободные края 28, 30, 32 клапана, слои 50, 52 соединены вместе посредством отслаиваемого и повторно запечатываемого клея 56. Первый разрез или линия наименьшего сопротивления 58 образуется по пластиковому наружному слою и обозначает наружный край клапана 24. Второй разрез или линия наименьшего сопротивления 60, разнесенная внутри от первой, образуется по внутреннему металлическому слою 52. Расстояние между первым и вторым разрезами или линиями наименьшего сопротивления 58, 60 определяет ширину покрывающих краевых областей клапана 14.
Первый и второй разрезы 58, 60 могут быть образованы с использованием одного или более лазеров, как указано стрелками 62, 64 после того, как два слоя 50, 52 были ламинированы. Так как два слоя 50, 52 являются разными материалами, лазеры 62, 64, могут работать с разными частотами для образования требуемой глубины разреза. В дополнение или как альтернатива, глубина разреза, образованная лазерами, может, по меньшей мере, частично контролироваться содержанием, по меньшей мере, одного слоя материала в ламинате, который соединяется или покрывается добавкой, задерживающей лазер, имеющей свойства задерживания лазера. Добавкой, задерживающей лазер, может быть краска и конкретно металлическая краска. В одном варианте выполнения слоистый материал включает непрерывную металлическую фольгу, приклеенную ко второму слою материала, который соединяется или покрывается добавкой, задерживающей лазер.
Термин «добавка, задерживающая лазер» следует брать для обозначения любого материала, который способен тормозить, ослаблять или уменьшать прохождение электромагнитной радиации в диапазоне, обычно используемом лазером (усиление света имитированным выделением радиации).
В альтернативном способе первый и второй разрезы 58, 60 образуются прохождением слоистого материала между парой противоположно вращающихся высекальных цилиндров, причем один из цилиндров контактирует с наружным слоем 52 и один - с внутренним слоем 50, причем каждый из цилиндров содержит один или более ножей, которые образуют разрез в соответствующем слое.
Первый и второй разрезы или линии наименьшего сопротивления 58, 60 могут быть образованы до того, как два слоя 50, 52 ламинированы. В этом случае линия перфораций будет образована в материале, образующем каждый слой 50, 52 и слои будут расположены так, что когда они ламинированы, линии перфорации 58, 60 будут располагаться параллельно, как показано на Фиг.8.
Упакованный продукт обеспечивается клапаном 24 в закрытом и запечатанном положении. Потребитель открывает упаковку 10, держась за язычок 46 и отслаивая клапан 24 с основного участка 34 корпуса для открывания отверстия 44, через которое жесткую плитку 12 можно выдвинуть из основного участка 34 корпуса упаковки в продольном направлении, как указано стрелкой А на Фиг.4. Там где плиткой 12 является разделенная на части плитка, потребителю необходимо выдвигать ее достаточно далеко для возможности отломить один или более участков по мере необходимости. В качестве альтернативы плиткой 12 может быть цельная плитка, по меньшей мере, часть которой можно отломить, когда требуется. Оставшуюся плитку 12 можно затем затолкнуть обратно в упаковку и клапан 24 повторно запечатать для ее надежного сохранения. Как показано на Фиг.6, вследствие гибкого свойства материала и ширины клапана 24 клапан 24 может сгибаться вправо вокруг задней части упаковки около поперечного концевого шва 20 для удобного доступа к продукту.
Отверстие 44 имеет размеры для возможности прохождения продукта 12 через него, когда клапан 24 открыт. Соответственно, отверстие 44 имеет ширину, которая равна или немного больше стороны 13 продукта 12, которая расположена на одной прямой с отверстием. Типично, отверстие 44 будет иметь размеры такие, что его максимальная ширина Y будет на 1-10% больше стороны 13 продукта 12, который должен проходить через отверстие. В некоторых вариантах выполнения отверстие может иметь максимальную ширину, которая на 1-5% больше стороны 13 продукта 12, который расположен на одной прямой с отверстием.
Упаковка 10 согласно изобретению особенно пригодна для использования в упаковке шоколадных или других кондитерских плиток, что позволяет потребителю без труда открывать упаковку время от времени для удаления одного или более участков и держать оставшееся содержимое в надежном и герметичном контейнере. При этом упаковка согласно изобретению может также быть пригодной в упаковке меньшего размера плиток «для перекуса», так как она обеспечивает легкость при открывании упаковки, которая создает меньше неприятностей, чем известная упаковка. В некоторых случаях более одной плитки могут содержаться в упаковке с расположением плиток на одной линии или бок о бок. В этом случае упаковку 10 можно открывать и удалять одну из плиток до того, как клапан повторно закрывается для удерживания оставшейся плитки или плиток в этой упаковке. Действительно, как уже было установлено, упаковка 10 согласно изобретению может быть выполнена с возможностью упаковки любого продукта, имеющего в общем форму блока питания или даже непищевого продукта, где желательно иметь упаковку, которая легко открывается и повторно закрывается.
Будет понятным, что форма клапана 24 может отличаться от формы, показанной в первом варианте выполнения. Например, клапан 24 может быть полукруглым или иметь некоторую другую закругленную форму, так что он не покажет трех четко выраженных боковых края, но может рассматриваться как единственный непрерывный свободный край. Действительно, клапан 24 может иметь любую подходящую форму и может иметь один, два, три и более свободных краевых областей. Кроме того, клапан 24 не нужно располагать рядом с продольным концом, как показано. В некоторых случаях упаковка может быть слишком большого размера, так что она длиннее продукта. В этом случае клапан 24 может быть расположен внутри от конца, при условии, что продуктом можно манипулировать через отверстие 44.
Фиг.9 показывает вариант выполнения упаковки 110, в котором клапан 124 расположен вдоль одной из длинных боковых краев 166 упаковки 110 так, что продуктом 120 можно манипулировать в сторону через отверстие 144. На Фиг.9 внешние размеры продукта 120 показаны пунктирной линией, и можно увидеть, что упаковка 110 увеличенного размера длиннее и шире продукта 120. Ширина отверстия 144, закрываемого клапаном 124, не продолжается по всей длине бокового края 166 упаковки, но имеет размеры для возможности прохождения продукта через отверстие 144. Таким образом, отверстие 144 имеет ширину, которая равна или немного больше длинной стороны 155 продукта. Как и в случае с первым вариантом выполнения, отверстие 144 будет типично иметь размеры такие, что ширина будет на 1-10% или 1-5% больше стороны 155 продукта 120, который расположен на одной прямой с отверстием.
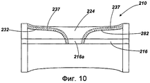
Фиг.10 показывает дополнительный вариант выполнения упаковки 210, в котором клапан 224 обеспечен вдоль бокового края. В этом варианте выполнения клапан 224 обеспечен на задней поверхности и плавниковый шов 216 смещен к стороне упаковки, на которой образован клапан 224. Часть 216а плавникового шва образует язычок или ручку, за которую берется потребитель, чтобы открыть клапан 224. В этом варианте выполнения отслаиваемый клей 237 наносится только вдоль двух боковых краевых областей 282, 232 клапана.
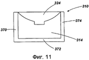
Изобретение не ограничивается упаковкой, содержащей продольный шов или которая образуется с использованием способа поточного обертывания и устройства. Фиг.11 показывает схематично упаковку 310, в которой обертка 314 содержит лист гибкого материала 314, сложенного вокруг продукта и запечатанного вдоль трех краев 370, 372, 374. В показанном варианте выполнения в общем полукруглый клапан 324 обеспечен вдоль одной из длинных боковых краев, но клапан может быть расположен на одной прямой с одной из коротких сторон. Фиг.12 показывает дополнительный вариант выполнения упаковки 410, в которой обертка 414 содержит два листа гибкого материала, расположенных на противоположных сторонах продукта. Листы соединяются или свариваются вместе вдоль всех четырех сторон для образования швов 470, 472, 474, 476. В общем треугольный повторно запечатываемый клапан 424 обеспечен вдоль одной из длинных боковых краев. Опять клапан 424 может быть расположен на одной прямой с одной из коротких сторон.
Дополнительный вариант выполнения упаковки 500 согласно изобретению показан на Фиг.13-20.
Упаковка 500 подобна упаковке 10 первого варианта выполнения, описанного выше со ссылкой на Фиг.1-8, к которым следует отсылать читателя. Только различия между упаковкой 500 и первым вариантом выполнения будут описаны подробно.
Упаковка 500 содержит повторно закрывающийся клапан 524, расположенный рядом с одним продольным концом упаковки 500 для образования повторного концевого закрытия. Клапан 524 существенно такой же, как клапан 24 в первом варианте выполнения, и может быть образован с использованием любого из способов, рассмотренных выше. Однако клапан 524 немного меньше по длине клапана 24 в первом варианте выполнения, так что отверстие 544, образованное, когда клапан 524 открыт, меньшей глубины, чем отверстие 44, образованное в первом варианте выполнения 10, когда клапан 24 открыт. Это можно увидеть при сравнении Фиг.3 и 15. Для получения более легкого доступа к продукту 512 для пользователя упаковка 500 обеспечена отслаивающимся первым и вторым участками 584, 586, которые закрывают отверстия на противоположных поверхностях упаковки и что отверстия образуют продолжения отверстия 544, закрываемого клапаном 524.
Первый или передний участок 584 продолжается от верхнего (как показано) края 588 основного участка 534, смежного отверстию 544, частично вниз переднего участка стенки или поверхности 538 основного участка 534 корпуса. Передний участок 584 имеет язычок 590 на верхнем крае, который открывается для захвата, когда открыт клапан 524. Этот язычок может быть захвачен пользователем для отделения переднего участка, как показано на Фиг.17.
Второй или задний участок 586 продолжается от верхнего (как показано) участка задней стенки или поверхности 518 основного участка 534 корпуса, который приблизительного находится на одном уровне с верхним (как показано) краем передней стенки, частично вниз задней стенки. На верхнем конце задний участок продолжается вокруг сторон упаковки для соединения с передней стенкой основного участка 534 корпуса в положении по существу на одной линии с верхним краем передней стенки. Это расположение позволяет отслаивать сверху вниз задний участок 586, клапан 524 и концевой шов 520, как показано на Фиг.18, как только открыли клапан 524.
Передний и задний участки 584, 586 могут быть образованы подобно клапану 524, так что каждый участок содержит одну или более свободных краевых областей, которые покрывают краевую область основного участка 534 корпуса, причем покрывающие краевые области соединены вместе посредством отслаиваемого клея, который может быть повторно запечатываемым или повторно закрывающим клеем. Там где упаковка 500 образована из слоистого материала, передний и задний участки 584, 586 могут быть образованы с использованием способа смещенных разрезов, как описано выше относительно Фиг.8. Чтобы открыть упаковку 500, пользователь вначале отслаивает клапан 524, как показано на Фиг.15 и 16. Затем пользователь берется за язычок 590 и чтобы открыть, отслаивает передний участок 584, как показано на Фиг.17. Пользователь также может продолжить сгибать открытый язычок 524 с обратной стороны и, чтобы открыть, отслаивает задний участок 586, как показано на Фиг.18. Отделение переднего и заднего участков раскрывает больше продукта, делая более легким удаление его из упаковки. Пользователь может также использовать боковые участки 594 упаковки между передним и задним участками для удерживания продукта в целях гигиены. Когда передний и задний участки 584, 586 соединяются с использованием повторно запечатываемого или повторно закрывающего клея, пользователь может прижать эти участки обратно на место и повторно запечатать клапан 524 для удерживания части содержимого в упаковке.
Если требуется, упаковка 500 может содержать только один из переднего и заднего отслаиваемых участков 584, 586.
Упаковка 500 может быть образована с использованием способа поточного обертывания, как описано выше, из рулона или полотна материала, на котором повторно образуются клапаны 524 и отслаивающиеся участки 584, 586.
На Фиг.21 и 22 показан еще один вариант выполнения упаковки 600, которая является модификацией варианта выполнения 500, описанного выше.
Упаковка 600 подобна упаковке 500, за исключением того, что клапан 624 образован исключительно на передней поверхности упаковки и не продолжается вниз противоположных сторон согласно настоящему заявленному изобретению. Как следствие, когда упаковка открыта и передний и задний участки 684, 686 отделены для открывания, боковые участки 694 между передним и задним участками полностью охватывают боковые участки продукта. Для доступа к продукту пользователь также отслаивает боковые участки сверху вниз.
Хотя упаковка 600 не заявлена в прилагаемой формуле, патентная защита этой конструкции может быть обеспечена соответствующим образом.
Из вышеизложенного будет понятно, что клапан 24, 124, 224, 324, 424, 524 и соответствующее отверстие 44, 144, 544 могут быть расположены в любом подходящем месте на упаковке, при условии, что жестким блочным продуктом 20, 120, 520 можно манипулировать через отверстие, когда клапан открыт. Действительно, упаковка согласно изобретению может быть обеспечена двумя или более клапанами и соответствующими отверстиями, так что потребитель имеет возможность открывать упаковку в разных положениях. Например, упаковка согласно изобретению может быть обеспечена одним клапаном около одного продольного конца и вторым клапаном вдоль одной из длинных сторон для обеспечения возможности открывания сбоку.
Вышеприведенные варианты выполнения не предназначены для ограничения объема охраны, представленной формулой изобретения, но предпочтительны для описания примера относительно того, как изобретение можно осуществить на практике.
Claims (22)
1. Комбинация одного продукта, имеющего, в общем, форму блока и упаковки для продукта, причем упаковка содержит обертку из гибкого материала, охватывающую продукт, причем обертка содержит сгибаемый клапанный участок, смежный концу упаковки или расположенный внутри от конца упаковки, свободные края клапанного участка покрывают дополнительный участок обертки и приклеены к нему посредством отслаиваемого и повторно запечатываемого клея, отличающаяся тем, что обертка представляет собой обертку поточного обертывания, запечатанную по длине посредством продольного плавникового шва, расположенного на противоположной от клапанного участка стороне упаковки и на каждом конце посредством поперечного плавникового шва, причем клапанный участок продолжается полностью через одну поверхность упаковки и, по меньшей мере, частично вниз на противоположные боковые поверхности продукта, для образования запечатанной упаковки, способной повторно запечатываться.
2. Комбинация по п.1, в которой упаковка выполнена так, что при использовании свободные края клапанного участка могут отслаиваться от дополнительного участка обертки и клапанный участок может быть отогнут для открывания отверстия на одном конце упаковки, через которое продукт может быть удален.
3. Комбинация по п.2, в которой продукт является, по существу, прямоугольным при виде сверху, а клапанный участок выполнен с возможностью удаления продукта через отверстие в продольном направлении.
4. Комбинация по п.1, в которой клапанный участок с возможностью сгибания соединен вдоль одного края, смежного одному из поперечных швов.
5. Комбинация по п.4, в которой клапанный участок выполнен с возможностью поворота вокруг указанного одного из поперечных швов.
6. Комбинация по п.1, в которой свободные края клапана запечатаны к дополнительному участку обертки посредством двух швов, первый из которых является разрушающимся, а второй шов является отслаиваемым и повторно запечатываемым.
7. Комбинация по п.2, в которой упаковка содержит по меньшей мере один отслаиваемый участок панели, образованный в одной поверхности упаковки, причем отслаиваемый участок панели может отслаиваться от соответствующей поверхности для увеличения глубины отверстия после открывания клапанного участка.
8. Комбинация по п.7, в которой упаковка содержит первый отслаиваемый участок панели, образованный в поверхности упаковки, через которую продолжается клапан, причем первый отслаиваемый участок панели продолжается частично вдоль этой поверхности от ее края, образующего отверстие.
9. Комбинация по п.8, в которой упаковка содержит второй отслаиваемый участок панели во второй поверхности упаковки, противоположной поверхности, через которую продолжается клапанный участок.
10. Комбинация по любому предшествующему пункту, в которой один продукт, имеющий, в общем, форму блока, представляет собой кондитерское изделие в форме батончика.
11. Комбинация по любому предшествующему пункту, в которой продукт, в общем, имеющий форму блока, является, по существу, жестким, причем отверстие имеет максимальную ширину, равную или немного больше стороны продукта.
12. Комбинация по п.11, в которой отверстие имеет максимальную ширину, которая на 1-10% больше стороны продукта, предпочтительно отверстие имеет ширину, которая на 1-5% больше стороны продукта.
13. Комбинация по п.11 или 12, в которой продукт является, в общем, прямоугольным при виде сверху, имеет длинные и короткие края, при этом клапанный участок и отверстие выровнены с одним из коротких боковых краев продукта.
14. Комбинация по п.1, в которой клапанный участок образован в виде интегральной части оберточного материала.
15. Способ упаковки одного продукта, имеющего, в общем, форму блока, включающий:
a) обеспечение обертки из гибкого материала, содержащей повторно запечатываемый клапанный участок, закрывающий отверстие в обертке;
b) сгибание обертки вокруг одного продукта, имеющего в общем форму блока, и соединение противоположных поверхностей материала для образования швов, так чтобы охватить продукт, отличающийся тем, что
c) упаковку производят способом поточного обертывания, причем обертку обеспечивают как часть рулона материала, имеющего множество повторно запечатываемых клапанных участков, разнесенных по его длине, причем материал сгибают вокруг продукта так, что противоположные продольные краевые области материала вводят в контакт и соединяют вместе для образования продольного плавникового шва, причем противоположные участки материала на каждом конце продукта вводят в контакт и соединяют для образования поперечных концевых швов, и материал отрезают для отделения упаковки от остатка рулона; причем
d) обертку размещают так, как она сгибается вокруг продукта, так что клапан расположен смежно одному концу упаковки или внутри от конца упаковки и продолжается полностью через одну поверхность упаковки и, по меньшей мере, частично вниз на противоположные стороны продукта.
a) обеспечение обертки из гибкого материала, содержащей повторно запечатываемый клапанный участок, закрывающий отверстие в обертке;
b) сгибание обертки вокруг одного продукта, имеющего в общем форму блока, и соединение противоположных поверхностей материала для образования швов, так чтобы охватить продукт, отличающийся тем, что
c) упаковку производят способом поточного обертывания, причем обертку обеспечивают как часть рулона материала, имеющего множество повторно запечатываемых клапанных участков, разнесенных по его длине, причем материал сгибают вокруг продукта так, что противоположные продольные краевые области материала вводят в контакт и соединяют вместе для образования продольного плавникового шва, причем противоположные участки материала на каждом конце продукта вводят в контакт и соединяют для образования поперечных концевых швов, и материал отрезают для отделения упаковки от остатка рулона; причем
d) обертку размещают так, как она сгибается вокруг продукта, так что клапан расположен смежно одному концу упаковки или внутри от конца упаковки и продолжается полностью через одну поверхность упаковки и, по меньшей мере, частично вниз на противоположные стороны продукта.
16. Способ по п.15, в котором повторно запечатываемый клапан сгибаемо соединен вдоль одного края, смежного одному из поперечных швов.
17. Способ по п.15 или 16, включающий образование продольного шва вдоль задней поверхности упаковки, причем клапан располагают так, чтобы он продолжался через переднюю поверхность, противоположную задней поверхности.
18. Способ по п.15, включающий обеспечение обертки, содержащей по меньшей мере один отслаиваемый участок панели и расположение обертки так, чтобы участок панели располагался на поверхности упаковки.
19. Способ по п.15, дополнительно включающий отрезание оберточного материала для образования интегрального клапанного участка.
20. Способ по п.19, в котором обертку отрезают с использованием лазерной обработки и/или механического средства.
21. Способ по любому из пп.19-20, в котором отслаиваемый клей, по меньшей мере, частично наносят на интегральный участок обертки.
22. Способ по любому из пп.19-20, в котором образуют рулон материала, содержащий множество предварительно образованных клапанных участков.
Applications Claiming Priority (5)
| Application Number | Priority Date | Filing Date | Title |
|---|---|---|---|
| GBGB0819200.7A GB0819200D0 (en) | 2008-10-20 | 2008-10-20 | Packaging |
| GB0819200.7 | 2008-10-20 | ||
| GB0821354.8 | 2008-11-21 | ||
| GBGB0821354.8A GB0821354D0 (en) | 2008-10-20 | 2008-11-21 | Packaging |
| PCT/GB2009/002462 WO2010046623A2 (en) | 2008-10-20 | 2009-10-14 | Packaging |
Related Child Applications (1)
| Application Number | Title | Priority Date | Filing Date |
|---|---|---|---|
| RU2014132059A Division RU2660297C9 (ru) | 2008-10-20 | 2014-08-01 | Упаковка |
Publications (2)
| Publication Number | Publication Date |
|---|---|
| RU2011120182A RU2011120182A (ru) | 2012-11-27 |
| RU2530800C2 true RU2530800C2 (ru) | 2014-10-10 |
Family
ID=40097701
Family Applications (2)
| Application Number | Title | Priority Date | Filing Date |
|---|---|---|---|
| RU2011120182/12A RU2530800C2 (ru) | 2008-10-20 | 2009-10-14 | Упаковка |
| RU2014132059A RU2660297C9 (ru) | 2008-10-20 | 2014-08-01 | Упаковка |
Family Applications After (1)
| Application Number | Title | Priority Date | Filing Date |
|---|---|---|---|
| RU2014132059A RU2660297C9 (ru) | 2008-10-20 | 2014-08-01 | Упаковка |
Country Status (12)
| Country | Link |
|---|---|
| US (1) | US9630761B2 (ru) |
| EP (2) | EP2769931B1 (ru) |
| CN (1) | CN102186743B (ru) |
| AU (2) | AU2009306181B9 (ru) |
| BR (1) | BRPI0919800B1 (ru) |
| CA (1) | CA2738321C (ru) |
| ES (2) | ES2606481T3 (ru) |
| GB (2) | GB0819200D0 (ru) |
| PL (2) | PL2769931T3 (ru) |
| RU (2) | RU2530800C2 (ru) |
| WO (1) | WO2010046623A2 (ru) |
| ZA (1) | ZA201103666B (ru) |
Families Citing this family (42)
| Publication number | Priority date | Publication date | Assignee | Title |
|---|---|---|---|---|
| US9150342B2 (en) | 2003-04-16 | 2015-10-06 | Intercontinental Great Brands Llc | Resealable tray container |
| US7717620B2 (en) | 2004-06-11 | 2010-05-18 | Sonoco Development, Inc. | Flexible packaging structure with a built-in opening and reclose feature, and method for making same |
| US11807438B2 (en) | 2005-04-05 | 2023-11-07 | Sonoco Development, Inc. | Flexible packaging structure with a built-in opening and reclose feature |
| US7963413B2 (en) | 2006-05-23 | 2011-06-21 | Kraft Foods Global Brands Llc | Tamper evident resealable closure |
| US8308363B2 (en) | 2006-05-23 | 2012-11-13 | Kraft Foods Global Brands Llc | Package integrity indicator for container closure |
| US8114451B2 (en) | 2006-12-27 | 2012-02-14 | Kraft Foods Global Brands Llc | Resealable closure with package integrity feature |
| US8408792B2 (en) | 2007-03-30 | 2013-04-02 | Kraft Foods Global Brands Llc | Package integrity indicating closure |
| TW200946406A (en) * | 2008-01-15 | 2009-11-16 | Hosokawa Yoko Kk | Easily openable packaging bag |
| ES2502240T3 (es) * | 2008-02-22 | 2014-10-03 | Beanstalk Aps | Envase de fácil apertura |
| US10493688B2 (en) | 2008-03-06 | 2019-12-03 | Sonoco Development, Inc. | Flexible packaging structure with built-in tamper-evidence features and method for making same |
| US9975290B2 (en) | 2008-03-06 | 2018-05-22 | Sonoco Development, Inc. | Flexible packaging structure with built-in tamper-evidence features and method for making same |
| US20100018974A1 (en) | 2008-07-24 | 2010-01-28 | Deborah Lyzenga | Package integrity indicating closure |
| GB0819200D0 (en) | 2008-10-20 | 2008-11-26 | Cadbury Holdings Ltd | Packaging |
| DK2347971T3 (da) | 2010-01-26 | 2012-09-17 | Gen Biscuit | Genlukkelig emballage til fødevarer og fremgangsmåde til fremstilling |
| EP2368811B1 (en) | 2010-03-23 | 2012-08-22 | Generale Biscuit | Resealable packaging for food products and method of manufacturing |
| EP2571766B1 (en) | 2010-05-18 | 2014-09-10 | Intercontinental Great Brands LLC | Reclosable flexible packaging and methods for manufacturing same |
| US9656783B2 (en) | 2010-05-18 | 2017-05-23 | Intercontinental Great Brands Llc | Reclosable flexible packaging and methods for manufacturing same |
| US8650843B2 (en) | 2011-02-04 | 2014-02-18 | Alpma Alpenland Maschinenbau Gmbh | Method of packaging products |
| CN103517855B (zh) | 2011-03-17 | 2016-03-16 | 洲际大品牌有限责任公司 | 可再闭合的柔性膜包装产品及制造方法 |
| GB201201516D0 (en) * | 2012-01-30 | 2012-03-14 | Cadbury Uk Ltd | Packaging and method of packaging |
| US10071841B2 (en) | 2013-07-03 | 2018-09-11 | Bemis Company, Inc. | Scored package |
| US9650180B2 (en) | 2013-10-25 | 2017-05-16 | Printpack Illinois, Inc. | Tamper-indicating shapes for flexible recloseable packages |
| FR3014853B1 (fr) * | 2013-12-12 | 2016-01-01 | Finega | Flan et etui hermetique et refermable pour le conditionnement de denrees alimentaires |
| CN107000915B (zh) * | 2014-11-21 | 2020-12-04 | 洲际大品牌有限责任公司 | 具有改善的内容物可取用性的可重新密封的包装 |
| GB2533595A (en) * | 2014-12-22 | 2016-06-29 | Parkside Flexibles (Europe) Ltd | Package |
| US20160237388A1 (en) * | 2015-02-12 | 2016-08-18 | Sheila Walberg-O'Neil | Method for Removing Impurities from a Liquid by Attracting the Impurities through Absorption and Adsorption |
| US10093470B2 (en) | 2015-12-09 | 2018-10-09 | Intercontinental Great Brands Llc | Food package having opening feature and methods of opening thereof |
| US9643766B1 (en) * | 2016-03-22 | 2017-05-09 | Sonoco Development, Inc. | Precision scored wrapper for in home use |
| USD797572S1 (en) | 2016-09-06 | 2017-09-19 | Cookina Holdings Inc. | Cooking pouch |
| JP2018184176A (ja) * | 2017-04-24 | 2018-11-22 | 凸版印刷株式会社 | ピロー包装袋 |
| JP7230959B2 (ja) * | 2017-04-24 | 2023-03-01 | 凸版印刷株式会社 | ピロー包装袋 |
| TWI781221B (zh) | 2017-09-22 | 2022-10-21 | 美商陶氏全球科技有限責任公司 | 用於可再閉合包裝之組合物及多層膜 |
| US20190359363A1 (en) * | 2017-10-17 | 2019-11-28 | Ips Industries, Inc. | Reusable tamper-evident bag |
| CA3075846A1 (en) * | 2017-11-06 | 2019-05-09 | Sonoco Development, Inc. | Flexible packaging structure with built-in tamper-evidence features and method for making same |
| WO2020006354A1 (en) * | 2018-06-29 | 2020-01-02 | Illinois Tool Works Inc. | Child deterrent zipper closure |
| EP3590704A1 (en) | 2018-07-02 | 2020-01-08 | Sit Group S.P.A. | Stay fresh food bag |
| WO2021035326A2 (en) * | 2019-08-28 | 2021-03-04 | Shandong Bihai Packaging Materials Co. Ltd. | Processes and equipment to manufacture aseptic carton packages provided with longitudinal joining and sealing side regions and process to manufacture multilayer laminated packaging material used to produce said aseptic carton packages provided with longitudinal joining and sealing side regions |
| US12338050B2 (en) * | 2019-12-19 | 2025-06-24 | The Hershey Company | Scored candy bar wrapper and method of opening same |
| US11731415B2 (en) * | 2020-04-30 | 2023-08-22 | Sergio Ribeiro Romeiro | Process to manufacture multilayer laminated packaging material |
| US11981491B2 (en) * | 2021-02-12 | 2024-05-14 | NuStrips, Inc. | Systems, devices, and methods for packaging nutritional supplements |
| GB2612596A (en) * | 2021-11-03 | 2023-05-10 | United Biscuits Ltd | Improvements in and relating to packaging |
| US12404073B2 (en) * | 2022-06-28 | 2025-09-02 | Barry Davis | Scent indicators on containers |
Citations (4)
| Publication number | Priority date | Publication date | Assignee | Title |
|---|---|---|---|---|
| US3291377A (en) * | 1966-02-07 | 1966-12-13 | Nat Dairy Prod Corp | Packaging |
| DE20122333U1 (de) * | 2001-08-28 | 2005-03-24 | Kraft Foods R & D Inc | Verpackung zum Verpacken von Lebensmittelprodukten |
| WO2008051813A1 (en) * | 2006-10-19 | 2008-05-02 | Wm. Wrigley, Jr. Company | Reclosable packages for confectionery products |
| WO2008115693A1 (en) * | 2007-03-21 | 2008-09-25 | Wm. Wrigley, Jr. Company | Method for making a flexible reclosable package |
Family Cites Families (610)
| Publication number | Priority date | Publication date | Assignee | Title |
|---|---|---|---|---|
| US3127273A (en) | 1964-03-31 | Methqd for continuously wrapping biscuits | ||
| US401974A (en) | 1889-04-23 | Display-box | ||
| US811092A (en) | 1904-08-29 | 1906-01-30 | Charles F Howe | Safety-envelop. |
| US1065012A (en) | 1911-09-23 | 1913-06-17 | Tetsusaburo Watanabe | Protective device for envelops. |
| US1106721A (en) | 1913-01-30 | 1914-08-11 | Edward J Lewis | Safety-envelop. |
| US1171462A (en) | 1914-10-28 | 1916-02-15 | Joseph Rice | Sanitary container and opener. |
| US1791352A (en) | 1928-11-30 | 1931-02-03 | Colonnese Pascual | Inviolable fastening or closure applicable to envelopes and wrappers in general |
| US1963639A (en) | 1931-12-21 | 1934-06-19 | Eugene F Ahlquist | Envelope |
| US1949161A (en) | 1932-06-16 | 1934-02-27 | Charles F Haug | Package |
| US1978035A (en) | 1932-09-20 | 1934-10-23 | Us Tobacco Co | Package and method of making the same |
| US2033550A (en) | 1933-01-03 | 1936-03-10 | Vincent Wright | Container |
| US2079328A (en) * | 1933-06-27 | 1937-05-04 | Beech Nut Packing Co | Package and method of forming the same |
| US2034007A (en) | 1933-09-15 | 1936-03-17 | Smith Elizabeth | Closure for receptacles |
| US2128196A (en) | 1935-02-02 | 1938-08-23 | Vogel Max | Envelope |
| US2066495A (en) | 1935-07-17 | 1937-01-05 | Us Envelope Co | Envelope |
| US2248578A (en) * | 1937-03-18 | 1941-07-08 | Humoco Corp | Container |
| US2330015A (en) | 1939-08-16 | 1943-09-21 | Stokes & Smith Co | Container |
| US2260064A (en) | 1939-08-16 | 1941-10-21 | Stokes & Smith Co | Method of making containers |
| US2320143A (en) * | 1940-07-09 | 1943-05-25 | Johnson Albin Sven | Package |
| US2321042A (en) | 1941-07-19 | 1943-06-08 | American Can Co | Container |
| US2475236A (en) | 1945-01-10 | 1949-07-05 | Gollub Matthew | Bag closure having pressure sensitive adhesive |
| US2621788A (en) | 1948-10-21 | 1952-12-16 | Guy C Hitchcock | Pocket tissue package |
| US2588409A (en) | 1949-03-29 | 1952-03-11 | Gen Baking Company | Package and enclosed tray thereof |
| US2554160A (en) | 1949-05-04 | 1951-05-22 | Wingfoot Corp | Method of producing tear-tape construction |
| US2605897A (en) | 1949-10-21 | 1952-08-05 | John B Rundle | Package |
| US2684807A (en) | 1950-12-29 | 1954-07-27 | Herbert C Gerrish | Bag opener |
| US2719647A (en) | 1951-01-26 | 1955-10-04 | Freeman Olive | Can tops |
| US2823795A (en) | 1955-03-07 | 1958-02-18 | Moore George Arlington | Composite container |
| US2965224A (en) | 1957-09-20 | 1960-12-20 | Kimberly Clark Co | Cellulosic product |
| US3187982A (en) | 1960-07-21 | 1965-06-08 | Union Carbide Corp | Method for forming coated uniaxially oriented films and the product formed thereby |
| US3179326A (en) | 1960-07-21 | 1965-04-20 | Union Carbide Corp | Method for forming uniaxially oriented films and the product formed thereby |
| US3080238A (en) | 1960-08-11 | 1963-03-05 | Nat Dairy Prod Corp | Cheese package |
| DE1848870U (de) | 1960-12-20 | 1962-03-22 | Ferrero & C Sas Die Michele Fe | Verpackung fuer Back- und Suesswaren |
| FR1327914A (fr) | 1962-04-13 | 1963-05-24 | Procédé pour le conditionnement de denrées alimentaires ou produits analogues | |
| US3217871A (en) | 1963-05-06 | 1965-11-16 | Acme Backing Corp | Peelable seal package |
| US3343541A (en) | 1964-01-08 | 1967-09-26 | Baxter Laboratories Inc | Parenteral container |
| US3260358A (en) | 1964-01-27 | 1966-07-12 | Monsanto Co | Shrink wrapped textile shipping package |
| US3235165A (en) | 1964-03-02 | 1966-02-15 | Mildred J Jackson | Sealing means |
| US3186628A (en) | 1964-03-27 | 1965-06-01 | Tower Packaging Company | Packaging |
| US3259303A (en) * | 1964-10-02 | 1966-07-05 | Dow Chemical Co | Resealable flexible container |
| US3311032A (en) | 1964-12-24 | 1967-03-28 | Procter & Gamble | Tear tape for plastic packaging materials |
| US3298505A (en) | 1965-02-12 | 1967-01-17 | Brown Co | Laminated closure for food trays and trays closed with same |
| US3245525A (en) | 1965-03-01 | 1966-04-12 | Norman C Shoemaker | Package for smoking articles |
| US3272422A (en) | 1965-03-31 | 1966-09-13 | Paramount Paper Products Compa | Reclosable package |
| US3373926A (en) | 1965-05-14 | 1968-03-19 | Continental Can Co | Seamed container with easy opening feature |
| US3373922A (en) | 1965-07-16 | 1968-03-19 | Reynolds Metals Co | Container and blanks for making the same |
| US3326450A (en) | 1966-03-17 | 1967-06-20 | Weck & Co Edward | Peelable package for sterile articles |
| US3331501A (en) | 1966-05-19 | 1967-07-18 | Lilly Co Eli | Protective sleeve for bagged products |
| US3528825A (en) | 1967-12-04 | 1970-09-15 | Union Carbide Canada Ltd | Shrink wrapped shirred casings |
| US3471005A (en) * | 1968-03-18 | 1969-10-07 | Brown & Williamson Tobacco Corp | Pipe tobacco pouch |
| US3454210A (en) | 1968-05-23 | 1969-07-08 | Standard Packaging Corp | Easy opening and reclosable package,film therefor and process |
| US3520401A (en) | 1968-08-05 | 1970-07-14 | American Cyanamid Co | Disposable surgical scrub sponge dispenser |
| US3740328A (en) | 1969-03-17 | 1973-06-19 | Universal Oil Prod Co | Hydrocarbon conversion process and catalyst therefor |
| US3595468A (en) | 1969-06-06 | 1971-07-27 | Dow Chemical Co | Opening device |
| US3651615A (en) | 1969-06-25 | 1972-03-28 | C L Band Inc | Method of packaging between laminated webs with heat and ultrasonic seals |
| US3570751A (en) | 1969-07-03 | 1971-03-16 | Wyomissing Corp | Tear-open package |
| US3595466A (en) | 1969-07-17 | 1971-07-27 | Burt & Co F N | Recloseable carton |
| US3618751A (en) | 1970-01-15 | 1971-11-09 | Joseph Nichlos | Crushing and dispensing container for administering pills |
| US3653502A (en) | 1970-05-11 | 1972-04-04 | Pratt Mfg Corp | Packaged surgical pad having protected wound-contacting surface and method of packaging same |
| US3630346A (en) | 1970-06-01 | 1971-12-28 | Lilly Co Eli | Components for making a strip package |
| US4273815A (en) | 1970-06-19 | 1981-06-16 | Oscar Mayer & Co. Inc. | Laminated film packages |
| US3685720A (en) | 1970-07-28 | 1972-08-22 | Charles E Brady | Package for sterilized products |
| US3740238A (en) | 1971-01-04 | 1973-06-19 | S Graham | Stackable cookie package and tray |
| US3687352A (en) | 1971-03-08 | 1972-08-29 | Edward Kalajian | Container closure |
| US3909582A (en) | 1971-07-19 | 1975-09-30 | American Can Co | Method of forming a line of weakness in a multilayer laminate |
| US3790744A (en) | 1971-07-19 | 1974-02-05 | American Can Co | Method of forming a line of weakness in a multilayer laminate |
| US3757078A (en) | 1971-08-19 | 1973-09-04 | Gen Dynamics Corp | Apparatus for refocusing reflected energy at a target focal point |
| US3811564A (en) | 1972-07-12 | 1974-05-21 | Lehigh Press | Container construction |
| US3865302A (en) | 1972-11-10 | 1975-02-11 | Du Pont | Container for cooking food therein |
| US3905646A (en) | 1973-02-07 | 1975-09-16 | Carling O Keefe Ltd | Packaging structure and blank for container cover |
| US3979050A (en) | 1973-09-21 | 1976-09-07 | Union Carbide Corporation | Multi-ply film articles |
| CH574852A5 (ru) | 1974-03-05 | 1976-04-30 | Sig Schweiz Industrieges | |
| US3910410A (en) | 1974-03-19 | 1975-10-07 | Continental Can Co | Resealable package |
| US3885727A (en) | 1974-04-18 | 1975-05-27 | Keyes Fibre Co | Packaging tray with juice trapping viewing windows |
| US3938659A (en) | 1974-06-24 | 1976-02-17 | Wardwell Charles R | Frangible bonding using blush lacquer and packaging bonded therewith |
| US3971506A (en) | 1974-11-27 | 1976-07-27 | St. Regis Paper Company | Tear open and relockable container |
| CA1076868A (en) | 1975-09-26 | 1980-05-06 | Walter V. Marbach | Piercing blade temperature control |
| US4185754A (en) | 1976-03-19 | 1980-01-29 | Nice-Pak Products, Inc. | Collapsible recloseable dispenser packet with two part resealable closure |
| US4156493A (en) | 1976-03-19 | 1979-05-29 | Nice-Pak Products, Inc. | Recloseable dispenser packet |
| US4082216A (en) | 1977-02-07 | 1978-04-04 | Eli Lilly And Company | Carton and bag container |
| DE2706507C3 (de) | 1977-02-16 | 1981-09-24 | Wilhelmstal Ernst & Sohn GmbH & Co KG, 5600 Radevormwald | Selbstklebeverschluß für Versandtaschen, Briefumschläge, Beutel, o.dgl. |
| DD140656A1 (de) | 1977-06-03 | 1980-03-19 | Klaus Hampel | Vorrichtung zum zurueckhalten der mahlkoerper in ruehrwerkskugelmuehlen |
| US4113104A (en) | 1977-06-09 | 1978-09-12 | American Can Company | Tamperproof reclosable carton |
| GB1555748A (en) | 1977-09-01 | 1979-11-14 | Tetra Pak Int | Opening of containers |
| NL7812640A (nl) | 1978-01-09 | 1979-07-11 | Wiggins Teape Group Ltd | Verpakking. |
| US4285681A (en) | 1978-01-25 | 1981-08-25 | Union Carbide Corporation | Tear resistant separable end-connected bags |
| CH627700A5 (de) | 1978-04-17 | 1982-01-29 | Tetra Pak Dev | Wiederverschliessbare oeffnungsvorrichtung in einer wand eines verpackungsbehaelters, und verfahren zu deren herstellung. |
| US4143695A (en) | 1978-07-03 | 1979-03-13 | Dart Industries Inc. | Picnic chest |
| GB2032393B (en) | 1978-08-17 | 1982-11-03 | Toppan Printing Co Ltd | Lined boxes |
| US4210246A (en) | 1978-11-08 | 1980-07-01 | American Can Company | Reclosable hinged blister card package |
| DE2849547A1 (de) | 1978-11-15 | 1980-05-22 | Kloeckner Humboldt Deutz Ag | Schneckenzentrifuge |
| US4192420A (en) | 1978-11-30 | 1980-03-11 | Scott Paper Company | Flexible and pliable moisture-impervious package |
| US4549063A (en) | 1979-04-09 | 1985-10-22 | Avery International Corporation | Method for producing labels having discontinuous score lines in the backing |
| US4260061A (en) | 1979-07-05 | 1981-04-07 | Bemis Company, Inc. | Bag with opening and reclosing feature |
| AU536262B2 (en) | 1979-12-03 | 1984-05-03 | Kenji Nakamura | Resealable dispenser container |
| US4616470A (en) | 1979-12-03 | 1986-10-14 | Konji Nakamura | Method of forming re-sealable dispenser-container |
| JPS5822411B2 (ja) | 1979-12-03 | 1983-05-09 | 中村 憲司 | 化粧料封入袋の連続製造方法 |
| DE2949496C3 (de) * | 1979-12-08 | 1996-03-21 | Senning Christian Verpackung | Weichpackung für Papiertaschentücher |
| CH643501A5 (de) | 1980-03-14 | 1984-06-15 | Sig Schweiz Industrieges | Folienbeutel mit als oeffnungshilfe dienendem aufreissmittel und verfahren zu dessen herstellung. |
| US4306367A (en) | 1980-04-10 | 1981-12-22 | General Foods Corporation | Tamper resistant means for on-package peelable premium |
| US4538396A (en) | 1980-05-22 | 1985-09-03 | Kenji Nakamura | Process for producing a re-sealable dispenser-container |
| ATE10730T1 (de) | 1980-06-19 | 1984-12-15 | Folienwalzwerk Brueder Teich Aktiengesellschaft | Packung. |
| JPS57163658A (en) | 1981-03-31 | 1982-10-07 | Okura Industrial Co Ltd | Cover package |
| US4545844A (en) | 1981-04-23 | 1985-10-08 | Buchanan Bradley H | Heat cutting and sealing apparatus |
| IT1152032B (it) * | 1981-08-21 | 1986-12-24 | Teich Ag Folienwalzwerk | Confezione con involucro a tenuta di gas |
| US5454207A (en) | 1981-10-30 | 1995-10-03 | Storandt; Duane L. | Applicator mitt |
| EP0085289A1 (en) | 1981-12-24 | 1983-08-10 | Monsanto Company | Process for direct neutralization of product mixture resulting from acid catalyzed cleavage of alkyl aromatic hydroperoxides |
| US4428477A (en) | 1982-01-08 | 1984-01-31 | Johnson & Johnson Baby Products Company | Resealable package for premoistened towellettes |
| US4397415A (en) | 1982-02-25 | 1983-08-09 | Ex-Cell-O Corporation | Container and blank for constructing same |
| US4570820A (en) | 1983-01-18 | 1986-02-18 | Creative Products Resource Associates, Ltd. | Resealable dispensing container for folded towels |
| US4548852A (en) | 1983-05-02 | 1985-10-22 | Pakor, Inc. | Method and apparatus for packaging perishable products in a reduced air atmosphere |
| US4548824A (en) | 1983-05-02 | 1985-10-22 | Pakor, Inc. | Package for storing perishable products in a reduced air atmosphere |
| US4506488A (en) | 1983-05-13 | 1985-03-26 | Doboy Packaging Machinery, Inc. | Wrapping machine and method |
| US4518087A (en) | 1983-05-20 | 1985-05-21 | Fres-Co System Usa, Inc. | Sealed flexible container with non-destructive peelable opening |
| US4667453A (en) | 1983-05-20 | 1987-05-26 | Fres-Co System Usa, Inc. | Method of forming sealed flexible container with non-destructive peelable opening |
| US4488647A (en) | 1983-07-18 | 1984-12-18 | Paramount Packaging Corporation | Flexible package with easy opening peel seal |
| GB8322885D0 (en) | 1983-08-25 | 1983-09-28 | Sanders B | Containers |
| JPS6080405A (ja) | 1983-10-07 | 1985-05-08 | 中村 憲司 | 化粧料封入袋 |
| US4552269A (en) | 1983-12-07 | 1985-11-12 | Chang Sung Chol | Resealable sealing device |
| US4557505A (en) | 1984-01-05 | 1985-12-10 | Minnesota Mining And Manufacturing Company | Stress-opacifying tamper indicating tape |
| US4589943A (en) | 1984-03-08 | 1986-05-20 | American Bank Note Company | Apparatus and procedure for applying adhesive labels |
| US4550831A (en) | 1984-04-09 | 1985-11-05 | Superior Plastic Products Corp. | Strip of detachably connected bags for medical supplies |
| US4658963A (en) | 1984-04-20 | 1987-04-21 | Folienwalzwerk Bruder Teich Aktiengesellschaft | Package with weakened portion for opening |
| US4613046A (en) | 1984-06-28 | 1986-09-23 | James River Corporation | Reclosable package and carton blank |
| US4572377A (en) | 1984-07-16 | 1986-02-25 | Beckett Donald E | Packaging structure |
| US4608288A (en) | 1984-08-21 | 1986-08-26 | Joachim Dudzik | Tamper proof label or seal |
| FR2575444B1 (fr) | 1984-12-27 | 1987-09-04 | Legrand Sa | Emballage a pellicule pelable pour le conditionnement en groupe d'articles divers |
| GB8504386D0 (en) | 1985-02-20 | 1985-03-20 | Erskine W R C | Carrier bag |
| CA1255640A (en) | 1985-02-26 | 1989-06-13 | Kenji Nakamura | Dispenser-container containing wet and dry contents and process for manufacturing the same |
| DE3514943A1 (de) | 1985-04-25 | 1986-10-30 | Virgunia Verpackung Inh. Herr Fidelis Frank, 8000 München | Verpackung |
| DE3519840A1 (de) | 1985-06-03 | 1986-12-04 | Heidelberger Druckmaschinen Ag, 6900 Heidelberg | Verfahren zur begrenzung der drehzahl eines antriebsmotors einer rotationsoffsetdruckmaschine |
| US4625495A (en) | 1985-08-16 | 1986-12-02 | Mobil Oil Corporation | Method of packaging and system therefor |
| US4723301A (en) | 1986-02-03 | 1988-02-02 | Chang Sung Choi | Container resealable sealing device construction |
| SE453586B (sv) | 1986-03-26 | 1988-02-15 | Tetra Pak Ab | Forpackningsbehallare forsedd med aterforslutbar oppningsanordning |
| US4679693A (en) | 1986-05-14 | 1987-07-14 | Harold Forman | Label resealing container |
| JPH07102868B2 (ja) * | 1986-06-23 | 1995-11-08 | 憲司 中村 | 包装体 |
| US4694960A (en) | 1986-06-26 | 1987-09-22 | Plastic Specialties, Inc. | Tear open blister package |
| US4648509A (en) | 1986-07-14 | 1987-03-10 | Alves Dario M | Tamper-proof package and method |
| ATA197486A (de) | 1986-07-22 | 2001-05-15 | Teich Ag | Packung mit stückigem verpackungsgut sowie verfahren zum herstellen solcher packungen |
| US4770325A (en) | 1986-07-29 | 1988-09-13 | International Paper Company | Pour spout for containers |
| US4696404A (en) | 1986-08-27 | 1987-09-29 | Corella Arthur P | Heat sealed package with perforated compartment seal |
| US4784885A (en) | 1986-08-29 | 1988-11-15 | R. J. Reynolds Tobacco Company | Peelable film laminate |
| US4786355A (en) | 1986-08-29 | 1988-11-22 | Owens-Illinois Plastic Products Inc. | Label application apparatus |
| US4671453A (en) | 1986-09-12 | 1987-06-09 | International Paper Company | Tamper-proof sleeve |
| US4838429A (en) | 1986-10-10 | 1989-06-13 | Baxter International Inc. | Flexible thermoplastic pouches having easy-open tear strip means and apparatus for making same |
| GB2209327A (en) | 1986-11-13 | 1989-05-10 | Hans Rausing | A packing container for liquid contents |
| US4799594A (en) | 1986-11-14 | 1989-01-24 | Federal Paper Board Co., Inc. | Vending and reclosure device for powder and granular products |
| DE3700988A1 (de) | 1987-01-15 | 1988-07-28 | Sengewald Karl H | Verpackung aus thermoplastischer kunststoffolie |
| US4738365A (en) | 1987-04-27 | 1988-04-19 | Ridgway Packaging Corp. | Frozen food container |
| DE3714843A1 (de) | 1987-05-05 | 1988-11-17 | Beiersdorf Ag | Klebeband als wiederverschliessbarer verschluss |
| US4845470A (en) | 1987-06-18 | 1989-07-04 | Boldt Jr Norton K | Tamper evident closure apparatus |
| IT212304Z2 (it) | 1987-07-02 | 1989-07-04 | Sales Spa | Dispositivo di apertura e chiusuraper bustine sigillate contenenti prodotti alimentari in pezzi parti colarmente confetti e simili |
| US4818120A (en) | 1987-07-20 | 1989-04-04 | Nabisco Brands, Inc. | Openable and reclosable tamper evident bag tag |
| NZ226028A (en) | 1987-09-09 | 1990-06-26 | Idemitsu Petrochemical Co | Hermetically sealed package which can be resealed after opening |
| CA1321175C (en) | 1987-09-18 | 1993-08-10 | Robert Dailey, Iii | Flexible dispenser packet for premoistened towelettes |
| US4863064A (en) | 1987-09-18 | 1989-09-05 | Ifc Non-Wovens, Inc. | Flexible dispenser packet for pre-moistened towelettes |
| US4866911A (en) | 1987-11-30 | 1989-09-19 | Oscar Mayer Foods Corporation | Method of forming a vacuum package with hermetic reclosure |
| US5167974A (en) | 1987-11-30 | 1992-12-01 | Oscar Mayer Foods Corporation | Vacuum packaging with hermetic reclosure |
| US4840270A (en) | 1987-12-21 | 1989-06-20 | Nice-Pak Products, Inc. | Re-sealable label flap |
| JPH0645383B2 (ja) | 1987-12-23 | 1994-06-15 | 憲司 中村 | 包装体 |
| US4865198A (en) | 1988-02-01 | 1989-09-12 | R. J. Reynolds Tobacco Company | Overwrapped package with tamper indicating means |
| US4901505A (en) | 1988-02-12 | 1990-02-20 | W. R. Grace & Co.-Conn. | Method of making a package having peelable film |
| US4889731A (en) | 1988-02-12 | 1989-12-26 | W. R. Grace & Co.-Conn. | Package having peelable film |
| JPH0645382B2 (ja) | 1988-04-18 | 1994-06-15 | 憲司 中村 | ウェットティッシュ包装体 |
| US4848575A (en) | 1988-03-02 | 1989-07-18 | Eluci Company Inc. | Resealable dispenser-container for wet tissues |
| JPH0645385B2 (ja) | 1988-03-02 | 1994-06-15 | 憲司 中村 | ウエツトテイツシュ包装体 |
| US4943439A (en) | 1988-03-15 | 1990-07-24 | Golden Valley Microwave Foods Inc. | Microwave receptive heating sheets and packages containing them |
| US5046621A (en) | 1988-03-17 | 1991-09-10 | Kapak Corporation | Tamper evident notched sealing envelope |
| US5294470A (en) | 1988-05-13 | 1994-03-15 | Ewan Frederick R | Tamper indicating containers and seals |
| US5060848A (en) | 1988-05-13 | 1991-10-29 | Frederick R. Ewan | Tamper indicating containers and seals |
| US4998666A (en) | 1988-05-13 | 1991-03-12 | Frederick R. Ewan | Tamper indicating containers and seals |
| NL8801550A (nl) | 1988-06-17 | 1990-01-16 | Wavin Bv | Werkwijze en installatie voor het vervaardigen van een geperforeerde kunststofbuisfoelie door inwerking van een laserstraal, geperforeerde kunststofbuisfoelie alsmede kunststofzak gevormd uit een dergelijke kunststofbuisfoelie. |
| US4876123A (en) | 1988-06-27 | 1989-10-24 | Minnesota Mining And Manufacturing Company | Tamper indicating tape and delaminating film therefore |
| ATE102119T1 (de) | 1988-09-07 | 1994-03-15 | Leeuwarder Papier | Verfahren zur herstellung von einkerbungen in verpackungsmaterial. |
| DE3835721A1 (de) | 1988-10-20 | 1990-05-03 | Tscheulin Aluminium | Verfahren zum herstellen von wiederverschliessbaren verpackungs-beuteln sowie danach hergestellte verpackungs-beutel |
| SG28367G (en) | 1988-11-09 | 1995-09-01 | Kenji Nakamura | A dispenser container and a process for manufacturing the same |
| US5161350A (en) | 1988-11-09 | 1992-11-10 | Kennak U.S.A. Inc. | Process and apparatus for manufacturing a dispenser-container |
| US5005264A (en) | 1989-03-14 | 1991-04-09 | Stanley Breen | Fastener for closing flexible bags and the like |
| FR2644438B1 (fr) | 1989-03-17 | 1991-07-12 | Fichaux Sa Ets | Paquet realisant l'emballage d'un produit alimentaire, procede et installation pour sa fabrication |
| DE3911779A1 (de) | 1989-04-11 | 1990-10-18 | Focke & Co | Folien-verpackung fuer papier-taschentuecher |
| DE3915192A1 (de) | 1989-05-10 | 1990-11-15 | Focke & Co | Verfahren und vorrichtung zum herstellen von (folien-)verpackungen sowie (folien-)verpackung |
| NL8901257A (nl) | 1989-05-19 | 1990-12-17 | Leeuwarder Papier | Werkwijze voor het aanbrengen van verzwakkingslijnen in resp. het graveren van kunststofmateriaal, in het bijzonder verpakkingsmateriaal. |
| DE8915653U1 (de) | 1989-05-25 | 1991-01-03 | Moreno, Dámaso, 5142 Hückelhoven | Folienartiges Material für eine Faltpackung und derartige Faltpackung |
| DE3918325A1 (de) | 1989-06-05 | 1990-12-06 | Focke & Co | Weichpackung, insbesondere papiertaschentuch-verpackung |
| US4972953A (en) | 1989-06-14 | 1990-11-27 | Ivy Hill Corporation | Tamper-evident packaging, method of making same and intermediate therein |
| US5000320A (en) | 1989-07-11 | 1991-03-19 | James River Corporation Of Virginia | Paperboard carton having a pour spout and blank for forming the same |
| DE3923772A1 (de) | 1989-07-18 | 1991-01-31 | Schmalbach Lubeca | Leicht zu oeffnender deckel fuer getraenkedosen |
| US5582887A (en) | 1989-08-17 | 1996-12-10 | The Kendall Company | Tamper-evident tape having discontinuous barrier layer |
| GB8919666D0 (en) * | 1989-08-31 | 1989-10-11 | Forman Harold | Container |
| SE463666B (sv) | 1989-10-04 | 1991-01-07 | Lars Andersson | Aaterfoerslutbar dispenserfoerpackning |
| US4999081A (en) | 1989-10-11 | 1991-03-12 | Float Machines Inc. | Cutting and heat sealing die assembly |
| EP0451243B1 (de) | 1989-10-27 | 1994-04-13 | Teich Aktiengesellschaft | Packung für stückiges packungsgut |
| US5054619A (en) * | 1989-12-15 | 1991-10-08 | The Procter & Gamble Company | Side opening flexible bag with longitudinally oriented carrying handle secured to side panels |
| US5719828A (en) | 1990-01-04 | 1998-02-17 | Temtec, Inc. | Patterned indicators |
| US5125211A (en) | 1990-02-02 | 1992-06-30 | Warner-Lambert Company | Reclosable stick gum package |
| US5029712A (en) | 1990-02-02 | 1991-07-09 | Warner-Lambert Company | Reclosure stick gum package |
| DE4007649C1 (ru) | 1990-03-10 | 1991-09-19 | Kloeckner Pentapack Zweigniederlassung Der Kloeckner Pentaplast Gmbh, 6479 Ranstadt, De | |
| DE9003401U1 (de) | 1990-03-23 | 1990-05-31 | CITO-Kunststoffe und Verpackungsfolien GmbH, 4802 Halle | Wiederverschließbarer Beutel |
| US5077064A (en) | 1990-04-04 | 1991-12-31 | Oscar Mayer Foods Corporation | Easy-open recloseable peggable package |
| US5405629A (en) | 1990-04-05 | 1995-04-11 | Oscar Mayer Foods Corporation | Multi-seal reclosable flexible package for displaying thinly sliced food products |
| US5124388A (en) | 1990-05-07 | 1992-06-23 | Eastman Kodak Company | Films and containers of heat resistant copolyesters |
| DE9005297U1 (de) | 1990-05-11 | 1990-08-16 | Syspack S.A., Freiburg/Fribourg | Schlauchbeutelpackung |
| US5158499A (en) | 1990-07-09 | 1992-10-27 | American National Can Company | Laser scoring of packaging substrates |
| US5134001A (en) | 1990-08-07 | 1992-07-28 | Mobil Oil Corporation | Liminated multilayer film composite and heat sealed bag made therefrom |
| US5082702A (en) | 1990-08-20 | 1992-01-21 | Minnesota Mining And Manufacturing Company | Tamper-indicating tape |
| IT90021449A1 (it) | 1990-09-12 | 1992-03-12 | Barilla Flli G & R | Confezione a cartuccia per fette biscottate e simili prodotti alimentari di conformazione appiattita |
| US5078509A (en) | 1990-09-28 | 1992-01-07 | Recot, Inc. | Resealable package |
| US5065868A (en) | 1990-10-23 | 1991-11-19 | Cornelissen Roger E | Package consisting of a paper bag compactly packing compressed flexible articles |
| US5103980A (en) | 1990-11-21 | 1992-04-14 | James River Corporation Of Virginia | Carton opening and reclosure feature having vent opening |
| IT220730Z2 (it) | 1990-11-27 | 1993-11-08 | Faricerca Spa | Contenitore-distributore, particolarmente per salviette imbevute e prodotti similari, dotato di un elemento di chiusura perfezionato. |
| US5076439A (en) | 1990-12-31 | 1991-12-31 | James River Corporation Of Virginia | Carton having a barrier construction and method of making the same |
| AU649754B2 (en) | 1991-01-09 | 1994-06-02 | Sig Schweizerische Industrie-Gesellschaft | A pouch package with a tear open facility |
| GB2250926B (en) | 1991-02-02 | 1995-04-26 | Fine Art Developments Plc | Novelty devices |
| DE4107380A1 (de) | 1991-03-08 | 1992-09-10 | Lohmann Gmbh & Co Kg | Schlauchbeutelverpackung, insbesondere fuer bindenartige gueter |
| FR2674509B1 (fr) | 1991-03-25 | 1995-02-03 | Gerard Joulin | Perfectionnements aux conditionnements de produits alimentaires frais, sous forme solide, et plus specialement aux produits alimentaires panifies. |
| DE4113714A1 (de) | 1991-04-26 | 1992-10-29 | Hoechst Ag | Tiefgezogene verpackung mit integrierten sollbruchstellen und verfahren zu ihrer herstellung |
| TW243431B (en) | 1991-05-31 | 1995-03-21 | Gen Foods Inc | Pouch having easy opening and reclosing characteristics and method and apparatus for production thereof |
| US5174659A (en) | 1991-06-21 | 1992-12-29 | Vonco Products, Inc. | Reclosable flexible bag |
| DK123591A (da) | 1991-06-25 | 1992-12-26 | Schur Int As Brdr | Genlukkelig salgsforpakning, f.eks. til skivepaalaeg |
| DE4134567A1 (de) | 1991-06-27 | 1993-01-07 | Focke & Co | Weichpackung, insbesondere quaderfoermige papiertaschentuch-verpackung |
| JP2604524B2 (ja) | 1991-08-23 | 1997-04-30 | 中村物産株式会社 | バリヤーシートを内蔵した、再封可能な開閉蓋を有するウエット吸液シート用パッケージ |
| US5470015A (en) | 1991-09-13 | 1995-11-28 | Teich Aktiengesellschaft | Tubular pouch with opening aid |
| JPH0581083A (ja) | 1991-09-25 | 1993-04-02 | Hitachi Ltd | 複数cpuを用いた複数オンラインシステムの監視制御方式 |
| US5229180A (en) | 1991-10-02 | 1993-07-20 | American National Can Company | Laser scored package |
| GB9121420D0 (en) | 1991-10-09 | 1991-11-20 | Ag Patents Ltd | Manufacturing infusion packages |
| US5197618A (en) | 1991-10-15 | 1993-03-30 | Top Seal, Inc. | Tamper-evident fusion bonded pull-tab induction foil lining system for container closures |
| US5352466A (en) | 1991-10-15 | 1994-10-04 | Kraft General Foods, Inc. | Tabbed easy-open brick coffee package |
| DE4139924A1 (de) | 1991-12-04 | 1993-06-09 | Focke & Co (Gmbh & Co), 2810 Verden, De | Weichpackung fuer papiertaschentuecher |
| IT1252204B (it) | 1991-12-12 | 1995-06-05 | Fin Omet S R L | Dispositivo di chiusura a tenuta per erogatori di materiale umidificato. |
| US5222422A (en) | 1991-12-23 | 1993-06-29 | R.A. Jones & Co. Inc. | Wide range pouch form, fill, seal apparatus |
| US5531325A (en) | 1992-03-13 | 1996-07-02 | The Procter & Gamble Company | Storing and dispensing system for products packed in a sealed pouch |
| US5342461A (en) | 1992-04-14 | 1994-08-30 | Imtec, Inc. | High speed continuous conveyor printer/applicator |
| GB2266513B (en) | 1992-05-01 | 1995-12-20 | Welpac Hardware Ltd | A member to be hung on a hook |
| US5310262A (en) | 1992-06-02 | 1994-05-10 | Bemis Company, Inc. | Flexible package with an easy open arrangement |
| US5190152A (en) | 1992-06-17 | 1993-03-02 | Trav-L-File, Inc. | Portable file box |
| CA2097664C (en) * | 1992-07-09 | 1999-05-04 | David L. Brown | Package for surgical devices |
| FR2693988B1 (fr) | 1992-07-24 | 1994-09-02 | Wuthrich Ets | Dispositif de conditionnement pour articles de graineterie. |
| US5672224A (en) | 1992-10-15 | 1997-09-30 | Beckett Corporation | Peel-back re-sealable multi-ply label |
| US5505305A (en) | 1992-10-21 | 1996-04-09 | Minnesota Mining And Manufacturing Company | Moisture-proof resealable pouch and container |
| US5461845A (en) | 1992-10-26 | 1995-10-31 | Yeager; James W. | Zippered film and bag |
| GB9223558D0 (en) | 1992-11-10 | 1992-12-23 | Jeyes Group Plc | Containers |
| DE4241423B4 (de) | 1992-12-09 | 2008-02-28 | The Procter & Gamble Company, Cincinnati | Quaderförmige Weichpackung aus einer Bahn von Papier, Kunststoff-Folie oder dergleichen |
| US5613350A (en) | 1992-12-24 | 1997-03-25 | Boucher; John N. | Method for packaging and handling fragile dicing blade |
| US5366087A (en) | 1992-12-28 | 1994-11-22 | Moore Business Forms, Inc. | Resealable pressure sensitive closure label |
| US5335478A (en) | 1993-01-08 | 1994-08-09 | Aronsen Arthur N | Multi-compartment dispenser pouch and method of making |
| CA2094630A1 (en) * | 1993-01-19 | 1994-07-20 | John Leroy Herzberg | Facial tissue pocket pack |
| DE4306760A1 (de) | 1993-03-04 | 1994-09-08 | Iachetti Antonietta Cinzia Dip | Mit waschaktiven Substanzen getränktes Tuch zur Entfernung von Flecken aus Textilien |
| US5382190A (en) | 1993-03-12 | 1995-01-17 | Viskase Corporation | Package of shirred food casings |
| US5381643A (en) | 1993-03-12 | 1995-01-17 | Viskase Corporation | Package of shirred food casing and method |
| US6006907A (en) * | 1993-04-01 | 1999-12-28 | Fuji Photo Film Co., Ltd. | Wrapped article |
| US5375698A (en) | 1993-05-07 | 1994-12-27 | Allergan, Inc. | Prefilled, resealable contact lens container |
| US5374179A (en) | 1993-05-03 | 1994-12-20 | Hewlett-Packard Company | Multi-temperature film die |
| CA2117280C (en) | 1993-06-10 | 2005-04-05 | Joellen Nielsen Narsutis | Package for sliced food product |
| US5582342A (en) | 1993-07-08 | 1996-12-10 | Teich Aktiengesellschaft | Tear-off package with pull-tab |
| US5885673A (en) | 1993-07-30 | 1999-03-23 | Eastman Kodak Company | Peelable pouch-like packaging for photographic sheet film |
| US5407070A (en) | 1993-08-18 | 1995-04-18 | Bascos; Christine M. | One-time resealable package for needled medical devices |
| US5489060A (en) | 1993-09-14 | 1996-02-06 | Kraft General Foods France | Reclosable packet |
| CA2134521A1 (en) | 1993-11-02 | 1995-05-03 | Raymond R. Gosselin | Tamper-indicating label |
| US5503858A (en) | 1993-12-13 | 1996-04-02 | Tekni-Plex Inc. | Molded plastic overwrap tray |
| IT1265453B1 (it) | 1993-12-28 | 1996-11-22 | Safta Spa | Pellicola composita per la ri-chiusura di contenitori |
| US5460838A (en) | 1994-01-13 | 1995-10-24 | Kraft Jacobs Suchard | Food package and a method of wrapping a food product |
| IT1273348B (it) | 1994-02-28 | 1997-07-08 | Barilla Flli G & R | Etichetta autoadesiva per confezioni richiudibili e metodo per la sua produzione |
| US5795604A (en) | 1994-03-31 | 1998-08-18 | Kraft Foods, Inc. | Rigid reclosable bacon package |
| US5520939A (en) | 1994-03-31 | 1996-05-28 | Oscar Mayer Foods Corporation | Rigid reclosable bacon package |
| US5499757A (en) | 1994-04-25 | 1996-03-19 | International Envelope Company | Easy open, tamper evident envelope |
| IT1273180B (it) | 1994-05-05 | 1997-07-07 | Sales Spa | Dispositivo di apertura e richiusura per contenitori flessibili e contenitore dotato di tale dispositivo |
| ITBO940205A1 (it) | 1994-05-10 | 1995-11-10 | Gd Spa | Pacchetto di sigarette con apertura facilitata. |
| US5637369A (en) | 1994-05-20 | 1997-06-10 | Stewart; Gary E. | Business form with removable label and method for producing the same with label stock |
| DE4418877C2 (de) | 1994-05-30 | 1998-10-22 | P & S Mako Verpackungsmaschine | Verschluß zum Verschließen und Wiederverschließen eines Beutels sowie Verwendung eines derartigen Verschlußes |
| US5464092A (en) | 1994-06-06 | 1995-11-07 | Seeley; Dennis H. | Container having an audible signaling device |
| US5550346A (en) | 1994-06-21 | 1996-08-27 | Andriash; Myke D. | Laser sheet perforator |
| IT1270065B (it) | 1994-07-04 | 1997-04-28 | Barilla Flli G & R | Etichetta per confezioni richiudibili |
| US5938013A (en) | 1994-10-07 | 1999-08-17 | The Procter & Gamble Co. | Resealable pack |
| US6309105B1 (en) * | 1994-10-07 | 2001-10-30 | The Procter & Gamble Company | Resealable pack |
| US5636732A (en) | 1994-11-07 | 1997-06-10 | Gilels; Lisa A. | Cap for package of chewing gum |
| SE503217C2 (sv) | 1994-12-13 | 1996-04-22 | Bakelit Konstr Ab | Buntningsband |
| SE505294C2 (sv) | 1994-12-13 | 1997-07-28 | Regath Hb | Återförslutbar förpackning med organ för indikering om förpackningen är bruten |
| US5647100A (en) | 1995-03-14 | 1997-07-15 | Dowbrands L.P. | Closure member for a reclosable thermoplastic bag |
| US5538129A (en) | 1995-03-21 | 1996-07-23 | Minnesota Mining And Manufacturing Company | Package for adhesive precoated dental appliance |
| ES2150515T3 (es) | 1995-05-26 | 2000-12-01 | Procter & Gamble | Envase para pañuelos que comprende una bolsa flexible y un dispositivo dispensador reutilizable. |
| US5647506A (en) | 1995-05-26 | 1997-07-15 | Nice-Pak Products, Inc. | Readily openable pop-up dispenser for moist tissues |
| US5591468A (en) | 1995-06-06 | 1997-01-07 | W. R. Grace & Co.-Conn. | Method of shrinking film to apply lidstock and package made therefrom |
| US5664677A (en) | 1995-06-07 | 1997-09-09 | Contec, Inc. Of Spartanburg | Presaturated wiper assembly |
| US5595786A (en) | 1995-06-07 | 1997-01-21 | Contec, Inc. Of Spartanburg | Method of preparing surface for receiving a coating and apparatus therefor |
| US5688463A (en) | 1995-06-12 | 1997-11-18 | Combibloc, Inc. | Laser processing of discrete sheets of material |
| FR2736330B1 (fr) | 1995-07-05 | 1997-08-22 | Techmay Sa | Procede d'emballage sous pellicule de film dechirable et emballage obtenu |
| US5558438A (en) | 1995-07-10 | 1996-09-24 | Rex-Rosenlew International Incorporated | Bag with reenforced handle and resealable pour spout opening |
| US5633058A (en) | 1995-09-05 | 1997-05-27 | Hoffer; Erik | Message-indicating self-wound tape and method of making same |
| US5928749A (en) | 1995-11-22 | 1999-07-27 | Forman; Harold M | Resealable package, and apparatus for and method of making same |
| JPH09150872A (ja) | 1995-11-30 | 1997-06-10 | Dainippon Printing Co Ltd | 取出口付包装袋 |
| JPH09156677A (ja) | 1995-12-08 | 1997-06-17 | Fuji Seal Co Ltd | 蓋用ラベル付き容器 |
| US5993962A (en) | 1996-01-11 | 1999-11-30 | Ato Findley, Inc. | Resealable packaging system |
| US6299012B1 (en) | 1996-01-23 | 2001-10-09 | Sanford Redmond | Reclosable dispenser package, reclosable outlet forming structure and method and apparatus for making same |
| JP3794746B2 (ja) | 1996-02-15 | 2006-07-12 | 花王株式会社 | ウエットティッシュ包装体 |
| US5882116A (en) | 1996-04-25 | 1999-03-16 | Backus; Alan | Tamper indication device |
| US5749657A (en) | 1996-05-10 | 1998-05-12 | Reynolds Consumer Products Inc. | Flexible package with hanghole and tear string and method and apparatus for making the same |
| US5873607A (en) | 1996-05-24 | 1999-02-23 | The Standard Register Company | Construction for a laminated window label |
| JP2713704B2 (ja) | 1996-06-03 | 1998-02-16 | 憲司 中村 | 包装体 |
| USD394605S (en) | 1996-07-19 | 1998-05-26 | Sage Products, Inc. | Resealable package |
| US5725311A (en) * | 1996-07-19 | 1998-03-10 | Sage Products, Inc. | Resealable package with label peeling inhibiting means |
| US6662843B1 (en) | 1996-07-24 | 2003-12-16 | Illinois Tool Works Inc. | Apparatus for applying tape with fastener profiles to a web |
| JPH1059441A (ja) | 1996-08-23 | 1998-03-03 | Morisa:Kk | 包装体の取出口の構造 |
| US5709479A (en) | 1996-09-06 | 1998-01-20 | Kapak Corp. | Bag construction for distributing material |
| WO1998009594A2 (de) | 1996-09-06 | 1998-03-12 | Lohmann Gmbh & Co. Kg | Beutelförmige aufreissverpackung für einen schnellen zugang zum packgut |
| JPH1081361A (ja) | 1996-09-07 | 1998-03-31 | Komatsu Electron Metals Co Ltd | フィルム包装の開封構造 |
| DE19642040C1 (de) | 1996-10-11 | 1998-01-15 | Schreiner Etiketten | Mit einem Laserstrahl beschriftbare Folie |
| JPH10120016A (ja) | 1996-10-22 | 1998-05-12 | Lintec Corp | 包装容器用シートおよび包装容器 |
| JP3032163B2 (ja) | 1996-10-30 | 2000-04-10 | 敷島製パン株式会社 | 結束具を備えた袋状体の包装構造 |
| IT1286078B1 (it) | 1996-10-31 | 1998-07-07 | Bg Pack S R L | Procedimento per la produzione di una confezione ermetica richiudibile, in materiale flessibile, per prodotti vari, |
| JP3408088B2 (ja) | 1996-11-22 | 2003-05-19 | 花王株式会社 | 包装体 |
| FR2757835B1 (fr) | 1996-12-31 | 1999-03-19 | Unisabi Sa | Procede de fabrication d'un emballage et emballage a predecoupe laser |
| US5928748A (en) | 1997-01-31 | 1999-07-27 | Arcade, Inc. | Laminated page and method for making same |
| GB2322611B (en) | 1997-02-26 | 2001-03-21 | British Aerospace | Apparatus for indicating air traffic and terrain collision threat to an aircraft |
| US7415428B2 (en) | 1997-03-13 | 2008-08-19 | Safefresh Technologies, Llc | Processing meat products responsive to customer orders |
| JP3902631B2 (ja) | 1997-04-25 | 2007-04-11 | 株式会社川島製作所 | 製袋充填包装機におけるエンドシール時間の制御方法 |
| US6371644B1 (en) | 1997-05-22 | 2002-04-16 | Sealstrip Corp. | Reclosable seal, package, method and apparatus |
| US5833368A (en) | 1997-06-12 | 1998-11-10 | Kraft Foods, Inc. | Pull tab opening system for beverage container |
| US5939156A (en) | 1997-07-01 | 1999-08-17 | Teepak Investments, Inc. | Easy to open plastic caddie |
| USD394204S (en) | 1997-07-10 | 1998-05-12 | Seddon Edward T | Multiple compartment dispenser |
| FR2766794A1 (fr) | 1997-07-29 | 1999-02-05 | Soltex Soc Civ | Dispositif pour ouvrir et fermer un recipient et recipient muni d'un tel dispositif |
| DE19738411A1 (de) | 1997-09-03 | 1999-03-04 | Manfred Haiss | Schlauchbeutelverpackung |
| EP0905048A1 (en) | 1997-09-26 | 1999-03-31 | Cryovac, Inc. | Composite cover sheet for the re-closure of containers |
| US5906278A (en) | 1997-10-06 | 1999-05-25 | Sage Products, Inc. | Patient bathing system |
| US6060095A (en) | 1997-10-14 | 2000-05-09 | Hunt-Wesson, Inc. | Microwave popcorn serving package |
| US5956794A (en) | 1997-10-31 | 1999-09-28 | Sage Products, Inc. | Patient bathing system and washcloth for body cleansing |
| US6015934A (en) | 1997-11-12 | 2000-01-18 | Kimberly-Clark Worldwide, Inc. | Individually wrapped absorbent article and method and apparatus for its production |
| US5997177A (en) | 1997-11-25 | 1999-12-07 | Kraft Foods, Inc. | Tamper-evident opening system for beverage container |
| FR2772011B3 (fr) * | 1997-12-10 | 2000-01-28 | Denis Guibert | Etui pour produits, et article obtenu |
| IT1296883B1 (it) | 1997-12-18 | 1999-08-02 | Safta Spa | Sistema di confezionamento richiudibile e relativi procedimenti di fabbricazione |
| US6065591A (en) | 1997-12-19 | 2000-05-23 | Bba Nonwovens Simpsonville, Inc. | Non-resealable wet wipe package |
| CA2254323C (en) | 1997-12-31 | 2008-01-15 | Kimberly-Clark Worldwide, Inc. | Portable, flexible facial tissue dispensing system for dispensing tissues |
| CA2254270C (en) | 1997-12-31 | 2007-01-30 | Kimberly-Clark Worldwide, Inc. | Portable soft pack facial tissue dispensing system |
| DE19758296A1 (de) | 1997-12-31 | 1999-07-01 | Basf Ag | Herstellung von Polytetrahydrofuran mit endständigen Hydroxylgruppen unter Verwendung von Ionenaustauschern |
| JP3938998B2 (ja) | 1998-01-08 | 2007-06-27 | 大日本印刷株式会社 | 包装体 |
| USD447054S1 (en) | 1998-01-21 | 2001-08-28 | The Procter & Gamble Company | Container closure |
| US6099682A (en) | 1998-02-09 | 2000-08-08 | 3M Innovative Properties Company Corporation Of Delaware | Cold seal package and method for making the same |
| DE29805600U1 (de) | 1998-03-27 | 1998-05-28 | Pfankuch Maschinen GmbH, 22926 Ahrensburg | Beutelverpackung |
| DK174262B1 (da) | 1998-04-21 | 2002-10-21 | Schur Packaging Systems As | Fremgangsmåde og anlæg til pakning af emner i folieposer, apparat til udøvelse af fremgangsmåden samt emballageemne til anvendelse ved fremgangsmåden i apparatet |
| DE19820858A1 (de) | 1998-05-09 | 1999-11-18 | Beiersdorf Ag | Klebeband |
| DE19822328A1 (de) | 1998-05-19 | 1999-11-25 | Cardpack Verpackungstechnik Gm | Verpackung |
| US20010000480A1 (en) | 1998-05-28 | 2001-04-26 | 3M Innovative Properties Company | Plastic film packaging with tearable tape strip |
| US7254873B2 (en) | 1998-06-04 | 2007-08-14 | Illinois Tool Works, Inc. | Scored tamper evident fastener tape |
| US6077551A (en) * | 1998-06-04 | 2000-06-20 | Hunt-Wesson, Inc. | Microwave popcorn preparation and serving package with releasably adhered lap seam |
| DE69936205T2 (de) | 1998-07-08 | 2008-02-07 | Flexipol Packaging Ltd., Rossendale | Leicht zu öffnender beutel |
| US6164441A (en) | 1998-08-12 | 2000-12-26 | Guy & O'neill, Inc. | Skin cleansing device with re-sealable container |
| US6482867B1 (en) | 1998-08-28 | 2002-11-19 | Shiseido Co., Ltd. | Polymer packing material for liquid chromatography and a producing method thereof |
| US5996797A (en) | 1998-08-31 | 1999-12-07 | Chesebrough-Pond's Usa Co. Division Of Conopco, Inc. | Towelette pouches with outer container or saddle |
| FR2783512B1 (fr) | 1998-09-18 | 2000-10-20 | Soplaril Sa | Emballage pouvant etre referme apres ouverture, en particulier sac en matiere plastique, et procede de fabrication d'un tel emballage |
| ATE310684T1 (de) | 1998-09-30 | 2005-12-15 | Nissin Food Products Ltd | Deckel für nahrungsmittelbehälter |
| US6365255B1 (en) | 1998-11-04 | 2002-04-02 | Avery Dennison Corporation | Articles used for applying delicate films for security purposes |
| US6502986B1 (en) | 1998-12-01 | 2003-01-07 | Sonoco Development, Inc. | Package having re-sealable end closure and method for making same |
| US6076969A (en) | 1998-12-01 | 2000-06-20 | Sonoco Development, Inc. | Resealable closure and method of making same |
| US6241390B1 (en) | 1998-12-07 | 2001-06-05 | Southern Bag Corporation, Ltd. | Recloseable easy-open industrial bag and tab for use therewith |
| JP3195305B2 (ja) * | 1998-12-10 | 2001-08-06 | 憲司 中村 | シート状開閉蓋を有する包装体およびその製造方法 |
| US6383592B1 (en) | 1998-12-14 | 2002-05-07 | Sonoco Development, Inc. | Bag laminate with a removable sticker portion |
| AT413094B (de) | 1998-12-15 | 2005-11-15 | Teich Ag | Wiederverschliessbare, feuchtigkeitsdichte schlauchbeutelpackung |
| DE19859043A1 (de) | 1998-12-21 | 2000-06-29 | Convenience Food Sys Bv | Wiederverschließbare Kunststoffverpackung mit einem Klettverschluß |
| CH692980A5 (de) | 1999-01-21 | 2003-01-15 | Alcan Tech & Man Ag | Verpackung. |
| US6113271A (en) | 1999-03-11 | 2000-09-05 | Prime Label & Screen, Inc. | Resealable label flap including label stop |
| NZ514631A (en) | 1999-04-14 | 2004-02-27 | Procter & Gamble | Package for sheet dispensing |
| EP1046594B1 (de) | 1999-04-15 | 2003-08-13 | Alcan Technology & Management AG | Verpackungsbehälter mit abschälbarer Verbindungsnaht und Verfahren zur Herstellung solches Behälters |
| DE29907206U1 (de) | 1999-04-26 | 1999-07-15 | Hassia Verpackungsmaschinen Gmbh, 63691 Ranstadt | Schlauchbeutelpackung, insbesondere sogenannte Stickpackung |
| AU5062400A (en) | 1999-04-27 | 2000-11-10 | Converting Wet Wipes S.R.L. | Rigid closure element for, and quickly fixable to, a flexible container for example for wet wipes |
| US6476743B1 (en) | 1999-05-12 | 2002-11-05 | Iders Incorporated | Magnetic stripe reader |
| JP3784204B2 (ja) | 1999-05-24 | 2006-06-07 | ユニ・チャーム株式会社 | 軟質シートで形成された包装体の製造方法 |
| JP2000335542A (ja) | 1999-05-26 | 2000-12-05 | Yoshino Kogyosho Co Ltd | 納豆容器 |
| DE60027638T2 (de) | 1999-05-27 | 2007-01-11 | Arca Etichette S.P.A. | Originalitätsverschlüss |
| US6660983B2 (en) | 2001-08-31 | 2003-12-09 | General Mills, Inc. | Easily expandable, nontrapping, flexible paper, microwave package |
| US6461708B1 (en) | 1999-08-11 | 2002-10-08 | Northstar Print Group | Resealable container and closure seal |
| US6126317A (en) * | 1999-08-11 | 2000-10-03 | Pac One, Inc. | Configuration resisting tear propagation in container sidewall |
| CA2384142C (en) | 1999-08-20 | 2006-12-19 | The Procter & Gamble Company | Flexible storage bag with audible closure indicator |
| IT1313633B1 (it) | 1999-09-27 | 2002-09-09 | Barilla Alimentare Spa | Confezione di una pila cilindrica di biscotti tondi. |
| US6318894B1 (en) | 1999-10-06 | 2001-11-20 | Kraft Foods Holdings, Inc. | Resealable flexible packages having hook design tear line |
| JP2001114357A (ja) | 1999-10-08 | 2001-04-24 | Fuji Seal Inc | 包装体 |
| GB9923986D0 (en) | 1999-10-12 | 1999-12-15 | Supreme Plastics Group Ltd | Plastic bags |
| PT1233914E (pt) * | 1999-12-01 | 2003-12-31 | During Ag | Embalagem para toalhetes humidos ou para artigos de consumo similares |
| US6296884B1 (en) | 1999-12-09 | 2001-10-02 | David F. Okerlund | Pre-packaged s'more kit |
| US6589622B1 (en) | 1999-12-14 | 2003-07-08 | Prime Label & Screen, Inc. | Resealable label flap including tamper evident tab |
| US6428867B1 (en) | 1999-12-14 | 2002-08-06 | Prime Label & Screen, Inc. | Resealable tamper indicating label flap including printer indicia |
| JP2001301807A (ja) | 2000-02-16 | 2001-10-31 | Unitika Ltd | 包装体及び開閉蓋用ラベル使用の包装体 |
| US6428208B1 (en) | 2000-03-08 | 2002-08-06 | Ultra Flex Packaging Corporation | Internal profile hanger with outwardly projecting tab member with informational indicia thereon |
| US6213645B1 (en) | 2000-03-14 | 2001-04-10 | Fres-Co System Usa, Inc. | Flexible package with sealed edges and easy to open mouth |
| US6420006B1 (en) | 2000-03-21 | 2002-07-16 | Prime Label & Screen, Inc. | Removable label flap including hidden coupon |
| DE50013265D1 (de) | 2000-03-21 | 2006-09-14 | Alcan Tech & Man Ag | Verpackung mit Aufreissverschluss |
| US6471817B1 (en) | 2000-04-27 | 2002-10-29 | Moore North America, Inc. | Multipart laserlicensing sheet with decals and/or patches |
| US6461043B1 (en) | 2000-05-24 | 2002-10-08 | Colgate Palmolive Company | Reclosable bag |
| EP1299233A4 (en) | 2000-06-16 | 2006-03-01 | Pharmagraphics Southeast Llc | MULTILAYER PULLING LABEL |
| JP2002002805A (ja) | 2000-06-27 | 2002-01-09 | Koji Onuma | ピロー包装品 |
| DE20113173U1 (de) | 2000-08-08 | 2001-10-11 | Teich Aktiengesellschaft, Weinburg | Wiederverschließbare Packung für festes Packungsgut, insbesondere für Schokolade |
| JP2002172479A (ja) | 2000-09-20 | 2002-06-18 | Seiko Epson Corp | レーザ割断方法、レーザ割断装置、液晶装置の製造方法並びに液晶装置の製造装置 |
| JP2002104550A (ja) | 2000-09-26 | 2002-04-10 | Toa Kiko Kk | ウェットシートの収容袋 |
| US6364113B1 (en) | 2000-10-11 | 2002-04-02 | Corium Corporation | Resealable container |
| US6457585B1 (en) | 2000-10-31 | 2002-10-01 | Sonoco Development, Inc. | Packaging with incorporated temporary tattoo |
| JP3602786B2 (ja) | 2000-11-10 | 2004-12-15 | 東亜機工株式会社 | ラベル貼付方法およびラベル貼付装置 |
| US20020068668A1 (en) | 2000-12-01 | 2002-06-06 | Laser Machining, Inc. | Method for laser machining easy open, tear flexible packaging |
| IT1320858B1 (it) | 2000-12-12 | 2003-12-10 | Tetra Laval Holdings & Finance | Confezione sigillata di tipo perfezionato per prodotti alimentariversabili. |
| US6446811B1 (en) | 2000-12-27 | 2002-09-10 | Sonoco Development, Inc. | Self-opening serially-arranged plastic bag pack of the star-seal type |
| FR2819485B1 (fr) | 2001-01-18 | 2003-05-30 | Lu | Dispositif de conditionnement et emballage associant un flan et un film superpose |
| US6699541B2 (en) | 2001-02-12 | 2004-03-02 | Arnold Finestone | Self-closing adhesive-free resealable package |
| US6517243B2 (en) | 2001-02-16 | 2003-02-11 | Sonoco Development, Inc. | Bag with reusable built-in closure tab |
| GB0104207D0 (en) | 2001-02-21 | 2001-04-11 | British American Tobacco Co | Smoking article packaging |
| US6450685B1 (en) | 2001-04-27 | 2002-09-17 | Steven Michael Scott | Resealable metalized thermal bag |
| US6402379B1 (en) | 2001-05-16 | 2002-06-11 | Rex International Incorporated | Bag with arcuate-transition tear line |
| US6767604B2 (en) | 2001-06-04 | 2004-07-27 | Grand Rapids Label Company | Package with attached resealable cover and method of making same |
| JP2003026224A (ja) | 2001-07-10 | 2003-01-29 | Unitika Ltd | 包装体 |
| US20030019780A1 (en) | 2001-07-23 | 2003-01-30 | Parodi Gustavo Jose Camargo | Easy opening, re-closeable bag |
| US7165888B2 (en) | 2001-07-25 | 2007-01-23 | Avery Dennison Corporation | Resealable closures for packages and packages containing the same |
| WO2003013976A1 (de) | 2001-08-06 | 2003-02-20 | Henkel Kommanditgesellschaft Auf Aktien | Wiederverschliessbare verpackung |
| US6594872B2 (en) | 2001-08-17 | 2003-07-22 | The Glad Products Company | Interlocking closure device |
| JP5068405B2 (ja) | 2001-08-30 | 2012-11-07 | 株式会社川島製作所 | 易開封構造を備えた袋包装体及びそれを製造する包装機 |
| US20030047695A1 (en) | 2001-09-07 | 2003-03-13 | Preco Laser Systems, Llc | System and method for synchronizing a laser beam to a moving web |
| US20030051440A1 (en) | 2001-09-13 | 2003-03-20 | Preco Laser Systems, Llc | Method of creating easy-open load carrying bags |
| US20030053720A1 (en) | 2001-09-18 | 2003-03-20 | Sol Smith | Continuous strip of plastic bags, method and apparatus for making same, and novel plastic bag constructions |
| GB2380180B (en) | 2001-09-28 | 2005-05-11 | Redbridge Holdings Ltd | Container |
| US6901637B2 (en) | 2001-10-03 | 2005-06-07 | Illinois Tool Works Inc. | Zipper with pre-activated peel-seal |
| US6612432B2 (en) | 2001-10-15 | 2003-09-02 | W. David Motson | Universal case for portable electronic device |
| US6750423B2 (en) | 2001-10-25 | 2004-06-15 | Semiconductor Energy Laboratory Co., Ltd. | Laser irradiation method, laser irradiation apparatus, and method of manufacturing a semiconductor device |
| EP1889793B1 (en) | 2001-10-26 | 2012-06-27 | Hosokawa Yoko Co., Ltd. | Packaging member with easy-opening means |
| JP2003137314A (ja) | 2001-10-30 | 2003-05-14 | Nihon Tokkyo Kanri Co Ltd | 再密封を可能にした袋 |
| US7032754B2 (en) * | 2001-10-31 | 2006-04-25 | Wm. Wrigley Jr. Company | Package having releaseably secured consumable products |
| BR0117165A (pt) | 2001-11-02 | 2004-10-26 | Cadbury Adams Usa Llc | Embalagem fechável |
| TWI289896B (en) | 2001-11-09 | 2007-11-11 | Semiconductor Energy Lab | Laser irradiation apparatus, laser irradiation method, and method of manufacturing a semiconductor device |
| US6616334B2 (en) | 2001-11-30 | 2003-09-09 | Playtex Products, Inc. | Die cut resealable flap |
| ATE281370T1 (de) * | 2001-12-10 | 2004-11-15 | Procter & Gamble | Flexible verpackung für aufsaugende papiertücher mit einer asymmetrischen öffnung |
| US6698928B2 (en) | 2001-12-21 | 2004-03-02 | Kimberly-Clark Worldwide, Inc. | Flexible packages having reusable pull-tab openers |
| JP3687607B2 (ja) | 2001-12-25 | 2005-08-24 | 松下電工株式会社 | プリプレグの切断方法 |
| SE0104399D0 (sv) | 2001-12-27 | 2001-12-27 | Regath Hb | Etikett |
| EP1340693A1 (en) | 2002-02-26 | 2003-09-03 | Cryovac, Inc. | Easy open package |
| US7299608B2 (en) | 2002-03-18 | 2007-11-27 | Frito-Lay North America, Inc. | Quick change module with adjustable former attachments |
| AU2003225998A1 (en) | 2002-03-26 | 2003-10-13 | Mark Steele | Flexible package with a transverse access panel device |
| US6726054B2 (en) | 2002-03-29 | 2004-04-27 | Tapemark | Dispenser package arrangement and methods |
| GB0207953D0 (en) | 2002-04-05 | 2002-05-15 | United Biscuits Ltd | Improvements in or relating to the packaging of food products |
| JP4107639B2 (ja) | 2002-04-15 | 2008-06-25 | 本田技研工業株式会社 | レーザ溶接装置およびレーザ溶接方法 |
| AU2003239178A1 (en) | 2002-04-25 | 2003-11-10 | Weyerhaeuser Company | Method for making tissue and towel products containing crosslinked cellulosic fibers |
| US20030217946A1 (en) | 2002-05-21 | 2003-11-27 | Ya-Chih Hsu | Tissue paper box with double draw outlets |
| ITPD20020141A1 (it) | 2002-05-28 | 2003-11-28 | Bp Europack Spa | Contenitore flessibile ad apertura agevolata e richiudibile |
| US20040035719A1 (en) | 2002-06-13 | 2004-02-26 | Ebbers Ton A.J.L. | Method for forming reclosable access portals in film packaging |
| JP3901592B2 (ja) * | 2002-06-24 | 2007-04-04 | 株式会社フジキカイ | 再封性包装袋と製袋充填機 |
| DE10232959A1 (de) | 2002-07-19 | 2004-02-19 | Hochland Ag | Verpackung und Verfahren zu ihrer Herstellung |
| US6910995B2 (en) | 2002-08-07 | 2005-06-28 | Illinois Tool Works Inc. | Easy open feature for reclosable bags having a longitudinal fin seal |
| AU2003261427A1 (en) | 2002-08-08 | 2004-02-25 | Mars, Incorporated | Tamper evident food packaging |
| WO2004014750A1 (en) | 2002-08-08 | 2004-02-19 | Mars, Incorporated | Tamper evident packaging labels |
| US6726364B2 (en) | 2002-09-19 | 2004-04-27 | Poppack, Llc | Bubble-seal apparatus for easily opening a sealed package |
| US7172779B2 (en) | 2002-09-27 | 2007-02-06 | Kraft Foods Holdings, Inc. | Container for sliced and fluffed food products |
| US20040060974A1 (en) | 2002-09-30 | 2004-04-01 | Dacey Denise M. | Container with tamper-evidence, reclosure features |
| US6746743B2 (en) | 2002-10-03 | 2004-06-08 | Frito-Lay North America, Inc. | Multi-layer flexible package with removable section |
| ATE461870T1 (de) | 2002-10-18 | 2010-04-15 | Amcor Flexibles France | Wiederverschliessbare flexible verpackung |
| US6889483B2 (en) | 2002-10-31 | 2005-05-10 | Cryovac, Inc. | Easy-opening feature for flexible packages and process and apparatus for forming same |
| US7051877B2 (en) | 2002-11-12 | 2006-05-30 | Pai Yung Lin | Napkin container having openable and sealable cover |
| JP4068450B2 (ja) | 2002-12-27 | 2008-03-26 | 松下電器産業株式会社 | 商品パッケージ |
| EP1437311A1 (en) | 2003-01-10 | 2004-07-14 | Amcor Flexibles Europe A/S | A box-shaped package of a flexible and sealable packaging material |
| US20040150221A1 (en) | 2003-01-30 | 2004-08-05 | Brady Worldwide, Inc. | Tamper evident seal |
| DK1449789T3 (da) | 2003-02-19 | 2007-12-17 | Alcan Tech & Man Ltd | Emballagebeholder, som omfatter en emballagefolie med et integreret åbning- og genlukningssystem |
| US6983875B2 (en) | 2003-02-25 | 2006-01-10 | Gary Emmott | Apparatus for fastening and separating containers |
| US6969196B2 (en) | 2003-03-07 | 2005-11-29 | Exopack-Technology, Llc | Bag having reclosable seal and associated methods |
| ITMI20030110U1 (it) | 2003-03-11 | 2004-09-12 | Barilla Alimentare Spa | Confezione per biscotti di forma tonda |
| ITBO20030181A1 (it) | 2003-03-31 | 2004-10-01 | Ica Spa | Sacchetto flessibile con apertura richiudibile ermeticamente. |
| US7344744B2 (en) | 2003-04-16 | 2008-03-18 | Kraft Foods Holdings, Inc. | Resealable food container with tamper-evident indicator |
| US6918532B2 (en) | 2003-04-16 | 2005-07-19 | Kraft Foods Holdings, Inc. | Resealable food container |
| US9150342B2 (en) | 2003-04-16 | 2015-10-06 | Intercontinental Great Brands Llc | Resealable tray container |
| US7213710B2 (en) | 2003-05-13 | 2007-05-08 | The Procter & Gamble Company | Package for compressible flat articles |
| EP1477425A1 (en) | 2003-05-15 | 2004-11-17 | Amcor Flexibles Europe A/S | Easy opening, reclosable flow-pack wrapper |
| GB2402230B (en) | 2003-05-30 | 2006-05-03 | Xsil Technology Ltd | Focusing an optical beam to two foci |
| DE60301492T2 (de) | 2003-06-10 | 2006-06-01 | Nimax S.P.A. | Herstellen eines Gegenstandes, der einen Geheimkode präsentiert, welcher durch eine undurchsichtige, entfernbare Materiallage verborgen ist |
| JP4296858B2 (ja) | 2003-06-27 | 2009-07-15 | 凸版印刷株式会社 | 易開封性ガセット貼り袋 |
| EP1650139B1 (en) | 2003-07-24 | 2011-06-29 | Toppan Printing Co., Ltd. | Packaging bag with steam releasing function |
| WO2005014406A2 (en) | 2003-08-06 | 2005-02-17 | Avery Dennison Corporation | Cohesive reclosure systems and containers using same |
| EP1508531A1 (en) | 2003-08-22 | 2005-02-23 | CFS Weert B.V. | Tubular Bag |
| JP4071212B2 (ja) | 2003-10-16 | 2008-04-02 | 上銀科技股▲分▼有限公司 | 転がり素子案内モジュール |
| EP1535857B1 (en) | 2003-11-26 | 2007-10-24 | The Procter & Gamble Company | Pack comprising a dispensing orifice created by overlapping portions of a laminated packaging material |
| ITMI20032347A1 (it) | 2003-12-01 | 2005-06-02 | Gi Bi Effe Srl | Scatola con coperchio antimanomissione. |
| US20050117819A1 (en) | 2003-12-02 | 2005-06-02 | Kingsford Howard A. | Packaging closures |
| FR2863258B1 (fr) | 2003-12-08 | 2006-11-03 | Mc3 | Dispositif pour ouvrir et eventuellement fermer un conditionnement |
| US7527189B2 (en) * | 2004-04-06 | 2009-05-05 | Wm. Wrigley Jr. Company | Comestible product dispensers and methods of making and using same |
| US7159717B2 (en) | 2004-05-11 | 2007-01-09 | Cadbury Adams Usa, Llc | Packaging design with separate compartments |
| US7971718B2 (en) | 2005-05-09 | 2011-07-05 | Kraft Foods Global Brands Llc | Package for dispensing and retaining gum slabs with adhesive securement |
| EP1755965B1 (en) | 2004-05-11 | 2009-07-01 | Cadbury Adams USA LLC | Package having insertable product retention member |
| AU2005243649B2 (en) | 2004-05-11 | 2009-05-21 | Cadbury Adams Usa Llc | Gum slab package with flap retention |
| EP1753669B1 (en) | 2004-05-11 | 2011-04-27 | Cadbury Adams USA LLC | Package for dispensing and retaining gum slabs with adhesive securement |
| DE202004016420U1 (de) | 2004-05-17 | 2005-03-24 | Huhtamaki Ronsberg, Zweigniederlassung Der Huhtamaki Deutschland Gmbh & Co. Kg | Standbeutel mit optimiertem Aufreißverhalten |
| US20050269233A1 (en) | 2004-06-02 | 2005-12-08 | Aldridge Allen S | Confectionary packaging design |
| US7533733B2 (en) | 2004-06-04 | 2009-05-19 | Nolan Michael E | Method and apparatus for treating hoof problems |
| US20050276885A1 (en) | 2004-06-10 | 2005-12-15 | Bennett James A | Self-venting microwaveable pouch, food item, and method of preparation |
| US7717620B2 (en) | 2004-06-11 | 2010-05-18 | Sonoco Development, Inc. | Flexible packaging structure with a built-in opening and reclose feature, and method for making same |
| DE102004028744B3 (de) | 2004-06-14 | 2005-10-27 | Veritas Ag | Schalldämpfer |
| FR2871780B1 (fr) | 2004-06-17 | 2006-09-08 | Mc3 Sarl | Dispositif d'ouverture et de refermeture de conditionnement et conditionnement equipe d'un tel dispositif |
| JP4456943B2 (ja) | 2004-06-23 | 2010-04-28 | ユニ・チャーム株式会社 | 易開封性包装体 |
| US7422142B2 (en) | 2004-06-25 | 2008-09-09 | Giuseppe Jeffrey Arippol | Package with a re-sealable closure for opening and closing |
| EP1765689B1 (en) * | 2004-07-08 | 2018-03-21 | Intercontinental Great Brands LLC | Reclosable consumable product package assembly |
| US7371008B2 (en) | 2004-07-23 | 2008-05-13 | Kraft Foods Holdings, Inc. | Tamper-indicating resealable closure |
| JP4419742B2 (ja) | 2004-07-28 | 2010-02-24 | ブラザー工業株式会社 | 電子部品搭載基板及びインクジェットヘッド |
| DE202004012301U1 (de) | 2004-08-05 | 2004-12-02 | Huhtamaki Ronsberg, Zweigniederlassung Der Huhtamaki Deutschland Gmbh & Co. Kg | Wiederverschließbarer Schlauchbeutel |
| JP2006062712A (ja) | 2004-08-27 | 2006-03-09 | Toppan Printing Co Ltd | 切取り部付包装材料およびその製造方法並びにそれを用いた包装袋または容器の蓋材 |
| ITMI20041735A1 (it) | 2004-09-10 | 2004-12-10 | Barilla Flli G & R | Confezione per prodotti alimentari di forma poligonale. |
| US7228968B1 (en) | 2004-09-16 | 2007-06-12 | Starliner, Llc | Stick-on, flexible, peel and seal package dispenser |
| US20060066096A1 (en) | 2004-09-29 | 2006-03-30 | Shen-Nan Kan | Adhesive tape structure for sealing and keeping secrecy |
| JP2006137445A (ja) | 2004-11-11 | 2006-06-01 | Dainippon Printing Co Ltd | 易開封性包装袋 |
| EP1674406A1 (de) | 2004-11-11 | 2006-06-28 | Alcan Technology & Management Ltd. | Beutelverpackung mit peelbarer Siegelnaht |
| US7908826B2 (en) | 2004-11-12 | 2011-03-22 | Frito-Lay North America, Inc. | Method and apparatus for providing end seals on vertical stand-up packages |
| JP4671675B2 (ja) | 2004-12-03 | 2011-04-20 | ユニ・チャーム株式会社 | 易開封性包装体 |
| EP1666376A1 (en) | 2004-12-03 | 2006-06-07 | Philip Morris Products S.A. | Easy opening of film wrapper |
| US20060124494A1 (en) | 2004-12-09 | 2006-06-15 | Kimberly-Clark Worldwide, Inc. | Shape retaining flexible package with easy access opening feature |
| US7350688B2 (en) | 2005-01-06 | 2008-04-01 | Kraft Foods Holdings, Inc. | Resealable food container |
| FR2880620B1 (fr) | 2005-01-07 | 2007-04-27 | Denis Guibert | Etui pour le conditionnement et la distribution de produits, notamment de granules, de lingettes, de pansements ou de poudres |
| CN1943272B (zh) | 2005-01-28 | 2012-06-27 | 松下电器产业株式会社 | 电动电声换能器和电子装置 |
| ES2314898T3 (es) | 2005-03-04 | 2009-03-16 | Tesa Ag | Etiqueta de doble capa como minimo para abrir y volver a cerrar envases, y su utilizacion. |
| US7262335B2 (en) | 2005-03-07 | 2007-08-28 | The Procter & Gamble Company | Easy-open, re-closable package for disposable diapers |
| EP1712468A2 (en) | 2005-04-13 | 2006-10-18 | Velteko, s.r.o. | Method and apparatus for forming tube-like bags |
| DK1712488T3 (da) * | 2005-04-15 | 2009-03-23 | Regath Hb | Fleksibel pakke og fremgangsmåde til fremstilling af denne |
| DE202004021343U1 (de) | 2005-04-18 | 2007-10-25 | Huhtamaki Ronsberg, Zweigniederlassung Der Huhtamaki Deutschland Gmbh & Co. Kg | Bedrucktes Trägersubstrat |
| ES2328704T3 (es) | 2005-04-18 | 2009-11-17 | KRAFT FOODS R & D, INC. | Envase, producto alimenticio envasado en el envase, asi como un metodo para fabricar un material de envasado o para envasar un producto alimenticio y un material de envasado producido de ese modo. |
| US20060251342A1 (en) | 2005-05-04 | 2006-11-09 | Forman Josephine A | Reclosable packages |
| US20060285779A1 (en) | 2005-06-15 | 2006-12-21 | Golas Adam A | Re-sealable bag |
| US20060283750A1 (en) | 2005-06-21 | 2006-12-21 | The Procter & Gamble Company | Resealable package with separable fastening element |
| GB0515335D0 (en) | 2005-07-26 | 2005-08-31 | Innovia Films Ltd | Easy open ream wrap |
| US20070023436A1 (en) * | 2005-08-01 | 2007-02-01 | Sierra-Gomez Gladys O | Resealable food container |
| JP4995445B2 (ja) | 2005-08-08 | 2012-08-08 | 株式会社川島製作所 | 包装袋及びそれを用いた袋包装体 |
| EP1760006A1 (en) | 2005-09-02 | 2007-03-07 | The Procter & Gamble Company | Pack of tissues with an indicia on the reseal tape |
| JP4088653B2 (ja) | 2005-09-29 | 2008-05-21 | 憲司 中村 | ウェットシート包装体 |
| US20070082158A1 (en) | 2005-10-06 | 2007-04-12 | Coating Excellence International | Composite film bag for packaging bulk products |
| JP4808005B2 (ja) | 2005-10-31 | 2011-11-02 | ユニ・チャーム株式会社 | 二重包装体 |
| US7516599B2 (en) | 2005-11-07 | 2009-04-14 | Kraft Foods Global Brands Llc | Methods and apparatus for manufacture of a reclosable plastic carton |
| US7758484B2 (en) | 2005-12-30 | 2010-07-20 | 3M Innovative Properties Company | Packaging and method for making the same |
| US8029428B2 (en) | 2006-01-13 | 2011-10-04 | Cmd Corporation | Method and apparatus for making skirtless seals |
| AU2006337982B2 (en) | 2006-02-08 | 2012-09-13 | Sca Hygiene Products Gmbh | Softpack |
| US20070269142A1 (en) | 2006-05-16 | 2007-11-22 | Susan Tyska | Resealable bowl-in-pouch arrangement and method |
| US7963413B2 (en) | 2006-05-23 | 2011-06-21 | Kraft Foods Global Brands Llc | Tamper evident resealable closure |
| US8308363B2 (en) | 2006-05-23 | 2012-11-13 | Kraft Foods Global Brands Llc | Package integrity indicator for container closure |
| US20080220227A1 (en) | 2006-05-30 | 2008-09-11 | Keeney Cecil M | Coated printing stock for use as labels and the like |
| DE602006011596D1 (de) | 2006-06-29 | 2010-02-25 | Procter & Gamble | Verfahren zum Herstellen von Verpackungen für Hygieneartikel |
| GB2441320A (en) | 2006-09-04 | 2008-03-05 | Cadbury Schweppes Plc | Easy-open packaging |
| US20080060751A1 (en) | 2006-09-07 | 2008-03-13 | Evan Arrindell | Island label apparatus and method |
| WO2008033919A2 (en) | 2006-09-12 | 2008-03-20 | General Mills, Inc. | Pouch opening feature |
| US20080063759A1 (en) | 2006-09-13 | 2008-03-13 | Raymond Megan N | Packaging Method for Storage and Microwave Heating of Food Products |
| US20080063760A1 (en) | 2006-09-13 | 2008-03-13 | Raymond Megan N | Packaging System for Storage and Microwave Heating of Food Products |
| DK200601283A (da) | 2006-10-04 | 2008-04-05 | Danapak Flexibles As | Fremgangsmåde til fremstilling af en genlukkelig emballage |
| GB0623385D0 (en) | 2006-11-23 | 2007-01-03 | British American Tobacco Co | Packaging for smoking articles |
| ATE477196T1 (de) | 2006-12-05 | 2010-08-15 | Procter & Gamble | WIEDERVERSCHLIEßBARER BEUTEL |
| WO2008074060A1 (en) | 2006-12-20 | 2008-06-26 | Bezzina-Schell, Sheree | Flexible food packaging with a resealable flap |
| US20080152264A1 (en) | 2006-12-22 | 2008-06-26 | Kenneth Charles Pokusa | Flexible easy-open package with reclosable feature |
| US8114451B2 (en) | 2006-12-27 | 2012-02-14 | Kraft Foods Global Brands Llc | Resealable closure with package integrity feature |
| PL1939106T3 (pl) | 2006-12-29 | 2009-08-31 | Kraft Foods R & D Inc | Opakowanie wielokrotnego zamykania |
| EP2125561B1 (en) | 2007-03-02 | 2011-09-21 | MonoSol RX LLC | Packet structure, such as for a film strip |
| US8408792B2 (en) | 2007-03-30 | 2013-04-02 | Kraft Foods Global Brands Llc | Package integrity indicating closure |
| US20080253697A1 (en) | 2007-04-10 | 2008-10-16 | O'neill Kilian John | Easy-opening flexible container |
| DE202007005487U1 (de) | 2007-04-13 | 2007-06-14 | ECONO-PAK Gesellschaft für wirtschaftliche Verpackungstechnik mbH | Schlauchbeutel mit Inhalt |
| US20080274239A1 (en) | 2007-05-01 | 2008-11-06 | Kraft Foods Holdings, Inc. | Ingredient Package and Method |
| FR2915963B1 (fr) | 2007-05-10 | 2009-07-17 | 3G Sarl | Sachet de conditionnement |
| US10189621B2 (en) | 2007-05-21 | 2019-01-29 | Cryovac, Inc. | Bag made from high-strength heat-shrinkable film exhibiting directional tear, and process utilizing same |
| ITBO20070387A1 (it) | 2007-05-31 | 2008-12-01 | Bordi Carlo S R L | Sacchetto per il contenimento di un prodotto e procedimento per la realizzazione di detto sacchetto. |
| DE102007030267A1 (de) | 2007-06-28 | 2009-01-08 | Focke & Co.(Gmbh & Co. Kg) | Packung für stückige oder körnige Güter |
| US8517609B2 (en) | 2007-07-19 | 2013-08-27 | Christopher W. Conner | Resizable food container |
| US20090053372A1 (en) | 2007-08-23 | 2009-02-26 | Samuel Hambrick | Resealable food bags and method thereof |
| FR2920413B1 (fr) | 2007-08-31 | 2011-06-03 | Georgia Pacific France | Emballage souple parallelepipedique a zone frangible |
| DE102007044829B4 (de) | 2007-09-18 | 2011-05-26 | Jenoptik Automatisierungstechnik Gmbh | Verpackungsbeutel mit Aufreißhilfe |
| DE602007004225D1 (de) | 2007-10-15 | 2010-02-25 | Goglio Spa | Stehbeutel für schüttfähige Produkte |
| WO2009065120A1 (en) | 2007-11-16 | 2009-05-22 | Hickey Charles P | Slap-on resealable closure |
| US20090161995A1 (en) | 2007-12-21 | 2009-06-25 | Eric Henderson | Flexible film plate-mat bag |
| TW200946406A (en) * | 2008-01-15 | 2009-11-16 | Hosokawa Yoko Kk | Easily openable packaging bag |
| JP2009166870A (ja) | 2008-01-16 | 2009-07-30 | Shin Etsu Polymer Co Ltd | 包装体およびその製造方法 |
| WO2009110197A1 (ja) | 2008-03-04 | 2009-09-11 | 株式会社フジシールインターナショナル | タックラベラー |
| US9975290B2 (en) | 2008-03-06 | 2018-05-22 | Sonoco Development, Inc. | Flexible packaging structure with built-in tamper-evidence features and method for making same |
| TW200940412A (en) | 2008-03-17 | 2009-10-01 | Kang Na Hsiung Entpr Co Ltd | Packaging bag and manufacturing method and manufacturing device thereof |
| US20090273179A1 (en) | 2008-04-30 | 2009-11-05 | Prime Label & Screen, Inc. | Resealable label flap having multiple separable layers for displaying information |
| US7789291B2 (en) | 2008-06-10 | 2010-09-07 | Printpack Illinois, Inc. | Packaging article and method with particular tearing slit arrangement |
| US20100002963A1 (en) | 2008-07-01 | 2010-01-07 | Victor Paul Holbert | Reclosable food package with improved shelf life |
| US20100018974A1 (en) | 2008-07-24 | 2010-01-28 | Deborah Lyzenga | Package integrity indicating closure |
| US8002171B2 (en) | 2008-07-25 | 2011-08-23 | Graphic Packaging International, Inc. | Package with recloseable dispenser |
| GB0819200D0 (en) | 2008-10-20 | 2008-11-26 | Cadbury Holdings Ltd | Packaging |
| US20100111453A1 (en) * | 2008-10-31 | 2010-05-06 | Frito-Lay North America, Inc. | Two Side Cut Reseal With Pressure Sensitive Adhesive and the Method for Making Same |
| DE102008058537A1 (de) | 2008-11-21 | 2010-05-27 | Tesa Se | Verwendung eines Streifen eines Klebebands zur Verstärkung von Kartonagen insbesondere im Bereich von Stanzungen und gleichzeitig als Aufreißstreifen für diese Kartonagen |
| US20100147724A1 (en) | 2008-12-12 | 2010-06-17 | Ujjaini Mitra-Shah | Tamper indicator for reclosable packages |
| US20100172604A1 (en) | 2009-01-06 | 2010-07-08 | Printpack Illinois, Inc. | Reclosable Container with Resealable Flexible Cover and Method for Manufacturing the Same |
| DE202009000302U1 (de) | 2009-01-10 | 2009-03-19 | Nordenia Deutschland Halle Gmbh | Folienverpackung |
| GB0901041D0 (en) | 2009-01-22 | 2009-03-11 | Cadbury Holdings Ltd | Packaging and method for packaging |
| CN102300782B (zh) | 2009-02-02 | 2013-12-18 | 卡夫食品环球品牌有限责任公司 | 用于糖食产品的可打开和可再闭合的密封包装 |
| ES2582578T3 (es) | 2009-03-31 | 2016-09-13 | Avery Dennison Corporation | Película laminada resellable para envasado termosellado |
| US20100278454A1 (en) | 2009-04-29 | 2010-11-04 | Sonoco Development, Inc. | Tamper-evident laminate structure |
| GB0911001D0 (en) | 2009-06-25 | 2009-08-12 | Cadbury Uk Ltd | Laminated material and method of production thereof |
| GB0911823D0 (en) | 2009-07-08 | 2009-08-19 | Cadbury Uk Ltd | Packaging |
| US8996561B2 (en) | 2009-08-04 | 2015-03-31 | International Business Machines Corporation | Using historical information to improve search across heterogeneous indices |
| CA2677124C (en) | 2009-08-26 | 2016-04-19 | 9155-0020 Quebec Inc. | Sealing sheet for use to close a container-defining sheet |
| EP2474584B1 (en) | 2009-09-01 | 2016-03-09 | Fuji Seal International, Inc. | Substrate pair for label generation |
| KR101845729B1 (ko) | 2009-09-11 | 2018-04-05 | 애버리 데니슨 코포레이션 | 가열 밀봉 패키징용 재밀봉가능 라미네이트 |
| WO2012036765A1 (en) | 2010-09-13 | 2012-03-22 | Avery Dennison Corporation | Resealable laminate for heat sealed packaging |
| US20110127319A1 (en) | 2009-12-01 | 2011-06-02 | Kraft Foods Global Brands Llc | Resealable flexible film packaging products and methods of manufacture |
| US20110132976A1 (en) | 2009-12-04 | 2011-06-09 | Wojtek Drewnowski | Protective wrappers for consumer products and methods of making |
| US8783454B2 (en) * | 2009-12-22 | 2014-07-22 | Philip Morris Usa Inc. | Wrapped container with adhesive label |
| DK2347971T3 (da) | 2010-01-26 | 2012-09-17 | Gen Biscuit | Genlukkelig emballage til fødevarer og fremgangsmåde til fremstilling |
| US8814430B2 (en) | 2010-02-23 | 2014-08-26 | Kraft Foods R&D, Inc. | Food package having opening feature |
| CA2791167A1 (en) | 2010-02-26 | 2011-09-01 | Kraft Foods Global Brands Llc | Reclosable package using low tack adhesive |
| DE102010019867A1 (de) | 2010-03-10 | 2011-09-15 | Focke & Co.(Gmbh & Co. Kg) | Packung für Zigaretten sowie Verfahren und Vorrichtung zur Herstellung derselben |
| US8273434B2 (en) | 2010-03-11 | 2012-09-25 | Ws Packaging Group, Inc. | Resealable multi-ply label construction |
| EP2368811B1 (en) | 2010-03-23 | 2012-08-22 | Generale Biscuit | Resealable packaging for food products and method of manufacturing |
| GB201005354D0 (en) | 2010-03-30 | 2010-05-12 | Cadbury Holdings Ltd | Packaging |
| AU2011235310B2 (en) | 2010-03-31 | 2015-10-29 | Avery Dennison Corporation | Resealable laminate for heat sealed packaging |
| US9656783B2 (en) | 2010-05-18 | 2017-05-23 | Intercontinental Great Brands Llc | Reclosable flexible packaging and methods for manufacturing same |
| PE20130906A1 (es) | 2010-05-18 | 2013-08-26 | Kraft Foods Global Brands Llc | Pelicula flexible que se puede abrir y cerrar de nuevo facilmente para envasar productos y metodos de fabricacion |
| CA2799794A1 (en) | 2010-05-18 | 2011-11-24 | Kraft Foods Global Brands Llc | Easy open flexible film packaging products and methods of manufacture |
| EP2571766B1 (en) | 2010-05-18 | 2014-09-10 | Intercontinental Great Brands LLC | Reclosable flexible packaging and methods for manufacturing same |
| US20130205964A1 (en) | 2010-10-29 | 2013-08-15 | Fuji Seal International, Inc. | Label producing device |
| IT1402675B1 (it) | 2010-11-09 | 2013-09-13 | Sidel Spa Con Socio Unico | Metodo per l'applicazione di etichette ad articoli |
| GB201100998D0 (en) | 2011-01-21 | 2011-03-09 | Cadbury Uk Ltd | Packaging |
| US8920030B2 (en) | 2011-03-23 | 2014-12-30 | The Hershey Company | Flexible package with access control feature |
| RU2013152878A (ru) | 2011-05-08 | 2015-06-20 | Интерконтинентал Грейт Брендс Ллк | Повторно закрываемая упаковка на основе гибкой пленки и способы ее изготовления |
| GB201201516D0 (en) | 2012-01-30 | 2012-03-14 | Cadbury Uk Ltd | Packaging and method of packaging |
| TWI586596B (zh) | 2012-02-15 | 2017-06-11 | 菲利浦莫里斯製品股份有限公司 | 容器用強化之可再密封內包裝 |
| JP6080405B2 (ja) | 2012-06-29 | 2017-02-15 | キヤノン株式会社 | 画像符号化装置、画像符号化方法及びプログラム、画像復号装置、画像復号方法及びプログラム |
| US9346598B2 (en) | 2013-02-20 | 2016-05-24 | Richard V. Docherty | Scored and labeled resealable packaging |
| WO2014152479A2 (en) | 2013-03-15 | 2014-09-25 | Mars, Incorporated | Package with resealable opening |
-
2008
- 2008-10-20 GB GBGB0819200.7A patent/GB0819200D0/en not_active Ceased
- 2008-11-21 GB GBGB0821354.8A patent/GB0821354D0/en not_active Ceased
-
2009
- 2009-10-14 AU AU2009306181A patent/AU2009306181B9/en active Active
- 2009-10-14 ES ES14169599.9T patent/ES2606481T3/es active Active
- 2009-10-14 PL PL14169599T patent/PL2769931T3/pl unknown
- 2009-10-14 EP EP14169599.9A patent/EP2769931B1/en active Active
- 2009-10-14 RU RU2011120182/12A patent/RU2530800C2/ru active
- 2009-10-14 CA CA2738321A patent/CA2738321C/en active Active
- 2009-10-14 WO PCT/GB2009/002462 patent/WO2010046623A2/en not_active Ceased
- 2009-10-14 ES ES09747904.2T patent/ES2512690T3/es active Active
- 2009-10-14 US US13/124,692 patent/US9630761B2/en active Active
- 2009-10-14 EP EP09747904.2A patent/EP2349866B1/en active Active
- 2009-10-14 CN CN2009801417438A patent/CN102186743B/zh active Active
- 2009-10-14 PL PL09747904T patent/PL2349866T3/pl unknown
- 2009-10-14 BR BRPI0919800 patent/BRPI0919800B1/pt active IP Right Grant
-
2011
- 2011-05-19 ZA ZA2011/03666A patent/ZA201103666B/en unknown
-
2013
- 2013-11-15 AU AU2013257493A patent/AU2013257493B2/en active Active
-
2014
- 2014-08-01 RU RU2014132059A patent/RU2660297C9/ru active
Patent Citations (4)
| Publication number | Priority date | Publication date | Assignee | Title |
|---|---|---|---|---|
| US3291377A (en) * | 1966-02-07 | 1966-12-13 | Nat Dairy Prod Corp | Packaging |
| DE20122333U1 (de) * | 2001-08-28 | 2005-03-24 | Kraft Foods R & D Inc | Verpackung zum Verpacken von Lebensmittelprodukten |
| WO2008051813A1 (en) * | 2006-10-19 | 2008-05-02 | Wm. Wrigley, Jr. Company | Reclosable packages for confectionery products |
| WO2008115693A1 (en) * | 2007-03-21 | 2008-09-25 | Wm. Wrigley, Jr. Company | Method for making a flexible reclosable package |
Also Published As
| Publication number | Publication date |
|---|---|
| RU2660297C9 (ru) | 2018-12-26 |
| ZA201103666B (en) | 2012-01-25 |
| GB0819200D0 (en) | 2008-11-26 |
| BRPI0919800B1 (pt) | 2019-12-03 |
| BRPI0919800A2 (pt) | 2016-02-16 |
| RU2011120182A (ru) | 2012-11-27 |
| PL2769931T3 (pl) | 2017-03-31 |
| EP2769931B1 (en) | 2016-08-31 |
| AU2009306181B9 (en) | 2013-09-26 |
| AU2009306181A1 (en) | 2010-04-29 |
| AU2009306181B2 (en) | 2013-08-15 |
| WO2010046623A2 (en) | 2010-04-29 |
| ES2512690T3 (es) | 2014-10-24 |
| WO2010046623A3 (en) | 2010-06-24 |
| US20110253771A1 (en) | 2011-10-20 |
| EP2769931A1 (en) | 2014-08-27 |
| RU2660297C2 (ru) | 2018-07-05 |
| CA2738321A1 (en) | 2010-04-29 |
| PL2349866T3 (pl) | 2014-12-31 |
| ES2606481T3 (es) | 2017-03-24 |
| CA2738321C (en) | 2016-12-13 |
| EP2349866B1 (en) | 2014-07-09 |
| AU2013257493B2 (en) | 2016-04-21 |
| US9630761B2 (en) | 2017-04-25 |
| CN102186743B (zh) | 2013-05-08 |
| CN102186743A (zh) | 2011-09-14 |
| EP2349866A2 (en) | 2011-08-03 |
| GB0821354D0 (en) | 2008-12-31 |
| RU2014132059A (ru) | 2016-02-20 |
Similar Documents
| Publication | Publication Date | Title |
|---|---|---|
| RU2530800C2 (ru) | Упаковка | |
| EP2571782B1 (en) | Easy open flexible film packaging products and methods of manufacture | |
| US20150016756A1 (en) | Packaging and method of packaging | |
| US20110127319A1 (en) | Resealable flexible film packaging products and methods of manufacture | |
| RU2589657C2 (ru) | Упаковочный блок и способ его открывания | |
| MX2011002014A (es) | Empaque para alimentos teniendo caracteristica de apertura. | |
| US20160251135A1 (en) | Recloseable Flexible Packages | |
| RU2712376C2 (ru) | Повторно запечатываемая упаковка поточного обертывания для влажных салфеток | |
| AU2014351587B2 (en) | Packaging with easy opening feature | |
| AU2019200812B2 (en) | Food package having a reclosable opening feature and method of opening, removing a food product and reclosing a reclosable food package |
Legal Events
| Date | Code | Title | Description |
|---|---|---|---|
| HZ9A | Changing address for correspondence with an applicant |