RU2463413C2 - Составное изделие для конструируемых перекрытий - Google Patents
Составное изделие для конструируемых перекрытий Download PDFInfo
- Publication number
- RU2463413C2 RU2463413C2 RU2008124937/03A RU2008124937A RU2463413C2 RU 2463413 C2 RU2463413 C2 RU 2463413C2 RU 2008124937/03 A RU2008124937/03 A RU 2008124937/03A RU 2008124937 A RU2008124937 A RU 2008124937A RU 2463413 C2 RU2463413 C2 RU 2463413C2
- Authority
- RU
- Russia
- Prior art keywords
- composite product
- metal
- plastic
- product according
- frame
- Prior art date
Links
- 239000002131 composite material Substances 0.000 title claims description 36
- 239000004033 plastic Substances 0.000 claims abstract description 50
- 229920003023 plastic Polymers 0.000 claims abstract description 50
- 229910052751 metal Inorganic materials 0.000 claims abstract description 46
- 239000002184 metal Substances 0.000 claims abstract description 44
- 239000004567 concrete Substances 0.000 claims abstract description 19
- 239000000203 mixture Substances 0.000 claims abstract description 5
- 230000003014 reinforcing effect Effects 0.000 claims description 20
- 239000000463 material Substances 0.000 claims description 14
- 238000007711 solidification Methods 0.000 claims description 12
- 230000008023 solidification Effects 0.000 claims description 12
- 229910000831 Steel Inorganic materials 0.000 claims description 10
- 125000006850 spacer group Chemical group 0.000 claims description 10
- 239000010959 steel Substances 0.000 claims description 10
- -1 polypropylene Polymers 0.000 claims description 6
- 229910052782 aluminium Inorganic materials 0.000 claims description 4
- XAGFODPZIPBFFR-UHFFFAOYSA-N aluminium Chemical compound [Al] XAGFODPZIPBFFR-UHFFFAOYSA-N 0.000 claims description 4
- 230000015572 biosynthetic process Effects 0.000 claims description 4
- 239000004743 Polypropylene Substances 0.000 claims description 3
- 239000004793 Polystyrene Substances 0.000 claims description 3
- 229920000122 acrylonitrile butadiene styrene Polymers 0.000 claims description 3
- 239000004676 acrylonitrile butadiene styrene Substances 0.000 claims description 3
- 229920001155 polypropylene Polymers 0.000 claims description 3
- 229920002223 polystyrene Polymers 0.000 claims description 3
- 239000004677 Nylon Substances 0.000 claims description 2
- 239000004809 Teflon Substances 0.000 claims description 2
- 229920006362 Teflon® Polymers 0.000 claims description 2
- 229920001778 nylon Polymers 0.000 claims description 2
- 239000011203 carbon fibre reinforced carbon Substances 0.000 claims 1
- 210000003739 neck Anatomy 0.000 claims 1
- 238000010276 construction Methods 0.000 abstract description 10
- 230000002787 reinforcement Effects 0.000 abstract description 5
- 238000009413 insulation Methods 0.000 abstract description 2
- 238000005728 strengthening Methods 0.000 abstract 2
- 230000000694 effects Effects 0.000 abstract 1
- 239000000126 substance Substances 0.000 abstract 1
- 229910001294 Reinforcing steel Inorganic materials 0.000 description 6
- 238000000576 coating method Methods 0.000 description 5
- 238000005516 engineering process Methods 0.000 description 5
- 238000004519 manufacturing process Methods 0.000 description 5
- 239000011150 reinforced concrete Substances 0.000 description 5
- 239000003351 stiffener Substances 0.000 description 5
- XEEYBQQBJWHFJM-UHFFFAOYSA-N Iron Chemical compound [Fe] XEEYBQQBJWHFJM-UHFFFAOYSA-N 0.000 description 4
- 238000005253 cladding Methods 0.000 description 4
- 239000011505 plaster Substances 0.000 description 4
- 239000011248 coating agent Substances 0.000 description 3
- 238000009408 flooring Methods 0.000 description 3
- 239000004698 Polyethylene Substances 0.000 description 2
- 239000000945 filler Substances 0.000 description 2
- 229910052742 iron Inorganic materials 0.000 description 2
- 239000010410 layer Substances 0.000 description 2
- 239000007769 metal material Substances 0.000 description 2
- 230000000149 penetrating effect Effects 0.000 description 2
- 229920000573 polyethylene Polymers 0.000 description 2
- 238000003860 storage Methods 0.000 description 2
- OKTJSMMVPCPJKN-UHFFFAOYSA-N Carbon Chemical compound [C] OKTJSMMVPCPJKN-UHFFFAOYSA-N 0.000 description 1
- RYGMFSIKBFXOCR-UHFFFAOYSA-N Copper Chemical compound [Cu] RYGMFSIKBFXOCR-UHFFFAOYSA-N 0.000 description 1
- 230000004888 barrier function Effects 0.000 description 1
- 239000011449 brick Substances 0.000 description 1
- 229910052799 carbon Inorganic materials 0.000 description 1
- 239000011247 coating layer Substances 0.000 description 1
- 150000001875 compounds Chemical class 0.000 description 1
- 230000006835 compression Effects 0.000 description 1
- 238000007906 compression Methods 0.000 description 1
- 238000010924 continuous production Methods 0.000 description 1
- 238000007796 conventional method Methods 0.000 description 1
- 229910052802 copper Inorganic materials 0.000 description 1
- 239000010949 copper Substances 0.000 description 1
- 238000009826 distribution Methods 0.000 description 1
- 238000001125 extrusion Methods 0.000 description 1
- 238000005242 forging Methods 0.000 description 1
- 230000005484 gravity Effects 0.000 description 1
- 239000011464 hollow brick Substances 0.000 description 1
- 238000000034 method Methods 0.000 description 1
- 230000035515 penetration Effects 0.000 description 1
- 229920006327 polystyrene foam Polymers 0.000 description 1
- 229920001343 polytetrafluoroethylene Polymers 0.000 description 1
- 239000004810 polytetrafluoroethylene Substances 0.000 description 1
- 238000002360 preparation method Methods 0.000 description 1
- 238000003825 pressing Methods 0.000 description 1
- 230000002035 prolonged effect Effects 0.000 description 1
- 238000003908 quality control method Methods 0.000 description 1
- 239000011347 resin Substances 0.000 description 1
- 229920005989 resin Polymers 0.000 description 1
- 238000005245 sintering Methods 0.000 description 1
- 230000006641 stabilisation Effects 0.000 description 1
- 238000011105 stabilization Methods 0.000 description 1
Images
Classifications
-
- E—FIXED CONSTRUCTIONS
- E04—BUILDING
- E04B—GENERAL BUILDING CONSTRUCTIONS; WALLS, e.g. PARTITIONS; ROOFS; FLOORS; CEILINGS; INSULATION OR OTHER PROTECTION OF BUILDINGS
- E04B5/00—Floors; Floor construction with regard to insulation; Connections specially adapted therefor
- E04B5/16—Load-carrying floor structures wholly or partly cast or similarly formed in situ
- E04B5/17—Floor structures partly formed in situ
- E04B5/18—Floor structures partly formed in situ with stiffening ribs or other beam-like formations wholly cast between filling members
- E04B5/19—Floor structures partly formed in situ with stiffening ribs or other beam-like formations wholly cast between filling members the filling members acting as self-supporting permanent forms
-
- E—FIXED CONSTRUCTIONS
- E04—BUILDING
- E04B—GENERAL BUILDING CONSTRUCTIONS; WALLS, e.g. PARTITIONS; ROOFS; FLOORS; CEILINGS; INSULATION OR OTHER PROTECTION OF BUILDINGS
- E04B5/00—Floors; Floor construction with regard to insulation; Connections specially adapted therefor
- E04B5/16—Load-carrying floor structures wholly or partly cast or similarly formed in situ
- E04B5/32—Floor structures wholly cast in situ with or without form units or reinforcements
- E04B5/36—Floor structures wholly cast in situ with or without form units or reinforcements with form units as part of the floor
-
- E—FIXED CONSTRUCTIONS
- E04—BUILDING
- E04C—STRUCTURAL ELEMENTS; BUILDING MATERIALS
- E04C5/00—Reinforcing elements, e.g. for concrete; Auxiliary elements therefor
- E04C5/01—Reinforcing elements of metal, e.g. with non-structural coatings
- E04C5/06—Reinforcing elements of metal, e.g. with non-structural coatings of high bending resistance, i.e. of essentially three-dimensional extent, e.g. lattice girders
- E04C5/065—Light-weight girders, e.g. with precast parts
Landscapes
- Architecture (AREA)
- Engineering & Computer Science (AREA)
- Civil Engineering (AREA)
- Structural Engineering (AREA)
- Physics & Mathematics (AREA)
- Electromagnetism (AREA)
- Building Environments (AREA)
- Panels For Use In Building Construction (AREA)
- Laminated Bodies (AREA)
- Chemical And Physical Treatments For Wood And The Like (AREA)
- Casting Or Compression Moulding Of Plastics Or The Like (AREA)
- Floor Finish (AREA)
- Grain Derivatives (AREA)
- Manufacturing Of Tubular Articles Or Embedded Moulded Articles (AREA)
- Forms Removed On Construction Sites Or Auxiliary Members Thereof (AREA)
- Acyclic And Carbocyclic Compounds In Medicinal Compositions (AREA)
- Dry Formation Of Fiberboard And The Like (AREA)
- Curing Cements, Concrete, And Artificial Stone (AREA)
Abstract
Изобретение относится к области строительства, в частности к составному изделию для конструируемых перекрытий. Технический результат заключается в упрощении конструкции, увеличении акустических и термоизоляционных характеристик. Изделие для перекрытий содержит корпус, металлический армированный каркас, один или более укрепляющих экранов из листового металла. Корпус выполнен из расширяющейся при застывании пластмассы. Корпус имеет два параллельных канала, открытые на верхней облицовке и продолжающиеся по всей длине изделия для приема смеси уложенного бетона. Каркас, расположенный в каждом из каналов, образован двумя арматурными стержнями, соединенными рядом поперечных стержней на равных расстояниях. Часть поперечных стержней продолжается за пределы нижнего арматурного стержня каркаса для образования множества равномерно разнесенных костылей. Костыли имеют длину, достаточную для прохождения через основания канала и появления от поверхности обратной стороны корпуса. Укрепляющие экраны имеют выровненные отверстия для зацепления и соединения с концами костылей посредством крепежных наконечников, закрывающих отверстия. 9 з.п. ф-лы, 7 ил.
Description
Настоящее изобретение относится в общем к изготовленным изделиям для конструируемых перекрытий зданий, и в частности панелей из расширяющегося при застывании пластмассового материала, имеющего каналы, подходящие, чтобы вмещать разнесенные на расстояние опорные арматурные стальные стержни для образования параллельных несущих железобетонных ребер и возможных поперечных ребер жесткости, после укрепления бетонным наполнителем, механизированным по всем настеленным панелям и армированным конструкциям.
Технология системы образования встроенного укрепляющего теплоизоляционного бетона для балочных бетонированных перекрытий, использующих желобчатые панели из расширяющейся при застывании пластмассы, связанной с арматурными стальными стержнями несущих ребер жесткости, выполненных после укрепления каналов уложенным бетонным наполнителем, определенных в панелях из расширяющейся при застывании пластмассы для приспособления каркасов из арматурных стержней, известны и обычно используются в строительной промышленности зданий из железобетона.
В публикациях WO 2005/108700-A1 и WO 2005/121467 A2 раскрыты важные примеры такой технологии для конструируемых перекрытий в альтернативе к традиционной технологии, использующей изготовленные заранее несущие железобетонные балки и соединяющие пустотелые кирпичи перекрытий, расположенные между ними.
Высокая степень автоматизации, которая является реальной в изготовлении панелей из расширяющейся при застывании пластмассы, металлические элементы непосредственно каркасов зданий из отдельно стоящих и/или арматурных стальных стержней для бетонных ребер жесткости, подлежащие образованию, панелей из расширяющейся при застывании пластмассы по сравнению с обычными материалами, используемыми для конструируемых перекрытий, таких как изготовленные заранее железобетонные балки и соединяющие пустотелые кирпичи перекрытий, значительно уменьшают затраты на транспортировку и настилание панелей и каркасов зданий из арматурных стальных стержней, на которые в конечном счете наливают бетон. Эта технология упрощает конструкцию перекрытий при заметно уменьшенной стоимости и увеличивает акустические и термоизоляционные характеристики.
Затраты на рабочую силу в укладывании панелей из расширяющейся при застывании пластмассы и армированных металлический конструкций (каркасов зданий) в каналах, выполненных в панелях из расширяющейся при застывании пластмассы и возможных других металлических элементах для обеспечения соответствующих собственно постоянных свойств настилаемых панелей и укрепляющих конструкций, на которые будут наливать и равномерно распределять бетон, остается еще важным фактором стоимости. Кроме того, сборка и укладывание индивидуальных компонентов на строительной площадке могут приводить к неточностям сборки, которые, в худшем случае, могут определять неустойчивость арматурных металлических конструкций внутри каналов, определенных в корпусе панелей из расширяющейся при застывании пластмассы, во время распределения уложенного бетона.
Особенно перекрытия, изготовленные по этой технологии, имеют уменьшенную способность замедлять проникновение огня в готовую конструкцию перекрытия, поскольку чрезмерное сжатие корпусов из расширяющейся при застывании пластмассы, вызванное длительным подверганием воздействию сильного тепла, может привести к отслаиванию намета штукатурки или падению штукатурных плит или другого облицовочного слоя обратной стороны потолка.
Важно, что в случае пожара, несмотря на то, что расширяющаяся при застывании пластмасса может давать усадку до образования неформальных масс уменьшенного объема штукатурки или облицовки обратной стороны потолка, например, один или больше слоев штукатурки или облицовки штукатурных плит остаются на месте для предотвращения проникновения огня.
Составное изделие изготовления для конструирования бетонированных перекрытий теперь создают так, чтобы оно все целиком было сборкой на предприятии-изготовителе при максимальном уменьшении стоимости, сохраняя автоматизированные средства обслуживания и исключая надежный контроль за качеством.
Составные панели, собранные на предприятии-изготовителе по этому изобретению, требуют минимальных трудовых и относительных затрат, необходимых для укладывания полностью предварительно смонтированных составных изделий на строительной площадке и почти полного устранения рисков ошибок сборки во время подготовки помоста настила, на который будет в конце концов распределен укладываемый бетон.
Кроме того, новая конструкция заранее смонтированных составных панелей увеличивает стабильность покрытий и облицовок, которые можно прикладывать к поверхности обратной стороны законченного перекрытия в случае пожара, несмотря на уменьшение участков из расширяющейся при застывании пластмассы.
Согласно предпочтительному варианту осуществления, вся поверхность обратной стороны составного изделия имеет металлический листовой экран, прочность которого по существу сохраняется даже в случае пожара. Металлический экран составных панелей обеспечивает металлическую облицовку, по существу свободную от неоднородности по всей поверхности обратной стороны перекрытия.
В ситуациях, в которых не требуются конкретные эстетические качества, внешняя облицовка металлического листа поверхности потолка законченного перекрытия может даже оставаться в поле зрения (например, в случае потолков подземных складских площадей, гаражей и т.п.).
В качестве альтернативы, облицовочный металлический лист составного изделия, изготовленный по настоящему изобретению, обеспечивает анкерный элемент для общих потолочных покрытий, таких как штукатурка, штукатурная плита и подобных.
В основном, составная панель по настоящему изобретению содержит корпус из расширяющейся при застывании пластмассы, имеющий по меньшей мере два параллельных канала, открытых на верхней поверхности панели, которые продолжаются по всей длине изделия, приспособленные для заполнения бетоном, разливаемым по панели. Каркас из стального арматурного стержня устанавливают в каждый канал. Его можно составлять по меньшей мере из двух параллельных стальных стержней, соединенных в соответствии с по меньшей мере рядом поперечных стержней, расположенных равномерно вдоль отрезка армированного каркаса. По меньшей мере такие же или предпочтительно все поперечные стержни продолжаются за пределы самого нижнего арматурного стального стержня каркаса для составления множества костылей достаточной длины, для прохождения через основание из расширяющейся при застывании пластмассы вмещающего канала, чтобы выдерживать в устойчивом вертикальном положении внутри канала армированный каркас, и выступают от поверхности обратной стороны корпуса из расширяющейся при застывании пластмассы.
Один или более прокатанных или штампованных экранов из листового металла по меньшей мере с одним рядом выровненных отверстий, разделенных от друг друга промежутками, идентичными промежуткам упомянутого множества выступающих концов костылей, прикладывают к поверхности обратной стороны корпуса из расширяющейся при застывании пластмассы, подвешивая от выступающих концов костыля посредством крепежных гаек или наконечников, устойчиво зацепленными с концами армированного каркаса металлического корпуса костыля, которые закрывают отверстие прохода костылей.
Крепежные гайки или наконечники можно изготавливать из достаточно ковкого металлического материала, приспособленного для автоматического нарезания резьбы винтообразной формы, образованной в торцевом положении металлических костылей, или пластмассового материала, имеющего существенное сопротивление огню, такого, как например, политетрафторэтилен или подобный.
Предпочтительно, перед монтажом каркаса из арматурного стержня, в канал корпуса из расширяющейся при застывании пластмассы соответствующие разнесенные на расстояние противодействующие наконечники из такого же материала крепежных наконечников или даже из другого материала проскальзывают по металлическим костылям, чтобы увеличивать стабилизацию каркаса здания из арматурного стержня и поддерживать его в точно вертикальном положении в приемном канале, отделенном от нижней поверхности канала в корпусе из расширяющейся при застывании пластмассы, в котором он размещен.
Изобретение определено в прилагаемой формуле изобретения.
Сущность изобретения поясняется на чертежах, где изображено следующее.
Фиг.1 - вид в поперечном разрезе составного изделия изготовления по настоящему изобретению.
Фиг.2 - продольный вид примерного каркаса из арматурного стержня, подлежащего укладыванию внутри приемного канала корпуса из расширяющейся при застывании пластмассы.
Фиг.3 - сборка трех основных компонентов составной конструкции изделия изготовления.
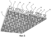
Фиг.4 и 5 - трехмерные фотографические изображения, показывающие конструкцию составного изделия по настоящему изобретению согласно первому примерному варианту осуществления.
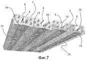
Фиг.6 и 7 - трехмерные фотографические изображения конструкции составного изделия по настоящему изобретению согласно другому примерному варианту осуществления.
Следующее подробное описание некоторых вариантов осуществления, показанных на чертежах, не исключает каким-либо образом другие возможные формы реализации составного изделия изготовления по настоящему изобретению.
В примерных показанных вариантах осуществления корпус из расширяющейся при застывании пластмассы каждой составной панели имеет два параллельных канала, открытых на верхней стороне корпуса из расширяющейся при застывании пластмассы, продолжающиеся по всей длине, которая в конечном счете будет заполнена смесью уложенного бетона. Конечно, каждые корпуса из расширяющейся при застывании пластмассы могут иметь больше двух открытых каналов панелей для реализации более двух несущих арматурных железобетонных балок согласно вариантам конструкции, имеющим пропорционально большую ширину и даже различные приспособления продольных углублений для уменьшения массы расширяющегося при застывании пластмассового материала.
На фиг.1 и 2 показано составное изделие, по настоящему изобретению, состоящее из корпуса 1 из расширяющейся при застывании пластмассы в общем удлиненной параллелепипедальной формы с продольными профилями 2 и 3 задней поверхности, образованными способом, чтобы располагаться соединенными в шип и в паз друг с другом, согласно обычным способам, используемым в промышленности. Продольные углубления 7 для уменьшения массы расширяющейся при застывании пластмассы и обеспечения продольных проходов для труб или кабелей могут также присутствовать согласно обычным способам изготовления этих элементов.
В показанном примере, корпус 1 из расширяющейся при застывании пластмассы определяет два параллельных открытых канала 4 и 5, внутри которых каркасы 6 из арматурных стержней для несущих балок, подлежащих образованию после усиления смесью уложенного бетона, предварительно устанавливают на предприятии-изготовителе.
В показанном примере, армированные каркасы 6 включают в себя арматурный верхний стальной стержень 8, арматурный нижний стальной стержень 9, порядок стального поперечного стержня 10 и порядок распорных стальных ребер 11 жесткости.
Предпочтительно, как показано, все поперечные стержни 10 продолжаются за пределы нижнего стержня 9 армированного каркаса 6 для того, чтобы составлять столько костылей 12, чтобы длина была достаточной для прохождения через основание расширяющейся при застывании пластмассы вмещающего канала армированного каркаса, до достижения близкого расположения к поверхности обратной стороны корпуса 1 из расширяющейся при застывании пластмассы или немного выступая из него.
Как показано на фиг.1 и 2, основание канала из расширяющейся при застывании пластмассы можно всегда выполнять с отверстиями с равными интервалами так, чтобы через них проходили костыли 12. В качестве альтернативы, сборку составного изделия можно выполнять, пронизывая расширяющуюся при застывании пластмассу стенки основания костылями 12 непосредственно, проталкивая армированный металлический каркас в положение в канал.
Предпочтительно, как показано на чертежах, перед прохождением костылей 12 через стенку основания канала, противодействующие наконечники 13 распорной детали, предпочтительно из пластмассового материала, каждый имеющий торцевой фланец 14 для того, чтобы опираться на нижнюю поверхность расширяющейся при застывании пластмассы канала, вмещающего армированный каркас, проскальзывают по костылям 12.
Затем на поверхность обратной стороны корпуса 1 из расширяющейся при застывании пластмассы накладывают прокатанный или штампованный экран из листового металла, который может иметь вверх загнутые боковые края, приспособленный для его оборачивания вокруг нижних углов корпуса из расширяющейся при застывании пластмассы все время вдоль его задней поверхности.
Прокатанный или в качестве альтернативы штампованный прессовкой листовой металл 15 имеет в длину выровненные отверстия с таким же шагом (с равными промежутками) оси костылей 12 и его прокатанный или образованный прессовкой профиль соответствует профилю нижней поверхности корпуса из расширяющейся при застывании пластмассы.
Крепежные гайки или наконечники 16, имеющие концевой фланец и трубчатый ствол, устойчиво зацепляют с концами костылей 12, на которых их стягивают так, чтобы обеспечивать устойчивое соединение между армированным каркасом 6 и экраном 15 из листового металла, накладываемым на поверхность обратной стороны изготовленного изделия. Экран 15 из листового металла, таким образом присоединенный к корпусу из расширяющейся при застывании смолы, сравнивают с соединением увеличенной непосредственно постоянной способности, действуя в качестве придания жесткости и защиты арматуры, которые обеспечивают безопасную обработку, транспортировку и укладывание предварительно собранной на предприятии составной панели.
Стягивание и закрепление наконечников 16 эффективно стабилизирует установленный армированный каркас 6, так же, как укрепленный металлический листовой экран 15, соединенный с корпусом из расширяющейся при застывании пластмассы, создавая возможно обработку с легкостью полностью собранных составных панелей без рисков их повреждения для транспортировки их от предприятия до строительной площадки, которые будут легко и быстро уложены для конструирования платформ перекрытия, просто соединяя одну составную панель с другой по временным лесам.
Путь, которым три существенные компонента составного изделия по настоящему изобретению, а именно корпус 1 из расширяющейся при застывании пластмассы, каркас здания 6 из арматурного металла и укрепленный экран 11 из листового металла, собирают для образования составного изделия, подходящего для хранения, транспортировки и укладывания на строительной площадке, графически представлен на фиг.3.
Предпочтительно, как в примере, показанном на чертеже, концы костылей 12 обеспечивают винтообразным профилем 17.
Прокладочный противодействующий наконечник 13 принужденно проскальзывает по всей длине удлиненного костыля.
Прокладочный противодействующий наконечник 13 можно выполнять из ковкой пластмассы, имеющей сквозное отверстие диаметра, слегка вмещающего внешний диаметр резьбового конца костыля 12 так, чтобы иметь возможность проскальзывать ему сверху, фактически осуществляя это скольжение по костылю 12, до примыкания к нижнему арматурному стержню 9, и быть таким образом оставленным на месте неспособностью падать под действием силы тяжести.
Армированный каркас 6 из стального стержня, факультативно предварительно оснащенный противодействующим наконечником 13 распорной детали, можно устанавливать в приемный канал, в конечном счете принуждая костыли 12 проникать через толщину расширяющейся при застывании пластмассы у основания канала до поддерживания фланцованного конца 14 распорных деталей 13 над основанием канала. При любом другом эффективном способе поддерживания нижнего стержня армированного каркаса, разделенного некоторым расстоянием от основания канала, который будет в конечном счете заполнен смесью уложенного бетона, можно прибегнуть, например, просто к размещению нескольких анкерных распорных деталей соответствующей формы на основание канала перед размещением и закреплением на месте армированного каркаса.
Сборку завершают на стягивающих и закрепляющих наконечниках 16, имеющих конечный фланец 16a и трубчатый ствол 16b. Осевой диаметр отверстия наконечников меньше, чем внешний диаметр спирали 17 на конце 17 костыля 12, так чтобы непосредственно накручивать и стягивать крепежные наконечники 16. Крепежные наконечники 16 можно выполнять из ковкого металлического материала или пластмассового материала, способного к сопротивлению относительно высоким температурам и достаточно ковкого для обеспечения автоматического навинчивания на винтообразный конец 17 стального костыля 12.
Концевой фланец 16a, помимо поддерживания экрана 15 из листового металла, так соединенного с армированным каркасом 6 несущей балки, имеет также функцию закрывания отверстия через экран и проникновение через основание канала из расширяющейся при застывании пластмассы, в котором будет образована несущая железобетонная балка перекрытия.
Вместо автоматического винтообразного навинчивания, любой другой тип механического закрепляющего способного обеспечения, отвечающего требованиям сопротивления растяжимому напряжению, можно использовать для прикрепления экрана 15 из листового металла к армированному каркасу здания навесной балки.
Фиг.4 и 5 являются видами сверху и снизу, в перспективе, которые иллюстрируют два составных изделия по фиг.1 и 2, соединенные один рядом с другим по их задним поверхностям в образовании платформы перекрытия, на которую затем будут наливать слой C бетона.
На Фиг.6 и 7 представлен альтернативный вариант осуществления составного изделия по настоящему изобретению, в котором, вместо одного экрана из жесткого листового металла, покрывающего всю поверхность обратной стороны составного изделия, снабженную по меньшей мере двумя параллельными рядами выровненных крепежных отверстий, каждое составное изделие содержит два отдельных параллельных продолжающихся экрана из листового металла, соответственно под одним и под другим из этих двух каналов 4 и 5, в которых будут образованы две несущие балки.
В этом случае, каждый металлический экран 19 имеет только один ряд разделенных отверстий для подвешивания его к соответствующей балке на основании его механического соединения с армированным каркасом 6 балки посредством костылей 12, нижних частей 13 распорных деталей и крепежных наконечников 16.
В любом случае, один экран 15 из листового металла или два параллельных экрана 19 образуют конструктивные элементы для прикрепления окончательного покрытия потолка, например, штукатурными плитами, которые останутся на месте даже в случае частичной расширенной деформации корпуса 1 из расширяющейся при застывании пластмассы, потому что надежно прикреплены к несущим балкам перекрытия.
В случае предпочтительных вариантов осуществления фиг.1-5, вся поверхность обратной стороны законченного перекрытия будет покрыта листовым металлом, по существу без какой-либо неоднородности. Во многих случаях, аспект законченного перекрытия будет соответствовать определенным техническим требованиям, даже с эстетической точки зрения, и в любом случае непрерывное покрытие из листового металла непосредственно поспособствует замедлению распространения огня, представляющего вторичную (если не единственную) преграду для распространения огня в перекрытие и через него.
Согласно предпочтительному варианту осуществления, материалы, которые можно удовлетворительно использовать, обозначены здесь ниже:
расширяющаяся при застывании пластмасса может быть самозатухающим пенополистиролом стандартным или γ-повышенным, имеющим плотность приблизительно от 18 до приблизительно 30 кг/м3, в конечном счете синтерированным в желаемой формы профиль в непрерывном процессе;
армированный металлический каркас может иметь обычные стальные арматурные стержни для бетона, такие как, например, изготовленное промышленное изделие FeB44K;
свободно стоящие усиленные экраны, соединенные с поверхностями обратной стороны корпуса из расширяющейся при застывании пластмассы могут быть из заранее образованного стального листа, предпочтительно гальванизированного или предварительно лакированного, имеющего толщину, в общем находящуюся между приблизительно 0,3 и 0,8 мм или предварительно образованным листом из меди или алюминия, отвечающим требованиям механических свойств, или полученным выдавливанием алюминиевого профиля;
крепежные гайки или наконечники можно выполнять из углерода с низким содержанием железа, алюминия, полиэтилена, полипропилена, ABS, НейлонаТМ, ТефлонаТМ или другого ковкого материала;
распорные детали противодействующих наконечников можно выполнять из полистирола, полиэтилена, полипропилена, ABS или другого пластмассового материала с подобными свойствами.
Конечно, еще другие материалы с механическими и тепловыми характеристиками, подобными обозначенным выше, можно использовать для того, чтобы отвечать конкретным требованиям в назначении, таком как здание, и его предполагаемом использовании.
Claims (10)
1. Составное изделие, предназначенное для конструируемых перекрытий, содержащее корпус из расширяющейся при застывании пластмассы, имеющий, по меньшей мере, два параллельных канала, открытые на верхней облицовке и продолжающиеся по всей длине изделия для приема смеси уложенного бетона, металлический армированный каркас в каждом из упомянутых каналов, образованный, по меньшей мере, двумя арматурными стержнями, соединенными, по меньшей мере, рядом поперечных распорных деталей стержней на равных расстояниях вдоль отрезка изделия, причем, по меньшей мере, часть поперечных стержней продолжается за пределы нижнего арматурного стержня металлического каркаса для образования множества равномерно разнесенных костылей с длиной, достаточной для прохождения через основание канала из расширяющейся при застывании пластмассы для поддерживания в устойчивом положении металлического армированного каркаса и появления от поверхности обратной стороны корпуса из расширяющейся при застывании пластмассы, один или более укрепляющих экранов из листового металла либо с одним, либо, по меньшей мере, с двумя рядами выровненных отверстий с равными интервалами для зацепления и соединения с концами костылей посредством крепежных наконечников, которые закрывают соответствующее отверстие.
2. Составное изделие по п.1, в котором концы металлических костылей имеют винтообразный профиль.
3. Составное изделие по п.1, в котором крепежные наконечники имеют автоматически нарезающий резьбу ковкий материал.
4. Составное изделие по п.1, дополнительно содержащее противодействующие наконечники распорных деталей, проскальзывающие по костылям перед введением армированного металлического каркаса в канал и имеющие высоту, достаточную для выдерживания самого нижнего арматурного стержня металлического каркаса на заданном расстоянии от поверхности основания из расширяющейся при застывании пластмассы приемного канала.
5. Составное изделие по п.1, в котором армированный металлический каркас имеет плоскую конструкцию, выполненную из двух параллельных арматурных стержней, соответственно верхнего и нижнего ряда, поперечных стержней и ряда наклонных прокладочных стержней между поперечными стержнями.
6. Составное изделие по п.1, которое содержит один экран, ранее образованный из листового металла, имеющий два или больше параллельных ряда выровненных отверстий для зацепления и подвешивания к параллельным рядам костылей армированных металлических каркасов, и продольные края, завернутые вверх для обертывания вокруг двух нижних углов задних поверхностей корпуса из расширяющейся при застывании пластмассы.
7. Составное изделие по п.1, в котором отдельный экран, ранее образованный из листового металла, накладывают под каждым каналом образования несущей балки, причем он имеет один ряд выровненных отверстий для механического соединения с соответствующим армированным металлическим каркасом балки, продолжающейся параллельно и отделенной, по меньшей мере, от подобного экрана из листового металла, прикладываемого внизу соседней несущей балки.
8. Составное изделие по п.1, в котором расширяющаяся при застывании пластмасса является огнеупорным полистиролом, имеющим плотность, находящуюся между 18 и 30 кг/м3.
9. Составное изделие по п.1, в котором экраны, ранее образованные из листового металла, имеют стальной лист, либо гальванизированный, либо предварительно лакированный, толщиной, находящейся между 0,3 и 0,8 мм.
10. Составное изделие по п.1, в котором крепежные наконечники выполнены из материала, принадлежащего к группе, состоящей из углерода с низким содержанием железа, алюминия, полистирола, полипропилена, ABS, Нейлона™ и Тефлона™.
Applications Claiming Priority (2)
| Application Number | Priority Date | Filing Date | Title |
|---|---|---|---|
| IT000053A ITVA20070053A1 (it) | 2007-06-19 | 2007-06-19 | Manufatto composito per la costruzione di solai |
| ITVA2007A000053 | 2007-06-19 |
Publications (2)
| Publication Number | Publication Date |
|---|---|
| RU2008124937A RU2008124937A (ru) | 2009-12-27 |
| RU2463413C2 true RU2463413C2 (ru) | 2012-10-10 |
Family
ID=39669726
Family Applications (1)
| Application Number | Title | Priority Date | Filing Date |
|---|---|---|---|
| RU2008124937/03A RU2463413C2 (ru) | 2007-06-19 | 2008-06-18 | Составное изделие для конструируемых перекрытий |
Country Status (9)
| Country | Link |
|---|---|
| US (1) | US7954291B2 (ru) |
| EP (1) | EP2006463B1 (ru) |
| AT (1) | ATE531863T1 (ru) |
| CA (1) | CA2633241A1 (ru) |
| ES (1) | ES2376950T3 (ru) |
| IT (1) | ITVA20070053A1 (ru) |
| MX (1) | MX2008007943A (ru) |
| PL (1) | PL2006463T3 (ru) |
| RU (1) | RU2463413C2 (ru) |
Families Citing this family (27)
| Publication number | Priority date | Publication date | Assignee | Title |
|---|---|---|---|---|
| US8997420B2 (en) * | 2004-11-29 | 2015-04-07 | Victor Amend | Reinforced insulated forms for constructing concrete walls and floors |
| KR20090013830A (ko) * | 2006-05-17 | 2009-02-05 | 어소시에이티드 발레 피티와이 리미티드 | 구조요소 및 그 사용방법 |
| FR2902447B1 (fr) * | 2006-06-14 | 2008-09-05 | Sarl Comeps France Sarl | Panneau prefabrique pour construction de batiment et procede de fabrication d'un tel panneau |
| US20090031661A1 (en) * | 2007-07-30 | 2009-02-05 | Khatchik Chris Khatchikian | Panels and a method of making |
| WO2009052070A2 (en) * | 2007-10-16 | 2009-04-23 | Katherine Gaudry | Moldable substances and strips for making baked items with desired spatial features |
| US20100193662A1 (en) * | 2009-02-04 | 2010-08-05 | Peter Juen | Form panel system for poured concrete |
| CA2767939C (en) * | 2009-08-07 | 2018-01-02 | Buildblock Building Systems, Llc | Deck block |
| IT1396675B1 (it) * | 2009-10-23 | 2012-12-14 | Rexpol Srl | Cassero a perdere per solai ad alta resistenza al fuoco |
| KR101176551B1 (ko) | 2010-09-09 | 2012-08-23 | (주)에스큐브 | T형 데크플레이트에의 고정 설치를 위한 경량성형재 조립체 및 이를 이용한 경량 슬래브 구조체 |
| NO334530B1 (no) * | 2010-12-14 | 2014-03-31 | Beerenberg Corp As | En brannbeskyttet stålstruktur og avtakbare kledninger for brannbeskyttelse av stålstrukturer |
| WO2012126040A1 (en) * | 2011-03-18 | 2012-09-27 | Neil Peter Mervyn | Composite wall panel, wall system and components thereof, and a method of construction thereof |
| US8671634B2 (en) * | 2011-03-29 | 2014-03-18 | Board Of Regents Of The University Of Nebraska | Shallow flat soffit precast concrete floor system |
| NL2007556C2 (nl) * | 2011-10-10 | 2013-04-11 | Kingspan Unidek B V | Geprefabriceerd vloerelement. |
| ITMI20120730A1 (it) * | 2012-05-02 | 2013-11-03 | Luscari Salvatore Lembo | Nuovo blocco o pannello auto-portante, a struttura alleggerita, in particolare per la realizzazione di solai in cemento armato da gettare in opera |
| ITMI20121022A1 (it) * | 2012-06-12 | 2012-09-11 | Dst Const Ltd | Elemento modulare in polistirene espanso sinterizzato per la formazione di solai in calcestruzzo armato e solaio in calcestruzzo armato comprendente una pluralita' di detti elementi modulari. |
| US10099410B2 (en) | 2012-09-25 | 2018-10-16 | Kachigian Lp | Method of making a panel |
| CN103967183A (zh) * | 2013-01-29 | 2014-08-06 | 甘顺明 | 一种布置永久性的铝箔纤维外壳建筑芯模件填充体及其施工方法 |
| FR3005076B1 (fr) * | 2013-04-24 | 2015-05-15 | Rockwool Int | Panneaux isolants en laine de roche et paroi en beton munie de tels panneaux |
| FR3005081B1 (fr) * | 2013-04-24 | 2015-05-15 | Rockwool Int | Panneaux isolants en laine de roche et paroi en beton munie de tels panneaux |
| EP2868826A1 (de) * | 2013-10-31 | 2015-05-06 | Basf Se | Betonelement umfassend einen Schallabsorber |
| US9896841B2 (en) * | 2014-03-18 | 2018-02-20 | Angelo Candiracci | Prefabricated building product structure made of sintered expanded polystyrene and method for the relative production |
| CN106499104A (zh) * | 2016-12-22 | 2017-03-15 | 中冶京诚工程技术有限公司 | 一种装配式轻质楼板 |
| FR3084092B1 (fr) * | 2018-07-17 | 2022-05-20 | Constructions Composites Bois | Plaque et dalle destinees a realiser un plancher ou une paroi et procedes de fabrication de telles plaques et dalle |
| FI129949B (fi) * | 2019-10-16 | 2022-11-30 | Finnfoam Oy | Lämmöneristelevy ja sen käyttö |
| IT202000015403A1 (it) * | 2020-06-26 | 2021-12-26 | Giovanni Vitone | Lastra mtr tralicciata autoportante per solai alleggeriti |
| CN114382226B (zh) * | 2022-01-28 | 2022-12-06 | 陕西建工第九建设集团有限公司 | 一种空调预留洞预制砖及其施工方法 |
| US12188232B2 (en) * | 2022-06-16 | 2025-01-07 | ICF Building Systems LLC | Concrete form systems, devices, and related methods |
Citations (4)
| Publication number | Priority date | Publication date | Assignee | Title |
|---|---|---|---|---|
| FR2176501A1 (ru) * | 1972-03-21 | 1973-11-02 | Metal Deploye | |
| US5930965A (en) * | 1997-09-23 | 1999-08-03 | Carver; Tommy Lee | Insulated deck structure |
| RU47926U1 (ru) * | 2005-05-19 | 2005-09-10 | Закрытое акционерное общество "Корпорация СИТЕХ" (ЗАО "Корпорация СИТЕХ") | Сборно-монолитное перекрытие |
| RU57771U1 (ru) * | 2006-03-09 | 2006-10-27 | Закрытое Акционерное Общество "Панерра" | Перекрытие, блок несъемной опалубки перекрытия и элемент несъемной опалубки перекрытия |
Family Cites Families (21)
| Publication number | Priority date | Publication date | Assignee | Title |
|---|---|---|---|---|
| US1941221A (en) * | 1930-08-08 | 1933-12-26 | Ernest B Odgers | Glass cutter |
| GB1132538A (en) * | 1965-04-15 | 1968-11-06 | Longinotti Enrico | Improvements in building structures |
| US4272230A (en) * | 1975-09-05 | 1981-06-09 | Solai Vignola Di Faviani Orlando Ec Societa | Slip form for building components |
| FR2322984A1 (fr) * | 1975-09-05 | 1977-04-01 | Solai Vignola Fabiani Orlando | Elements de construction prefabriques en materiau expanse-ciment, leur procede de prefabrication et installations appropriees |
| FR2361512A1 (fr) * | 1976-08-12 | 1978-03-10 | Joannes Andre | Panneau de construction prefabrique et procede de fabrication |
| CA1178819A (en) * | 1983-03-11 | 1984-12-04 | Herbert K. Schilger | Composite floor system |
| DE3610030C1 (de) * | 1986-03-25 | 1987-02-05 | Rapp Albert Bruno | Bauelement fuer Hochbauwerke |
| US5333429A (en) * | 1991-07-08 | 1994-08-02 | Plastedil, S.A. | Modular panel of expanded synthetic material provided with staggered longitudinal "T"-shaped channels, receiving "T"-shaped wooden posts useful for erecting walls |
| US5381635A (en) * | 1991-08-27 | 1995-01-17 | Royal Wall Systems, Inc. | Construction wall panel and panel structure |
| US5809725A (en) * | 1995-07-18 | 1998-09-22 | Plastedil S.A. | Sectional nog structure for fastening a covering element to a foamed plastic slab and construction element incorporating said structure |
| US6298622B1 (en) * | 1996-10-15 | 2001-10-09 | Plastedil, S.A. | Self-supporting construction element of expanded plastics, in particular for manufacturing floor elements and walls of buildings in general |
| JP3708495B2 (ja) * | 2002-03-26 | 2005-10-19 | 朝日エンヂニヤリング株式会社 | 床版橋の構造 |
| US6955014B2 (en) * | 2002-11-07 | 2005-10-18 | Fabcon, Inc. | Insulated concrete cast panels with voids in billits |
| ITMI20040941A1 (it) | 2004-05-11 | 2005-11-12 | Plastedil Sa | Elemento costruttivo portante in particolare per la realizzazione di solai di edifici e struttura di solaio incorporante tale elemento |
| ITMI20041189A1 (it) | 2004-06-14 | 2004-09-14 | Plastedil Sa | Elemento costruttivo autoportante in materia plastica espansa in particolare per la realizzazione di solai di edifici e struttura di solaio incorporante tale elemento |
| US7814719B2 (en) * | 2004-06-14 | 2010-10-19 | Plastedil S.A. | Self-supporting construction element made of expanded plastic material, in particular for manufacturing building floors and floor structure incorporating such element |
| US8006450B2 (en) * | 2004-10-13 | 2011-08-30 | Plastedil S.A. | Composite floor structure with a protruding bar upper portion in a floor element groove |
| US20060075701A1 (en) * | 2004-10-13 | 2006-04-13 | Plastedil S.A. | Composite construction element, in particular for manufacturing floor structures and wall structures for buildings and method for manufacturing the same |
| MX2007009959A (es) * | 2005-02-25 | 2007-09-26 | Nova Chem Inc | Composiciones de peso ligero y articulos que contienen las mismas. |
| ES2389089T3 (es) * | 2005-02-25 | 2012-10-23 | Nova Chemicals Inc. | Paneles de edificación preformados compuestos, una edificación y un montante de entramado |
| US7810293B2 (en) * | 2006-08-15 | 2010-10-12 | Gibbar James H | Multiple layer polymer foam and concrete system for forming concrete walls, panels, floors, and decks |
-
2007
- 2007-06-19 IT IT000053A patent/ITVA20070053A1/it unknown
-
2008
- 2008-04-17 EP EP08103590A patent/EP2006463B1/en not_active Not-in-force
- 2008-04-17 AT AT08103590T patent/ATE531863T1/de active
- 2008-04-17 ES ES08103590T patent/ES2376950T3/es active Active
- 2008-04-17 PL PL08103590T patent/PL2006463T3/pl unknown
- 2008-06-03 CA CA002633241A patent/CA2633241A1/en not_active Abandoned
- 2008-06-18 RU RU2008124937/03A patent/RU2463413C2/ru active
- 2008-06-19 MX MX2008007943A patent/MX2008007943A/es active IP Right Grant
- 2008-06-19 US US12/142,268 patent/US7954291B2/en not_active Expired - Fee Related
Patent Citations (4)
| Publication number | Priority date | Publication date | Assignee | Title |
|---|---|---|---|---|
| FR2176501A1 (ru) * | 1972-03-21 | 1973-11-02 | Metal Deploye | |
| US5930965A (en) * | 1997-09-23 | 1999-08-03 | Carver; Tommy Lee | Insulated deck structure |
| RU47926U1 (ru) * | 2005-05-19 | 2005-09-10 | Закрытое акционерное общество "Корпорация СИТЕХ" (ЗАО "Корпорация СИТЕХ") | Сборно-монолитное перекрытие |
| RU57771U1 (ru) * | 2006-03-09 | 2006-10-27 | Закрытое Акционерное Общество "Панерра" | Перекрытие, блок несъемной опалубки перекрытия и элемент несъемной опалубки перекрытия |
Also Published As
| Publication number | Publication date |
|---|---|
| ATE531863T1 (de) | 2011-11-15 |
| ES2376950T3 (es) | 2012-03-21 |
| RU2008124937A (ru) | 2009-12-27 |
| US20080313990A1 (en) | 2008-12-25 |
| ITVA20070053A1 (it) | 2008-12-20 |
| US7954291B2 (en) | 2011-06-07 |
| EP2006463B1 (en) | 2011-11-02 |
| CA2633241A1 (en) | 2008-12-19 |
| PL2006463T3 (pl) | 2012-04-30 |
| EP2006463A3 (en) | 2010-07-28 |
| MX2008007943A (es) | 2009-03-04 |
| EP2006463A2 (en) | 2008-12-24 |
Similar Documents
| Publication | Publication Date | Title |
|---|---|---|
| RU2463413C2 (ru) | Составное изделие для конструируемых перекрытий | |
| US6729094B1 (en) | Pre-fabricated building panels and method of manufacturing | |
| CA2829321C (en) | Building method using multi-storey panels | |
| US7017316B2 (en) | Concrete panel construction system | |
| US5765333A (en) | Unitized post and panel building system | |
| US9399867B2 (en) | Concrete panel corner connection | |
| AU2017203291A1 (en) | Stronger wall system | |
| US10655327B2 (en) | Wall construction system with drywall composite columns and method for wall construction | |
| RU2656260C2 (ru) | Способ строительства здания с улучшенной теплоизоляцией и здание, построенное при помощи этого способа | |
| US20210363753A1 (en) | Prefabricated wall panel, manufacturing method and structural system | |
| US20140308509A1 (en) | Modular concrete form panel | |
| WO2018067067A1 (en) | Prefabricated prefinished volumetric construction module | |
| AU2013384881A1 (en) | Panel for a building structure, a building system and a building structure having the building panel | |
| RU2557269C1 (ru) | Способ монтажа облицовки фасада и теплоизоляции с плиты межэтажного перекрытия | |
| RU79304U1 (ru) | Стеновое ограждение для зданий и сооружений (варианты) | |
| EP4481129A1 (en) | Prefabricated building construction kit, the method of making said kit and the method of constructing a building using said construction kit | |
| RU2256754C1 (ru) | Способ возведения изолированных монолитных строительных конструкций | |
| US8984831B1 (en) | Monolithic concrete pour for safe room | |
| RU2385998C1 (ru) | Стена | |
| KR101951814B1 (ko) | 섬유판넬을 이용한 콘크리트 기둥 또는 슬래브 구조물의 내진 보강공법 | |
| KR101901856B1 (ko) | 섬유판넬을 이용한 건축 부재 | |
| WO2012060863A2 (en) | Wall panel construction and method for in situ assembly | |
| RU2818958C1 (ru) | Облегчённое перекрытие | |
| CA2311222C (en) | Concrete panel construction system | |
| RU76656U1 (ru) | Связевая плита-распорка (варианты), узел соединения связевых плит-распорок (варианты) и рамно-связевый или связевый каркас сборного или сборно-монолитного здания со связевыми плитами-распорками |