RU2408540C1 - Устройство для очистки нефтесодержащих сточных вод - Google Patents
Устройство для очистки нефтесодержащих сточных вод Download PDFInfo
- Publication number
- RU2408540C1 RU2408540C1 RU2009117173/05A RU2009117173A RU2408540C1 RU 2408540 C1 RU2408540 C1 RU 2408540C1 RU 2009117173/05 A RU2009117173/05 A RU 2009117173/05A RU 2009117173 A RU2009117173 A RU 2009117173A RU 2408540 C1 RU2408540 C1 RU 2408540C1
- Authority
- RU
- Russia
- Prior art keywords
- oil
- sump
- jumper
- pipe
- tubular
- Prior art date
Links
- XLYOFNOQVPJJNP-UHFFFAOYSA-N water Substances O XLYOFNOQVPJJNP-UHFFFAOYSA-N 0.000 claims abstract description 51
- 239000000839 emulsion Substances 0.000 claims abstract description 21
- 238000005192 partition Methods 0.000 claims description 20
- 238000009826 distribution Methods 0.000 claims description 18
- 239000010802 sludge Substances 0.000 claims description 12
- 239000002351 wastewater Substances 0.000 claims description 10
- 239000008213 purified water Substances 0.000 claims description 9
- 230000002209 hydrophobic effect Effects 0.000 claims description 5
- 239000000463 material Substances 0.000 claims description 4
- 230000003247 decreasing effect Effects 0.000 claims description 2
- 238000005406 washing Methods 0.000 claims 1
- 238000000746 purification Methods 0.000 abstract description 12
- 230000000694 effects Effects 0.000 abstract description 6
- 239000002244 precipitate Substances 0.000 abstract 2
- 238000007599 discharging Methods 0.000 abstract 1
- 238000010327 methods by industry Methods 0.000 abstract 1
- JTJMJGYZQZDUJJ-UHFFFAOYSA-N phencyclidine Chemical class C1CCCCN1C1(C=2C=CC=CC=2)CCCCC1 JTJMJGYZQZDUJJ-UHFFFAOYSA-N 0.000 abstract 1
- 239000000126 substance Substances 0.000 abstract 1
- 238000002156 mixing Methods 0.000 description 13
- 238000004140 cleaning Methods 0.000 description 10
- 239000013049 sediment Substances 0.000 description 9
- 238000004581 coalescence Methods 0.000 description 8
- 238000004062 sedimentation Methods 0.000 description 7
- 238000000926 separation method Methods 0.000 description 6
- 230000007704 transition Effects 0.000 description 5
- 238000009825 accumulation Methods 0.000 description 4
- 238000013461 design Methods 0.000 description 4
- 238000011010 flushing procedure Methods 0.000 description 4
- 230000015572 biosynthetic process Effects 0.000 description 3
- 230000006378 damage Effects 0.000 description 3
- 239000012535 impurity Substances 0.000 description 3
- 230000002265 prevention Effects 0.000 description 3
- 230000008439 repair process Effects 0.000 description 3
- 238000009827 uniform distribution Methods 0.000 description 3
- 244000309464 bull Species 0.000 description 2
- 230000007423 decrease Effects 0.000 description 2
- -1 for example Substances 0.000 description 2
- 238000009434 installation Methods 0.000 description 2
- 238000012423 maintenance Methods 0.000 description 2
- 238000000034 method Methods 0.000 description 2
- 239000002245 particle Substances 0.000 description 2
- 238000012545 processing Methods 0.000 description 2
- 239000007787 solid Substances 0.000 description 2
- 239000004698 Polyethylene Substances 0.000 description 1
- 238000013016 damping Methods 0.000 description 1
- 238000010586 diagram Methods 0.000 description 1
- 238000005516 engineering process Methods 0.000 description 1
- 206010016256 fatigue Diseases 0.000 description 1
- 239000010419 fine particle Substances 0.000 description 1
- 238000007667 floating Methods 0.000 description 1
- 238000011086 high cleaning Methods 0.000 description 1
- 230000007246 mechanism Effects 0.000 description 1
- 238000005191 phase separation Methods 0.000 description 1
- 230000021715 photosynthesis, light harvesting Effects 0.000 description 1
- 229920000573 polyethylene Polymers 0.000 description 1
- 230000001376 precipitating effect Effects 0.000 description 1
- 238000001556 precipitation Methods 0.000 description 1
- 230000003449 preventive effect Effects 0.000 description 1
- 230000008569 process Effects 0.000 description 1
- 230000010349 pulsation Effects 0.000 description 1
- 238000010791 quenching Methods 0.000 description 1
- 230000000171 quenching effect Effects 0.000 description 1
- 238000012546 transfer Methods 0.000 description 1
Images
Landscapes
- Production Of Liquid Hydrocarbon Mixture For Refining Petroleum (AREA)
- Pipeline Systems (AREA)
Abstract
Изобретение относится к области очистки нефтесодержащих вод. Устройство включает гидроциклоны, цилиндрические камеры на сливах гидроциклонов, отстойник, разделенный вертикальными перегородками на секции, в которых расположены перфорированные распределительные устройства, а в нижней части отстойника размещены трубчатый дырчатый сборный коллектор системы удаления осадка и выше коллектора с двух его сторон расположена система смыва осадка, выполненная в виде симметрично расположенных напорных трубчатых телескопических коллекторов, трубопровод-перемычку, соединяющую трубопроводы, отводящие воду из напорных колец верхнего и нижнего сливов, обводной трубопровод, соединяющий трубопровод подачи исходной НСВ с перемычкой. Вторая вертикальная перегородка закреплена по всему периметру внутренней стенки отстойника. В ее верхней части выполнены отверстия, в которых закреплены трубчатые дырчатые телескопические коллекторы-распределители, имеющие отверстия вдоль верхней части в шахматном порядке и под углом 45° к вертикальной оси коллекторов. Коллекторы-распределители верхней плоскостью размещены на уровне границы фаз «нефть высококонцентрированная эмульсия». В верхней части отстойника в пространстве между первой вертикальной перегородкой, не доходящей до нижней части отстойника, и второй вертикальной перегородкой установлен нефтесборник с патрубком отвода нефти. Технический результат: повышение эффекта и стабильности очистки. 3 ил.
Description
Изобретение относится к области очистки нефтесодержащих вод, например сточных, и может быть использовано во всех отраслях хозяйства, сточные воды которых загрязнены нефтью и/или нефтепродуктами, например в нефтяной промышленности для очистки нефтепромысловых сточных вод (НСВ).
Известно устройство для очистки нефтесодержащих сточных вод по патенту РФ на изобретение № 2189360, опубл. 20.09.2002 г., Бюл. № 26, включающее трубопровод для подачи исходной НСВ, напорный гидроциклон, цилиндрические камеры верхнего слива и нижнего слива гидроциклона. В верхней части рабочей зоны отстойника расположены распределительные устройства для воды из верхнего слива и нижнего слива гидроциклона, в которые поступает вода из цилиндрических камер. Отстойник имеет вертикальные разделительные перегородки: по ходу движения воды первая - недоходящая до низа отстойника и вторая - не доходящая до верха отстойника, которые делят отстойник на рабочую и буферную зоны.
В верхней части отстойника расположены нефтесборники с патрубками для отвода уловленной нефти. Устройство для отвода очищенной воды с отбойником расположены в буферной зоне отстойника. В нижней части отстойника установлены патрубки для отвода осадка.
Недостатком данного устройства является неравномерное распределение потока НСВ по живому сечению буферной зоны, низкий коэффициент объемного использования буферной зоны отстаивания, струйность потока в этой зоне, что снижает эффект и стабильность очистки.
Известно устройство для очистки нефтесодержащих сточных вод по патенту РФ на изобретение № 2253623, опубл. 10.06.2005 г., Бюл. № 16, включающее гидроциклон с подачей исходной воды через напорные трубчатые распределительные кольца, цилиндрические камеры на выходе верхнего и нижнего сливов гидроциклона, снабженные напорными трубчатыми кольцами, отстойник имеющий вертикальные перегородки по ходу движения воды: первая - не доходящая до низа отстойника и вторая - не доходящая до верха отстойника, которые делят отстойник на рабочую и буферную зоны; в рабочей секции отстойника расположены распределительные устройства, патрубки для отвода нефти, очищенной воды; отстойник снабжен трубчатым коллектором для сбора и удаления осадка, а выше коллектора с двух его сторон расположены трубчатые коллекторы, снабженные соплами; пространство между вертикальными перегородками снабжено гидродинамической гидрофобной фильтрующей загрузкой; буферная секция отстойника снабжена трубчатым дугообразным равноплечим дырчатым коллектором и дугообразным отбойником.
Недостатком данного устройства является неравномерное распределение потока НСВ по живому сечению буферной зоны отстаивания, низкий коэффициент объемного использования буферной зоны отстаивания, струйность потока в этой зоне, что снижает эффект и стабильность очистки.
Прототипом изобретения является устройство для очистки нефтесодержащих сточных вод по патенту РФ на изобретение № 2313493, опубл. 27.12.2007 г., Бюл. № 36, включающее гидроциклоны с подачей исходной воды через напорные трубчатые распределительные кольца, цилиндрические камеры на выходе верхнего и нижнего сливов гидроциклона, снабженные напорными трубчатыми кольцами; отстойник, разделенный вертикальными перегородками, установленными по ходу движения воды: первая - не доходящая до нижней части отстойника и вторая - не доходящая до верхней части отстойника и которые делят отстойник на рабочую и буферную секции (зоны); коалесцирующая насадка из гранулированной крупнозернистой фильтрующей загрузки из гидрофобного материала, расположенная между перегородками; трубопровод-перемычку, соединяющую трубопроводы, отводящие воду из напорных колец верхнего и нижнего сливов, а также обводной трубопровод, соединяющий трубопровод подачи исходной НСВ с пермычкой, при этом трубопровод-перемычка снабжена двумя задвижками, установленными с двух сторон от точки подключения обводного трубопровода к перемычке; трубопроводы, отводящие воду из верхнего и нижнего сливов, снабженные задвижками, установленными до точки подключения их к трубопроводу-перемычке; запорно-регулирующую арматуру, установленную между напорным кольцом распределения исходной воды и точкой подключения обводного трубопровода к трубопроводу подачи исходной воды; закручивающее устройство в обводном трубопроводе, выполненное в виде винтового канала, наклонного к оси обводного трубопровода, при этом канал выполнен с шириной и шагом, плавно уменьшающимися по ходу движения потока исходной воды, жестко и герметично закреплен на внутренней поверхности обводного трубопровода; в верхней части рабочей зоны отстойника расположены перфорированные распределительные устройства, патрубки для отвода уловленной нефти, в нижней части отстойника размещены трубчатый дырчатый сборный коллектор системы удаления осадка, и выше коллектора с двух его сторон расположена система смыва осадка, выполненная в виде симметрично расположенных напорных трубчатых телескопических коллекторов с перпендикулярно установленными соплами; в нижней части буферной секции расположены трубчатая сборная дырчатая система и система смыва осадка, аналогичные по конструкции вышеописанным; в верхней части буферной секции отстойника расположены нефтесборники с патрубками для отвода уловленной нефти; в буферной секции расположены дугообразный равноплечий дырчатый коллектор и дугообразный отбойник для сбора и удаления очищенной воды.
Недостатком данного устройства является неравномерное распределение потока НСВ по живому сечению буферной секции (зоны) отстаивания, низкий коэффициент объемного использования буферной зоны отстаивания, струйность потока в этой зоне, что снижает эффект и стабильность очистки.
Изобретение направлено на повышение эффекта и стабильности очистки НСВ за счет совершенствования конструкции распределения и технологической схемы подачи НСВ.
Решение задачи достигается тем, что в предлагаемом устройстве, включающем гидроциклоны с подачей исходной воды через напорные трубчатые распределительные кольца, цилиндрические камеры на выходах верхнего и нижнего сливов гидроциклона, снабженные напорными трубчатыми кольцами, отстойник, разделенный вертикальными перегородками, установленными по ходу движения воды, делящими отстойник на рабочую и буферную секции (зоны), при этом первая перегородка не доходит до нижней части отстойника, коалесцирующую насадку из гранулированной крупнозернистой фильтрующей загрузки из гидрофобного материала, расположенной между перегородками, причем в верхней части рабочей и буферной зон отстойника расположены перфорированные распределительные устройства, патрубки для отвода уловленной нефти, а в нижней части отстойника размещены трубчатый дырчатый сборный коллектор системы удаления осадка, и выше коллектора с двух его сторон расположена система смыва осадка, выполненная в виде симметрично расположенных напорных трубчатых телескопических коллекторов с перпендикулярно установленными соплами, при этом в буферной секции расположены дугообразный равноплечий дырчатый коллектор и дугообразный отбойник для сбора и удаления очищенной воды, причем устройство включает трубопровод-перемычку, соединяющую трубопроводы, отводящие воду из напорных колец верхнего и нижнего сливов, обводной трубопровод, соединяющий трубопровод подачи исходной НСВ с перемычкой, при этом трубопровод-перемычка снабжена двумя задвижками, установленными с двух сторон от точки подключения обводного трубопровода к перемычке, трубопроводы, отводящие воду из верхнего и нижнего сливов, снабженные задвижками, установленными до точки подключения их к трубопроводу-перемычке, запорно-регулирующей арматурой, установленной между напорным кольцом распределения исходной воды и точкой подключения обводного трубопровода к трубопроводу подачи исходной воды, обводной трубопровод снабжен средством для закручивания потока исходной воды, которое выполнено в виде винтового канала, наклонного к оси обводного трубопровода, причем канал выполнен с шириной и шагом, плавно уменьшающимися по ходу направления движения потока исходной воды, жестко и герметично закреплен на внутренней поверхности обводного трубопровода, согласно изобретению вторая вертикальная перегородка жестко и герметично закреплена по всему периметру внутренней стенки отстойника, при этом в верхней части вертикальной перегородки выполнены как минимум два круглых отверстия, в которых жестко и герметично закреплены трубчатые дырчатые телескопические коллекторы-распределители, имеющие круглые отверстия, расположенные вдоль верхней части коллекторов в шахматном порядке под углом 45° к вертикальной оси коллекторов; причем телескопические коллекторы-распределители своей верхней плоскостью размещены на уровне границы фаз «нефть - высококонцентрированная эмульсия», при этом в верхнем части отстойника в пространстве между первой вертикальной перегородкой, не доходящей до нижней части отстойника, и второй вертикальной перегородкой установлен нефтесборник с патрубком отвода нефти.
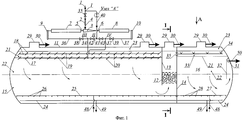
На фиг.1 изображена принципиальная схема устройства для очистки нефтесодержащей сточной воды (НСВ). На фиг.2 даны план буферной секции (вид А) и разрезы по I-I, по А-А (изображение дырчатых телескопических распределителей).
Устройство состоит из трубопровода 1 подачи исходной НСВ, напорного трубчатого распределительного кольца 2, связанного с гидроциклоном 3 (как минимум два гидроциклона), патрубками подачи 4 исходной НСВ, отвода верхнего слива 5 и нижнего слива 6. Напорное кольцо 2 служит для равномерного распределения воды по гидроциклонам 3. Гидроциклоны 3 снабжены цилиндрическими камерами верхнего слива 7 и нижнего слива 8. Камеры верхнего слива 7 снабжены напорным трубчатым сборным кольцом 9. Камеры нижнего слива 8 снабжены напорным трубчатым сборным кольцом 10. Напорные кольца 9 и 10 служат для равномерного сбора воды из камер 7 и 8 соответственно.
Отстойник 11 снабжен гидродинамической коалесцирующей насадкой 12 с гранулированной крупнозернистой фильтрующей загрузкой из гидрофобного (например, полиэтиленового) материала. Коалесцирующая насадка 12 расположена между перегородкой 13, не доходящей до нижней части отстойника 11 и перегородкой 14, герметично закрепленной по всему периметру внутренней стенки отстойника 11. Перегородки 13 и 14 делят отстойник 11 на две секции: 15 - рабочая секция и 16 - буферная секция. Гидродинамическая насадка 12 служит для интенсификации, наиболее полной коалесценции (укрупнения) капель нефти, что способствует интенсификации и повышению глубины последующей дополнительной очистки НСВ отстаиванием в секции 16 отстойника 11. В верхней части рабочей секции 16 отстойника 11 расположены перфорированный трубчатый распределитель 17 для НСВ, поступающей из цилиндрических камер верхнего слива 7 гидроциклонов 3 и перфорированный трубчатый распределитель 18 для НСВ из камер нижнего слива 8 гидроциклонов 3. Распределители 17 и 18 выполнены в виде коллекторов 19 с ответвлениями 20, в верхней части которых в шахматном порядке под углом 45° к вертикальной оси ответвления расположены выходные отверстия с направлением вытекающего потока НСВ вверх. Распределитель 17 верхнего слива расположен под распределителем 18 нижнего слива, при этом распределитель 17 верхней своей плоскостью размещен на уровне границы фаз «вода - высококонцентрированная эмульсия» (т.е. на границе зоны турбулентного перемешивания 21 и транспортной зоны 22), а распределитель 18 верхней своей плоскостью размещен на уровне границы фаз «нефть - высококонцентрированная эмульсия» (т.е. на границе зоны накопления уловленной нефти 23 и зоны турбулентного перемешивания 21) (фиг.1).
В нижней части рабочей секции посредине отстойника 11 вдоль оси размещена трубчатая сборная дырчатая система удаления осадка, которая представляет собой напорный трубопровод-коллектор 24 с отверстиями, расположенными в нижней части коллектора в шахматном порядке и под углом не более 30° к вертикальной оси коллектора 24. Выше и с двух сторон коллектора 24 размещена система смыва 25 накопившегося осадка со дна отстойника 11, которая выполнена в виде симметрично расположенных напорных равноплечих телескопических трубопроводов-коллекторов 25 с соплами 26, направленными в сторону сборной дырчатой системы - трубопровода-коллектора 24. Сопла 26 установлены перпендикулярно к телескопическим коллекторам 25 и направлены в сторону трубчатого дырчатого коллектора 24, при этом ось каждого сопла 26 совпадает с перпендикулярной линией, соединяющей центр окружности сопла 26 на месте его установки к телескопическому коллектору 25 с точкой пересечения этой линии с осью трубчатого дырчатого коллектора 24.
В нижней части буферной секции 16 отстойника 11 также размещены трубчатая сборная дырчатая система 24 и система смыва 27 с соплами 28, аналогичными по конструкции вышеописанным.
В верхней части отстойника 11 расположены нефтесборники 29 с патрубками 30 для отвода уловленной нефти.
Для сбора и удаления очищенной воды буферная секция 16 отстойника 11 снабжена дугообразным равноплечим трубчатым дырчатым коллектором 31 и дугообразным отбойником 32.
Для равномерного распределения по живому сечению буферной секции 16 предварительно обработанной НСВ в гидродинамической насадке 12 верхняя часть буферной секции 16 снабжена распределителями (как минимум два), выполненными в виде трубчатых телескопических дырчатых коллекторов 33 с круглыми отверстиями 34, расположенными вдоль верхней части коллекторов в шахматном порядке под углом 45° к вертикальной оси коллекторов 33 (фиг.1 и 2), при этом распределительные коллекторы 33 верхней своей плоскостью размещены непосредственно на уровне границы фаз «нефть - высококонцентрированная эмульсия» (т.е. на границе зоны накопления уловленной нефти 23 и зоны турбулентного перемешивания 21) (фиг.1, 2), а круглое входное отверстие коллектора 33 герметично установлено и жестко закреплено в круглое отверстие 35 в верхней части вертикальной перегородки 14 (фиг.1, 2).
Коллектор 31 и отбойник 32 обеспечивают равномерный сбор очищенной воды по живому сечению буферной секции 16 отстойника 11, при этом отбойник 32 также способствует гашению придонных потоков, фиксации в буферной секции 16 объемов дополнительного отстаивания и накопления осадка.
Трубопровод 1 подачи исходной НСВ снабжен задвижкой 35, обеспечивающей отключение из работы или включение в работу батареи гидроциклонов 3, цилиндрических камер закрученного потока 7 и 8 или устройства в целом.
Трубопровод 36 служит для отвода воды верхнего слива из напорного кольца 9 в распределитель 17. Трубопровод 37 служит для отвода воды нижнего слива из напорного кольца 10 в распределитель 18.
Трубопроводы 36 и 37 снабжены соответственно отсекающими задвижками 38 и 39. Устройство снабжено также обводным трубопроводом 40 и трубопроводом-перемычкой 41. Обводной трубопровод 40 соединяется в точке I с трубопроводом 1 подачи исходной НСВ и с трубопроводом-перемычкой 41 в точке II. Трубопровод-перемычка 41 соединяет трубопроводы 36 и 37 в точках III и IV соответственно и снабжен отсекающими задвижками 42 и 43.
Обводной трубопровод 40 снабжен средством закручивания потока исходной нефтесодержащей сточной воды (фиг.1, узел «А»), которое выполнено в виде винтового канала 44, наклонного к оси 45 обводного трубопровода 40 (фиг.3, узел «А»). Канал 44 выполнен шириной ai и шагом ni, плавно уменьшающимися по ходу направления движения потока 46 исходной воды, и образован направляющей 47 канала 44, жестко и герметично закрепленной на внутренней поверхности обводного трубопровода 40.
Задвижки 35, 38, 39, 42, 43 служат для отключения из работы и включения в работу батареи гидроциклонов 3, цилиндрических камер 7 и 8 при ремонте, профилактике и ликвидации аварии на них.
Устройство работает следующим образом. Сточная вода (НСВ), содержащая плавающую и эмульгированную нефть и механические примеси, по трубопроводу 1 под напором подается через напорное трубчатое распределительное кольцо 2 в гидроциклоны 3 (как минимум два гидроциклона). В гидроциклонах 3 осуществляется гидродинамическая обработка НСВ в поле центробежных, массовых и поверхностных сил, в результате чего разрушаются бронирующие оболочки на частицах (каплях, глобулах) нефти и стабилизированные агрегаты из механических примесей, происходит укрупнение капель нефти, увеличивается монодисперсность внутренней фазы эмульсии, а также происходит разделение НСВ на два потока эмульсии: поток из верхних сливов 5 гидроциклонов 3 поступает в цилиндрические камеры 7, а поток из нижних сливов 6 в цилиндрические камеры 8. Потоки эмульсии поступают в цилиндрические камеры 7 и 8 в виде закрученных струй, при этом увеличивается время гидродинамической обработки эмульсии в закрученном поле массовых, а также поверхностных сил, энергия которых используется для наиболее полной реализации всех стадий механизма разрушения нефтяной эмульсии (деформация и разрушение бронирующих оболочек на глобулах нефти; сближение, столкновение капель; слияние и укрупнение (коалесценция) капель; концентрация, осаждение капель; выделение дисперсной фазы в виде сплошной фазы - расслоение, разделение эмульсии на нефть и воду). Далее из цилиндрических камер 7 поток эмульсии поступает в напорное трубчатое сборное кольцо 9, а далее по трубопроводу 36 в распределитель 17 и из него в виде равномерно распределенного потока в слой высококонцентрированной по нефти эмульсии (т.е. в зону турбулентного перемешивания 21), где происходит интенсивная коалесценция капель нефти, переход укрупнившихся капель нефти в слой уловленной нефти 23, контактная очистка НСВ от нефти. Поток эмульсии из цилиндрических камер 8 поступает в напорное трубчатое сборное кольцо 10 и далее по трубопроводу 37 в распределитель 18, а из него в виде равномерно распределенного потока непосредственно к нижней поверхности слоя нефти, т.е. в зону турбулентного перемешивания 21. Потки, выходящие из распределителей 17 и 18, интенсивно перемешиваются в слоях высококонцентрированной по нефти 21 и нефти 23, что также повышает эффективность контактной очистки НСВ. При этом в слое высококонцентрированной эмульсии 21 в режиме турбулентного перемешивания происходит интенсивная коалесценция нефтяных капель, переход их в слой уловленной нефти 23. Уловленная нефть по мере накопления отводится через нефтесборники 29 и патрубки 30 на утилизацию.
Для удаления накопленного осадка со дна отстойника 11 в напорную систему смыва 25 по трубопроводу 48 подается под напором вода, которая, вытекая из сопел 26, смывает осадок к сборной дырчатой системе 24, далее смытый осадок по трубопроводу 49 отводится в осадконакопитель.
Мелкодисперсные частицы нефти, вынесенные потоком воды транспортной зоны 22 из рабочей секции 15, укрупняются в слое коалесцирующей загрузки 12, всплывают и накапливаются в верхней части объема над коалесцирующей загрузкой 12 (пространство между перегородками 13 и 14), а далее удаляются через нефтесборник 29 и патрубок 30.
При этом оставшиеся в НСВ мелкодисперсные нефтяные частицы через круглые отверстия 35 на верхней части сплошной перегородки 14 вместе с потоком НСВ поступают в трубчатый дырчатый телескопический коллектор-распределитель 33, а далее НСВ через выходные круглые отверстия 34, расположенные вдоль верхней части телескопического коллектора 33 под углом 45° к вертикальной оси коллектора 33, вытекает в виде струй вверх под углом 45° на уровне границ фаз «нефть - высококонцентрированная эмульсия 21». При этом вытекающий вверх под углом 45° выходной поток способствует образованию и поддержанию постоянной огромной объемной подвижной «чистой» - разрушенной инверсирующей поверхности раздела фаз «нефть - вода», т.е. слоя высококонцентрированной по нефти эмульсии с умеренным турбулентным перемешиванием (т.е. с зоной турбулентного перемешивания всего объема 21, а также способствует созданию подвижной («чистой» - разрушенной) плоской инверсирующей поверхности раздела фаз «нефть - вода» (граница фаз: слой уловленной нефти 23 и слоя высококонцентрированной эмульсии с зоной турбулентного перемешивания 21). При этом обеспечивается и увеличивается интенсивность - частота и жесткость контакта, столкновения капель нефти с подвижными инверсирующими поверхностями (объемной, плоской, межкапельной), обеспечиваемые энергией турбулентных пульсаций выходного потока и зоны турбулентного перемешивания. При этом происходит эффективное совмещение процессов объемной межкапельной и поверхностной коалесценции капель нефти, контактной очистки, переход и накопление укрупненных капель нефти в сплошной подвижный слой уловленной нефти 23 - отстаивание (разделение, расслоение); образование и поддержание нефтяного слоя 23, предотвращение застойных зон, равномерное распределение потока НСВ в инверсирующем объеме, расслоение (разделение) потока на нефть и воду, усреднение турбулентности (диссипация энергии) в слое 21. Все это способствует повышению интенсивности, эффективности, стабильности и сокращению продолжительности очистки НСВ.
Далее осуществляется поворот потока НСВ на 150-180° и одновременная очистка ее (разделение) отстаиванием по схеме: всплывание капель нефти вверх, а осаждение тяжелых примесей вниз в направлении нисходящего потока транспортной зоны 22 (фиг.1).
Далее осуществляется поворот потока на ≈90° с образованием движущегося относительно тонкого фиксированного горизонтального направления придонного слоя и придонных скоростей; при этом выделяются оседающие мехпримеси из воды, которые накапливаются на дне буферной зоны 16 отстойника 11 в виде осадка (нефтешлама). Для удаления осадка со дна отстойника 11 в напорную систему смыва 25 и 27 (одновременно или раздельно на каждую систему 25 и 27) по трубопроводу 48 подается под напором вода, которая, вытекая из сопел 26 и 28, смывает осадок к сборной системе 24, далее смытый осадок по трубопроводу 49 отводится в осадконакопитель.
Уловленная нефть из верхней части буферной секции 16 удаляется через нефтесборник 29 и патрубок 30.
Очищенная вода удаляется из буферной секции 16 через коллектор 31, отбойник 32 и патрубок 50.
Для проведения ремонта, профилактики, ликвидации аварий, замены отдельных элементов, узлов в батарее гидроциклонов 3, цилиндрических камер 7 и 8, распределительных 2 и сборных 9 и 10 напорных колец и т.д. закрывают задвижки 35, 38, 39, открывают задвижки 42 и 43. Исходная НСВ под напором из трубопровода подачи 1 поступает в закручивающий сужающий канал 44 (фиг.3), образуются затопленные струи, касательные к внутренней поверхности обводного трубопровода 40, в канале в целом образуется стабильный закрученный высокотурбулентный поток с постоянно увеличивающейся скоростью вращения и закрутки, а на выходе из камеры 44 на некотором расстоянии l образуется область затухания 51 закрученного потока и область переходная 52 на осевое потенциальное течение 53. Все это способствует увеличению дальнобойности закрученного потока, увеличению времени гидродинамической обработки НСВ в объеме закрученного потока и, как следствие, ослаблению, разрушению бронирующих оболочек нефтяных глобул, их сближению, увеличению частоты столкновения и коалесценции. При этом часть исходной НСВ по обводному трубопроводу 40, трубопроводу-перемычке 41, трубопроводу 36 через открытую задвижку 42 поступает в распределитель 17 и из него в виде равномерно распределенного потока в слой высококонцентрированной по нефти эмульсии (т.е. в зону турбулентного перемешивания 21), где происходит коалесценция капель нефти, переход укрупнившихся капель нефти в слой уловленной нефти 2 и контактная очистка НСВ от нефти.
Другая часть исходной НСВ по трубопроводу-перемычке 41 через открытую задвижку 43 по трубопроводу 37 поступает в распределитель 18, а из него в виде равномерно распределенного потока непосредственно к нижней поверхности слоя нефти 23, т.е. в зоне турбулентного перемешивания 21. Потоки, выходящие из распределителей 17 и 18, интенсивно перемешиваются в слоях высококонцентрированной нефти 21 и нефти 23, что повышает эффективность контактной очистки НСВ. При этом в слое высококонцентрированной эмульсии 21 в режиме турбулентного перемешивания происходит интенсивная коалесценция нефтяных капель, переход их в слой уловленной нефти 23. Дальнейшая очистка НСВ, удаление очищенной воды, уловленной нефти и осадка происходит аналогично вышеописанному. Таким образом, в указанных выше режимах осуществляется проведение ремонтно-профилактических мероприятий, аварийных отключений батареи гидроциклонов 3, камер 7 и 8, распределительных 2 и сборных колец 9 и 10 и т.д., работа устройства не прекращается.
Для возврата устройства в нормальный проектный режим работы открывают задвижки 35, 38 и 39 и закрывают 42 и 43 и устройство вновь работает по вышеописанной схеме.
Достоинствами предлагаемого устройства являются высокая надежность, стабильный и высокий эффект очистки, высокая удельная производительность; комплексная гидродинамическая обработка НСВ, совмещенная с интенсивной контактной очисткой во всех секциях (рабочая, буферная) отстойника, устройства в целом, что дает возможность создания и реализации эффективной технологии и устройства очистки НСВ.
Claims (1)
- Устройство для очистки нефтесодержащих сточных вод, включающее гидроциклоны с подачей исходной воды через напорные трубчатые распределительные кольца, цилиндрические камеры на выходе верхнего и нижнего сливов гидроциклонов, снабженные напорными трубчатыми кольцами, отстойник, разделенный вертикальными перегородками на рабочую и буферную секции, при этом первая перегородка не доходит до нижней части отстойника, коалесцирующую насадку из гранулированной крупнозернистой фильтрующей загрузки из гидрофобного материала, расположенной между перегородками, причем в верхней части рабочей и буферной зон отстойника расположены перфорированные распределительные устройства, патрубки для отвода уловленной нефти, а в нижней части отстойника размещены трубчатый дырчатый сборный коллектор системы удаления осадка, и выше коллектора с двух его сторон расположена система смыва осадка, выполненная в виде симметрично расположенных напорных трубчатых телескопических коллекторов с перпендикулярно установленными соплами, при этом в буферной секции расположены дугообразный равноплечный дырчатый коллектор и дугообразный отбойник для сбора и удаления очищенной воды, причем устройство включает трубопровод-перемычку, соединяющую трубопроводы, отводящие воду из напорных колец верхнего и нижнего сливов, обводной трубопровод, соединяющий трубопровод подачи исходной НСВ с перемычкой, при этом трубопровод-перемычка снабжен двумя задвижками, установленными с двух сторон от точки подключения обводного трубопровода к перемычке, трубопроводы, отводящие воду из верхнего и нижнего сливов, снабженные задвижками, установленными до точки подключения их к трубопроводу-перемычке, запорно-регулирующую арматуру, установленную между напорным кольцом распределения исходной воды и точкой подключения обводного трубопровода к трубопроводу подачи исходной воды, закручивающее устройство в обводном трубопроводе, выполненное в виде винтового канала, наклонного к оси обводного трубопровода, причем канал выполнен с шириной и шагом, плавно уменьшающимися по направлению движения потока исходной воды, жестко и герметично закреплен на внутренней поверхности обводного трубопровода, отличающееся тем, что вторая вертикальная перегородка жестко и герметично закреплена по всему периметру внутренней стенки отстойника, при этом в верхней части вертикальной перегородки выполнены, как минимум, два отверстия, в которых жестко и герметично закреплены трубчатые дырчатые телескопические коллекторы-распределители, имеющие круглые отверстия, расположенные вдоль верхней части коллекторов в шахматном порядке и под углом 45° к вертикальной оси коллекторов, причем телескопические коллекторы-распределители своей верхней плоскостью размещены на уровне границы фаз «нефть - высококонцентрированная эмульсия», при этом в верхней части отстойника в пространстве между первой вертикальной перегородкой, не доходящей до нижней части отстойника, и второй вертикальной перегородкой установлен нефтесборник с патрубком отвода нефти.
Priority Applications (1)
| Application Number | Priority Date | Filing Date | Title |
|---|---|---|---|
| RU2009117173/05A RU2408540C1 (ru) | 2009-05-05 | 2009-05-05 | Устройство для очистки нефтесодержащих сточных вод |
Applications Claiming Priority (1)
| Application Number | Priority Date | Filing Date | Title |
|---|---|---|---|
| RU2009117173/05A RU2408540C1 (ru) | 2009-05-05 | 2009-05-05 | Устройство для очистки нефтесодержащих сточных вод |
Publications (2)
| Publication Number | Publication Date |
|---|---|
| RU2009117173A RU2009117173A (ru) | 2010-11-10 |
| RU2408540C1 true RU2408540C1 (ru) | 2011-01-10 |
Family
ID=44025840
Family Applications (1)
| Application Number | Title | Priority Date | Filing Date |
|---|---|---|---|
| RU2009117173/05A RU2408540C1 (ru) | 2009-05-05 | 2009-05-05 | Устройство для очистки нефтесодержащих сточных вод |
Country Status (1)
| Country | Link |
|---|---|
| RU (1) | RU2408540C1 (ru) |
Citations (5)
| Publication number | Priority date | Publication date | Assignee | Title |
|---|---|---|---|---|
| SU1699941A1 (ru) * | 1989-12-25 | 1991-12-23 | Предприятие П/Я М-5478 | Устройство дл очистки нефтесодержащих сточных вод |
| DE9417998U1 (de) * | 1994-11-10 | 1995-01-19 | Passavant-Werke Ag, 65326 Aarbergen | Abscheider für hochviskose Leichtstoffe, wie Fette u.dgl. aus Abwasser |
| WO2004022489A1 (ja) * | 2002-09-08 | 2004-03-18 | Tadayoshi Sato | 浄化槽 |
| RU2257352C1 (ru) * | 2004-03-04 | 2005-07-27 | Казанская государственная архитектурно-строительная академия КГАСА | Устройство для очистки нефтесодержащих сточных вод |
| RU2313493C1 (ru) * | 2006-07-24 | 2007-12-27 | Федеральное государственное образовательное учреждение высшего профессионального образования Казанский государственный архитектурно-строительный университет | Устройство для очистки нефтесодержащих сточных вод |
-
2009
- 2009-05-05 RU RU2009117173/05A patent/RU2408540C1/ru not_active IP Right Cessation
Patent Citations (5)
| Publication number | Priority date | Publication date | Assignee | Title |
|---|---|---|---|---|
| SU1699941A1 (ru) * | 1989-12-25 | 1991-12-23 | Предприятие П/Я М-5478 | Устройство дл очистки нефтесодержащих сточных вод |
| DE9417998U1 (de) * | 1994-11-10 | 1995-01-19 | Passavant-Werke Ag, 65326 Aarbergen | Abscheider für hochviskose Leichtstoffe, wie Fette u.dgl. aus Abwasser |
| WO2004022489A1 (ja) * | 2002-09-08 | 2004-03-18 | Tadayoshi Sato | 浄化槽 |
| RU2257352C1 (ru) * | 2004-03-04 | 2005-07-27 | Казанская государственная архитектурно-строительная академия КГАСА | Устройство для очистки нефтесодержащих сточных вод |
| RU2313493C1 (ru) * | 2006-07-24 | 2007-12-27 | Федеральное государственное образовательное учреждение высшего профессионального образования Казанский государственный архитектурно-строительный университет | Устройство для очистки нефтесодержащих сточных вод |
Also Published As
| Publication number | Publication date |
|---|---|
| RU2009117173A (ru) | 2010-11-10 |
Similar Documents
| Publication | Publication Date | Title |
|---|---|---|
| CA2917959C (en) | Settling oil removal tank, system and method for produced water treatment | |
| CN1318312C (zh) | 含有悬浮物的液体尤其是水的净化方法及装置 | |
| CN205095472U (zh) | 沉降除油罐及采出水处理系统 | |
| CN110577298A (zh) | 一种立式油、水、固三相分离组合装置 | |
| RU2257352C1 (ru) | Устройство для очистки нефтесодержащих сточных вод | |
| Shammas et al. | Sedimentation | |
| RU2313493C1 (ru) | Устройство для очистки нефтесодержащих сточных вод | |
| RU2408540C1 (ru) | Устройство для очистки нефтесодержащих сточных вод | |
| CN101732895A (zh) | 一种高效旋流除油装置 | |
| RU2189360C2 (ru) | Устройство для очистки нефтесодержащих сточных вод | |
| RU2253623C1 (ru) | Устройство для очистки нефтесодержащих сточных вод | |
| CN109279706B (zh) | 一种兰炭废水多相流分离装置 | |
| RU144327U1 (ru) | Нефтеотделитель напорный | |
| CN209113607U (zh) | 一种兰炭废水多相流分离装置 | |
| CN207566940U (zh) | 一种除油装置 | |
| RU2227791C1 (ru) | Устройство для очистки нефтесодержащих сточных вод | |
| RU2255903C1 (ru) | Устройство для очистки нефтесодержащих сточных вод | |
| RU2303002C1 (ru) | Устройство для очистки нефтесодержащих сточных вод | |
| CN114634256A (zh) | 一种处理含油污水的聚结分离装置及分离方法 | |
| SU1504219A1 (ru) | Устройство дл очистки сточных вод | |
| RU2248327C1 (ru) | Устройство для очистки нефтесодержащих сточных вод | |
| CN212425642U (zh) | 一种罐式污水油污清除装置 | |
| Field | The dual functioning swirl combined sewer overflow regulator/concentrator | |
| CN102320679B (zh) | 旋流式波纹板隔油池 | |
| CN213202583U (zh) | 一种油回收及油泥去除一体化装置 |
Legal Events
| Date | Code | Title | Description |
|---|---|---|---|
| MM4A | The patent is invalid due to non-payment of fees |
Effective date: 20110506 |