RU2262291C2 - Wiping device convenient in use - Google Patents

Wiping device convenient in use Download PDF

Info

Publication number
RU2262291C2
RU2262291C2 RU2003112451/12A RU2003112451A RU2262291C2 RU 2262291 C2 RU2262291 C2 RU 2262291C2 RU 2003112451/12 A RU2003112451/12 A RU 2003112451/12A RU 2003112451 A RU2003112451 A RU 2003112451A RU 2262291 C2 RU2262291 C2 RU 2262291C2
Authority
RU
Russia
Prior art keywords
handle
cleaning agent
specified
wiping
supporting end
Prior art date
Application number
RU2003112451/12A
Other languages
Russian (ru)
Other versions
RU2003112451A (en
Inventor
Йосинори ТАНАКА (JP)
Йосинори ТАНАКА
Масахо ХАЯСИ (JP)
Масахо ХАЯСИ
Тосихико УЭНИСИ (JP)
Тосихико УЭНИСИ
Original Assignee
Юни-Чарм Корпорейшн
Priority date (The priority date is an assumption and is not a legal conclusion. Google has not performed a legal analysis and makes no representation as to the accuracy of the date listed.)
Filing date
Publication date
Application filed by Юни-Чарм Корпорейшн filed Critical Юни-Чарм Корпорейшн
Publication of RU2003112451A publication Critical patent/RU2003112451A/en
Application granted granted Critical
Publication of RU2262291C2 publication Critical patent/RU2262291C2/en

Links

Images

Landscapes

  • Cleaning Implements For Floors, Carpets, Furniture, Walls, And The Like (AREA)

Abstract

FIELD: means for cleaning of surfaces.
SUBSTANCE: wiping device has dust catching body and handle, to which wiping device has to be attached. Wiping device body has two gaps extending in parallel with one another and adapted for attachment of handle thereto. Handle is equipped with attachment part and gripping part extending in backward and upward directions from supporting end of attachment part. Attachment part has bifurcated configuration at its supporting end for accommodation of two insertions, said insertions being made flat and smooth and being adapted for insertion into wiping device body gaps, when said body is used for removal of dust from surface.
EFFECT: simplified construction and convenient use.
6 cl, 11 dwg

Description

ОБЛАСТЬ ТЕХНИКИ, К КОТОРОЙ ОТНОСИТСЯ НАСТОЯЩЕЕ ИЗОБРЕТЕНИЕFIELD OF THE INVENTION

Настоящее изобретение относится к обтирочному средству, удобному в употреблении, которое может быть использовано в технологических операциях очистки для удаления пыли в комнате, легковом автомобиле и так далее.The present invention relates to an easy-to-use cleaning agent that can be used in technological cleaning operations to remove dust in a room, car, and so on.

ПРЕДПОСЫЛКИ ДЛЯ СОЗДАНИЯ НАСТОЯЩЕГО ИЗОБРЕТЕНИЯBACKGROUND OF THE INVENTION

Обтирочное средство, удобное в употреблении, этого типа, в общем, получают для использования путем крепления тела обтирочного средства к рукоятке. Такое обтирочное средство, предназначенное для многократного использования, может быть очищено после загрязнения. Однако в последние годы тело обтирочного средства одноразового использования стало широко использоваться в комбинации с рукояткой, к которой прикреплено тело обтирочного средства одноразового использования.An easy-to-use cleaning agent of this type is generally obtained for use by attaching the cleaning agent body to the handle. Such reusable cleaning agent can be cleaned after contamination. However, in recent years, the disposable cleaning agent body has become widely used in combination with a handle to which the disposable cleaning agent body is attached.

В вышеупомянутом обычном обтирочном средстве, удобном в употреблении, которое состоит из тела обтирочного средства одноразового использования и рукоятки, к которой оно прикреплено, тело обтирочного средства после закрепления прочной рукоятки зажимают в рукоятке посредством пружины или фиксируют на рукоятке посредством элемента, полученного формованием из резины, предотвращая отсоединение тела обтирочного средства от рукоятки в процессе использования. Однако такие приспособления, которые препятствуют отсоединению тела обтирочного средства от рукоятки в процессе использования, вызывают трудности при креплении и отсоединении тела обтирочного средства. Помимо этого, поскольку крепежная часть рукоятки, к которой крепят тело обтирочного средства, имеет форму стержня, она может вызвать повреждения при контакте с мебелью или аналогичными предметами в процессе технологической операции очистки.In the above-mentioned conventional easy-to-use cleaning agent, which consists of the disposable cleaning agent body and the handle to which it is attached, the cleaning agent body, after securing the durable handle, is clamped in the handle by means of a spring or fixed to the handle by means of a rubber molded member, preventing the body of the cleaning agent from detaching from the handle during use. However, such devices that prevent the body of the cleaning agent from detaching from the handle during use, cause difficulties in attaching and disconnecting the body of the cleaning agent. In addition, since the fastening part of the handle to which the body of the cleaning agent is attached has a rod shape, it can cause damage when it comes in contact with furniture or similar objects during the cleaning process.

КРАТКОЕ ИЗЛОЖЕНИЕ СУЩНОСТИ НАСТОЯЩЕГО ИЗОБРЕТЕНИЯSUMMARY OF THE SUMMARY OF THE INVENTION

Настоящее изобретение было разработано, принимая во внимание недостаток предшествующего уровня техники, который был описан выше. Таким образом, задачей настоящего изобретения является получение обтирочного средства, удобного в употреблении, которое вряд ли вызывает какие-либо повреждения в процессе операции очистки и которое обеспечивает возможность простого крепления и отсоединения тела обтирочного средства, препятствуя отсоединению тела обтирочного средства от рукоятки в процессе использования.The present invention has been developed, taking into account the disadvantage of the prior art, which has been described above. Thus, it is an object of the present invention to provide a conveniently used cleaning agent that is unlikely to cause any damage during the cleaning operation and which allows the fastening and detachment of the cleaning agent body to be simple, preventing the release of the cleaning agent body from the handle during use.

В соответствии с настоящим изобретением обеспечивается получение обтирочного средства, удобного в употреблении, содержащего тело обтирочного средства, предназначенное для улавливания пыли, и рукоятку, к которой должно быть прикреплено тело обтирочного средства, причем тело обтирочного средства предусмотрено с двумя промежутками, проходящими параллельно, предназначенными для крепления к нему рукоятки, при этом рукоятка выполнена с крепежной частью и захватным приспособлением, проходящим в направлении назад и вверх от опорного конца крепежной части; крепежная часть имеет вилкообразную конфигурацию на опорном конце с обеспечением двух вставных планок, которые являются плоскими и ровными и для использования должны быть вставлены в промежутки тела обтирочного средства.In accordance with the present invention, there is provided a convenient-to-use cleaning agent comprising a cleaning agent body for collecting dust and a handle to which a cleaning agent body is to be attached, wherein the cleaning agent body is provided with two gaps extending in parallel for attaching the handle to it, while the handle is made with a mounting part and a gripping device extending in the direction back and up from the supporting end Fastening part; the fastening part has a fork-shaped configuration on the supporting end with two insertion strips that are flat and even and must be inserted into the gaps of the body of the cleaning agent for use.

Предпочтительно, чтобы передний конец каждой вставной планки был скруглен.Preferably, the front end of each insert bar is rounded.

Предпочтительно, чтобы рукоятка была дополнительно предусмотрена с зажимной планкой, выступающей из опорного конца крепежной части между двумя вставными планками, причем передний конец зажимной планки направлен вверх, а зажимная планка имеет на ее нижней поверхности стопорную часть.Preferably, the handle is additionally provided with a clamping plate protruding from the support end of the fastening part between the two insertion bars, the front end of the clamping bar pointing upward and the clamping bar having a locking part on its lower surface.

Предпочтительно, чтобы каждая вставная планка имела на краю, по меньшей мере, один выступ. В этом случае предпочтительно, чтобы каждый промежуток тела обтирочного средства был предусмотрен с расширенной областью, предназначенной для размещения выступа каждой вставной планки рукоятки.Preferably, each insert bar has at least one protrusion on the edge. In this case, it is preferable that each gap of the body of the cleaning agent be provided with an expanded area intended to accommodate the protrusion of each insert bar of the handle.

КРАТКОЕ ОПИСАНИЕ ЧЕРТЕЖЕЙBRIEF DESCRIPTION OF THE DRAWINGS

Настоящее изобретение станет более очевидным из подробного описания, приводимого ниже, сделанного со ссылкой на сопроводительные чертежи предпочтительного варианта осуществления настоящего изобретения, который, однако, не должен восприниматься как ограничение настоящего изобретения, а приведен только для объяснения и облегчения понимания настоящего изобретения.The present invention will become more apparent from the detailed description below, made with reference to the accompanying drawings of a preferred embodiment of the present invention, which, however, should not be construed as limiting the present invention, but is provided only to explain and facilitate understanding of the present invention.

Фиг.1 - изометрическое изображение, иллюстрирующее обтирочное средство, удобное в употреблении, соответствующее одному варианту осуществления настоящего изобретения.FIG. 1 is an isometric view illustrating an easy-to-use cleaning means in accordance with one embodiment of the present invention.

Фиг.2 - изометрическое изображение, иллюстрирующее рукоятку обтирочного средства, удобного в употреблении, иллюстрируемого на фиг.1, в разобранном состоянии.Figure 2 is an isometric image illustrating the handle of a wiping means, easy to use, illustrated in figure 1, in a disassembled state.

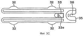
Фиг.3А - вид сверху крепежной части рукоятки.Figa - top view of the mounting part of the handle.

Фиг.3В - сечение, сделанное по линии Х-Х, показанной на фиг.3А.Fig. 3B is a sectional view taken along line XX shown in Fig. 3A.

Фиг.3С - вид снизу крепежной части.Figs - bottom view of the mounting part.

Фиг.4А - вид сверху захватного приспособления рукоятки.4A is a plan view of a handle gripper.

Фиг.4В - вид сбоку захватного приспособления рукоятки.4B is a side view of the handle gripper.

Фиг.4С - вид снизу захватного приспособления рукоятки.4C is a bottom view of the handle gripper.

Фиг.5 - иллюстрация положения, в котором тело обтирочного средства прикреплено к рукоятке.5 is an illustration of a position in which the body of the cleaning agent is attached to the handle.

Фиг.6А и фиг.6В - иллюстрации положения, в котором к рукоятке прикреплены другие типы тела обтирочного средства.6A and 6B are illustrations of a state in which other types of cleaning agent bodies are attached to the handle.

ОПИСАНИЕ ПРЕДПОЧТИТЕЛЬНОГО ВАРИАНТА ОСУЩЕСТВЛЕНИЯ НАСТОЯЩЕГО ИЗОБРЕТЕНИЯDESCRIPTION OF THE PREFERRED EMBODIMENT OF THE PRESENT INVENTION

Далее настоящее изобретение будет подробно описано со ссылкой на сопроводительные чертежи предпочтительного варианта осуществления обтирочного средства, удобного в употреблении, соответствующего настоящему изобретению. В следующем описании многочисленные характерные детали описаны для обеспечения хорошего понимания настоящего изобретения. Однако квалифицированным специалистам в этой области техники будет очевидно, что в практических случаях применения можно обойтись без этих характерных деталей. В другом случае для предотвращения неправильного толкования настоящего изобретения не показаны хорошо известные конструкции.Hereinafter, the present invention will be described in detail with reference to the accompanying drawings of a preferred embodiment of a convenient to use cleaning agent according to the present invention. In the following description, numerous specific details are described to provide a good understanding of the present invention. However, it will be apparent to those skilled in the art that in practical applications, these characteristic details can be dispensed with. In another case, well-known constructions are not shown to prevent misinterpretation of the present invention.

На фиг.1 приведено изометрическое изображение, иллюстрирующее обтирочное средство, удобное в употреблении, соответствующее одному варианту осуществления настоящего изобретения. Обтирочное средство, удобное в употреблении, иллюстрируемое на фиг.1, состоит из тела 10 обтирочного средства и рукоятки 20, к которой должно быть прикреплено тело 10 обтирочного средства.1 is an isometric view illustrating an easy-to-use wiping means according to one embodiment of the present invention. The easy-to-use cleaning agent illustrated in FIG. 1 consists of a cleaning agent body 10 and a handle 20 to which the cleaning agent body 10 is to be attached.

Тело 10 обтирочного средства содержит два или три распушенных нетканых материала, полученных из искусственной смолы, которые уложены один на другой и затем сварены по линиям, проходящим через тело 10 обтирочного средства. Тело 10 обтирочного средства на его верхней стороне дополнительно содержит другой нетканый материал, более короткий, чем уложенные друг на друга нетканые материалы. Как показано на фиг.1, более короткий нетканый материал уложен на центральной части уложенных друг на друга нетканых материалов и приварен к ним по трем линиям "а", проходящим в продольном направлении тела 10 обтирочного средства. Эти три линии "а" сварного соединения ограничивают два параллельных промежутка "b", предназначенных для крепления между ними рукоятки.The body 10 of the cleaning agent contains two or three fluffy non-woven materials obtained from artificial resin, which are stacked on top of one another and then welded along the lines passing through the body 10 of the cleaning agent. The wiper body 10 on its upper side further comprises another nonwoven material shorter than the nonwoven materials stacked on top of each other. As shown in FIG. 1, the shorter nonwoven fabric is laid on the central part of the nonwoven fabric stacked on one another and is welded thereto along three “a” lines extending in the longitudinal direction of the cleaning agent body 10. These three lines "a" of the welded joint define two parallel spaces "b", intended for fastening the handles between them.

Как показано на фиг.2, рукоятка 20 состоит из крепежной части 30, которая выполнена из искусственной смолы, и захватного приспособления 40, которое аналогичным образом получено из искусственной смолы и должно быть зафиксировано на опорном конце крепежной части 30, благодаря плотному прилеганию. Из этих элементов крепежная часть 30 имеет вилкообразную конфигурацию на своем опорном конце с обеспечением двух вставных планок 31, которые являются плоскими и ровными, как показано на фиг.3А, 3В и 3С. Толщина вставных планок 31 может быть определена в соответствии с их длиной так, чтобы вставные планки 31 могли вызывать адекватный упругий изгиб при приложении давления. С другой стороны, как показано на фиг.4А, 4В и 4С, захватное приспособление 40 имеет такую форму, чтобы проходить в направлении назад и вверх от опорного конца крепежной части 30, когда оно плотно прилегает к крепежной части 30. С точки зрения легкости управления длина захватного приспособления 40, как следует из вида сверху, предпочтительно составляет 10-20 см или приблизительно подобную величину. Как крепежная часть 30, так и захватное приспособление 40 предпочтительно выполнены из полипропилена.As shown in FIG. 2, the handle 20 consists of a fastening part 30, which is made of artificial resin, and a gripping device 40, which is likewise obtained from artificial resin and must be fixed to the supporting end of the fastening part 30, due to the tight fit. Of these elements, the mounting portion 30 has a fork-shaped configuration at its abutment end, providing two insertion strips 31 that are flat and even, as shown in FIGS. 3A, 3B, and 3C. The thickness of the insertion strips 31 can be determined according to their length so that the insertion strips 31 can cause adequate elastic bending when pressure is applied. On the other hand, as shown in FIGS. 4A, 4B and 4C, the gripping device 40 is shaped to extend back and up from the support end of the fastening part 30 when it is snug against the fastening part 30. From the point of view of ease of operation the length of the gripping device 40, as follows from a top view, is preferably 10-20 cm or approximately a similar value. Both the fastening portion 30 and the gripping device 40 are preferably made of polypropylene.

Передний конец каждой вставной планки 31 крепежной части 30 скруглен (то есть является криволинейным). Предпочтительно, чтобы передний конец был скруглен не только на виде сверху, но также и в вертикальном сечении. Для простоты введения вставных планок 31 в промежутки "b" тела 10 обтирочного средства, передний конец предпочтительно сделан криволинейным в вертикальном сечении так, чтобы радиус кривизны на его верхней стороне был намного больше, чем на его нижней стороне.The front end of each insert bar 31 of the mounting portion 30 is rounded (i.e., curved). Preferably, the front end is rounded not only in a plan view, but also in a vertical section. For ease of insertion of the insertion strips 31 into the spaces “b” of the body 10 of the cleaning agent, the front end is preferably made curved in a vertical section so that the radius of curvature on its upper side is much larger than on its lower side.

Кроме того, каждая вставная планка 31 предусмотрена на ее внешнем краю с двумя дугообразными выступами 32. Эти выступы 32 входят в контактное взаимодействие по линиям "а" сварного соединения при введении вставных планок 31, выполняя, благодаря этому, функцию стопора. В этом случае число и местоположение выступов 32 может быть выбрано соответствующим образом, учитывая эффект предотвращения отсоединения и простоту установки до тех пор, пока каждая вставная планка 31 имеет, по меньшей мере, один выступ 32 на каждом внешнем краю и внутреннем краю.In addition, each insertion plate 31 is provided on its outer edge with two arcuate protrusions 32. These protrusions 32 enter into contact interaction along the welded joint lines “a” when inserting the insertion plates 31, thereby performing a stopper function. In this case, the number and location of the protrusions 32 can be appropriately selected, taking into account the effect of preventing detachment and ease of installation, as long as each insert bar 31 has at least one protrusion 32 at each outer edge and inner edge.

Рукоятка 20 дополнительно предусмотрена с зажимной планкой 33, выступающей из опорного конца крепежной части 30 между двумя вставными планками 31. Передний конец зажимной планки 33 выполнен наклонно в направлении вверх, при этом зажимная планка 33 предусмотрена на ее нижней поверхности со стопорной частью 33а.A handle 20 is additionally provided with a clamping bar 33 protruding from the supporting end of the fastening part 30 between the two insertion bars 31. The front end of the clamping bar 33 is made obliquely in the upward direction, while the clamping bar 33 is provided on its lower surface with the locking part 33a.

Опорный конец крепежной части 30 имеет полукруглую тонкую часть 35, которая окружена фланцем 34 на верхней поверхности опорного конца и образована с вырезом 36. С другой стороны, захватное приспособление 40 имеет на переднем конце захватной части 41 пригоночную конструкцию, образованную из верхней плоской части 42 и нижней плоской части 43. При введении тонкой части 35 крепежной части 30 между плоскими частями 42 и 43 захватного приспособления 40, соединительная часть 44, расположенная между плоскими частями 42 и 43, сопрягается с вырезом 36 и в связи с этим канавка 42а, образованная на нижней поверхности верхней плоской части 42, сопрягается с выступом 35а тонкой части 35, так что крепежная часть 30 оказывается прикрепленной к захватному приспособлению 40.The supporting end of the fastening portion 30 has a semicircular thin portion 35, which is surrounded by a flange 34 on the upper surface of the supporting end and is formed with a notch 36. On the other hand, the gripping device 40 has a fitting structure formed on the front end of the gripping part 41 from the upper flat part 42 and the lower flat portion 43. When the thin portion 35 of the fastening portion 30 is inserted between the flat portions 42 and 43 of the gripper 40, the connecting portion 44 located between the flat portions 42 and 43 is mated to the notch 36 and therefore groove 42a formed on the lower surface of the upper flat portion 42 mates with a protrusion 35a of the thin portion 35 so that the fixing portion 30 is attached to the coupling 40.

Обтирочное средство, удобное в употреблении, имеющее вышеописанную конструкцию, собирают для использования в положение, показанное на фиг.1, путем монтажа рукоятки 20, состоящей из крепежной части 30 и захватного приспособления 40, и путем крепления тела 10 обтирочного средства к рукоятке 20.An easy-to-use wiping means having the structure described above is assembled for use in the position shown in FIG. 1 by mounting the handle 20, consisting of the mounting portion 30 and the gripping device 40, and by attaching the body 10 of the wiping means to the handle 20.

Для крепления тела 10 обтирочного средства к рукоятке 20, вставные планки 31 крепежной части 30 вводят в промежутки "b", расположенные на верхней стороне тела 10 обтирочного средства. В этом случае вставные планки 31 могут быть введены в промежутки "b" с любой стороны тела 10 обтирочного средства. В процессе введения выступы 32 вставных планок 31 приходят в контактное взаимодействие по внешним линиям "а" сварного соединения и, в конце концов, зажимная планка 33, расположенная между вставными планками 31, проходит на центральную линию "а" сварного соединения. Таким образом, крепление завершается в положении, иллюстрируемом на фиг. 5. В этом закрепленном состоянии, поскольку выступы 32 вставных планок 31 находятся в контактном взаимодействии по внешним линиям "а" сварного соединения, а зажимная планка 33 имеет стопорную часть 33а на ее нижней поверхности, отсоединение тела 10 обтирочного средства от рукоятки 20 может эффективно предотвращаться.To attach the body 10 of the cleaning agent to the handle 20, the insertion bars 31 of the fastening part 30 are inserted into the gaps "b" located on the upper side of the body 10 of the cleaning agent. In this case, the insertion strips 31 may be inserted into the spaces "b" on either side of the body 10 of the cleaning agent. During the introduction, the protrusions 32 of the insertion strips 31 come into contact interaction along the external lines “a” of the welded joint and, finally, the clamping bar 33 located between the insertion strips 31 extends to the center line “a” of the welded joint. Thus, the fastening is completed in the position illustrated in FIG. 5. In this fixed state, since the protrusions 32 of the insertion strips 31 are in contact interaction along the external lines “a” of the welded joint, and the clamping plate 33 has a locking part 33a on its lower surface, disconnecting the body 10 of the cleaning agent from the handle 20 can be effectively prevented .

На фиг.6А и фиг.6В приведены иллюстрации положения, в котором другие типы тел обтирочного средства, имеющих расширенные области, образованные в промежутках, прикреплены к рукоятке. На фиг.6А иллюстрируется случай, в котором сварное соединение по линии "а" изогнуто по направлению наружу в местах, соответствующих выступам 32 вставных планок 31. На фиг.6В иллюстрируется случай, в котором сварное соединение по линии "а" прерывается в местах, соответствующих выступам 32 вставных планок 31. В расширенных областях, образованных таким образом в промежутках для введения планок, выступы 32 вставных планок 31 в закрепленном состоянии сопрягаются с изогнутыми частями или прерывающимися частями по линиям "а" сварки, как показано на фиг.6А или фиг.6В, что более эффективно препятствует отсоединению тела 10 обтирочного средства.FIGS. 6A and 6B are illustrations of a position in which other types of cleaning agent bodies having widened regions formed in gaps are attached to the handle. FIG. 6A illustrates a case in which a welded joint along a line “a” is bent outward in places corresponding to the protrusions 32 of the insertion bars 31. FIG. 6B illustrates a case in which a welded joint along line “a” is interrupted in places corresponding to the protrusions 32 of the insertion strips 31. In the expanded areas thus formed in the spaces for inserting the strips, the protrusions 32 of the insertion strips 31 in the fixed state are mated with curved parts or interrupted parts along the welding lines “a”, as shown in FIG. 6A or FIG. 6B, which more efficiently prevents the body 10 of the cleaning agent from being disconnected.

Хотя настоящее изобретение было подробно описано со ссылкой на пример его варианта осуществления, обтирочное средство, удобное в употреблении, соответствующее настоящему изобретению, не должно восприниматься как ограниченное характерным вариантом осуществления, описанным выше, поскольку без отклонения от сущности настоящего изобретения могут быть сделаны различные изменения.Although the present invention has been described in detail with reference to an example of an embodiment thereof, the easy-to-use wiping agent of the present invention should not be construed as limited to the specific embodiment described above, since various changes can be made without departing from the spirit of the present invention.

Например, тело обтирочного средства может быть любого типа, чтобы оно имело два промежутка для крепления.For example, the body of the cleaning agent may be of any type so that it has two spaces for attachment.

Хотя рукоятка вышеописанного варианта осуществления состоит из двух элементов, плотно прилегающих друг к другу, чтобы сделать рукоятку компактной, когда ее не используют, можно конечно выполнить ее в виде одного элемента.Although the handle of the above embodiment consists of two elements that fit snugly together to make the handle compact when not in use, it can of course be made as one element.

Как результат различных конструкций, описанных подробно выше, настоящее изобретение обеспечивает получение одного или более следующих преимуществ:As a result of the various designs described in detail above, the present invention provides one or more of the following advantages:

(1) тело обтирочного средства вряд ли отсоединится от рукоятки во время использования, но может быть присоединено или отсоединено от рукоятки с помощью одной технологической операции;(1) the body of the cleaning agent is unlikely to detach from the handle during use, but may be attached to or disconnected from the handle in one technological operation;

(2) плоские вставные планки, к которым прикреплено тело обтирочного средства, упруго изгибаются при приложении давления, так что они не повреждают объект, подвергаемый очистке (обтирке);(2) the flat insert strips to which the body of the cleaning agent is attached are bent elastically when pressure is applied so that they do not damage the object to be cleaned (wiped);

(3) в том случае, если передний конец каждой вставной планки скруглен, то вставные планки могут быть плавно беспрепятственно введены в промежутки тела обтирочного средства;(3) if the front end of each insertion strip is rounded, then the insertion plates can be smoothly and freely inserted into the gaps of the body of the cleaning agent;

(4) в том случае, если рукоятка предусмотрена с зажимной планкой, выступающей из опорного конца крепежной части между двумя вставными пластинами, передний конец зажимной планки направлен вверх, а зажимная планка предусмотрена на ее нижней поверхности со стопорной частью, то тогда при введении вставных планок в промежутки тела обтирочного средства зажимная планка, расположенная между вставными планками, проходит на центральной линии сварного соединения, сжимая тело обтирочного средства для поддержания его в прикрепленном состоянии, что более эффективно препятствует отсоединению тела обтирочного средства;(4) if the handle is provided with a clamping plate protruding from the supporting end of the fastening part between the two insertion plates, the front end of the clamping plate is directed upwards, and the clamping plate is provided on its lower surface with the locking part, then when inserting the insertion plates in the gaps of the body of the cleaning agent, the clamping bar located between the insertion bars extends on the center line of the welded joint, compressing the body of the cleaning agent to maintain it in an attached state, which olee effectively prevents detaching of the wiper body means;

(5) в том случае, если каждая вставная планка имеет на краю, по меньшей мере, один выступ, то при введении планок в промежутки тела обтирочного средства выступы вставных планок приходят в контактное взаимодействие по внешним линиям сварного соединения, что более эффективно препятствует отсоединению тела обтирочного средства; и(5) if each insert strip has at least one protrusion on the edge, then when inserting the strips into the gaps of the body of the cleaning agent, the protrusions of the insert strips come into contact interaction along the external lines of the welded joint, which more effectively prevents the body from detaching cleaning agents; and

(6) в том случае, если каждый промежуток тела обтирочного средства предусмотрен с расширенной областью для размещения выступа каждой вставной планки рукоятки, то при введении вставных планок в промежутки тела обтирочного средства выступы вставных планок сопрягаются с расширенными областями, что более эффективно препятствует отсоединению тела обтирочного средства.(6) in the event that each gap of the body of the cleaning agent is provided with an expanded area for accommodating the protrusion of each insertion strip of the handle, then when the insertion bars are inserted into the gaps of the body of the cleaning agent, the protrusions of the insertion panels are mated with the expanded areas, which more effectively prevents the removal of the body of the cleaning agent facilities.

Claims (6)

1. Обтирочное средство, удобное в употреблении, содержащее тело обтирочного средства, предназначенное для улавливания пыли, и рукоятку, выполненную с возможностью прикрепления к ней указанного тела обтирочного средства, причем указанное тело обтирочного средства выполнено с двумя промежутками, проходящими параллельно, предназначенными для крепления к нему указанной рукоятки, содержащей крепежную часть и захватное приспособление, проходящее в направлении назад и вверх от опорного конца указанной крепежной части, имеющей вилкообразную конфигурацию на указанном опорном конце с обеспечением двух вставных планок, которые являются плоскими и ровными и для использования должны быть вставлены в указанные промежутки тела обтирочного средства.1. Wiping agent, convenient to use, containing the body of the cleaning agent, designed to trap dust, and a handle made with the possibility of attaching to it the specified body of the cleaning agent, and the specified body of the cleaning agent is made with two gaps running in parallel, designed to be attached to the specified handle containing the mounting part and the gripping device extending in the direction back and up from the supporting end of the specified mounting part having a fork-shaped a configuration at the indicated supporting end, with two insertion strips that are flat and even and must be inserted into the indicated gaps of the body of the cleaning agent for use. 2. Обтирочное средство по п.1, где передний конец каждой вставной планки является скругленным.2. Wiping agent according to claim 1, where the front end of each insert bar is rounded. 3. Обтирочное средство по п.1 или 2, где указанная рукоятка дополнительно имеет зажимную планку, выступающую из указанного опорного конца указанной крепежной части между указанными двумя вставными планками, причем передний конец указанной зажимной планки направлен вверх с наклоном, а указанная зажимная планка имеет на нижней поверхности стопорную часть.3. Wiping agent according to claim 1 or 2, wherein said handle additionally has a clamping plate protruding from said supporting end of said mounting part between said two insertion bars, wherein the front end of said clamping strip is directed upwardly and said clamping strip has the lower surface of the retaining part. 4. Обтирочное средство по любому из пп.1-3, где каждая вставная планка имеет на краю, по меньшей мере, один выступ.4. Wiping agent according to any one of claims 1 to 3, where each insert bar has at least one protrusion on the edge. 5. Обтирочное средство по п.4, где каждый промежуток тела обтирочного средства выполнен с расширенной областью, предназначенной для размещения указанного выступа каждой вставной планки указанной рукоятки.5. Wiping agent according to claim 4, where each gap of the body of the wiping agent is made with an expanded area intended to accommodate the specified protrusion of each insert bar of the specified handle. 6. Обтирочное средство по п.1, где указанные вставные планки выполнены с возможностью вызывать упругий изгиб при приложении к ним давления.6. The wiping agent according to claim 1, where said insertion strips are configured to cause elastic bending when pressure is applied to them.
RU2003112451/12A 2000-10-27 2001-10-25 Wiping device convenient in use RU2262291C2 (en)

Applications Claiming Priority (3)

Application Number Priority Date Filing Date Title
JP2000328865 2000-10-27
JP2000-328865 2000-10-27
JP2001-317660 2001-10-16

Publications (2)

Publication Number Publication Date
RU2003112451A RU2003112451A (en) 2004-10-20
RU2262291C2 true RU2262291C2 (en) 2005-10-20

Family

ID=32844030

Family Applications (1)

Application Number Title Priority Date Filing Date
RU2003112451/12A RU2262291C2 (en) 2000-10-27 2001-10-25 Wiping device convenient in use

Country Status (4)

Country Link
JP (4) JP3927137B2 (en)
CN (1) CN1768695B (en)
RU (1) RU2262291C2 (en)
ZA (1) ZA200303115B (en)

Families Citing this family (16)

* Cited by examiner, † Cited by third party
Publication number Priority date Publication date Assignee Title
US7891898B2 (en) 2005-01-28 2011-02-22 S.C. Johnson & Son, Inc. Cleaning pad for wet, damp or dry cleaning
US7740412B2 (en) 2005-01-28 2010-06-22 S.C. Johnson & Son, Inc. Method of cleaning using a device with a liquid reservoir and replaceable non-woven pad
US7566671B2 (en) 2005-01-28 2009-07-28 S.C. Johnson & Son, Inc. Cleaning or dusting pad
US7976235B2 (en) 2005-01-28 2011-07-12 S.C. Johnson & Son, Inc. Cleaning kit including duster and spray
JP4873608B2 (en) * 2005-10-24 2012-02-08 山崎産業株式会社 Mop support
JP4709105B2 (en) 2006-09-12 2011-06-22 ユニ・チャーム株式会社 Cleaning body and cleaning tool
JP4731433B2 (en) 2006-09-12 2011-07-27 ユニ・チャーム株式会社 Cleaning body and cleaning tool
US8893347B2 (en) 2007-02-06 2014-11-25 S.C. Johnson & Son, Inc. Cleaning or dusting pad with attachment member holder
JP5466069B2 (en) * 2010-04-07 2014-04-09 ユニ・チャーム株式会社 Packaging case
JP5147909B2 (en) * 2010-08-23 2013-02-20 ユニ・チャーム株式会社 Cleaning body and cleaning tool
JP5194086B2 (en) * 2010-10-26 2013-05-08 ユニ・チャーム株式会社 Cleaning member, cleaning member with gripper, and method for manufacturing cleaning member
JP5221624B2 (en) * 2010-10-28 2013-06-26 ユニ・チャーム株式会社 Cleaning body and cleaning tool
JP6045058B2 (en) * 2012-03-28 2016-12-14 レック株式会社 Handy mop, handy mop wiping body holding method and handy mop handle
CN103371779B (en) * 2012-04-23 2015-12-16 杨雅菁 Dust removal handle that can be automatically folded in half to become longer or shorter
WO2014022539A2 (en) * 2012-08-03 2014-02-06 Fomo Products, Inc. Foam dispensing gun
WO2016161235A1 (en) * 2015-04-02 2016-10-06 The Procter & Gamble Company Floor cleaning article having strips with differential bond pattern

Citations (3)

* Cited by examiner, † Cited by third party
Publication number Priority date Publication date Assignee Title
US3711886A (en) * 1971-03-22 1973-01-23 Majestic Wax Co Mop head for a sweeping mop
US4010511A (en) * 1976-02-06 1977-03-08 Duskin Franchise Co., Ltd. Mop having sleeve type detachable mop head
GB2171293A (en) * 1985-01-18 1986-08-28 Duskin Co Ltd Mop

Patent Citations (3)

* Cited by examiner, † Cited by third party
Publication number Priority date Publication date Assignee Title
US3711886A (en) * 1971-03-22 1973-01-23 Majestic Wax Co Mop head for a sweeping mop
US4010511A (en) * 1976-02-06 1977-03-08 Duskin Franchise Co., Ltd. Mop having sleeve type detachable mop head
GB2171293A (en) * 1985-01-18 1986-08-28 Duskin Co Ltd Mop

Also Published As

Publication number Publication date
JP2004167274A (en) 2004-06-17
JP4074873B2 (en) 2008-04-16
JP2003284660A (en) 2003-10-07
JP2005144199A (en) 2005-06-09
JP3691052B2 (en) 2005-08-31
JP3927137B2 (en) 2007-06-06
JP2005230576A (en) 2005-09-02
JP3570632B2 (en) 2004-09-29
ZA200303115B (en) 2004-03-04
CN1768695A (en) 2006-05-10
CN1768695B (en) 2011-08-31

Similar Documents

Publication Publication Date Title
CA2426676C (en) Handy mop
RU2262291C2 (en) Wiping device convenient in use
US5592713A (en) Toilet mop
EP1938738B1 (en) Cleaning tool
JP2004044698A (en) Clamp for long article
US5371917A (en) Backplate for a sponge refill cartridge
US4377879A (en) Cleaning device
JP2001526610A (en) Replacement kit for wiper blade and wiper blade
JP2002238824A (en) Dustpan with mop
JP3805856B2 (en) mop
JPH0212953Y2 (en)
JPH08266456A (en) Mounting bed of wiping cloth for mop
JPH09140651A (en) Cleaning tools
JP3022882U (en) Cleaning tools
JP3021712U (en) Cleaning tools
JP3050943U (en) Mounting structure of cleaning tool body in cleaning tool
JPH10113307A (en) Bunko with handle for toilet
KR19980024732A (en) Cleaning tool
JPH1129008A (en) Washing tool