RU2253623C1 - Устройство для очистки нефтесодержащих сточных вод - Google Patents
Устройство для очистки нефтесодержащих сточных вод Download PDFInfo
- Publication number
- RU2253623C1 RU2253623C1 RU2003132813/15A RU2003132813A RU2253623C1 RU 2253623 C1 RU2253623 C1 RU 2253623C1 RU 2003132813/15 A RU2003132813/15 A RU 2003132813/15A RU 2003132813 A RU2003132813 A RU 2003132813A RU 2253623 C1 RU2253623 C1 RU 2253623C1
- Authority
- RU
- Russia
- Prior art keywords
- sump
- collector
- oil
- tubular
- water
- Prior art date
Links
- 238000000746 purification Methods 0.000 title abstract description 15
- 239000010865 sewage Substances 0.000 title abstract 2
- XLYOFNOQVPJJNP-UHFFFAOYSA-N water Substances O XLYOFNOQVPJJNP-UHFFFAOYSA-N 0.000 claims abstract description 41
- 239000008213 purified water Substances 0.000 claims abstract description 15
- 238000005192 partition Methods 0.000 claims abstract description 10
- 230000002209 hydrophobic effect Effects 0.000 claims abstract description 5
- 239000000839 emulsion Substances 0.000 claims description 21
- 239000010802 sludge Substances 0.000 claims description 19
- 239000013049 sediment Substances 0.000 claims description 15
- 239000002351 wastewater Substances 0.000 claims description 14
- 238000009826 distribution Methods 0.000 claims description 10
- 238000004140 cleaning Methods 0.000 claims description 8
- 238000009434 installation Methods 0.000 claims description 4
- 239000003921 oil Substances 0.000 claims description 2
- 230000000694 effects Effects 0.000 abstract description 9
- 238000001914 filtration Methods 0.000 abstract description 2
- 239000000126 substance Substances 0.000 abstract 1
- 238000009825 accumulation Methods 0.000 description 6
- 238000002156 mixing Methods 0.000 description 6
- 238000004581 coalescence Methods 0.000 description 5
- 239000012535 impurity Substances 0.000 description 5
- 230000015572 biosynthetic process Effects 0.000 description 4
- 238000004062 sedimentation Methods 0.000 description 4
- 244000309464 bull Species 0.000 description 3
- 230000006378 damage Effects 0.000 description 3
- 239000002270 dispersing agent Substances 0.000 description 3
- 238000011010 flushing procedure Methods 0.000 description 3
- 238000000926 separation method Methods 0.000 description 3
- 238000000354 decomposition reaction Methods 0.000 description 2
- 230000007717 exclusion Effects 0.000 description 2
- 239000007789 gas Substances 0.000 description 2
- 238000004519 manufacturing process Methods 0.000 description 2
- 239000000463 material Substances 0.000 description 2
- 238000000034 method Methods 0.000 description 2
- 230000007704 transition Effects 0.000 description 2
- 238000005406 washing Methods 0.000 description 2
- 239000004698 Polyethylene Substances 0.000 description 1
- 238000005056 compaction Methods 0.000 description 1
- 238000010586 diagram Methods 0.000 description 1
- 238000005516 engineering process Methods 0.000 description 1
- 230000003628 erosive effect Effects 0.000 description 1
- 239000010419 fine particle Substances 0.000 description 1
- 238000011086 high cleaning Methods 0.000 description 1
- 239000002245 particle Substances 0.000 description 1
- 238000005191 phase separation Methods 0.000 description 1
- -1 polyethylene Polymers 0.000 description 1
- 229920000573 polyethylene Polymers 0.000 description 1
- 239000002244 precipitate Substances 0.000 description 1
- 238000001556 precipitation Methods 0.000 description 1
- 239000000047 product Substances 0.000 description 1
- 238000010791 quenching Methods 0.000 description 1
- 238000009827 uniform distribution Methods 0.000 description 1
- 238000004065 wastewater treatment Methods 0.000 description 1
Images
Landscapes
- Production Of Liquid Hydrocarbon Mixture For Refining Petroleum (AREA)
Abstract
Изобретение относится к технике очистки нефтесодержащих сточных вод нефтепромыслов, может найти применение в других отраслях промышленности, сельского хозяйства. Устройство включает гидроциклоны с подачей исходной воды через напорные трубчатые распределительные кольца. Гидроциклоны снабжены цилиндрическими камерами верхнего и нижнего сливов, имеют напорные трубчатые кольца для равномерного сбора воды. Устройство включает также отстойник, разделенный перегородками на рабочую и буферную секции. Нижняя часть отстойника по центру снабжена устройствами для удаления осадка. Пространство между вертикальными перегородками снабжено гидродинамической крупнозернистой гидрофобной фильтрующей загрузкой. Рабочая секция отстойника имеет трубчатые дырчатые коллекторы-распределители нижнего и верхнего сливов гидроциклонов, размещенные соответственно друг над другом. Буферная секция отстойника снабжена трубчатым дугообразным равноплечим дырчатым коллектором и дугообразным отбойником для равномерного сбора очищенной воды по живому сечению. Технический результат состоит в повышении эффекта очистки. 7 ил.
Description
Изобретение относится к технике очистки нефтесодержащих сточных вод нефтепромыслов и может быть использовано в других отраслях промышленности, сельского хозяйства и т.д., сточные воды которых содержат нефть и нефтепродукты.
Известно устройство для очистки нефтесодержащих сточных вод по а.с. СССР № 1699935, C 02 F 1/00, В 01 D 17/038, опубл. 23.12.91, Бюл. №47, включающее отстойник с нефтесборником, патрубок для ввода эмульсии, выполненный с соотношением диаметра к длине, равным 1:10 - 1:50, гидроциклонную камеру с тангенциальным вводом, которая снабжена диспергатором в виде сопла, патрубки для отвода очищенной воды, уловленной нефти и осадка.
Недостатками данного устройства является низкая эффективность очистки нефтесодержащих сточных вод вследствие неполного использования энергии закрученного потока в патрубке, соединяющем отстойник и трубу с диспергатором. Это объясняется тем, что практически вся энергия закрученного потока затрачивается на разделение эмульсии на нефть и воду, а не на коалесценцию капель нефти при движении их по патрубку.
Кроме того, для нормальной работы горизонтального отстойника известного устройства необходимо своевременное и полное удаление осадка из него. В известном устройстве из горизонтального отстойника осадок удаляется под давлением не полностью, так как усилия, размывающие отложившийся осадок, действуют только в зоне образования струй, а за их пределами масса осадка остается неподвижной даже при больших уклонах дна.
Все это способствует накоплению осадка, разложению накопившегося нестабильного осадка с выделением газов в отстойнике, что ухудшает гидродинамические условия отстаивания, и снижает эффект очистки нефтесодержащих сточных вод.
Известно устройство для очистки нефтесодержащих сточных вод по а.с. СССР № 837925, C 02 F 1/00, опубл. 15.06.81, Бюл. № 22, включающее отстойник с нефтесборником, патрубок ввода эмульсии, патрубки вывода соответственно очищенной воды, уловленной нефти и шлама. К патрубку ввода эмульсии тангенциально присоединена труба, в которой установлен диспергатор-сопло.
Недостатком данного устройства является низкая эффективность очистки нефтесодержащих сточных вод вследствие недостаточного использования энергии закрученного потока в патрубке, подающем эмульсию в отстойник, а также вследствие недостаточно полного удаления осадка со дна отстойника.
Прототипом изобретения является устройство для очистки нефтесодержащих сточных вод по патенту РФ на изобретение № 2189360, C 02 F 1/40, опубл. 20.09.2002, Бюл. №26, включающее трубопровод для подачи исходной воды, напорный гидроциклон, цилиндрические камеры верхнего слива и нижнего слива гидроциклона. В верхней части рабочей зоны отстойника расположены распределительные устройства для воды из верхнего слива и нижнего слива гидроциклона, в которые поступает вода из цилиндрических камер. Отстойник имеет разделительные перегородки, делящие отстойник на рабочую и буферную зоны. В верхней части отстойника расположены нефтесборники с патрубками для отвода нефти. Устройство для отвода очищенной воды с отбойником расположено в буферной зоне отстойника. В нижней части отстойника установлены патрубки для отвода осадка. В верхней части отстойника образуется слой нефти.
Недостатком данного устройства является низкая эффективность очистки нефтесодержащих сточных вод (НСВ) вследствие несовершенства, неполного удаления осадка со дна отстойника, т.к. усилия, размывающие отложившийся осадок, действуют только в зоне образования струи, а за их пределами масса осадка остается неподвижной, происходит дальнейшее накопление осадка с одновременным возможным разложением накопившегося осадка с выделением газов. Все это ухудшает гидродинамические условия очистки отстаиванием и, как следствие, снижает эффект очистки сточной воды.
Недостатком известного устройства является также то, что сбор и отвод очищенной воды из буферной зоны осуществляется точечно через патрубок с отбойником, что не позволяет осуществить достаточно равномерный сбор и отвод очищенной воды по живому сечению отстойника, и что приводит к образованию застойных зон и уменьшению коэффициента объемного использования, буферной зоны, а вследствие этого снижается эффект очистки воды. Низкий эффект очистки в известном устройстве обусловлен следующими его недостатками: несовершенство конструкции сборных устройств для удаления осадка и очищенной воды, накопление осадка на дне отстойника, значительное снижение турбулентности в транспортной зоне, наличие третьего компонента - механических примесей, высокой концентрации на межфазной поверхности, а также наличие высокой полидисперсной мелкодисперсной эмульгированной нефти и неустойчивой гидродинамической обстановки в транспортной зоне. При этом конструкции распределительных и сборных устройств в основном определяют гидродинамический режим процесса очистки как в зоне турбулентного перемешивания, так и в транспортной зоне, а также в буферной зоне.
Недостатком известного устройства также является то, что на границе раздела фаз “нефть-вода” возможно образование промежуточного слоя из примесей, содержащихся в исходной воде. При накоплении примесей в слое и уплотнении этого слоя содержимое этого слоя потоком воды транспортной зоны попадает в осветляемую воду и снижает эффект очистки.
Изобретение направлено на повышение эффекта очистки нефтесодержащей сточной воды за счет совершенствования конструкции и размещения распределительных и сборных устройств гидроциклонов и отстойника, а также за счет размещения и использования гидродинамических коалесцирующих насадок-фильтров с крупнозернистой гидрофобной загрузкой.
Решение задачи достигается тем, что в предлагаемом устройстве, включающем гидроциклон с патрубками подвода исходной воды, отвода верхнего и нижнего сливов, цилиндрические камеры на выходе верхнего и нижнего сливов гидроциклона, отстойник, снабженный перегородками: не доходящей до верхней его части и не доходящей до нижней его части, делящими отстойник на рабочую и буферную секции; распределительные устройства для воды из верхнего и нижнего сливов гидроциклона, расположенные в верхней части рабочей секции отстойника, патрубки для отвода нефти, очищенной воды и осадка, согласно изобретению оно снабжено не менее чем двумя гидроциклонами, объединенными напорным трубчатым кольцом распределения исходной воды, цилиндрические камеры гидроциклонов снабжены напорными кольцами сбора верхнего и нижнего сливов, установленными на выходе соответствующих камер, нижняя часть отстойника снабжена по центру трубчатым дырчатым коллектором для сбора и удаления осадка с отверстиями, расположенными снизу в шахматном порядке под углом не более 30° к его вертикальной оси, а выше коллектора с двух его сторон симметрично расположены трубчатые телескопические равноплечие коллекторы, снабженные соплами для смыва осадка, при этом сопла установлены перпендикулярно к телескопическим коллекторам и направлены в сторону трубчатого дырчатого коллектора для сбора и удаления осадка, и при этом ось каждого сопла совпадает с перпендикулярной линией, соединяющей центр окружности сопла на месте его установки к телескопическому коллектору с точкой пересечения этой линии с осью трубчатого дырчатого коллектора для сбора и удаления осадка; пространство между вертикальными перегородками снабжено гидродинамической крупнозернистой гидрофобной фильтрующей загрузкой, при этом диаметр зерен загрузки 15-20 мм, высота слоя загрузки 0,8-1 м, скорость фильтрации 0,5-100 м/ч; рабочая секция отстойника снабжена трубчатыми дырчатыми коллекторами-распределителями нижнего и верхнего сливов гидроциклона, размещенными соответственно друг над другом, при этом распределитель верхнего слива верхней своей плоскостью расположен на уровне границ раздела фаз “вода-высококонцентрированная эмульсия”, а распределитель нижнего слива верхней своей плоскостью расположен на границе раздела фаз “нефть-высококонцентрированная эмульсия”, при этом отверстия распределителей расположены в верхней части ответвлений распределителей в шахматном порядке и под углом 45° к вертикальной оси ответвления; отстойник снабжен также трубчатым дугообразным равноплечим дырчатым коллектором и дугообразным отбойником для сбора и удаления очищенной воды, расположенными в торце буферной секции по всей ширине и выше горизонтальной оси отстойника на расстоянии не менее 0,3 его диаметра и выполненными с радиусами кривизны, равными радиусу кривизны сферического торца отстойника, при этом отверстия расположены в верхней части указанного коллектора в шахматном порядке под углом не более 30° к вертикальной его оси, а дугообразный отбойник верхним своим концом наглухо прикреплен к торцу отстойника над коллектором на расстоянии 0,5 диаметра коллектора, а другой конец отбойника расположен ниже горизонтальной оси отстойника на 0,12-0,14 его диаметра.
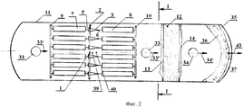
На фиг.1 изображен разрез принципиальной схемы устройства для очистки нефтесодержащей сточной воды, на фиг.2 - вид сверху, на фиг.3 - разрез по I-I, на фиг.4 - общий вид распределителей исходной воды, на фиг.5 - общий вид системы смыва осадка, на фиг.6 - общий вид сборной дырчатой системы для удаления осадка, на фиг.7 - общий вид системы для сбора и удаления очищенной воды.
Устройство состоит из трубопровода 1 подачи исходной нефтесодержащей сточной воды (НСВ), напорного трубчатого распределительного кольца 2, связанного с гидроциклонами 3, например шестью гидроциклонами или как минимум двумя гидроциклонами, патрубками подачи 4 исходной НСВ, отвода верхнего слива 5 и отвода нижнего слива 6. Напорное кольцо 2 служит для равномерного распределения воды по гидроциклонам 3. Гидроциклоны 3 снабжены цилиндрическими камерами верхнего слива 7 и нижнего слива 8. Камеры верхнего слива 7 снабжены напорным трубчатым сборным кольцом 9. Камеры нижнего слива 8 снабжены напорным трубчатым сборного кольцом 10 (фиг.1, 2). Напорное кольцо 9 и 10 служат для равномерного сбора воды из камер 7 и 9 соответственно.
Отстойник 11 снабжен гидродинамической коалесцирующей насадкой 12 с гранулированной крупнозернистой фильтрующей загрузкой из гидрофобного (например, полиэтиленового) материала. Коалесцирующая насадка 12 расположена между перегородкой 13, не доходящей до нижней части отстойника 11 и перегородкой 14, не доходящей до верхней части отстойника 11. Перегородки 13 и 14 делят отстойник 11 на две секции: 15 - рабочая секция и 16 - буферная секция. Гидродинамическая насадка (фильтр) 12 служит для интенсификации наиболее полной коалесценции (укрупнения) капель нефти, что способствует интенсификации и повышению глубины последующей очистки НСВ отстаиванием. Секция 16 служит для дополнительной очистки воды отстаиванием. В верхней части рабочей секции 15 отстойника 11 расположены: перфорированный трубчатый распределитель 17 для НСВ, поступающей из цилиндрических камер верхнего слива 7 гидроциклонов 3 и перфорированный трубчатый распределитель 18 для НСВ из нижнего слива 8 гидроциклонов 3. Распределители 17 и 18 выполнены в виде (фиг.1, 4) коллекторов 19 с ответвлениями 20, в верхней части которых в шахматном порядке под углом 45° к вертикальной оси ответвления (фиг.4) расположены выходные отверстия 21 с направлением вытекающего потока НСВ вверх.
Распределитель 17 верхнего слива расположен (фиг.1, 3) под распределителем 18 нижнего слива, при этом распределитель 17 верхней своей плоскостью размещен на уровне границы фаз 22-23 “вода 22 - высококонцентрированная эмульсия 23” (т.е. или на границе зоны турбулентного перемешивания 24 и транспортной зоны 25), а распределитель 18 верхней своей плоскостью размещен на уровне границы фаз (26-23) “нефть 26 - высококонцентрированная эмульсия 23” (т.е. на границе зоны накопления уловленной нефти 26 и зоны турбулентного перемешивания 24) (фиг.1).
В нижней части посередине отстойника 11 (фиг.1, 3) размещена трубчатая сборная дырчатая система для удаления осадка, которая представляет собой (фиг.5) напорный трубопровод-коллектор 27 с отверстиями 28, расположенными снизу коллектора в шахматном порядке и под углом не более 30° к вертикальной оси коллектора 27. Выше и с двух сторон коллектора 27 размещена система смыва (фиг.1, 3) для смыва накопившегося осадка со дна отстойника 11, которая выполнена (фиг.6) в виде симметрично расположенных напорных равноплечных телескопических трубопроводов-коллекторов 29 с соплами 30, направленными в сторону сборной дырчатой системы - трубопровода коллектора с отверстиями 27. Сопла 30 установлены перпендикулярно к телескопическим коллекторам 29 и направлены в сторону трубчатого дырчатого коллектора 27, при этом ось каждого сопла совпадает с перпендикулярной линией, соединяющей центр окружности сопла 30 на месте его установки к телескопическому коллектору 29 с точкой пересечения этой линии с осью трубчатого дырчатого коллектора 27.
В нижней части буферной секции 16 отстойника 11 также размещены трубчатая сборная дырчатая система 31 и система смыва с соплами 32, аналогичными по конструкции выше описанным.
В верхней части отстойника 11 расположены нефтесборники 33 и 34 с патрубками 33’ и 34’ для отвода уловленной нефти.
Для сбора и удаления очищенной воды буферная секция 16 отстойника 11 снабжена дугообразным равноплечим трубчатым дырчатым коллектором 35 и дугообразным отбойником 36 (фиг.1, 2, 7). Коллектор 35 расположен в торцевой части буферной зоны выше горизонтальной оси отстойника 11 на расстоянии от торца не менее 0,3 его диаметра. Коллектор 35 и отбойник 36 (фиг.2) имеют радиус кривизны, совпадающий с радиусом сферического торца 37 отстойника 11. Коллектор 35 выполнен (фиг.7) дугообразным с отверстиями 38, расположенными сверху в шахматном порядке под углом не более 30° к вертикальной оси коллектора. Дугообразный отбойник 36 верхним своим концом наглухо прикреплен к торцу 37 отстойника 11 над коллектором 35 на расстоянии 0,5 диаметра коллектора, а другой конец отбойника 36 расположен ниже горизонтальной оси отстойника 11 на 0,12-0,14 диаметра отстойника.
Коллектор 35 и отбойник 36 обеспечивают равномерный сбор очищенной воды по живому сечению буферной секции 16 отстойника 11, при этом отбойник 36 также способствует гашению придонных потоков, фиксации в буферной секции 16 объемов дополнительного отстаивания и накопления осадка.
Устройство работает следующим образом. Сточная вода (НСВ), содержащая плавающую и эмульгированную нефть и механические примеси по трубопроводу 1 под напором подается через напорное трубчатое распределительное кольцо 2, в гидроциклоны 3 (например, шесть гидроциклонов, но как минимум два гидроциклона). В гидроциклонах 3 осуществляется гидродинамическая обработка НСВ в поле центробежных массовых, а также поверхностных сил, в результате чего разрушаются бронирующие оболочки на частицах (каплях, глобулах) нефти и агрегаты из механических примесей, происходит укрупнение капель нефти, увеличивается монодисперсность внутренней нефтяной фазы эмульсии, а также происходит разделение НСВ на два потока эмульсии: поток из верхних сливов 5 гидроциклонов 3 поступает в цилиндрические камеры 7, а поток из нижних сливов 6 в цилиндрические камеры 8. Потоки эмульсии поступают в цилиндрические камеры 7 и 8 в виде закрученных струй, при этом увеличивается время гидродинамической обработки эмульсии в закрученном поле массовых, а также поверхностных сил, энергия которых используется для наиболее полной реализации всех стадий механизма разрушения нефтяной эмульсии (деформация и разрушение бронирующих оболочек на глобулах нефти; сближение, столкновение капель; слияние и укрупнение (коалесценция) капель; концентрация, осаждение капель; выделение дисперсной фазы в виде сплошной фазы - расслоение, разделение эмульсии на нефть и воду) и, как следствие, повышается эффективность очистки НСВ. Далее из цилиндрических камер 7 поток эмульсии поступает в напорное трубчатое сборное кольцо 9, а далее по трубопроводу 39 в распределитель 17, и из него в виде равномерно распределенного потока в слой высококонцентрированной по нефти эмульсии 23 (т.е. в зону турбулентного перемешивания 24), где происходит интенсивная коалесценция капель нефти, переход укрупнившихся капель нефти в слой уловленной нефти 26, контактная очистка НСВ от нефти. Поток эмульсии из цилиндрических камер 8 поступает в напорное трубчатое сборное кольцо 10 и далее по трубопроводу 40 в распределитель 18, а из него в виде равномерно распределенного потока непосредственно у нижней поверхности слоя нефти 26, т.е. в зоне турбулентного перемешивания 24. Потоки, выходящие из распределителей 17 и 18, интенсивно перемешиваются в слоях высококонцентрированной по нефти 23 и нефти 26, что также повышает эффективность контактной очистки НСВ. При этом в слое высококонцентрированной эмульсии 23 в режиме турбулентного перемешивания происходит интенсивная коалесценция нефтяных капель, переход их в слой уловленной нефти 26. Уловленная нефть по мере накопления отводится через нефтесборники 33 и патрубки 33’.
Для удаления накопленного осадка со дна отстойника 11 в напорную систему смыва 29 по трубопроводу 41 подается под напором вода, которая, вытекая из сопел 30, смывает осадок к сборной дырчатой системе 27, далее смытый осадок по трубопроводу 42 отводится в осадконакопитель.
Мелкодисперсные частицы нефти, вынесенные потоком воды транспортной зоны 25 из рабочей секции 15, укрупняются в слое коалесцирующей загрузки 12 и всплывает в буферной секции 16, накапливается на верхней части этой секции, а далее удаляется через нефтесборник 34 и патрубок 34’.
Очищенная вода удаляется из буферной секции 16 через коллектор 35, отбойник 36 и патрубка 43.
Достоинствами предлагаемого устройства являются высокий эффект очистки и высокая удельная производительность; комплексная гидродинамическая обработка НСВ, совмещенная с интенсивной контактной очисткой; равномерное распределение потока очищаемой НСВ, равномерный сбор очищенной воды и осадка; гидродинамическое разрушение промежуточного слоя и исключение формирования этого слоя, достаточно полное и быстрое удаление осадка при полном исключении ручного труда и простоя установок очистки, возможность удаления осадка в любое время года; улучшение условия эксплуатации устройства очистки НСВ; компактность устройства и высокоиндустриальность его в изготовлении (блок полного заводского изготовления) и монтаже, высокая экономичность; дает возможность для создания и реализации эффективной технологии очистки НСВ при наименьших материальных и энергетических затратах.
Claims (1)
- Устройство для очистки нефтесодержащих сточных вод, включающее гидроциклон с патрубками подвода исходной воды, отвода верхнего и нижнего сливов, цилиндрические камеры на выходе верхнего и нижнего сливов гидроциклона, отстойник, снабженный перегородкой, не доходящей до верхней его части, и перегородкой, не доходящей до нижней его части, делящими отстойник на рабочую и буферную секции, в верхней части рабочей секции отстойника расположены распределительные устройства для воды из верхнего и нижнего сливов гидроциклона, патрубки для отвода нефти, очищенной воды и осадка, отличающееся тем, что оно снабжено не менее чем двумя гидроциклонами, объединенными напорным трубчатым кольцом распределения исходной воды, цилиндрические камеры гидроциклонов снабжены напорными кольцами сбора верхнего и нижнего сливов, установленными на выходе соответствующих камер, нижняя часть отстойника снабжена по центру трубчатым дырчатым коллектором для сбора и удаления осадка с отверстиями, расположенными снизу в шахматном порядке под углом не более 30° к его вертикальной оси, а выше коллектора с двух его сторон симметрично расположены трубчатые телескопические равноплечие коллекторы, снабженные соплами, при этом сопла установлены перпендикулярно телескопическим коллекторам и направлены в сторону трубчатого дырчатого коллектора, при этом ось каждого сопла совпадает с перпендикулярной линией, соединяющей центр окружности сопла на месте его установки к телескопическому коллектору с точкой пересечения этой линии с осью трубчатого дырчатого коллектора; пространство между вертикальными перегородками снабжено гидродинамической крупнозернистой гидрофобной фильтрующей загрузкой; рабочая секция отстойника снабжена трубчатыми дырчатыми коллекторами-распределителями нижнего и верхнего сливов гидроциклона, размещенными соответственно друг над другом, при этом распределитель верхнего слива верхней своей плоскостью расположен на уровне границ раздела фаз "вода - высококонцентрированная эмульсия", а распределитель нижнего слива верхней своей плоскостью расположен на границе раздела фаз "нефть - высококонцентрированная эмульсия", при этом отверстия распределителей расположены в верхней части ответвлений распределителей в шахматном порядке и под углом не более 45° к вертикальной оси ответвления; отстойник снабжен также трубчатым дугообразным равноплечим дырчатым коллектором и дугообразным отбойником, расположенными в торце буферной секции по всей ширине и выше горизонтальной оси отстойника на расстоянии не менее 0,3 его диаметра и выполненными с радиусом кривизны, равным радиусу кривизны сферического торца отстойника, при этом отверстия расположены в верхней части указанного коллектора в шахматном порядке под углом не менее 30° к вертикальной его оси, а дугообразный отбойник верхним своим концом наглухо прикреплен к торцу отстойника над коллектором на расстоянии 0,5 диаметра коллектора, а другой конец отбойника расположен ниже горизонтальной оси отстойника на 0,12-0,14 его диаметра.
Priority Applications (1)
| Application Number | Priority Date | Filing Date | Title |
|---|---|---|---|
| RU2003132813/15A RU2253623C1 (ru) | 2003-11-04 | 2003-11-04 | Устройство для очистки нефтесодержащих сточных вод |
Applications Claiming Priority (1)
| Application Number | Priority Date | Filing Date | Title |
|---|---|---|---|
| RU2003132813/15A RU2253623C1 (ru) | 2003-11-04 | 2003-11-04 | Устройство для очистки нефтесодержащих сточных вод |
Publications (1)
| Publication Number | Publication Date |
|---|---|
| RU2253623C1 true RU2253623C1 (ru) | 2005-06-10 |
Family
ID=35834484
Family Applications (1)
| Application Number | Title | Priority Date | Filing Date |
|---|---|---|---|
| RU2003132813/15A RU2253623C1 (ru) | 2003-11-04 | 2003-11-04 | Устройство для очистки нефтесодержащих сточных вод |
Country Status (1)
| Country | Link |
|---|---|
| RU (1) | RU2253623C1 (ru) |
Cited By (4)
| Publication number | Priority date | Publication date | Assignee | Title |
|---|---|---|---|---|
| RU2303002C1 (ru) * | 2005-12-15 | 2007-07-20 | Федеральное государственное образовательное учреждение высшего профессионального образования "Казанский государственный архитектурно-строительный университет" ФГОУ ВПО КГАСУ | Устройство для очистки нефтесодержащих сточных вод |
| RU2313493C1 (ru) * | 2006-07-24 | 2007-12-27 | Федеральное государственное образовательное учреждение высшего профессионального образования Казанский государственный архитектурно-строительный университет | Устройство для очистки нефтесодержащих сточных вод |
| RU2506230C1 (ru) * | 2012-10-22 | 2014-02-10 | Открытое акционерное общество "Татнефть" имени В.Д. Шашина | Устройство для очистки нефтесодержащих сточных вод |
| RU212832U1 (ru) * | 2022-05-26 | 2022-08-11 | Общество с ограниченной ответственностью "Электротехническая компания ЭИП" | Нефтеотделитель |
Citations (2)
| Publication number | Priority date | Publication date | Assignee | Title |
|---|---|---|---|---|
| SU1699941A1 (ru) * | 1989-12-25 | 1991-12-23 | Предприятие П/Я М-5478 | Устройство дл очистки нефтесодержащих сточных вод |
| RU2189360C2 (ru) * | 2000-05-23 | 2002-09-20 | Казанская государственная архитектурно-строительная академия | Устройство для очистки нефтесодержащих сточных вод |
-
2003
- 2003-11-04 RU RU2003132813/15A patent/RU2253623C1/ru not_active IP Right Cessation
Patent Citations (2)
| Publication number | Priority date | Publication date | Assignee | Title |
|---|---|---|---|---|
| SU1699941A1 (ru) * | 1989-12-25 | 1991-12-23 | Предприятие П/Я М-5478 | Устройство дл очистки нефтесодержащих сточных вод |
| RU2189360C2 (ru) * | 2000-05-23 | 2002-09-20 | Казанская государственная архитектурно-строительная академия | Устройство для очистки нефтесодержащих сточных вод |
Cited By (4)
| Publication number | Priority date | Publication date | Assignee | Title |
|---|---|---|---|---|
| RU2303002C1 (ru) * | 2005-12-15 | 2007-07-20 | Федеральное государственное образовательное учреждение высшего профессионального образования "Казанский государственный архитектурно-строительный университет" ФГОУ ВПО КГАСУ | Устройство для очистки нефтесодержащих сточных вод |
| RU2313493C1 (ru) * | 2006-07-24 | 2007-12-27 | Федеральное государственное образовательное учреждение высшего профессионального образования Казанский государственный архитектурно-строительный университет | Устройство для очистки нефтесодержащих сточных вод |
| RU2506230C1 (ru) * | 2012-10-22 | 2014-02-10 | Открытое акционерное общество "Татнефть" имени В.Д. Шашина | Устройство для очистки нефтесодержащих сточных вод |
| RU212832U1 (ru) * | 2022-05-26 | 2022-08-11 | Общество с ограниченной ответственностью "Электротехническая компания ЭИП" | Нефтеотделитель |
Similar Documents
| Publication | Publication Date | Title |
|---|---|---|
| US7722763B2 (en) | Purification and separation system for a fluid flow stream | |
| KR100992430B1 (ko) | 침전 장치 및 이를 포함하는 하ㆍ폐수 처리 장치 | |
| CA2697333A1 (en) | Sedimentation basin for sewage treatment plants | |
| RU2257352C1 (ru) | Устройство для очистки нефтесодержащих сточных вод | |
| RU2253623C1 (ru) | Устройство для очистки нефтесодержащих сточных вод | |
| CN110615551B (zh) | 污水处理系统及利用其进行污水处理的方法 | |
| CN204824405U (zh) | 泥砂分离循环利用装置 | |
| CN116986769B (zh) | 具有深度除油功能的微砂压载沉淀装置 | |
| RU2255903C1 (ru) | Устройство для очистки нефтесодержащих сточных вод | |
| US6899808B1 (en) | System for processing polluted water | |
| RU2189360C2 (ru) | Устройство для очистки нефтесодержащих сточных вод | |
| RU2313493C1 (ru) | Устройство для очистки нефтесодержащих сточных вод | |
| CN207566940U (zh) | 一种除油装置 | |
| RU2303002C1 (ru) | Устройство для очистки нефтесодержащих сточных вод | |
| KR101038684B1 (ko) | 다층 수평관 액체 침전장치 | |
| RU2006474C1 (ru) | Установка для очистки нефтесодержащих сточных вод | |
| RU155231U1 (ru) | Установка для очистки сточных вод | |
| RU2408540C1 (ru) | Устройство для очистки нефтесодержащих сточных вод | |
| US5792363A (en) | Method for removing solids from a contaminated liquid | |
| RU2170706C1 (ru) | Устройство для очистки нефтесодержащих вод (варианты) | |
| RU2227791C1 (ru) | Устройство для очистки нефтесодержащих сточных вод | |
| CN108996770B (zh) | 一种快速高效除油气浮滤池 | |
| CN114634256A (zh) | 一种处理含油污水的聚结分离装置及分离方法 | |
| RU2714347C1 (ru) | Установка для очистки нефтепромысловых сточных вод для закачки в пласт | |
| CN209128193U (zh) | 一种高速除油装置及快速高效除油气浮滤池 |
Legal Events
| Date | Code | Title | Description |
|---|---|---|---|
| MM4A | The patent is invalid due to non-payment of fees |
Effective date: 20051105 |