RU2211297C2 - Самоходная буровая установка - Google Patents
Самоходная буровая установка Download PDFInfo
- Publication number
- RU2211297C2 RU2211297C2 RU99122446A RU99122446A RU2211297C2 RU 2211297 C2 RU2211297 C2 RU 2211297C2 RU 99122446 A RU99122446 A RU 99122446A RU 99122446 A RU99122446 A RU 99122446A RU 2211297 C2 RU2211297 C2 RU 2211297C2
- Authority
- RU
- Russia
- Prior art keywords
- platform
- hydraulic
- self
- drilling rig
- telescopic
- Prior art date
Links
- 238000005553 drilling Methods 0.000 title claims abstract description 24
- 238000005096 rolling process Methods 0.000 claims description 10
- 239000003351 stiffener Substances 0.000 claims description 9
- 230000007246 mechanism Effects 0.000 claims description 7
- 238000009434 installation Methods 0.000 claims description 6
- 238000006073 displacement reaction Methods 0.000 claims 1
- 238000005065 mining Methods 0.000 abstract description 2
- 239000000126 substance Substances 0.000 abstract 1
- 239000004020 conductor Substances 0.000 description 2
- 239000011521 glass Substances 0.000 description 2
- 230000002146 bilateral effect Effects 0.000 description 1
- 238000010586 diagram Methods 0.000 description 1
Images
Landscapes
- Earth Drilling (AREA)
Abstract
Изобретение относится к горной промышленности и предназначено для бурения глубоких скважин на материке и шельфах. Сущность изобретения заключается в том, что ходовое устройство установки выполнено из четырех блок-модулей гидродвижителей, параллельно расположенных в продольных ребрах жесткости платформы, поворотное устройство размещено у середины одного из ребер жесткости, ротор выполнен с шарнирным венцом с возможностью его вращения посредством четырех шестеренных маховиков, шарнирно соединенных с двусторонними штоками силовых гидроцилиндров, шарнирно закрепленных на платформе, при этом в центре платформы над ротором в стаканах-кондукторах вертикально установлены выполненные параллельными и перевернутыми телескопические гидравлические подъемники, соединенные между собой балкой, на которой закреплен вертлюг, на боковой плоскости подъемника закреплена консольная балка, на которой через поворотный круг закреплена телескопическая стрела гидрокрана, на торце которой размещен автоматический ключ разъема буровых труб, в зоне действия которого установлен подсвечник. Изобретение позволяет повысить производительность труда и обеспечить повышенную проходимость установки. 8 ил.
Description
Изобретение относится к области горной промышленности и предназначено для бурения глубоких скважин на материке и шельфах, а именно к самоходным буровым установкам.
Наиболее близким аналогом по отношению к заявленному изобретению является патент СССР 1838565 А3, кл. Е 21 В 7/02, 1993, согласно которому самоходная буровая установка содержит платформу с ходовым устройством и размещенный в центре платформы ротор, механизм перемещения, а также телескопические гидравлические подъемники для осуществления спускоподъемных операций.
Недостатком прототипа являются: небезопасный метод спускоподъемных операций, выполняемых лебедкой, с возможным обрывом троса; ограниченные возможности перемещения по бездорожью.
Цель изобретения устранить отмеченные недостатки, снизить себестоимость бурения, механизировать подачу буровых труб, повысить производительность труда, а также обеспечить повышение проходимости установки.
Поставленная цель достигается тем, что cамоходная буровая установка, содержащая платформу с ходовым устройством и размещенный в центре платформы ротор, механизм перемещения, телескопические гидравлические подъемники для осуществления спускоподъемных операций, при этом ходовое устройство выполнено из четырех блок-модулей гидродвижителей, параллельно расположенных в продольных ребрах жесткости платформы, каждый из которых содержит накатную балку, размещенную между роликами в ребре жесткости, на накатной балке закреплены подъемники с опорными плитами, механизм перемещения закреплен между ребрами жесткости и выполнен в виде силового гидроцилиндра, а его шток соединен с накатной балкой, для изменения направления перемещения, установка имеет поворотное устройство, которое размещено у середины одного из ребер жесткости, при этом корпус и накатная балка поворотного устройства изогнуты по кривой, образованной радиусом, проведенным из центра вертикальной оси подъемника, закрепленного на боковой плоскости платформы, до поворотного устройства, а ротор выполнен с шарнирным венцом с возможностью его вращения посредством четырех шестеренных маховиков, шарнирно соединенных с двусторонними штоками силовых гидроцилиндров, шарнирно закрепленных на платформе, при этом в центре платформы, над ротором, в стаканах-кондукторах вертикально и параллельно установлены перевернутые телескопические гидравлические подъемники, соединенные между собой балкой, на которой закреплен вертлюг, на боковой плоскости телескопического гидравлического подъемника закреплена консольная балка, на которой, через поворотный круг, закреплена телескопическая стрела гидрокрана, на торце которой размещен автоматический ключ разъема буровых труб, в зоне действия которого установлен подсвечник, привод установки размещен на блоке буровых насосов и содержит насосно-регулирующий агрегат, соединенный трубопроводом с гидромеханизмами.
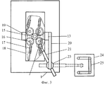
Изобретение поясняется чертежами, где:
- фиг. 1 - вид самоходной буровой установки спереди,
- фиг. 2 - вид самоходной буровой установки сбоку,
- фиг. 3 - вид самоходной буровой установки сверху,
- фиг. 4 - ходовое устройство самоходной буровой установки,
- фиг. 5 - разрез по А-А (фиг. 1),
- фиг. 6 - разрез по Б-Б (фиг. 1),
- фиг. 7 - вид поворотного устройства самоходной буровой установки сбоку,
- фиг. 8 - схема увеличения площади опоры самоходной буровой установки для прохождения по болотам тундры.
- фиг. 1 - вид самоходной буровой установки спереди,
- фиг. 2 - вид самоходной буровой установки сбоку,
- фиг. 3 - вид самоходной буровой установки сверху,
- фиг. 4 - ходовое устройство самоходной буровой установки,
- фиг. 5 - разрез по А-А (фиг. 1),
- фиг. 6 - разрез по Б-Б (фиг. 1),
- фиг. 7 - вид поворотного устройства самоходной буровой установки сбоку,
- фиг. 8 - схема увеличения площади опоры самоходной буровой установки для прохождения по болотам тундры.
Самоходная буровая установка содержит платформу 1 с ходовым устройством (фиг. 1) и размещенный в ее центре ротор 15 (фиг. 3), механизм перемещения, телескопические гидравлические подъемники 19 для осуществления спускоподъемных операций. Ходовое устройство выполнено из четырех блок-модулей гидродвижителей, параллельно расположенных в продольных ребрах жесткости 2 и 3 (фиг. 4, 5, 6) платформы 1, каждый из которых содержит накатную балку 4 (фиг. 4, 5, 6), размещенную между роликами 5. В ребре жесткости на накатной балке 4 закреплены подъемники 6 с опорными плитами 10. Механизм перемещения 7 и 8 закреплен между ребрами жесткости и выполнен в виде силового гидроцилиндра, а его шток соединен с накатной балкой 4. Для изменения направления перемещения установка имеет поворотное устройство 11 (фиг. 4, 7), которое размещено у середины одного из ребер жесткости, при этом корпус и накатная балка поворотного устройства 11 изогнуты по кривой, образованной радиусом, проведенным из центра вертикальной оси подъемника 12 с опорной площадкой, закрепленного на боковой плоскости платформы, до поворотного устройства, а ротор 15 выполнен с шарнирным венцом с возможностью его вращения посредством четырех шестеренных маховиков 16 (фиг.3), шарнирно соединенных с двусторонними штоками силовых гидроцилиндров 17, шарнирно закрепленных на платформе. При этом в центре платформы, над ротором, в стаканах-кондукторах 26 (фиг.1, 2) вертикально установлены выполненные параллельными и перевернутыми телескопические гидравлические подъемники 19 (фиг. 1, 2, 3), соединенные между собой балкой 27 (фиг.1), на которой закреплен ветлюг 28. На боковой плоскости телескопического гидравлического подъемника закреплена консольная балка 20 (фиг.1, 2, 3), на которой через поворотный круг 23 закреплена телескопическая стрела гидрокрана 21, на торце которой размещен автоматический ключ разъема буровых труб 22, в зоне действия которого установлен подсвечник 25 (фиг. 3). Привод самоходной буровой установки размещен на блоке буровых насосов (не показан) и содержит насосно-регулирующий агрегат, соединенный трубопроводом с гидромеханизмами. Буровая установка самоходом, по пандусу, поднимается на готовую эстакаду 29.
Ходовое устройство самоходной буровой установки работает по принципу качения ролика 5 по накатной балке 4 (фиг. 4,5,6). Движение осуществляют силовые гидроцилиндры 7, 8 размещенные на четырех блок-модулях гидродвижителей, параллельно расположенных в продольных ребрах жесткости платформы 1. Штоки силовых гидроцилиндров 7, 8 соединены с накатными балками 4. Блок-модули гидродвижителей перемещаются парами - двумя крайними и двумя средними. На фиг. 5 и 6 изображено исходное положение перед началом движения. Когда опорные плиты 10 на грунт не опираются (фиг. 5), гидроцилиндры 7 способны перемещать только накатные балки 4 с подъемниками 6. Этот цикл движения называется подготовительным. Средние блок-модули 3 (фиг. 6) опираются на грунт и при возвратно-поступательном действии, рабочего цикла, механизмов перемещения 8, соответственно, перемещают платформу на расстояние равное длине их штоков. Смена направления движения выполняется поворотным устройством 11 под воздействием силового гидроцилиндра 9 и подъемника 12 (фиг. 4,7). При этом все подъемники 6 поднимаются, т.е. средние блок-модули 3 и крайние блок-модули 2 не опираются на грунт. Платформа опирается на подъемники поворотного устройства 11 и подъемник 12. Размер площади опорных плит 10 предусматривается в период согласования задания на проектирование установки. Для преодоления заболоченных путей необходимо на опорных плитах 10 закрепить пружины 13, соединенные с сеткой из троса 14.
Вращение ротора 15 выполняют посредством шарнирно закрепленных на платформе четырех двусторонних силовых гидроцилиндров 17, шарнирно соединенных посредством штоков с шестеренными маховиками 16 (фиг. 3)
Спускоподъемные операции выполняют перевернутые гидравлические телескопические подъемники 19, закрепленные в стаканах-кондукторах 26. Подъемники 19 соединены между собой балкой 27, на которой закреплен вертлюг 28 и балкой 18 (фиг. 1, 2). На боковой поверхности гидравлического телескопического подъемника 19 закреплена консольная балка 20, на которой, через поворотный круг 23, закреплена телескопическая стрела гидрокрана 21, на торце которой размещен автоматический ключ разъема буровых труб 22. В зоне действия автоматического ключа разъема буровых труб, на фундаменте 24, установлен подсвечник 25. Перемещение буровых труб и буровой штанги между подсвечником 25 и буровой установкой выполняется в автоматическом режиме.
Спускоподъемные операции выполняют перевернутые гидравлические телескопические подъемники 19, закрепленные в стаканах-кондукторах 26. Подъемники 19 соединены между собой балкой 27, на которой закреплен вертлюг 28 и балкой 18 (фиг. 1, 2). На боковой поверхности гидравлического телескопического подъемника 19 закреплена консольная балка 20, на которой, через поворотный круг 23, закреплена телескопическая стрела гидрокрана 21, на торце которой размещен автоматический ключ разъема буровых труб 22. В зоне действия автоматического ключа разъема буровых труб, на фундаменте 24, установлен подсвечник 25. Перемещение буровых труб и буровой штанги между подсвечником 25 и буровой установкой выполняется в автоматическом режиме.
Изобретение позволяет снизить себестоимость бурения, механизировать подачу буровых труб и повысить производительность труда.
Claims (1)
- Самоходная буровая установка, содержащая платформу с ходовым устройством и размещенный в центре платформы ротор, механизм перемещения, телескопические гидравлические подъемники для осуществления спускоподъемных операций, отличающаяся тем, что ходовое устройство выполнено из четырех блок-модулей гидродвижителей, параллельно расположенных в продольных ребрах жесткости платформы, каждый из которых содержит накатную балку, размещенную между роликами в ребре жесткости, на накатной балке закреплены подъемники с опорными плитами, механизм перемещения закреплен между ребрами жесткости и выполнен в виде силового гидроцилиндра, а его шток соединен с накатной балкой для изменения направления перемещения, установка имеет поворотное устройство, которое размещено у середины одного из ребер жесткости, при этом корпус и накатная балка поворотного устройства изогнуты по кривой, образованной радиусом, проведенным из центра вертикальной оси подъемника, закрепленного на боковой плоскости платформы, до поворотного устройства, а ротор выполнен с шарнирным венцом с возможностью его вращения посредством четырех шестеренных маховиков, шарнирно соединенных с двусторонними штоками силовых гидроцилиндров, шарнирно закрепленных на платформе, при этом в центре платформы, над ротором, в стаканах-кондукторах вертикально и параллельно установлены перевернутые телескопические гидравлические подъемники, соединенные между собой балкой, на которой закреплен вертлюг, на боковой плоскости телескопического гидравлического подъемника закреплена консольная балка, на которой через поворотный круг закреплена телескопическая стрела гидрокрана, на торце которой размещен автоматический ключ разъема буровых труб, в зоне действия которого установлен подсвечник, привод установки размещен на блоке буровых насосов и содержит насосно-регулирующий агрегат, соединенный трубопроводом с гидромеханизмами.
Priority Applications (1)
| Application Number | Priority Date | Filing Date | Title |
|---|---|---|---|
| RU99122446A RU2211297C2 (ru) | 1999-10-26 | 1999-10-26 | Самоходная буровая установка |
Applications Claiming Priority (1)
| Application Number | Priority Date | Filing Date | Title |
|---|---|---|---|
| RU99122446A RU2211297C2 (ru) | 1999-10-26 | 1999-10-26 | Самоходная буровая установка |
Publications (2)
| Publication Number | Publication Date |
|---|---|
| RU99122446A RU99122446A (ru) | 2001-08-10 |
| RU2211297C2 true RU2211297C2 (ru) | 2003-08-27 |
Family
ID=29245141
Family Applications (1)
| Application Number | Title | Priority Date | Filing Date |
|---|---|---|---|
| RU99122446A RU2211297C2 (ru) | 1999-10-26 | 1999-10-26 | Самоходная буровая установка |
Country Status (1)
| Country | Link |
|---|---|
| RU (1) | RU2211297C2 (ru) |
Cited By (6)
| Publication number | Priority date | Publication date | Assignee | Title |
|---|---|---|---|---|
| RU2347881C2 (ru) * | 2006-08-31 | 2009-02-27 | Георгий Леонидович Сафонов | Устройство для кустового бурения |
| RU2356748C2 (ru) * | 2006-09-05 | 2009-05-27 | Гергий Леонидович Сафонов | Вездеход-амфибия |
| RU2363650C2 (ru) * | 2006-08-30 | 2009-08-10 | Георгий Леонидович Сафонов | Многофункциональный телескопический гидроподъемник мостовой и ходовое устройство многофункционального телескопического гидроподъемника мостового |
| RU2385834C1 (ru) * | 2008-11-17 | 2010-04-10 | Георгий Леонидович Сафонов | Самоходный многофункциональный кран для обустройства села |
| RU2539477C1 (ru) * | 2013-10-31 | 2015-01-20 | Федеральное государственное бюджетное образовательное учреждение высшего профессионального образования "Тюменский государственный нефтегазовый университет" (ТюмГНГУ) | Спускоподъемный комплекс буровой установки |
| RU2539476C1 (ru) * | 2013-10-31 | 2015-01-20 | Федеральное государственное бюджетное образовательное учреждение высшего профессионального образования "Тюменский государственный нефтегазовый университет" (ТюмГНГУ) | Буровая установка |
Citations (4)
| Publication number | Priority date | Publication date | Assignee | Title |
|---|---|---|---|---|
| SU1587165A1 (ru) * | 1988-10-26 | 1990-08-23 | Сургутское отделение Западно-Сибирского научно-исследовательского и проектно-конструкторского института технологии глубокого разведочного бурения | Мобильный буровой комплекс |
| SU1710688A1 (ru) * | 1990-03-28 | 1992-02-07 | Научно-Технический Центр "Эврика" | Мобильный буровой комплекс |
| RU2004753C1 (ru) * | 1992-09-03 | 1993-12-15 | Ямальское вышкомонтажное управление Треста "Северспецбургаз" | Бурова установка |
| US5921336A (en) * | 1997-09-16 | 1999-07-13 | Parker Drilling Company | Walking substructure device |
-
1999
- 1999-10-26 RU RU99122446A patent/RU2211297C2/ru active
Patent Citations (4)
| Publication number | Priority date | Publication date | Assignee | Title |
|---|---|---|---|---|
| SU1587165A1 (ru) * | 1988-10-26 | 1990-08-23 | Сургутское отделение Западно-Сибирского научно-исследовательского и проектно-конструкторского института технологии глубокого разведочного бурения | Мобильный буровой комплекс |
| SU1710688A1 (ru) * | 1990-03-28 | 1992-02-07 | Научно-Технический Центр "Эврика" | Мобильный буровой комплекс |
| RU2004753C1 (ru) * | 1992-09-03 | 1993-12-15 | Ямальское вышкомонтажное управление Треста "Северспецбургаз" | Бурова установка |
| US5921336A (en) * | 1997-09-16 | 1999-07-13 | Parker Drilling Company | Walking substructure device |
Cited By (6)
| Publication number | Priority date | Publication date | Assignee | Title |
|---|---|---|---|---|
| RU2363650C2 (ru) * | 2006-08-30 | 2009-08-10 | Георгий Леонидович Сафонов | Многофункциональный телескопический гидроподъемник мостовой и ходовое устройство многофункционального телескопического гидроподъемника мостового |
| RU2347881C2 (ru) * | 2006-08-31 | 2009-02-27 | Георгий Леонидович Сафонов | Устройство для кустового бурения |
| RU2356748C2 (ru) * | 2006-09-05 | 2009-05-27 | Гергий Леонидович Сафонов | Вездеход-амфибия |
| RU2385834C1 (ru) * | 2008-11-17 | 2010-04-10 | Георгий Леонидович Сафонов | Самоходный многофункциональный кран для обустройства села |
| RU2539477C1 (ru) * | 2013-10-31 | 2015-01-20 | Федеральное государственное бюджетное образовательное учреждение высшего профессионального образования "Тюменский государственный нефтегазовый университет" (ТюмГНГУ) | Спускоподъемный комплекс буровой установки |
| RU2539476C1 (ru) * | 2013-10-31 | 2015-01-20 | Федеральное государственное бюджетное образовательное учреждение высшего профессионального образования "Тюменский государственный нефтегазовый университет" (ТюмГНГУ) | Буровая установка |
Similar Documents
| Publication | Publication Date | Title |
|---|---|---|
| EP0048076A1 (en) | Mobile crane structure | |
| RU2378482C2 (ru) | Кустовая буровая установка | |
| CN110552703B (zh) | 一种应用于竖井施工的管片安装系统 | |
| RU2211297C2 (ru) | Самоходная буровая установка | |
| CN106948826A (zh) | 一种多功能巷道修复机 | |
| CN202808294U (zh) | 重物举升及高空作业设备 | |
| JP2000502764A (ja) | デリック用巻上げシステムにおけるヨーク関連装置 | |
| CN204625014U (zh) | 斜直井钻机防喷器液压吊装装置 | |
| US3752326A (en) | Offshore oil and gas well drilling rig | |
| RU2601880C1 (ru) | Шагающее устройство для подводной добычи полезных ископаемых | |
| CN110258347B (zh) | 一种用于步履式架桥机纵移的跨越式转换支腿 | |
| RU2109915C1 (ru) | Агрегат для спуска и подъема непрерывных стальных труб | |
| RU2019664C1 (ru) | Бурильно-крановая машина | |
| CN201196024Y (zh) | 可整体移动的陆上石油钻机 | |
| JPH04226298A (ja) | 車両のための昇降台 | |
| SU1710687A1 (ru) | Передвижна бурильна установка | |
| RU99122446A (ru) | Самоходная буровая установка | |
| JPH02125022A (ja) | ケーソン用掘削機 | |
| SU640674A3 (ru) | Устройство дл разработки грунта | |
| KR880003075A (ko) | 자주식(自走式), 유압식 만능 소형 굴삭기 | |
| CN115341912A (zh) | 用于极限空间内的盾构分体始发装置 | |
| CN114852859B (zh) | 一种移动式石油管吊 | |
| US2954131A (en) | Oil well hoist | |
| RU2347881C2 (ru) | Устройство для кустового бурения | |
| CN112627863A (zh) | 一种隧道拱架安装设备 |