RU2191299C2 - Самостопорящееся резьбовое соединение - Google Patents
Самостопорящееся резьбовое соединение Download PDFInfo
- Publication number
- RU2191299C2 RU2191299C2 RU2000130829A RU2000130829A RU2191299C2 RU 2191299 C2 RU2191299 C2 RU 2191299C2 RU 2000130829 A RU2000130829 A RU 2000130829A RU 2000130829 A RU2000130829 A RU 2000130829A RU 2191299 C2 RU2191299 C2 RU 2191299C2
- Authority
- RU
- Russia
- Prior art keywords
- main
- nut
- auxiliary
- threaded
- thread
- Prior art date
Links
- 230000000694 effects Effects 0.000 abstract description 2
- 238000011089 mechanical engineering Methods 0.000 abstract description 2
- 239000000126 substance Substances 0.000 abstract 1
- 238000000034 method Methods 0.000 description 3
- 230000002730 additional effect Effects 0.000 description 2
- 230000013011 mating Effects 0.000 description 2
- 230000002269 spontaneous effect Effects 0.000 description 2
- 239000010754 BS 2869 Class F Substances 0.000 description 1
- 239000000463 material Substances 0.000 description 1
Images
Landscapes
- Mutual Connection Of Rods And Tubes (AREA)
Abstract
Изобретение относится к области машиностроения и предназначено для использования в высокоресурсных резьбовых соединениях, работающих в условиях вибраций. Самостопорящееся резьбовое соединение содержит резьбовой стержень, две гайки, вспомогательную и основную. Резьбовой стержень содержит две резьбы одинакового направления, основную и дополнительную, на которые навинчены соответствующие гайки, причем шаг вспомогательной резьбы меньше шага основной резьбы. Вспомогательная резьба расположена на конце резьбового стержня. Корпус основной гайки выполнен с внутренней полостью и продольными направляющими, на которых с возможностью продольного перемещения расположена вспомогательная гайка. Корпус снабжен также упругим элементом, один конец которого контактирует с корпусом основной гайки, а другой - со вспомогательной гайкой, когда резьбовое соединение находится в рабочем, застопоренном, состоянии. Технический результат: увеличение ресурса резьбового соединения и повышение удобства эксплуатации. 1 з.п. ф-лы, 2 ил.
Description
Предлагаемое изобретение относится к области машиностроения и предназначено для использования в высокоресурсных резьбовых соединениях, работающих в условиях вибраций.
Известна группа сомостопорящихся резьбовых соединений, содержащих болт и гайку, у которых самостопорение осуществляется за счет частичной, радиальной деформации гаек (см., например, патент США 3029856, кл. 151-21, 1965г.). При навинчивании деформированной гайки на болт она разжимается, пытаясь принять нормальную, цилиндрическую форму, при этом между витками резьбы болта и гайки возникают силы трения, которые и осуществляют самостопорение. Такие резьбовые соединения имеют существенный недостаток, заключающийся в том, что у них быстро теряются стопорные свойства при частых отвинчиваниях и завинчиваниях гайки в процессе эксплуатации за счет износа резьбы как гаек, так и болтов.
Известно резьбовое соединение "Самостопорящийся болт-гайка" (см. Япония (JР) В, заявка 2-8163, МКИ 5 F 16 В 39/30, В 23 G 5/04, 1986 г.). Данное устройство содержит болт с основной и дополнительной резьбовыми частями, причем дополнительная резьбовая часть имеет меньшие по сравнению с основной частью диаметр и шаг резьбы, при этом угол подъема винтовой линии резьбы обеих частей одинаков, и две гайки: основную и дополнительную, выполненные за одно целое.
При затяжке резьбовые части гаек смещают в осевом направлении, что вызывает деформацию витков резьбы, а в сопрягаемой детали возникает деформация растяжения. Деформации в болте и в сопрягаемой детали не превышают пределов упругости материалов этих деталей, за счет чего и осуществляется их стопорение.
Недостатком такого резьбового соединения является его малый ресурс, т.к. при частых свинчиваниях и развинчиваниях его происходит износ (срабатывание) витков резьбы, как дополнительной, так и основной, в результате чего уменьшаются продольные деформации в болте и пропадают стопорные свойства соединения.
Известна группа самостопорящихся pезьбовых соединений, содержащих болт и гайку, у которых стопорящим элементом является пружина, расположенная внутри корпуса гайки, и навинчиваемая с натягом вместе с гайкой на витки резьбы болта (см., например, а.с. СССР 572595, кл. F 16 В 39/34, 1973г.).
Недостатком таких устройств является потеря ими стопорных свойств за счет износа витков резьбы и пружины, перемещаемой с натягом по резьбе болта, при отвинчиваниях и завинчиваниях гаек в эксплуатации.
Известно резьбовое соединение "Гайка и Болт" (см. Великобритания, заявка 1444885, МКИ F 16 D) 39/16, 39/06, 35/00, 1975г.).
Устройство содержит болт, на резьбовом конце которого предусмотрен дополнительный резьбовой участок меньшего диаметра и с противоположным направлением резьбы. Дополнительная гайка с противоположным направлением резьб навинчивается на дополнительный резьбовой участок болта так, что контактирует непосредственно или через промежуточную деталь с основной гайкой. В результате этого любое ослабление основной гайки вызывает затяжку дополнительной гайки, за счет чего и происходит стопорение.
Однако такое соединение имеет существенные недостатки, заключающиеся в том, что в эксплуатации, при частых свинчиваниях и развинчиваниях соединения, неудобно устанавливать две гайки с разным направлением резьб, и, кроме того, такое соединение невозможно установить при одностороннем доступе к нему со стороны болта.
Задачей предлагаемого изобретения является увеличение ресурса резьбового соединения и повышение удобства его в эксплуатации.
Поставленная задача достигается тем, что в самостопорящемся резьбовом соединении, содержащем резьбовой стержень с основной и вспомогательной резьбовыми частями и две гайки, основную и вспомогательную, корпус основной гайки выполнен с внутренней полостью, упорами и продольными направляющими, параллельными оси резьбы гайки. Во внутренней полости корпуса на продольных направляющих с возможностью осевого перемещения установлены вспомогательная гайка и упругий элемент, например пружина, одним концом контактирующий с корпусом основной гайки, а другим - с вспомогательной гайкой, когда соединение находится в рабочем, застопоренном, состоянии. Когда соединение находится в нерабочем, расстопоренном, состоянии, упругий элемент одним концом контактирует также с корпусом основной гайки, а другим - с упорами, при этом упругий элемент находится в предварительно сжатом состоянии.
По сравнению с известными техническими решениями предложенное отличается тем, что наличие упругого элемента, придающего стопорящие свойства вспомогательной гайке за счет приложения к ней усилия только в том случае, когда резьбовое соединение в рабочем, застопоренном, состоянии, то есть полностью закрученном, и не требующим для обеспечения стопорения дополнительных действий, увеличивает ресурс и повышает удобство в эксплуатации. Соединение может быть использовано, например, в винтовых замках, требующих многократных закручиваний и раскручиваний.
Таким образом, предлагаемое изобретение соответствует условию изобретательского уровня.
Предлагаемое изобретение поясняется чертежом где:
на фиг. 1 изображено самостопорящееся резьбовое соединение в нерабочем состоянии;
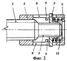
на фиг. 2 - самостопорящееся резьбовое соединение в рабочем, застопоренном, состоянии.
на фиг. 1 изображено самостопорящееся резьбовое соединение в нерабочем состоянии;
на фиг. 2 - самостопорящееся резьбовое соединение в рабочем, застопоренном, состоянии.
Самостопорящееся резьбовое соединение состоит из резьбового стержня 1 с основной резьбовой частью 2 и вспомогательной резьбовой частью 3, двух гаек, основной гайки 4 и вспомогательной гайки 5, установленной в корпусе 6 основной гайки 4, выполненном с внутренней полостью 7 и продольными направляющими 8, на которых с возможностью продольного перемещения установлена вспомогательная гайка 5. Кроме того, корпус 6 снабжен упорами 9 и упругим элементом 10.
Работает предлагаемая конструкция следующим образом.
При свинчивании резьбового соединения резьбовой стержень 1 входит в основную гайку 4 и вспомогательную гайку 5. За каждый полный оборот резьбового стержня 1 основная резьбовая часть 2 входит (вворачивается) в основную гайку 4 на величину шага основной резьбы t1, при этом за один полный оборот резьбового стержня 1 вспомогательная гайка 5 навинчивается на вспомогательную резьбовую часть 3 резьбового стержня 1 на величину шага вспомогательной резьбы t2, передвигаясь по резьбовому стержню 1 в сторону основной резьбовой части 2. При этом из-за того, что шаг основной резьбы t1 больше шага вспомогательной резьбы t2, вспомогательная гайка 5 перемещается по продольным направляющим 8 от основной гайки 4 в сторону упоров 9 и упругого элемента 10 за каждый полный оборот резьбового стержня 1 на величину Δ = t1-t2.
После полного вворачивания основной peзьбовой части 2 резьбового стержня 1 в основную гайку 4, в конце процесса свинчивания самостопорящегося peзьбового соединения, вспомогательная гайка 5, перемещаясь по продольным направляющим 8, проходит упоры 9 и снимает с них упругий элемент 10, (например, пружину), который находился в напряженном состоянии, дополнительно сжимая его. Упругий элемент 10, находясь в сжатом (напряженном) состоянии, создает осевое усилие, передаваемое через вспомогательную гайку 5 на резьбовой стержень 1, вызывая между витками резьбы резьбового стержня 1 и гаек 4 и 5 силы трения, стопорящие резьбовое соединение и предотвращающие самопроизвольное развинчивание.
После полного вворачивания основной peзьбовой части 2 резьбового стержня 1 в основную гайку 4, в конце процесса свинчивания самостопорящегося peзьбового соединения, вспомогательная гайка 5, перемещаясь по продольным направляющим 8, проходит упоры 9 и снимает с них упругий элемент 10, (например, пружину), который находился в напряженном состоянии, дополнительно сжимая его. Упругий элемент 10, находясь в сжатом (напряженном) состоянии, создает осевое усилие, передаваемое через вспомогательную гайку 5 на резьбовой стержень 1, вызывая между витками резьбы резьбового стержня 1 и гаек 4 и 5 силы трения, стопорящие резьбовое соединение и предотвращающие самопроизвольное развинчивание.
Процесс свинчивания в предлагаемом резьбовом соединении происходит без усилий, и только в конце процесса свинчивания появляется осевое усилие упругого элемента, создающее силы трения, препятствующие самопроизвольному развинчиванию соединения.
Таким образом, создана конструкция, обладающая более высокими ресурсными характеристиками, не требующая специальных дополнительных действий для осуществления стопорения соединения, достаточно только простого свинчивания, кроме того, может использоваться в соединениях с односторонним доступом.
Claims (2)
1. Самостопорящееся резьбовое соединение, содержащее резьбовой стержень с основной и вспомогательной резьбовыми частями, причем вспомогательная резьбовая часть расположена на конце резьбового стержня, и две гайки, основную и вспомогательную, навинченные на соответствующие части резьбового стержня, направления основной и вспомогательных резьб одинаковые, а шаг вспомогательной резьбы меньше шага основной резьбы, корпус основной гайки выполнен с внутренней полостью и продольными направляющими, параллельными оси резьбы гайки, на которых с возможностью продольного перемещения расположена вспомогательная гайка, кроме того, корпус снабжен упругим элементом, например пружиной, одним концом контактирующим с корпусом основной гайки, а другим - со вспомогательной гайкой, когда резьбовое соединение находится в рабочем, застопоренном состоянии, образуя за счет контактов стопорящее устройство.
2. Самостопорящееся резьбовое соединение по п.1 содержит упор, установленный на корпусе основной гайки, при этом упругий элемент одним концом контактирует с корпусом основной гайки, а вторым концом-с упором, когда резьбовое соединение в нерабочем, расстопоренном, состоянии.
Priority Applications (1)
| Application Number | Priority Date | Filing Date | Title |
|---|---|---|---|
| RU2000130829A RU2191299C2 (ru) | 2000-12-08 | 2000-12-08 | Самостопорящееся резьбовое соединение |
Applications Claiming Priority (1)
| Application Number | Priority Date | Filing Date | Title |
|---|---|---|---|
| RU2000130829A RU2191299C2 (ru) | 2000-12-08 | 2000-12-08 | Самостопорящееся резьбовое соединение |
Publications (1)
| Publication Number | Publication Date |
|---|---|
| RU2191299C2 true RU2191299C2 (ru) | 2002-10-20 |
Family
ID=20243173
Family Applications (1)
| Application Number | Title | Priority Date | Filing Date |
|---|---|---|---|
| RU2000130829A RU2191299C2 (ru) | 2000-12-08 | 2000-12-08 | Самостопорящееся резьбовое соединение |
Country Status (1)
| Country | Link |
|---|---|
| RU (1) | RU2191299C2 (ru) |
Cited By (4)
| Publication number | Priority date | Publication date | Assignee | Title |
|---|---|---|---|---|
| RU2428356C2 (ru) * | 2005-10-12 | 2011-09-10 | Эрбюс Франс | Гаечная система и стойка крепления двигателя летательного аппарата, содержащая такую систему |
| RU2553316C1 (ru) * | 2014-01-13 | 2015-06-10 | Федеральное государственное бюджетное образовательное учреждение высшего профессионального образования "Грозненский государственный нефтяной технический университет имени академика М.Д. Миллионщикова" | Стопорное резьбовое устройство |
| CN108105272A (zh) * | 2017-12-30 | 2018-06-01 | 黄继成 | 一种锁紧式联轴器 |
| RU184288U1 (ru) * | 2017-01-19 | 2018-10-22 | Федеральное государственное бюджетное научное учреждение "Федеральный исследовательский центр угля и углехимии Сибирского отделения Российской академии наук" (ФИЦ УУХ СО РАН) | Устройство для определения энергоемкости разрушения горных пород |
Citations (2)
| Publication number | Priority date | Publication date | Assignee | Title |
|---|---|---|---|---|
| SU627255A1 (ru) * | 1977-03-25 | 1978-10-05 | Московский Ордена Трудового Красного Знамени Текстильный Институт | Стопорное устройство |
| SU1409789A1 (ru) * | 1986-06-24 | 1988-07-15 | В. Г. Ардабьевский, А. М. Мурзин и В. В. Безруков | Самостопор щийс резьбовой элемент |
-
2000
- 2000-12-08 RU RU2000130829A patent/RU2191299C2/ru active
Patent Citations (2)
| Publication number | Priority date | Publication date | Assignee | Title |
|---|---|---|---|---|
| SU627255A1 (ru) * | 1977-03-25 | 1978-10-05 | Московский Ордена Трудового Красного Знамени Текстильный Институт | Стопорное устройство |
| SU1409789A1 (ru) * | 1986-06-24 | 1988-07-15 | В. Г. Ардабьевский, А. М. Мурзин и В. В. Безруков | Самостопор щийс резьбовой элемент |
Cited By (6)
| Publication number | Priority date | Publication date | Assignee | Title |
|---|---|---|---|---|
| RU2428356C2 (ru) * | 2005-10-12 | 2011-09-10 | Эрбюс Франс | Гаечная система и стойка крепления двигателя летательного аппарата, содержащая такую систему |
| US8042764B2 (en) | 2005-10-12 | 2011-10-25 | Airbus Operations Sas | Nut system and aircraft engine mounting structure comprising same |
| RU2553316C1 (ru) * | 2014-01-13 | 2015-06-10 | Федеральное государственное бюджетное образовательное учреждение высшего профессионального образования "Грозненский государственный нефтяной технический университет имени академика М.Д. Миллионщикова" | Стопорное резьбовое устройство |
| RU184288U1 (ru) * | 2017-01-19 | 2018-10-22 | Федеральное государственное бюджетное научное учреждение "Федеральный исследовательский центр угля и углехимии Сибирского отделения Российской академии наук" (ФИЦ УУХ СО РАН) | Устройство для определения энергоемкости разрушения горных пород |
| CN108105272A (zh) * | 2017-12-30 | 2018-06-01 | 黄继成 | 一种锁紧式联轴器 |
| CN108105272B (zh) * | 2017-12-30 | 2023-08-04 | 黄继成 | 一种锁紧式联轴器 |
Similar Documents
| Publication | Publication Date | Title |
|---|---|---|
| US5427488A (en) | Quick acting nut or coupling assembly | |
| RU2444655C2 (ru) | Фрикционное устройство для регулировки силы и фрикционный демпфер, содержащий такое устройство | |
| CN110671414B (zh) | 一种自闭锁螺栓机构及其使用方法 | |
| KR20050093675A (ko) | 와샤와 와샤가 구비된 고정구 | |
| CN113669351A (zh) | 一种防松螺纹副 | |
| RU2191299C2 (ru) | Самостопорящееся резьбовое соединение | |
| GB2282202A (en) | Lock nut capable of engaging resiliently another nut | |
| CN2200720Y (zh) | 双重锁紧防松组合螺母 | |
| JP2533288B2 (ja) | ブレ―キピストンアジャスタ機構 | |
| US3417801A (en) | Self-locking nut against vibrations | |
| JPS6255007B2 (ru) | ||
| CN111306174A (zh) | 一种螺纹防松双螺母 | |
| KR100237318B1 (ko) | 풀림방지용 너트 | |
| CN207999424U (zh) | 一种线路金具 | |
| CN109185316B (zh) | 一种挤压式开槽锁紧螺母组件 | |
| JPH05288210A (ja) | 緩み止ナット | |
| SU838125A1 (ru) | Самоконтр щийс резьбовой элемент | |
| CN208040979U (zh) | 一种碳纤维上油轮异向双螺纹锁紧装置 | |
| SU1696767A1 (ru) | Соединение деталей | |
| CN223549623U (zh) | 一种不易脱落的螺母 | |
| CN221762422U (zh) | 机械开启式防松螺母套件 | |
| KR102491381B1 (ko) | 스프링의 탄성을 이용한 풀림방지 너트 | |
| CN119381989B (zh) | 一种输电线路用螺栓型铝合金耐张线夹 | |
| KR102289856B1 (ko) | 풀림방지너트 | |
| SU914829A1 (ru) | Резьбовое соединение1 |