RU2176772C2 - Единый двухсредный автомат с комбинированным питанием - Google Patents
Единый двухсредный автомат с комбинированным питанием Download PDFInfo
- Publication number
- RU2176772C2 RU2176772C2 RU99109960A RU99109960A RU2176772C2 RU 2176772 C2 RU2176772 C2 RU 2176772C2 RU 99109960 A RU99109960 A RU 99109960A RU 99109960 A RU99109960 A RU 99109960A RU 2176772 C2 RU2176772 C2 RU 2176772C2
- Authority
- RU
- Russia
- Prior art keywords
- receiver
- spring
- cartridges
- latch
- under water
- Prior art date
Links
Images
Landscapes
- Toys (AREA)
Abstract
Изобретение относится к стрелковому оружию, а именно к универсальному оружию, способному вести стрельбу в различных средах (под водой и на суше) соответствующими им (средам) патронами. Единый двухсредный автомат имеет ствол, ствольную коробку с расположенными в ней затворной рамой с затвором, возвратным и спусковым механизмами, газовую трубку, крышку ствольной коробки и подпружиненную защелку магазина. При стрельбе под водой специальными патронами типа МПС прорыв пороховых газов через нарезы предотвращается соответствующим выбором глубины нарезов и шага нарезов канала ствола (при шаге нарезов в диапазоне 150-250 мм глубина нарезов должна составлять не более 1,5-2% от калибра). Основание защелки, имея возможность перемещаться вдоль ствольной коробки и занимать соответственно переднее и заднее фиксированные положения, обеспечивает изменение продольных размеров приемного окна ствольной коробки и присоединение магазинов с разными типами патронов. Изобретение позволяет увеличить мощность выстрела как при стрельбе под водой, так и на суше, а также эксплуатационные качества оружия. 1 з.п. ф-лы, 4 ил.
Description
Изобретение относится к стрелковому оружию, а именно к универсальному оружию, способному вести стрельбу в различных средах (водной и воздушной) соответствующими им (средам) патронами.
Известный 5,66 мм автомат АПС содержит ствол с газовой камерой, ствольную коробку с заключенными в ней затворной рамой с затвором и спусковым механизмом, а также возвратно-боевую пружину, газовую трубку и крышку ствольной коробки (Мураховский В.И. Оружие специального назначения. М.: Арсенал-Пресс, 1995 г. Миллер Д. Подводный спецназ. Минск: Харвест, 1998. Волковский Н.Л. Силы специальных операций. Санкт-Петербург, Полигон, 1996).
Однако он обладает рядом недостатков:
- Наличие ствола, соответствующего калибра и не имеющего нарезов, позволяет вести эффективную стрельбу только под водой специальными патронами (МПС, МПСТ), пули которых имеют относительную длину более 20 калибров.
- Наличие ствола, соответствующего калибра и не имеющего нарезов, позволяет вести эффективную стрельбу только под водой специальными патронами (МПС, МПСТ), пули которых имеют относительную длину более 20 калибров.
- Существующая газовая камера не обеспечивает автоматическую регулировку необходимого газового режима при работе автоматики в средах с различной плотностью (вода, воздух). В результате, при стрельбе в воздушной среде штатными патронами (МПС, МПСТ), имеющими большой импульс, скорость подвижных частей автоматики в крайнем заднем положении превышает допустимую величину, что приводит к деформации и преждевременному разрушению ствольной коробки.
В свою очередь, известный 5,45 мм автомат АК-74 (Руководство по 5,45 мм автомату Калашникова АК-74. М., Воениздат, 1984), имеющий нарезной ствол, позволяет вести эффективную стрельбу штатными патронами 7Н6 только в воздушной среде, то есть на суше. При стрельбе под водой, пуля такого патрона, вследствие определенной формы головной части и незначительной относительной длины, а также большой плотности воды, пролетает расстояние порядка одного метра. В то же время, наличие дополнительной метаемой массы в канале ствола (в виде столба воды), находящейся перед пулей и с учетом гидростатического давления, определяемого глубиной погружения, приводит к значительному увеличению максимального давления пороховых газов в канале ствола в момент выстрела, а соответственно, и к его разрушению.
Питание автомата АК-74 патронами МПС невозможно, т.к. ствольная коробка автомата имеет приемное окно (для присоединения магазина), размеры которого не позволяют присоединить штатный магазин 5,66 мм автомата АПС. Кроме того, величина перемещения затворной рамы с затвором автомата АК-74 соизмерима с длиной 5,45 мм патрона 7Н6 и несоизмерима с длиной 5,66 мм патрона МПС.
Наиболее близким техническим решением, принятым в качестве прототипа, является единый двухсредный автомат с комбинированным питанием, содержащий нарезной ствол, ствольную коробку с расположенными в ней затворной рамой с затвором, возвратным механизмом, спусковым механизмом, а также газовую трубку, крышку ствольной коробки и подпружиненную защелку магазина (патент RU 2088880 C1, кл. F 41 C 9/06, F 41 A 5/18, 27.08.1997).
Недостатком этого автомата является малая мощность выстрела, а также возможность прорыва газов при выстреле и попадании грязи при выстреле на суше.
Технической задачей, на решение которой направлено изобретение, является повышение мощности выстрела как при стрельбе под водой, так и при стрельбе на суше, удобство присоединения различных магазинов с разными патронами, повышение эксплуатационных качеств.
Указанный результат достигается за счет того, что в едином двухсредном автомате с комбинированным питанием, содержащем нарезной ствол, ствольную коробку с расположенными в ней затворной рамой с затвором, возвратным механизмом, спусковым механизмом, а также газовую трубку, крышку ствольной коробки и подпружиненную защелку магазина, согласно изобретению подпружиненная защелка магазина выполнена подвижной в продольном направлении относительно приемного окна ствольной коробки с возможностью фиксации в двух положениях для обеспечения присоединения разных магазинов, а в нарезном стволе для предотвращения прорыва газов через нарезы канала ствола при выстреле под водой специальными патронами глубина нарезов при шаге 150-250 мм должна соответствовать выражению:
б = (0,015-0,020)d,
где б - глубина нарезов, мм;
d - калибр канала ствола, мм.
б = (0,015-0,020)d,
где б - глубина нарезов, мм;
d - калибр канала ствола, мм.
Кроме того, к ствольной коробке шарнирно на оси закреплена подпружиненная шторка для фиксации защелки магазина в переднем положении, являющаяся задним упором защелки в закрытом положении, а также закрывающая часть приемного окна ствольной коробки для предотвращения попадания пыли и грязи в ее полость при стрельбе на суше.
Сущность изобретения поясняется чертежами, где показан автомат с присоединенным магазином под 5,45 мм патроны 7Н6 (для случая стрельбы в воздушной среде) - фиг. 1 и с магазином под специальные патроны (для случая стрельбы под водой) - фиг. 2. Автомат состоит из нарезного ствола 1 с газовой камерой 2, затворной рамы 3 с затвором 4, возвратно-боевой пружины 5, спускового механизма в сборе 6, а также ствольной коробки 7 с подпружиненной шторкой 8 и подвижной (в продольном направлении) защелки магазина 9 в сборе. Подпружиненная шторка 8, находясь в горизонтальном положении (фиг. 1), является задним упором для защелки 9 (когда она находится в переднем положении) и в то же время закрывает заднюю часть приемного окна, предотвращая попадание в полость ствольной коробки пыли и грязи.
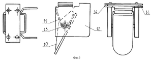
На фиг. 3 показана защелка в сборе, которая включает собственную защелку 10, основание 12, пружину 11 и ось 13. Основание защелки имеет два продольных паза 14, в которые входят загибы приемного окна ствольной коробки, выполняющие роль направляющих.
На фиг. 4 изображена шторка 8, в трех проекциях.
Устройство работает следующим образом. Перед стрельбой в воде пловец сначала присоединяет к автомату магазин со специальными для стрельбы под водой патронами (используя штатный магазин от 5,66 мм автомата АПС). Для этого, шторка 8 под воздействием руки поворачивается на оси (при этом закручивается пружина) и устанавливается в вертикальное положение относительно ствольной коробки, предоставляя тем самым возможность перемещения защелки 9 в крайнее заднее положение и, соответственно, присоединение магазина. Далее отводится назад затворная рама с затвором и после прицеливания производится выстрел.
При выходе пловца на сушу или при всплытии на поверхность воды ему необходимо отделить обычным способом магазин от автомата и, переместив защелку 9 вперед до упора на ствольной коробке, присоединить к нему штатный магазин от 5,45 мм автомата АК-74 с патронами 7Н6. При перемещении защелки вперед, в момент ее подхода к крайнему переднему положению, шторка 8 под воздействием закрученной пружины поворачивается и устанавливается в горизонтальное положение (фиг. 1), закрывая при этом часть приемного окна и фиксируя неподвижно от продольного перемещения назад защелку 9. Дальнейшие действия пловца повторяются как и при стрельбе под водой.
Claims (2)
1. Единый двухсредный автомат с комбинированным питанием, содержащий нарезной ствол, ствольную коробку с расположенными в ней затворной рамой с затвором, возвратным механизмом, спусковым механизмом, а также газовую трубку, крышку ствольной коробки и подпружиненную защелку магазина, отличающийся тем, что подпружиненная защелка магазина выполнена подвижной в продольном направлении относительно приемного окна ствольной коробки с возможностью фиксации в двух положениях для обеспечения присоединения разных магазинов, а в нарезном стволе для предотвращения прорыва газов через нарезы канала ствола при выстреле под водой специальными патронами глубина нарезов при шаге 150 - 250 мм должна соответствовать выражению
б = (0,015 - 0,020)d,
где б - глубина нарезов, мм;
d - калибр канала ствола, мм.
б = (0,015 - 0,020)d,
где б - глубина нарезов, мм;
d - калибр канала ствола, мм.
2. Единый двухсредный автомат по п.1, отличающийся тем, что к ствольной коробке шарнирно на оси закреплена подпружиненная шторка для фиксации защелки магазина в переднем положении, являющаяся задним упором защелки в закрытом положении, а также закрывающая часть приемного окна ствольной коробки для предотвращения попадания пыли и грязи в ее полость при стрельбе на суше.
Priority Applications (1)
| Application Number | Priority Date | Filing Date | Title |
|---|---|---|---|
| RU99109960A RU2176772C2 (ru) | 1999-05-11 | 1999-05-11 | Единый двухсредный автомат с комбинированным питанием |
Applications Claiming Priority (1)
| Application Number | Priority Date | Filing Date | Title |
|---|---|---|---|
| RU99109960A RU2176772C2 (ru) | 1999-05-11 | 1999-05-11 | Единый двухсредный автомат с комбинированным питанием |
Publications (2)
| Publication Number | Publication Date |
|---|---|
| RU99109960A RU99109960A (ru) | 2001-02-27 |
| RU2176772C2 true RU2176772C2 (ru) | 2001-12-10 |
Family
ID=20219737
Family Applications (1)
| Application Number | Title | Priority Date | Filing Date |
|---|---|---|---|
| RU99109960A RU2176772C2 (ru) | 1999-05-11 | 1999-05-11 | Единый двухсредный автомат с комбинированным питанием |
Country Status (1)
| Country | Link |
|---|---|
| RU (1) | RU2176772C2 (ru) |
Cited By (9)
| Publication number | Priority date | Publication date | Assignee | Title |
|---|---|---|---|---|
| RU2216704C2 (ru) * | 2002-01-03 | 2003-11-20 | Государственное унитарное предприятие "Конструкторское бюро приборостроения" | Многоствольный пистолет |
| RU2302601C1 (ru) * | 2005-12-22 | 2007-07-10 | Горский государственный аграрный университет (ГГАУ) | Крышка ствольной коробки |
| RU2358221C2 (ru) * | 2003-05-16 | 2009-06-10 | Ра Брэндз, Л.Л.С. | Составная ствольная коробка для огнестрельного оружия |
| RU2367875C1 (ru) * | 2008-03-17 | 2009-09-20 | Государственное образовательное учреждение высшего профессионального образования ТУЛЬСКИЙ АРТИЛЛЕРИЙСКИЙ ИНЖЕНЕРНЫЙ ИНСТИТУТ (ТАИИ) | Карабин специальный |
| RU2380644C2 (ru) * | 2007-03-26 | 2010-01-27 | Блазер Финанцхолдинг ГмбХ | Ложа многозарядной винтовки, ствольная коробка и многозарядная винтовка |
| RU2392566C2 (ru) * | 2008-04-02 | 2010-06-20 | Пётр Анатольевич Борисов | Автоматическое оружие для надводного и подводного применения |
| WO2012128666A3 (ru) * | 2011-03-21 | 2013-01-17 | Polovnev Andrey Albertovich | Устройство для подводной стрельбы из огнестрельного оружия |
| RU2571837C2 (ru) * | 2013-09-13 | 2015-12-20 | Виктор Анатольевич Кущенко | Двухсредовое автоматическое снайперское оружие и патроны для стрельбы из оружия кущенко в.а. |
| RU2733018C1 (ru) * | 2020-02-20 | 2020-09-28 | Андрей Альбертович Половнев | Устройство для подводной стрельбы из стрелкового оружия |
Citations (5)
| Publication number | Priority date | Publication date | Assignee | Title |
|---|---|---|---|---|
| FR2691244A1 (fr) * | 1992-05-15 | 1993-11-19 | Richert Pierre | Arme à feu à canon doubles superposés basculants gros calibre avec option 3ème canon rayé. |
| RU2037130C1 (ru) * | 1992-08-14 | 1995-06-09 | Государственное предприятие "Ижевский механический завод" | Магазинное ружье |
| RU2088880C1 (ru) * | 1993-01-11 | 1997-08-27 | Центральный научно-исследовательский институт точного машиностроения | Автомат |
| RU2120597C1 (ru) * | 1997-09-16 | 1998-10-20 | Государственное предприятие "Ижевский механический завод" | Магазинное ружье |
| RU2130157C1 (ru) * | 1997-02-21 | 1999-05-10 | Горобцов Вениамин Михайлович | Способ магазинного перезаряжания оружия револьверного типа и револьвер-автомат с магазинным питанием |
-
1999
- 1999-05-11 RU RU99109960A patent/RU2176772C2/ru active
Patent Citations (5)
| Publication number | Priority date | Publication date | Assignee | Title |
|---|---|---|---|---|
| FR2691244A1 (fr) * | 1992-05-15 | 1993-11-19 | Richert Pierre | Arme à feu à canon doubles superposés basculants gros calibre avec option 3ème canon rayé. |
| RU2037130C1 (ru) * | 1992-08-14 | 1995-06-09 | Государственное предприятие "Ижевский механический завод" | Магазинное ружье |
| RU2088880C1 (ru) * | 1993-01-11 | 1997-08-27 | Центральный научно-исследовательский институт точного машиностроения | Автомат |
| RU2130157C1 (ru) * | 1997-02-21 | 1999-05-10 | Горобцов Вениамин Михайлович | Способ магазинного перезаряжания оружия револьверного типа и револьвер-автомат с магазинным питанием |
| RU2120597C1 (ru) * | 1997-09-16 | 1998-10-20 | Государственное предприятие "Ижевский механический завод" | Магазинное ружье |
Cited By (14)
| Publication number | Priority date | Publication date | Assignee | Title |
|---|---|---|---|---|
| RU2216704C2 (ru) * | 2002-01-03 | 2003-11-20 | Государственное унитарное предприятие "Конструкторское бюро приборостроения" | Многоствольный пистолет |
| RU2358221C2 (ru) * | 2003-05-16 | 2009-06-10 | Ра Брэндз, Л.Л.С. | Составная ствольная коробка для огнестрельного оружия |
| RU2302601C1 (ru) * | 2005-12-22 | 2007-07-10 | Горский государственный аграрный университет (ГГАУ) | Крышка ствольной коробки |
| RU2380644C2 (ru) * | 2007-03-26 | 2010-01-27 | Блазер Финанцхолдинг ГмбХ | Ложа многозарядной винтовки, ствольная коробка и многозарядная винтовка |
| RU2367875C1 (ru) * | 2008-03-17 | 2009-09-20 | Государственное образовательное учреждение высшего профессионального образования ТУЛЬСКИЙ АРТИЛЛЕРИЙСКИЙ ИНЖЕНЕРНЫЙ ИНСТИТУТ (ТАИИ) | Карабин специальный |
| RU2392566C2 (ru) * | 2008-04-02 | 2010-06-20 | Пётр Анатольевич Борисов | Автоматическое оружие для надводного и подводного применения |
| WO2012128666A3 (ru) * | 2011-03-21 | 2013-01-17 | Polovnev Andrey Albertovich | Устройство для подводной стрельбы из огнестрельного оружия |
| RU2498189C2 (ru) * | 2011-03-21 | 2013-11-10 | Андрей Альбертович Половнев | Устройство для подводной стрельбы из огнестрельного оружия |
| KR20140022841A (ko) * | 2011-03-21 | 2014-02-25 | 안드레이 알베르토비치 폴로브네브 | 총기로부터 수중 발사하기 위한 장치 |
| US8919020B2 (en) | 2011-03-21 | 2014-12-30 | Andrey Albertovich Polovnev | Device for underwater firing from a firearm |
| KR101941841B1 (ko) | 2011-03-21 | 2019-01-24 | 안드레이 알베르토비치 폴로브네브 | 총기로부터 수중 발사하기 위한 장치 |
| RU2571837C2 (ru) * | 2013-09-13 | 2015-12-20 | Виктор Анатольевич Кущенко | Двухсредовое автоматическое снайперское оружие и патроны для стрельбы из оружия кущенко в.а. |
| RU2733018C1 (ru) * | 2020-02-20 | 2020-09-28 | Андрей Альбертович Половнев | Устройство для подводной стрельбы из стрелкового оружия |
| WO2021167489A1 (ru) * | 2020-02-20 | 2021-08-26 | Андрей Альбертович ПОЛОВНЕВ | Устройство для подводной стрельбы из стрелкового оружия |
Similar Documents
| Publication | Publication Date | Title |
|---|---|---|
| US5074189A (en) | Electrically-fired and magnetically actuated firearm | |
| US5983774A (en) | Machine gun | |
| US11047639B2 (en) | Method and grip module for firearm modification using a firing control unit | |
| RU2110745C1 (ru) | Автоматическое оружие | |
| RU2176772C2 (ru) | Единый двухсредный автомат с комбинированным питанием | |
| US5153375A (en) | Ammunition cartridge for simulated firing using a laser beam | |
| US8123525B2 (en) | Firearm simulators and related methods | |
| RU2367875C1 (ru) | Карабин специальный | |
| RU2077689C1 (ru) | Огнестрельное оружие | |
| RU2058519C1 (ru) | Стрелковое оружие | |
| GB2254403A (en) | Simulation cartridge for simulated firing using a laser beam gun. | |
| RU2125221C1 (ru) | Пистолет-пулемет | |
| RU7190U1 (ru) | Самозарядное оружие | |
| RU2029218C1 (ru) | Ветровое ружье | |
| RU2081380C1 (ru) | Огнестрельное оружие | |
| US4166409A (en) | Sporting weapon | |
| RU2422752C2 (ru) | Автомат | |
| RU94016979A (ru) | Стрелковое оружие | |
| RU2226251C2 (ru) | Полуавтоматическое стрелковое оружие (варианты) системы кобец | |
| RU183226U1 (ru) | Огнестрельное оружие | |
| RU2283997C1 (ru) | Автоматическое оружие | |
| RU2295101C2 (ru) | Способ работы автоматики стрелково-пушечного оружия и устройство для его осуществления | |
| RU7486U1 (ru) | Комбинированное двуствольное многозарядное оружие | |
| WO2021167489A1 (ru) | Устройство для подводной стрельбы из стрелкового оружия | |
| US11953275B1 (en) | Fixed position firearm ejector |