RU2095580C1 - Semi-underground thermal power station - Google Patents

Semi-underground thermal power station Download PDF

Info

Publication number
RU2095580C1
RU2095580C1 RU92012693A RU92012693A RU2095580C1 RU 2095580 C1 RU2095580 C1 RU 2095580C1 RU 92012693 A RU92012693 A RU 92012693A RU 92012693 A RU92012693 A RU 92012693A RU 2095580 C1 RU2095580 C1 RU 2095580C1
Authority
RU
Russia
Prior art keywords
pipe
pipes
water
cylinders
compressed air
Prior art date
Application number
RU92012693A
Other languages
Russian (ru)
Other versions
RU92012693A (en
Inventor
Юрий Борисович Кашеваров
Original Assignee
Юрий Борисович Кашеваров
Priority date (The priority date is an assumption and is not a legal conclusion. Google has not performed a legal analysis and makes no representation as to the accuracy of the date listed.)
Filing date
Publication date
Application filed by Юрий Борисович Кашеваров filed Critical Юрий Борисович Кашеваров
Priority to RU92012693A priority Critical patent/RU2095580C1/en
Publication of RU92012693A publication Critical patent/RU92012693A/en
Application granted granted Critical
Publication of RU2095580C1 publication Critical patent/RU2095580C1/en

Links

Images

Landscapes

  • Engine Equipment That Uses Special Cycles (AREA)

Abstract

FIELD: generation of electric and thermal power through burning hydrocarbon fuel directly at area of its deposit at deep depth under ground. SUBSTANCE: underground workings of coal seam is used as furnace and boiler simultaneously; boiler delivers steam-and-gas mixture of high parameters to semi-circular pipe with hydraulic turbine mounted at its end. After passing the hydraulic turbine, water enters settler wherefrom it is directed to thermal line and to the beginning of semi-circular pipe. Kinetic and thermal energy from steam-and-gas mixture is imparted to water in semi-circular pipe; steam is converted into water; gaseous products of burnt coal give solid particles and acid components to water which settle and are neutralized in settler wherefrom they are removed by means of mechanical conveyer and exhaust pipe. Steam-and-gas mixture actuates piston compressor which delivers compressed air to burning coal seam and piston pump supplying water from tank which is filled with water used in thermal line. EFFECT: enhanced efficiency. 3 cl, 7 dwg

Description

Изобретение относится к тепловым электростанциям и электротеплоцентралям, работающим на угле. The invention relates to thermal power plants and coal-fired electric heating plants.

Аналогами предлагаемой "ЭК" являются ТЭС и ТЭЦ, работающие за счет сжигания каменного угля, наиболее дешевого углеводородного топлива, по запасам которого Россия занимает первое место в мире. The analogs of the proposed “EC” are thermal power plants and thermal power plants operating by burning coal, the cheapest hydrocarbon fuel, in terms of which Russia ranks first in the world.

ТЭЦ и ТЭЦ, работающие на угле, имеют следующие недостатки:
требуют добычи и подвоза к ним каменного угля;
требуют больших капитальных затрат на 1 кВт мощности с учетом затрат на строительство шахт для добычи угля и транспортных средств, необходимых для доставки угля;
требуют больших эксплуатационных затрат на выработку 1 кВт-ч электроэнергии /с учетом на добычу и транспортировку угля/;
не могут работать в режиме, обусловленном потребителями электроэнергии, работают в базовом режиме, требующим создания ГАЭС;
наносят экологический ущерб природе, связанный с выбросом сажи, золы и кислотных компонентов дымовых газов при сжигании угля, а также сооружением отвалов золы у электростанций и отвалов горных пород у шахт, добывающих уголь, требуют больших запасов угля на шахтах и электростанциях;
требуют отвода большой территории земли для строительства шахт, электростанций и ж.-д. путей, а также для размещения отвалов горных пород у шахт, отвалов золы у электростанций и складов угля и шахт и электростанций;
требуют снабжения шахт крепежным лесом и горным механизмами для добычи и транспортировки угля в шахтах, а также для сооружения горных пород из этих выработок;
требуют большого штата служащих, рабочих и шахтеров для обеспечения работы шахт и ж. -д. транспорта, при этом труд шахтеров и транспортников относится к наиболее тяжелым и опасным для жизни работающих.
Coal-fired CHPPs and CHPPs have the following disadvantages:
require the extraction and transportation of coal to them;
require large capital costs per 1 kW of power, taking into account the cost of building mines for coal mining and vehicles necessary for coal delivery;
require large operating costs for the generation of 1 kWh of electricity / taking into account the extraction and transportation of coal /;
cannot work in the mode stipulated by electricity consumers, work in the basic mode, requiring the creation of a PSP;
cause environmental damage to nature associated with the emission of soot, ash and acid components of flue gases during coal combustion, as well as the construction of ash dumps at power plants and rock dumps at coal mines, require large reserves of coal in mines and power plants;
require the allocation of a large territory of the earth for the construction of mines, power plants and railways tracks, as well as for placement of rock dumps at mines, ash dumps at power plants and warehouses of coal and mines and power plants;
require the supply of mines with fixing wood and mining mechanisms for the extraction and transportation of coal in mines, as well as for the construction of rocks from these workings;
require a large staff of employees, workers and miners to ensure the operation of mines and railways. -d. transport, while the work of miners and transport workers is one of the most difficult and life-threatening workers.

ЭК предлагается с целью устранения недостатков известных электростанций за счет того, что
сжигание угля производится непосредственно в месте его залегания на глубине в несколько сотен метров под землей, в результате подачи к месту его горения по вертикальным трубам сжатого воздуха под большим давлением, достаточным для поддержания свода над выгоревшим пластом угля;
пар высоких параметров вырабатывается в результате подачи воды по трубам к основанию центральной трубы, через которую проходят продукты сгорания, сжигаемого пласта угля;
парогазовая смесь с давлением, равным давлению воздуха, подаваемого компрессорами для горения угольного пласта, с температурой в 300oC из центральной трубы поступает через последовательный ряд патрубков в кольцевой трубопровод, заполненный водой и придает воде поступательное движение к гидротурбине с электрогенератором, установленной в трубопроводе;
основные компрессоры и водяной насос приводятся в действие с помощью парогазовой смеси, подаваемой через центральную трубу, при этом отработанная парогазовая смесь поступает в кольцевой трубопровод, отдавая воде оставшуюся часть неиспользованной энергии;
трубопровод входит в отстойник для осаждения твердых частиц и удаления газообразных компонентов, выделяющихся из воды, а также для отвода части горячей воды в теплотрассу после нейтрализации кислотных составляющих этой воды в отстойнике до допустимого уровня;
все процессы по созданию парогазовой смеси, поступающей в кольцевую трубу, и по выработке электроэнергии электрогенератором, вращаемым гидротурбиной, поддаются контролю полной автоматизации с помощью соответствующих датчиков и могут обслуживаться небольшим числом операторов, работающих в безопасных и комфортных условиях.
EC is proposed to eliminate the disadvantages of known power plants due to the fact that
coal is burned directly in the place of its occurrence at a depth of several hundred meters underground, as a result of supplying compressed air to the place of its burning through vertical pipes under high pressure, sufficient to maintain the arch above the burnt coal seam;
high-quality steam is produced as a result of the supply of water through pipes to the base of the central pipe, through which the products of combustion, the burnt coal seam pass;
a gas-vapor mixture with a pressure equal to the pressure of air supplied by compressors for burning a coal seam with a temperature of 300 o C from a central pipe enters through a series of nozzles into an annular pipeline filled with water and gives water translational movement to a turbine with an electric generator installed in the pipeline;
the main compressors and the water pump are driven by the gas-vapor mixture supplied through the central pipe, while the spent gas-vapor mixture enters the annular pipeline, giving the rest of the unused energy to water;
the pipeline enters the sump to sediment solid particles and remove gaseous components released from the water, as well as to divert part of the hot water into the heating main after neutralizing the acidic components of this water in the sump to an acceptable level;
All processes for creating a gas-vapor mixture entering the annular pipe and for generating electricity with an electric generator rotated by a hydraulic turbine are fully automated by appropriate sensors and can be serviced by a small number of operators working in safe and comfortable conditions.

За аналог предлагаемой установки примем ТЭС или ТЭЦ /БСЭ, второе изд. т. 42 стр. 250 или 289/, тепловую электростанцию, вырабатывающую электроэнергию и тепло за счет потребления каменного угля, добываемого в шахте, как имеющую то же назначение, что и ЭК. For an analogue of the proposed installation, we take a thermal power station or thermal power station / TSB, second ed. 42 p. 250 or 289 /, a thermal power plant that generates electricity and heat from the consumption of coal mined in a mine, as having the same purpose as the EC.

Преимущества предлагаемой ЭК по сравнению с ТЭС обусловлены конструкцией и работой этой ЭК, т.к. ЭК не требует добычи угля, крепления свода шахт, отвода больших территорий земли под отвалы золы, складов под угль и его доставки. The advantages of the proposed EC compared to TPPs are due to the design and operation of this EC, because EC does not require coal mining, securing a mine vault, diverting large areas of the earth to ash dumps, coal storage facilities and its delivery.

Прототипом предлагаемой электростанции является геотермальная электростанция ГС [1]
ГС прямого использования пара имеет паровую турбину, вращающую электрогенератор, однако такое простейшее устройство применяется редко, т.к. требует мощного источника пара, не содержащего большого процента химически активных примесей, вызывающих коррозию оборудования. В большинстве случаев используется второй тип ГС, в которой пар, поступающий из скважины, подвергается предварительной очистке и последующему подогреву в теплообменнике с помощью пара из скважины.
The prototype of the proposed power station is a geothermal power station GS [1]
A direct steam generator has a steam turbine rotating an electric generator, but such a simple device is rarely used, because requires a powerful source of steam that does not contain a large percentage of chemically active impurities that cause equipment corrosion. In most cases, the second type of HS is used, in which the steam coming from the well is subjected to preliminary cleaning and subsequent heating in the heat exchanger using steam from the well.

ГС имеет преимущества перед всеми другими видами электростанций по себестоимости вырабатываемой электроэнергии в тех районах, в которых в результате вулканической активности природы на небольшой глубине сосредоточены огромные запасы тепловой энергии, например, на Камчатке и в Исландии. Однако эти районы имеют малую плотность населения и малый уровень развития промышленности из-за неблагоприятных природных условий /сейсмоопасность, опасность вулканических извержений, горный характер местности/. The power plant has advantages over all other types of power plants in terms of the cost of electricity generated in those areas in which, as a result of the volcanic activity of nature, huge reserves of thermal energy are concentrated at a shallow depth, for example, in Kamchatka and in Iceland. However, these areas have a low population density and a low level of industrial development due to adverse environmental conditions / seismic hazard, the risk of volcanic eruptions, mountainous terrain /.

В равнинной местности России с большой плотностью населения и высоким уровнем развития промышленности /т.е. с большим уровнем потребления электроэнергии/ ГС имеет в большинстве случаев малую технико-экономическую эффективность, т.к. требует больших капитальных затрат на создание буровых скважин, достигающих воды с температурой в 150 200oC, находящейся на глубине более 4 км /температурный градиент земли, в среднем, 1o на 30 м/. По этой причине они не могут решить энергетические проблемы России и в частности проблемы, возникающие при закрытии угольных шахт, ставших убыточными, для замены которых прежде всего предназначена предлагаемая полуподземная тепловая гидроэлектростанция.In the flat terrain of Russia with a high population density and a high level of industrial development / i.e. with a large level of electricity / gas consumption has in most cases low technical and economic efficiency, because requires large capital costs for the creation of boreholes reaching water with a temperature of 150,200 o C, located at a depth of more than 4 km / temperature gradient of the earth, on average, 1 o per 30 m /. For this reason, they cannot solve the energy problems of Russia, and in particular the problems arising from the closure of coal mines, which have become unprofitable, for the replacement of which the proposed semi-underground thermal hydroelectric power station is primarily intended.

На фиг. 1 дан вертикальный разрез ЭК по ее осевой линии /сечение В-В на фиг. 3/; на фиг. 2 сечение А-А на фиг. 1; на фиг.3 сечение Б-Б на фиг.1; на фиг. 4 узел 1 на фиг.3 в крупном масштабе; на фиг.5 сечение Г-Г на фиг.3; на фиг. 6 осевое сечение основного компрессора; на фиг. 7 осевое сечение водяного насоса. In FIG. 1 is a vertical section through an EC along its center line / section BB in FIG. 3 /; in FIG. 2, section AA in FIG. one; figure 3 section BB in figure 1; in FIG. 4 node 1 in figure 3 on a large scale; figure 5 section GG in figure 3; in FIG. 6 axial section of the main compressor; in FIG. 7 axial section of a water pump.

ЭК имеет центральную трубу 1, идущую от подоженного пласта 2 углеводородного топлива к трубам 3, соединяющим ее внешний торец с патрубком 4 полукольцевой трубы 5, компрессоры 6, 7, 8 соответственно предварительного сжатия воздуха, два основных большой и малый, трубы 9 подачи сжатого воздуха от компрессоров 7 и 8 к горизонтальной выработке 10 в нижней части пласта 2, идущей от труб 9 к центральной трубе 1, водяной насос 11, качающий воду из бака 12, установленного под ним, по трубам 13, идущим к нижнему торцевому отверстию центральной трубы 1 и оканчивающимся наконечниками 14, перфорированными отверстиями, при этом наконечники 14 проходят через пласт 2 и выходят к горизонтальной выработке 10, баки 15, заполненные горячей жидкостью, которая по трубам 16 поступает к форсунке 17, установленной в горной выработке 10 около отверстия трубы 9 в направлении центральной трубы 1, источник электрического тока 18 с электрокабелем 19, идущим к электросвечам 20, установленным за форсункой 17 в потоке сжатого воздуха, идущего по горной выработке 10 от трубы 9 к центральной трубе 1, гидротурбину 21 с валом 22, который приводит в действие электрогенератор 23, отстойник 24 с транспортером 25 и вытяжной трубой 26 и отходящих от него теплотрассой 27 и полукольцевой трубой 5. EC has a central pipe 1, going from the burnt formation 2 of hydrocarbon fuel to the pipes 3, connecting its outer end to the pipe 4 of the semicircular pipe 5, compressors 6, 7, 8, respectively, preliminary air compression, two main large and small, compressed air supply pipes 9 from compressors 7 and 8 to the horizontal outlet 10 in the lower part of the formation 2, going from the pipes 9 to the central pipe 1, a water pump 11 pumping water from the tank 12 installed underneath, through pipes 13, going to the lower end hole of the central pipe 1 and ending with tips 14, perforated holes, while the tips 14 pass through the formation 2 and go to the horizontal working 10, tanks 15, filled with hot liquid, which through pipes 16 enters the nozzle 17 installed in the mining 10 near the opening of the pipe 9 in the direction of the central pipe 1, an electric current source 18 with an electric cable 19, going to the electric candles 20, installed behind the nozzle 17 in the stream of compressed air going through the mine 10 from the pipe 9 to the central pipe 1, a turbine 21 with a shaft 22, which drives t into action, an electric generator 23, a sump 24 with a conveyor 25 and an exhaust pipe 26 and the heating main 27 and a semi-ring pipe 5 emanating from it.

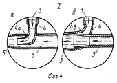
Основные компрессоры большой 7 и малый 8 /фиг.6/ одинакового устройства имеют цилиндрический корпус 28, в котором установлены цилиндры 29, 30 и 31 с общей геометрической осью, торцевые перегородки 32, 33 и 34, шток 35 с закрепленными на нем поршнями 36, 37 и 38 /соответственно в цилиндрах 29, 30 и 31/, проходящий через перегородки 32, 33 и 34, при этом перегородки 33 и 34 имеют термоизоляцию, обозначенную на чертеже крестиками, клапаны входные 39 и 40 и выходные 41 и 42 цилиндров 29, входные 43 и 44 и выходные 45 и 46 цилиндра 30, входные 47 и 48 и выходные 49 и 50 цилиндра 31, электродатчики 51 и 52 положения поршня 36, патрубки 53, соединяющие входные клапаны 39 и 40 с трубой 3, идущей от трубы 1 к компрессорам 7 и 8 и к трубам 9, патрубки 55, идущие от трубы 56 к входным клапанам 43 и 44, патрубки 57, идущие от выходных клапанов 45 и 46 к входным клапанам 47 и 48, патрубки 58, идущие от выходных клапанов 49 и 50 к трубе 59, которая соединяется с трубами 9. Клапаны 39 42 открываются и закрываются с помощью электродвигателей, работающих по электросигналам электродатчиков 51 и 52, поступающих в систему управления ЭК. Клапаны 43 50 самооткрывающиеся при том давлении воздуха, на которое они отрегулированы. Клапаны 41 и 42 соединены патрубками 60 с трубой 3, оканчивающейся патрубком 4, вмонтированным в трубу 5. Патрубки 4 имеют изгиб в направлении движения воды по трубе 5 в сторону гидротурбины 21. На фиг.4 даны два варианта устройства патрубков 4, обозначенные "а" и "б", более простой "а" и более перспективный "о", создающий меньшее сопротивление движению воды в трубе 5. На трубах 3 установлены краны 61, перекрывающие их с помощью электродвигателей /не показаны/ по электросигналам системы управления. The main compressors large 7 and small 8 / Fig. 6/ of the same device have a cylindrical housing 28 in which cylinders 29, 30 and 31 with a common geometric axis are installed, end walls 32, 33 and 34, the stem 35 with pistons 36 fixed to it, 37 and 38 / respectively in the cylinders 29, 30 and 31 / passing through the partitions 32, 33 and 34, while the partitions 33 and 34 are thermally insulated, indicated by crosses in the drawing, the inlet valves 39 and 40 and the outlet 41 and 42 cylinders 29, input 43 and 44 and output 45 and 46 of cylinder 30, input 47 and 48 and output 49 and 50 of cylinder 31, electrodes ki 51 and 52 of the piston position 36, nozzles 53 connecting the inlet valves 39 and 40 with the pipe 3 coming from the pipe 1 to the compressors 7 and 8 and to the pipes 9, the nozzles 55 coming from the pipe 56 to the inlet valves 43 and 44, the nozzles 57, coming from the outlet valves 45 and 46 to the inlet valves 47 and 48, the nozzles 58, coming from the outlet valves 49 and 50 to the pipe 59, which is connected to the pipes 9. Valves 39 42 are opened and closed by electric motors operating on electric signals of the electrodes 51 and 52 entering the EC control system. Valves 43 50 are self-opening at the air pressure to which they are adjusted. The valves 41 and 42 are connected by nozzles 60 to a pipe 3 ending in a nozzle 4 mounted in the pipe 5. The nozzles 4 have a bend in the direction of water movement through the pipe 5 towards the turbine 21. In FIG. 4, two variants of the arrangement of the nozzles 4 are indicated, indicated by "a "and" b ", a simpler" a "and a more promising" o ", which creates less resistance to the movement of water in the pipe 5. Cranes 61 are installed on the pipes 3, blocking them with electric motors / not shown / according to the electrical signals of the control system.

Мощность компрессора 7 позволяет обеспечить устойчивую работу четырех труб 3 и пятой трубы 3, на который он установлен, мощность компрессора 8 позволяет обеспечить работу шестой трубы 3, на которой он установлен, и седьмой трубы 3 при работе в режиме максимальной мощности ОК или в режиме минимальной мощности работу двух труб 3, на одной из которых установлен компрессор 8, мощность компрессора 6 /предварительного сжатия/ обеспечивает работу компрессоров 7 и 8 /одновременно и раздельно/. The power of the compressor 7 allows you to ensure the stable operation of the four pipes 3 and the fifth pipe 3 on which it is installed, the power of the compressor 8 allows you to ensure the work of the sixth pipe 3 on which it is installed and the seventh pipe 3 when operating in the maximum power mode OK or in the minimum mode power operation of two pipes 3, on one of which a compressor 8 is installed, the power of the compressor 6 / pre-compression / ensures the operation of compressors 7 and 8 / simultaneously and separately /.

Водяной насос 11 /фиг. 7/ имеет устройство и принцип действия, аналогичный устройству и принципу действия компрессоров 7 и 8. По этой причине позиции его цилиндров, поршней, штока, перегородок, клапанов и электродатчиков такие же как у соответствующих деталей основного компрессора 7. Водяной насос как и компрессор 7 и 8 работает за счет энергии парогазовой смеси, поступающей по трубе 3 в цилиндр 29. Отработанная парогазовая смесь поступает в трубу 5. Water pump 11 / Fig. 7 / has a device and operating principle similar to that of compressors 7 and 8. For this reason, the positions of its cylinders, pistons, rod, partitions, valves and electrodes are the same as those of the corresponding parts of the main compressor 7. Water pump as well as compressor 7 and 8 operates due to the energy of the vapor-gas mixture entering through the pipe 3 into the cylinder 29. The spent vapor-gas mixture enters the pipe 5.

Вода в цилиндр 80 поступает из бака 12 и нагнетается в трубы 13, имеющие в своей нижней части клапаны 62, которые открываются тогда, когда начинает работать насос, создавая давление воды на клапан 62, превосходящее противодействию его пружины. Water enters the cylinder 80 from the tank 12 and is pumped into pipes 13, having valves 62 in their lower part, which open when the pump starts to work, creating water pressure on the valve 62, which exceeds the counteraction of its spring.

Работа ЭК производится в следующих режимах: режим первоначального запуска, режим работы с минимальной и максимальной мощностями. Для первоначального запуска ЭК используется передвижной компрессор, который может быть один для обеспечения запусков ЭК на несколько десятков /сотен/ ЭК. Его мощность может быть в 3 4 раза меньше мощности основного малого компрессора 8. EC operation is performed in the following modes: initial start-up mode, operation mode with minimum and maximum powers. For the initial start-up of the EC, a mobile compressor is used, which can be one to provide EC starts for several tens / hundreds / EC. Its power can be 3-4 times less than the power of the main small compressor 8.

Передвижной компрессор подключается к одной из труб 9 /назовем ее первой/. При этом все краны 62 на трубах 13, краны 61 на трубах 3 и краны на трубах 16 закрыты. После нескольких минут устойчивой работы передвижного компрессора электродатчик давления 64 в трубе 1 покажет рост давления воздуха в трубе 1, а значит и в горных выработках 10. Тогда открывается кран 63 и включается насос подачи горючей жидкости в трубу 16. С временной задержкой на время подхода горючей жидкости к форсунке 17 включается электроток питания электросвечи зажигания 20. По увеличению температуры в трубе 1, фиксируемой на пульте управления электродатчиком 64, определяется устойчивое горение факела от форсунки 20, а затем начало устойчивого горения угля в горной выработке 10. С подъемом температуры до 400 500oC, фиксируемой электродатчиком 64, включается насос 11 и открываются клапаны 62.A mobile compressor is connected to one of the pipes 9 / let's call it first /. Moreover, all the taps 62 on the pipes 13, the taps 61 on the pipes 3 and the taps on the pipes 16 are closed. After several minutes of stable operation of the mobile compressor, the pressure sensor 64 in the pipe 1 will show an increase in air pressure in the pipe 1, and therefore in the mine workings 10. Then, the valve 63 opens and the pump for supplying combustible liquid into the pipe 16 is turned on. the fluid to the nozzle 17 turns on the power supply current of the electric candle ignition 20. By increasing the temperature in the pipe 1, fixed on the control panel of the electrode 64, stable burning of the torch from the nozzle 20 is determined, and then the beginning of the stable Vågå burning coal in mine workings 10. With the rise of the temperature up to 400 500 o C, lockable elektrodatchikom 64, starts the pump 11 and the valves 62 are opened.

Вода, выливаясь из отверстий наконечника 14, превращается в пар, понижающий температуру и увеличивающий давление в трубе 1 до заданных величин, при которых по команде системы управления откроется кран 61 на трубе 3, идущей к компрессору 8, и включится компрессор 6, поставляющий сжатый воздух компрессору 8. Компрессор 8 начнет работать, поставляя сжатый воздух во вторую трубу 9. При этом включается поставка горючей жидкости к форсунке 17 и включается электросвеча 20, находящиеся у второй, включенной трубы 9. В результате этого в горной выработке 10, идущей от трубы 9, подключенной к компрессору 8, к трубе 1, загорится пласт углеводородного топлива. По команде системы управления электросвеча 20 выключится и прекратится подача топлива к форсунке 17 второй трубы 9. Открывается кран 61 на трубе 3, идущей к компрессору 7, который включается в работу, подавая сжатый воздух в четыре трубы 9, а передвижной компрессор отключается от трубы 9, которая получит сжатый воздух от компрессора 7. При этом в три горные выработки 10 с задействованными трубами 9 от компрессора 7 одновременно с подачей воздуха подается горючая жидкость к форсункам 17 и электроток к элекстросвечам 20. Одновременно с получением устойчивого горения углеводородного топлива во всех горных выработках 10 открываются краны 61 на всех трубах 3. Парогазовая смесь заданного давления и температуры поступит в полукольцевую трубу 5, заполненную водой, приведет воду в движение к гидротурбине 21, которая начнет вращать электрогенератор 22, вырабатывающий электроток. На этом пусковой режим работы ЭК закончен и электростанция переходит в режим работы максимальной мощности. В этом режиме работают компрессоры 6, 7 и 8 и все трубы 3, подающие парогазовую смесь в полукольцевую трубу 5, при этом парогазовая смесь, прошедшая через цилиндры 29 компрессоров 7 и 8 и насоса 11, будет иметь малое давление в пониженную температуру, т.к. 80 90% энергии парогазовой смеси будет затрачена на работу компрессоров 7 и 8 и насоса 11 и только 10 20% будет использовано на повышение давления и температуры воды в трубе 5. Water, pouring out of the holes of the tip 14, turns into steam, which lowers the temperature and increases the pressure in the pipe 1 to the specified values, at which, upon the command of the control system, the valve 61 on the pipe 3 going to the compressor 8 opens and the compressor 6 turns on, supplying compressed air compressor 8. Compressor 8 will start by supplying compressed air to the second pipe 9. At the same time, the supply of combustible liquid to the nozzle 17 is turned on and the electric candle 20 located at the second, turned on pipe 9 is turned on. As a result, the mine 10 pits from the pipe 9, connected to the compressor 8, to the pipe 1, a layer of hydrocarbon fuel will light up. At the command of the control system, the electric candle 20 will turn off and the fuel supply to the nozzle 17 of the second pipe 9 will stop. The valve 61 opens on the pipe 3, which goes to the compressor 7, which is turned on, supplying compressed air to the four pipes 9, and the mobile compressor is disconnected from the pipe 9 , which will receive compressed air from compressor 7. At the same time, in three mining 10 with the involved pipes 9 from the compressor 7, simultaneously with the air supply, combustible liquid is supplied to the nozzles 17 and the electric current to the electric candles 20. Simultaneously with receiving For the burning of hydrocarbon fuel in all mine openings 10, cranes 61 on all pipes 3 open. A vapor-gas mixture of a given pressure and temperature enters a semi-ring pipe 5 filled with water, moves the water to the turbine 21, which will begin to rotate the electric generator 22, which generates an electric current. At this, the start-up mode of the EC operation is completed and the power plant switches to the maximum power operation mode. Compressors 6, 7 and 8 and all pipes 3 operate in this mode, supplying the gas-vapor mixture to the semi-ring pipe 5, while the gas-vapor mixture passing through the cylinders 29 of compressors 7 and 8 and pump 11 will have a low pressure at a reduced temperature, t. to. 80 90% of the energy of the gas-vapor mixture will be spent on the operation of compressors 7 and 8 and pump 11 and only 10 20% will be used to increase the pressure and temperature of water in the pipe 5.

Вода, пройдя через турбину 21, попадает в отстойник 24, в котором из воды осаждаются твердые частицы и выделяются газы, удаляемые через вытяжную трубу 26. Из отстойника 24 часть воды поступает в теплотрассу 27, а остальная часть воды из отстойника 24 входит в полукольцевую трубу 5. Холодная вода из теплотрассы поступает в бак 11. Периодически, по мере надобности, из отстойника 24 с помощью транспортера 25 удаляется осадок. Water passing through the turbine 21, enters the sump 24, in which solid particles are precipitated from the water and gases are removed through the exhaust pipe 26. From the sump 24, part of the water enters the heating pipe 27, and the rest of the water from the sump 24 enters the semicircular pipe 5. Cold water from the heating main enters the tank 11. Periodically, as necessary, sediment is removed from the sump 24 using the conveyor 25.

На режим работы с минимальной мощностью ЭК может быть переключена, например, в ночное время путем закрытия кранов 61 на пяти трубах 3, в том числе на трубе 3, приводящей в действие компрессор 7. В этом режиме краны 61 будут открыты только на двух трубах 3, в том числе на трубе 3, приводящей в действие компрессор 8. При этом сжатый воздух от компрессора 8 будет поступать каждые 10 мин по очереди в одну из пяти труб 9 с таким расчетом, что возобновление горения углеводородного топлива в выработках 10 будет происходить без использования горючей жидкости через форсунку 17 при подаче сжатого воздуха от компрессора 7 после сорокаминутного перерыва в подаче воздуха в эту выработку 10. The EC can be switched to the mode of operation with minimum power, for example, at night by closing the taps 61 on five pipes 3, including the pipe 3, which drives the compressor 7. In this mode, the taps 61 will be opened on only two pipes 3 , including the pipe 3, which drives the compressor 8. At the same time, compressed air from the compressor 8 will flow every 10 minutes in turn into one of the five pipes 9 so that the resumption of combustion of hydrocarbon fuel in the workings 10 will occur without using flammable liquid cut the nozzle 17 when applying compressed air from the compressor 7 after a forty-minute break in the air supply to this output 10.

Переключение режима работы с минимальной мощности на режим работы с максимальной мощностью производят открытием крана 61 на трубе 3, обеспечивающей работу компрессора 7 и подачей воздуха во все трубы 9 от компрессора 7 и 8. После того, как через 5 10 мин компрессор 7 начнет работать на полную мощность, открываются краны 61 на всех трубах 3. Switching the operation mode from minimum power to operating mode with maximum power is done by opening the valve 61 on the pipe 3, which ensures the operation of the compressor 7 and supplying air to all pipes 9 from the compressor 7 and 8. After 5 to 10 minutes, the compressor 7 starts to run on full power, cranes 61 open on all pipes 3.

Уменьшение мощности на 20% по сравнению с режимом максимальной мощности может быть получено путем закрытия крана 61 на трубе 3, приводящей в действие компрессор 8. A decrease in power by 20% compared with the maximum power mode can be obtained by closing the valve 61 on the pipe 3, which drives the compressor 8.

Для получения электротока заданной мощности на любом из трех режимов /максимальном, минимальном и промежуточном/ необходимо соответствующее устройство переключения от вала гидротурбины 21 к валам, например, одного из трех электрогенераторов 22. Такие устройства переключения известны. To obtain an electric current of a given power in any of the three modes (maximum, minimum and intermediate), an appropriate switching device from the shaft of the hydraulic turbine 21 to the shafts of, for example, one of the three electric generators 22. is necessary. Such switching devices are known.

С течением времени после начала эксплуатации ЭК выработки 10 в пласте угля 2 будет расширяться и соединяться друг с другом, образуя лавы, частично заполненные золой сгоревшего угля. Для поддержания интенсивности горения углеводородного пласта в нем в период строительства и подготовки ЭК к эксплуатации прокладываются дополнительные горные выработки 10 к трубам 9 второй очереди, находящимся на большем расстоянии от центральной трубы 1. Трубы 9 второй очереди подключаются к трубам от компрессоров 7 и 8 по мере того как работа действующих труб 9 становится недостаточно эффективной. При этом подключение к работе каждой новой трубы 9 производится при одновременном закрытии заглушкой старой трубы 9. Over time, after the commencement of operation of the EC, the output 10 in the coal seam 2 will expand and join together, forming lavas partially filled with ash from the burnt coal. To maintain the intensity of combustion of the hydrocarbon reservoir in it during construction and preparation of the EC for operation, additional mine workings 10 are laid to the pipes 9 of the second stage, located at a greater distance from the central pipe 1. The pipes 9 of the second stage are connected to the pipes from the compressors 7 and 8 as as the operation of the existing pipes 9 becomes insufficiently effective. At the same time, the connection to the operation of each new pipe 9 is made while closing the old pipe 9 with a plug.

Проходку скважин и установку труб 9 предлагается производить известными способами. Well drilling and installation of pipes 9 is proposed to be performed by known methods.

Одним из основных устройств ЭК, в существенной мере определяющий ее высокий КПД, является устройство компрессоров 6, 7 и 8 и насоса 11, при этом наибольший удельный вес в повышении КПД предлагаемой электростанции вносят основные компрессоры 7 и 8, работающие за счет энергии парогазовой смеси, получаемой в результате горения углеводородного пласта, которое поддерживают эти компрессоры, поставляя сжатый воздух. One of the main EC devices, which substantially determines its high efficiency, is the arrangement of compressors 6, 7 and 8 and pump 11, while the largest specific weight in increasing the efficiency of the proposed power plant is made by the main compressors 7 and 8, which operate due to the energy of the gas-vapor mixture, resulting from the combustion of a hydrocarbon reservoir, which these compressors support by supplying compressed air.

Работа компрессоров 7 и 8 производится в следующем порядке: по трубе 3, расходящейся на патрубки 53, парогазовая смесь через входные клапаны 39 попадает в левые части цилиндров 29, перегороженные поршнями 36, давлением на поршни 36 парогазовая смесь перемещает поршни 36 вместе со штоком 35 и поршнями 37 и 38 слева направо до касания поршня 36 электродатчика 51, при движении поршня 36 слева направо входные клапаны 40 и выходные клапаны 42 закрыты, а входные клапаны 39 и выходные клапаны 41 открыты, парогазовая смесь через клапаны 41 поступает из цилиндров 29 в патрубки 60 и далее в трубу 3, а из нее в трубу 5, в результате движения поршня 37 в цилиндре 30 слева направо воздух, сжатый компрессором 6, поступает в левую часть цилиндра 30 через входной клапан 43 и выходит из правой частит цилиндра через клапан 45 в тот момент, когда давление воздуха в правой части цилиндра достигнет значения, на который отрегулирован самооткрывающийся клапан 45. От клапана 45 сжатый воздух по патрубку 57 через клапан 47 поступает в левую часть цилиндра 31. Патрубки 57, идущие от клапанов 45 и 46 к клапанам 47 и 48, в средней части объединяются в общую трубу 66 большого диаметра, в которой благодаря ее большому внутреннему объему величина давления мало изменяется, несмотря на импульсный характер поступления сжатого воздуха через клапаны 45 и 46. Сжатый воздух из правой части цилиндра 31 через клапан 49 и патрубок 58 поступает в трубу 59 и далее в трубы 9. Compressors 7 and 8 are operated in the following order: the vapor-gas mixture through the inlet valves 39 enters the left parts of the cylinders 29 through the pipe 3 diverging into the nozzles 53 and is blocked by pistons 36; the vapor-gas mixture moves the pistons 36 together with the rod 35 and presses the pistons 36 and the pistons 37 and 38 from left to right until the piston 36 touches the electrode 51, when the piston 36 moves from left to right, the inlet valves 40 and outlet valves 42 are closed, and the inlet valves 39 and outlet valves 41 are open, the gas-vapor mixture through valves 41 enters from cylinders 29 into cuttings 60 and further into the pipe 3, and from it into the pipe 5, as a result of the movement of the piston 37 in the cylinder 30 from left to right, the air compressed by the compressor 6 enters the left side of the cylinder 30 through the inlet valve 43 and leaves the right part of the cylinder through the valve 45 at the moment when the air pressure in the right part of the cylinder reaches the value to which the self-opening valve 45 is adjusted. From valve 45, compressed air through the pipe 57 through the valve 47 enters the left side of the cylinder 31. The pipes 57 coming from valves 45 and 46 to the valves 47 and 48, in the middle part are combined into a large large diameter pipe 66, in which, due to its large internal volume, the pressure varies little, despite the pulsed nature of the compressed air through valves 45 and 46. Compressed air from the right side of the cylinder 31 through the valve 49 and the pipe 58 enters the pipe 59 and further into the pipes 9.

При движении слева направо поршень 36 касается электродатчика 51. По его сигналу система управления закроет клапаны 39 и 41 и откроет клапаны 40 и 42, в результате чего поршни 36, шток 35 и закрепленные на нем поршни 37 и 38 получат движение справа налево. При этом воздух начнет сжиматься в левых частях цилиндров 30 и 31. Такое движение поршней 36, 37 и 38 будет происходить до тех пор, пока поршень 36 не коснется электродатчика 52. По сигналу электродатчика 52 систем управления закроет клапаны 40 и 42 и откроет клапаны 39 и 41, в результате чего ход поршней 36, 37 и 38 изменится на обратный. When moving from left to right, the piston 36 touches the electrode 51. At its signal, the control system will close valves 39 and 41 and open the valves 40 and 42, as a result of which the pistons 36, the stem 35 and the pistons 37 and 38 fixed to it will receive a movement from right to left. In this case, the air will begin to compress in the left parts of the cylinders 30 and 31. Such movement of the pistons 36, 37 and 38 will occur until the piston 36 touches the electrode 52. At the signal of the electrode 52 of the control system, it closes valves 40 and 42 and opens valves 39 and 41, causing the pistons 36, 37 and 38 to reverse.

Работа насоса 11 аналогична работе компрессора 7 с той лишь разницей, что в цилиндр 30 поступает не сжатый воздух, а вода из бака 12 и затем движением поршня 37 вода нагнетается в трубы 13. Мощность насоса 11 в несколько раз меньше мощности компрессора 8, т.к. во-первых, объем воды, закачиваемый в горящий пласт угля, например, в 1673 раза меньше объема пара, образующегося из воды при 100oC и атмосферном давлении, а во-вторых, большую часть работы по нагнетанию воды в выработку 10 совершает сила тяжести, создающая давление воды, численно равное разности высот насоса 11 и выработки 10, умноженной на удельный вес воды /1 г/см3 при 4oC/.The operation of the pump 11 is similar to the operation of the compressor 7 with the only difference that not compressed air enters the cylinder 30, but water from the tank 12 and then the water is pumped into the pipes 13 by the movement of the piston 37. The power of the pump 11 is several times less than the capacity of the compressor 8, i.e. to. firstly, the volume of water injected into the burning coal bed, for example, is 1673 times less than the volume of steam generated from water at 100 o C and atmospheric pressure, and secondly, the majority of the work of injecting water into the production 10 , creating a water pressure numerically equal to the height difference between the pump 11 and the output 10, multiplied by the specific gravity of the water / 1 g / cm 3 at 4 o C /.

В процессе сооружения ЭК после прокладки горных выработок 10 в этих выработках за трубами 9 устанавливаются бетонные пробки 65, которые ограничивают поступление сжатого воздуха через действующие трубы 9 только в выработки 10, идущие к трубе 1. После того, как в результате выгорания пласта 2 вокруг действующей трубы 9, выгоревший пласт обойдет пробку 65 и соединит расположенную за ней выработку 10 с выгоревшим пространством вокруг трубы 1, ранее действующую трубу 9 отключают от компрессоров и закрывают заглушкой, а к компрессорам подключают следующую трубу 9, расположенную за бетонной пробкой 65, которая перестала служить своему назначению. During the construction of the EC, after laying the mine workings 10, concrete plugs 65 are installed behind the pipes 9 in these workings, which restrict the flow of compressed air through the existing pipes 9 only to the workings 10 going to the pipe 1. After burning up the formation 2 around the existing pipe 9, the burnt formation will bypass the plug 65 and connect the working 10 located behind it with the burnt space around the pipe 1, the previously existing pipe 9 is disconnected from the compressors and closed with a plug, and the following is connected to the compressors pipe 9, located behind the concrete plug 65, which has ceased to serve its purpose.

Ориентировочный расчет эффективности предлагаемой ЭК. An approximate calculation of the effectiveness of the proposed EC.

Сжатый компрессорами воздух закачивается в горящий угольный пласт. Для сгорания 1 кг углерода, находящегося в этом угольном пласте, необходимо 15 кг воздуха. При этом выделяется 1000 ккал, которые превращают в пар 10000 ккал/кг: 539 ккал/кг 18,5 кг воды. Объем этого пара будет в три раза больше того сжатого воздуха, который был закачен в угольный пласт с помощью компрессора, т. к. водяной пар имеет в 2,6 раза меньшую плотность, следовательно, 18,5 кг испарившейся воды при сгорании 1 кг углерода будут иметь объем в

Figure 00000002

больше объема 15 кг воздуха, необходимого для сгорания 1 кг углерода.Compressed air is pumped into a burning coal seam. To burn 1 kg of carbon in this coal seam, 15 kg of air is needed. In this case, 1000 kcal is released, which turns into steam 10,000 kcal / kg: 539 kcal / kg 18.5 kg of water. The volume of this vapor will be three times that compressed air that was pumped into the coal seam using a compressor, since water vapor has a 2.6 times lower density, therefore, 18.5 kg of evaporated water during the combustion of 1 kg of carbon will have volume in
Figure 00000002

more than 15 kg of air needed to burn 1 kg of carbon.

Если принято, что температура парогазовой смеси, поступающей в основной компрессор 7 и 8 больше температуры сжатого воздуха, поставляемого компрессором, на 273oC, то объем этого воздуха удваивается.If it is assumed that the temperature of the vapor-gas mixture entering the main compressor 7 and 8 is 273 ° C higher than the temperature of the compressed air supplied by the compressor, then the volume of this air doubles.

Таким образом один объем сжатого воздуха, закаченного компрессорами 7 и 8 в угольный пласт, дает 5,2 объема парогазовой смеси такого же давления. КПД компрессоров 7 и 8 больше чем 0,8. Thus, one volume of compressed air pumped by compressors 7 and 8 into the coal seam gives 5.2 volumes of a vapor-gas mixture of the same pressure. The efficiency of compressors 7 and 8 is greater than 0.8.

КПД превращения энергии парогазовой смеси, поступающей в полукольцевую трубу и реализующейся гидротурбиной и электрогенератором, можно принять равным 0,8, тогда КПД одного объема парогазовой смеси, приводящей в работу компрессоры 7 и 8,
0,8•0,8 0,64,
а КПД остальных 4,2 объемов парогазовой смеси, поступающих в полукольцевую трубу и гидротурбину, 0,8. Общий КПД всех 5,2 объемов парогазовой смеси
/0,64 + 4,2•0,8/ 5,2 0,77
С учетом затраты энергии на компрессор 6 и водяной насос 11 КПД предлагаемой ЭК по выработке электроэнергии можно принять 0,75.
The efficiency of converting the energy of the gas-vapor mixture entering the semicircular pipe and realized by a hydraulic turbine and an electric generator can be taken equal to 0.8, then the efficiency of one volume of the gas-vapor mixture, which drives compressors 7 and 8,
0.8 • 0.8 0.64,
and the efficiency of the remaining 4.2 volumes of the vapor-gas mixture entering the semi-annular pipe and the turbine is 0.8. The overall efficiency of all 5.2 volumes of a gas-vapor mixture
/ 0.64 + 4.2 • 0.8 / 5.2 0.77
Given the energy costs of the compressor 6 and the water pump 11, the efficiency of the proposed EC for the generation of electricity can be taken 0.75.

КПД известных ТЭС равно 0,4, а с учетом КПД добычи и транспортировки угля, а также переработки электроэнергии на ГАЭС, который можно принять 0,8, общий КПД ныне действующего энергетического комплекса шахта-транспорт-ТЭС-ГАЭС будет равен 0,32 т.е. в 2,4 раза меньше чем КПД предлагаемой ЭК. При этом как побочный продукт получения электроэнергии будет получена бесплатно тепловая энергия в виде горячей воды с температурой, близкой 100oC, которая может быть использована для промышленных, бытовых и с.-х. целей /например, для отопления парников/.The efficiency of known TPPs is 0.4, and taking into account the efficiency of coal production and transportation, as well as the processing of electricity at the PSPP, which can be taken 0.8, the total efficiency of the current mine-transport-TPP-PSPP power complex will be 0.32 t .e. 2.4 times less than the efficiency of the proposed EC. Moreover, as a by-product of the generation of electricity, thermal energy will be received free of charge in the form of hot water with a temperature close to 100 o C, which can be used for industrial, domestic and agricultural. purposes / for example, for heating greenhouses /.

С учетом рационального использования тепловой энергии КПД предлагаемой ЭК приблизится к 100% т.е. к идеалу, который известный и ТЭС в принципе не может быть достигнут. Доказательством того, что суммарный КПД по выработке электро-и тепловой энергии будет близок к 100% /более 95% является то обстоятельство, что тепловые потери предлагаемой ЭК будут малы /менее 5%/ благодаря теплоизоляции труб 1, 3 и 5 и замкнутому циклу превращения воды в пар и пара в воду при работе ЭК. При этом тепловые "потери" сжигаемого пласта угля в результате теплопроводности окружающих уголь горных пород не учитываются, как не учитываются "потери" к какой-то части разрабатываемого угольного пласта, оставшиеся неизвлеченными при шахтной добыче угля. По-видимому полнота выгорания угольного пласта при его использовании в ЭК будет больше полноты извлечения угля при шахтном способе добычи разрабатываемого пласта, при этом злейший враг шахтной добычи угля метан будет сгорать в процессе горения угольного пласта, а не удаляться с помощью вентиляции при шахтном способе добычи угля. Given the rational use of thermal energy, the efficiency of the proposed EC will approach 100% i.e. to the ideal, which is known and TPP in principle can not be achieved. The proof that the total efficiency for generating electric and thermal energy will be close to 100% / more than 95% is the fact that the heat loss of the proposed EC will be small / less than 5% / due to the thermal insulation of pipes 1, 3 and 5 and a closed conversion cycle water to steam and steam to water during EC operation. At the same time, the thermal “losses” of the burnt coal seam as a result of the thermal conductivity of the rocks surrounding the coal are not taken into account, just as the “losses” to some part of the developed coal seam that were not recovered during coal mining are not taken into account. Apparently, the completeness of burning a coal seam when used in EC will be more than the completeness of coal extraction in the mine method of mining the developed seam, while the worst enemy of coal mining of methane will burn during the burning of the coal seam, and not be removed by ventilation with the mine method of mining coal.

Срок окупаемости предлагаемой ЭК, исходя из капитальных затрат на ее сооружение и себестоимости вырабатываемой электроэнергии, будет в десятки раз меньше срока окупаемости как вышеупомянутого энергетического комплекса, так, например, атомного энергетического комплекса, включающего урановый рудник, завод по переработке урана в стержни для АЭС, АЭС, ГАЭС, полигоны по захоронению радиоактивных отходов работы АЭС, демонтаж, транспортировка и захоронение конструкций АЭС после ее остановки. The payback period of the proposed EC, based on the capital costs of its construction and the cost of electricity generated, will be ten times less than the payback period of the aforementioned energy complex, for example, an atomic energy complex, including a uranium mine, a plant for processing uranium into rods for nuclear power plants, NPPs, PSPPs, landfills for radioactive waste disposal at NPPs, dismantling, transportation and burial of NPP structures after it has been stopped.

В качестве конкретного примера реализации предлагаемой ЭК произведен ориентировочный расчет основных характеристик ЭК мощностью 200000 кВт. В этом примере примем, что угольный пласт толщиной в 5 м залегает на глубине 0,9 км. Давление воздуха, создаваемое компрессором, примем равным 100 кг/см2. Для обеспечения мощности 20000 кВт при КПД 0,75 потребуется сжигать 0,1 кг углерода на выработку 1 кВт-ч электроэнергии или

Figure 00000003

Для сжигания такого количества углерода потребуется подавать в 15 раз большее количество воздуха, т.е. 5,6 кг•15 84 кг/с или
84 кг/ч 1,4 кг/м3 60 м3
воздуха при давлении 1 кг/см2. Примем, что с помощью компрессора 6 производится предварительное сжатие воздуха до 4 кг/см2, тогда компрессор 7 будет поступать 15 м3/с, воздуха, сжатого до 4 кг/см2, по трубе с площадью поперечного сечения 1,5 м2 при скорости 10 м/с /компрессор 8 для простоты расчета во внимание не принимается/. Компрессор 7 будет сжимать воздух до 100 кг/см2 и поставлять его в четыре трубы 9, в каждую из которых будет направляться 0,15 м3/с сжатого воздуха со скоростью 1 м/с при площади поперечного сечения трубы, равной 0,15 м2, с диаметром свободного отверстия 0,44 м. По трубе 1 будет подниматься парогазовая смесь в объеме 0,6 м3/с•5,2 3,12 м3/с. При скорости подъема 3,12 м/с площадь поперечного сечения трубы 1 будет равна 1 м2 и ее диаметр будет равен 1,1 м.As a specific example of the implementation of the proposed EC, an approximate calculation of the main characteristics of the EC with a capacity of 200,000 kW is made. In this example, we assume that a coal seam 5 m thick lies at a depth of 0.9 km. The air pressure created by the compressor, take equal to 100 kg / cm 2 . To provide power of 20,000 kW with an efficiency of 0.75, it will be necessary to burn 0.1 kg of carbon to generate 1 kWh of electricity or
Figure 00000003

To burn this amount of carbon, you will need to supply 15 times more air, i.e. 5.6 kg • 15 84 kg / s or
84 kg / h 1.4 kg / m 3 60 m 3 / s
air at a pressure of 1 kg / cm 2 . Let us assume that with the help of compressor 6, air is precompressed to 4 kg / cm 2 , then compressor 7 will receive 15 m 3 / s of air compressed to 4 kg / cm 2 through a pipe with a cross-sectional area of 1.5 m 2 at a speed of 10 m / s / compressor 8 is not taken into account for ease of calculation /. The compressor 7 will compress the air to 100 kg / cm 2 and deliver it to four pipes 9, each of which will be sent 0.15 m 3 / s of compressed air at a speed of 1 m / s with a pipe cross-sectional area of 0.15 m 2 , with a free hole diameter of 0.44 m. Steam-gas mixture will rise through pipe 1 in a volume of 0.6 m 3 / s • 5.2 3.12 m 3 / s. At a lifting speed of 3.12 m / s, the cross-sectional area of pipe 1 will be 1 m 2 and its diameter will be 1.1 m.

Примем удаление труб 5 от трубы 1 равным 100 м, тогда в радиусе 100 м пласта угля толщиной в 5 м будет находиться
3,14•1002 м2•5 м 157000 м3 угля или 300000 т.
We accept the removal of pipes 5 from pipe 1 to be 100 m, then in a radius of 100 m of a coal seam 5 m thick will be
3.14 • 100 2 m 2 • 5 m 157000 m 3 of coal or 300,000 tons.

углерод, которого при сгорании 5,6 кг/с хватит на
300 000 000 5,6 кг/с 53 000 000 с или
53•106 3,6•103 15000 ч работы ЭК
При работе 18 ч в сутки она сможет работать более 2 лет на скважинах 5, удаленных на 100 м от трубы 1, затем вступят в работу скважины 5, удаленные на 150 м от скважины 1, далее на 200 м. Если принято, что рационально использовать скважины 5 на удалении до 1 км от скважины 1, то ЭК сможет работать на эксплуатации угольного пласта толщиной в 5 м более 200 лет.
carbon, which when burning 5.6 kg / s is enough for
300,000,000 5.6 kg / s 53,000,000 s or
53 • 10 6 3.6 • 10 3 15000 h of EC operation
When working 18 hours a day, she will be able to work for more than 2 years at wells 5 remote 100 m from pipe 1, then wells 5 will be put into operation, removed 150 m from well 1, then 200 m. If it is accepted that it is rational to use well 5 at a distance of up to 1 km from well 1, the EC will be able to work on the operation of a coal seam 5 m thick for more than 200 years.

Такая электростанция помимо выработки электроэнергии мощностью 200000 кВт с себестоимостью, в десятки раз меньшей чем на известных ТЭС, сможет обеспечивать теплом, например, парники на площади в 100 200 га, расположенные вокруг ЭК в радиусе до 1 км непрерывно в течение 200 лет. Such a power plant, in addition to generating electricity with a capacity of 200,000 kW with a cost that is ten times lower than at known TPPs, will be able to provide heat, for example, greenhouses on an area of 100,200 hectares, located around the EC in a radius of up to 1 km continuously for 200 years.

По трубам 12 к основанию трубы 1 будет подаваться вода насосом 11 со скоростью 6 л в 1 с. Для этого потребуется две трубы диаметром не более чем по 10 см. Для обеспечения работы 18 ч в сутки бак с водой может иметь емкость, равную 400 м3.Through pipes 12, water will be supplied to the base of pipe 1 by pump 11 at a speed of 6 l in 1 s. For this, two pipes with a diameter of not more than 10 cm will be required. To ensure operation 18 hours a day, the water tank may have a capacity of 400 m 3 .

Правильную сравнительную с ЭК оценку срока окупаемости капитальных затрат современного комплекса: шахта, ж.-д. транспорт, ТЭС, ГАЭС дать даже ориентировочно не представляется возможным, т.к. во-первых, для таких подсчетов нет достоверных стоимостных данных, а во-вторых, нет обоснованной методики учета стоимости земли, занимаемой таким комплексом, и цены экологического ущерба, наносимого природе и населению таким комплексом при работе. Однако можно утверждать, что срок окупаемости капитальных затрат современных энергетических комплексов, включающих шахту, ж.-д. транспорт, ТЭС или ТЭЦ и ГАЭС многократно превышает срок окупаемости предлагаемой ЭК, т.к. даже без учета стоимости земли и наносимого ущерба эксплуатация многих ТЭЦ, шахт, ж.-д. линий и ГАЭС убыточна и в целом такой энергетический комплекс всегда нуждался в государственных дотациях. The correct comparative assessment of the payback period for capital expenditures of a modern complex with EC: mine, railway transport, thermal power plants, PSPPs, it is even not possible to give tentatively, because firstly, for such calculations there is no reliable cost data, and secondly, there is no reasonable methodology for accounting for the cost of land occupied by such a complex, and the price of environmental damage caused to nature and the population by such a complex when working. However, it can be argued that the payback period for capital expenditures of modern energy complexes, including a mine, railway station transport, TPP or TPP and PSPP many times exceeds the payback period of the proposed EC, because even without taking into account the cost of land and the damage caused, the operation of many thermal power plants, mines, railways lines and the PSP are unprofitable and in general such an energy complex has always needed state subsidies.

Актуальность реализации предлагаемой ЭК определяется также угрозой нависшего над Россией энергетического кризиса, устранить который при ограниченных возможностях капитальных затрат строительством известных энергетических комплексов невозможно. The relevance of the proposed EC is also determined by the threat of the energy crisis looming over Russia, which cannot be eliminated with the limited possibilities of capital costs by building well-known energy complexes.

Claims (3)

1. Полуподземная тепловая электростанция, имеющая буровые скважины, проложенные до источника тепловой энергии, турбину с электрогенератором, насос, трубу отбора воды, систему автоматического управления, отличающаяся тем, что источником тепловой энергии является пласт подожженного каменного угля, в котором по трубам, установленным в скважинах, поступает сжатый воздух от компрессора и вода от насоса и из которого по центральной трубе в соединенную с ней полукольцевую трубу, заполненную водой, поступает горячий газ, в качестве турбины использована гидротурбина, установленная в полукольцевой трубе, заполненной водой, центральная труба, идущая вверх от пласта углеводородного топлива, находящегося под пластами горных пород, соединена своим верхним торцом радиальными трубами с полукольцевой трубой, расположенной в горизонтальной плоскости вблизи поверхности земли, на примерно равном расстоянии от центральной трубы к пласту углеводородного топлива проходят вертикальные скважины с трубами, по которым подается сжатый воздух в пласт углеводородного топлива, на нижней границе пласта углеводородного топлива проложены горные выработки, соединяющие трубы со сжатым воздухом с центральной трубой, при этом горные выработки проходят через несколько последовательно расположенных вертикальных скважин с трубами, ближайшая из которых к центральной трубе подключена к компрессорам, поставляющим сжатый воздух, и отделена от остальных цементной пробкой, перегораживающей горную выработку, в горной выработке у нижнего отверстия трубы, поставляющей сжатый воздух, установлены форсунки с жидким топливом и электросвечи зажигания, у нижнего отверстия центральной трубы установлены перфорированные отверстиями нижние концы труб, идущих от водяного насоса, установленного в баке с водой над верхним торцом центральной трубы. 1. A semi-underground thermal power plant having boreholes laid to a source of thermal energy, a turbine with an electric generator, a pump, a water extraction pipe, an automatic control system, characterized in that the thermal energy source is a layer of ignited coal, in which pipes installed in wells, compressed air comes from the compressor and water from the pump and from which the hot gas enters the semicircular pipe filled with water through the central pipe and is used as a turbine A hydraulic turbine installed in a semicircular pipe filled with water is used; the central pipe going upward from the hydrocarbon fuel layer located under the rock formations is connected by its upper end with radial pipes to a semicircular pipe located in a horizontal plane near the earth’s surface at an approximately equal distance from the central pipe to the reservoir of hydrocarbon fuel are vertical wells with pipes through which compressed air is supplied to the reservoir of hydrocarbon fuel, at the lower boundaries mine workings are laid, connecting the pipes with compressed air to the central pipe, while the mine workings pass through several consecutive vertical wells with pipes, the closest of which is connected to the compressors supplying compressed air to the central pipe and is separated from the rest by a cement plug blocking the mine working in the mine working near the lower hole of the pipe supplying compressed air, nozzles with liquid fuel and electric candles are installed iganiya, at the lower hole of the Central pipe installed the perforated holes of the lower ends of the pipes coming from the water pump installed in the water tank above the upper end of the Central pipe. 2. Электростанция по п. 1, отличающаяся тем, что она имеет два основных компрессора большой и малый одинакового устройства, каждый из которых имеет четыре цилиндра равной длины, два крайних большого и малого диаметра и два средних среднего по величине диаметра (по отношению к крайним), установленных в общем корпусе с общим штоком, расположенным по осям этих цилиндров и проходящим через торцевые перегородки между этими цилиндрами, в каждом цилиндре на общем штоке закреплено по одному поршню двустороннего действия и установлены по два входных и два выходных клапана, к входным клапанам двух смежных цилиндров среднего диаметра подведены патрубки от трубы, по которой в них поступает парогазовая смесь из центральной трубы электростанции, от выходных клапанов этих цилиндров отходят патрубки, по которым отработанная смесь поступает в общую трубу, соединенную патрубком с полукольцевой трубой, к входным клапанам крайнего цилиндра большого диаметра подведены патрубки, по которым поступает сжатый воздух от компрессора предварительного сжатия воздуха, а от выходных клапанов этого цилиндра отходят патрубки к отрезку трубы увеличенного диаметра, к входным клапанам крайнего малого диаметра подходят патрубки от отрезка трубы увеличенного диаметра, а от выходных клапанов этого цилиндра отходят патрубки, объединенные в трубу, поставляющие сжатый воздух в трубы, через которые поддерживается горение углеводородного пласта, входные и выходные клапаны средних цилиндров снабжены устройством, перекрывающим их в соответствии с сигналами электродатчиков, установленных на торцевых плоскостях этих цилиндров, входные и выходные клапаны крайних цилиндров снабжены устройствами, открывающими их по достижении заданного давления сжатого воздуха. 2. The power plant according to claim 1, characterized in that it has two main compressors, large and small, of the same device, each of which has four cylinders of equal length, two extreme large and small diameters, and two medium-sized average diameters (relative to the extreme ) installed in a common housing with a common rod located along the axes of these cylinders and passing through the end walls between these cylinders, each cylinder has one double-acting piston fixed to the common rod and two input pistons are installed and two outlet valves, inlet valves of two adjacent cylinders of medium diameter are connected with pipes from the pipe through which the gas-vapor mixture enters from the central pipe of the power plant, pipes are released from the outlet valves of these cylinders, through which the spent mixture enters the common pipe connected to the pipe with a half-ring pipe, pipes are connected to the inlet valves of the outermost cylinder of large diameter, through which compressed air is supplied from the air pre-compressor, and from the outlet valves of this the nozzles go to the section of the pipe of increased diameter, to the inlet valves of the smallest diameter fit the pipes from the section of the pipe of the increased diameter, and pipes that are combined into the pipe, supply compressed air to the pipes through which the hydrocarbon reservoir is supported, go from the outlet valves of this cylinder and the output valves of the middle cylinders are equipped with a device that overlaps them in accordance with the signals of the electric sensors installed on the end planes of these cylinders, the input and output e valves outer cylinder fitted with devices to open them upon reaching a predetermined air pressure. 3. Электростанция по п. 1, отличающаяся тем, что водяной насос имеет два цилиндра разного диаметра, равные по длине, при этом в цилиндр большего диаметра поступает вода, а в цилиндр меньшего диаметра парогазовая смесь из верхнего торца центральной трубы, вода выходит из цилиндра в трубы, поставляющие ее к нижнему основанию центральной трубы, а отработанная парогазовая смесь поступает через трубу с патрубком в полукольцевую трубу, цилиндры разделены торцевой перегородкой с теплоизоляцией, через перегородку по оси цилиндров проходит шток с поршнями, установленными в каждом цилиндре. 3. The power plant according to claim 1, characterized in that the water pump has two cylinders of different diameters, equal in length, while water enters the cylinder of a larger diameter, and the gas mixture from the upper end of the central pipe into the cylinder of smaller diameter, the water leaves the cylinder into the pipes supplying it to the lower base of the central pipe, and the spent vapor-gas mixture enters through a pipe with a pipe into a half-ring pipe, the cylinders are separated by an end wall with thermal insulation, a rod with p passes through the partition along the axis of the cylinders rshnyami installed in each cylinder.
RU92012693A 1992-12-17 1992-12-17 Semi-underground thermal power station RU2095580C1 (en)

Priority Applications (1)

Application Number Priority Date Filing Date Title
RU92012693A RU2095580C1 (en) 1992-12-17 1992-12-17 Semi-underground thermal power station

Applications Claiming Priority (1)

Application Number Priority Date Filing Date Title
RU92012693A RU2095580C1 (en) 1992-12-17 1992-12-17 Semi-underground thermal power station

Publications (2)

Publication Number Publication Date
RU92012693A RU92012693A (en) 1995-06-19
RU2095580C1 true RU2095580C1 (en) 1997-11-10

Family

ID=20133857

Family Applications (1)

Application Number Title Priority Date Filing Date
RU92012693A RU2095580C1 (en) 1992-12-17 1992-12-17 Semi-underground thermal power station

Country Status (1)

Country Link
RU (1) RU2095580C1 (en)

Cited By (4)

* Cited by examiner, † Cited by third party
Publication number Priority date Publication date Assignee Title
RU2310793C2 (en) * 2005-07-28 2007-11-20 Государственное образовательное учреждение высшего профессионального образования "Южно-Российский государственный технический университет (Новочеркасский политехнический институт)" Underground power generating complex
RU2341736C2 (en) * 2006-11-07 2008-12-20 Фисенко Вячеслав Николаевич Method of usage geothermal energy "fill well"
RU2360095C2 (en) * 2004-04-01 2009-06-27 Мирсултан Исмаил оглы Гашимов Method of thermal drilling vertical boreholes in earth crust and solid-propellant bore of gashimov for implementation of this method, also method of borehole steam generation using deep heat of earth
RU2696601C1 (en) * 2016-10-17 2019-08-05 Китайский университет горного дела и технологий New thermoelectric power generation system to generate heat energy from underground fire

Families Citing this family (2)

* Cited by examiner, † Cited by third party
Publication number Priority date Publication date Assignee Title
RU2126089C1 (en) * 1997-05-06 1999-02-10 Кашеваров Юрий Борисович Rotary-engine thermal power plant
RU2123604C1 (en) * 1997-05-28 1998-12-20 Кашеваров Юрий Борисович Steam power plant with rotor engine

Non-Patent Citations (1)

* Cited by examiner, † Cited by third party
Title
Тельдеши Ю. Мир ищет энергию. - М.: Мир, 1981, с. 174 - 178, рис. 84,85. *

Cited By (4)

* Cited by examiner, † Cited by third party
Publication number Priority date Publication date Assignee Title
RU2360095C2 (en) * 2004-04-01 2009-06-27 Мирсултан Исмаил оглы Гашимов Method of thermal drilling vertical boreholes in earth crust and solid-propellant bore of gashimov for implementation of this method, also method of borehole steam generation using deep heat of earth
RU2310793C2 (en) * 2005-07-28 2007-11-20 Государственное образовательное учреждение высшего профессионального образования "Южно-Российский государственный технический университет (Новочеркасский политехнический институт)" Underground power generating complex
RU2341736C2 (en) * 2006-11-07 2008-12-20 Фисенко Вячеслав Николаевич Method of usage geothermal energy "fill well"
RU2696601C1 (en) * 2016-10-17 2019-08-05 Китайский университет горного дела и технологий New thermoelectric power generation system to generate heat energy from underground fire

Similar Documents

Publication Publication Date Title
Ármannsson et al. Geothermal environmental impact
US4282444A (en) Method for deep shaft pumpback energy generation
US11414273B2 (en) System and method for compressed air energy storage
CN101864941B (en) Ultra-deep coal underground gasification technology
RU2209315C2 (en) Method of mining of outburst-prone and gassy coal seams
RU2095580C1 (en) Semi-underground thermal power station
CN109779820B (en) Comprehensive utilization system and utilization method for abandoned open pit
CN112096358B (en) Underground coal gasification mining method for drilling blasting cracking loosening coal seam
CN206738005U (en) A kind of gas electricity system
RU2094925C1 (en) Energy storage incorporating equipment for its supply to users
SU1737122A1 (en) Method for development of combustible resources deposits
CN219139138U (en) Underground hydrogen storage device and system
RU2098614C1 (en) Assembly and method for prolongation of exploitation life of oil fields
RU92012693A (en) HALF LAND THERMAL HYDROELECTRIC POWER STATION OF KASHEVAROV "EK"
CN213678243U (en) A mix and heat jar for oil field
RU2095517C1 (en) Method and device for producing electric energy
RU2185508C2 (en) Method of constructing power generated plant in underground combustion of coal
CN2152910Y (en) Waste heat utilizing device for petroleum drilling diesel engine set
RU2046949C1 (en) Method and facilities to realize coal stratums underground development
RU2052134C1 (en) Thermoelectric plant
RU2212000C2 (en) Subsurface power complex
CN215107728U (en) Land-saving type thermal power plant
RU2269059C2 (en) Underground energy complex
CN221146518U (en) Oxyhydrogen flame stable combustion system of pulverized coal boiler of power station
RU93006347A (en) HOUSEHOLD GAS GENERATOR INSTALLATION