RU2090057C1 - Atmospheric process control method and technical system, method for generating convection currents in atmosphere and ion generator - Google Patents
Atmospheric process control method and technical system, method for generating convection currents in atmosphere and ion generator Download PDFInfo
- Publication number
- RU2090057C1 RU2090057C1 RU96111962A RU96111962A RU2090057C1 RU 2090057 C1 RU2090057 C1 RU 2090057C1 RU 96111962 A RU96111962 A RU 96111962A RU 96111962 A RU96111962 A RU 96111962A RU 2090057 C1 RU2090057 C1 RU 2090057C1
- Authority
- RU
- Russia
- Prior art keywords
- air
- current
- atmosphere
- formation
- convection
- Prior art date
Links
- 238000000034 method Methods 0.000 title claims abstract description 70
- 238000004886 process control Methods 0.000 title abstract description 3
- 150000002500 ions Chemical class 0.000 claims abstract description 71
- 230000015572 biosynthetic process Effects 0.000 claims abstract description 51
- 229910052760 oxygen Inorganic materials 0.000 claims abstract description 22
- 230000008569 process Effects 0.000 claims abstract description 22
- 230000001174 ascending effect Effects 0.000 claims abstract description 20
- 239000001301 oxygen Substances 0.000 claims abstract description 20
- QVGXLLKOCUKJST-UHFFFAOYSA-N atomic oxygen Chemical compound [O] QVGXLLKOCUKJST-UHFFFAOYSA-N 0.000 claims abstract description 18
- 239000003570 air Substances 0.000 claims description 95
- 238000005755 formation reaction Methods 0.000 claims description 48
- 239000004020 conductor Substances 0.000 claims description 8
- 230000007613 environmental effect Effects 0.000 claims description 5
- 239000012080 ambient air Substances 0.000 claims description 3
- 239000007789 gas Substances 0.000 claims description 3
- 230000000630 rising effect Effects 0.000 claims description 3
- 239000007787 solid Substances 0.000 claims description 3
- 238000010926 purge Methods 0.000 claims description 2
- 238000001556 precipitation Methods 0.000 abstract description 6
- 230000002411 adverse Effects 0.000 abstract description 3
- 230000000694 effects Effects 0.000 abstract description 3
- 239000000126 substance Substances 0.000 abstract description 3
- 230000004907 flux Effects 0.000 abstract 1
- IJGRMHOSHXDMSA-UHFFFAOYSA-N Atomic nitrogen Chemical compound N#N IJGRMHOSHXDMSA-UHFFFAOYSA-N 0.000 description 14
- 229910052757 nitrogen Inorganic materials 0.000 description 11
- XLYOFNOQVPJJNP-UHFFFAOYSA-N water Substances O XLYOFNOQVPJJNP-UHFFFAOYSA-N 0.000 description 8
- 239000002245 particle Substances 0.000 description 5
- 230000005684 electric field Effects 0.000 description 4
- 239000010410 layer Substances 0.000 description 4
- 230000008859 change Effects 0.000 description 3
- 150000001793 charged compounds Chemical class 0.000 description 3
- 238000009833 condensation Methods 0.000 description 3
- 230000005494 condensation Effects 0.000 description 3
- 238000010586 diagram Methods 0.000 description 3
- 230000005686 electrostatic field Effects 0.000 description 3
- 230000002349 favourable effect Effects 0.000 description 3
- 239000000446 fuel Substances 0.000 description 3
- 239000002344 surface layer Substances 0.000 description 3
- 230000009471 action Effects 0.000 description 2
- 238000000354 decomposition reaction Methods 0.000 description 2
- 238000001704 evaporation Methods 0.000 description 2
- 230000008020 evaporation Effects 0.000 description 2
- 238000002474 experimental method Methods 0.000 description 2
- 230000003993 interaction Effects 0.000 description 2
- 230000007774 longterm Effects 0.000 description 2
- 230000007935 neutral effect Effects 0.000 description 2
- 238000013021 overheating Methods 0.000 description 2
- -1 oxygen ions Chemical class 0.000 description 2
- 230000008092 positive effect Effects 0.000 description 2
- 239000002000 Electrolyte additive Substances 0.000 description 1
- CBENFWSGALASAD-UHFFFAOYSA-N Ozone Chemical compound [O-][O+]=O CBENFWSGALASAD-UHFFFAOYSA-N 0.000 description 1
- 238000007664 blowing Methods 0.000 description 1
- 239000003990 capacitor Substances 0.000 description 1
- 229910052729 chemical element Inorganic materials 0.000 description 1
- 238000002485 combustion reaction Methods 0.000 description 1
- 150000001875 compounds Chemical class 0.000 description 1
- 230000006378 damage Effects 0.000 description 1
- 238000013461 design Methods 0.000 description 1
- 239000006185 dispersion Substances 0.000 description 1
- 239000003792 electrolyte Substances 0.000 description 1
- 230000009881 electrostatic interaction Effects 0.000 description 1
- 238000005421 electrostatic potential Methods 0.000 description 1
- 238000005516 engineering process Methods 0.000 description 1
- 239000012535 impurity Substances 0.000 description 1
- 229910052500 inorganic mineral Inorganic materials 0.000 description 1
- 238000009434 installation Methods 0.000 description 1
- 239000012212 insulator Substances 0.000 description 1
- 238000000752 ionisation method Methods 0.000 description 1
- 239000007788 liquid Substances 0.000 description 1
- 230000007246 mechanism Effects 0.000 description 1
- 239000011707 mineral Substances 0.000 description 1
- 239000000203 mixture Substances 0.000 description 1
- 125000004430 oxygen atom Chemical group O* 0.000 description 1
- 230000000149 penetrating effect Effects 0.000 description 1
- 238000011084 recovery Methods 0.000 description 1
- 238000005507 spraying Methods 0.000 description 1
- 230000003068 static effect Effects 0.000 description 1
- 238000012360 testing method Methods 0.000 description 1
- 238000012549 training Methods 0.000 description 1
- 238000009423 ventilation Methods 0.000 description 1
Images
Landscapes
- Disinfection, Sterilisation Or Deodorisation Of Air (AREA)
Abstract
Description
Изобретение относится к прикладной метеорологии и может быть использовано, например, для защиты транспортных и промышленных объектов /аэродромов, портов, дорог и т.д./ от неблагоприятных погодных условий, таких как низкая облачность, туман и т.п. а также в экологических и сельскохозяйственных целях: для "проветривания" приземных слоев атмосферы, вызывания осадков и др. The invention relates to applied meteorology and can be used, for example, to protect transport and industrial facilities / airfields, ports, roads, etc. / from adverse weather conditions, such as low cloud cover, fog, etc. as well as environmental and agricultural purposes: for "airing" the surface layers of the atmosphere, causing precipitation, etc.
Известен способ управления атмосферными процессами, заключающийся в том, что при оценке метеорологической и/или экологической ситуации как неблагоприятной, например наличие тумана или низкой облачности, ухудшающих видимость на взлетно-посадочных полосах аэродромов, либо наличие смога в карьерах, где добываются полезные ископаемые, с помощью технических средств создают мощный восходящий ток воздуха, вызывающий горизонтальный ветер и соответствующие компенсирующие нисходящие токи воздуха, т.е. формируют над заданной территорией конвекционную ячейку [1]
При реализации указанного способа воздействия на атмосферу используются обычно устройства типа метеотронов, представляющих собой одно или группу сопл, выбрасывающих в атмосферу мощную струю теплого воздуха, образующегося в камерах, где сжигается топливо /см. там же/. Режим работы камер можно регулировать.A known method of controlling atmospheric processes is that when assessing the meteorological and / or environmental situation as unfavorable, for example, the presence of fog or low clouds that impair visibility on the runways of airfields, or the presence of smog in quarries where minerals are mined, using technical means, they create a powerful ascending air current causing a horizontal wind and corresponding compensating descending air currents, i.e. form a convection cell over a given territory [1]
When implementing this method of exposure to the atmosphere, devices of the meteotron type are usually used, which are one or a group of nozzles that emit into the atmosphere a powerful stream of warm air generated in the chambers where the fuel / cm is burned. ibid. The operation mode of the cameras can be adjusted.
Известный способ позволяет во многих случаях успешно рассеивать туман или смог над заданной территорией, т.к. при работе метеотрона создается восходящий ток воздуха высотой до 1 км или более, который при попадании в более высокие слои атмосферы охлаждается, вызывая конденсацию влаги с возможным выпадением осадков, а поскольку поднимающийся ток воздуха увлекает за собой все новые порции воздуха снизу, происходит общая вентиляция атмосферы в приземном слое, усиливаемая компенсационными нисходящими токами воздуха, образующимися на некотором расстоянии от восходящего тока воздуха. Однако применение данного способа значительно ограничивается нешироким диапазоном благоприятных атмосферных условий, в которых можно эффективно изменять погоду. Например, при скорости горизонтального ветра более 5 м/с, а также при наличии задерживающих слоев в атмосфере /изометрия, температурная инверсия и др./ струя сносится, затухает, рассеивается, а поэтому конденсационные процессы будут менее выраженными, а конвекционная ячейка не сформируется. The known method allows in many cases to successfully disperse fog or smog over a given territory, because during the operation of the meteotron, an upward air current of up to 1 km or more is created, which, when it enters the higher atmosphere, cools, causing moisture condensation with possible precipitation, and since the rising air current carries all new air portions from below, general atmospheric ventilation in the surface layer, amplified by compensating descending air currents formed at a certain distance from the ascending air current. However, the application of this method is significantly limited by a narrow range of favorable atmospheric conditions in which the weather can be effectively changed. For example, at a horizontal wind speed of more than 5 m / s, as well as in the presence of retardation layers in the atmosphere / isometry, temperature inversion, etc. / jet is drifted, damped, scattered, and therefore condensation processes will be less pronounced, and a convection cell will not form.
Применяемое для реализации известного способа оборудование реактивные двигатели или другие камеры сгорания с соплами и вспомогательными устройствами, например компрессорами само по себе недешево и, что существенно, предполагает потребление большого количества топлива. Если добавить к этому недостаточному во многих случаях эффективность создаваемой струи для формирования мощного устойчивого восходящего тока воздуха, то становится ясной актуальность разработки более надежных и дешевых способов управления атмосферными процессами и средств для реализации этих новых способов управления. The equipment used for the implementation of the known method, jet engines or other combustion chambers with nozzles and auxiliary devices, for example, compressors, is not cheap in itself and, which is significant, involves the consumption of a large amount of fuel. If we add to this insufficient in many cases the efficiency of the created jet for the formation of a powerful stable upward air current, it becomes clear the relevance of developing more reliable and cheap methods of controlling atmospheric processes and means for implementing these new control methods.
Другая сторона проблемы касается технологии управления самим процессом формирования восходящего тока воздуха при создании конвекционной ячейки в приземном слое атмосферы. Как правило, для уточнения необходимости того или иного воздействия на атмосферу /атмосферные образования/, оценки исходной метеорологической ситуации и контроля за изменением этой ситуации используется разнообразное метеорологическое оборудование, в частности радиолокаторы. Для практических задач, однако, важно наличие обратной связи метеонаблюдений и воздействия на атмосферу, т.е. возможность вовремя прекратить или изменить режим воздействия в соответствии с оценкой ситуации. Для реализации такой связи требуется комплекс соответствующего оборудования. Заявителю, однако, неизвестны источники информации, в которых были бы описаны подобные комплексные решения отмеченной проблемы, во всяком случае, применительно к способам воздействия на атмосферу, направленным на формирование конвекционных ячеек. The other side of the problem concerns the control technology of the process of formation of the ascending air current when creating a convection cell in the surface layer of the atmosphere. As a rule, a variety of meteorological equipment, in particular radars, is used to clarify the need for a particular effect on the atmosphere / atmospheric formations /, assess the initial meteorological situation and monitor the change in this situation. For practical tasks, however, it is important to have feedback from meteorological observations and atmospheric effects, i.e. the ability to stop or change the exposure regimen in time in accordance with the assessment of the situation. To implement this connection requires a set of appropriate equipment. The applicant, however, does not know the sources of information that would describe such complex solutions to this problem, in any case, with regard to methods of influencing the atmosphere aimed at the formation of convection cells.
Известны способы создания конвекционного тока воздуха с использованием восходящего вместе со струей этого воздуха тока ионов /см. напр. авт. свид. СССР N 29675 и патент ФРГ N 831613/. Эти способы предназначены соответственно для вызывания дождя и рассеивания тумана. В обоих случаях для осуществления способа создания ионизированного конвекционного тока воздуха используют устройства в виде электродов, которые продуваются снизу вверх струей воздуха. В результате в атмосфере создается объемный электрический заряд. Однако данные способы создания конвекции в атмосфере не предусматривают создания мощных восходящих токов воздуха, поэтому их применение весьма ограничено наличием благоприятных метеорологических условий, например незначительной скоростью ветра, небольшой плотностью или толщиной тумана и др. Known methods for creating a convection current of air using ascending together with the stream of this air ion current / cm e.g. author testimonial. USSR N 29675 and the patent of Germany N 831613 /. These methods are respectively designed to cause rain and disperse fog. In both cases, to implement the method of creating an ionized convection current of air, devices in the form of electrodes are used, which are blown up from the bottom by an air stream. As a result, a voluminous electric charge is created in the atmosphere. However, these methods of creating convection in the atmosphere do not provide for the creation of powerful ascending air currents, so their use is very limited by the presence of favorable meteorological conditions, for example, insignificant wind speed, low density or thickness of the fog, etc.
Другие известные попытки создания конвекции предусматривают ионизацию воздуха за счет испарения и разложения воды, в которой растворены электролитные добавки /например, патент Германии N 591295/, в результате чего выходящие из электролита молекулы газа и водяного пара заряжаются положительно и увеличивают положительный заряд в направлении более высоких слоев воздуха, т.е. создается объемный электрический заряд в атмосфере. Однако такой способ позволяет создать восходящие токи воздуха в случае отрицательно заряженных низких туманов и облаков, в противном случае рассеивание атмосферных образований происходит без создания восходящих струй воздуха. Other known attempts to create convection include ionization of air by evaporation and decomposition of water in which electrolyte additives are dissolved (for example, German patent N 591295 /, as a result of which gas and water vapor molecules leaving the electrolyte are charged positively and increase the positive charge towards higher layers of air, i.e. creates a volumetric electric charge in the atmosphere. However, this method allows the creation of ascending air currents in the case of negatively charged low fogs and clouds, otherwise the dispersion of atmospheric formations occurs without the creation of ascending air jets.
Известны устройства для формирования ионов /генераторы ионов/, которые могут подниматься в атмосфере в виде токов, увлекающих за собой воздух, выполненные в виде термоионизаторов /патент Германии N 306293/. Подобные устройства представляют собой раскаленные проводники, генерирующие так называемые "ионы каления", которые создают объемный электрический заряд в атмосфере. Однако такие устройства не обеспечивают сколько-нибудь высоко проникающих в атмосферу токов воздуха. Known devices for the formation of ions / ion generators /, which can rise in the atmosphere in the form of currents that entrain air, made in the form of thermal ionizers / German patent N 306293 /. Such devices are hot conductors that generate the so-called "heat ions", which create a volumetric electric charge in the atmosphere. However, such devices do not provide any high air currents that penetrate into the atmosphere.
Для формирования более мощных конвекционных струй в атмосфере возможны также внесение ионизированных частиц измельченных веществ в струю теплого /перегретого/ воздуха и установка на пути струи теплого воздуха электродов. For the formation of more powerful convection jets in the atmosphere, it is also possible to introduce ionized particles of crushed substances into a stream of warm / superheated / air and install electrodes in the path of a stream of warm air.
Однако подобные способы создания конвекционного тока довольно дороги, т. к. для получения нагретой струи воздуха требуется сжигать много топлива, требуется более сложное оборудование. Но и такие, более разработанные способы, все же не позволяет, например, преодолеть такое препятствие для распространения струи на значительную высоту, как ветер, скорость которого больше 5 м/с, или задерживающий слой в атмосфере /инверсия температуры и т.п./. Кроме того, для всех указанных способов получения конвекции характерно использование принудительной подачи воздуха фактор, усложняющий осуществление способа. However, such methods of creating convection current are quite expensive, because in order to obtain a heated air stream it is required to burn a lot of fuel, more complicated equipment is required. But even such more developed methods still do not allow, for example, to overcome such an obstacle for the jet to spread to a considerable height, such as wind, whose speed is more than 5 m / s, or a delay layer in the atmosphere / temperature inversion, etc. / . In addition, for all these methods of convection, the use of forced air supply is a factor that complicates the implementation of the method.
Более близким способом формирования конвекционного тока воздуха, основанным на создании в атмосфере конвективного тока ионов, к заявленному изобретению является способ, описанный в упомянутой выше работе Качурина Л.Г. на с. 376-380. Данный способ основан на ионизации воздуха с помощью высокого электрического потенциала. A closer method for the formation of convection current of air, based on the creation of an convective ion current in the atmosphere, to the claimed invention is the method described in the above-mentioned work by L. Kachurin. on p. 376-380. This method is based on the ionization of air using high electric potential.
Однако в известном способе ионизации подвергают большой объем воздуха, причем для этого используют пульсирующее напряжение. Образуемый при этом поток ионов, создавая значительный суммарный объемный электрический заряд в атмосфере, не приводит к формированию мощной и устойчивой конвективной струи воздуха ввиду недостаточной для этого концентрации ионов в воздухе, с одной стороны, и ввиду непостоянства режима ионизации с другой. Кроме того, при подобной ионизации воздуха образуются самые разнообразные ионы: положительные, отрицательные, легкие и тяжелые, а различные ионы в разной степени способны к созданию устойчивых конвективных токов. However, in the known method of ionization, a large volume of air is subjected, and a pulsating voltage is used for this. The ion flow formed in this case, creating a significant total volume electric charge in the atmosphere, does not lead to the formation of a powerful and stable convective air stream due to the insufficient concentration of ions in the air for this, on the one hand, and due to the inconstancy of the ionization regime on the other. In addition, with such air ionization, a wide variety of ions are formed: positive, negative, light and heavy, and various ions are capable of creating stable convective currents to varying degrees.
Весьма близким к заявленному генератору ионов, является устройство для создания объемного заряда в атмосфере [2] которое содержит электрод, ионизирующий воздух /коронирующий электрод/, выполненный в виде провода, закрепленного над поверхностью земли на опорах и подключенного к источнику высокого напряжения. Электрод заряжается отрицательно и образует, благодаря особой конструкции, обширный и плотный отрицательный объемный заряд, в котором силы отталкивания ионов настолько велики, что формируется "подталкиваемый" отрицательным электрическим зарядом Земли вверх в атмосферу ток ионов, скорость которого соизмерима со скоростями перемещения воздушных масс в конвективных потоках. Т.е. данное устройство позволяет осуществить формирование более мощной и устойчивой конвективной струи воздуха /который вовлекается в движение током ионов/. Между тем, насколько бы плотным и обширным ни был объемный электрический заряд в атмосфере, формирование устойчивого конвективного тока ионов вряд ли может быть гарантировано при отсутствии некоторых, впрочем, довольно часто отсутствующих на практике, благоприятных метеорологических условий, таких, как невысокая скорость ветра или слабая инверсия. Very close to the claimed ion generator is a device for creating a space charge in the atmosphere [2] which contains an electrode that ionizes air / a corona electrode /, made in the form of a wire fixed above the ground on supports and connected to a high voltage source. The electrode is negatively charged and, thanks to its special design, forms an extensive and dense negative space charge in which the ion repulsive forces are so large that an ion current "pushed" by the negative electric charge of the Earth into the atmosphere is formed, the speed of which is comparable with the velocities of air masses moving in convective streams. Those. This device allows the formation of a more powerful and stable convective air stream / which is involved in the movement of ion current /. Meanwhile, no matter how dense and extensive the volume electric charge in the atmosphere, the formation of a stable convective ion current can hardly be guaranteed in the absence of some, however, quite often absent in practice, favorable meteorological conditions, such as low wind speed or weak inversion.
Основной причиной, препятствующей получению необходимого конвективного тока для создания устойчивого на протяжении нескольких километров конвекционного тока воздуха, является "сплошная" ионизация воздуха, т.е. не учитывающая неоднородности атмосферного воздуха по его составу, и приводящая поэтому к образованию разнородных ионов. The main reason that prevents obtaining the necessary convective current to create a stable convection current of air for several kilometers is the "continuous" ionization of air, i.e. not taking into account the heterogeneity of atmospheric air in its composition, and therefore leading to the formation of heterogeneous ions.
Первая задача, на решение которой направлено заявленное изобретение, заключается в том, чтобы разработать способ управления атмосферными процессами на основе формирования стабильной конвекционной ячейки, функционирование которой происходило бы в широком диапазоне метеорологических условий, в частности при скоростях ветра более 5 м/с, а также при наличии в атмосфере различных задерживающих слоев /инверсии температуры и т.д./. При этом в любое время должна быть возможность в зависимости от конкретной метеорологической ситуации изменить параметры формирования ячейки, чтобы воздействовать на атмосферу наиболее целесообразным путем в желаемом направлении. The first task to which the claimed invention is directed is to develop a method for controlling atmospheric processes based on the formation of a stable convection cell, the functioning of which would occur in a wide range of meteorological conditions, in particular at wind speeds of more than 5 m / s, and in the presence of various delaying layers in the atmosphere / temperature inversion, etc. /. At the same time, at any time, it should be possible, depending on the specific meteorological situation, to change the cell formation parameters in order to influence the atmosphere in the most expedient way in the desired direction.
Другая задача, решаемая настоящим изобретением, заключается в том, чтобы создать техническую систему, позволяющую осуществить стабильную и в то же время оперативную управляемую конвекционную ячейку. Another problem solved by the present invention is to create a technical system that allows for a stable and at the same time operational controlled convection cell.
Следующая задача, решаемая настоящим изобретением, состоит в том, чтобы разработать эффективный способ формирования устойчивого при сильном ветре и проникающего относительно высоко в атмосфере тока воздуха, которые явился бы надежной основой для создания и функционирования конвекционной ячейки. The next task to be solved by the present invention is to develop an effective method of forming a stable current in a strong wind and penetrating relatively high in the atmosphere air flow, which would be a reliable basis for the creation and functioning of a convection cell.
Еще одна задача, на решение которой направлено настоящее изобретение, заключается в создании устройства генератора ионов, сравнительно недорого и простого в обращении, позволяющего создать на фоне образуемого объемного электрического заряда имеющий высокую скорость конвективный ток ионов. Another problem to which the present invention is directed is to create an ion generator device that is relatively inexpensive and easy to use, which allows creating a convective ion current having a high velocity against the background of the generated electric volume charge.
Первая из поставленных задач решается в настоящем изобретении тем, что в известном способе управления атмосферными процессами, включающем оценку метеорологической и/или экологической ситуации и воздействие на атмосферу посредством формирования в ней конвекционной ячейки над заданным объектом с помощью восходящего тока воздуха, восходящий ток воздуха инициируют током униполярных легких обводненных ионов, а в процессе формирования конвекционной ячейки осуществляют оперативный контроль изменения атмосферных условий над заданным объектом в радиусе нескольких километров, и по результатам этого контроля прекращают или корректируют режим формирования восходящего тока воздуха. The first of the tasks set is solved in the present invention by the fact that in the known method of controlling atmospheric processes, including assessing the meteorological and / or environmental situation and influencing the atmosphere by forming a convection cell in it above a given object using an upward air current, an upward air current is initiated by a current unipolar light flooded ions, and in the process of convection cell formation they carry out operational control of changes in atmospheric conditions over a given volume by an object within a radius of several kilometers, and according to the results of this control, the regime of formation of an ascending air flow is stopped or corrected.
Указанная задача решается, в частности, тем, что в процессе формирования конвекционной ячейки осуществляют контроль изменения направления и силы ветра, температуры и влажности воздуха, видимости и микроструктуры атмосферных образований. This problem is solved, in particular, by the fact that in the process of convection cell formation, they control changes in the direction and strength of the wind, air temperature and humidity, visibility and microstructure of atmospheric formations.
В другом конкретном случае эта задача решается также тем, что формирование восходящего тока воздуха прерывают на время прохождения компенсационных низходящих токов воздуха над местом, откуда инициируют возникновение восходящего тока. In another specific case, this problem is also solved by the fact that the formation of an ascending air current is interrupted for the duration of the passage of the compensating downward air currents above the place from which the occurrence of the upward current is initiated.
Вторая поставленная задача решается в настоящем изобретении тем, что в технической системе для управления атмосферными процессами, содержащей средства формирования конвекционной ячейки над защищаемым объектом и средства дистанционного зондирования атмосферы, средства формирования конвекционной атмосферной ячейки выполнены в виде по крайней мере одного или более устройств для создания восходящего тока униполярных легких обводненных ионов в атмосфере, при этом система снабжена командным пунктом, связанным со средствами зондирования атмосферы и с устройством или устройствами, создающими восходящий ток ионов, для корректировки режима работы последнего. The second task is solved in the present invention by the fact that in a technical system for controlling atmospheric processes comprising means for forming a convection cell above the protected object and means for remote sensing of the atmosphere, means for forming a convection atmospheric cell are made in the form of at least one or more devices for creating an ascending current of unipolar light flooded ions in the atmosphere, while the system is equipped with a command post associated with sensing means I atmosphere and with a device or devices that create an upward current of ions, to adjust the mode of operation of the latter.
Данная задача еще более эффективно решается тем, что средства дистанционного зондирования атмосферы выполнены в виде лидарного устройства, осуществляющего контроль микрофизического строения метеообразований. This problem is even more effectively solved by the fact that the means of remote sensing of the atmosphere are made in the form of a lidar device that controls the microphysical structure of meteorological formations.
Целесообразным для решения данной задачи является выполнение по крайней мере одного устройства для создания тока ионов мобильным. It is advisable to solve this problem is the implementation of at least one device for creating a mobile ion current.
Кроме того, целесообразным в конкретном случае решения данной задачи явилось бы то, что лидарное устройство выполнено мобильным. In addition, it would be advisable in a particular case to solve this problem that the lidar device is mobile.
Третья упомянутая задача решается в настоящем изобретении тем, что в известном способе создания конвекционного тока в атмосфере, включающем формирование конвективного тока ионов за счет ионизации воздуха, ионизируют преимущественно компоненты кислорода окружающего атмосферного воздуха. The third mentioned problem is solved in the present invention by the fact that in the known method of convection current in the atmosphere, including the formation of convective ion current due to air ionization, mainly the oxygen components of the ambient air are ionized.
В частном случае указанная задача решается тем, что ионизацию осуществляют посредством тихого электрического разряда в поле отрицательного статического заряда напряженностью 10-30 кВ/м. In a particular case, this problem is solved by the fact that ionization is carried out by means of a quiet electric discharge in the field of a negative static charge with a voltage of 10-30 kV / m.
Более эффективно указанная задача решается также тем, что формируемый ток ионов дополнительно увлажняют. More efficiently, this problem is also solved by the fact that the formed ion current is additionally moistened.
В другом частном случае данная задача эффективно решается тем, что в область формирования ионов целесообразно направлять поток кислорода или воздуха. In another particular case, this problem is effectively solved by the fact that it is advisable to direct the flow of oxygen or air into the region of formation of ions.
Четвертая поставленная задача решается в настоящем изобретении тем, что в генераторе ионов, содержащем средство для ионизации воздуха в атмосфере, указанное средство выполнено в виде излучателя потока электронов, для воздействия на молекулы газов воздуха, имеющие энергию сродства к электрону 0,4-2,2 эВ. The fourth task is solved in the present invention by the fact that in the ion generator containing means for ionizing air in the atmosphere, the specified tool is made in the form of an emitter of electron flow, for exposure to air gas molecules having an electron affinity of 0.4-2.2 eV.
Указанная задача решается также тем, что излучатель потока электронов выполнен в виде распределенного над земной поверхностью, изолированного от нее коронирующего электрода, соединенного с отрицательным полюсом источника электрического напряжения, к положительному полюсу которого присоединен заземленный электрод, при этом оба электрода размещены по своей длине в виде компактной группы рабочих секций, причем в пределах рабочей секции коронирующий и заземленный электроды расположены один относительно другого эквидистантно. This problem is also solved by the fact that the emitter of the electron flow is made in the form of a corona electrode distributed over the earth’s surface, isolated from it, connected to the negative pole of an electric voltage source, to the positive pole of which a grounded electrode is connected, both electrodes being placed along their length in the form a compact group of working sections, and within the working section, the corona and grounded electrodes are located equidistant relative to each other.
Конкретное целесообразное решение данной задачи заключается в том, что коронирующий и заземленный электроды в рабочей секции расположены в целом в параллельных плоскостях, причем одни рабочие секции генератора расположены горизонтально, а другие вертикально или наклонно. A specific expedient solution to this problem is that the corona and grounded electrodes in the working section are generally located in parallel planes, with some working sections of the generator lying horizontally and others vertically or obliquely.
Другое конкретное решение указанной задачи состоит в том, что один из электродов выполнен в виде сплошного цилиндрического проводника или в виде провода, расположенного в целом с постоянным шагом по цилиндрической поверхности, а другой размещен по осевой линии цилиндрической поверхности. Another specific solution to this problem is that one of the electrodes is made in the form of a solid cylindrical conductor or in the form of a wire located generally with a constant step along a cylindrical surface, and the other is placed along the axial line of the cylindrical surface.
Указанная задача решается эффективно также тем, что генератор выполнен с увлажнителем потока ионов и/или с устройством для продувки воздуха. This problem is also solved effectively by the fact that the generator is made with a humidifier of the ion flow and / or with a device for purging air.
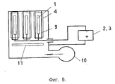
Более подробно сущность заявленного изобретения раскрывается ниже со ссылками на чертежи, где схематически изображены: на фиг. 1 схема формируемой атмосферной конвекционной ячейки в начале воздействий; на фиг. 2 - схема формируемой атмосферной конвекционной ячейки, после 20 минут воздействий; на фиг. 3 генератор ионов с рабочими секциями, расположенными в горизонтальной и вертикальной плоскостях; на фиг. 4 пример выполнения рабочей секции с одним из электродов, расположенных на цилиндрической поверхности; на фиг. 5 схема генератора с дополнительным оборудованием; на фиг. 6 техническая система для управления атмосферными процессам, структурная схема; на фиг. 7 техническая система для управления атмосферными процессами, схема размещения на объекте;
В основе способа управления атмосферными процессами согласно настоящему изобретению лежит способ создания устойчивого на большом протяжении, и при различных погодных условиях, конвекционного тока воздуха, поэтому именно с последнего способа целесообразно начать раскрытие сущности заявленной группы изобретений.In more detail, the essence of the claimed invention is disclosed below with reference to the drawings, where are schematically depicted: in FIG. 1 diagram of the formed atmospheric convection cell at the beginning of the impact; in FIG. 2 is a diagram of the formed atmospheric convection cell, after 20 minutes of exposure; in FIG. 3 ion generator with working sections located in horizontal and vertical planes; in FIG. 4 is an example of a working section with one of the electrodes located on a cylindrical surface; in FIG. 5 generator circuit with additional equipment; in FIG. 6 technical system for controlling atmospheric processes, structural diagram; in FIG. 7 technical system for atmospheric process control, layout at the facility;
The method of controlling atmospheric processes according to the present invention is based on the method of creating a convection current of air, which is stable over a large extent and under various weather conditions, therefore it is advisable to start the disclosure of the essence of the claimed group of inventions with the latter method.
Как известно, в атмосфере постоянно находится большое количество разнообразных ионов, которые перемещаются как под действием движущихся воздушных масс и атмосферных образований, в виде объемных электрических зарядов, так и, особенно при отсутствии упомянутого фактора, под действием электрического поля Земли, в котором положительные ионы имеют тенденцию перемещаться в направлении к земной поверхности, а отрицательные от земной поверхности, порождая таким образом вертикальные токи проводимости в атмосфере. При этом в процессе восходящего перемещения молекулярных ионов вокруг них происходит группировка электрически нейтральных молекул /до 100/, образуются заряженные комплексы молекул, так называемые легкие ионы с радиусами порядка 10-8 10-7 см, обладающие в электрическом поле Земли значительной подвижностью 1,5-2,0 см2/с B. Соединение таких ионов с молекулами воды /водяным паром/ вызывает местный перегрев воздуха и подъем его вверх с подсосом снизу новой ионизированной порции воздуха. Таков основной механизм возникновения конвекционного тока воздуха на основе формирования конвективного тока ионов. Для усиления этого процесса при искусственном создании восходящих токов воздуха приходится применять мощную, причем пульсирующую, ионизацию воздуха. В результате образуются не только отрицательные легкие комплексы молекул, но и положительно заряженные и тяжелые ионы, положительные ионы стремятся двигаться к поверхности Земли, а тяжелые, например на основе молекул азота, обладая примерно в 10000 раз меньшей подвижностью, чем легкие, имеют тенденцию образовывать ионные смоги, препятствующие конвекции воздуха.As you know, in the atmosphere there is always a large number of various ions that move both under the action of moving air masses and atmospheric formations, in the form of volumetric electric charges, and, especially in the absence of the mentioned factor, under the influence of the Earth's electric field, in which positive ions have the tendency to move towards the earth's surface, and negative from the earth's surface, thus generating vertical conduction currents in the atmosphere. At the same time, during the upward movement of molecular ions around them, a grouping of electrically neutral molecules / up to 100 / occurs, charged complexes of molecules are formed, the so-called light ions with radii of the order of 10 -8 10 -7 cm, having a significant mobility of 1.5 in the Earth’s electric field -2.0 cm 2 / s B. The combination of such ions with water molecules / water vapor / causes local overheating of the air and its rise upward with suction from the bottom of a new ionized portion of air. This is the main mechanism for the occurrence of convection current of air based on the formation of convective current of ions. In order to enhance this process with the artificial creation of ascending air currents, one has to use powerful, and pulsating, air ionization. As a result, not only negative light complexes of molecules are formed, but also positively charged and heavy ions, positive ions tend to move to the Earth’s surface, and heavy ones, for example, based on nitrogen molecules, which are approximately 10,000 times less mobile than light ones, tend to form ionic smogs that prevent air convection.
Основными составляющими воздуха являются азот и кислород. Идея предлагаемого способа создания конвекционного тока воздуха заключается в том, чтобы осуществлять ионизацию избирательно. А именно: учитывая тенденцию молекул азота к образованию тяжелых ионов /т.е. к соединению их с частицами жидких и твердых примесей, взвешенных в атмосфере/, производить ионизацию преимущественно компонентов кислорода воздуха, т.е. атомов кислорода, молекул кислорода и озона. The main components of air are nitrogen and oxygen. The idea of the proposed method for creating convection current of air is to carry out ionization selectively. Namely: given the tendency of nitrogen molecules to form heavy ions, i.e. to their connection with particles of liquid and solid impurities suspended in the atmosphere /, to ionize mainly the components of oxygen in the air, i.e. oxygen atoms, oxygen molecules and ozone.
На практике ионизацию воздуха обычно осуществляют, посредством сильных электрических полей, например, с помощью коронного разряда, но она может быть произведена и другими способами, в частности, в виде термоионизации, например, доразложения веществ с выделением ионов кислорода, или иначе, как это отмечено выше при описании уровня техники. В частном случае осуществить избирательную ионизацию согласно настоящему изобретению можно и с помощью коронного разряда в электрическом поле, если ограничить величину напряженности создаваемого поля интервалом 10-30 кВ/м. Технически преимущественная ионизация компонент кислорода в таком случае осуществима потому, что для ионизации компонент-кислорода воздуха O, O2 и O3 требуется меньше энергии, чем для ионизации компонент-азота N и N2. Так, потенциал ионизации компонент-кислорода составляет соответственно 13,61, 12,071 и 12,52 эВ, а потенциал ионизации компонент-азота (N и N2) 14,534 и 15,581 эВ. /см. напр. "Физические величины", Справочник, М. Энергоатомиздат, 1991/. В случае использования указанного электрического разряда его энергии оказывается достаточно для ионизации компонент-кислорода воздуха и недостаточно для ионизации молекул азота. Кроме того, для формирования преимущественно легких отрицательных ионов разряд должен осуществляться в поле, имеющем отрицательный в целом заряд. Известно /см. Петров Ю.И. "Кластеры и малые частицы", М. Наука, 1986/, что присутствие молекулярных ионов во влажной атмосфере приводит к практически мгновенному образованию сольватированных ионов /кластеров/, каждый из которых представляет собой замкнутую оболочку из 5-7 молекул воды, окружающих молекулярный ион:
Поскольку молекула воды является сильным диполем, наличие таких молекул способствует ускоренному движению образовавшихся отрицательных ионов от отрицательно заряженной земной поверхности и соседних отрицательных ионов вверх в атмосферу, т.е. формированию восходящего конвективного тока, состоящего из легких обводненных ионов. Такой конвективный ток ионов инициирует или хотя бы ускоряет создание мощного устойчивого восходящего тока воздуха.In practice, air ionization is usually carried out by means of strong electric fields, for example, by means of a corona discharge, but it can also be produced by other methods, in particular, in the form of thermal ionization, for example, additional decomposition of substances with the release of oxygen ions, or otherwise, as noted above in the description of the prior art. In the particular case, it is possible to carry out selective ionization according to the present invention using a corona discharge in an electric field, if the magnitude of the intensity of the created field is limited to the interval of 10-30 kV / m. Technically, the predominant ionization of the oxygen components in this case is feasible because less energy is needed to ionize the oxygen component of the air O, O 2 and O 3 than to ionize the nitrogen component N and N 2 . So, the ionization potential of component oxygen is 13.61, 12.071 and 12.52 eV, respectively, and the ionization potential of component nitrogen (N and N 2 ) is 14.534 and 15.581 eV. /cm. e.g. "Physical quantities", Handbook, M. Energoatomizdat, 1991 /. In the case of using the indicated electric discharge, its energy is sufficient for ionization of the oxygen component of the air and insufficient for ionization of nitrogen molecules. In addition, for the formation of predominantly light negative ions, the discharge must be carried out in a field having a generally negative charge. Known / cm. Petrov Yu.I. "Clusters and small particles", M. Nauka, 1986 /, that the presence of molecular ions in a humid atmosphere leads to almost instant formation of solvated ions / clusters /, each of which is a closed shell of 5-7 water molecules surrounding a molecular ion:
Since the water molecule is a strong dipole, the presence of such molecules promotes the accelerated movement of the formed negative ions from the negatively charged earth's surface and neighboring negative ions up into the atmosphere, i.e. the formation of an upward convective current, consisting of light flooded ions. Such a convective ion current initiates or at least accelerates the creation of a powerful steady ascending air current.
Далее заряженные комплексы молекул взаимодействуют с облачными частицами, в результате чего в атмосфере образуется объемный отрицательный электрический заряд, состоящий из средних и тяжелых ионов. Электростатическое взаимодействие ионов обеспечивает воздействие на атмосферу в течение нескольких часов после прекращения этого воздействия. Как следствие, формируется долговременная зона рассеяния в облаках и туманах. Then, charged complexes of molecules interact with cloud particles, resulting in the formation of a negative negative electric charge in the atmosphere, consisting of medium and heavy ions. The electrostatic interaction of ions provides an impact on the atmosphere for several hours after the termination of this exposure. As a result, a long-term scattering zone is formed in clouds and fogs.
Дополнительное увлажнение формируемого тока ионов способствует образованию дополнительных комплексов молекул, что увеличивает плотность тока ионов и местный перегрев воздуха. Additional moistening of the formed ion current promotes the formation of additional complexes of molecules, which increases the ion current density and local air overheating.
Направление в область формирования ионов потока воздуха или кислорода, либо электрическое выведение образовавшихся ионов из этой области также способствует быстрому образованию новых ионов. The direction of the flow of air or oxygen into the region of ion formation, or the electrical removal of the formed ions from this region also contributes to the rapid formation of new ions.
Патентуемый способ создания конвекционного тока воздуха реализуется с помощью генератора ионов, который содержит эмиттер 1 излучатель электронов для воздействия на молекулы воздуха, которые имеют энергию сродства к электрону в пределах 0,4-2,2 эВ. A patented method of creating a convection current of air is implemented using an ion generator that contains an
Такой излучатель электронов как каз воздействует на весь комплекс молекул кислорода в воздухе. Процесс взаимодействия электронов и компонент-кислорода воздуха выглядит следующим образом:
где M нейтральная молекула, 0,440 эВ; 2,103 эВ EA-сродство к электрону молекул O2 и O3 (EAO=1,461 эВ).Such an emitter of electrons as a kaz affects the whole complex of oxygen molecules in the air. The process of interaction of electrons and the oxygen component of the air is as follows:
where M is a neutral molecule, 0.440 eV; 2.103 eV EA-electron affinity of O 2 and O 3 molecules (EAO = 1.461 eV).
Что касается молекул азота, то у них вообще нет сродства к электрону, а следовательно и соответствующей энергии /см. упомянутый справочник/. As for the nitrogen molecules, they generally do not have affinity for the electron, and therefore the corresponding energy / cm. reference book.
В частном случае, применительно к ионизации воздуха посредством коронирующего разряда, обеспечивающего электростатическое поле напряженностью 10-30 кВ/м, генератор ионов содержит распределенный над земной поверхностью, изолированный от нее коронирующий электрод-эмиттер 1, выполненный в виде тонкого электрического провода. Этот провод соединен с отрицательным полюсом источника 2 высокого постоянного электрического напряжения через фильтр 3 пульсаций напряжения, например, высоковольтный конденсатор. In the particular case, in relation to the ionization of air by means of a corona discharge providing an electrostatic field of 10-30 kV / m, the ion generator contains a corona electrode-
К положительному полюсу указанного источника напряжения 2 присоединен заземленный электрод 4, который выполнен в виде электрического проводника большего поперечного сечения, чем коронирующий проводник. A grounded
Коронирующий и заземленный проводники размещены по своей длине в виде компактно расположенной группы рабочих секций 5. В пределах рабочей секции 5 коронирующий и заземленный электроды 1 и 4 расположены эквидистантно относительно друг друга, например на параллельных между собой плоскостях. Рабочие секции 5 могут быть компактно расположены одна относительно другой различным образом. Например, одни секции могут быть расположены горизонтально, а другие наклонно или вертикально. Секции 5 монтируются на каркасах 6, которые посредством опор 7 установлены на технических средствах или на грунте. Для устранения утечки тока с коронирующего провода и в целях безопасности работ коронирующий провод отделен от других элементов схемы высоковольтными изоляторами 8. The corona and grounded conductors are placed along their length in the form of a compactly located group of working
Возможны и другие варианты размещения электродов 1 и 4 в рабочей секции 5, например, для улучшения работы генератора в нем целесообразно предусмотреть наличие экстрактора 9 электронов и ионов, выполненного в виде, например, электростатического устройства и/или устройства 10 для продувки воздуха. There are other options for placing the
При небольшой влажности ионизируемого воздуха в комплект генератора целесообразно также включить увлажнитель 11 воздуха, например, разбрызгивающее воду устройство или смоченный фильтр. With a small humidity of ionized air, it is also advisable to include an
После включения генератора ионов, эмитирующий электрод 1 формирует в воздухе вокруг себя высокий отрицательный потенциал. Для достижения заданной величины напряженности электростатического поля вокруг коронирующего проводника, в зависимости от соотношения диаметров коронирующего и заземленного проводников, расстояния между ними и других параметров электрической схемы подбирают величину подаваемого на коронирующий электрод напряжения, обеспечивающую максимальную плотность тока короны с единицы длины коронирующего электрода. Эквидистантно расположенный относительно коронирующего электрода 1 заземленный электрод 4 обеспечивает стабилизацию электростатического потенциала вокруг коронирующего электрода 1. Экстрактор 9 способствует оттоку ионов из области коронирующего провода /от электрода 1/, что обеспечивает оптимизацию процесса ионизации. Испускаемые при коронировании электродом 1 электроны ионизируют составляющие окружающего атмосферного воздуха, преимущественно компоненты кислорода. Отрицательные ионы кислорода практически мгновенно присоединяют к себе несколько молекул воды. Выделяемая при этом теплота разгоняет поднимающиеся отрицательные комплексы молекул. After turning on the ion generator, the emitting
Именно постоянное электростатическое поле с величиной напряженности в указанном интервале и обеспечивает режим излучения электронов, характеризующийся отмеченным выше взаимодействием с компонентами кислорода воздуха, имеющими соответствующий диапазон потенциала ионизации. Разумеется, с электронами будут взаимодействовать также простые и более сложные молекулы и других содержащихся в воздухе химических элементов и соединений. Однако кислородные молекулы составляют подавляющую часть всех молекул воздуха, подвергающихся ионизации, что гарантирует реализацию способа создания конвекционного тока воздуха. It is a constant electrostatic field with a magnitude of intensity in the indicated interval that provides the electron emission regime, characterized by the interaction noted above with oxygen components of the air having an appropriate range of ionization potential. Of course, simple and more complex molecules and other chemical elements and compounds contained in the air will also interact with electrons. However, oxygen molecules make up the vast majority of all air molecules that undergo ionization, which guarantees the implementation of a method for creating a convection current of air.
Предлагаемый способ создания конвекционного тока, включающий использование описанного генератора ионов, лежит в основе патентуемых способа управления атмосферными процессами и реализующей этот способ технической системы. The proposed method for creating convection current, including the use of the described ion generator, is the basis of the patented method for controlling atmospheric processes and the technical system that implements this method.
Способ управления атмосферными процессами включает оценку метеорологической и/или экологической ситуации над заданным объектом и при этой оценке как неблагоприятной формирование с помощью тока униполярных легких обводненных ионов быстрого и устойчивого конвекционного тока воздуха, развивающего атмосферную конвекционную ячейку. A method for controlling atmospheric processes involves assessing the meteorological and / or environmental situation over a given object and, in this assessment, as the adverse formation of a fast and steady convection current of air developing an atmospheric convection cell using unipolar light flooded ions.
В процессе формирования конвекционной ячейки осуществляют оперативный контроль за заданным объектом /территорий/ в радиусе нескольких километров. Например, контролируют направление и скорость ветра, температуру и влажность воздуха, видимость и параметры микроструктуры атмосферных образований. При изменении состояния атмосферы под действием восходящего тока воздуха корректируют режим формирования этого тока воздуха. In the process of forming a convection cell, operational control over a given object / territories / is carried out within a radius of several kilometers. For example, they control the direction and speed of the wind, temperature and humidity, visibility and microstructure parameters of atmospheric formations. When the state of the atmosphere changes under the action of an ascending air current, the formation mode of this air current is corrected.
Данный способ осуществляется с помощью технической системы, которая включает один или несколько описанных выше генераторов 12 униполярных легких обводненных ионов, которые могут быть стационарными или мобильными по крайней мере, хотя бы одна из них, а также средства для дистанционного зондирования атмосферы, выполненные, например, в виде лидарного устройства 13, которое также может быть мобильным. В систему входит также командный пункт 14, с которым лидер 13 связан средствами телеметрии 15. С генератором /генераторами/ ионов 12 командный пункт 14 связан как телеметрически, так и через устройство 16 управления генераторами ионов 12. This method is carried out using a technical system that includes one or more of the
При получении информации о наступлении тумана или формировании облачности, например, в районе аэродрома, с помощью установленных по его периметру в радиусе нескольких километров генератора униполярных легких обводненных ионов 12 осуществляется процесс воздействия на атмосферные образования. В заданный момент времени генераторы 12 включают и непосредственно над установкой и по направлению ветра на уровне конденсации происходит интенсивное формирование облачных капель и увеличение водности уже существующих облаков или тумана. При длительности воздействии на одни и те же облачные образования происходит кратковременное или длительное выпадение осадков. При этом с наветренной стороны, на удалении примерно равном размеру восходящей струи, формируются нисходящие токи сухого перегретого воздуха, которые при своем движении приводят к интенсивному испарению натекающих по ветру облачных частиц и осадков. Т.е. над объектом с наветренной стороны атмосферные образования рассеиваются. Upon receipt of information about the onset of fog or the formation of clouds, for example, in the area of an aerodrome, an atmospheric formation process is carried out using unipolar light-flooded
Нисходящий ток воздуха при сохраняющемся ветре будет проходить над областью, где инициируется восходящий ток воздуха. На время этого прохождения генераторы выключают, а затем, если требуемого результата еще не удалось достичь, включают снова. Это один из возможных вариантов корректировки работы генераторов. A downward flow of air with a continuing wind will pass over the area where an upward flow of air is initiated. During this passage, the generators are turned off, and then, if the desired result has not yet been achieved, they are turned on again. This is one of the possible options for adjusting the operation of generators.
В простейшем варианте техническая система содержит один генератор ионов. In the simplest embodiment, the technical system contains one ion generator.
Размеры зоны рассеяния зависят от параметров генератора и времени его включения. Как правило, за время работы одного генератора в течение 30 минут зона рассеяния представляет в среднем область с радиусом 5-10 км. The dimensions of the scattering zone depend on the parameters of the generator and the time it is turned on. As a rule, during the operation of one generator for 30 minutes, the scattering zone represents, on average, a region with a radius of 5-10 km.
Результаты испытаний заявляемых способов и устройства приведены в таблице. За период с июля 1995 по июнь 1996 на полигоне, расположенном в Московской области, проведено 23 эксперимента по воздействию на атмосферные образования. The test results of the proposed methods and devices are shown in the table. For the period from July 1995 to June 1996, 23 experiments on the impact on atmospheric formations were conducted at a training ground located in the Moscow region.
Из представленной таблицы видно, что положительный эффект в виде образования просветленной зоны достигается в 100% проведенных экспериментов. В течение 20-30 минут работы системы удается прекратить выпадение осадков в просветленной зоне. Формирование устойчивых конвекционных токов, и тем самым разрушение метеообразований, достигается за время не более 30 минут. Положительный эффект достигается при любых по силе ветрах на уровне метеообразований (от 2 до 20 м/с). Время восстановления метеообразований после окончания воздействий составляет от 30 минут до 2 часов. From the presented table it is seen that a positive effect in the form of the formation of an enlightened zone is achieved in 100% of the experiments. Within 20-30 minutes of the system's operation, it is possible to stop the precipitation in the enlightened zone. The formation of stable convection currents, and thereby the destruction of meteorological formations, is achieved in no more than 30 minutes. A positive effect is achieved with any winds at the meteorological level (from 2 to 20 m / s). The recovery time of meteorological events after the end of the impact is from 30 minutes to 2 hours.
Claims (16)
Priority Applications (1)
| Application Number | Priority Date | Filing Date | Title |
|---|---|---|---|
| RU96111962A RU2090057C1 (en) | 1996-06-26 | 1996-06-26 | Atmospheric process control method and technical system, method for generating convection currents in atmosphere and ion generator |
Applications Claiming Priority (1)
| Application Number | Priority Date | Filing Date | Title |
|---|---|---|---|
| RU96111962A RU2090057C1 (en) | 1996-06-26 | 1996-06-26 | Atmospheric process control method and technical system, method for generating convection currents in atmosphere and ion generator |
Publications (2)
| Publication Number | Publication Date |
|---|---|
| RU2090057C1 true RU2090057C1 (en) | 1997-09-20 |
| RU96111962A RU96111962A (en) | 1997-09-27 |
Family
ID=20181940
Family Applications (1)
| Application Number | Title | Priority Date | Filing Date |
|---|---|---|---|
| RU96111962A RU2090057C1 (en) | 1996-06-26 | 1996-06-26 | Atmospheric process control method and technical system, method for generating convection currents in atmosphere and ion generator |
Country Status (1)
| Country | Link |
|---|---|
| RU (1) | RU2090057C1 (en) |
Cited By (20)
| Publication number | Priority date | Publication date | Assignee | Title |
|---|---|---|---|---|
| RU2161881C2 (en) * | 1999-04-13 | 2001-01-20 | Общество с ограниченной ответственностью "ТЕХКОМТЕХ" | Weather correction apparatus |
| RU2180476C1 (en) * | 2000-09-28 | 2002-03-20 | Темерко Александр Викторович | Fog and excessive precipitation protective system for regions in vicinity of main roads |
| WO2001091542A3 (en) * | 2000-06-02 | 2002-09-19 | Semiola S A De C V | Method for influencing atmospheric formations |
| RU2218750C2 (en) * | 2001-09-14 | 2003-12-20 | Федеральный Центр науки и высоких технологий Всероссийский научно-исследовательский институт по проблемам гражданской обороны и чрезвычайных ситуаций | Method for controlling of atmospheric processes |
| RU2233578C2 (en) * | 2003-07-16 | 2004-08-10 | Протопопов Вадим Анатольевич | Anti-cyclonic circulation disturbance method and apparatus |
| RU2241492C2 (en) * | 2000-05-18 | 2004-12-10 | Шарп Кабусики Кайся | Method for sterilizing air, instrument for producing ions and device for air-conditioning |
| RU2248115C2 (en) * | 2003-03-07 | 2005-03-20 | Уйбо Валерий Иоганнесович | Method for protecting of coastal territories from destructive action of typhoons, hurricanes and powerful cyclones |
| RU2264081C2 (en) * | 2001-05-31 | 2005-11-20 | Лапшин Владимир Борисович | Method of artificial forming of clouds |
| RU2280508C1 (en) * | 2004-12-07 | 2006-07-27 | Михаил Андраникович Шахраманьян | System of ecological purification of atmospheric air |
| RU2290969C2 (en) * | 2001-07-11 | 2007-01-10 | Мокси ФАНГ | Device and method of producing of negatively charged nano-particles |
| RU2297758C1 (en) * | 2006-04-07 | 2007-04-27 | Михаил Андраникович Шахраманьян | Method, apparatus and system for local acting upon meteorological processes in earth atmosphere |
| RU2340166C2 (en) * | 2006-02-02 | 2008-12-10 | Тихонова Людмила Петровна | Method of monitoring atmospheric processes and device to this end |
| WO2009125264A1 (en) * | 2008-04-10 | 2009-10-15 | Serro Inc. | Method and apparatus for local modification of atmosphere |
| GB2467010A (en) * | 2009-01-20 | 2010-07-21 | Malcolm Ian Truman | Apparatus for making electrostatic rain clouds |
| WO2010117293A1 (en) * | 2009-04-08 | 2010-10-14 | Uibo Valerii Iogannesovich | Method for changing the direction of air mass circulation and weather conditions associated therewith |
| US7854900B2 (en) | 2000-05-18 | 2010-12-21 | Sharp Kabushiki Kaisha | Sterilization method |
| WO2011005134A1 (en) * | 2009-07-07 | 2011-01-13 | Bodrov Dmitry Nikolaevich | Method and device for converting a thermal cyclone into a frontal cyclone |
| RU2516988C1 (en) * | 2012-12-20 | 2014-05-27 | Общество с ограниченной ответственностью "Научно-производственное предприятие "ПРОСТОР" | Mist dispersal device |
| RU2525333C1 (en) * | 2013-02-14 | 2014-08-10 | Алексей Алексеевич Палей | Device to disperse fog |
| RU2534568C1 (en) * | 2013-05-23 | 2014-11-27 | Алексей Алексеевич Палей | Method and apparatus for fog dispersal |
-
1996
- 1996-06-26 RU RU96111962A patent/RU2090057C1/en active
Non-Patent Citations (1)
| Title |
|---|
| 1. Качурин Л.Г. Физические основы воздействия на атмосферные процессы. - Л.: Гидрометеоиздат, 1990, с. 116-138, 376-380. 2. Патент РФ N 2034315, кл. G 01 W 1/00. 1995. * |
Cited By (25)
| Publication number | Priority date | Publication date | Assignee | Title |
|---|---|---|---|---|
| RU2161881C2 (en) * | 1999-04-13 | 2001-01-20 | Общество с ограниченной ответственностью "ТЕХКОМТЕХ" | Weather correction apparatus |
| RU2241492C2 (en) * | 2000-05-18 | 2004-12-10 | Шарп Кабусики Кайся | Method for sterilizing air, instrument for producing ions and device for air-conditioning |
| US7854900B2 (en) | 2000-05-18 | 2010-12-21 | Sharp Kabushiki Kaisha | Sterilization method |
| US8773838B2 (en) | 2000-05-18 | 2014-07-08 | Sharp Kabushiki Kaisha | Sterilization method, ion generating device, ion generating apparatus, and air conditioning apparatus |
| WO2001091542A3 (en) * | 2000-06-02 | 2002-09-19 | Semiola S A De C V | Method for influencing atmospheric formations |
| RU2180476C1 (en) * | 2000-09-28 | 2002-03-20 | Темерко Александр Викторович | Fog and excessive precipitation protective system for regions in vicinity of main roads |
| RU2264081C2 (en) * | 2001-05-31 | 2005-11-20 | Лапшин Владимир Борисович | Method of artificial forming of clouds |
| RU2290969C2 (en) * | 2001-07-11 | 2007-01-10 | Мокси ФАНГ | Device and method of producing of negatively charged nano-particles |
| RU2218750C2 (en) * | 2001-09-14 | 2003-12-20 | Федеральный Центр науки и высоких технологий Всероссийский научно-исследовательский институт по проблемам гражданской обороны и чрезвычайных ситуаций | Method for controlling of atmospheric processes |
| RU2248115C2 (en) * | 2003-03-07 | 2005-03-20 | Уйбо Валерий Иоганнесович | Method for protecting of coastal territories from destructive action of typhoons, hurricanes and powerful cyclones |
| WO2005006844A1 (en) * | 2003-07-16 | 2005-01-27 | Rodkin, Roman Eduardovich | Method for breaking anticyclonic circulation and device for carrying out said method |
| RU2233578C2 (en) * | 2003-07-16 | 2004-08-10 | Протопопов Вадим Анатольевич | Anti-cyclonic circulation disturbance method and apparatus |
| RU2280508C1 (en) * | 2004-12-07 | 2006-07-27 | Михаил Андраникович Шахраманьян | System of ecological purification of atmospheric air |
| RU2340166C2 (en) * | 2006-02-02 | 2008-12-10 | Тихонова Людмила Петровна | Method of monitoring atmospheric processes and device to this end |
| RU2297758C1 (en) * | 2006-04-07 | 2007-04-27 | Михаил Андраникович Шахраманьян | Method, apparatus and system for local acting upon meteorological processes in earth atmosphere |
| RU2373693C1 (en) * | 2008-04-10 | 2009-11-27 | Сергей Владимирович Бологуров | Method of local impact on atmosphere and device for its implementation |
| WO2009125264A1 (en) * | 2008-04-10 | 2009-10-15 | Serro Inc. | Method and apparatus for local modification of atmosphere |
| CN102137591B (en) * | 2008-04-10 | 2013-03-13 | 谢尔盖·博洛古罗夫 | Method and apparatus for changing local atmosphere |
| US8988847B2 (en) | 2008-04-10 | 2015-03-24 | Sergey Bologurov | Method and apparatus for local modification of atmosphere |
| GB2467010A (en) * | 2009-01-20 | 2010-07-21 | Malcolm Ian Truman | Apparatus for making electrostatic rain clouds |
| WO2010117293A1 (en) * | 2009-04-08 | 2010-10-14 | Uibo Valerii Iogannesovich | Method for changing the direction of air mass circulation and weather conditions associated therewith |
| WO2011005134A1 (en) * | 2009-07-07 | 2011-01-13 | Bodrov Dmitry Nikolaevich | Method and device for converting a thermal cyclone into a frontal cyclone |
| RU2516988C1 (en) * | 2012-12-20 | 2014-05-27 | Общество с ограниченной ответственностью "Научно-производственное предприятие "ПРОСТОР" | Mist dispersal device |
| RU2525333C1 (en) * | 2013-02-14 | 2014-08-10 | Алексей Алексеевич Палей | Device to disperse fog |
| RU2534568C1 (en) * | 2013-05-23 | 2014-11-27 | Алексей Алексеевич Палей | Method and apparatus for fog dispersal |
Similar Documents
| Publication | Publication Date | Title |
|---|---|---|
| RU2090057C1 (en) | Atmospheric process control method and technical system, method for generating convection currents in atmosphere and ion generator | |
| EP2273868B1 (en) | Method and apparatus for local modification of atmosphere | |
| Wilson | The electric field of a thundercloud and some of its effects | |
| RU96111962A (en) | METHOD FOR CONTROL OF ATMOSPHERIC PROCESSES, TECHNICAL SYSTEM FOR MANAGEMENT OF ATMOSPHERIC PROCESSES, METHOD FOR CREATING A CONVECTION CURRENT IN THE ATMOSPHERE AND ION GENERATOR | |
| US20110194227A1 (en) | Apparatus for controlling atmospheric humidity | |
| Wang et al. | Synergistic effect of charges and electric field: water droplet condensation and coalescence in a sub-saturated cloud chamber | |
| RU2422584C1 (en) | Method of fog dissipation | |
| RU2115296C1 (en) | Method for changing weather in local zones of atmosphere near the ground | |
| RU2233578C2 (en) | Anti-cyclonic circulation disturbance method and apparatus | |
| RU2297758C1 (en) | Method, apparatus and system for local acting upon meteorological processes in earth atmosphere | |
| US3934817A (en) | Precipitation of steam fogs | |
| RU2098943C1 (en) | Device for affecting atmospheric phenomena | |
| RU2675313C1 (en) | Device for fog dissipation | |
| RU2734550C1 (en) | Method for mist dispersion and device for its implementation | |
| RU2161881C2 (en) | Weather correction apparatus | |
| RU2595015C1 (en) | Method of influence on atmosphere | |
| RU2360068C1 (en) | Device to have impact on atmosphere | |
| US3438576A (en) | Visibility modification method and apparatus | |
| Vonnegut et al. | Technique for the introduction into the atmosphere of high concentrations of electrically charged aerosol particles | |
| RU2272096C1 (en) | Method for fog dispersion | |
| KR20000060101A (en) | Method for controlling Atmospheric Phenomena | |
| RU2124287C1 (en) | Fog and cloud dissipating apparatus | |
| RU2560236C1 (en) | Fog dispersal device | |
| RU2340166C2 (en) | Method of monitoring atmospheric processes and device to this end | |
| RU2101922C1 (en) | Method for dissipation of fog and clouds |

