RU160061U1 - DEVICE FOR PRODUCING METAL-CONTAINING NANOPARTICLES - Google Patents
DEVICE FOR PRODUCING METAL-CONTAINING NANOPARTICLES Download PDFInfo
- Publication number
- RU160061U1 RU160061U1 RU2015131937/02U RU2015131937U RU160061U1 RU 160061 U1 RU160061 U1 RU 160061U1 RU 2015131937/02 U RU2015131937/02 U RU 2015131937/02U RU 2015131937 U RU2015131937 U RU 2015131937U RU 160061 U1 RU160061 U1 RU 160061U1
- Authority
- RU
- Russia
- Prior art keywords
- gas stream
- wire material
- containing nanoparticles
- gas flow
- quartz tube
- Prior art date
Links
- 239000002105 nanoparticle Substances 0.000 title claims abstract description 26
- 239000000463 material Substances 0.000 claims abstract description 21
- 239000002184 metal Substances 0.000 claims abstract description 16
- 229910052751 metal Inorganic materials 0.000 claims abstract description 16
- 239000010453 quartz Substances 0.000 claims abstract description 14
- VYPSYNLAJGMNEJ-UHFFFAOYSA-N silicon dioxide Inorganic materials O=[Si]=O VYPSYNLAJGMNEJ-UHFFFAOYSA-N 0.000 claims abstract description 14
- 238000003466 welding Methods 0.000 claims abstract description 9
- 230000015572 biosynthetic process Effects 0.000 claims abstract description 8
- 238000001704 evaporation Methods 0.000 claims abstract description 5
- 230000008020 evaporation Effects 0.000 claims abstract description 5
- 238000001816 cooling Methods 0.000 description 7
- 238000010438 heat treatment Methods 0.000 description 3
- 239000011859 microparticle Substances 0.000 description 3
- 239000002826 coolant Substances 0.000 description 2
- 238000001914 filtration Methods 0.000 description 2
- 230000006698 induction Effects 0.000 description 2
- 238000004519 manufacturing process Methods 0.000 description 2
- 239000007858 starting material Substances 0.000 description 2
- 239000000443 aerosol Substances 0.000 description 1
- 239000000155 melt Substances 0.000 description 1
- 150000002739 metals Chemical class 0.000 description 1
- 239000000203 mixture Substances 0.000 description 1
- 239000002245 particle Substances 0.000 description 1
Images
Landscapes
- Manufacture Of Metal Powder And Suspensions Thereof (AREA)
Abstract
Устройство для получения металлсодержащих наночастиц, содержащее герметичную камеру c механизмом подачи исходного проволочного материала, соединенную с ней камеру подачи газового потока, охладитель и фильтр газового потока, контейнер для сбора наночастиц и кварцевую трубку с рабочей зоной, верхний конец которой соединен с камерой подачи газового потока для подачи исходного проволочного материала и газового потока в рабочую зону, а нижний конец - через охладитель и фильтр газового потока с контейнером для сбора наночастиц, отличающееся тем, что в кварцевой трубке установлены два электрода, один выше другого, которые подключены к высокочастотному инвертору с образованием в рабочей зоне сварочной дуги, обеспечивающей испарение исходного проволочного материала в газовом потоке с образованием металлсодержащих наночастиц.A device for producing metal-containing nanoparticles, containing a sealed chamber with a feed mechanism for the source wire material, a gas flow supply chamber connected to it, a cooler and a gas flow filter, a nanoparticle collection container and a quartz tube with a working zone, the upper end of which is connected to the gas flow supply chamber for supplying the source wire material and the gas stream to the working area, and the lower end through the cooler and the gas stream filter with a container for collecting nanoparticles, characterized the fact that two electrodes are installed in the quartz tube, one above the other, which are connected to a high-frequency inverter with the formation of a welding arc in the working zone, which ensures evaporation of the initial wire material in the gas stream with the formation of metal-containing nanoparticles.
Description
Полезная модель относится к левитационно-струйному способу получения наночастиц металлов, биметаллов и их оксидов.The utility model relates to a levitation-jet method for producing nanoparticles of metals, bimetals and their oxides.
Известно устройство, содержащее герметичную камеру с исходным материалом и механизмом подачи, соединенную с направляющей и камерой подачи газового поток. Кварцевая трубка является рабочей зоной устройства, в которую непрерывно подается исходный материал и газовая среда. Вокруг кварцевой трубки расположен высокочастотный индуктор, состоящий из двух катушек и, включенных между собой противофазно таким образом, что одни их концы соединены с короткозамкнутым соединителем, а вторые - с электродами высокочастотного генератора. Верхний конец кварцевой трубки соединен с камерой подачи газового потока, а нижний ее конец - с системой охлаждения газового потока с микрочастицам, которая в свою очередь соединена с устройством фильтрации и сбора микрочастиц, контейнером сбора микрочастиц исходного материала и каплеуловителем расплава исходного материала (RU 135950, МПК B22F 9/12, опубл. 27.12.2013).A device is known comprising a sealed chamber with a source material and a feed mechanism connected to a guide and a gas stream feed chamber. A quartz tube is the working area of the device into which the source material and the gas medium are continuously supplied. Around the quartz tube there is a high-frequency inductor, consisting of two coils and connected in antiphase so that some of their ends are connected to a short-circuited connector, and the second to electrodes of a high-frequency generator. The upper end of the quartz tube is connected to the gas flow supply chamber, and its lower end is connected to the microparticle gas flow cooling system, which in turn is connected to a microparticle filtration and collection device, a microparticle collection container for the starting material, and a melt drip catcher of the starting material (RU 135950 IPC
Недостатком известного устройства является сложность конструкции, к источнику для индукционного нагрева необходим насос и бак с охлаждающей жидкостью для охлаждения высокочастотного индуктора (чиллер), кроме того является менее энергоэффективным, так как при плохом согласовании высокочастотного индуктора с исходным материалом требуется большая мощность на нагрев.A disadvantage of the known device is the design complexity, the source for induction heating requires a pump and a tank of coolant to cool the high-frequency inductor (chiller), in addition, it is less energy efficient, since poor matching of the high-frequency inductor with the source material requires a lot of heating power.
Технический результат заключается в упрощении и удешевлении устройства, повышении энергоэффективности, что увеличивает количество получаемых металлсодержащих наночастиц за счет увеличения мощности рабочей зоны сварочной дуги высокочастотного инвертора.The technical result consists in simplifying and reducing the cost of the device, increasing energy efficiency, which increases the number of metal-containing nanoparticles obtained by increasing the power of the working area of the welding arc of a high-frequency inverter.
Технический результат достигается тем, что устройство содержит герметичную камеру с исходным проволочным материалом и механизмом подачи, соединенную с ней камеру подачи газового потока, систему охлаждения газового потока и устройство фильтрации и сбора наночастиц, контейнер для сбора наночастиц и кварцевую трубку с рабочей зоной. Верхний конец кварцевой трубки соединен с камерой подачи газового потока для подачи исходного проволочного материала и газового потока в рабочую зону, а нижний конец - через систему охлаждения газового потока и фильтром газового потока с контейнером для сбора наночастиц. В кварцевой трубке установлены два электрода, один выше другого, которые подключены к высокочастотному инвертору с образованием в рабочей зоне сварочной дуги, обеспечивающей испарение исходного проволочного материала в газовом потоке с образованием металлсодержащих наночастиц.The technical result is achieved by the fact that the device contains a sealed chamber with the source wire material and the feeding mechanism, a gas flow feeding chamber connected to it, a gas flow cooling system and a nanoparticle filtration and collection device, a nanoparticle collection container and a quartz tube with a working zone. The upper end of the quartz tube is connected to the gas stream supply chamber for supplying the source wire material and gas stream to the working area, and the lower end is through the gas stream cooling system and the gas stream filter with a container for collecting nanoparticles. Two electrodes are installed in the quartz tube, one above the other, which are connected to a high-frequency inverter with the formation of a welding arc in the working zone, which ensures evaporation of the initial wire material in the gas stream with the formation of metal-containing nanoparticles.
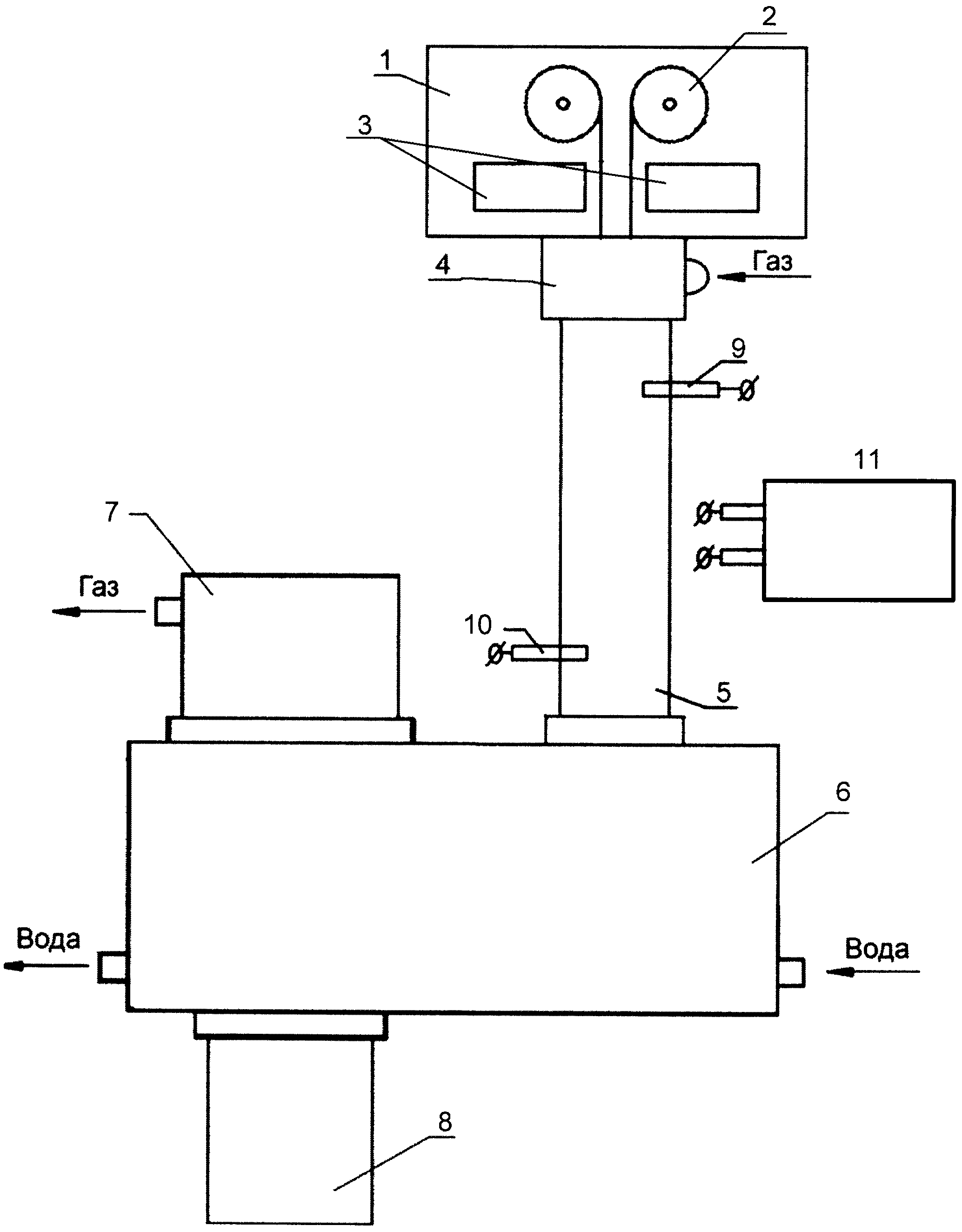
На чертеже изображен общий вид устройства для получения металлсодержащих наночастиц.The drawing shows a General view of a device for producing metal-containing nanoparticles.
Устройство содержит герметичную камеру 1 с исходным проволочным материалом 2 и механизмом подачи 3, соединенную с камерой подачи газового потока 4. Верхний конец кварцевой трубки 5 соединен с камерой подачи газового потока 4 для подачи исходного проволочного материала 2 и газового потока в рабочую зону, а нижний ее конец - с системой охлаждения газового потока 6, которая в свою очередь соединена с фильтром газового потока 7 и контейнером для сбора наночастиц 8. В кварцевой трубке 5 установлены два электрода 9 и 10, причем один выше другого. Электроды 9 и 10 подключены к высокочастотному инвертору 11 с образованием в рабочей зоне сварочной дуги, обеспечивающей испарение исходного проволочного материала 2 в газовом потоке с образованием металлсодержащих наночастиц.The device comprises a sealed
Устройство работает следующим образом. Исходный проволочный материал 2, намотанный на катушки, в виде любого размера проволоки, помещают в герметичную камеру 1. Для подачи исходного проволочного материала 2 в рабочую зону сварочной дуги высокочастотного инвертора 11 используют механизм подачи 3 с шаговыми двигателями, находящегося в герметичной камере 1. Исходный проволочный материал 2 по любой траектории непрерывно подают вместе с газовым потоком из камеры подачи газового потока 4 в кварцевую трубку 5 и в сварочную дугу высокочастотного инвертора 11, образованную электродами 9 и 10, где происходит расплав и испарение исходного проволочного материала 2 с образованием металлсодержащих наночастиц, с последующим выносом их из кварцевой трубки 5 газовым потоком в систему охлаждения газового потока 6, в которой часть частиц осаждается на стенках системы охлаждения газового потока 6, а другая - с газовым потоком проходит через фильтр газового потока 7, где металлсодержащие наночастицы осаждаются, а газовый поток выводится из фильтра газового потока 7. Все осевшие отфильтрованные металлсодержащие наночастицы собираются в контейнер для сбора наночастиц 8.The device operates as follows. The
Все узлы устройства выполнены в герметичном разъемном исполнении. Размеры получаемых металлсодержащих наночастиц можно варьировать в широких пределах (от 10 нм до 500 нм) в зависимости от величины и частоты выходного тока высокочастотного инвертора 11 для сварки на переменном токе, применяемого газа и состава исходного проволочного материала 2.All components of the device are made in a sealed detachable design. The sizes of the obtained metal-containing nanoparticles can vary over a wide range (from 10 nm to 500 nm) depending on the magnitude and frequency of the output current of the high-
По сравнению с известным решением предлагаемое является конструктивно более простым, отсутствует источник для индукционного нагрева, к которому необходим насос и бак с охлаждающей жидкостью для охлаждения высокочастотного индуктора (чиллер), кроме того является более энергоэффективным, позволяет быстрее получать большие аэрозольные объемы металлсодержащих наночастиц, путем прямой непрерывной подачи исходного проволочного материала в рабочую зону сварочной дуги высокочастотного инвертора с последующим расплавом и испарением в ней, выведением металлсодержащих наночастиц газовым потоком и дальнейшим их охлаждением и сбором, что увеличивает количество получаемых металлсодержащих наночастиц.Compared with the known solution, the proposed one is structurally simpler, there is no source for induction heating, which requires a pump and a tank with coolant to cool the high-frequency inductor (chiller), moreover, it is more energy efficient, it allows faster production of large aerosol volumes of metal-containing nanoparticles, by direct continuous feed of the initial wire material into the working area of the welding arc of a high-frequency inverter with subsequent melt and evaporation in it, the removal of metal-containing nanoparticles by a gas stream and their further cooling and collection, which increases the amount of metal-containing nanoparticles obtained.
Claims (1)
Priority Applications (1)
| Application Number | Priority Date | Filing Date | Title |
|---|---|---|---|
| RU2015131937/02U RU160061U1 (en) | 2015-07-30 | 2015-07-30 | DEVICE FOR PRODUCING METAL-CONTAINING NANOPARTICLES |
Applications Claiming Priority (1)
| Application Number | Priority Date | Filing Date | Title |
|---|---|---|---|
| RU2015131937/02U RU160061U1 (en) | 2015-07-30 | 2015-07-30 | DEVICE FOR PRODUCING METAL-CONTAINING NANOPARTICLES |
Publications (1)
| Publication Number | Publication Date |
|---|---|
| RU160061U1 true RU160061U1 (en) | 2016-02-27 |
Family
ID=55435886
Family Applications (1)
| Application Number | Title | Priority Date | Filing Date |
|---|---|---|---|
| RU2015131937/02U RU160061U1 (en) | 2015-07-30 | 2015-07-30 | DEVICE FOR PRODUCING METAL-CONTAINING NANOPARTICLES |
Country Status (1)
| Country | Link |
|---|---|
| RU (1) | RU160061U1 (en) |
Cited By (1)
| Publication number | Priority date | Publication date | Assignee | Title |
|---|---|---|---|---|
| RU2739957C1 (en) * | 2020-09-10 | 2020-12-30 | Общество с ограниченной ответственностью "ХИМТЭК" | Method of producing an ice-forming agent for action on supercooled clouds and fogs |
-
2015
- 2015-07-30 RU RU2015131937/02U patent/RU160061U1/en not_active IP Right Cessation
Cited By (1)
| Publication number | Priority date | Publication date | Assignee | Title |
|---|---|---|---|---|
| RU2739957C1 (en) * | 2020-09-10 | 2020-12-30 | Общество с ограниченной ответственностью "ХИМТЭК" | Method of producing an ice-forming agent for action on supercooled clouds and fogs |
Similar Documents
| Publication | Publication Date | Title |
|---|---|---|
| CN205414417U (en) | Device of plasma atomizing preparation high performance powder for vibration material disk | |
| CN108161019B (en) | Powder making method of induction heating and radio frequency plasma combined atomization powder making system | |
| RU2017143576A (en) | METHODS AND DEVICES FOR OBTAINING METAL POWDER MATERIAL | |
| CN107096925A (en) | A kind of new plasma atomization prepares ball-type powder model system | |
| CN106925789B (en) | A kind of production technology of high-frequency plasma method chromium nano powder | |
| JP2013520303A5 (en) | ||
| RU160061U1 (en) | DEVICE FOR PRODUCING METAL-CONTAINING NANOPARTICLES | |
| CN111604497A (en) | A kind of NdFeB superfine powder pretreatment device | |
| CN112452535B (en) | Periodic pulse vibration high-gradient magnetic separator | |
| CN104550903B (en) | Hydrogen plasma deoxidation method for chromium powder | |
| CN102864314A (en) | Method and device for purifying refined aluminum and high-purity aluminum through continuous segregation | |
| CN114192790A (en) | Device and method for preparing spherical titanium and titanium alloy powder | |
| CN109530864A (en) | A kind of weld seam tracking sensor with magnetic field control TIG electric arc | |
| CN107297561B (en) | A kind of hot wire welding equipment | |
| CN106744978A (en) | It is a kind of to carry out the technique that melting produces silicon ingot using white residue | |
| CN113231640B (en) | Device and method for jointly atomizing metal powder by inert gas and plasma | |
| CN111118426A (en) | Slag discharging structure and method for zinc pot | |
| RU135950U1 (en) | DEVICE FOR PRODUCING HIGH-PERFORMANCE METAL POWDERS AND OXIDES | |
| CN108788127A (en) | The production method of powder Oil Guide atomization core based on electromagnetic induction | |
| CN205518212U (en) | Tube bundle dust removal defogging device | |
| CN219335976U (en) | Induction plasma ultrasonic atomization powder making device for wire feeding | |
| CN209189960U (en) | A kind of wire cutting machine tool wire and the liquid separating apparatus that works | |
| CN111570941B (en) | Energy-saving environment-friendly electric spark oil residue separating and recycling machine | |
| RU133445U1 (en) | LIQUID METAL SPRAYING PLANT | |
| CN109304474A (en) | ICP plasma powder manufacturing apparatus |
Legal Events
| Date | Code | Title | Description |
|---|---|---|---|
| QB1K | Licence on use of utility model |
Free format text: LICENCE Effective date: 20160512 |
|
| MM9K | Utility model has become invalid (non-payment of fees) |
Effective date: 20180731 |
|
| NF9K | Utility model reinstated |
Effective date: 20190813 |
|
| MM9K | Utility model has become invalid (non-payment of fees) |
Effective date: 20200731 |
