RU159683U1 - Крышка для емкости - Google Patents
Крышка для емкости Download PDFInfo
- Publication number
- RU159683U1 RU159683U1 RU2015107820/15U RU2015107820U RU159683U1 RU 159683 U1 RU159683 U1 RU 159683U1 RU 2015107820/15 U RU2015107820/15 U RU 2015107820/15U RU 2015107820 U RU2015107820 U RU 2015107820U RU 159683 U1 RU159683 U1 RU 159683U1
- Authority
- RU
- Russia
- Prior art keywords
- lid
- tear
- container
- ring
- fixing
- Prior art date
Links
- 238000007789 sealing Methods 0.000 claims abstract description 9
- 239000002861 polymer material Substances 0.000 claims abstract description 3
- 239000011521 glass Substances 0.000 description 5
- 239000000243 solution Substances 0.000 description 5
- 238000009434 installation Methods 0.000 description 4
- 101100160821 Bacillus subtilis (strain 168) yxdJ gene Proteins 0.000 description 3
- 239000004698 Polyethylene Substances 0.000 description 3
- 239000007788 liquid Substances 0.000 description 3
- 238000004519 manufacturing process Methods 0.000 description 3
- 239000002184 metal Substances 0.000 description 3
- -1 polyethylene Polymers 0.000 description 3
- 229920000573 polyethylene Polymers 0.000 description 3
- 239000007799 cork Substances 0.000 description 2
- 235000013305 food Nutrition 0.000 description 2
- 238000001746 injection moulding Methods 0.000 description 2
- 239000000463 material Substances 0.000 description 2
- 241001573881 Corolla Species 0.000 description 1
- 235000013334 alcoholic beverage Nutrition 0.000 description 1
- 230000035622 drinking Effects 0.000 description 1
- 230000003993 interaction Effects 0.000 description 1
- 239000012263 liquid product Substances 0.000 description 1
- 230000014759 maintenance of location Effects 0.000 description 1
- 235000014214 soft drink Nutrition 0.000 description 1
- XLYOFNOQVPJJNP-UHFFFAOYSA-N water Substances O XLYOFNOQVPJJNP-UHFFFAOYSA-N 0.000 description 1
Images
Landscapes
- Closures For Containers (AREA)
Abstract
1. Крышка для емкости, выполненная в виде корпуса, который имеет отрывное кольцо с ослабленными зонами, а также уплотняющий элемент на внутренней торцевой поверхности, размещаемый в отверстии емкости, причем отрывное кольцо снабжено язычком с разрушаемыми перемычками, отличающаяся тем, что крышка выполнена монолитной из полимерного материала, при этом на внутренней поверхности корпуса крышки и отрывного кольца выполнены фиксирующие элементы для защелкивания на емкости.2. Крышка для емкости по п. 1, отличающаяся тем, что фиксирующий элемент корпуса выполнен на его внутренней поверхности в виде сплошного или прерывистого кольцевого выступа для осевой фиксации емкости.3. Крышка для емкости по п. 1, отличающаяся тем, что фиксирующий элемент отрывного кольца выполнен на его внутренней поверхности в виде кольцевого выступа, ориентированного к продольной оси крышки с возможностью фиксации на емкости в осевом направлении.
Description
Настоящая полезная модель относится к устройствам для герметичной укупорки и обеспечения неприкосновенности к содержимому емкости, точнее к устройствам для укупорки емкостей с жидкими продуктами, в том числе и ликероводочными изделиями.
Из уровня техники широко известны полиэтиленовые крышки многоразового использования, применяемые в домашнем хозяйстве для укупорки стеклянных банок. Такие крышки имеют верх и отходящую от него юбку и выполнены с возможностью герметичной установки на стандартную стеклянную банку посредством защелкивания на ее горлышке.
В американском патенте US 5105964, МПК B65D 43/02, опубл. 21.04.1992 г. и патенте РФ на полезную модель RU 32755, МПК B65D 1/00, опубл. 27.09.2003 г. раскрыта крышка из гибкого материала, конструктивно соответствующая упомянутой выше полиэтиленовой крышке, но предназначенная для установки на стандартные металлические банки для напитков, в верхней поверхности которых имеется выливное отверстие, закрытое открывающим средством в виде отрывного язычка. Данная крышка выполнена с возможностью герметичной установки на металлическую банку как до, так и после ее вскрытия, и обеспечивает сохранность гигиеничного состояния верхней части банки во время ее транспортировки и хранения, что является несомненным преимуществом, поскольку на верхней поверхности и ободке банки может скапливаться грязь, тогда как при питье из банки губы пользователя контактируют именно с ободком и верхней поверхностью.
Однако упомянутым выше крышкам свойственен существенный недостаток, заключающийся в неудобстве их съема. Действительно, эти крышки не содержат каких-либо средств, облегчающих их снятие, тогда как для снятия крышки необходимо прилагать довольно большое усилие, поскольку в целях обеспечения герметичности банки они устанавливаются на банке на тугой посадке.
Другой недостаток известных крышек состоит в том, что без специальных средств, например сумки, закрытую такой крышкой банку можно носить только одним способом - зажав ее в руке. Это значит, что перенос банок голыми руками в количестве больше двух становится практически невозможным.
Для укупорки различных вод и безалкогольных напитков традиционно применяются полиэтиленовые винтовые крышки со слабой связью, которая разрушается при ее отвинчивании.
Наиболее близким техническим решением является крышка-пробка с отрывным элементом, выполненная в виде стакана, верхняя часть которого снабжена жестким металлическим колпачком жестко связанным с верхней частью крышки с возможностью взаимодействия с пробкой, а отрывной элемент имеет в нижней части упругую внутреннюю отбортовку (Патент РФ на полезную модель №81480, МПК B65D 39/00, опубл. 20.03.2009).
Несмотря на наличие множества решений относительно крышек, защищающих емкости от неправомочного повторного наполнения, существует постоянная потребность в разработке новых крышек для емкостей, характеризующихся достаточно высоким уровнем защиты и максимально простой конструкцией, которые не требуют больших затрат на производство, имеют привлекательный внешний вид, и обеспечивают достаточно плотное закрытие также после удаления контрольной ленты.
Таким образом, задачей данной полезной модели является создание крышки для емкости с возможностью герметичной установки посредством защелкивания, которая будучи установленной на этом сосуде обеспечивала бы удобство его переноса.
Поставленная задача решается тем, что крышка для емкости выполнена в виде корпуса, который имеет отрывное кольцо с ослабленными зонами, а также уплотняющий элемент на внутренней торцевой поверхности, размещаемый в отверстии емкости, причем отрывное кольцо снабжено язычком с разрушаемыми перемычками. Крышка выполнена монолитной из полимерного материала, причем на внутренней поверхности корпуса крышки и отрывного кольца выполнены фиксирующие элементы для защелкивания на емкости.
В частном случае выполнения полезной модели фиксирующий элемент корпуса выполнен на его внутренней поверхности в виде сплошного или прерывистого кольцевого выступа для осевой фиксации на емкости.
В частном случае выполнения полезной модели фиксирующий элемент отрывного кольца выполнен на его внутренней поверхности в виде кольцевого выступа, ориентированного к продольной оси крышки с возможностью фиксации на емкости в осевом направлении.
Возможность осуществления полезной модели, охарактеризованной приведенной выше совокупностью признаков, а также возможность ее реализации может быть подтверждена описанием конструкции крышки, выполненной в соответствии с настоящим техническим решением.
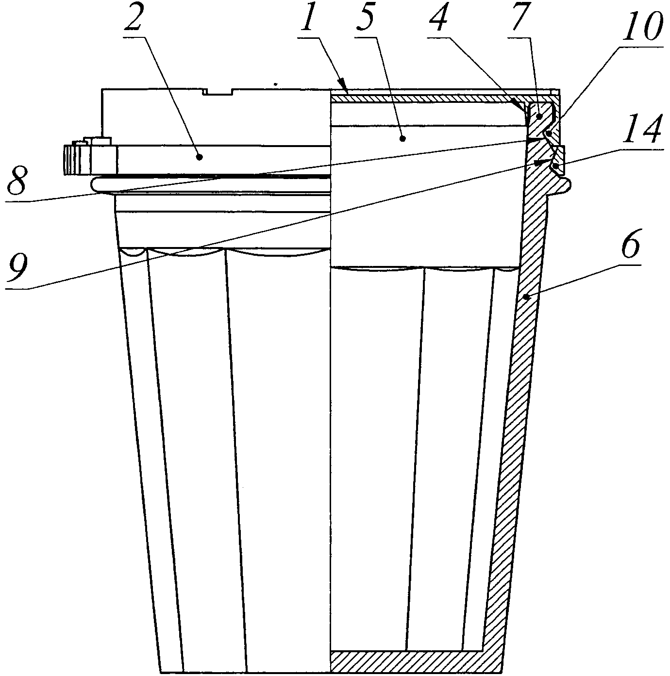
На фиг. 1 изображен общий вид крышки для емкости в разрезе, на фиг. 2 - общий вид в объеме, на фиг. 3 - вид сверху.
Крышка для емкости выполнена в виде корпуса 1, который имеет отрывное кольцо 2 с ослабленными зонами 3, а также уплотняющий элемент 4, размещаемый в отверстии 5 емкости 6. Отрывное кольцо 2 с ослабленными зонами 3 выполнено для предотвращения несанкционированного вскрытия. Уплотняющий элемент 4 выполнен на внутренней торцевой поверхности корпуса 1 в виде кольцевого выступа и предназначен для герметичной укупорки жидкости в емкости.
Емкость 6 представляет собой стакан с венчиком 7, на наружной поверхности которого имеются фиксирующие канавки 8 и 9, расположенные ниже торца венчика.
На внутренней поверхности корпуса 1 крышки выполнен фиксирующий элемент в виде кольцевого сплошного или прерывистого выступа 10 для защелкивания в канавке 8, выполненной на венчике 7 стакана. Корпус крышки снабжен также радиальным выступом 11 для облегчения снятия крышки после удаления отрывного кольца 2.
Корпус 1 и отрывное кольцо 2 выполнены в виде единой монолитной детали из полимерного материала.
Отрывное кольцо 2 снабжено язычком 12 с разрушаемыми перемычками 13. На внутренней поверхности отрывного кольца имеется фиксирующий элемент, выполненный в виде кольцевого выступа 14, ориентированного к продольной оси корпуса крышки для фиксации на стакане в осевом направлении.
При укупорке емкости 6 кольцевые выступы 10 и 14 располагаются в фиксирующих канавках 8 и 9 соответственно венчика 7 и фиксируются в осевом направлении. Происходит защелкивание крышки на емкости. Это обеспечивает прочное удержание крышки на емкости при хранении и транспортировке. При повторном закрывании емкости после первого вскрытия также обеспечивается фиксация крышки на емкости путем защелкивания кольцевого выступа 10 в фиксирующей канавке 8.
При первом вскрытии путем захвата язычка 12 разрываются перемычки 13 и ослабленные зоны 3, тянут отрывное кольцо 2 вручную до полного отделения, после чего корпус 1 крышки с уплотнительным элементом 4 легко снимается с венчика емкости 6 при помощи захвата радиального выступа 11.
Предлагаемое техническое решение обеспечивает создание крышки для емкостей с различными жидкостями и другими пищевыми продуктами, с различными диаметрами, обусловленными допусками при достаточной герметичности. При этом такая крышка имеет средства обнаружения несанкционированного вскрытия, ее удобно снимать и переносить вместе с емкостью. Причем такие укупорочные средства пригодны для изготовления способом литьевого формования для любых емкостей.
При первом вскрытии путем захвата язычка 12 разрываются перемычки 13 и ослабленные зоны 3, тянут отрывное кольцо 2 вручную до полного отделения, после чего корпус 1 крышки с уплотнительным элементом 4 легко снимается с венчика емкости 6 при помощи захвата радиального выступа 11.
Предлагаемое техническое решение обеспечивает создание крышки для емкостей с различными жидкостями и другими пищевыми продуктами, с различными диаметрами, обусловленными допусками при достаточной герметичности. При этом такая крышка имеет средства обнаружения несанкционированного вскрытия, ее удобно снимать и переносить вместе с емкостью. Причем такие укупорочные средства пригодны для изготовления способом литьевого формования для любых емкостей.
Claims (3)
1. Крышка для емкости, выполненная в виде корпуса, который имеет отрывное кольцо с ослабленными зонами, а также уплотняющий элемент на внутренней торцевой поверхности, размещаемый в отверстии емкости, причем отрывное кольцо снабжено язычком с разрушаемыми перемычками, отличающаяся тем, что крышка выполнена монолитной из полимерного материала, при этом на внутренней поверхности корпуса крышки и отрывного кольца выполнены фиксирующие элементы для защелкивания на емкости.
2. Крышка для емкости по п. 1, отличающаяся тем, что фиксирующий элемент корпуса выполнен на его внутренней поверхности в виде сплошного или прерывистого кольцевого выступа для осевой фиксации емкости.
Priority Applications (1)
| Application Number | Priority Date | Filing Date | Title |
|---|---|---|---|
| RU2015107820/15U RU159683U1 (ru) | 2015-03-05 | 2015-03-05 | Крышка для емкости |
Applications Claiming Priority (1)
| Application Number | Priority Date | Filing Date | Title |
|---|---|---|---|
| RU2015107820/15U RU159683U1 (ru) | 2015-03-05 | 2015-03-05 | Крышка для емкости |
Publications (1)
| Publication Number | Publication Date |
|---|---|
| RU159683U1 true RU159683U1 (ru) | 2016-02-20 |
Family
ID=55314168
Family Applications (1)
| Application Number | Title | Priority Date | Filing Date |
|---|---|---|---|
| RU2015107820/15U RU159683U1 (ru) | 2015-03-05 | 2015-03-05 | Крышка для емкости |
Country Status (1)
| Country | Link |
|---|---|
| RU (1) | RU159683U1 (ru) |
Cited By (2)
| Publication number | Priority date | Publication date | Assignee | Title |
|---|---|---|---|---|
| RU190576U1 (ru) * | 2019-02-07 | 2019-07-04 | Производственное унитарное предприятие "АЛКОПАК" | Крышка для ёмкости |
| RU199643U1 (ru) * | 2020-06-08 | 2020-09-11 | Сергей Александрович Фильдшин | Крышка для емкости |
-
2015
- 2015-03-05 RU RU2015107820/15U patent/RU159683U1/ru not_active IP Right Cessation
Cited By (2)
| Publication number | Priority date | Publication date | Assignee | Title |
|---|---|---|---|---|
| RU190576U1 (ru) * | 2019-02-07 | 2019-07-04 | Производственное унитарное предприятие "АЛКОПАК" | Крышка для ёмкости |
| RU199643U1 (ru) * | 2020-06-08 | 2020-09-11 | Сергей Александрович Фильдшин | Крышка для емкости |
Similar Documents
| Publication | Publication Date | Title |
|---|---|---|
| US11794956B2 (en) | Closure | |
| US9776779B2 (en) | Closure with spring loaded tether docking | |
| KR102086520B1 (ko) | 병 뚜껑 | |
| RU2387589C2 (ru) | Упаковочное изделие | |
| US8720716B2 (en) | Closure with spring loaded tether docking | |
| CA2661297C (en) | Container closure with internal threading system | |
| EP2663505B1 (en) | Drink-through spout cap for a beverage bottle, set of a cover and such a drink-through spout cap, a drinking device, and methods of manufacturing and preparing a drinking device | |
| GB2523797A (en) | Container assembly | |
| US20090020546A1 (en) | Tamper Resistant Closures | |
| US20110163135A1 (en) | Multi-piece closure with hinged lid | |
| RU159683U1 (ru) | Крышка для емкости | |
| RU2387591C2 (ru) | Многоэлементный запор из пластмассы | |
| US3915360A (en) | Container with tear-out portion | |
| JP4615304B2 (ja) | キャップおよび容器ならびに閉止装置 | |
| US2848142A (en) | Container | |
| KR200459905Y1 (ko) | 밀폐가 우수하고 탈,부착이 용이한 용기마개 | |
| RU150189U1 (ru) | Колпачок из эластичного материала для закупоривания бутылок | |
| RU159600U1 (ru) | Укупорочная система | |
| RU29289U1 (ru) | Укупорочное устройство | |
| AU2022281993A1 (en) | Container closure | |
| RU70649U1 (ru) | Бутылка | |
| RU125555U1 (ru) | Укупорочное устройство для бутылки | |
| WO2018054843A1 (en) | A cap for a food package | |
| RU67551U1 (ru) | Крышка для укупорки сосуда и сосуд, снабженный такой крышкой | |
| RU2264960C1 (ru) | Средство для питья |
Legal Events
| Date | Code | Title | Description |
|---|---|---|---|
| MF91 | Utility model revoked due to its full invalidation |
Effective date: 20190416 |
