RU155231U1 - Установка для очистки сточных вод - Google Patents
Установка для очистки сточных вод Download PDFInfo
- Publication number
- RU155231U1 RU155231U1 RU2014146814/05U RU2014146814U RU155231U1 RU 155231 U1 RU155231 U1 RU 155231U1 RU 2014146814/05 U RU2014146814/05 U RU 2014146814/05U RU 2014146814 U RU2014146814 U RU 2014146814U RU 155231 U1 RU155231 U1 RU 155231U1
- Authority
- RU
- Russia
- Prior art keywords
- filter
- granular
- sorption
- water
- chamber
- Prior art date
Links
- 239000010865 sewage Substances 0.000 title 1
- XLYOFNOQVPJJNP-UHFFFAOYSA-N water Substances O XLYOFNOQVPJJNP-UHFFFAOYSA-N 0.000 claims abstract description 64
- 238000001179 sorption measurement Methods 0.000 claims abstract description 30
- 238000005188 flotation Methods 0.000 claims abstract description 27
- 238000005192 partition Methods 0.000 claims abstract description 22
- 239000006260 foam Substances 0.000 claims abstract description 19
- 239000008213 purified water Substances 0.000 claims abstract description 19
- 239000004576 sand Substances 0.000 claims abstract description 15
- 239000013049 sediment Substances 0.000 claims abstract description 15
- 238000004065 wastewater treatment Methods 0.000 claims abstract description 13
- 238000004062 sedimentation Methods 0.000 claims abstract description 7
- 238000005406 washing Methods 0.000 claims abstract description 6
- 239000002351 wastewater Substances 0.000 claims abstract description 6
- 238000001556 precipitation Methods 0.000 claims abstract 2
- OKTJSMMVPCPJKN-UHFFFAOYSA-N Carbon Chemical compound [C] OKTJSMMVPCPJKN-UHFFFAOYSA-N 0.000 claims description 4
- 239000004927 clay Substances 0.000 claims description 2
- 239000003921 oil Substances 0.000 description 18
- 244000309464 bull Species 0.000 description 8
- 239000007788 liquid Substances 0.000 description 7
- 238000001914 filtration Methods 0.000 description 6
- 239000010802 sludge Substances 0.000 description 5
- 238000005276 aerator Methods 0.000 description 4
- 239000000047 product Substances 0.000 description 4
- 101100204059 Caenorhabditis elegans trap-2 gene Proteins 0.000 description 3
- 239000003153 chemical reaction reagent Substances 0.000 description 3
- 238000004140 cleaning Methods 0.000 description 3
- 238000009434 installation Methods 0.000 description 3
- 239000000203 mixture Substances 0.000 description 3
- 239000007787 solid Substances 0.000 description 3
- 239000000126 substance Substances 0.000 description 3
- 239000012530 fluid Substances 0.000 description 2
- 238000004519 manufacturing process Methods 0.000 description 2
- 241000208202 Linaceae Species 0.000 description 1
- 235000004431 Linum usitatissimum Nutrition 0.000 description 1
- 229920005830 Polyurethane Foam Polymers 0.000 description 1
- 238000005352 clarification Methods 0.000 description 1
- 238000010586 diagram Methods 0.000 description 1
- 238000007599 discharging Methods 0.000 description 1
- 238000009826 distribution Methods 0.000 description 1
- 230000005611 electricity Effects 0.000 description 1
- 238000005265 energy consumption Methods 0.000 description 1
- 239000003925 fat Substances 0.000 description 1
- 239000000706 filtrate Substances 0.000 description 1
- 238000011010 flushing procedure Methods 0.000 description 1
- 230000005484 gravity Effects 0.000 description 1
- 239000000463 material Substances 0.000 description 1
- 238000000034 method Methods 0.000 description 1
- 239000002245 particle Substances 0.000 description 1
- 230000035515 penetration Effects 0.000 description 1
- 239000003209 petroleum derivative Substances 0.000 description 1
- 239000011496 polyurethane foam Substances 0.000 description 1
- 239000011148 porous material Substances 0.000 description 1
- 239000002244 precipitate Substances 0.000 description 1
- 238000000746 purification Methods 0.000 description 1
- 238000000926 separation method Methods 0.000 description 1
- 238000003911 water pollution Methods 0.000 description 1
Images
Landscapes
- Physical Water Treatments (AREA)
- Water Treatment By Sorption (AREA)
Abstract
1. Устройство для очистки сточных вод, состоящее из флотатора с приспособлениями для подвода сточной воды, ввода воздуха и удаления пены, песколовки, нефтеловушки-отстойника, осадконакопительного лотка, фильтровальной камеры с зернистой загрузкой, отличающееся тем, что фильтровальная камера дополнительно снабжена фильтром с сорбционной загрузкой и разделена на две части: в одной из которых расположен фильтр с зернистой загрузкой с движением воды сверху вниз, а в другой - фильтр с сорбционной загрузкой с движением воды снизу вверх, с двумя перегородками между ними, образующими карман для перетекания очищаемой воды от зернистого фильтра к сорбционному через переливное отверстие, при этом в нижней части конусного дна, с направлением конуса вверх, фильтровальной камеры расположены два патрубка для отвода осадков с фильтров: зернистого и сорбционного, а в ее верхней части, над сорбционным фильтром, расположен патрубок отвода очищенной воды, а над зернистым - патрубок отвода промывной воды, при этом устройство оборудовано трубопроводом для отвода осадков, который присоединен к конусному дну флотатора, с направлением конуса вниз, имеющего цилиндрические перегородки, делящие его на зоны флотации и отстаивания; зона отстаивания снабжена камерой для отстаивания сфлотированной воды, а приспособление для ввода воздуха выполнено в виде диска и подключено к компрессору; песколовка сочетает в своей конструкции элементы тангенциальной и вертикальной песколовок, а дно нефтеловушки-отстойника имеет уклон от центра к периферии.2. Устройство по п. 1, отличающееся тем, что в качестве загрузки зернистого фильтра использован
Description
Полезная модель относится к устройствам для очистки сточных вод и может быть использована для очистки воды от нефтепродуктов, жиров и взвешенных веществ.
Известно устройство для очистки сточных вод, которое содержит корпус, размещенные в нем камеру флотации, коалесцирующую загрузку и скорый фильтр с зернистой загрузкой. Камера флотации снабжена вертикальными перегородками - электродами для снятия турбулентности потока и электронейтрализации поверхностного заряда капель нефтепродуктов. Распределительная система для отвода фильтрата и подвода промывной воды расположена в нижней части фильтра в толще загрузки и выполнена в виде двух коаксиальных щелевых трубопроводов, внутренний из которых имеет отверстия в его верхней части, а наружный - в нижней части. Устройство включает систему поверхностной промывки зернистой загрузки фильтра водовоздушной смесью. Для отвода всплывающих нефтепродуктов в верхней части корпуса размещен V-образный направляющий экран и плавающие нефтесборные лотки. Очистка исходной воды производится при последовательном прохождении ее через камеру флотации, камеру загрузки и скорый фильтр с доочисткой на пенополиуретановом фильтре / А.с. SU №1381074 М. кл. C02F 1/24. Устройство для очистки сточных вод. / М.В. Кравцов и др. Опубл. 15.03.1988 г. Бюл. №10 / [1].
Недостатком данного устройства является высокое потребление электроэнергии, за счет использования перегородок - электродов.
Известно устройство для очистки сточных вод, включающее корпус с камерой флотации и фильтр, узлы подвода водовоздушной смеси и отвода очищенной воды, сбора и удаления пены, и снабженное конической перегородкой с патрубками, при этом нижняя часть камеры флотации размещена в полости конической перегородки. Устройство позволяет осуществлять раздельный вывод пены и взвешенных частиц / А.с. SU №887468, М. кл. C02F 1/24. Устройство для очистки сточных вод / В.В. Найденко, Ю.Ф. Колесов, В.З. Клочихин. Опубл. 07.12.81 г. Бюл. №45 / [2].
Недостатком данного устройства является наличие над фильтром столба очищаемой жидкости, увеличивающегося от оси устройства к периферии, что отрицательно сказывается на работе фильтра, поскольку грязеемкость последнего в таких условиях существенно отличается по площади и глубине фильтрующей загрузки.
Известно устройство для очистки жидкости, содержащее корпус, размещенную по его оси цилиндрическую флотационную камеру, стенки которой по высоте выполнены перфорированными, фильтр, сборник осветленной жидкости и полочные блоки, которые выполнены в виде секций, установленных одна над другой вокруг флотационной камеры и разделенных сплошной перегородкой, а фильтр расположен концентрично снаружи полочных блоков / А.с. SU №1446113, М. кл. C02F 1/24, 1/00. Устройство для очистки жидкостей / Е.М. Фондорко. Опубл. 23.12.1988 г. Бюл. №47 / [3].
Недостатком данного устройства является то, что в зоне флотации не предусмотрена зона сепарации пены, что существенно снижает время процесса флотации, тем самым ухудшая ее эффективность. При этом вход очищаемой воды в полочный блок непосредственно из зоны флотации приводит к проскакиванию крупных пузырьков воздуха в отстойную зону, что нарушает нормальный режим работы устройства. Также, в устройстве ограничена возможность осуществления качественной обратной промывки загрузки фильтра, поскольку при этом неизбежен выброс последней из кольцевого пространства фильтра и попадание материала загрузки в зону тонкослойного отстаивания, что приводит к повторному загрязнению.
Известно устройство для очистки сточных вод содержащих нефтепродукты, масла и взвешенные вещества, включающее корпус с флотационной камерой, фильтр, емкость сбора очищенной воды, узлы подвода водовоздушной смеси и отвода очищенной воды, сбора и удаления пены. Флотационная и фильтровальная камеры расположены в горизонтальной плоскости, в виде отдельных емкостей, образованных путем последовательного размещения по оси симметрии единого корпуса в направлении от стенки последнего к центру разделительной перегородки, выполненной в виде кольца с вырезанным по всей высоте кольца элементом; ограничительного цилиндра, образующего совместно с секционными стенками полость зон флотации и полость для сбора пенного продукта, изготовленного с возможностью обеспечения перетока сфлотированной воды из второй зоны флотационной камеры в переходную технологическую зону за счет наличия отверстий в нижней части ограничительного цилиндра, разделительно-переливной перегородки, отделяющей флотационную камеру от фильтровальной камеры и выполненной в виде цилиндрической трубы с полуотверстиями на верхнем торце, и имеющей внутри вертикально установленную пластину, разделяющую полость трубы на малую и большую зоны / Патент RU №2254297, МПК C02F 1/24. Установка для флотационно-фильтрационной очистки воды / Луговкин А.Н., Кузнецов А.Д. Опубл. 10.01.2005 / [4].
Недостатком данного устройства является использование дополнительного оборудования, необходимого для работы установки, такого как насосы, что требует больших затрат электроэнергии.
Другим недостатком данного устройства является использование реагентной обработки воды, что приводит к вторичному загрязнению воды. Также для реагентной обработки воды требуется использование и применение реагентного хозяйства, для чего требуется дополнительные площади под оборудование.
Наиболее близким к заявленной полезной модели является устройство для очистки сточных вод, включающее размещенные друг над другом фильтровальную камеру с зернистой загрузкой и флотационную камеру, снабженную приспособлениями для ввода воздуха и удаления пены. Устройство оснащено кольцевым желобом, снабженным тангенциальным патрубком подвода сточной воды, для предварительного осветления стоков, а приспособление для ввода воздуха расположено над фильтровальной камерой / А.с. SU №485075, М. кл. С02С 1/26. Устройство для очистки сточных вод / Б.А. Митин, А.Л. Рабинович. Опубл. 16.01.1976 г. Бюл. №35 / [5], - принято за прототип.
Недостатком устройства является низкая грязеемкость фильтра, обусловленная тем, что грубодисперсные вещества образуют на поверхности фильтра пленку, препятствующую фильтрованию и проникновению мелкодисперсных веществ вглубь фильтра, что приводит к снижению скорости фильтрования. Другим недостатком устройства является то, что пузырьки воздуха, захваченные потоком движущейся вниз воды, блокируют поры фильтрующей загрузки, что также ухудшает условия работы фильтра и приводит к снижению качества очистки воды и снижению скорости фильтрования.
Сущностью полезной модели является повышение качества и скорости очистки сточных вод, расширение функциональных возможностей устройства для очистки, а также экономия производственных площадей при его эксплуатации.
Технический результат - глубокая очистка сточных вод, повышение эффективности работы устройства для очистки сточных вод, а также сокращение занимаемой площади при его эксплуатации.
Указанный технический результат достигается тем, что в известном устройстве для очистки сточных вод, состоящем из флотатора с приспособлениями для подвода сточной воды, ввода воздуха и удаления пены, песколовки, нефтеловушки-отстойника, осадконакопительного лотка фильтровальной камеры с зернистой загрузкой, особенностью является то, что фильтровальная камера дополнительно снабжена фильтром с сорбционной загрузкой и разделена на две части: в одной из которых расположен фильтр с зернистой загрузкой, с движением воды сверху вниз, а в другой - фильтр с сорбционной загрузкой, с движением воды снизу вверх, с двумя перегородками между ними, образующими карман для перетекания очищаемой воды от зернистого фильтра к сорбционному через переливное отверстие, при этом в нижней части конусного дна, с направлением конуса вверх, фильтровальной камеры расположены два патрубка для отвода осадков с фильтров: зернистого и сорбционного, а в ее верхней части, над сорбционным фильтром, расположен патрубок отвода очищенной воды, а над зернистым - патрубок отвода промывной воды, при этом устройство оборудовано трубопроводом для отвода осадков, который присоединен к конусному дну флотатора, с направлением конуса вниз, имеющего цилиндрические перегородки, делящие его на зоны флотации и отстаивания; зона отстаивания снабжена камерой для отстаивания сфлотированной воды, а приспособление для ввода воздуха выполнено в виде диска и подключено к компрессору; песколовка сочетает в своей конструкции элементы тангенциальной и вертикальной песколовок, а дно нефтеловушки-отстойника имеет уклон от центра к периферии. В качестве загрузки зернистого фильтра использован дробленый керамзит, а в качестве загрузки сорбционного фильтра использован активированный уголь.
Схема устройства представлена на чертежах:
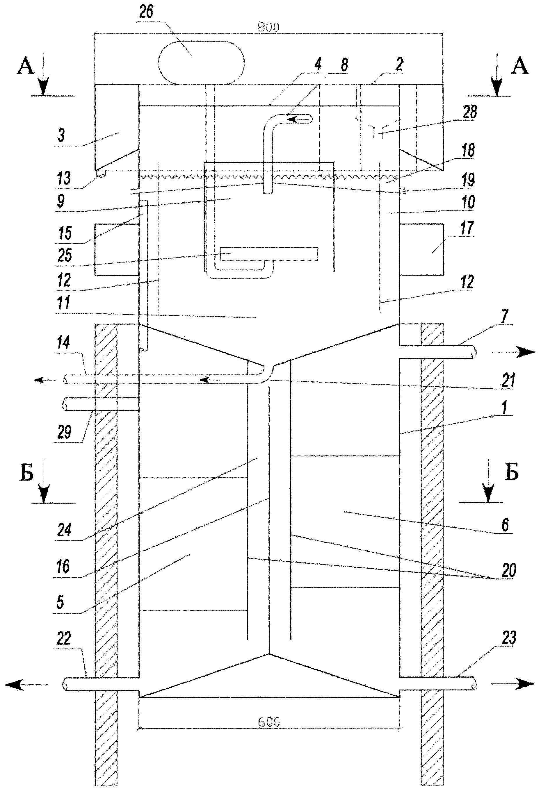
на фиг. 1 - вид сбоку; приняты следующие обозначения: 1 - корпус устройства; 2 - песколовка; 3 - нефтеловушка-отстойник; 4 - флотатор-отстойник; 5 - зернистый фильтр; 6 - сорбционный фильтр; 7 - патрубок отвода очищенной воды; 8 - переливной трубопровод; 9 - флотационная камера; 10 - зона осветленной воды; 11 - отстойная зона; 12 - цилиндрическая перегородка; 13 - патрубок отвода осадка нефтеловушки-отстойника; 14 - трубопровод отвода плавающего осадка; 15 - трубопровод подачи воды в фильтровальную камеру; 16 - перегородка, разделяющая фильтры; 17 - осадконакопительный лоток; 18 - лоток для сбора пены; 19 - патрубок сброса пены; 20 - перегородки для перетока жидкости; 21 - переливное отверстие; 22 - патрубок отвода осадка зернистого фильтра; 23 -патрубок отвода осадка сорбционного фильтра; 24 - карман; 25 - дисковый аэратор; 26 - компрессор; 28 - патрубок отвода осадка песколовки; 29 - патрубок отвода промывной воды зернистого фильтра;
на фиг. 2 - вид сверху (сечение А-А); приняты следующие обозначения: 2 - песколовка; 3 - нефтеловушка-отстойник; 4 - флотатор-отстойник; 8 - переливной трубопровод; 9 - флотационная камера; 10 - зона осветленной воды; 11 - отстойная зона; 12 - цилиндрическая перегородка; 18 - лоток для сбора пены; 19 - патрубок сброса пены; 25 - дисковый аэратор; 26 - компрессор; 27 - трубопровод подачи исходной сточной воды;
на фиг. 3 изображена фильтровальная камера (сечение Б-Б); приняты следующие обозначения: 5 - зернистый фильтр; 6 - сорбционный фильтр; 16 - перегородка, разделяющая фильтры; 20 - перегородки для перетока жидкости; 22 - патрубок отвода осадка зернистого фильтра; 23 - патрубок отвода осадка сорбционного фильтра; 24 - карман.
Корпус устройства 1 включает в себя песколовку 2, нефтеловушку-отстойник 3, флотатор-отстойник 4, зернистый фильтр 5 и сорбционный фильтр 6.
В устройстве последовательно располагаются песколовка 2, оборудованная патрубком отвода осадка 28, и нефтеловушка-отстойник 3. Через переливной трубопровод 8, очищаемая вода перетекает из нефтеловушки-отстойника 3 во флотатор-отстойник 4; в нефтеловушке-отстойнике 3 предусмотрен патрубок отвода осадка нефтеловушки-отстойника 13. В центральной части флотатора-отстойника 4 располагается флотационная камера 9, выполненная в виде цилиндра, в которой расположен дисковый аэратор 25, подключенный к компрессору 26. Флотатор-отстойник 4 оборудован цилиндрической перегородкой 12, которая формирует отстойную зону 11 и отделяет ее от зоны осветленной воды 10. В верхней части флотатора-отстойника 4 установлены лотки для сбора пены 18 и патрубки сброса пены 19 для отвода пены. В нижней части располагается трубопровод отвода плавающего осадка 14. Осадок и пена, образующиеся в процессе работы устройства, через соответствующие патрубки удаляются в осадконакопительный лоток 17. В зоне осветленной воды 10 предусмотрен трубопровод подачи воды в фильтровальную камеру 15. Фильтровальная камера представлена в виде цилиндра с перегородкой, разделяющей фильтры 16 на две части. В одной из частей содержится: зернистый фильтр 5, а в другой - сорбционный фильтр 6. Параллельно перегородке, разделяющей фильтры 16 устроены две перегородки для перетока жидкости 20, которые образуют карман 24 для перетекания очищаемой воды от зернистого фильтра к сорбционному через переливное отверстие 21. В нижней части фильтровальной камеры расположены патрубки отвода осадка с зернистого и сорбционного фильтров, а над сорбционным фильтром 6 - патрубок отвода очищенной воды 7. Промывка фильтровальной камеры осуществляется подачей промывной воды через патрубок отвода очищенной воды 7 и отвод через патрубок отвода промывной воды зернистого фильтра 29. Выпавшие осадки после промывки зернистого и сорбционного фильтров отводятся соответственно через патрубок отвода осадка зернистого фильтра 22 и патрубок отвода осадка сорбционного фильтра 23.
Устройство работает следующим образом:
Очищаемая вода по трубопроводу подачи исходной сточной воды 27 самотеком поступает на устройство, где последовательно проходит очистку на песколовке 2, нефтеловушке-отстойнике 3 и по переливному трубопроводу 8 из нефтеловушки-отстойника подается во флотационную камеру 9, в которую совместно с водой через дисковый аэратор 25 от компрессора 26 подается воздух; грубо- и мелкодисперсные вещества, растворенные в воде захватываются пузырьками воздуха и выносятся к поверхности очищаемой воды, где образуется пена, которая собирается в лотке для сбора пены 18 и отводится через патрубки отвода осадка нефтеловушки-отстойника 13. Сфлотированная вода из флотационной камеры 9 перетекает в отстойную зону 11, оборудованную цилиндрической перегородкой 12. В отстойной зоне 11 происходит полное выделение диспергированных в воде пузырьков воздуха после флотации, после чего вода перетекает в зону осветленной воды 10. Через трубопровод отвода плавающего осадка 14 осуществляется удаление осадка, выпадающего на дно флотатора-отстойника 4. Осветленная вода через трубопровод подачи воды отводится в фильтровальную камеру. Очищаемая вода подается на зернистый фильтр 5. Вода, двигаясь сверху вниз, проходит через зернистый фильтр 5, делает поворот на 180° и по карману 24, образованному перегородкой, разделяющей фильтры 16 и перегородкой для перетока жидкости 20, поднимается до переливного отверстия 21 и опускается ко дну конструкции, после чего снова меняет направление и проходит доочистку на сорбционном фильтре 6 при восходящем токе воды. Очищенная вода отводится через патрубок отвода очищенной воды 7.
Заявленная полезная модель при ее использовании позволит повысить скорость, эффективность и качество очистки за счет двойной фильтрации очищаемой воды: зернистым фильтром и сорбционным.
Компактность предложенного устройства для очистки сточных вод позволяет значительно сократить занимаемую ею производственную площадь, тем самым расширяет возможности для ее использования.
Источники информации:
1. А.с. SU №1381074 М. кл. C02F 1/24.Устройство для очистки сточных вод. / М.В. Кравцов и др. Опубл. 15.03.1988 г. Бюл. №10.
2. А.с. SU №887468, М. кл. C02F 1/24. Устройство для очистки сточных вод / В.В. Найденко, Ю.Ф. Колесов, В.З. Клочихин. Опубл. 07.12.81 г. Бюл. №45.
3. А.с. SU №1446113, М. кл. C02F 1/24, 1/00. Устройство для очистки жидкостей / Е.М. Фондорко. Опубл. 23.12.1988 г. Бюл. №47.
4. Патент RU №2254297, МПК C02F 1/24. Установка для флотационно-фильтрационной очистки воды / Луговкин А.Н., Кузнецов А.Д. Опубл. 10.01.2005.
5. А.с. SU №485075, М. кл. С02С 1/26. Устройство для очистки сточных вод / Б.А. Митин, А.Л. Рабинович. Опубл. 16.01.1976 г. Бюл. №35.
Claims (3)
1. Устройство для очистки сточных вод, состоящее из флотатора с приспособлениями для подвода сточной воды, ввода воздуха и удаления пены, песколовки, нефтеловушки-отстойника, осадконакопительного лотка, фильтровальной камеры с зернистой загрузкой, отличающееся тем, что фильтровальная камера дополнительно снабжена фильтром с сорбционной загрузкой и разделена на две части: в одной из которых расположен фильтр с зернистой загрузкой с движением воды сверху вниз, а в другой - фильтр с сорбционной загрузкой с движением воды снизу вверх, с двумя перегородками между ними, образующими карман для перетекания очищаемой воды от зернистого фильтра к сорбционному через переливное отверстие, при этом в нижней части конусного дна, с направлением конуса вверх, фильтровальной камеры расположены два патрубка для отвода осадков с фильтров: зернистого и сорбционного, а в ее верхней части, над сорбционным фильтром, расположен патрубок отвода очищенной воды, а над зернистым - патрубок отвода промывной воды, при этом устройство оборудовано трубопроводом для отвода осадков, который присоединен к конусному дну флотатора, с направлением конуса вниз, имеющего цилиндрические перегородки, делящие его на зоны флотации и отстаивания; зона отстаивания снабжена камерой для отстаивания сфлотированной воды, а приспособление для ввода воздуха выполнено в виде диска и подключено к компрессору; песколовка сочетает в своей конструкции элементы тангенциальной и вертикальной песколовок, а дно нефтеловушки-отстойника имеет уклон от центра к периферии.
2. Устройство по п. 1, отличающееся тем, что в качестве загрузки зернистого фильтра использован дробленый керамзит.
Priority Applications (1)
| Application Number | Priority Date | Filing Date | Title |
|---|---|---|---|
| RU2014146814/05U RU155231U1 (ru) | 2014-11-20 | 2014-11-20 | Установка для очистки сточных вод |
Applications Claiming Priority (1)
| Application Number | Priority Date | Filing Date | Title |
|---|---|---|---|
| RU2014146814/05U RU155231U1 (ru) | 2014-11-20 | 2014-11-20 | Установка для очистки сточных вод |
Publications (1)
| Publication Number | Publication Date |
|---|---|
| RU155231U1 true RU155231U1 (ru) | 2015-09-27 |
Family
ID=54251159
Family Applications (1)
| Application Number | Title | Priority Date | Filing Date |
|---|---|---|---|
| RU2014146814/05U RU155231U1 (ru) | 2014-11-20 | 2014-11-20 | Установка для очистки сточных вод |
Country Status (1)
| Country | Link |
|---|---|
| RU (1) | RU155231U1 (ru) |
Cited By (2)
| Publication number | Priority date | Publication date | Assignee | Title |
|---|---|---|---|---|
| RU2612724C1 (ru) * | 2015-12-14 | 2017-03-13 | федеральное государственное бюджетное образовательное учреждение высшего образования "Самарский государственный технический университет" | Способ очистки сточных вод |
| RU2617156C1 (ru) * | 2015-12-14 | 2017-04-21 | федеральное государственное бюджетное образовательное учреждение высшего образования "Самарский государственный технический университет" | Устройство для очистки сточных вод |
-
2014
- 2014-11-20 RU RU2014146814/05U patent/RU155231U1/ru not_active IP Right Cessation
Cited By (2)
| Publication number | Priority date | Publication date | Assignee | Title |
|---|---|---|---|---|
| RU2612724C1 (ru) * | 2015-12-14 | 2017-03-13 | федеральное государственное бюджетное образовательное учреждение высшего образования "Самарский государственный технический университет" | Способ очистки сточных вод |
| RU2617156C1 (ru) * | 2015-12-14 | 2017-04-21 | федеральное государственное бюджетное образовательное учреждение высшего образования "Самарский государственный технический университет" | Устройство для очистки сточных вод |
Similar Documents
| Publication | Publication Date | Title |
|---|---|---|
| CN103787527B (zh) | 一种含油污水气浮悬浮层过滤装置 | |
| KR100751534B1 (ko) | 연속 침전여과형 초기우수 처리장치 | |
| RU2374181C2 (ru) | Устройство для очистки ливневых вод от нефтепродуктов и взвешенных веществ | |
| RU155231U1 (ru) | Установка для очистки сточных вод | |
| RU2254297C2 (ru) | Установка для флотационно-фильтрационной очистки воды | |
| KR20210002060A (ko) | 스컴 처리효율이 개선된 하폐수처리장치 | |
| RU2489362C2 (ru) | Устройство для очистки ливнесточных вод | |
| CN202766383U (zh) | 气浮隔油沉砂装置 | |
| RU154652U1 (ru) | Установка очистки ливневых стоков от примесей нефтепродуктов | |
| CN100546692C (zh) | 含固体杂质的污水处理器 | |
| CN203820565U (zh) | 一种含油污水气浮悬浮层过滤装置 | |
| RU2574053C1 (ru) | Установка для очистки сточных вод | |
| SU1381074A1 (ru) | Устройство дл очистки сточных вод | |
| KR101038684B1 (ko) | 다층 수평관 액체 침전장치 | |
| SU1430353A1 (ru) | Устройство дл очистки сточных вод | |
| RU79548U1 (ru) | Установка для очистки сточных вод | |
| RU2581870C1 (ru) | Способ очистки сточных вод | |
| RU151047U1 (ru) | Горизонтальный отстойник | |
| RU2151627C1 (ru) | Установка для очистки воды | |
| CN108996770B (zh) | 一种快速高效除油气浮滤池 | |
| RU2714347C1 (ru) | Установка для очистки нефтепромысловых сточных вод для закачки в пласт | |
| CN209128193U (zh) | 一种高速除油装置及快速高效除油气浮滤池 | |
| RU176480U1 (ru) | Устройство локальной очистки ливневых стоков от примесей нефтепродуктов и взвешенных частиц | |
| CN205216403U (zh) | 一种斜板除油装置 | |
| RU119633U1 (ru) | Устройство для сбора и очистки трапных вод |
Legal Events
| Date | Code | Title | Description |
|---|---|---|---|
| MM1K | Utility model has become invalid (non-payment of fees) |
Effective date: 20151121 |
