KR900006866B1 - Steering shaft shock absorber of automobile - Google Patents

Steering shaft shock absorber of automobile Download PDF

Info

Publication number
KR900006866B1
KR900006866B1 KR1019870015577A KR870015577A KR900006866B1 KR 900006866 B1 KR900006866 B1 KR 900006866B1 KR 1019870015577 A KR1019870015577 A KR 1019870015577A KR 870015577 A KR870015577 A KR 870015577A KR 900006866 B1 KR900006866 B1 KR 900006866B1
Authority
KR
South Korea
Prior art keywords
steering shaft
shock absorber
steering
lower body
sliding body
Prior art date
Legal status (The legal status is an assumption and is not a legal conclusion. Google has not performed a legal analysis and makes no representation as to the accuracy of the status listed.)
Expired
Application number
KR1019870015577A
Other languages
Korean (ko)
Other versions
KR890009708A (en
Inventor
전기온
김태홍
Original Assignee
만도기계 주식회사
정인영
Priority date (The priority date is an assumption and is not a legal conclusion. Google has not performed a legal analysis and makes no representation as to the accuracy of the date listed.)
Filing date
Publication date
Application filed by 만도기계 주식회사, 정인영 filed Critical 만도기계 주식회사
Priority to KR1019870015577A priority Critical patent/KR900006866B1/en
Publication of KR890009708A publication Critical patent/KR890009708A/en
Application granted granted Critical
Publication of KR900006866B1 publication Critical patent/KR900006866B1/en
Expired legal-status Critical Current

Links

Images

Classifications

    • BPERFORMING OPERATIONS; TRANSPORTING
    • B62LAND VEHICLES FOR TRAVELLING OTHERWISE THAN ON RAILS
    • B62DMOTOR VEHICLES; TRAILERS
    • B62D1/00Steering controls, i.e. means for initiating a change of direction of the vehicle
    • B62D1/02Steering controls, i.e. means for initiating a change of direction of the vehicle vehicle-mounted
    • BPERFORMING OPERATIONS; TRANSPORTING
    • B62LAND VEHICLES FOR TRAVELLING OTHERWISE THAN ON RAILS
    • B62DMOTOR VEHICLES; TRAILERS
    • B62D1/00Steering controls, i.e. means for initiating a change of direction of the vehicle
    • B62D1/02Steering controls, i.e. means for initiating a change of direction of the vehicle vehicle-mounted
    • B62D1/16Steering columns

Landscapes

  • Engineering & Computer Science (AREA)
  • Chemical & Material Sciences (AREA)
  • Combustion & Propulsion (AREA)
  • Transportation (AREA)
  • Mechanical Engineering (AREA)
  • Steering Controls (AREA)

Abstract

내용 없음.No content.

Description

자동차의 조향축 충격 흡수장치Steering shaft shock absorber of automobile

제1도는 본 발명에 관한 조향축 충격 흡수장치가 설치된 상태를 보인 자동차의 운전석 개략 단면도.1 is a schematic sectional view of a driver's seat of a vehicle in which a steering shaft shock absorber according to the present invention is installed;

제2도는 본 발명에 적용되는 조향축 충격 흡수장치의 일부 분해사시도.2 is an exploded perspective view of a part of a steering shaft shock absorber applied to the present invention.

제3도는 본 발명 조향축 충격 흡수장치의 결합된 상태를 보인 조향축의 일부 종단면도.Figure 3 is a partial longitudinal cross-sectional view of the steering shaft showing the coupled state of the steering shaft shock absorber of the present invention.

제4도는 제3도의 A-A선 부분 확대 단면도.4 is an enlarged sectional view taken along the line A-A of FIG.

제5도는 제3도의 B-B선 부분 확대 단면도.5 is an enlarged sectional view taken along line B-B in FIG.

제 6도의 (a)(b)는 본 발명 충격 흡수장치의 작동상태를 보인 설명도.Figure 6 (a) (b) is an explanatory view showing the operating state of the shock absorber of the present invention.

제7도의 (a)(b)는 본 발명 충격 흡수장치에 적용되는 슬라이더의 다른 실시예시도.Figure 7 (a) (b) is another embodiment of a slider applied to the shock absorber of the present invention.

* 도면의 주요부분에 대한 부호의 설명* Explanation of symbols for main parts of the drawings

5 : 조향축 5A : 상관체5: steering shaft 5A: correlator

5A-1, 5B-2 : 요입부 5B : 하관체5A-1, 5B-2: Indentation part 5B: Lower body

5A-1, 5B-2 : 주입공 7 : 열가소성 합성수지 몰드물5A-1, 5B-2: Injection hole 7: Thermoplastic synthetic resin mold

7A : 돌핀 8 : 볼7A: Dolphin 8: Ball

본 발명은 자동차의 충돌사고시 핸들에 의해 부상당하는 것을 최소로 줄이고 운전자를 안전하게 보호할수 있도록한 자동차의 조향축 충격 흡수창치에 관한 것이다.The present invention relates to a shock absorbing window of the steering shaft of the vehicle to minimize the injuries caused by the steering wheel in the event of a collision of the vehicle and to protect the driver safely.

자동차의 조향축 충격 흡수장치를 보면 현재까지 여러방법이 제안 사용되고 있다.Looking at the steering shaft shock absorbers of automobiles, several methods have been proposed and used.

조향장치의 구성을 개략 설명하면 핸들과, 상하관체로 분리 구성되고 이 상하관체를 플라스틱핀으로 결합유지 구성되는 조향축과, 이 조향축의 주위를 길이방향으로 감싸는 콜럼튜브로 구성된다.The configuration of the steering device will be described in brief, comprising a steering wheel, a steering shaft separated from the upper and lower pipes, the upper and lower pipes being coupled and held by plastic pins, and a colum tube wrapping around the steering axis in the longitudinal direction.

그리고 차체의 충돌시 조향축과 콜럼튜브의 변형으로 충돌에너지를 흡수케하여 충돌사고에 대비케 하고있다. 즉, 충격 흡수장치는 상기에서와 같이 대체적으로 크게 나누어 조향축의 관이 변형되어 충돌에너지를 흡수케하는 메시식(mesh Type)과, 벨로우즈식(bellows Type)으로 구분된다.In addition, the collision shaft absorbs the collision energy due to the deformation of the steering shaft and the Colum tube during the collision of the body, and prepares for the collision accident. That is, the shock absorber is generally divided into a mesh type and a bellows type, which are largely divided as described above, and the tube of the steering shaft is deformed to absorb the collision energy.

이를 좀더 상세히 설명하면 메시식은 조향축을 감싸고 있는 콜럼튜브의 중간부를 그물모양으로 제작하고 충격을 받았을때 1차적으로 조향축의 결합올 유지하는 플라스틱핀이 1차적으로 파괴되어 상하측의 조향축이 수축됨과 동시에 콜럼튜브가 축 길이방향으로 압축시 그 저항에 의해 충격을 흡수하고 핸들이 운전석쪽으로 튀어나가는 것을 방지케하여 운전자가 핸들에 의해 부상당하는 것을 방지케하고 있으며, 벨로우즈식은 상기 메시식과 같이 콜럼튜브의 중간부를 벨로우즈관으로 구성하여, 충격시 이 벨로우즈관이 축 길이방향으로 주축되면서 그때 발생되는 저항에 의해 충격을 흡수하고 핸들이 튀쳐나가는 것을 방지하여 운전자를 보호케하고 있다.To explain this in more detail, the mesh type fabricates the middle part of the colum tube that surrounds the steering shaft in a net shape and when the shock is applied, the plastic pins that hold the steering shaft are primarily destroyed and the upper and lower steering shafts contract. At the same time, when the column is compressed in the axial length direction, the resistance is absorbed by the resistance and the handle is prevented from being thrown toward the driver's seat, thereby preventing the driver from being injured by the handle. In the middle part, the bellows pipe is configured to protect the driver by absorbing the shock and preventing the handle from being thrown out by the resistance generated at the time when the bellows pipe is pivoted in the longitudinal direction of the shaft.

그러나 이러한 충격 흡수장치는 충돌시 하중을 일시적으로 받아드려 핸들에 가해지는 충격의 흡수상태가 미비하고 따라서 핸들에 충격이 전달되어 운전자를 충돌사고로부터 안전하게 보호시킬 수 없으며, 상하체를 결합 유지시키는 플라스틱핀이 견고하지 못하고 제조 또는 용이하지 못해 제작단자가 고가이어 비경제적인 문제점이 따르고 안전성이 저조한 문제점이 있었다.However, such a shock absorber is a plastic pin for holding the upper and lower body combined with the upper and lower body can not protect the driver from a collision accident because the shock absorbing state to the handle is temporarily received and the impact absorbed on the handle is insufficient. There was a problem that the manufacturing terminal is expensive and the production terminal is expensive and thus it is not robust, and the safety is poor.

본 발명은 상기에서와 같은 사정을 고려하여 이루어진 것으로 그 목적은 충격하중을 2단계적으로 분산 흡수하도록 자동차의 조향축 충격 흡수장치를 제공하는 것이다.The present invention has been made in consideration of the above circumstances, and an object thereof is to provide a steering shaft shock absorber of an automobile to disperse and absorb shock loads in two stages.

본 발명의 다른 목적은 볼이 강제 미끄럼식으로 구름 이동시 발생되는 저항을 이용해서 충격에너지를 흡수하도록한 자동차의 조향축 충격 흡수장치를 제공하는 것이다.It is another object of the present invention to provide a steering shaft shock absorber of an automobile in which a ball absorbs shock energy by using a resistance generated when a rolling motion is forcedly sliding.

본 발명의 또다른 목적은 충격 흡수장치의 구조를 간소화하여 제작성 및 경제성을 얻는 자동차의 조향축 충격 흡수장치를 제공함에 있다.Still another object of the present invention is to provide a steering shaft shock absorber of an automobile in which the structure of the shock absorber is simplified to obtain manufacturability and economy.

이러한 본 발명의 목적은 자동차의 진행방향을 조정하는, 즉 조향력을 가지는 핸들을 사용하도록 된 조향장치를 제공함에 의해 달성되게 되는데, 이 조향장치는 상·하체로 분리 구성되는 조향축을 갖고 있고, 그 조향축의 상체에 끼워맞춤식으로 결합되는 핸들과, 조향축의 중간부 주위를 길이방향으로 감싸는 콜럼튜브를 구비하고 있다. 상기 조향축의 상하관체는 상하관체의 연접부 사이, 즉 상체의 주벽에 구비된 요구에 열가소성 합성지물이 충진되어 성형되는 지지몰드물에 의해 그 결합이 유지되어 있고, 또 하체의 내에는 상체로부터 소정거리 떨어져 미끄럼체를 가지며, 이 미끄럼체와, 하체의 내주벽 사이에 볼을 개재하고 있다. 따라서 충격이 가해지면 1차척으로 지지몰드물이 파괴됨과 아울러 조향축의 상·하체가 해체되어 상체가 하체를 따라서 내려가 미끄럼체를 밀어내리고 볼이 하체의 내주벽에 홈을 강제적으로 만들면서 클러가 이때의 저항을 이용해서 충격을 흡수하게 된다.The object of the present invention is achieved by providing a steering device that adjusts the direction of travel of a vehicle, that is, to use a steering wheel having a steering force, and the steering device has a steering shaft that is divided into upper and lower bodies, and A handle is fitted to the upper body of the steering shaft, and the column tube wraps around the middle of the steering shaft in the longitudinal direction. The upper and lower pipes of the steering shaft are held together by a support mold formed by filling a thermoplastic synthetic material between the connecting portions of the upper and lower pipes, i.e., the main wall of the upper body. It has a sliding body at a distance, and interposes a ball between this sliding body and the inner peripheral wall of a lower body. Therefore, when an impact is applied, the supporting mold is destroyed by the first chuck, and the upper and lower bodies of the steering shaft are dismantled, the upper body descends along the lower body, pushes down the sliding body, and the ball forcibly makes a groove in the inner circumferential wall of the lower body. The shock is absorbed using the resistance of.

다음 본 고안의 실시예를 도면에 의거하여 구체적으로 설명하겠다.Next, embodiments of the present invention will be described in detail with reference to the drawings.

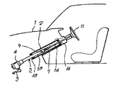
제1도에는 본 발명에 따른 충격 흡수장치가 구비된 조향장치가 도시되어 있는데, 이 조향장치는 차체(1)의 운전석 전방에 설치된다. 조향장치는 조향축(5)과, 이 조향축 상단에 끼워맞춤 결합되는 핸들(11)과, 하단에 기어박스(4) 그리고 피트먼아암(3)과, 조향축의 주위를 감싸는 콜럼튜브(2)로 구성되어 있다.1 shows a steering apparatus with a shock absorbing device according to the present invention, which is installed in front of the driver's seat of the vehicle body 1. The steering apparatus includes a steering shaft 5, a handle 11 fitted to the upper end of the steering shaft, a gear box 4 and a Pitman arm 3 at the lower end, and a colum tube 2 surrounding the steering shaft. It consists of).

조향축(5)과 콜럼튜브(2) 사이의 상하측에는 베어링(6A)(6B)이 게재되게 되는데, 일예로 핸들(11)를 좌우로 돌리면 그 회동력은 콜럼튜브와는 무관하게 조향축을 통하여 기어박스와 피트먼아암을 거쳐 양차륜과 연결된 연결로드(도시되지 않음)에 전달되어 조향을 이루게 된다.Bearings 6A and 6B are placed on the upper and lower sides between the steering shaft 5 and the colum tube 2. For example, when the handle 11 is turned left and right, the rotational force is transmitted through the steering shaft irrespective of the colum tube. It is transferred to a connecting rod (not shown) connected to both wheels via a gearbox and a pitman arm to achieve steering.

제1도에 도시된 바와같은 조향장치는 충격 흡수장치를 설치할 수 있는 조향기구의 한 실시예일 뿐이다. 조향축(5)은 몸체가 막대형상의 상체(5A)와 관체형상으로 구성되는 하체(5B)로 분리 구성되고, 이 상하체를 서로 끼워맞춤식으로 결합하여 충격시 상·하체가 겹쳐져 수축되게 한다. 이때 상하체의 사이에 충격 흡수장치를 기재하여 충격에너지를 흡수하게 된다.The steering apparatus as shown in FIG. 1 is only one embodiment of a steering mechanism in which a shock absorber can be installed. The steering shaft 5 is composed of a body 5A having a rod-like upper body 5A and a lower body 5B having a tubular shape, and the upper and lower bodies are fit-fitted to each other so that the upper and lower bodies overlap and contract when impacted. At this time, the shock absorber is described between the upper and lower bodies to absorb the impact energy.

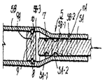
제2도부터 제5도에는 충격 흡수장치가 상세하게 도시되어 있다.2 to 5 show the shock absorber in detail.

즉, 충격 흡수장치는 조향축의 상·하체 결합을 유지하는 지지몰드물(7)과, 하체내에 끼워지는 미끄럼체(9)로 구성되어 있다.In other words, the shock absorbing device is composed of a support molding 7 which holds the upper and lower body couplings of the steering shaft, and a sliding body 9 fitted in the lower body.

상기 지지몰드물(7)은 열가소성 합성수지제로 하여 상체에 일체로 매립 설치된다. 이를 다시 설명하면 상하체 사이에 용융상태로 하여 강제 압입식으로 충진되어 설치되는데, 상체(5A)의 하단부 즉, 하체에 끼워져 결합되는 상체의 하단부에 상체의 길이방향과는 교차되는 방향으로 외주벽을 한바퀴 돌아 파내진 한쌍의 요구(5A-1)(5A-2)를 소정간격을 두고 병설하고, 하체 주벽에는 상기 요구와 각각 대응하는 위치에 용융상태의 열가소성 합성수지물을 상체의 요구내에 압입 충진시키는 주입공으로 이용됨과 아울러, 이 공간으로 합성수지물이 차올라와 지지몰드물(7)과 일체로 구성되는 걸림핀(7A)이 성형되어 상하체의 결합을 유지시키게 하는 걸림공(5B-1)(5B-2)을 가지고 있다.The support mold 7 is made of thermoplastic synthetic resin and integrally embedded in the upper body. In other words, the upper and lower bodies are melted and filled by a forced indentation. The outer circumferential wall is intersected with the longitudinal direction of the upper body at the lower end of the upper body 5A, that is, at the lower end of the upper body that is fitted and coupled to the lower body. A pair of digs (5A-1) (5A-2), which are dug out, are provided at predetermined intervals, and the lower circumferential wall is press-filled and filled with molten thermoplastic synthetic resin in a position corresponding to the request. In addition to being used as an injection hole, a locking pin 7A formed integrally with the resin and the support mold 7 is formed in this space so that the locking pins 5B-1 and 5B- maintain the coupling of the upper and lower bodies. 2) has

그리고 상기 미끄럼체(9)는 하체(5B)의 내경과 거의 동일한, 즉 하체내에 긴밀히 끼워지는 원봉상으로 구성되어 그 주벽에 가로방향으로 요구(9A)를 구비하고 있고, 이 요구에 120°간격으로 3개의 금속제 볼(8)을 가진다.The sliding body 9 is formed in a cylindrical shape that is almost the same as the inner diameter of the lower body 5B, that is, a round rod that is tightly fitted in the lower body, and has a circumferential wall with a request 9A, which is spaced 120 degrees apart from the request. It has three metal balls 8.

그리고 상기와 같이 구성된 미끄럼체는 하체의 내에 긴밀히 끼워맞춤 조립된다.And the sliding body comprised as mentioned above is closely fit and assembled in the lower body.

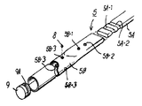
미끄럼체의 조립에 관해 다시 설명하면 미끄럼체를 하체의 하단부를 통하여 거의 상단에 이르는 위치에까지 끼워넣는다. 이때 미끄럼체가 끼워진 위치는 하체상단에 끼워 맞춤식으로 결합되어 있는 상체의 하단부로부터 소정간격을 갖고 있다.The assembly of the sliding body is described again, and the sliding body is inserted into the position reaching almost the upper end through the lower end of the lower body. At this time, the position in which the sliding body is fitted has a predetermined distance from the lower end of the upper body that is fitted in the lower body upper body.

미끄럼체가 끼워진 위치, 즉 미끄럼체의 요구가 위치하는 하체 주벽에는 상기 미끄럼체가 가지는 볼의 배면간격과 같은 위치상에 볼이 끼워지는 통공(5B-3)이 구비되어 있다. 그리하여 이 통공(5B-3)을 통하여 볼(8)을 미끄럼체의 요구(9A)내에 끼워넣는다. 이때 끼워넣어진 볼은 미끄럼체와 하체의 내주벽 사이에 걸쳐 위치한다. 이와같은 상태에서 미끄럼체를 그 자리에 놓으면 끼워넣은 볼이 통공을 통하여 하체 외부로 흘러나오게 되므로 볼의 유출을 감압하여 미끄럼체를 하체 하부로 약간 밀어내린다. 그러면 미끄럼체의 요구에 끼워넣어져 있던 볼은 하체의 내주벽에 강제적으로 홈(10)을 만들어 제3도에서와 같이 하체의 내주벽과 미끄럼체 요구의 사이에서 긴밀히 물려 고정된다.The lower circumferential wall at which the sliding body is fitted, that is, the lower body wall on which the sliding body is located, is provided with a through hole 5B-3 in which the ball is fitted at the same position as the rear gap of the ball. Thus, the ball 8 is inserted into the slide 9A through the through hole 5B-3. The embedded ball is then located between the sliding body and the inner circumferential wall of the lower body. In such a state, if the sliding body is placed in place, the inserted ball flows out of the lower body through the through hole, so that the outflow of the ball is decompressed, and the sliding body is pushed down slightly to the lower lower body. Then, the ball inserted in the request of the sliding body is forcibly made into the groove 10 in the inner circumferential wall of the lower body, and is tightly clamped between the inner circumferential wall of the lower body and the sliding body request as shown in FIG.

그러면 제3도와 제6도의 (a)(b)를 참조하여 충격 흡수장치의 작동에 관해 상세히 설명하겠다. 제3도에는 정상시의 조향축(5)을 보인 것이다. 이때 상하체(5A)(5B)는 한쌍의 지지몰드물(7)에 의해 서로 결합유지되고 핸들(11)에 가해지는 조향력은 상하체의 조향축을 통하여 양차륜에 전달된다.The operation of the shock absorber will then be described in detail with reference to FIGS. 3 and 6 (a) and (b). 3 shows the steering shaft 5 in the normal state. At this time, the upper and lower bodies 5A and 5B are held together by a pair of support moldings 7 and the steering force applied to the handle 11 is transmitted to both wheels through the steering shaft of the upper and lower bodies.

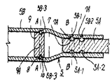
이와같은 상태에서 조향을 이루며 주행을 하다 교차차량 또는 선행차량과 충돌사고가 발생시 그 충돌에너지가 조향축(5)에 전달된다.In this state, while driving in steering, when a collision accident occurs with a crossover vehicle or a preceding vehicle, the collision energy is transmitted to the steering shaft 5.

조향축에 전달되는 충돌에너지는 먼저 조향축의 하체에 순간적으로 가해지고 이와동시 상하체(5A)(5B)를 결합 유지시키고 있던 지지몰드물(7)의 걸림핀(7A)이 제6도의 (a)에서와 같이 1차 충돌에너지에 의해 파괴되어 결합상태가 해체되고 조향축이 축방향으로 압축되어 핸들이 운전석쪽으로 튀어나가는 것을 방지한다. 이어서 관성에 의해 운전자의 신체가 핸들에 부딪히면 그 2차충격이 상체(5A)에 가해지고, 이에 따라서 상체는 하체내로 밀려들어가 상체내에 끼워져 있는 미끄럼체(9)를 밀어내리게 된다.The impingement energy transmitted to the steering shaft is first applied to the lower body of the steering shaft momentarily, and at the same time, the engaging pins 7A of the supporting mold 7 which hold the upper and lower bodies 5A and 5B are coupled to each other. As shown in Fig. 3, it is broken by the primary collision energy to disengage the coupling state and the steering shaft is compressed in the axial direction to prevent the handle from popping out toward the driver's seat. Subsequently, when the driver's body strikes the steering wheel by inertia, the secondary shock is applied to the upper body 5A, thereby pushing the upper body into the lower body and pushing down the sliding body 9 fitted in the upper body.

이때 미끄럼체와 하체의 주벽 사이에 개재되어 있던 볼(9A)이 하체의 내주벽에 제6도의 (b)에서와 같이 하체의 길이방향으로 홈(10)을 만들면서 굴러가고 이때의 저항을 이용해서 충돌에너지를 흡수하게 된다.At this time, the ball 9A interposed between the sliding body and the circumferential wall of the lower body rolls on the inner circumferential wall of the lower body while making the groove 10 in the longitudinal direction of the lower body as shown in FIG. Thus absorbing the collision energy.

제7도의 (a)에는 본 발명의 다른 실시예가 도시되어 있는데, 본 실시예에 있어서 두 실시예간의 차이점은 미끄럼체의 구조가 다르다는데 있는 것으로 본 실시예에 있어서 미끄럼체(91)는 그 몸체를 역원추형상으로 구성하고, 그 상단에 볼(8)이 받치는 받침대(91A)를 구성하여 볼의 삽입 작업에 편리를 얻게 된다.FIG. 7 (a) shows another embodiment of the present invention. In this embodiment, the difference between the two embodiments is that the structure of the sliding body is different. In this embodiment, the sliding body 91 is the body thereof. It is configured in the reverse conical shape, by configuring the base (91A) that the ball (8) is supported on the upper end is convenient to insert the ball.

제7도의 (b)에는 본 발명의 또다른 실시예가 도시되어 있는데, 본 실시예는 제1의 실시예와 미끄럼체의 모양을 동일하게 갖고 그 미끄럼체(92)의 주벽에 120°의 간격을 갖고 하단으로 개구되는 볼 삽입구(92A)를 가지고 구성된다.Another embodiment of the present invention is shown in FIG. 7 (b), which has the same shape as the first embodiment and has a 120 ° spacing on the circumferential wall of the sliding body 92. And a ball insertion port 92A which opens to the bottom.

따라서 미끄럼체와 하체사이에 끼워지는 볼의 간격을 정확히 유지하게 되는 효과가 있다.Therefore, there is an effect of accurately maintaining the spacing of the ball fitted between the sliding body and the lower body.

지금까지 본 발명의 실시예에 관해 설명하였으나 본 발명은 이에 국한되지 않고 특허청구범위에 기재된 바와같은 발명의 범위내에서 변경이 가능한 것이다.While the embodiments of the present invention have been described so far, the present invention is not limited thereto, and modifications can be made within the scope of the invention as described in the claims.

Claims (1)

분리 구성된 상·하체를 가지는 조향축과, 이 조향축의 상하체를 결합 유지하는 플라스틱핀과, 콜럼튜브를 구비한 자동차의 조향축 충격 흡수장치에 있어서 상체의 주벽에 매립 설치되고, 하체의 주벽에 구비된 걸림공에 끼워지는 걸림핀을 일체로 가지는 지지몰드물과, 하체의 내에 이동가능하게 끼워지고, 조향축에 가해지는 2차충격을 받아드려 밀려내려가는 미끄럼체와, 상기 미끄럼체와 하체의 내주벽 사이에 개재되고, 2차충격에 밀려내리는 미끄럼체에 떠받쳐 밀려내리며, 하체의 내주벽에 강제적으로 홈을 만들면서 굴러가는 볼을 갖추어 이루어진 것을 특징으로 하는 자동차의 조향축 충격 흡수장치.Steering shafts having separate upper and lower bodies, plastic pins for holding and holding the upper and lower bodies of the steering shaft, and a steering shaft shock absorber of a car equipped with a colum tube are embedded in the main wall of the upper body and provided on the main wall of the lower body. A support mold having integrally retaining pins fitted into the latching holes, a sliding body that is movably fitted in the lower body, and which is pushed down to receive the secondary shock applied to the steering shaft, and the inner side of the sliding body and the lower body A steering shaft shock absorber of a vehicle, which is interposed between the main walls, supported by a sliding body which is pushed down by a secondary shock, and is provided with a rolling ball forcibly making a groove in the inner circumferential wall of the lower body.
KR1019870015577A 1987-12-31 1987-12-31 Steering shaft shock absorber of automobile Expired KR900006866B1 (en)

Priority Applications (1)

Application Number Priority Date Filing Date Title
KR1019870015577A KR900006866B1 (en) 1987-12-31 1987-12-31 Steering shaft shock absorber of automobile

Applications Claiming Priority (1)

Application Number Priority Date Filing Date Title
KR1019870015577A KR900006866B1 (en) 1987-12-31 1987-12-31 Steering shaft shock absorber of automobile

Publications (2)

Publication Number Publication Date
KR890009708A KR890009708A (en) 1989-08-03
KR900006866B1 true KR900006866B1 (en) 1990-09-24

Family

ID=19267847

Family Applications (1)

Application Number Title Priority Date Filing Date
KR1019870015577A Expired KR900006866B1 (en) 1987-12-31 1987-12-31 Steering shaft shock absorber of automobile

Country Status (1)

Country Link
KR (1) KR900006866B1 (en)

Also Published As

Publication number Publication date
KR890009708A (en) 1989-08-03

Similar Documents

Publication Publication Date Title
US4509386A (en) Lash-free telescopic steering shaft assembly and method of making the assembly
KR900006866B1 (en) Steering shaft shock absorber of automobile
US4512209A (en) Steering column
KR200172335Y1 (en) Shock absorbing column of steering column for automobiles
KR100204707B1 (en) Shock Absorbing Steering Column Assembly
KR100452294B1 (en) Buffer structure of steering column
KR200154278Y1 (en) Shock absorbing and blocking device for steering universal joint
KR102672644B1 (en) Electric powered steering device
KR970003517Y1 (en) Impact energy absorber of steering wheel for automobile
KR19980054497U (en) Shock-absorbing structure of the steering device
KR0117919Y1 (en) An automotive steering axis
KR100235796B1 (en) Shock load absorbing and blocking device in car steering universal joint
KR100795085B1 (en) Shock Absorber of Steering Shaft
KR960010217B1 (en) Shock Absorber of Automotive Steering Shaft
KR0140651Y1 (en) York assembly structure of an intermediate shaft for absorbing 1st shock energy
KR200153016Y1 (en) Impact energy absorption structure of steering column for vehicle
KR100231996B1 (en) Shock absorbing structure for steering shaft
KR19980049830U (en) Steering Universal Joint Impact Load Absorption and Blocking of Vehicle
KR100330901B1 (en) A steering column structure of impact absorption
KR100211379B1 (en) Telescopic steering shaft
KR100369488B1 (en) Steering Column Column Tube
KR100235663B1 (en) Shock-absorbing colum of steering system
KR19980057388A (en) Automotive Steering Universal Joint Shock Absorber and Blocker
KR19980072514A (en) Steering shaft with shock absorbing structure
KR20020027985A (en) Buffer structure of steering column

Legal Events

Date Code Title Description
A201 Request for examination
PA0109 Patent application

St.27 status event code: A-0-1-A10-A12-nap-PA0109

PA0201 Request for examination

St.27 status event code: A-1-2-D10-D11-exm-PA0201

R17-X000 Change to representative recorded

St.27 status event code: A-3-3-R10-R17-oth-X000

P11-X000 Amendment of application requested

St.27 status event code: A-2-2-P10-P11-nap-X000

P13-X000 Application amended

St.27 status event code: A-2-2-P10-P13-nap-X000

PG1501 Laying open of application

St.27 status event code: A-1-1-Q10-Q12-nap-PG1501

E902 Notification of reason for refusal
PE0902 Notice of grounds for rejection

St.27 status event code: A-1-2-D10-D21-exm-PE0902

T11-X000 Administrative time limit extension requested

St.27 status event code: U-3-3-T10-T11-oth-X000

P11-X000 Amendment of application requested

St.27 status event code: A-2-2-P10-P11-nap-X000

P13-X000 Application amended

St.27 status event code: A-2-2-P10-P13-nap-X000

G160 Decision to publish patent application
PG1605 Publication of application before grant of patent

St.27 status event code: A-2-2-Q10-Q13-nap-PG1605

E701 Decision to grant or registration of patent right
PE0701 Decision of registration

St.27 status event code: A-1-2-D10-D22-exm-PE0701

GRNT Written decision to grant
PR0701 Registration of establishment

St.27 status event code: A-2-4-F10-F11-exm-PR0701

PR1002 Payment of registration fee

St.27 status event code: A-2-2-U10-U11-oth-PR1002

Fee payment year number: 1

LAPS Lapse due to unpaid annual fee
PC1903 Unpaid annual fee

St.27 status event code: A-4-4-U10-U13-oth-PC1903

Not in force date: 19930925

Payment event data comment text: Termination Category : DEFAULT_OF_REGISTRATION_FEE

PC1903 Unpaid annual fee

St.27 status event code: N-4-6-H10-H13-oth-PC1903

Ip right cessation event data comment text: Termination Category : DEFAULT_OF_REGISTRATION_FEE

Not in force date: 19930925

P22-X000 Classification modified

St.27 status event code: A-4-4-P10-P22-nap-X000