KR840002207B1 - 공기조화기 - Google Patents
공기조화기 Download PDFInfo
- Publication number
- KR840002207B1 KR840002207B1 KR1019800002968A KR800002968A KR840002207B1 KR 840002207 B1 KR840002207 B1 KR 840002207B1 KR 1019800002968 A KR1019800002968 A KR 1019800002968A KR 800002968 A KR800002968 A KR 800002968A KR 840002207 B1 KR840002207 B1 KR 840002207B1
- Authority
- KR
- South Korea
- Prior art keywords
- humidity
- temperature
- dehumidification
- cooling
- control
- Prior art date
- Legal status (The legal status is an assumption and is not a legal conclusion. Google has not performed a legal analysis and makes no representation as to the accuracy of the status listed.)
- Expired
Links
Images
Landscapes
- Air Conditioning Control Device (AREA)
Abstract
Description
Claims (1)
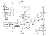
- 온도센서와 습도센서를 구비하여 그들의 검출출력에 의해 냉방운전, 제습운전, 송풍운전의 변화운전을 행하여 냉방, 제습기능을 가지는 공기조화기에 있어서, 습도가 소정치 이상일 때는 온도에 따라 냉방운전과 제습운전의 변환운전을 행하는 제어회로와 습도가 소정치 이하일 때는 온습도에 따라 결정되는 등체감선에따라 냉방운전과 송풍운전의 변환운전을 행하는 제어회로와 온도가 소정치 이하일 때는 제습운전과 송풍운전의 변환운전을 행하는 제어회로를 구비하는 것을 특징으로 하는 공기 조화기.
Priority Applications (1)
| Application Number | Priority Date | Filing Date | Title |
|---|---|---|---|
| KR1019800002968A KR840002207B1 (ko) | 1980-07-26 | 1980-07-26 | 공기조화기 |
Applications Claiming Priority (1)
| Application Number | Priority Date | Filing Date | Title |
|---|---|---|---|
| KR1019800002968A KR840002207B1 (ko) | 1980-07-26 | 1980-07-26 | 공기조화기 |
Publications (2)
| Publication Number | Publication Date |
|---|---|
| KR830003695A KR830003695A (ko) | 1983-06-22 |
| KR840002207B1 true KR840002207B1 (ko) | 1984-11-28 |
Family
ID=19217252
Family Applications (1)
| Application Number | Title | Priority Date | Filing Date |
|---|---|---|---|
| KR1019800002968A Expired KR840002207B1 (ko) | 1980-07-26 | 1980-07-26 | 공기조화기 |
Country Status (1)
| Country | Link |
|---|---|
| KR (1) | KR840002207B1 (ko) |
-
1980
- 1980-07-26 KR KR1019800002968A patent/KR840002207B1/ko not_active Expired
Also Published As
| Publication number | Publication date |
|---|---|
| KR830003695A (ko) | 1983-06-22 |
Similar Documents
| Publication | Publication Date | Title |
|---|---|---|
| JPS594616B2 (ja) | 空気調和機 | |
| JPS63286642A (ja) | 空気調和機 | |
| US4385503A (en) | Air conditioning apparatus for vehicle | |
| KR840002207B1 (ko) | 공기조화기 | |
| JPS594620B2 (ja) | 空調機の制御装置 | |
| JPH02267439A (ja) | 換気扇の運転方法 | |
| JPH01291043A (ja) | 空気調和機と送風装置とこれらの運転制御装置 | |
| JPS61208459A (ja) | 空気調和機の暖房運転方法 | |
| JPS6241136B2 (ko) | ||
| JPS5773340A (en) | Air conditioner | |
| JPS6123455B2 (ko) | ||
| JP3101369B2 (ja) | 空気調和機 | |
| KR100282817B1 (ko) | 인버터 에어컨의 쾌적온도 설정방법 | |
| JPS60165450A (ja) | 空気調和機の暖房運転制御装置 | |
| KR920012838A (ko) | 공기조화장치 | |
| JPS629812B2 (ko) | ||
| JPS586345A (ja) | 空気調和機の温度制御装置 | |
| JPS5920585Y2 (ja) | 空気調和機 | |
| JPS624827Y2 (ko) | ||
| JPH0233936B2 (ko) | ||
| JPS6018898B2 (ja) | 空気調和機 | |
| JPS6217559A (ja) | 空気調和装置 | |
| JPH0346963Y2 (ko) | ||
| JPS6029855B2 (ja) | 空調機器 | |
| JPS5565853A (en) | Controller for air conditioner |
Legal Events
| Date | Code | Title | Description |
|---|---|---|---|
| PA0109 | Patent application |
St.27 status event code: A-0-1-A10-A12-nap-PA0109 |
|
| P11-X000 | Amendment of application requested |
St.27 status event code: A-2-2-P10-P11-nap-X000 |
|
| P13-X000 | Application amended |
St.27 status event code: A-2-2-P10-P13-nap-X000 |
|
| PG1501 | Laying open of application |
St.27 status event code: A-1-1-Q10-Q12-nap-PG1501 |
|
| R17-X000 | Change to representative recorded |
St.27 status event code: A-3-3-R10-R17-oth-X000 |
|
| PE0902 | Notice of grounds for rejection |
St.27 status event code: A-1-2-D10-D21-exm-PE0902 |
|
| T11-X000 | Administrative time limit extension requested |
St.27 status event code: U-3-3-T10-T11-oth-X000 |
|
| T11-X000 | Administrative time limit extension requested |
St.27 status event code: U-3-3-T10-T11-oth-X000 |
|
| P11-X000 | Amendment of application requested |
St.27 status event code: A-2-2-P10-P11-nap-X000 |
|
| P13-X000 | Application amended |
St.27 status event code: A-2-2-P10-P13-nap-X000 |
|
| PG1605 | Publication of application before grant of patent |
St.27 status event code: A-2-2-Q10-Q13-nap-PG1605 |
|
| PE0701 | Decision of registration |
St.27 status event code: A-1-2-D10-D22-exm-PE0701 |
|
| PR0701 | Registration of establishment |
St.27 status event code: A-2-4-F10-F11-exm-PR0701 |
|
| PR1002 | Payment of registration fee |
St.27 status event code: A-2-2-U10-U11-oth-PR1002 Fee payment year number: 1 |
|
| PR1001 | Payment of annual fee |
St.27 status event code: A-4-4-U10-U11-oth-PR1001 Fee payment year number: 4 |
|
| PR1001 | Payment of annual fee |
St.27 status event code: A-4-4-U10-U11-oth-PR1001 Fee payment year number: 5 |
|
| PR1001 | Payment of annual fee |
St.27 status event code: A-4-4-U10-U11-oth-PR1001 Fee payment year number: 8 |
|
| PR1001 | Payment of annual fee |
St.27 status event code: A-4-4-U10-U11-oth-PR1001 Fee payment year number: 9 |
|
| PR1001 | Payment of annual fee |
St.27 status event code: A-4-4-U10-U11-oth-PR1001 Fee payment year number: 10 |
|
| PR1001 | Payment of annual fee |
St.27 status event code: A-4-4-U10-U11-oth-PR1001 Fee payment year number: 11 |
|
| PC1801 | Expiration of term |
St.27 status event code: N-4-6-H10-H14-oth-PC1801 Not in force date: 19950727 Ip right cessation event data comment text: Termination Category : OTHERS |
|
| P22-X000 | Classification modified |
St.27 status event code: A-4-4-P10-P22-nap-X000 |
|
| R18-X000 | Changes to party contact information recorded |
St.27 status event code: A-5-5-R10-R18-oth-X000 |
|
| R18-X000 | Changes to party contact information recorded |
St.27 status event code: A-5-5-R10-R18-oth-X000 |
