KR20230062352A - Girder fixing device and tent using the same - Google Patents

Girder fixing device and tent using the same Download PDF

Info

Publication number
KR20230062352A
KR20230062352A KR1020220088997A KR20220088997A KR20230062352A KR 20230062352 A KR20230062352 A KR 20230062352A KR 1020220088997 A KR1020220088997 A KR 1020220088997A KR 20220088997 A KR20220088997 A KR 20220088997A KR 20230062352 A KR20230062352 A KR 20230062352A
Authority
KR
South Korea
Prior art keywords
fixing
crossbeam
coupled
fixing device
tent
Prior art date
Legal status (The legal status is an assumption and is not a legal conclusion. Google has not performed a legal analysis and makes no representation as to the accuracy of the status listed.)
Granted
Application number
KR1020220088997A
Other languages
Korean (ko)
Other versions
KR102776215B1 (en
Inventor
정상우
Original Assignee
정상우
Priority date (The priority date is an assumption and is not a legal conclusion. Google has not performed a legal analysis and makes no representation as to the accuracy of the date listed.)
Filing date
Publication date
Application filed by 정상우 filed Critical 정상우
Publication of KR20230062352A publication Critical patent/KR20230062352A/en
Application granted granted Critical
Publication of KR102776215B1 publication Critical patent/KR102776215B1/en
Active legal-status Critical Current
Anticipated expiration legal-status Critical

Links

Images

Classifications

    • EFIXED CONSTRUCTIONS
    • E04BUILDING
    • E04HBUILDINGS OR LIKE STRUCTURES FOR PARTICULAR PURPOSES; SWIMMING OR SPLASH BATHS OR POOLS; MASTS; FENCING; TENTS OR CANOPIES, IN GENERAL
    • E04H15/00Tents or canopies, in general
    • E04H15/32Parts, components, construction details, accessories, interior equipment, specially adapted for tents, e.g. guy-line equipment, skirts, thresholds
    • YGENERAL TAGGING OF NEW TECHNOLOGICAL DEVELOPMENTS; GENERAL TAGGING OF CROSS-SECTIONAL TECHNOLOGIES SPANNING OVER SEVERAL SECTIONS OF THE IPC; TECHNICAL SUBJECTS COVERED BY FORMER USPC CROSS-REFERENCE ART COLLECTIONS [XRACs] AND DIGESTS
    • Y02TECHNOLOGIES OR APPLICATIONS FOR MITIGATION OR ADAPTATION AGAINST CLIMATE CHANGE
    • Y02ATECHNOLOGIES FOR ADAPTATION TO CLIMATE CHANGE
    • Y02A40/00Adaptation technologies in agriculture, forestry, livestock or agroalimentary production
    • Y02A40/10Adaptation technologies in agriculture, forestry, livestock or agroalimentary production in agriculture
    • Y02A40/25Greenhouse technology, e.g. cooling systems therefor

Landscapes

  • Engineering & Computer Science (AREA)
  • Architecture (AREA)
  • Civil Engineering (AREA)
  • Structural Engineering (AREA)
  • Tents Or Canopies (AREA)

Abstract

본 발명은 대들보 고정장치 및 그것을 이용한 텐트에 관한 것이다.
이러한 본 발명의 실시예에 따르면, 텐트의 대들보와 대들보에 결합되는 기둥을 서로 고정시키는 고정장치에 있어서, 상기 대들보에 결합되는 제1고리부; 상기 제1고리부의 하부에 구비되고, 상기 기둥에 결합되는 제2고리부; 및 상기 제2고리부에 일단이 결합되고, 상기 제2고리부를 감아 고정시키는 고정스트랩을 포함한다.
The present invention relates to a girder fixing device and a tent using the same.
According to this embodiment of the present invention, in the fixing device for fixing the crossbeam of the tent and the pillar coupled to the crossbeam to each other, the first ring portion coupled to the crossbeam; a second ring portion provided under the first ring portion and coupled to the pillar; and a fixing strap having one end coupled to the second ring portion and winding and fixing the second ring portion.

Description

대들보 고정장치 및 그것을 이용한 텐트{GIRDER FIXING DEVICE AND TENT USING THE SAME}Girder fixing device and tent using it {GIRDER FIXING DEVICE AND TENT USING THE SAME}

본 발명은 대들보 고정장치 및 그것을 이용한 텐트에 관한 것이다.The present invention relates to a girder fixing device and a tent using the same.

일반적으로, 산이나 강, 바다 등의 야외에서 야유회, 체육대회 또는 캠핑 등 야외 활동을 하는 경우, 햇볕이나 비를 피하기 위해 그늘막, 타프 또는 텐트를 설치한다. In general, in the case of outdoor activities such as picnics, sports events, or camping outdoors in mountains, rivers, or the sea, a shade, tarp, or tent is installed to avoid sunlight or rain.

특히, 텐트 중에 대형 텐트는 길이 방향으로 대들보가 구비되고, 대들보의 양단에 기둥이 설치되어 대들보를 지지한다. In particular, among tents, large tents are provided with crossbeams in the longitudinal direction, and poles are installed at both ends of the crossbeams to support the crossbeams.

이때, 대들보와 기둥은 단순히 구멍과 핀의 결합으로 이루어짐에 따라, 바람이 강하게 불거나, 악천후와 같은 악조건에서 기둥이 대들보로부터 분리되어 쓰러지는 경우가 발생한다. At this time, since the crossbeam and the pillar are simply formed by combining holes and pins, the pillar may be separated from the crossbeam and fall down under adverse conditions such as strong wind or bad weather.

하나의 기둥이 분리되면, 텐트 자체가 모두 쓰러지기 때문에, 별도의 고정수단이 필요하였다. If one pole is separated, the tent itself collapses, so a separate fixing means was required.

본 발명의 배경이 되는 기술은 대한민국 등록실용신안 제20-0483654호(2017.06.12. 공고)에 개시되어 있다. The background technology of the present invention is disclosed in Republic of Korea Utility Model Registration No. 20-0483654 (Announced on June 12, 2017).

본 발명은 상기 문제점을 해결하기 위해 도출된 것으로, 대들보와 결합되는 기둥을 서로 고정시키는 고정장치를 구비함으로써, 대들보와 기둥이 결합되는 부분을 견고하게 고정시켜, 악조건 환경에서도 기둥과 대들보가 분리되지 않도록 할 수 있는 대들보 고정장치 및 그것을 이용한 텐트의 제공을 목적으로 한다. The present invention was derived to solve the above problem, by providing a fixing device for fixing pillars coupled to crossbeams to each other, by firmly fixing the part where crossbeams and pillars are coupled, so that pillars and crossbeams are not separated even in adverse environments. Its purpose is to provide a girder fixing device that can prevent it and a tent using it.

본 발명의 실시예에 따르면, 텐트의 대들보와 대들보에 결합되는 기둥을 서로 고정시키는 고정장치에 있어서, 상기 대들보에 결합되는 제1고리부, 상기 제1고리부의 하부에 구비되고, 상기 기둥에 결합되는 제2고리부 및 상기 제2고리부에 일단이 결합되고, 상기 제2고리부를 감아 고정시키는 고정스트랩을 포함한다. According to an embodiment of the present invention, in a fixing device for fixing a crossbeam of a tent and a pole coupled to the crossbeam to each other, a first hook coupled to the crossbeam, provided at a lower portion of the first hook, and coupled to the pole It includes a second ring portion and a fixing strap having one end coupled to the second ring portion and winding and fixing the second ring portion.

상기 대들보는, 상하 방향으로 결합공이 형성되고, 상기 기둥은 지지바와 상기 지지바의 일단에 상기 결합공으로 삽입되는 삽입핀을 포함하고, 상기 제1고리부는, 상기 대들보가 끼움 결합되는 제1끼움공 및 상기 결합공과 연통되어 상기 삽입핀이 삽입되는 연통공이 형성되고, 상기 제2고리부는, 상기 기둥이 끼움 결합되는 제2끼움공이 형성될 수 있다. The crossbeam has a coupling hole formed in the vertical direction, the pillar includes a support bar and an insertion pin inserted into the coupling hole at one end of the support bar, and the first ring part has a first fitting hole into which the crossbeam is fitted. And a communication hole into which the insertion pin is inserted is formed in communication with the coupling hole, and a second fitting hole into which the pillar is fitted may be formed in the second ring part.

상기 제2고리부는 외측에 구비되는 제1착탈수단, 상기 고정스트랩의 일측면에 구비되고, 상기 제1착탈수단에 탈부착 가능한 제2착탈수단을 포함할 수 있다. The second ring part may include a first detachable means provided on the outside and a second detachable means provided on one side of the fixing strap and detachably attachable to the first detachable means.

본 발명의 다른 실시예에 따르면, 패널, 상기 패널의 일측에 설치되고, 결합공이 형성된 대들보, 상기 결합공에 결합되어 상기 대들보를 지지하는 기둥, 상기 대들보와 기둥을 고정시키는 고정장치를 포함하고, 상기 고정장치는, 상기 대들보에 결합되는 제1고리부, 상기 제1고리부의 하부에 구비되고, 상기 기둥에 결합되는 제2고리부 및 상기 제2고리부에 일단이 결합되고, 상기 제2고리부를 감아 고정시키는 고정스트랩을 포함한다. According to another embodiment of the present invention, a panel, a crossbeam installed on one side of the panel and having a coupling hole, a column coupled to the coupling hole to support the crossbeam, and a fixing device for fixing the crossbeam and the column, The fixing device includes a first ring portion coupled to the crossbeam, a second ring portion provided at a lower portion of the first ring portion, and one end coupled to the second ring portion and the second ring portion coupled to the pillar, and the second ring portion. It includes a fixing strap for winding and fixing the part.

상기 방법 및 특징을 갖는 본 발명에 따르면, 대들보와 결합되는 기둥을 서로 고정시키는 고정부가 구비됨으로써, 대들보와 기둥이 결합되는 부분을 견고하게 고정시켜, 악조건 환경에서도 기둥과 대들보가 분리되지 않도록 할 수 있는 대들보 고정장치 및 그것을 이용한 텐트를 제공할 수 있다.According to the present invention having the above method and characteristics, by providing a fixing unit for fixing the pillars coupled to the crossbeam to each other, the portion where the crossbeam and the pillar are coupled is firmly fixed, so that the pillar and the crossbeam cannot be separated even in adverse conditions. It is possible to provide a girder fixing device and a tent using it.

도 1은 본 발명의 실시예에 따른 대들보 고정장치가 텐트에 설치된 상태를 나타낸 사시도이다.
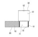
도 2는 본 발명의 실시예에 따른 대들보 고정장치를 나타낸 사시도이다.
도 3은 본 발명의 실시예에 따른 대들보 고정장치를 나타낸 단면도이다.
도 4는 본 발명의 실시예에 따른 대들보 고정장치가 텐트에 설치된 상태를 나타낸 단면도이다.
도 5는 본 발명의 실시예에 따른 대들보 고정장치가 텐트에 설치된 상태를 나타낸 사진이다.
도 6은 본 발명의 실시예에 따른 대들보 고정장치를 이용한 텐트를 나타낸 사시도이다.
도 7은 본 발명의 실시예에 따른 대들보 고정장치를 이용한 텐트의 스크린 패널이 천장패널에 넘어간 상태를 나타낸 사시도이다.
도 8은 본 발명의 실시예에 따른 대들보 고정장치를 이용한 텐트의 내부스크린패널이 외부에 설치된 상태를 나타낸 사시도이다.
도 9는 본 발명의 실시예에 따른 대들보 고정장치를 이용한 텐트의 정면패널의 연장부가 펼쳐져 연장타프로 설치된 예를 나타낸 사시도이다.
도 10은 본 발명의 실시예에 따른 대들보 고정장치를 이용한 텐트의 정면패널이 접이선을 기준으로 연장타프로 설치된 예를 나타낸 사시도이다.
도 11은 본 발명의 실시예에 따른 대들보 고정장치와 바닥면의 결합을 설명하기 위한 도면이다.
도 12는 본 발명의 실시예에 따른 대들보 고정장치의 바닥면과 텐트의 내부 스크린패널이 결합된 상태를 설명하기 위한 도면이다.
1 is a perspective view showing a state in which a girder fixing device according to an embodiment of the present invention is installed in a tent.
2 is a perspective view showing a girder fixing device according to an embodiment of the present invention.
3 is a cross-sectional view showing a girder fixing device according to an embodiment of the present invention.
4 is a cross-sectional view showing a state in which a girder fixing device according to an embodiment of the present invention is installed in a tent.
5 is a photograph showing a state in which a girder fixing device according to an embodiment of the present invention is installed in a tent.
6 is a perspective view showing a tent using a girder fixing device according to an embodiment of the present invention.
7 is a perspective view showing a state in which a screen panel of a tent using a girder fixing device according to an embodiment of the present invention has fallen over a ceiling panel.
8 is a perspective view showing a state in which an inner screen panel of a tent using a girder fixing device according to an embodiment of the present invention is installed outside.
9 is a perspective view showing an example in which an extension of a front panel of a tent using a girder fixing device according to an embodiment of the present invention is unfolded and installed as an extension tarp.
10 is a perspective view showing an example in which the front panel of a tent using a girder fixing device according to an embodiment of the present invention is installed as an extension tarp based on a folding line.
11 is a view for explaining the coupling of the girder fixing device and the floor surface according to an embodiment of the present invention.
12 is a view for explaining a state in which the bottom surface of the girder fixing device and the inner screen panel of the tent are coupled according to an embodiment of the present invention.

본 발명은 다양한 변경을 가할 수 있고 여러 가지 형태를 가질 수 있는 바, 구현예(態樣, aspect)(또는 실시예)들을 본문에 상세하게 설명하고자 한다. 그러나 이는 본 발명을 특정한 개시 형태에 대해 한정하려는 것이 아니며, 본 발명의 사상 및 기술범위에 포함되는 모든 변경, 균등물 내지 대체물을 포함하는 것으로 이해되어야 한다.Since the present invention can have various changes and various forms, the implementation examples (or embodiments) will be described in detail in the text. However, this is not intended to limit the present invention to a specific form disclosed, and should be understood to include all modifications, equivalents, or substitutes included in the spirit and scope of the present invention.

본 명세서에서 사용한 용어는 단지 특정한 구현예(태양, 態樣, aspect)(또는 실시예)를 설명하기 위해 사용된 것으로, 본 발명을 한정하려는 의도가 아니다. 단수의 표현은 문맥상 명백하게 다르게 뜻하지 않는 한, 복수의 표현을 포함한다. 본 출원에서, ~포함하다~ 또는 ~이루어진다~ 등의 용어는 명세서 상에 기재된 특징, 숫자, 단계, 동작, 구성요소, 부분품 또는 이들을 조합한 것이 존재함을 지정하려는 것이지, 하나 또는 그 이상의 다른 특징들이나 숫자, 단계, 동작, 구성요소, 부분품 또는 이들을 조합한 것들의 존재 또는 부가 가능성을 미리 배제하지 않는 것으로 이해되어야 한다.Terms used in this specification are only used to describe a specific embodiment (aspect, aspect, aspect) (or embodiment), and are not intended to limit the present invention. Singular expressions include plural expressions unless the context clearly dictates otherwise. In this application, terms such as ~comprising~ or ~consisting of are intended to designate that there is a feature, number, step, operation, component, part, or combination thereof described in the specification, but one or more other features It should be understood that it does not preclude the possibility of the presence or addition of numbers, steps, operations, components, parts, or combinations thereof.

다르게 정의되지 않는 한, 기술적이거나 과학적인 용어를 포함해서 여기서 사용되는 모든 용어들은 본 발명이 속하는 기술 분야에서 통상의 지식을 가진 자에 의해 일반적으로 이해되는 것과 동일한 의미를 가지고 있다. 일반적으로 사용되는 사전에 정의되어 있는 것과 같은 용어들은 관련 기술의 문맥 상 가지는 의미와 일치하는 의미를 가지는 것으로 해석되어야 하며, 본 출원에서 명백하게 정의하지 않는 한, 이상적이거나 과도하게 형식적인 의미로 해석되지 않는다.Unless defined otherwise, all terms used herein, including technical or scientific terms, have the same meaning as commonly understood by one of ordinary skill in the art to which the present invention belongs. Terms such as those defined in commonly used dictionaries should be interpreted as having a meaning consistent with the meaning in the context of the related art, and unless explicitly defined in the present application, they should not be interpreted in an ideal or excessively formal meaning. don't

본 명세서에서 기재한 ~제1~, ~제2~ 등은 서로 다른 구성 요소들임을 구분하기 위해서 지칭할 것일 뿐, 제조된 순서에 구애받지 않는 것이며, 발명의 상세한 설명과 청구범위에서 그 명칭이 일치하지 않을 수 있다.~First~, ~Second~, etc. described in this specification will only be referred to to distinguish different components from each other, regardless of the manufacturing order, and the names in the detailed description and claims of the invention may not match.

이하, 본 발명에 따른 대들보 고정장치를 이용한 텐트에 대해 설명한다. Hereinafter, a tent using the girder fixing device according to the present invention will be described.

도 6 내지 도 10을 참조하면, 대들보 고정장치를 이용한 텐트는, 패널(10), 대들보(20), 기둥(30) 및 고정장치(50)를 포함한다. 6 to 10, the tent using the girder fixing device includes a panel 10, a cross beam 20, a pole 30, and a fixing device 50.

먼저, 패널(10)은 스크린패널(11), 정면패널(15), 후면패널, 천장패널(19)을 포함한다. First, the panel 10 includes a screen panel 11, a front panel 15, a rear panel, and a ceiling panel 19.

스크린패널(11)은 외면을 구성하는 외측스크린패널(12)과 내면을 구성하는 내측스크린패널(14)을 포함한다. The screen panel 11 includes an outer screen panel 12 constituting an outer surface and an inner screen panel 14 constituting an inner surface.

외측스크린패널(12)은 천장패널(19)의 외측면 또는 내측면에 결합된다.The outer screen panel 12 is coupled to the outer or inner surface of the ceiling panel 19.

또한, 외측스크린패널(12)은 내측스크린패널(14)보다 큰 면적으로 이루어진다. In addition, the outer screen panel 12 has a larger area than the inner screen panel 14 .

그리고, 외측스크린패널(12)에는 내측스크린패널(14)에 상응하는 위치에 내측스크린패널(14)과 동일한 면적의 메쉬부재로 이루어진 메쉬패널(13)이 구비될 수 있다. 이때, 메쉬패널(13)은 지퍼, 벨크로 테이프 등으로 외측스크린패널(12)의 양측면 중 어느 하나의 측면에 구비될 수 있다. In addition, a mesh panel 13 made of a mesh member having the same area as that of the inner screen panel 14 may be provided on the outer screen panel 12 at a position corresponding to the inner screen panel 14 . At this time, the mesh panel 13 may be provided on either side of both sides of the outer screen panel 12 using a zipper, a Velcro tape, or the like.

또한, 내측스크린패널(14)이 외측스크린패널(12)에 착탈가능하게 구비될 수 있으며, 외측스크린패널(12)의 위치에 따라 내측스크린패널(14)이 텐트의 외부(도 8 참조) 또는 내부(도 6 참조)에 구비될 수도 있다. In addition, the inner screen panel 14 may be detachably attached to the outer screen panel 12, and depending on the location of the outer screen panel 12, the inner screen panel 14 may be attached to the outside of the tent (see FIG. 8) or It may be provided inside (see FIG. 6).

내측스크린패널(14)은 천장 패널(10)의 내측면에 결합되도록 구성되고, UV 차단 소재로 이루어질 수 있으나, 이에 한정하지 않는다. The inner screen panel 14 is configured to be coupled to the inner surface of the ceiling panel 10 and may be made of a UV blocking material, but is not limited thereto.

여기서, 내측스크린패널(14)만을 들어올려 천장패널(19) 내측에 구비시키면, 내측스크린패널(14)은 천장패널(19)의 내측에 UV 차단 라이너(안감)로 사용할 수 있다. Here, if only the inner screen panel 14 is lifted and provided inside the ceiling panel 19, the inner screen panel 14 can be used as a UV blocking liner (lining) inside the ceiling panel 19.

또한, 스크린패널(11) 전체를 내부나 외부로 펼쳐서 고도가 낮아질 때 햇볕을 막을 수도 있다. In addition, the entire screen panel 11 can be spread inside or outside to block sunlight when the altitude is low.

정면패널(15)은 정면 시점에서 삼각형 형상을 갖는 정면상부(16), 정면상부(16)의 하부에 배치되고 정면 시점에서 사각형 형상을 갖는 정면하부(17) 및 정면상부(16)와 천장패널(19)을 연결하며 접혀지고 펼쳐질 수 있는 연장부(18)를 포함한다. The front panel 15 is disposed below the front upper part 16 and the front upper part 16 having a triangular shape from the front view point, and the front lower part 17 having a square shape from the front view point, and the front upper part 16 and the ceiling panel It connects (19) and includes an extension (18) that can be folded and unfolded.

후면패널은 정면패널(15)과 마주하게 형성되며 동일하게 구비될 수 있으나, 이에 한정하지 않는다. The rear panel is formed to face the front panel 15 and may be provided identically, but is not limited thereto.

이때, 스크린패널(11)과 정면하부(17)는 제1지퍼를 통해 연결되고, 천장패널(19)과 정면상부(16)는 제2지퍼를 통해 연결되고, 정면상부(16)와 정면하부(17)의 경계에는 접이선이 구비된다. At this time, the screen panel 11 and the lower front part 17 are connected through a first zipper, the ceiling panel 19 and the upper front part 16 are connected through a second zipper, and the upper front part 16 and the lower front part A folding line is provided at the boundary of (17).

또한, 정면패널(15)을 들어올려 연장타프로 사용할 수 있다. 이때, 도 9와 같이, 접혀진 연장부(18)가 펼쳐지면 천장패널(19)에 대응되게 펼칠 수 있고, 도 10과 같이, 연장부(18)가 펼쳐지지 않고 접이선을 기준으로 들어올려 펼쳐 사용할 수 있다. In addition, the front panel 15 can be lifted up and used as an extension tarp. At this time, as shown in FIG. 9, when the folded extension 18 is unfolded, it can be unfolded to correspond to the ceiling panel 19, and as shown in FIG. 10, the extension 18 is not unfolded but lifted and unfolded based on the folding line can be used

또한, 내측스크린패널(14)은 상단과 양측은 지퍼를 통해, 하단은 벨크로 테이프를 통해 외측스크린패널(12)과 결합된다. 이때, 내측스크린패널(14) 하단을 벨크로 테이프로 하는 이유는, 신속하게 탈부착할 수 있고, 원가를 절감하며 터질 수 있는 지퍼보다 안전하기 때문이다. In addition, the inner screen panel 14 is combined with the outer screen panel 12 through a zipper at the top and both sides and a Velcro tape at the bottom. At this time, the reason why the bottom of the inner screen panel 14 is made of Velcro tape is that it can be quickly attached and detached, and it is safer than a zipper that can burst while reducing costs.

그리고, 외측스크린패널(12)의 하단에는 외측스크린패널(12)의 하측으로 연장되는 플랩이 구비된다. 이때, 플랩은 우천시 내부로 물이 들어오지 않도록 둑 역할을 할 수 있은 것이다.In addition, a flap extending downward of the outer screen panel 12 is provided at the lower end of the outer screen panel 12 . At this time, the flap can act as a dam to prevent water from entering the inside in case of rain.

또한, 상술한 지퍼, 제1지퍼 및 제2지퍼는 양방향 지퍼로 구성된다. In addition, the aforementioned zipper, first zipper and second zipper are configured as two-way zippers.

그리고, 내측스크린패널(14)에는 창문이 구비될 수 있다. 그리고, 외측스크린패널(12)을 지퍼와 벨크로테이프로 탈부착하여 창문을 용이하게 개방시킬 수 있다. In addition, a window may be provided on the inner screen panel 14 . In addition, the window can be easily opened by attaching and detaching the outer screen panel 12 with a zipper and Velcro tape.

도 1을 참조하면, 대들보(20)는 텐트 중앙에 가로 방향으로 설치되고, 결합공(21)이 형성된다. Referring to FIG. 1, the crossbeam 20 is installed in the horizontal direction in the center of the tent, and a coupling hole 21 is formed.

이때, 대들보(20)는 지면에 대하여 평행한 방향으로서, 천장패널(19)의 내부에 설치되며, 텐트의 기준이 될 수 있다. At this time, the beam 20 is installed in a direction parallel to the ground, inside the ceiling panel 19, and may be a standard of the tent.

또한, 대들보(20)의 결합공(21)은 복수개로 형성되고 일정간격으로 이격될 수 있다. In addition, the coupling holes 21 of the beam 20 may be formed in plural and spaced apart at regular intervals.

그리고, 대들보(20)의 결합공(21)은 상하 방향으로 관통될 수 있다. And, the coupling hole 21 of the crossbeam 20 may be penetrated in the vertical direction.

기둥(30)은 결합공(21)에 결합되어 대들보(20)를 지지한다. The pillar 30 is coupled to the coupling hole 21 to support the beam 20.

이러한, 기둥(30)은 지지바(32)와 지지바(32)의 일단에 결합공(21)으로 삽입되는 삽입핀(31)을 포함할 수 있다. 그리고, 지지바(32)의 하단은 지면에 지지하여, 대들보(20)를 지면으로부터 일정 높이로 위치시킬 수 있다. The pillar 30 may include a support bar 32 and an insertion pin 31 inserted into the coupling hole 21 at one end of the support bar 32 . And, the lower end of the support bar 32 may be supported on the ground to position the crossbeam 20 at a certain height from the ground.

즉, 삽입핀(31)은 결합공(21)으로 삽입되고, 지지바(32)의 상단은 대들보(20)의 일측면을 지지하고, 지지바(32)의 하단은 지면을 지지한다.That is, the insertion pin 31 is inserted into the coupling hole 21, the upper end of the support bar 32 supports one side of the beam 20, and the lower end of the support bar 32 supports the ground.

또한, 패널(10)의 각 모서리에는 폴대(40)가 구비되고, 폴대(40)와 끈(41)으로 연결된다. In addition, a pole 40 is provided at each corner of the panel 10, and the pole 40 and the string 41 are connected.

도 2 내지 도 5를 참조하면, 고정장치(50)는 대들보(20)에 구비되어 대들보(20)와 기둥(30)을 고정시킬 수 있다. 즉, 고정부는 대들보(20)와 기둥(30)이 결합되는 부분을 견고하게 고정시켜, 악조건 환경에서도 기둥(30)과 대들보(20)가 분리되지 않도록 할 수 있다. Referring to FIGS. 2 to 5 , the fixing device 50 may be provided on the cross beam 20 to fix the cross beam 20 and the pillar 30 . That is, the fixing part firmly fixes the part where the crossbeam 20 and the pillar 30 are coupled, so that the pillar 30 and the crossbeam 20 are not separated even in adverse conditions.

이러한, 고정장치(50)는 제1고리부(60), 제2고리부(70) 및 고정스트랩(80)을 포함한다. The fixing device 50 includes a first hook part 60, a second hook part 70, and a fixing strap 80.

이때, 고정장치(50)는 기둥(30)이 구비되는 위치에 각각 구비되는 것이 바람직하나, 이에 한정하지 않는다. At this time, the fixing device 50 is preferably provided at each position where the pillar 30 is provided, but is not limited thereto.

제1고리부(60)는, 대들보(20)에 결합된다. The first ring portion 60 is coupled to the beam 20.

이때, 제1고리부(60)는 대들보(20)가 끼움 결합되는 제1끼움공(61) 및 결합공(21)과 연통되어 삽입핀(31)이 삽입되는 연통공(62)이 형성된다. At this time, the first ring portion 60 communicates with the first fitting hole 61 and the coupling hole 21 into which the crossbeam 20 is fitted to form a communication hole 62 into which the insertion pin 31 is inserted. .

즉, 제1끼움공(61)은 가로 방향으로 형성되고, 연통공(62)은 상하 방향으로 형성된다. That is, the first fitting hole 61 is formed in the horizontal direction, and the communication hole 62 is formed in the vertical direction.

제2고리부(70)는 제1고리부(60)의 하부에 구비되고, 기둥(30)에 결합된다. The second ring portion 70 is provided below the first ring portion 60 and coupled to the pillar 30 .

이때, 제2고리부(70)는 기둥(30)이 끼움 결합되는 제2끼움공(71)이 형성된다. 또한, 제2끼움공(71)은 상하 방향으로 형성된다. At this time, the second ring portion 70 is formed with a second fitting hole 71 into which the pillar 30 is fitted. In addition, the second fitting hole 71 is formed in the vertical direction.

여기서, 제1끼움공(61)과 제2끼움공(71)은 연통되어 형성될 수 있다. Here, the first fitting hole 61 and the second fitting hole 71 may be formed in communication.

다시 말해, 제1고리부(60)는 제2고리부(70)의 상부 양단을 연결하여 제1끼움공(61)이 형성되게 구비될 수 있다. In other words, the first ring portion 60 may be provided so that the first fitting hole 61 is formed by connecting both upper ends of the second ring portion 70 .

이에 따라, 제1고리부(60)와 제2고리부(70)로 대들보(20)와 기둥(30)을 서로 연결할 수 있다. Accordingly, the beam 20 and the pillar 30 can be connected to each other by the first ring portion 60 and the second ring portion 70 .

고정스트랩(80)은 제2고리부(70)에 일단이 결합되고, 제2고리부(70)를 감아 고정시킨다. The fixing strap 80 has one end coupled to the second ring portion 70, and fixes the second ring portion 70 by winding it.

제1착탈수단(91)은 제2고리부(70)의 외측에 구비된다. The first detachable means 91 is provided on the outside of the second ring part 70 .

제2착탈수단(92)은 고정스트랩(80)의 일측면에 구비되고, 제1착탈수단(91)에 탈부착 가능하다. The second detachable means 92 is provided on one side of the fixing strap 80 and is detachable from the first detachable means 91 .

즉, 고정스트랩(80)이 제2고리부(70)에 감길 때, 제1착탈수단(91)과 제2착탈수단(92)이 서로 부착되어 제1고리부(60)와 제2고리부(70) 사이, 다시 말해, 대들보(20)와 기둥(30)을 견고하게 고정시킬 수 있다. That is, when the fixing strap 80 is wound around the second ring part 70, the first attaching and detaching means 91 and the second attaching and detaching means 92 are attached to each other to form the first hook part 60 and the second hook part. Between (70), that is, the beam 20 and the column 30 can be firmly fixed.

또한, 제1착탈수단(91)과 제2착탈수단(92)은 탈부착이 가능하여, 고정장치(50)의 고정스트랩(80)을 고정시킬 때, 분리할 때 용이하다. In addition, the first detachable means 91 and the second detachable means 92 are detachable, so it is easy to fix or separate the fixing strap 80 of the fixing device 50.

여기서, 제1착탈수단(91)과 제2착탈수단(92)은 암수로 구분된 수단이면 충분하며, 예를 들어, 벨크로테이프로 이루어질 수 있으나, 이에 한정하지 않는다. 그리고 제1착탈수단(91)과 제2착탈수단(92)은 탈부착이 가능하여 대들보(20) 또는 기둥(30)의 크기에 대응되도록 설치될 수 있다. Here, as long as the first attachment/detachment means 91 and the second attachment/detachment means 92 are divided into male and female means, it is sufficient, and may be made of, for example, Velcro tape, but is not limited thereto. In addition, the first detachable means 91 and the second detachable means 92 are detachable and can be installed to correspond to the size of the beam 20 or the pillar 30.

도 11은 본 발명의 실시예에 따른 대들보 고정장치와 바닥면의 결합을 설명하기 위한 도면이고, 도 12는 본 발명의 실시예에 따른 대들보 고정장치의 바닥면과 텐트의 내부 스크린패널이 결합된 상태를 설명하기 위한 도면이다. 11 is a view for explaining the coupling between the girder fixing device and the bottom surface according to an embodiment of the present invention, and FIG. 12 is a combination of the bottom surface of the girder fixing device and the inner screen panel of the tent according to the embodiment of the present invention. It is a drawing to explain the state.

도 11에서 나타낸 것처럼, 고정장치(50)의 제1고리부(60)의 일측에 형성되며 바닥면의 수직으로 형성되는 수직고정부(63)을 더 포함하고, 수직고정부(63)는 바닥면에 설치되는 바닥고정부(64)에 결합된다. 그리고 바닥고정부(64)는 측면고정부(65)를 통해 외측 스크린패널(12)에 결합된다. 먼저, 수직고정부(63)는 제1고리부(60)에 결합된 상태에서 바닥면 측으로 내려가게되며, 바닥고정부(64)는 기둥(30)의 하부를 감싸는 형태로 형성되며, 바닥고정부(64)의 일측에 형성되는 바닥고정부재(641)에 결합된다. 바닥고정부재(641)는 스트랩 형태로 형성되며, 수직고정부(63)가 스트랩의 구멍으로 인입되어, 바닥고정부(64)에 결합되며, 수직고정부(63)를 당겨 기둥(30)을 고정시킨다. 이렇게 기둥(30)이 고정됨으로써, 바람에 의해 기둥(30)이 외측으로 이격되어 제작된 텐트가 무너지는 것을 방지할 수 있다. 또한, 기둥(30)이 없이 텐트가 설치되는 경우에도, 텐트의 대들보(20)를 지지할 수 있다. As shown in Figure 11, it is formed on one side of the first ring portion 60 of the fixing device 50 and further includes a vertical fixing part 63 formed vertically on the bottom surface, and the vertical fixing part 63 is the bottom It is coupled to the bottom fixing part 64 installed on the surface. And the bottom fixing part 64 is coupled to the outer screen panel 12 through the side fixing part 65. First, the vertical fixing part 63 is lowered to the floor side in a state of being coupled to the first hook part 60, and the bottom fixing part 64 is formed in a form surrounding the lower part of the pillar 30, and the floor height It is coupled to the bottom fixing member 641 formed on one side of the government 64. The floor fixing member 641 is formed in the form of a strap, and the vertical fixing part 63 is introduced into the hole of the strap and coupled to the bottom fixing part 64, and the column 30 is pulled by the vertical fixing part 63. fix it By fixing the pole 30 in this way, it is possible to prevent the tent from collapsing when the pole 30 is spaced outward due to wind. In addition, even when the tent is installed without the poles 30, the beams 20 of the tent can be supported.

그리고 도 12에서 나타낸 것처럼, 바닥고정부(64)는 외측 스크린패널(12)에 고정하기 위한 측면고정부(65)를 더 포함한다. 이때, 측면고정부(65)의 일측은 바닥고정부(64)에 결합되고, 타측은 외측스크린패널(12)에 결합된다. 이때, 외측스크린패널(12)은 바닥고정부(64)가 결합되기 위한 결합고리(121)가 포함되고, 결합고리(121)에 측면고정부(65)의 타측이 결합되기위해 후크(651)를 포함할 수 있다. 즉, 측면고정부(64)의 후크(651)와 외측스크린패널(12)의 결합고리(121)가 결합됨으로써, 측면고정부(64)의 설치를 쉽게 제공할 수 있다. 또한, 외측스크린패널(12)이 측면고정부(65)를 통해 바닥고정부(64)에 결합됨으로써, 바람 또는 외풍에 의해 외측스크린패널(12)의 찢어짐을 방지할 수 있으다. And as shown in FIG. 12 , the bottom fixing part 64 further includes a side fixing part 65 for fixing to the outer screen panel 12 . At this time, one side of the side fixing part 65 is coupled to the bottom fixing part 64 and the other side is coupled to the outer screen panel 12 . At this time, the outer screen panel 12 includes a coupling ring 121 for coupling the bottom fixing portion 64, and a hook 651 for coupling the other side of the side fixing portion 65 to the coupling ring 121. can include That is, since the hook 651 of the side fixing part 64 and the coupling ring 121 of the outer screen panel 12 are coupled, the side fixing part 64 can be easily installed. In addition, since the outer screen panel 12 is coupled to the bottom fixing part 64 through the side fixing part 65, tearing of the outer screen panel 12 due to wind or draft can be prevented.

본 발명이 속하는 기술분야의 통상의 지식을 가진 자는 본 발명이 그 기술적 사상이나 필수적인 특징을 변경하지 않고서 다른 구체적인 형태로 실시될 수 있다는 것을 이해할 수 있을 것이다. 그러므로 이상에서 기술한 실시예들은 모든 면에서 예시적인 것이며 한정적이 아닌 것으로 이해해야만 한다. 본 발명의 범위는 상기 상세한 설명보다는 후술하는 특허청구의 범위에 의하여 나타내어지며, 특허청구의 범위의 의미 및 범위 그리고 그 균등 개념으로부터 도출되는 모든 변경 또는 변형된 형태가 본 발명의 범위에 포함되는 것으로 해석되어야 한다. 더불어, 상술하는 과정에서 기술된 구성의 작동순서는 반드시 시계열적인 순서대로 수행될 필요는 없으며, 각 구성 및 단계의 수행 순서가 바뀌어도 본 발명의 요지를 충족한다면 이러한 과정은 본 발명의 권리범위에 속할 수 있음은 물론이다.Those skilled in the art to which the present invention pertains will understand that the present invention can be embodied in other specific forms without changing its technical spirit or essential features. Therefore, the embodiments described above should be understood as illustrative in all respects and not limiting. The scope of the present invention is indicated by the claims to be described later rather than the detailed description above, and all changes or modifications derived from the meaning and scope of the claims and equivalent concepts thereof are included in the scope of the present invention. should be interpreted In addition, the operation sequence of the components described in the above-described process does not necessarily have to be performed in a time-series order, and even if the execution sequence of each component and step is changed, if the gist of the present invention is satisfied, these processes will fall within the scope of the present invention. Of course you can.

10: 패널 11: 스크린패널
12: 외측스크린패널 13: 메쉬패널
14: 내측스크린패널 15: 정면패널
16: 정면상부 17: 정면하부
18: 연장부 19: 천장패널
20: 대들보 21: 결합공
30: 기둥 31: 삽입핀
32: 지지바 40: 폴대
41: 끈 50: 고정장치
60: 제1고리부 61: 제1끼움공
62: 연통공 70: 제2고리부
71: 제2끼움공 80: 고정스트랩
91: 제1착탈수단 92: 제2착탈수단
10: panel 11: screen panel
12: outer screen panel 13: mesh panel
14: inner screen panel 15: front panel
16: upper front 17: lower front
18: extension 19: ceiling panel
20: crossbeam 21: coupling hole
30: pillar 31: insertion pin
32: support bar 40: pole
41: string 50: fixture
60: first hook 61: first fitting hole
62: communication hole 70: second ring part
71: second fitting hole 80: fixed strap
91: first attachment/detachment means 92: second attachment/detachment means

Claims (4)

텐트의 대들보와 대들보에 결합되는 기둥을 서로 고정시키는 고정장치에 있어서,
상기 대들보에 결합되는 제1고리부;
상기 제1고리부의 하부에 구비되고, 상기 기둥에 결합되는 제2고리부; 및
상기 제2고리부에 일단이 결합되고, 상기 제2고리부를 감아 고정시키는 고정스트랩을 포함하는 대들보 고정장치.
In the fixing device for fixing the crossbeam of the tent and the pole coupled to the crossbeam to each other,
A first ring part coupled to the crossbeam;
a second ring portion provided under the first ring portion and coupled to the pillar; and
A girder fixing device comprising a fixing strap having one end coupled to the second ring and winding and fixing the second ring.
청구항 1에 있어서,
상기 대들보는 상하 방향으로 결합공이 형성되고,
상기 기둥은 지지바와 상기 지지바의 일단에 상기 결합공으로 삽입되는 삽입핀을 포함하고,
상기 제1고리부는 상기 대들보가 끼움 결합되는 제1끼움공 및 상기 결합공과 연통되어 상기 삽입핀이 삽입되는 연통공이 형성되고,
상기 제2고리부는 상기 기둥이 끼움 결합되는 제2끼움공이 형성된 것을 특징으로 하는 대들보 고정장치.
The method of claim 1,
Coupling holes are formed in the vertical direction of the crossbeam,
The pillar includes a support bar and an insertion pin inserted into the coupling hole at one end of the support bar,
The first ring part communicates with the first fitting hole into which the crossbeam is fitted and the coupling hole to form a communication hole into which the insertion pin is inserted,
The second ring portion is a girder fixing device, characterized in that the second fitting hole into which the pillar is fitted is formed.
청구항 2에 있어서,
상기 제2고리부는 외측에 구비되는 제1착탈수단;
상기 고정스트랩의 일측면에 구비되고, 상기 제1착탈수단에 탈부착 가능한 제2착탈수단을 포함하는 대들보 고정장치.
The method of claim 2,
a first detachable means provided on the outside of the second ring part;
A girder fixing device including a second detachable means provided on one side of the fixing strap and detachable from the first detachable means.
패널;
상기 패널의 일측에 설치되고, 결합공이 형성된 대들보;
상기 결합공에 결합되어 상기 대들보를 지지하는 기둥;
상기 대들보와 기둥을 고정시키는 고정장치; 를 포함하고,
상기 고정장치는,
상기 대들보에 결합되는 제1고리부;
상기 제1고리부의 하부에 구비되고, 상기 기둥에 결합되는 제2고리부; 및
상기 제2고리부에 일단이 결합되고, 상기 제2고리부를 감아 고정시키는 고정스트랩을 포함하는 대들보 고정장치를 이용한 텐트.
panel;
A crossbeam installed on one side of the panel and having a coupling hole formed thereon;
A pillar coupled to the coupling hole to support the crossbeam;
A fixing device for fixing the crossbeam and the column; including,
The fixing device is
A first ring part coupled to the crossbeam;
a second ring portion provided under the first ring portion and coupled to the pillar; and
A tent using a girder fixing device including a fixing strap having one end coupled to the second ring and winding and fixing the second ring.
KR1020220088997A 2021-10-29 2022-07-19 Girder fixing device and tent using the same Active KR102776215B1 (en)

Applications Claiming Priority (2)

Application Number Priority Date Filing Date Title
KR20210147189 2021-10-29
KR1020210147189 2021-10-29

Publications (2)

Publication Number Publication Date
KR20230062352A true KR20230062352A (en) 2023-05-09
KR102776215B1 KR102776215B1 (en) 2025-03-06

Family

ID=86408233

Family Applications (1)

Application Number Title Priority Date Filing Date
KR1020220088997A Active KR102776215B1 (en) 2021-10-29 2022-07-19 Girder fixing device and tent using the same

Country Status (1)

Country Link
KR (1) KR102776215B1 (en)

Citations (3)

* Cited by examiner, † Cited by third party
Publication number Priority date Publication date Assignee Title
KR20170054965A (en) * 2015-11-10 2017-05-18 김준웅 A simple tent using a stick
KR200491674Y1 (en) * 2019-08-22 2020-05-18 이재호 Pole for preventing sag of tarp
KR20220001698U (en) * 2020-12-30 2022-07-07 홍성민 Camping tarp

Patent Citations (3)

* Cited by examiner, † Cited by third party
Publication number Priority date Publication date Assignee Title
KR20170054965A (en) * 2015-11-10 2017-05-18 김준웅 A simple tent using a stick
KR200491674Y1 (en) * 2019-08-22 2020-05-18 이재호 Pole for preventing sag of tarp
KR20220001698U (en) * 2020-12-30 2022-07-07 홍성민 Camping tarp

Also Published As

Publication number Publication date
KR102776215B1 (en) 2025-03-06

Similar Documents

Publication Publication Date Title
US4265261A (en) Tent
US20090056779A1 (en) Auxiliary section for a canopy
CN102224310A (en) awning
JP3797377B2 (en) Crosswind type outdoor tent
KR101018641B1 (en) Prefab Tent and How to Assemble It
KR20230062352A (en) Girder fixing device and tent using the same
CN210598386U (en) Portable sunshade assembly
US10612266B2 (en) Camping system and method for suspending a hammock inside a camping tent
KR100926452B1 (en) Tent structure
KR20130004129U (en) Living room extended type tent
US20100275961A1 (en) Tent with Locators for Poles
CN213477842U (en) Framework splicing structure of peach-shaped tent
KR200493179Y1 (en) Pole shaft for camping gear
CN211776348U (en) Triangular outdoor tent capable of quickly draining rainwater
KR101061823B1 (en) Prefab tent
CN223293500U (en) Decorative cloth for outdoor tent
CN218912451U (en) Reinforced waterproof umbrella frame tent
JP3264661B2 (en) Tarp and tape for tarp setting
CN208236080U (en) A kind of integral type air dome
CN221779181U (en) A kind of splicable tent
CN215978735U (en) Tent
KR20200041751A (en) The modular tent
CN213330671U (en) Novel military tent
KR200359126Y1 (en) Triangular strengthening support means of large sun screen frame structure
JP2021059858A (en) Sunshade support structure, method for stretching sunshade using the support structure, and sunshade support column for use in the support structure

Legal Events

Date Code Title Description
PA0109 Patent application

St.27 status event code: A-0-1-A10-A12-nap-PA0109

PA0201 Request for examination

St.27 status event code: A-1-2-D10-D11-exm-PA0201

D13-X000 Search requested

St.27 status event code: A-1-2-D10-D13-srh-X000

PG1501 Laying open of application

St.27 status event code: A-1-1-Q10-Q12-nap-PG1501

D14-X000 Search report completed

St.27 status event code: A-1-2-D10-D14-srh-X000

E902 Notification of reason for refusal
PE0902 Notice of grounds for rejection

St.27 status event code: A-1-2-D10-D21-exm-PE0902

E13-X000 Pre-grant limitation requested

St.27 status event code: A-2-3-E10-E13-lim-X000

P11-X000 Amendment of application requested

St.27 status event code: A-2-2-P10-P11-nap-X000

P13-X000 Application amended

St.27 status event code: A-2-2-P10-P13-nap-X000

E701 Decision to grant or registration of patent right
PE0701 Decision of registration

St.27 status event code: A-1-2-D10-D22-exm-PE0701

PR0701 Registration of establishment

St.27 status event code: A-2-4-F10-F11-exm-PR0701

PR1002 Payment of registration fee

St.27 status event code: A-2-2-U10-U11-oth-PR1002

PG1601 Publication of registration

St.27 status event code: A-4-4-Q10-Q13-nap-PG1601