KR20230001827U - Drain trap with double water sealing structure - Google Patents
Drain trap with double water sealing structure Download PDFInfo
- Publication number
- KR20230001827U KR20230001827U KR2020220000624U KR20220000624U KR20230001827U KR 20230001827 U KR20230001827 U KR 20230001827U KR 2020220000624 U KR2020220000624 U KR 2020220000624U KR 20220000624 U KR20220000624 U KR 20220000624U KR 20230001827 U KR20230001827 U KR 20230001827U
- Authority
- KR
- South Korea
- Prior art keywords
- water
- support cover
- drain trap
- seal
- supported
- Prior art date
- Legal status (The legal status is an assumption and is not a legal conclusion. Google has not performed a legal analysis and makes no representation as to the accuracy of the status listed.)
- Granted
Links
Images
Classifications
-
- E—FIXED CONSTRUCTIONS
- E03—WATER SUPPLY; SEWERAGE
- E03F—SEWERS; CESSPOOLS
- E03F5/00—Sewerage structures
- E03F5/04—Gullies inlets, road sinks, floor drains with or without odour seals or sediment traps
- E03F5/0407—Floor drains for indoor use
-
- E—FIXED CONSTRUCTIONS
- E03—WATER SUPPLY; SEWERAGE
- E03F—SEWERS; CESSPOOLS
- E03F5/00—Sewerage structures
- E03F5/04—Gullies inlets, road sinks, floor drains with or without odour seals or sediment traps
- E03F2005/0416—Gullies inlets, road sinks, floor drains with or without odour seals or sediment traps with an odour seal
- E03F2005/0418—Gullies inlets, road sinks, floor drains with or without odour seals or sediment traps with an odour seal in the form of a bell siphon
Landscapes
- Health & Medical Sciences (AREA)
- Life Sciences & Earth Sciences (AREA)
- Engineering & Computer Science (AREA)
- Hydrology & Water Resources (AREA)
- Public Health (AREA)
- Water Supply & Treatment (AREA)
- Sink And Installation For Waste Water (AREA)
Abstract
본 고안은 배수트랩본체 내에 구비된 제 1 봉수구조 내에 제 2 봉수구조가 구비됨에 따라 악취 역류가 더욱 효과적으로 방지될 수 있고, 배수트랩지지커버 상에 안착되는 제 1 봉수지지커버에 의해 배수트랩본체 내의 악취가 누출되는 것이 방지될 수 있으며, 제 1 봉수지지커버의 외측에 물막이댐이 돌출형성됨에 따라 밀착성이 우수한 방수층이 용이하게 형성될 수 있을 뿐만 아니라 타일과 몰탈층의 파손부위를 통해 유입되는 물이 바닥콘크리트층으로 누수되는 현상이 방지될 수 있도록 한 이중봉수구조를 가지는 배수트랩에 관한 것이다.
본 고안의 일 실시예에 따른 이중봉수구조를 가지는 배수트랩은, 바닥콘크리트층에 매립고정되고 일측에는 배수관이 연결되는 배수트랩본체과, 상기 배수트랩본체의 상단에 결합되고 상단에는 바닥콘크리트층 상에 안착지지되는 플랜지가 반경방향 외측으로 돌출되는 배수트랩지지커버와, 상기 배수트랩지지커버에 안착결합되고 내측에는 제 1 거치링이 구비되며 외측에는 상기 플랜지에 하단이 지지되고 방수층이 밀착되는 물막이댐이 상향 돌출형성되는 제 1 봉수지지커버와, 제 1 봉수지지커버의 제 1 거치링에 상단 가장자리가 안착지지되고 상측 외주면에는 배수공이 이격형성되는 봉수통과, 상기 봉수통의 상단에 지지되어 상기 봉수통 내로 연장되며 하단은 개방형성되는 제 1 수직봉수관과, 상기 제 1 봉수지지커버에 이격지지되는 제 2 봉수지지커버와, 상기 제 2 봉수지지커버의 내측 가장자리에 지지되어 상기 제 1 수직봉수관 내로 연장되고 하단은 개방형성되는 제 2 수직봉수관을 포함한다.In the present invention, odor backflow can be more effectively prevented by providing a second sealing structure within the first sealing structure provided in the drain trap main body, and the drain trap main body is secured by the first sealing resin support cover mounted on the drain trap support cover. Leakage of internal odors can be prevented, and as a water dam is protruding on the outside of the first sealing resin support cover, a waterproof layer with excellent adhesion can be easily formed, as well as preventing water from flowing in through damaged areas of the tile and mortar layer. This relates to a drainage trap with a double sealing structure that prevents water from leaking into the concrete floor layer.
A drain trap having a double seal water structure according to an embodiment of the present invention includes a drain trap body embedded in and fixed to the floor concrete layer and connected to a drain pipe on one side, and a drain trap body coupled to the top of the drain trap body and the upper end on the floor concrete layer. A drain trap support cover whose seated and supported flange protrudes outward in the radial direction, is seated and coupled to the drain trap support cover and is provided with a first mounting ring on the inside, and on the outside, a water blocking dam whose lower end is supported by the flange and a waterproof layer is in close contact with the drain trap support cover. A first seal water support cover that protrudes upward, a bong water tank whose upper edge is seated and supported on the first mounting ring of the first water seal support cover and a drainage hole is formed on the upper outer circumferential surface to be spaced apart, and which is supported on the upper end of the bong water tank to A first vertical seal water pipe that extends into the barrel and is open at the bottom, a second seal water support cover supported at a distance from the first water seal support cover, and a second water seal water support cover supported on the inner edge of the second water seal support cover and the first vertical water seal water pipe. It includes a second vertical water seal pipe that extends into the pipe and has an open lower end.
Description
본 고안은 예를 들어 욕실, 화장실, 베란다, 세탁실 등의 바닥에 설치되어 오수의 배수를 가능하게 함과 동시에 이물질로 인한 폐색과 악취의 역류를 방지하는 배수트랩에 관한 것으로, 보다 상세하게는 에 관한 것이다.The present invention relates to a drain trap installed on the floor of, for example, a bathroom, toilet, veranda, laundry room, etc., to enable drainage of sewage and at the same time prevent blockage caused by foreign substances and backflow of bad odors. More specifically, in It's about.
현대 주택의 욕실, 화장실, 베란다, 세탁실 등에는 바닥의 중앙이나 바닥의 구석진 부분에 오수를 배수하기 위한 배수구가 설치된다.Bathrooms, toilets, verandas, laundry rooms, etc. in modern houses have drains installed in the center of the floor or in the corners of the floor to drain sewage.
또한 배수구에는 여과망을 통해 머리카락과 같은 이물질에 의해 배수구를 막히는 것을 방지함과 동시에 봉수(封水) 구조에 의하여 악취가 역류하는 것을 방지하는 배수트랩이 설치된다.In addition, a drain trap is installed in the drain, which prevents the drain from being clogged by foreign substances such as hair through a filter net and at the same time prevents bad odors from flowing back through a water seal structure.
이러한 배수트랩의 일 예로, 한국 실용신안공개 제20-2017-0002282호(2017.06.27.)에는 층상배관용 바닥배수장치는, 욕실의 기초바닥용 철근콘크리트 상에 설치되고 상부면이 개방된 함체 형상으로 형성되며 일측에는 제 1 배수연결관이 상기 기초바닥용 철근콘크리트로부터 이격된 상태로 연장되는 바닥배수 몸체부와, 상기 바닥배수 몸체부 내에 수용되고 상부면이 개방된 함체 형상으로 형성되는 외입부재와, 상기 바닥배수 몸체부의 상단에 안착되고 내부면의 하측에는 제 1 단턱이 형성되고 내부면의 상측에는 제 2 단턱이 형성되는 상부틀과, 상하방향으로 관통형성되고 상단이 상기 상부틀의 제 1 단턱에 안착지지된 상태로 상기 외입부재의 내부로 연장되며 하단은 상기 외입부재의 바닥면으로부터 이격되는 내입부재와, 상기 상부틀의 제 2 단턱에 안착되고 다수의 배수공이 관통형성되는 배수커버와, 일측에는 상기 바닥배수 몸체부의 제 1 배수연결관이 삽입연결되는 제 2 배수연결관이 상기 기초바닥용 철근콘크리트로부터 이격된 상태로 연장되고 타측에는 제 3 배수연결관이 연장형성되는 L자형 또는 T자형 배수부를 포함하는 층상배관용 바닥배수장치가 개시된다.As an example of such a drain trap, Korean Utility Model Publication No. 20-2017-0002282 (June 27, 2017) states that a floor drain device for layered piping is an enclosure installed on reinforced concrete for the foundation floor of a bathroom and having an open upper surface. It is formed in the shape of a floor drain body portion on one side of which the first drainage connection pipe extends in a state spaced apart from the reinforced concrete for the foundation floor, and an external inlet accommodated in the floor drain body portion and formed in the shape of a box with an open upper surface. A member, an upper frame that is seated on the upper end of the floor drain body and has a first step formed on the lower side of the inner surface and a second step formed on the upper side of the inner surface, and which is formed through the upper and lower directions and has an upper end of the upper frame. An inner member that is seated and supported on a first step and extends inside the outer member, the lower end of which is spaced apart from the bottom surface of the outer member, and a drain seated on the second step of the upper frame and through which a plurality of drain holes are formed. A cover, and on one side, a second drain connector into which the first drain connector of the floor drain body is inserted and connected extends at a distance from the reinforced concrete for the foundation floor, and on the other side, a third drain connector is extended. A floor drainage device for layered piping including a shaped or T-shaped drain is disclosed.
또한 한국 실용신안등록 제20-0327222호(2003.09.19.)에는 바닥슬래브에 설치되는 메인배수조와, 상기 바닥슬래브의 상면에 노출되는 길이방향으로 긴 배수홈이 형성되고 상기 메인배수조와 연통하는 배수구멍이 형성된 배수틀과, 상기 배수틀의 상면에 결합되어 이물질을 여과시키는 외측여과틀을 구비하는 바닥 배수장치에 있어서, 상기 배수구멍의 상단부 가장자리에 지지턱이 형성되고, 상기 메인배수조와 통하는 배출통로를 형성하는 내측벽과, 상단부에 상기 지지턱에 지지되는 플랜지가 형성되고 상기 내측벽과 함께 생활폐수를 수용시키는 수용공간을 형성하는 외측벽, 상기 내,외측벽의 바닥을 형성하는 바닥면으로 이루어지는 봉수통과, 상면이 폐쇄되고 하면이 개방되며 상기 내,외측벽 사이에 결합되는 봉수캡과, 상기 봉수캡을 상기 봉수통에 대해 일정간격 유지시키는 간격유지수단이 구비된 것을 특징으로 하는 실내 바닥배수장치가 개시된다.In addition, Korean Utility Model Registration No. 20-0327222 (2003.09.19.) discloses a main drain tank installed on a floor slab, a long drain groove exposed in the longitudinal direction exposed on the upper surface of the floor slab, and a drain communicating with the main drain tank. A floor drainage device comprising a drainage frame with holes, and an outer filter frame coupled to the upper surface of the drainage frame to filter foreign substances, wherein a support ridge is formed on an upper edge of the drainage hole, and a discharge pipe communicates with the main drainage tank. It consists of an inner wall forming a passage, an outer wall having a flange supported on the support ledge at the upper end and forming a receiving space for receiving domestic wastewater together with the inner wall, and a bottom surface forming the bottom of the inner and outer walls. An indoor floor drainage device comprising a sealing water tank, a closed upper surface and an open lower surface, a water sealing cap coupled between the inner and outer walls, and a gap maintenance means for maintaining the sealing water cap at a certain distance from the sealing water container. is initiated.
전술한 바와 같은 종래의 배수트랩의 경우에는 배수되는 오수 중 일부가 항상 채워짐에 따라 배수관 내의 악취가 역류하는 것을 방지하는 단일의 봉수구조가 적용됨에 따라 배수트랩본체에서 발생된 악취가 방수층의 파손 부분을 통해 유입되는 현상을 방지할 수 없는 문제점이 있다.In the case of the conventional drain trap as described above, a single water sealing structure is applied to prevent odors from flowing back in the drain pipe as part of the drained sewage is always filled, so the odor generated from the drain trap main body is released from damaged parts of the waterproof layer. There is a problem in that it is impossible to prevent the inflow of water through .
또한 방수층이 부정형상을 가지는 배수트랩의 외주면에 완벽하게 밀착될 수 없고 특히 몰탈층에 미세 균열이 발생된 경우에는 배수트랩본체 내의 악취가 봉수구조를 거치지 않고 외부로 배출될 수 있는 문제점이 있다.In addition, there is a problem in that the waterproof layer cannot be completely adhered to the outer peripheral surface of the irregularly shaped drain trap, and especially when microcracks occur in the mortar layer, odors within the drain trap body may be discharged to the outside without passing through the water sealing structure.
따라서 본 고안은 배수트랩본체 내에 구비된 제 1 봉수구조 내에 제 2 봉수구조가 구비됨에 따라 악취 역류가 더욱 효과적으로 방지될 수 있고, 배수트랩지지커버 상에 안착되는 제 1 봉수지지커버에 의해 배수트랩본체 내의 악취가 누출되는 것이 방지될 수 있으며, 제 1 봉수지지커버의 외측에 물막이댐이 돌출형성됨에 따라 밀착성이 우수한 방수층이 용이하게 형성될 수 있을 뿐만 아니라 타일과 몰탈층의 파손부위를 통해 유입되는 물이 바닥콘크리트층으로 누수되는 현상이 방지될 수 있도록 한 이중봉수구조를 가지는 배수트랩을 제공하는 것을 목적으로 한다.Therefore, in the present invention, odor backflow can be more effectively prevented by providing a second seal water structure within the first seal water structure provided in the drain trap main body, and the drain trap is secured by the first seal resin support cover seated on the drain trap support cover. Leakage of odors within the main body can be prevented, and as a water dam is protruded on the outside of the first seal resin support cover, a waterproof layer with excellent adhesion can be easily formed, as well as inflow through damaged areas of the tile and mortar layer. The purpose is to provide a drainage trap with a double sealing structure to prevent water from leaking into the floor concrete layer.
상기의 목적을 달성하기 위해 본 고안은 바닥콘크리트층에 매립고정되고 일측에는 배수관이 연결되는 배수트랩본체과, 상기 배수트랩본체의 상단에 결합되고 상단에는 바닥콘크리트층 상에 안착지지되는 플랜지가 반경방향 외측으로 돌출되는 배수트랩지지커버와, 상기 배수트랩지지커버에 안착결합되고 내측에는 제 1 거치링이 구비되며 외측에는 상기 플랜지에 하단이 지지되고 방수층이 밀착되는 물막이댐이 상향 돌출형성되는 제 1 봉수지지커버와, 제 1 봉수지지커버의 제 1 거치링에 상단 가장자리가 안착지지되고 상측 외주면에는 배수공이 이격형성되는 봉수통과, 상기 봉수통의 상단에 지지되어 상기 봉수통 내로 연장되며 하단은 개방형성되는 제 1 수직봉수관과, 상기 제 1 봉수지지커버에 이격지지되는 제 2 봉수지지커버와, 상기 제 2 봉수지지커버의 내측 가장자리에 지지되어 상기 제 1 수직봉수관 내로 연장되고 하단은 개방형성되는 제 2 수직봉수관을 포함하는 이중봉수구조를 가지는 배수트랩을 제공한다.In order to achieve the above object, the present invention includes a drain trap body embedded in the floor concrete layer and connected to a drain pipe on one side, and a flange coupled to the top of the drain trap body and seated and supported on the floor concrete layer at the top in a radial direction. A drain trap support cover protrudes outward, a first mounting ring that is seated and coupled to the drain trap support cover and is provided on the inside, and on the outside, a water dam with its lower end supported by the flange and in close contact with the waterproof layer is formed to protrude upward. A seal water support cover, a water seal tank whose upper edge is seated and supported on the first mounting ring of the first water seal support cover and drain holes are formed on the upper outer circumferential surface, and which is supported on the upper end of the water seal tank and extends into the water seal tank, and the lower end is open. A first vertical sealing water pipe is formed, a second sealing resin support cover is supported at a distance from the first sealing resin support cover, and is supported on the inner edge of the second sealing resin support cover, extending into the first vertical sealing water pipe, and the lower end is open. A drainage trap having a double sealing structure including a second vertical sealing water pipe is provided.
본 고안에서 상기 배수트랩본체의 상단 내측에는 결합돌기가 돌출형성되고 상기 배수트랩지지커버의 하단 외주면에는 결합돌기에 선택적으로 결합되는 다단결합홈이 형성되는 것으로 한다.In the present invention, a coupling protrusion is formed protruding on the upper inner side of the drain trap main body, and a multi-stage coupling groove that is selectively coupled to the coupling protrusion is formed on the lower outer peripheral surface of the drain trap support cover.
본 고안에서 상기 배수트랩지지커버의 내측 상단에는 안착단턱이 형성되고 상기 제 1 봉수지지커버의 중앙에는 상기 배수트랩지지커버의 안착단턱에 안착결합되는 안착돌기가 하향 돌출형성되는 것으로 한다.In the present invention, a seating step is formed at the inner top of the drain trap support cover, and a seating protrusion that is seated and coupled to the seating step of the drain trap support cover is formed to protrude downward at the center of the first seal resin support cover.
본 고안에서 상기 제 2 봉수지지커버의 하부에는 상기 제 1 봉수지지커버의 플랜지에 지지되는 이격지지링이 구비되는 것으로 한다.In the present invention, a spaced support ring supported on the flange of the first seal resin support cover is provided at the lower part of the second seal resin support cover.
본 고안에서 상기 제 1 봉수지지커버의 내주면에 결합되고 상기 봉수통과 상기 제 1 수직봉수관을 상기 1 거치링에 대해 가압고정시키는 가압고정링을 더 포함하는 것으로 한다.In the present invention, it is coupled to the inner peripheral surface of the first sealing resin support cover and further includes a pressure fixing ring that pressurizes and fixes the sealing water tank and the first vertical sealing water pipe with respect to the first holding ring.
본 고안의 일 실시예에 따른 이중봉수구조를 가지는 배수트랩에 의하면, 배수트랩본체 내에 구비된 봉수통 내에 제 1 수직봉수관이 거치되고 제 1 수직봉수관 내에 또 다시 제 2 수직봉수관이 거치되는 이중의 봉수구조가 구비됨에 따라 악취 역류가 더욱 효과적으로 방지될 수 있고, 배수트랩지지커버 상에 안착되는 제 1 봉수지지커버에 의해 배수트랩본체 내의 악취가 누출되는 것이 방지될 수 있으며, 제 1 봉수지지커버의 외측에 물막이댐이 돌출형성됨에 따라 밀착성이 우수한 방수층이 용이하게 형성될 수 있을 뿐만 아니라 타일과 몰탈층의 파손부위를 통해 유입되는 물이 바닥콘크리트층으로 누수되는 현상이 방지될 수 있는 장점이 있다.According to a drain trap having a double sealing water structure according to an embodiment of the present invention, a first vertical sealing water pipe is mounted in a water sealing tank provided in the drain trap main body, and a second vertical sealing water pipe is mounted again in the first vertical water sealing pipe. By providing a double seal water structure, odor backflow can be prevented more effectively, and leakage of odors within the drain trap body can be prevented by the first seal resin support cover seated on the drain trap support cover. As the water dam is protruding on the outside of the sealing resin support cover, a waterproof layer with excellent adhesion can be easily formed, and water flowing in through damaged areas of the tile and mortar layer can be prevented from leaking into the floor concrete layer. There is an advantage.
상기와 같은 본 고안의 일 실시예에 따른 이중봉수구조를 가지는 배수트랩에 의하면, 이중의 봉수구조에 의해 악취 차단효과가 증대되고 물막이댐이 돌출형성된 제 1 봉수지지커버에 의해 방수층의 밀착형성이 용이해짐과 동시에 바닥콘크리트층으로의 누수현상이 방치될 수 있는 장점이 있다.According to the drain trap having a double seal water structure according to an embodiment of the present invention as described above, the odor blocking effect is increased by the double seal water structure, and the tight adhesion of the waterproof layer is formed by the first water seal resin support cover on which the water dam is protruding. It has the advantage that water leakage into the floor concrete layer can be neglected at the same time as it becomes easier.
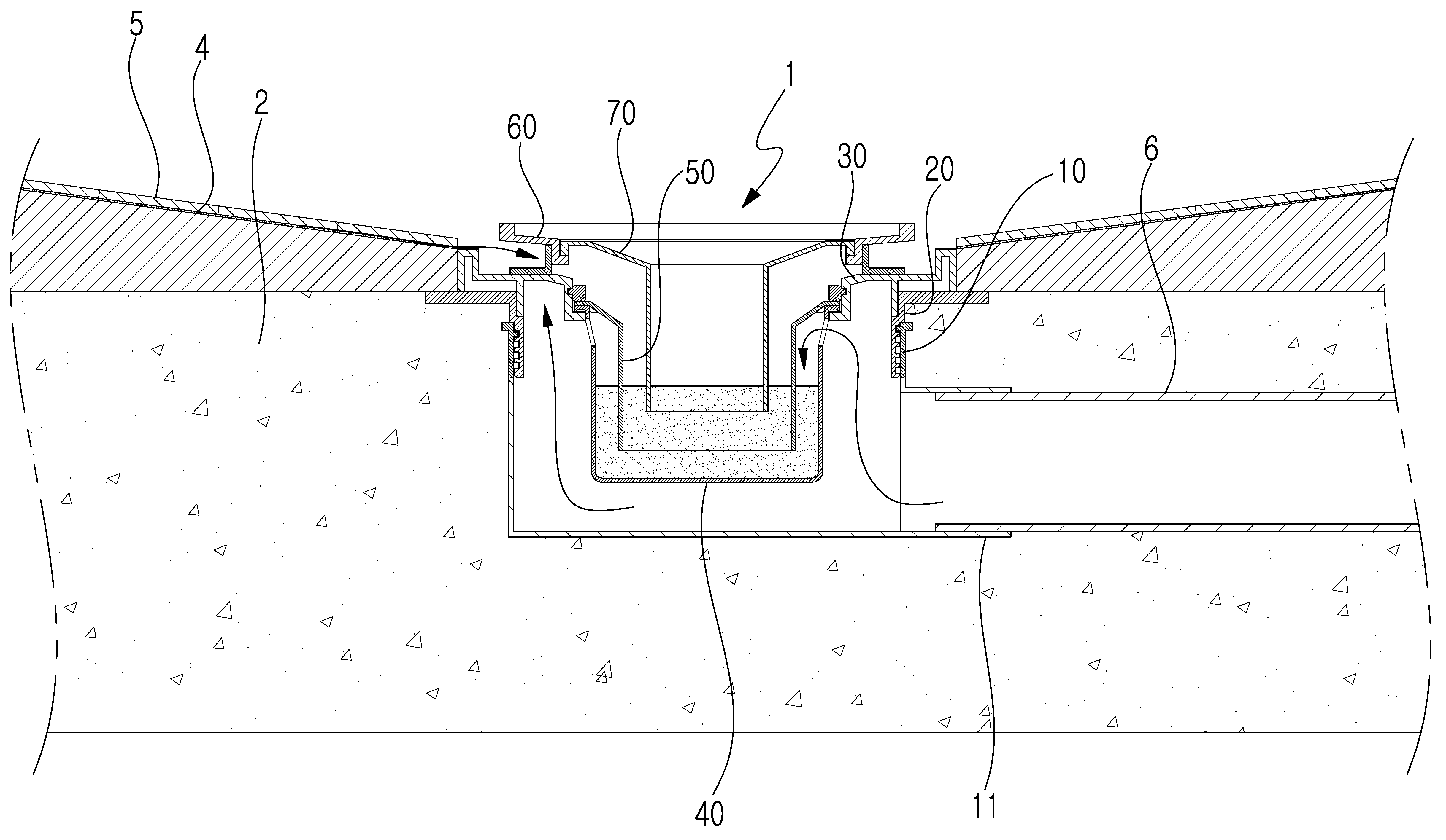
도 1은 본 고안의 일 실시예에 따른 이중봉수구조를 가지는 배수트랩의 단면구조도.
도 2는 본 고안의 일 실시예에 따른 이중봉수구조를 가지는 배수트랩의 작동설명단면도.Figure 1 is a cross-sectional structural diagram of a drainage trap with a double seal water structure according to an embodiment of the present invention.
Figure 2 is a cross-sectional view illustrating the operation of a drain trap with a double seal water structure according to an embodiment of the present invention.
도 1은 본 고안의 일 실시예에 따른 이중봉수구조를 가지는 배수트랩의 단면구조도이고, 도 2는 본 고안의 일 실시예에 따른 이중봉수구조를 가지는 배수트랩의 작동설명단면도이다.Figure 1 is a cross-sectional structural diagram of a drain trap having a double sealing structure according to an embodiment of the present invention, and Figure 2 is a cross-sectional view explaining the operation of a drain trap having a double sealing structure according to an embodiment of the present invention.
본 고안의 일 실시예에 따른 이중봉수구조를 가지는 배수트랩은 바닥콘크리트층에 매립고정되고 일측에는 배수관이 연결되는 배수트랩본체과, 상기 배수트랩본체의 상단에 결합되고 상단에는 바닥콘크리트층 상에 안착지지되는 플랜지가 반경방향 외측으로 돌출되는 배수트랩지지커버와, 상기 배수트랩지지커버에 안착결합되고 내측에는 제 1 거치링이 구비되며 외측에는 상기 플랜지에 하단이 지지되고 방수층이 밀착되는 물막이댐이 상향 돌출형성되는 제 1 봉수지지커버와, 제 1 봉수지지커버의 제 1 거치링에 상단 가장자리가 안착지지되고 상측 외주면에는 배수공이 이격형성되는 봉수통과, 상기 봉수통의 상단에 지지되어 상기 봉수통 내로 연장되며 하단은 개방형성되는 제 1 수직봉수관과, 상기 제 1 봉수지지커버에 이격지지되는 제 2 봉수지지커버와, 상기 제 2 봉수지지커버의 내측 가장자리에 지지되어 상기 제 1 수직봉수관 내로 연장되고 하단은 개방형성되는 제 2 수직봉수관을 포함한다.A drain trap having a double seal water structure according to an embodiment of the present invention includes a drain trap body that is embedded and fixed in the floor concrete layer and a drain pipe is connected to one side, and is coupled to the top of the drain trap body and is seated on the floor concrete layer at the top. A drain trap support cover whose supported flange protrudes outward in the radial direction, is seated and coupled to the drain trap support cover and is provided with a first mounting ring on the inside, and on the outside, a water blocking dam whose lower end is supported by the flange and whose waterproof layer is in close contact with the drain trap support cover. A first bong water support cover that protrudes upward, a bong water tank whose upper edge is seated and supported on the first mounting ring of the first bong water support cover and a water drain hole is formed spaced apart on the upper outer circumferential surface, and which is supported on the upper end of the bong water tank to form the bong water tank. A first vertical sealing water pipe extending inward and having an open lower end, a second sealing resin support cover supported at a distance from the first sealing resin support cover, and a first vertical sealing water pipe supported on the inner edge of the second sealing resin support cover It includes a second vertical water seal pipe that extends inward and is open at the lower end.
여기서부터는 도 1 및 도 2를 참조하여 본 고안의 일 실시예에 따른 이중봉수구조를 가지는 배수트랩의 각 구성부재와 그 연결관계에 대해서 상세하게 설명하기로 한다.From here, with reference to FIGS. 1 and 2, each component of the drain trap having a double seal water structure according to an embodiment of the present invention and its connection relationship will be described in detail.
본 고안의 일 실시예에 따른 이중봉수구조를 가지는 배수트랩(1)은 도 1 및 도 2에 도시되는 바와 같이, 배수트랩본체(10)와, 배수트랩지지커버(20)와, 제 1 봉수지지커버(30)와, 봉수통(40)과, 제 1 수직봉수관(50)과, 제 2 봉수지지커버(60)와, 제 2 수직봉수관(70)을 포함한다.As shown in Figures 1 and 2, the
여기서, 배수트랩본체(10)는 본 고안의 일 실시예에 따른 이중봉수구조를 가지는 배수트랩(1)의 케이싱을 형성하는 것으로, 예를 들어 욕실, 화장실, 베란다, 세탁실 등의 바닥을 형성하는 바닥콘크리트층(2)에 매립고정된다.Here, the drain trap
또한 배수트랩본체(10)의 일측에는 바닥콘크리트층(2)에 매립고정되는 배수관(6)이 연결되는 배수관연결부(11)가 돌출형성된다. 또한 배수트랩본체(10)의 상단 내측에는 후술될 배수트랩지지커버(20)가 배수트랩본체(10)에 대해 높이조절 가능하게 결합되도록 하는 결합돌기(12)가 돌출형성된다.In addition, on one side of the drain trap
전술한 배수트랩본체(10)의 상단에는 배수트랩지지커버(20)가 결합된다. 배수트랩지지커버(20)는 배수트랩본체(10)가 바닥콘크리트층(2) 상에 일정 깊이로 매립고정되도록 유도하는 역할을 하는 것으로, 바닥콘크리트층(2) 상에 노출되도록 바닥콘크리트층(2) 상에 안착지지된다.A drain
이를 위해 배수트랩지지커버(20)의 상단에는 바닥콘크리트층(2) 상에 안착지지되는 플랜지(21)가 반경방향 외측으로 돌출형성된다. 이러한 플랜지(21)는 후술될 제 1 봉수지지커버(30)를 지지하는 일종의 지지베이스를 형성하는 역할도 한다.For this purpose, a
또한 배수트랩지지커버(20)의 내측 상단에는 후술될 제 1 봉수지지커버(30)의 안착결합을 위한 안착단턱(22)이 형성된다.In addition, a
또한 배수트랩지지커버(20)는 배수트랩본체(10)에 대해 높이조절 가능하게 결합되는 것이 바람직하다. 이를 위해 배수트랩지지커버(20)의 하단 외주면에는 결합돌기(12)에 선택적으로 결합되는 다단결합홈(23)이 형성되는 것이 바람직하다. 다단결합홈(23)은 다수의 링형 홈이 상하방향으로 이격형성되는 구조를 가진다.In addition, the drain
전술한 배수트랩지지커버(20)에는 제 1 봉수지지커버(30)가 안착결합된다. 제 1 봉수지지커버(30)는 배수트랩본체(10) 내에 후술될 봉수통(40)과 제 1 수직봉수관(50)이 거치되어 제 1 봉수구조가 형성될 수 있도록 지지하는 역할을 한다.The first seal
이를 위해 제 1 봉수지지커버(30)의 중앙에는 배수트랩지지커버(20)의 안착단턱(22)에 안착결합되는 안착돌기(31)가 하향 돌출형성되고, 제 1 봉수지지커버(30)의 내측에는 봉수통(40)과 제 1 수직봉수관(50)의 거치를 위한 제 1 거치링(32)이 구비된다.For this purpose, a
또한 제 1 봉수지지커버(30)의 외측에는 물막이댐(33)이 상향 돌출형성된다. 물막이댐(33)은 배수트랩지지커버(20)의 플랜지(21)에 하단이 지지됨과 동시에 외측면이 방수층(3)이 밀착됨에 따라 본 고안의 일 실시예에 따른 이중봉수구조를 가지는 배수트랩(1)에 대해 밀착성이 우수한 방수층(3)이 용이하게 형성될 수 있도록 유도할 뿐만 아니라 타일(5)과 몰탈층(4)의 파손부위를 통해 유입되는 물이 바닥콘크리트층(2)으로 누수되는 현상이 미연에 방지될 수 있도록 한다. Additionally, a
물막이댐(33)의 높이는 본 고안의 일 실시예에 따른 이중봉수구조를 가지는 배수트랩(1)을 둘러싸는 방수층(3)의 내측 가장자리의 높이와 동일하게 형성되는 것이 바람직하다.The height of the
전술한 제 1 봉수지지커버(30)의 제 1 거치링(32)에는 봉수통(40)의 상단 가장자리가 안착지지된다. 봉수통(40)은 내부에 항상 배수되는 오수의 일부가 일정 높이로 저장됨에 따라 후술될 제 1 수직봉수관(50)의 하단이 해당 오수에 의해 폐쇄되도록 함으로써 하류의 악취가 역류하여 예를 들어 욕실, 화장실, 베란다, 세탁실 등으로 유입되는 것을 차단하는 역할을 하는 것으로, 상부면이 개방된 함체 형상으로 형성된다.The upper edge of the
봉수통(40)의 상단 가장자리에는 제 1 봉수지지커버(30)의 제 1 거치링(32)에 안착지지되는 제 1 안착플랜지(41)가 반경방향 외측으로 절곡되어 돌출형성되고, 봉수통(40)의 상측 외주면에는 봉수통(40) 내에 차오른 오수를 배수트랩본체(10)로 제공하여 배수되도록 하는 다수의 배수공(42)이 이격되어 관통형성된다.At the upper edge of the
전술한 봉수통(40)의 상단에는 제 1 수직봉수관(50)이 지지되어 봉수통(40) 내로 연장된다. 제 1 수직봉수관(50)은 전술한 봉수통(40)과 함께 통상의 봉수구조를 형성하는 것으로, 상단 가장자리에는 봉수통(40)의 제 1 안착플랜지(41) 상에 안착지지되는 제 1 안착플랜지(51)가 반경방향 외측으로 절곡되어 돌출형성되고 하단은 하향 배수는 가능하게 하면서도 봉수통(40) 내의 오수에 의해 폐쇄되어 악취의 역류를 방지하도록 개방형성된다. 이러한 제 1 수직봉수관(50)은 전체적으로 깔대기와 유사한 형상을 가진다.The first vertical
봉수통(40)과 제 1 수직봉수관(50)에 의해 형성되는 봉수구조는 종래의 배수트랩에 적용된 봉수구조와 동일하므로, 여기서는 명세서의 간략화를 위해 더 이상의 상세 설명은 생략하기로 한다.Since the water sealing structure formed by the
전술한 제 1 봉수지지커버(30)에는 제 2 봉수지지커버(60)가 상부로 이격되게 지지된다. 제 2 봉수지지커버(60)는 후술될 제 2 수직봉수관(70)이 제 1 수직봉수관(50) 내로 연장되도록 지지함으로써 이중의 봉수구조가 형성되도록 한다.The second seal
제 2 봉수지지커버(60)의 내측 가장자리에는 제 2 수직봉수관(70)의 상단 가자자리가 안착지지되는 제 2 거치링(61)이 형성되고, 제 2 봉수지지커버(60)의 하부에는 이격지지링(62)이 구비된다. 이격지지링(62)은 제 2 봉수지지커버(60)를 제 1 봉수지지커버(30)로부터 상부로 이격되어 지지도도록 하는 것으로, 하단은 제 1 봉수지지커버(30)의 플랜지(21)에 지지되고 상단은 제 2 봉수지지커버(60)의 하단을 지지한다. A
전술한 제 2 봉수지지커버(60)의 내측 가장자리에는 제 2 수직봉수관(70) 지지되어 제 1 수직봉수관(50) 내로 연장된다. 제 2 수직봉수관(70)은 봉수통(40) 및 제 1 수직봉수관(50)과 함께 배수트랩본체(10) 내에 이중의 봉수구조가 형성되도록 하는 것으로, 상단 가장자리에는 제 2 봉수지지커버(60)의 내측 가장자리 상에 안착지지되는 지지돌기가 하향 돌출형성되고 하단은 하향 배수는 가능하게 하면서도 봉수통(40) 내의 오수에 의해 폐쇄되어 악취의 역류를 방지하도록 개방형성된다. 이러한 제 2 수직봉수관(70)은 제 1 수직봉수관(50)과 마찬가지로 전체적으로 깔대기와 유사한 형상을 가진다.The second vertical
전술한 제 1 봉수지지커버(30)의 내주면에는 가압고정링(80)이 결합된다. 가압고정링(80)은 봉수통(40)의 1 안착플랜지(41)와 제 1 수직봉수관(50)의 제 2 안착플랜지(51)를 제 1 거치링(32)에 대해 가압고정시키는 역할을 한다. A
가압고정링(80)의 결합을 위해 제 1 봉수지지커버(30)의 내주면에는 가압고정링(80)의 반경방향 외측단부가 결합되는 결합홈이 합입형성되는 것이 바람직하다.For coupling the
전술한 바와 같은 본 고안의 일 실시예에 따른 이중봉수구조를 가지는 배수트랩(1)의 경우에는 배수트랩본체(10) 내에 구비된 봉수통(40) 내에 제 1 수직봉수관(50)이 거치되고 제 1 수직봉수관(50) 내에 또 다시 제 2 수직봉수관(70)이 거치되는 이중의 봉수구조가 구비됨에 따라 악취의 역류가 더욱 효과적으로 방지될 수 있고, 배수트랩지지커버(20) 상에 안착되는 제 1 봉수지지커버(30)에 의해 배수트랩본체(10) 내의 악취가 누출되는 것이 방지될 수 있으며, 제 1 봉수지지커버(30)의 외측에 물막이댐(33)이 돌출형성됨에 따라 밀착성이 우수한 방수층이 용이하게 형성될 수 있을 뿐만 아니라 타일(5)과 몰탈층(4)의 파손부위를 통해 유입되는 물이 바닥콘크리트층(2)으로 누수되는 현상이 방지될 수 있는 장점이 있다.In the case of the drain trap (1) having a double seal water structure according to an embodiment of the present invention as described above, the first vertical seal pipe (50) is mounted in the seal water tank (40) provided in the drain trap main body (10). As a double sealing structure is provided in which the second vertical sealing pipe (70) is mounted within the first vertical sealing pipe (50), the backflow of odor can be more effectively prevented, and the drain trap support cover (20) Leakage of odors in the drain trap
다시 말해서 본 고안의 일 실시예에 따른 이중봉수구조를 가지는 배수트랩(1)이 욕실, 화장실, 베란다, 세탁실 등의 바닥에 설치될 경우에는 봉수통(40), 제 1 및 제 2 수직봉수관(50, 70)으로 형성되는 이중의 봉수구조에 의해 악취 차단효과가 증대되고 물막이댐(33)이 돌출형성된 제 1 봉수지지커버(30)에 의해 방수층(3)의 밀착형성이 용이해짐과 동시에 바닥콘크리트층(2)으로의 누수현상이 방치될 수 있는 장점이 있다.In other words, when the drain trap (1) having a double seal water structure according to an embodiment of the present invention is installed on the floor of a bathroom, toilet, veranda, laundry room, etc., the water seal tank (40), the first and second vertical water seal pipes The double sealing structure formed by (50, 70) increases the odor blocking effect, and the first sealing
위에서 몇몇의 실시예가 예시적으로 설명되었음에도 불구하고, 본 고안이 이의 취지 및 범주에서 벗어남 없이 다른 여러 형태로 구체화될 수 있다는 사실은 해당 기술에 통상의 지식을 가진 이들에게는 자명한 것이다. 따라서 상술 된 실시예는 제한적인 것이 아닌 예시적인 것으로 여겨져야 하며, 첨부된 청구항 및 이의 동등 범위 내의 모든 실시에는 본 고안의 범주 내에 포함된다고 할 것이다.Although several embodiments have been described above as examples, it is obvious to those skilled in the art that the present invention can be embodied in various other forms without departing from the spirit and scope thereof. Accordingly, the above-described embodiments should be considered illustrative rather than restrictive, and the appended claims and all implementations within the equivalent scope thereof will be included within the scope of the present invention.
1 : 이중봉수구조를 가지는 배수트랩
2 : 바닥콘크리트층
3 : 방수층
4 : 몰탈층
5 : 타일
6 : 배수관
10 : 배수트랩본체
11 : 배수관연결부
12 : 결합돌기
20 : 배수트랩지지커버
21 : 플랜지
22 : 안착단턱
23 : 다단결합홈
30 : 제 1 봉수지지커버
31 : 안착돌기
32 : 제 1 거치링
33 : 물막이댐
40 : 봉수통
41 : 제 1 안착플랜지
42 : 배수공
50 : 제 1 수직봉수관
51 : 제 2 안착플랜지
60 : 제 2 봉수지지커버
61 : 제 2 거치링
62 : 이격지지링
70 : 제 2 수직봉수관
80 : 가압고정링1: Drainage trap with double seal structure
2: Floor concrete layer
3: Waterproof layer
4: mortar layer
5: Tiles
6: drain pipe
10: Drain trap body
11: Drain pipe connection part
12: Combined protrusion
20: Drain trap support cover
21: flange
22: Seating step
23: Multi-stage combining groove
30: 1st seal resin support cover
31: Seating protrusion
32: 1st mounting ring
33: Water dam
40: Bong water container
41: 1st seating flange
42: drainage hole
50: 1st vertical sealing pipe
51: 2nd seating flange
60: 2nd seal resin support cover
61: 2nd holding ring
62: Separated support ring
70: 2nd vertical sealing pipe
80: Pressure fixing ring
Claims (5)
상기 배수트랩본체(10)의 상단에 결합되고 상단에는 바닥콘크리트층(2) 상에 안착지지되는 플랜지(21)가 반경방향 외측으로 돌출되는 배수트랩지지커버(20);
상기 배수트랩지지커버(20)에 안착결합되고 내측에는 제 1 거치링(32)이 구비되며 외측에는 상기 플랜지(21)에 하단이 지지되고 방수층(3)이 밀착되는 물막이댐(33)이 상향 돌출형성되는 제 1 봉수지지커버(30);
상기 제 1 봉수지지커버(30)의 제 1 거치링(32)에 상단 가장자리가 안착지지되고 상측 외주면에는 배수공(42)이 이격형성되는 봉수통(40);
상기 봉수통(40)의 상단에 지지되어 상기 봉수통(40) 내로 연장되며 하단은 개방형성되는 제 1 수직봉수관(50);
상기 제 1 봉수지지커버(30)에 이격지지되는 제 2 봉수지지커버(60); 및
상기 제 2 봉수지지커버(60)의 내측 가장자리에 지지되어 상기 제 1 수직봉수관(50) 내로 연장되고 하단은 개방형성되는 제 2 수직봉수관(70)을 포함하는 이중봉수구조를 가지는 배수트랩.A drain trap body (10) embedded and fixed in the floor concrete layer (2) and connected to a drain pipe (6) on one side;
A drain trap support cover (20) coupled to the top of the drain trap main body (10) and having a flange (21) seated and supported on the floor concrete layer (2) at the top protrudes radially outward;
It is seated and coupled to the drain trap support cover 20 and is provided with a first mounting ring 32 on the inside. On the outside, a water dam 33, the lower end of which is supported by the flange 21 and the waterproof layer 3 in close contact, is upward. A first seal resin support cover (30) formed to protrude;
A bong water tank (40) whose upper edge is seated and supported on the first mounting ring (32) of the first bong resin support cover (30) and a drain hole (42) is formed at an upper outer peripheral surface to be spaced apart;
A first vertical sealing pipe (50) supported on the upper end of the bong water container (40), extending into the bong water container (40) and having an open lower end;
a second seal resin support cover (60) supported at a distance from the first seal resin support cover (30); and
A drain trap having a double sealing structure including a second vertical sealing water pipe (70) supported on the inner edge of the second sealing water support cover (60), extending into the first vertical sealing water pipe (50), and having an open lower end. .
상기 배수트랩본체(10)의 상단 내측에는 결합돌기(12)가 돌출형성되고 상기 배수트랩지지커버(20)의 하단 외주면에는 결합돌기(12)에 선택적으로 결합되는 다단결합홈(23)이 형성되는 것을 특징으로 하는 이중봉수구조를 가지는 배수트랩. In claim 1,
A coupling protrusion 12 is formed protruding on the upper inner side of the drain trap main body 10, and a multi-stage coupling groove 23 that is selectively coupled to the coupling protrusion 12 is formed on the lower outer peripheral surface of the drain trap support cover 20. A drain trap with a double seal water structure.
상기 배수트랩지지커버(20)의 내측 상단에는 안착단턱(22)이 형성되고 상기 제 1 봉수지지커버(30)의 중앙에는 상기 배수트랩지지커버(20)의 안착단턱(22)에 안착결합되는 안착돌기(31)가 하향 돌출형성되는 것을 특징으로 하는 이중봉수구조를 가지는 배수트랩. In claim 1,
A seating step 22 is formed at the inner top of the drain trap support cover 20, and a seating step 22 is formed at the center of the first water seal support cover 30 and is seated and coupled to the seating step 22 of the drain trap support cover 20. A drain trap with a double seal water structure, characterized in that the seating protrusion (31) is formed to protrude downward.
상기 제 2 봉수지지커버(60)의 하부에는 상기 제 1 봉수지지커버(30)의 플랜지(21)에 지지되는 이격지지링(62)이 구비되는 것을 특징으로 하는 이중봉수구조를 가지는 배수트랩. In claim 1,
A drain trap having a double seal structure, characterized in that a spaced support ring (62) supported by the flange (21) of the first seal resin support cover (30) is provided at the lower part of the second seal support cover (60).
상기 제 1 봉수지지커버(30)의 내주면에 결합되고 상기 봉수통(40)과 상기 제 1 수직봉수관(50)을 상기 1 거치링(32)에 대해 가압고정시키는 가압고정링(80)을 더 포함하는 것을 특징으로 하는 이중봉수구조를 가지는 배수트랩.The method according to any one of claims 1 to 3.
A pressure fixing ring (80) is coupled to the inner peripheral surface of the first sealing resin support cover (30) and pressurizes and fixes the sealing water container (40) and the first vertical sealing water pipe (50) to the first mounting ring (32). A drain trap having a double seal water structure, characterized in that it further includes.
Priority Applications (1)
| Application Number | Priority Date | Filing Date | Title |
|---|---|---|---|
| KR2020220000624U KR200498908Y1 (en) | 2022-03-11 | 2022-03-11 | Drain trap with double water sealing structure |
Applications Claiming Priority (1)
| Application Number | Priority Date | Filing Date | Title |
|---|---|---|---|
| KR2020220000624U KR200498908Y1 (en) | 2022-03-11 | 2022-03-11 | Drain trap with double water sealing structure |
Publications (2)
| Publication Number | Publication Date |
|---|---|
| KR20230001827U true KR20230001827U (en) | 2023-09-19 |
| KR200498908Y1 KR200498908Y1 (en) | 2025-03-12 |
Family
ID=88190361
Family Applications (1)
| Application Number | Title | Priority Date | Filing Date |
|---|---|---|---|
| KR2020220000624U Active KR200498908Y1 (en) | 2022-03-11 | 2022-03-11 | Drain trap with double water sealing structure |
Country Status (1)
| Country | Link |
|---|---|
| KR (1) | KR200498908Y1 (en) |
Cited By (1)
| Publication number | Priority date | Publication date | Assignee | Title |
|---|---|---|---|---|
| KR102807181B1 (en) * | 2024-10-02 | 2025-05-16 | 주식회사 드레인필터 | Drain cover |
Citations (6)
| Publication number | Priority date | Publication date | Assignee | Title |
|---|---|---|---|---|
| KR20030012778A (en) * | 2001-11-16 | 2003-02-12 | 도남호 | draining traps |
| KR200327222Y1 (en) | 2003-06-07 | 2003-09-19 | 오주훈 | An apparatus for draining |
| KR20140049329A (en) * | 2012-10-17 | 2014-04-25 | 주식회사 대하기업 | Drain trap |
| KR20170002282U (en) | 2015-12-17 | 2017-06-27 | 주식회사 경동하이테크 | Floor drain apparatus |
| CN210164026U (en) * | 2019-05-10 | 2020-03-20 | 浙江中财管道科技股份有限公司 | Double-layer drainage floor drain for assembly type dry construction |
| KR20210047737A (en) * | 2019-10-22 | 2021-04-30 | 서대하 | Draining trap for bathroom bottom |
-
2022
- 2022-03-11 KR KR2020220000624U patent/KR200498908Y1/en active Active
Patent Citations (6)
| Publication number | Priority date | Publication date | Assignee | Title |
|---|---|---|---|---|
| KR20030012778A (en) * | 2001-11-16 | 2003-02-12 | 도남호 | draining traps |
| KR200327222Y1 (en) | 2003-06-07 | 2003-09-19 | 오주훈 | An apparatus for draining |
| KR20140049329A (en) * | 2012-10-17 | 2014-04-25 | 주식회사 대하기업 | Drain trap |
| KR20170002282U (en) | 2015-12-17 | 2017-06-27 | 주식회사 경동하이테크 | Floor drain apparatus |
| CN210164026U (en) * | 2019-05-10 | 2020-03-20 | 浙江中财管道科技股份有限公司 | Double-layer drainage floor drain for assembly type dry construction |
| KR20210047737A (en) * | 2019-10-22 | 2021-04-30 | 서대하 | Draining trap for bathroom bottom |
Cited By (1)
| Publication number | Priority date | Publication date | Assignee | Title |
|---|---|---|---|---|
| KR102807181B1 (en) * | 2024-10-02 | 2025-05-16 | 주식회사 드레인필터 | Drain cover |
Also Published As
| Publication number | Publication date |
|---|---|
| KR200498908Y1 (en) | 2025-03-12 |
Similar Documents
| Publication | Publication Date | Title |
|---|---|---|
| RU2613230C2 (en) | Waste water drain with trap | |
| KR20230001827U (en) | Drain trap with double water sealing structure | |
| CN111173084A (en) | Accumulated water remover | |
| CN212001512U (en) | Multifunctional environment-friendly floor drain | |
| KR101273417B1 (en) | Sewer of flowing backward protection type pass through apartmentveranda | |
| CN106869289B (en) | Building same-layer drainage floor drain | |
| KR101177495B1 (en) | draining trap | |
| JP3460056B2 (en) | Drain trap | |
| KR101333988B1 (en) | Vent Trap Available in Several Type of Sewage and Waste Water Pipe | |
| KR200498494Y1 (en) | Drain trench with double water sealing structure | |
| CN209975682U (en) | Whole bathroom chassis side row system | |
| KR102681524B1 (en) | vent trap | |
| KR102754146B1 (en) | Drains with improved waterproof junction | |
| KR101181937B1 (en) | Piping connection structure of multiple trap | |
| CN216108898U (en) | Anti-blocking floor drain | |
| CN217352814U (en) | Water seal type floor drain | |
| KR102831468B1 (en) | flow drain for layered piping | |
| KR102370423B1 (en) | Siphon floor drain | |
| KR20240174450A (en) | Sleeve for Drain Trap | |
| CN211368895U (en) | Water draining device | |
| CN213448722U (en) | Toilet basin pool urinal deodorization drainer | |
| KR200305922Y1 (en) | Connecting floor for drainage pipe | |
| KR101630236B1 (en) | waterproof cap for draining trap | |
| CN113431166A (en) | Floor drain | |
| CN107044153A (en) | The pre-buried water seal slot type deodorization accumulated water treating system of Multi-purpose indoor structural slab |
Legal Events
| Date | Code | Title | Description |
|---|---|---|---|
| UA0108 | Application for utility model registration |
St.27 status event code: A-0-1-A10-A12-nap-UA0108 |
|
| UA0201 | Request for examination |
St.27 status event code: A-1-2-D10-D11-exm-UA0201 |
|
| UG1501 | Laying open of application |
St.27 status event code: A-1-1-Q10-Q12-nap-UG1501 |
|
| D13-X000 | Search requested |
St.27 status event code: A-1-2-D10-D13-srh-X000 |
|
| D14-X000 | Search report completed |
St.27 status event code: A-1-2-D10-D14-srh-X000 |
|
| E902 | Notification of reason for refusal | ||
| UE0902 | Notice of grounds for rejection |
St.27 status event code: A-1-2-D10-D21-exm-UE0902 |
|
| T11-X000 | Administrative time limit extension requested |
St.27 status event code: U-3-3-T10-T11-oth-X000 |
|
| E13-X000 | Pre-grant limitation requested |
St.27 status event code: A-2-3-E10-E13-lim-X000 |
|
| P11-X000 | Amendment of application requested |
St.27 status event code: A-2-2-P10-P11-nap-X000 |
|
| P13-X000 | Application amended |
St.27 status event code: A-2-2-P10-P13-nap-X000 |
|
| E701 | Decision to grant or registration of patent right | ||
| UE0701 | Decision of registration |
St.27 status event code: A-1-2-D10-D22-exm-UE0701 |
|
| UR0701 | Registration of establishment |
St.27 status event code: A-2-4-F10-F11-exm-UR0701 |
|
| UR1002 | Payment of registration fee |
St.27 status event code: A-2-2-U10-U11-oth-UR1002 Fee payment year number: 1 |
|
| UG1601 | Publication of registration |
St.27 status event code: A-4-4-Q10-Q13-nap-UG1601 |
