KR20220114874A - 금속 주름관의 연결구조 - Google Patents

금속 주름관의 연결구조 Download PDF

Info

Publication number
KR20220114874A
KR20220114874A KR1020210018430A KR20210018430A KR20220114874A KR 20220114874 A KR20220114874 A KR 20220114874A KR 1020210018430 A KR1020210018430 A KR 1020210018430A KR 20210018430 A KR20210018430 A KR 20210018430A KR 20220114874 A KR20220114874 A KR 20220114874A
Authority
KR
South Korea
Prior art keywords
connecting member
metal
pipe
corrugated pipe
packing
Prior art date
Legal status (The legal status is an assumption and is not a legal conclusion. Google has not performed a legal analysis and makes no representation as to the accuracy of the status listed.)
Granted
Application number
KR1020210018430A
Other languages
English (en)
Other versions
KR102561511B1 (ko
Inventor
신화옥
Original Assignee
주식회사 두본후렉시블
Priority date (The priority date is an assumption and is not a legal conclusion. Google has not performed a legal analysis and makes no representation as to the accuracy of the date listed.)
Filing date
Publication date
Application filed by 주식회사 두본후렉시블 filed Critical 주식회사 두본후렉시블
Priority to KR1020210018430A priority Critical patent/KR102561511B1/ko
Priority to US17/666,253 priority patent/US20220252190A1/en
Publication of KR20220114874A publication Critical patent/KR20220114874A/ko
Application granted granted Critical
Publication of KR102561511B1 publication Critical patent/KR102561511B1/ko
Active legal-status Critical Current
Anticipated expiration legal-status Critical

Links

Images

Classifications

    • FMECHANICAL ENGINEERING; LIGHTING; HEATING; WEAPONS; BLASTING
    • F16ENGINEERING ELEMENTS AND UNITS; GENERAL MEASURES FOR PRODUCING AND MAINTAINING EFFECTIVE FUNCTIONING OF MACHINES OR INSTALLATIONS; THERMAL INSULATION IN GENERAL
    • F16LPIPES; JOINTS OR FITTINGS FOR PIPES; SUPPORTS FOR PIPES, CABLES OR PROTECTIVE TUBING; MEANS FOR THERMAL INSULATION IN GENERAL
    • F16L33/00Arrangements for connecting hoses to rigid members; Rigid hose-connectors, i.e. single members engaging both hoses
    • F16L33/24Arrangements for connecting hoses to rigid members; Rigid hose-connectors, i.e. single members engaging both hoses with parts screwed directly on or into the hose
    • FMECHANICAL ENGINEERING; LIGHTING; HEATING; WEAPONS; BLASTING
    • F16ENGINEERING ELEMENTS AND UNITS; GENERAL MEASURES FOR PRODUCING AND MAINTAINING EFFECTIVE FUNCTIONING OF MACHINES OR INSTALLATIONS; THERMAL INSULATION IN GENERAL
    • F16LPIPES; JOINTS OR FITTINGS FOR PIPES; SUPPORTS FOR PIPES, CABLES OR PROTECTIVE TUBING; MEANS FOR THERMAL INSULATION IN GENERAL
    • F16L33/00Arrangements for connecting hoses to rigid members; Rigid hose-connectors, i.e. single members engaging both hoses
    • F16L33/26Arrangements for connecting hoses to rigid members; Rigid hose-connectors, i.e. single members engaging both hoses specially adapted for hoses made of metal
    • FMECHANICAL ENGINEERING; LIGHTING; HEATING; WEAPONS; BLASTING
    • F16ENGINEERING ELEMENTS AND UNITS; GENERAL MEASURES FOR PRODUCING AND MAINTAINING EFFECTIVE FUNCTIONING OF MACHINES OR INSTALLATIONS; THERMAL INSULATION IN GENERAL
    • F16LPIPES; JOINTS OR FITTINGS FOR PIPES; SUPPORTS FOR PIPES, CABLES OR PROTECTIVE TUBING; MEANS FOR THERMAL INSULATION IN GENERAL
    • F16L25/00Construction or details of pipe joints not provided for in, or of interest apart from, groups F16L13/00 - F16L23/00
    • F16L25/0036Joints for corrugated pipes
    • FMECHANICAL ENGINEERING; LIGHTING; HEATING; WEAPONS; BLASTING
    • F16ENGINEERING ELEMENTS AND UNITS; GENERAL MEASURES FOR PRODUCING AND MAINTAINING EFFECTIVE FUNCTIONING OF MACHINES OR INSTALLATIONS; THERMAL INSULATION IN GENERAL
    • F16LPIPES; JOINTS OR FITTINGS FOR PIPES; SUPPORTS FOR PIPES, CABLES OR PROTECTIVE TUBING; MEANS FOR THERMAL INSULATION IN GENERAL
    • F16L33/00Arrangements for connecting hoses to rigid members; Rigid hose-connectors, i.e. single members engaging both hoses
    • F16L33/22Arrangements for connecting hoses to rigid members; Rigid hose-connectors, i.e. single members engaging both hoses with means not mentioned in the preceding groups for gripping the hose between inner and outer parts
    • F16L33/223Arrangements for connecting hoses to rigid members; Rigid hose-connectors, i.e. single members engaging both hoses with means not mentioned in the preceding groups for gripping the hose between inner and outer parts the sealing surfaces being pressed together by means of a member, e.g. a swivel nut, screwed on or into one of the joint parts

Landscapes

  • Engineering & Computer Science (AREA)
  • General Engineering & Computer Science (AREA)
  • Mechanical Engineering (AREA)
  • Joints That Cut Off Fluids, And Hose Joints (AREA)

Abstract

일측 외주면에 제1연결부재나사산이 형성되고, 상기 제1연결부재나사산이 형성된 영역의 내측에는 제1연결부재내측가이드직관과 제1연결부재내측경사관이 형성된 제1연결부재, 상기 제1연결부재의 제1연결부재내측가이드직관과 제1연결부재내측경사관으로 삽입되는 금속주름관, 상기 금속주름관의 외측에 끼워지고 상기 제1연결부재와 나사 결합되며, 내측에 제2연결부재나사산 및, 제2연결부재경사면 또는 제2연결부재직각면이 형성된 제2연결부재, 상기 금속 주름관의 외측에 끼워져, 제1연결부재내측가이드직관과 제1연결부재내측경사관으로 삽입되면서, 곡면을 이루며 축관되는 금속패킹 및, 상기 금속주름관 외측의 골에 끼워지며, 금속패킹을 고정하여, 금속패킹이 이탈되지 않도록 고정하는 이탈방지금속링을 포함하는 것을 특징으로 하는 금속주름관의 연결구조에 관한 것이다.

Description

금속 주름관의 연결구조 {Connection structure of metal corrugated pipe}
본 발명은 금속 주름관의 연결구조에 관한 것으로, 더 자세하게는 보일러 등에서 유체 이송에 사용되는 금속주름관을 나사 결합되는 두 연결부재에 의해 연결하는 연결구조에 있어서, 금속주름관의 외측에는 금속패킹이 형성되고, 금속패킹의 외측으로 두 연결부재가 서로 결합되며, 두 연결부재가 결합되는 힘에 의해 금속패킹이 조여지도록 함으로써 유체의 누출을 차단하도록 한 금속 주름관의 연결구조에 관한 것이다.
일반적으로, 금속주름관은 길이방향을 따라 산과 골이 연속적으로 반복되는 주름 형태로 형성되며, 외면이 주름구조로 형성된 특성상 원하는 각도록 구부리기 용이하여 다양한 용도의 배관으로 사용된다.
이러한 금속주름관은 가스를 연료로 사용하는 보일러, 오븐기, 건조기, 가열기 등에 가스를 공급하는 공급관으로 주로 사용된다. 따라서, 금속주름관은 고온의 장치에 이용되는 바, 고온에 견딜 수 있도록 우수한 내열성 소재로 형성된다.
한편, 금속주름관은 다른 금속주름관과 연결되거나, 보일러 등의 장치와 직접적으로 연결될 수 있다.
상기와 같은 금속주름관을 다른 금속주름관이나 보일러 등의 장치에 연결하기 위해서는, 금속주름관의 단부 외측에 나사산을 갖는 두 연결부재를 서로 나사 결합하며, 금속주름관이 서로 연결된 두 연결부재로부터 빠져나가지 않도록 하는 고정수단을 추가로 구비한다.
이와 같은 종래의 기술로, 대한민국 실용신안 제20-1995-0033769호가 개시된 바 있는데, 이는 소켓관의 단부내에 급테이퍼면과 완테이퍼면을 형성하고, 실리콘 패킹을, 소켓관의 급테이퍼면과 완테이퍼면에 압착할 수 있는 외면과 피복주름관의 피복체와 주름관 외면에 걸쳐 압착될 수 있는 내면이 형성되도록 구성하며, 실리콘 패킹을 압축함과 동시에 주름관의 골을 조일 수 있는 금속링을 비정형의 원형단면을 갖는 개방고리상으로 하고, 조임너트의 링접촉면을 금속링과 선접촉되도록 형성한 것이다.
그러나, 상기 종래의 기술은 패킹이 연질의 재질로 형성되어 주름관의 골을 메우도록 하는 방식인 바, 고온과 고압의 설비를 다루는 분야에는 적용되기 곤란하다는 문제점이 있었고, 장시간 압축된 경우에는 연질의 재질이 경화되고 본연의 탄성율이 저하되어 외부의 충격과 진동에 의해 기밀유지가 떨어지는 단점이 있었다.
대한민국 공개실용신안공보 제20-1995-0033769호(1995.12.18.공개), "피복금속주름관 이음쇠"
상기와 같은 문제점을 개선하기 위하여 본 발명은, 나사 결합되는 두 연결부재에 의해 금속주름관을 연결하는 연결구조에 있어서, 금속주름관의 외측에는 금속패킹이 형성되고, 금속패킹의 외측으로 두 연결부재가 서로 결합되며, 두 연결부재가 결합되는 힘에 의해 금속패킹이 조여지되, 일측 연결부재의 내주연이 곡면으로 지름이 줄어들어, 이와 결합되는 금속패킹 역시 곡면으로 축관되도록 함으로써 물, 액체, 가스 등의 유체 누출을 효율적으로 방지할 수 있도록 한 금속 주름관의 연결구조를 제공하는데 목적이 있다.
또한, 본 발명은 금속패킹의 단면과, 이탈방지링 및 어느 한 연결부재의 경사면에 마찰면이 형성되어, 연결부재의 회전에 의해 이탈방지링을 기준으로 다른 연결부재를 끌어당김으로 금속패킹의 겉표면과 연결부재의 경사면에 미끄럼 마찰을 하면서 결합이 되는 금속주름관의 연결 구조를 제공하는데 목적이 있다.
상기와 같은 과제를 달성하기 위하여 본 발명은, 일측 외주면에 제1연결부재나사산이 형성되고, 상기 제1연결부재나사산이 형성된 영역의 내측에는 제1연결부재내측가이드직관과 제1연결부재내측경사관이 형성된 제1연결부재; 상기 제1연결부재의 제1연결부재내측가이드직관과 제1연결부재내측경사관으로 삽입되는 금속주름관; 상기 금속주름관의 외측에 끼워지고 상기 제1연결부재와 나사 결합되며, 내측에 제2연결부재나사산 및, 제2연결부재경사면 또는 제2연결부재직각면이 형성된 제2연결부재; 상기 금속 주름관의 외측에 끼워져, 제1연결부재내측가이드직관과 제1연결부재내측경사관으로 삽입되면서, 곡면을 이루며 축관되는 금속패킹 및, 상기 금속주름관 외측의 골에 끼워지며, 금속패킹을 고정하여, 금속패킹이 이탈되지 않도록 고정하는 이탈방지금속링을 포함하는 것을 특징으로 하는 금속주름관의 연결구조를 제공한다.
또한, 상기 금속패킹은 구리를 포함하는 금속 소재인 것을 특징으로 한다.
또한, 상기 제1연결부의 제1연결부재내측가이드직관과 제1연결부재내측경사관은, 금속주름관이 삽입되는 내측 방향으로 곡면을 이루면서 지름이 축소되는 것을 특징으로 한다.
또한, 상기 제1연결부재내측가이드직관과 제1연결부재내측경사관의 내벽에는 각각 제1연결부재가이드직면 및 제1연결부재곡경사면이 형성되는 것을 특징으로 한다.
또한, 상기 금속패킹은, 상기 제1연결부재내측가이드직관과 제1연결부재내측경사관으로 삽입되어, 곡면을 이루면서 지름이 축소되는 것을 특징으로 한다.
또한, 상기 금속주름관은 곡면으로 축관되는 금속패킹에 의해, 곡면을 이루면서 지름이 축소되는 것을 특징으로 한다.
또한, 상기 금속패킹의 단면과, 이탈방지링 및 제2연결부재경사면에는 마찰면이 형성되어, 상기 제2연결부재를 회전시켜 이탈방지링을 기준으로 제1연결부재가 이탈방지링 쪽으로 당겨지면서 금속패킹이 제1연결부재 경사면에 삽입되고 축관되는 것을 특징으로 한다.
본 발명에 따른 금속 주름관의 연결구조는, 나사 결합되는 두 연결부재에 의해 금속주름관을 연결하는 연결구조에 있어서, 금속주름관의 외측에는 금속패킹이 형성되고, 금속패킹의 외측으로 두 연결부재가 서로 결합되며, 두 연결부재가 결합되는 힘에 의해 금속패킹이 조여지되, 일측 연결부재의 내주연이 곡면으로 지름이 줄어들어, 이와 결합되는 금속패킹 역시 곡면으로 축관되도록 함으로써 물, 액체, 가스 등의 유체 누출을 더 효율적으로 방지할 수 있다.
또한, 본 발명에 따른 금속 주름관의 연결구조는 금속패킹의 단면과, 이탈방지링 및 어느 한 연결부재의 경사면에 마찰면이 형성되어, 제2연결부재를 회전시켜 이탈방지링을 기점으로 제1연결부재와 결합하면서 금속패킹이 제1연결부재의 가이드직관과 경사면에 미끄럼 마찰을 하면서 삽입되고, 이에 따라 금속패킹이 축관이 되고, 또한, 금속패킹이 축관되는 힘에 의해 금속주름관도 축관이 되면서 금속주름관과 금속패킹이 밀착이 되는 효과를 갖는다.
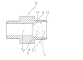
도 1은 본 발명의 실시예에 따른 금속주름관의 연결구조가 결합되기 전의 상태를 나타낸 사시도.
도 2는 본 발명의 실시예에 따른 금속주름관의 연결구조가 결합되기 전의 상태를 나타낸 단면도.
도 3은 본 발명의 실시예에 따른 제1연결부재의 단면도.
도 4는 본 발명의 실시예에 따른 제2연결부재의 단면도.
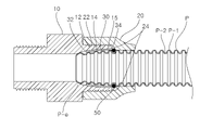
도 5는 본 발명의 실시예에 따른 금속주름관의 연결구조가 결합된 상태를 나타낸 사시도.
도 6는 본 발명의 실시예에 따른 금속주름관의 연결구조가 결합된 상태의 단면도.
이하의 본 발명에 관한 상세한 설명들은 본 발명이 실시될 수 있는 실시 예이고 해당 실시 예의 예시로써 도시된 첨부 도면을 참조한다. 이들 실시 예는 당 업자가 본 발명의 실시에 충분하도록 상세히 설명된다. 본 발명의 다양한 실시 예는 서로 다르지만 상호 배타적일 필요는 없음이 이해되어야 한다. 예를 들어, 여기에 기재되어 있는 특정 형상, 구조 및 특성은 일 실시 예에 관련하여 본 발명의 사상 및 범위를 벗어나지 않으면서 다른 실시 예로 구현될 수 있다. 또한, 각각의 기재된 실시 예 내의 개별 구성요소의 위치 또는 배치는 본 발명의 사상 및 범위를 벗어나지 않으면서 변경될 수 있음이 이해되어야 한다.
따라서 후술되는 상세한 설명은 한정적인 의미로서 취하려는 것이 아니며, 본 발명의 범위는 적절하게 설명된다면 그 청구항들이 주장하는 것과 균등한 모든 범위와 더불어 첨부된 청구항에 의해서만 한정된다. 도면에서 유사한 참조부호는 여러 측면에 걸쳐서 동일하거나 유사한 기능을 지칭한다.
본 발명에서 사용되는 용어는 본 발명에서의 기능을 고려하면서 가능한 현재 널리 사용되는 일반적인 용어들을 선택하였으나, 이는 당 분야에 종사하는 기술자의 의도 또는 판례, 새로운 기술의 출현 등에 따라 달라질 수 있다. 또한, 특정한 경우는 출원인이 임의로 선정한 용어도 있으며, 이 경우 해당되는 발명의 설명 부분에서 상세히 그 의미를 기재할 것이다. 따라서 본 발명에서 사용되는 용어는 단순한 용어의 명칭이 아닌, 그 용어가 가지는 의미와 본 발명의 전반에 걸친 내용을 토대로 정의되어야 한다.
본 발명에서 어떤 부분이 어떤 구성요소를 “포함”한다고 할 때, 이는 특별히 반대되는 기재가 없는 한, 다른 구성요소를 제외하는 것이 아니라 다른 구성요소를 더 포함할 수 있음을 의미한다.
이하, 첨부된 도면을 참조하여, 금속주름관(P)을 다른 금속주름관 또는 보일러 등의 장치에 연결하기 위한 금속주름관의 연결구조에 대하여 자세히 설명한다.
도 1은 본 발명의 실시예에 따른 금속주름관의 연결구조가 결합되기 전의 상태를 나타낸 사시도며, 도 2는 본 발명의 실시예에 따른 금속주름관의 연결구조가 결합되기 전의 상태를 나타낸 단면도고, 도 3은 본 발명의 실시예에 따른 제1연결부재의 단면도며, 도 4는 본 발명의 실시예에 따른 제2연결부재의 단면도고, 도 5는 본 발명의 실시예에 따른 금속주름관의 연결구조가 결합된 상태를 나타낸 사시도며, 도 6는 본 발명의 실시예에 따른 금속주름관의 연결구조가 결합된 상태의 단면도다.
도 1 내지 도 6에 도시된 바와 같이, 본 발명에 따른 금속주름관의 연결구조는, 일측 외주면에 제1연결부재나사산(12)이 형성되고 상기 제1연결부재나사산(12)이 형성된 영역의 내측에는 제1연결부재내측가이드직관(11c)과 제1연결부재내측경사관(11b)이 형성된 제1연결부재(10)와, 상기 제1연결부재(10)의 제1연결부재내측가이드직관(11c)과 제1연결부재내측경사관(11b)으로 삽입되는 금속주름관(P), 상기 금속주름관(P)의 외측에 끼워지고 상기 제1연결부재(P)와 나사 결합되며 내측에 제2연결부재나사산(22) 및 제2연결부재경사면(24) 또는 제2연결부재직각면(미도시)이 형성된 제2연결부재(20), 상기 금속주름관(P)의 외측에 끼워져 제1연결부재내측가이드직관(11c)과 제1연결부재내측경사관(11b)으로 삽입되면서 곡면을 이루며 축관되는 금속패킹(30) 및, 상기 금속주름관(P) 외측의 골(P-2)에 끼워지며 금속패킹(30)을 고정하여 금속패킹(30)이 이탈되지 않도록 고정하는 이탈방지금속링(50)을 포함한다.
상기 제1연결부재(10)는 금속주름관(P) 및 금속패킹(30)이 내부로 삽입되어 고정되는 구성이다. 금속주름관(P) 및 금속패킹(30)이 내부로 삽입되어 고정될 수 있도록, 상기 제1연결부재(10)는 관형으로 이루어진다.
또한, 상기 제1연결부재(10)의 일측 외주연에는 제2연결부재(20)와의 결합을 위한 제1연결부재나사산(12)이 형성된다.
한편, 상기 제1연결부재(10)의 내부에는, 도 2 내지 도 3에 도시된 바와 같이, 제1연결부재내측관(11)이 형성되는데, 제1연결부재내측관(11)은 단면의 형상이 직선 형상을 갖는 제1연결부재내측직관(11a)과 단면의 형상이 테이퍼진 형상을 갖는 제1연결부재내측경사관(11b), 그리고, 금속패킹(30)의 가이드 역할을 하며 직관형상을 갖는 제1연결부재내측가이드직관(11c)으로 구분될 수 있다.
상기 제1연결부재내측가이드직관(11c)과 제1연결부재내측경사관(11b)은 단면이 경사지도록 형성되어야 하고, 그 각도는, 도 2에 도시된 바와 같이, 제1연결부재내측직관(11a)에 대해 1° ~ 10°인 것이 바람직하다. 이는 제1연결부재(10)에 대하여 금속패킹(30) 및 금속주름관(P)이 제1연결부재내측경사관(11b)의 경사진 형태에 따라 압착되면서 견고하게 밀착되도록 하기 위함이다.
만약, 그 각도가 10°를 초과할 시 금속패킹(30) 및 금속주름관(P)의 축관이 안될 수 있으며, 1°미만인 경우 축관된 금속패킹(30)과 금속주름관(P)의 밀착력이 부족해 기밀이 안될 수 있다.
이를 정리하자면, 제1연결부재(10)에 형성된 제1연결부재내측관(11) 중 금속주름관(P)과 결합되는 일측에는, 제1연결부재(10)에 대해 금속주름관(P)이 삽입되는 방향으로 지름이 점차적으로 축소하는 형태를 갖는 제1연결부재내측경사관(11b)이 형성되는 것이 바람직하다.
또한, 제1연결부재내측경사관(11b)과 인접하게 제1연결부재내측가이드직관(11c)이 형성되는데, 상기 제1연결부재내측가이드직관(11c)은 제1연결부재내측관(11) 중 금속주름관(P)과 결합되는 최초 지점에 형성되는 것이 바람직하다. 이는, 제1연결부재내측가이드직관(11c)을 통해 금속패킹(30)과 금속주름관(P)의 삽입방향을 가이드하기 위함이다. 제1연결부재내측직관(11c)의 내벽에는 제1연결부재가이드직면(15)이 형성된다.
보다 구체적으로, 제1연결부재내측경사관(11b)을 중심으로 제1연결부재내측직관(11a)과 제1연결부재내측가이드직관(11c)이 각각 반대편에 형성된다고 볼 수 있다. 다르게 설명하면, 상기 제1연결부재(10)에는 금속패킹(30)과 금속주름관(P)이 삽입되는 방향을 따라서, 제1연결부재내측가이드직관(11c)과, 제1연결부재내측경사관(11b), 제1연결부재내측직관(11a)이 순서대로 형성된다.
한편, 제1연결부재(10)에 형성되는 제1연결부재내측경사관(11b)의 내벽에는 제1연결부재경사면(14)이 형성된다. 즉, 상기 제1연결부재경사면(14)은 제1연결부재내측경사관(11b)의 내벽을 칭한다. 상기 제1연결부재경사면(14)의 단면 형상은 금속주름관(P)이 제1연결부재(10)에 삽입되는 방향으로 테이퍼진 형상을 갖도록 하는 것이 바람직하다. 한편, 상기 제1연결부재내측가이드직관(11c)의 내벽 역시 금속주름관(P)이 제1연결부재(10)에 삽입되는 방향으로 테이퍼진 형상을 갖도록 하는 것이 바람직하다.
한편, 제1연결부재내측경사관(11b)의 단면 형상은 곡관의 형상을 가질 수 있다. 즉, 상기 제1연결부재경사면(14)은 곡면의 형상을 가질 수 있다. 이는, 제1연결부재경사면(14)으로 삽입되는 금속주름관(P) 및 금속패킹(30)이 제1연결부재경사면(14)에 의해 곡면의 형상으로 휘어져 축관되도록 하기 위함이다.
한편, 상기 제1연결부재경사면(14)의 단면의 형상은 균일하게 휘어진다.
이로 인해, 축관된 금속패킹(30)과 금속주름관(P)은 본래의 길이보다 축관된 비율만큼 길어진다. 도 3에 도시된 바와 같이, 상기 제1연결부재경사면(14)의 단면에 대하여, 제1연결부재내측가이드직관(11c)이 시작되는 지점을 제1연결부재내측가이드직관시작점(T)로 칭하고, 제1연결부재경사면(14)이 시작되는 지점을 제1연결부재경사면시작점(P)으로 칭하고, 제1연결부재경사면이 끝나는 지점을 제1연결부재경사면종점(Q)으로 칭한다. 이에 제1연결부재경사면(14)의 단면이 원의 일부와 일치한다는 가정으로, 부채꼴을 형성하고, 가상의 중심점(O)을 형성한다.
그렇게 되면, 제1연결부재경사면(14)의 단면이 휘어진 정도에 따라, 제1연결부재경사면(14)을 이용해 그려지는 원의 크기 역시 달라지며, 가상의 중심점(O) 위치 역시 변하게 될 것이다. 이때, 가상의 중심점(O)과 제1연결부재경사면시작점(P) 사이의 길이(OP), 가상의 중심점(O)과 제1연결부재경사면종점(Q) 사이의 길이(OQ)를 곡률반지름으로 칭한다.
곡률은 곡률반지름에 대한 역수이며, 본 발명에 있어서, 상기 제1연결부재경사면(14)의 단면의 곡률은 가상으로 형성되는 부채꼴 OPQ에 대하여 PQ/OP 또는 PQ/OQ로 나타낼 수 있다.
이에, 본 발명에 따른 제1연결부재경사면(14)의 곡률은 1/10,000 ~ 1/200인 것이 적절하다. 다른 표현으로, 본 발명에 따른 제1연결부재경사면(14)의 곡률은 0.00001 ~ 0.005인 것이 적절하다. 이는 거의 직선에 가까운 것이나, 도면 상에서는 이해를 위하여, 곡면을 다소 과장되게 표현하였음을 명시한다.
예를 들어, PQ의 직선상 길이가 10mm일 때, 제1연결부재경사면(14)의 곡면을 따라 형성되는 가상의 부채꼴 반지름은 2,000mm ~ 100,000mm인 것이 바람직하다. 또한, PQ상의 직선상 길이가 20mm일 때, 제1연결부재경사면(14)의 곡면을 따라 형성되는 가상의 부채꼴 반지름은 4,000mm ~ 200,000mm인 것이 바람직하다.
정리하자면, 제1연결부재경사면(14)의 단면의 형상은 원의 일부와 일치하며, 제1연결부재경사면의 제1연결부재경사면시작점(P)과 제1연결부재경사면종점(Q)을 직선상으로 이은 거리는, 원의 일부와 형상이 일치하는 제1연결부재경사면(14)을 이용해 형성되는 가상의 부채꼴(OPQ)의 반지름(OP 및 OQ)길이에 대하여 1/10,000 ~ 1/200인 것을 특징으로 한다.
상기 제1연결부재경사면(14)이 1/10,000 ~ 1/200의 곡률을 가짐에 따라, 상기 제1연결부재경사면(14)에 대응되게 금속패킹(30)과 금속주름관(P)이 휘어지게 되며, 이를 통해, 제1연결부재(10), 금속패킹(30), 금속주름관(P)으로부터 물, 액체, 가스 등의 유체가 유출되지 않는 최적의 밀착력을 갖출 수 있게 된다.
상기 제1연결부재경사면(14)과 금속패킹(30) 그리고 금속주름관(P) 사이가 곡면으로 접하면서, 제1연결부재경사면(14)과 금속패킹(30) 그리고 금속주름관(P) 사이의 틈새로 물, 액체, 가스 등 유체의 이동이 어려워짐은 물론, 각 구성 간 결합력이 견고해져 외력 또는 내부 압력에 의해 각 구성들이 분리되는 것 역시 최소화할 수 있다.
일례로, 제1연결부재(10), 금속패킹(30), 금속주름관(P)을 제2연결부재(20)를 통해 결합한 다음, 제2연결부재(20)를 완전히 분리한 후에도, 제1연결부재(10)와 금속패킹(30) 그리고 금속주름관(P)이 완전히 결합된 상태를 유지하는 것을 확인할 수 있었으며, 심지어는 제2연결부재(20)를 완전히 제거하고 사용하여도 물, 액체, 가스등의 유체의 이송에 지장이 없음을 확인할 수 있었다.
상기 금속주름관(P)은 내부에 빈 공간을 갖는 관형으로, 물, 액체, 가스 등의 유체를 이송할 수 있는 구성이다.
상기 금속주름관(P)은 고온의 가스 등을 이송할 수 있도록 금속 재질인 것이 바람직하며, 보다 구체적으로 구리, 알루미늄, 스테인레스 스틸 등의 소재로 형성될 수 있다.
한편, 상기 금속주름관(P)에는 산(P-1)과 골(P-2)이 형성되어 각도를 구부리기 용이하도록 한다. 상기 금속주름관(P)의 절단된 일측 단부는 금속주름관단부(P-e)로 칭한다.
상기 금속주름관단부(P-e)는 제1연결부재(10)의 제1연결부재내측경사관(11b)으로 삽입되어 결합된다.
한편, 상기 제1연결부재(10)에는 제2연결부재(20)가 나사결합 된다. 상기 제2연결부재(20)에는 제2연결부재나사산(22)이 형성되어 제1연결부재(10)의 제1연결부재나사산(12)과 나사결합을 통해 체결될 수 있다.
상기 제2연결부재(20)는 금속주름관(P)의 외측에 끼워진다.
상기 제2연결부재(20)는 제1연결부재(10)와 연결하기 전에는 금속주름관(P)의 외측에 이동 가능한 상태로 끼워져 있다가, 상기 제2연결부재(20)가 제1연결부재(10)와 나사결합됨으로써, 금속주름관(P)의 일단부 외측에 고정된다.
한편, 상기 제2연결부재(20)는 내부가 빈 관형으로 형성된다. 상기 제2연결부재(20)의 내부의 관 형태의 공간을 제2연결부재내측관(21)으로 칭한다. 제2연결부재(20)의 제2연결부재내측관(21)에는 금속주름관(P)이 삽입된 상태로 위치한다.
한편, 상기 제2연결부재내측관(21)은 금속주름관(P)과 이격된 상태에 따라 제2연결부재내측이격관(21a)과 제2연결부재내측밀착관(21b)로 구분될 수 있다.
한편, 상기 제2연결부재내측이격관(21a)은 금속주름관(P)과의 체결시, 금속주름관과 이격되며, 금속주름관(P)의 직경에 비해 큰 직경을 갖는 공간을 칭한다.
그리고, 상기 제2연결부재내측밀착관(21b)은 금속주름관(P)과의 체결시, 금속주름관과 밀착되는 공간을 칭한다. 보다 구체적으로, 상기 제2연결부재내측밀착관(21b)의 직경은 금속주름관(P)의 산(P-1)의 직경과 대응된다.
이와 같은 구성을 통해, 상기 제2연결부재(20)는 제2연결부재내측밀착관(21b)을 통해 금속주름관(P)에 지지되며, 제2연결부재내측이격관(21a)은 금속주름관(P)에 대해 일정간격 이격된 거리를 유지할 수 있다.
한편, 제2연결부재내측이격관(21a)과 제2연결부재내측밀착관(21b)이 이어지는 지점에는 서로 상이한 직경을 갖는 두 공간을 이어주는 제2연결부재경사면(24)이 형성될 수 있다. 제2연결부재내측이격관(21a)과 제2연결부재내측밀착관(21b)이 이어지는 지점에는 제2연결부재경사면(24)이 아닌 제2연결부재직각면(미도시)이 형성되어도 무방하다. 따라서, 제2연결부재(20)에는 제2연결부재경사면(24) 또는 제2연결부재직각면(미도시)이 형성될 수 있다.
한편, 상기 금속주름관(P)과 제2연결부재내측이격관(21a) 사이의 이격된 공간에는 금속패킹(30)과 이탈방지링(50)이 위치할 수 있다. 또한, 제1연결부재(10)의 일부가 제2연결부재(20)에 나사결합된 상태로 위치할 수 있다.
상기 금속패킹(30)은 금속재질로 형성되며, 상기 금속주름관(P)과 제1연결부재(10)의 틈을 메워주는 역할을 한다. 금속패킹(30)의 내경의 크기는 금속주름관(P) 외경보다 1mm이내로 커야하며, 금속패킹(30)의 외경은 제1연결부재내측가이드직관(11c)보다 1mm 이내로 작아야 한다. 이 공차를 벗어나면 축관과 기밀이 불가할 수 있다.
상기 금속패킹(30)은 구리, 알루미늄, 스테인레스 스틸 중 어느 하나 이상의 재질로 형성될 수 있으며, 적절하게는 구리 재질로 형성되는 것이 바람직하다.
상기 알루미늄합금은 463 ~ 671℃의 용융온도를 가지며, 일반 알루미늄은 660℃의 용융온도를 가지는데 비해, 구리는 1084.6℃의 용융온도를 가지는 바, 고온의 가스를 견디는데 있어서, 내열성이 우수하다 할 것이다. 한편, 상기 스테일렌스 스틸은 18CR계는 1427 ~ 1510℃, 18-18계는 1400 ~ 1454℃의 용융온도를 갖는다.
상기 구리 재질로는 황동 재질을 사용할 수도 있을 것이다. 상기 황동은 7/3 황동(구리와 아연이 7:3으로 혼합된 황동)인 것이 적절할 것이다. 상기 황동은 색깔이 아름답고 순동보다도 주조하기가 쉬우며 경도와 강도가 크고 전연성이 풍부하고 얇은 박이나 가는 철사 등을 만들기 용이하다. 한편, 7/3 황동은 균일한 α고용체이며 연하고 연성이 풍부하기 때문에 상온 가공으로 공작할 수 있다.
한편, 상기 금속패킹(30)은 내측이 비어있는 관 형태로 형성되며, 상기 금속패킹(30)의 내부 공간 직경은 금속주름관(P)의 산(P-1)의 직경과 대응된다.
보다 구체적으로 상기 금속패킹(30)은 관의 형태이며, 상기 금속패킹(30)의 길이방향 양단은 각각 금속패킹제1단부(32)와 금속패킹제2단부(34)로 칭한다.
한편, 상기 금속패킹(30)은 금속주름관(P)의 외측에 결합된다. 이때, 상기 금속패킹(30)의 금속패킹제1단부(32)가 금속주름관단부(P-e)를 향하도록 결합한다.
한편, 상기 금속패킹(30)의 금속패킹제1단부(32) 및 금속패킹제2단부(34)와 인접한 골(P-1)에는 각각 이탈방지링(50)이 결합되어, 상기 금속패킹(30)이 금속주름관(P) 길이의 제2연결부재(20) 방향으로 이동되는 것을 방지한다. 이는, 금속주름관(P)을 제1연결부재(10) 및 제2연결부재(20)와 결합하기 전 금속패킹(30)의 이동을 방지하여 원활한 결합작업을 수행할 수 있도록 하기 위함이다.
이하, 본 발명의 실시예에 따른 금속 주름관의 연결구조의 결합 방식에 대하여 자세히 설명한다.
우선, 도 1 및 도 2에 도시된 바와 같이, 결합 준비 과정을 수행한다.
우선, 금속주름관(P)의 금속주름관단부(P-e)와 인접한 위치에 금속패킹(30)을 결합한다. 이때, 금속패킹(30)의 금속패킹제1단부(32)가 금속주름관단부(P-e)를 향하도록 결합하며, 금속패킹제2단부(34)는 금속주름관단부(P-e)의 반대 방향을 향하도록 결합한다. 상기 금속패킹(30)의 금속패킹제2단부(34)와 인접한 골(P-2)에는 이탈방지링(50)을 결합하여 금속패킹(30)이 금속주름관(P) 길이방향을 따라 이동되는 것을 방지한다.
그 다음, 금속주름관(P)에 제2연결부재(20)를 결합한다. 상기 제2연결부재(20)는 금속주름관단부(P-e)의 타측 단부를 통해 삽입할 수 있을 것이다. 이때, 상기 제2연결부재(20)는 제2연결부재내측이격관(21a)이 금속패킹(30)을 향하도록 결합된다. 즉, 상기 제2연결부재(20)는 제2연결부재내측이격관(21a)이 금속주름관단부(P-e)를 향하도록 결합하여, 제2연결부재나사산(22)이 금속주름관단부(P-e) 쪽을 향하도록 한다.
그 다음, 제1연결부재(10)를 제1연결부재내측가이드직관(11c)과 제1연결부재내측경사관(11b)이 금속주름관(P)의 금속주름관단부(P-e)를 향하도록 위치시킨다.
다음으로, 도 5 및 도 6에 도시된 바와 같이, 제1연결부재(10)와 제2연결부재(20)를 결합한다.
우선, 금속주름관(P)의 금속주름관단부(P-e)를 제1연결부재내측가이드직관(11c)과 제1연결부재내측경사관(11b)에 삽입하고, 제1연결부재(10)에 형성된 제1연결부재나사산(12)을 제2연결부재(20)에 형성된 제2연결부재나사산(22)과 체결하여 결합한다. 제1연결부재(10)에 대하여 제2연결부재(20)를 회전시키면, 제1연결부재(20)는 나사결합에 의해 점진적으로 제2연결부재(10) 쪽으로 이동하게 된다.
이때, 상기 제2연결부재(20)가 일정구간 이동하면, 금속패킹(30)과 금속주름관(P) 역시, 제2연결부재(20)와 함께 제1연결부재(10) 쪽으로 이동하게 된다.
한편, 상기 금속패킹(30)은 이탈방지링(50)에 의해 금속주름관(P)에서 밀리지 않고, 제1연결부재(10)와 제2연결부재(20)가 결합되는 힘에 의해, 제1연결부재내측가이드직관(11c)과 제1연결부재내측경사관(11b)의 형상을 따라 점진적으로 지름이 축소된다. 이때, 제1연결부재내측가이드직관(11c)과 제1연결부재내측경사관(11b)의 형상이 직면 또는 곡면을 이루고 있기 때문에 상기 금속패킹(30) 역시 곡면을 이루면서 축관되게 된다. 이에 따라, 제1연결부재내측가이드직관(11c)과 제1연결부재내측경사관(11b)에 먼저 삽입되는 금속패킹제1단부(32)는 나중에 삽입되는 금속패킹제2단부(34)에 비해 상대적으로 작은 직경을 갖게 된다. 축관이 완료된 금속패킹(30)의 단면 형상은 제1연결부재내측가이드직관(11c)과, 제1연결부재내측경사관(11b)의 제1연결부재경사면(14)의 단면 형상에 대응된다. 보다 구체적으로 축관이 완료된 금속패킹(30)의 휘어진 정도는 제1연결부재경사면(14)의 곡률과 대응된다.
또한, 상기 금속주름관(P)의 금속주름관단부(P-e) 역시 곡면을 이루며 축관되는 금속패킹(30)에 의해, 곡면을 이루면서 산(P-1)과 골(P-2)의 지름이 축소된다. 축관이 완료된 금속주름관(P)의 단면 형상 역시 축관이 완료된 금속패킹(30)의 단면 형상과 대응될 것이다. 이때, 상기 금속주름관(P)은 축관이 이루어지면서, 산(P-1)과 골(P-2)의 높이 차이는 작아질 것이다. 또한, 각 산(P-1)과 산(P-1) 사이의 거리가 멀어지고, 각 골(P-2)과 골(P-2) 사이의 거리가 멀어질 것이다. 그리고, 상기 금속주름관(P)은 길이가 늘어나, 금속주름관단부(P-e)가 제1연결부재(10)의 제1연결부재내측관(11)에 깊게 삽입될 수 있을 것이다.
결합이 완료되면, 도 5 및 도 6에 도시된 바와 같이, 상기 금속패킹(30)의 외측은 제1연결부재내측가이드직관(11c)과, 제1연결부재내측경사관(11b)의 제1연결부재경사면(14)과 접하며, 상기 금속패킹(30)의 내측은 금속주름관(P)의 산(P-1)과 접하게 된다.
한편, 상기 금속패킹(30)과 금속주름관(P)의 골(P-2) 사이는 이격된 상태를 유지한다. 이때, 금속패킹(30)과 금속주름관(P)의 골(P-2) 사이에는 탄성패킹(미도시)이 추가로 위치할 수도 있다. 물론, 탄성패킹(미도시)이 없어도 금속패킹(30)과 금속주름관(P) 사이의 결합력은 충분하기에 이는 당 분야에 종사하는 기술자의 선택에 따라 달라질 수 있을 것이다.
한편, 상기 금속패킹(30)은 금속주름관(P)의 외벽 두께에 비해 상대적으로 두꺼운 두께를 갖는 것이 적절하다. 또한, 상기 금속패킹(30)은 금속주름관(P)의 외벽에 비해 상대적으로 낮은 강도를 갖도록 형성되는 것이 적절하다. 상기 금속패킹(30)이 낮은 강도로 형성되어야 금속주름관(P)과 금속패킹(30)과 제1연결부재(10)를 결합시 제1연결부재(10)에 회전력을 가하면 금속패킹(30)이 금속주름관(P)의 외측에 수월하게 밀착된다.
본 발명에서의 금속패킹(30)은 제1연결부재경사면(14)에 의한 압착시에 전 구간에서 두께를 유지한다. 또한, 금속패킹의 단부가 얇아지는 대신 금속주름관(P)이 축관되도록 하여, 금속패킹(30) 전 구간에서의 내열성을 향상시켰다.
한편, 상기 금속패킹의 절단면과, 이탈방지링 및 제2연결부재경사면에는 마찰면이 형성될 수 있다.
상기 금속주름관(P)에 결합된 제2연결부재(20)를 회전시켜 회전이탈방지링을 기준으로 제1연결부재(10)가 이탈방지링(50)쪽으로 당겨지면서 금속패킹(30)이 제1연결부재(10) 경사면에 삽입되고 축관된다. 이때, 축관되는 힘이 제2연결부재(20)의 회전력에 의해 1차로 금속패킹(30)을 축관하고 2차로 금속주름관(P)을 축관하여, 제1연결부재(10), 금속패킹(30), 금속주름관(P)을 서로 강하게 밀착시킨다.
이하, 하기의 실시예, 비교예 및 실험예를 통해 본 발명에 따른 금속주름관의 연결구조가 갖는 효과에 대하여 자세히 설명한다.
실시예 1 내지 3 및 비교예 1 내지 2. 제1연결부재의 내측 경사면 곡률이 상이한 금속주름관의 연결구조 체결
하기의 절차에 따라 제1연결부재의 내측 경사면 곡률이 상이한 실시예 1 내지 3 및 비교예 1 내지 2의 금속주름관의 연결구조를 체결하였다.
제1연결부재 제조 단계(S10): 제1연결부재내측직관(11a) 및, 단면의 형상이 테이퍼진 형상을 갖는 제1연결부재내측가이드직관(11c)과 제1연결부재내측경사관(11b)을 갖되, 제1연결부재내측경사관(11b)의 내벽은 단면이 하기 표 1의 곡률을 갖도록 제1연결부재(10)를 제조하였다.
금속주름관 제조 단계(S20): 산(P-1)과 골(P-2)이 형성되어 각도를 구부리기 용이하도록 0.5mm 이하의 두께를 갖도록 금속주름관(P)을 제조하였다.
제2연결부재 제조 단계(S30): 상기 금속주름관(P)과 이격된 상태에 따라 제2연결부재내측이격관(21a)과 제2연결부재내측밀착관(21b)로 구분되는 내부공간을 갖되, 제2연결부재내측이격관(21a)과 제2연결부재내측밀착관(21b)이 이어지는 지점에는 제2연결부재경사면(24)이 형성되며, 제2연결부재경사면(24)에는 마찰면이 형성되도록 제2연결부재(20)를 제조하였다.
금속패킹 제조 단계(S40): 상기 금속주름관(P)의 산(P-1)의 외경보다 크고 제1연결부재내측가이드직관(11c)보다 작게 금속패킹(30)을 제조하되, 금속주름관(P)에 비해 낮은 강도를 가질 수 있도록 2mm 이하의 두께 및 구리 재질로 제조하였으며, 양 단부에 마찰면이 형성되도록 금속패킹(30)을 제조하였다.
이탈방지링 제조 단계(S50): 상기 금속주름관(P)의 골(P-2)에 끼워질 수 있도록 이탈방지링(50)을 제조하되, 외표면에 마찰면이 형성되도록 이탈방지링(50)을 제조하였다.
금속 주름관 연결 구조 체결 준비 단계(S60): 금속주름관(P)에 제2연결부재(20)를 결합한 후, 이탈방지링(50)을 결합한다. 그 후 금속패킹을 끼운다. 한편, 제1연결부재(10)는 제1연결부재내측가이드직관(11c)과 제1연결부재내측경사관(11b)이 금속주름관(P)을 향하도록 위치시켰다.
금속 주름관 연결구조 체결 단계(S70): 제1연결부재(10)의 제1연결부재내측가이드직관(11c)과 제1연결부재내측경사관(11b)에 금속주름관(P)을 끼워넣고, 제1연결부재(10)에 제2연결부재(20)를 강하게 회전시키면서 나사결합하여 금속 주름관의 연결구조를 체결하였다.
비교예1 실시예1 실시예2 실시예3 비교예2
제1연결부재내측경사관 내벽의 단면 곡률(ĸ) 0.000001 0.00001 0.003 0.005 0.007
비교예 3. 제1연결부재의 내측 경사면이 직선 형상을 갖도록 금속주름관 의 연결구조 체결
상기 실시예 1 내지 3 및 비교예 1 내지 2와 같은 과정을 수행하되, 제1연결부재 제조 단계(S10)를 상이하게 적용하였다.
제1연결부재 제조 단계(S10): 제1연결부재내측직관과 단면의 형상이 테이퍼진 형상을 갖는 제1연결부재내측경사관을 갖되, 제1연결부재내측경사관의 내벽은 단면이 직선의 형상을 갖도록 제1연결부재를 제조하였다.
비교예 4. 금속패킹의 단면과, 이탈방지링 제2연결부재경사면에 마찰면을 형성하지 않은 금속주름관의 연결구조 체결
상기 실시예 1 내지 3 및 비교예 1 내지 2와 동일한 과정을 수행하되, 제2연결부재 제조 단계(S30), 금속패킹 제조 단계(S40), 이탈방지링 제조 단계(S50)를 하기와 같이 상이하게 적용하였다.
한편, 제1연결부재의 제1연결부재내측경사관의 내벽 단면 곡률은 실시예 1과 동일하게 0.00001로 적용하였다.
제2연결부재 제조 단계(S30): 상기 금속주름관(P)과 이격된 상태에 따라 제2연결부재내측이격관(21a)과 제2연결부재내측밀착관(21b)로 구분되는 내부공간을 갖되, 제2연결부재내측이격관(21a)과 제2연결부재내측밀착관(21b)이 이어지는 지점에는 제2연결부재경사면(24)이 형성되며, 제2연결부재경사면(24)에는 마찰면이 형성되지 않도록 제2연결부재(20)를 제조하였다.
금속패킹 제조 단계(S40): 상기 금속주름관(P)의 산(P-1)의 외경과 내경이 일치하도록 금속패킹(30)을 제조하되, 금속주름관(P)에 비해 낮은 강도를 가질 수 있도록 2mm 이하의 두께 및 구리 재질로 제조하였으며, 양 단부에 마찰면이 형성되지 않도록 금속패킹(30)을 제조하였다.
이탈방지링 제조 단계(S50): 상기 금속주름관(P)의 골(P-2)에 끼워질 수 있도록 이탈방지링(50)을 제조하되, 외표면에 마찰면이 형성되지 않도록 이탈방지링(50)을 제조하였다.
실험예 1. 가스누출방지 및 밀착력 확인
상기 실시예 1 내지 3 및 비교예 1 내지 4에 대하여 가스누출방지 및 밀착력을 확인하였다.
우선, 가스누출방지에 대한 실험을 수행하였다. 실시예 1 내지 3 및 비교예 1 내지 4에서 제조한 금속주름관의 연결구조에 대해, 금속주름관이 연결된 제1연결부재의 반대방향에 다른 금속관을 결합하고 LPG가스가 금속주름관의 연결구조 내부에서 이송되도록 하였다. 유리벽을 설치하여 금속주름관의 연결구조를 외부와 차단하고 밀폐하였으며, 유리벽 내부에 가스탐지기를 설치하여 24시간 동안 가스가 누출되는 양을 확인하였다. 가스가 누출되는 양의 측정은 XP-3160, 가연성 가스 측정기(누출량 측정) PORTABLE GAS DETECTORS를 이용하였다.
다음으로, 제1연결부재와 금속패킹 및 금속주름관 사이의 밀착력에 대한 실험을 수행하였다. 실시예 1 내지 3 및 비교예 1 내지 4에서 제조한 금속주름관의 연결구조에 대해 제2연결부재를 분리한 후, 제1연결부재를 천장에 메달고, 금속주름관에는 링크를 설치하여 100g의 무게추를 순차적으로 올려 제1연결부재와 금속주름관이 분리되는 무게를 확인하였다.
결과는 하기 표 2에 나타낸 바와 같으며, 24시간 동안 가스 누출량(ppm)이 0.2 ppm 미만일 경우 사용이 적합한 것으로 판단하였으며, 0.2 ppm이상일 경우 사용이 부적합한 것으로 판단하였다. 또한, 제1연결부재와 금속주름관이 분리되는 무게가 12,000g 이상일 경우 밀착력이 적합한 것으로 판단하였으며, 12,000g 이하일 경우 밀착력이 부적합한 것으로 판단하였다.
모든 기준이 적합할 경우 종합평가를 적합한 것으로 평가하였고, 하나라도 부적합할 경우 사용성이 부적합한 것으로 평가하였다.
24시간 동안 가스 누출량(ppm) 가스 누출 적합성 판단 제1연결부재와 금속주름관이 분리되는 무게(g) 밀착력 적합성 판단 종합평가
실시예1 0.18 적합 13,600 적합 적합
실시예2 0.15 적합 12,800 적합 적합
실시예3 0.12 적합 12,300 적합 적합
비교예1 0.23 부적합 13,900 적합 부적합
비교예2 0.11 적합 11,500 부적합 부적합
비교예3 0.23 부적합 14.100 적합 부적합
비교예4 0.25 부적합 9,800 부적합 부적합
그 결과, 제1연결부재내측경사관 내벽의 단면 곡률이 0.00001 ~ 0.005일 때, 단위 시간당 가스 누출 방지 성능과, 제1연결부재와 금속패킹 및 금속주름관 사이의 밀착력이 모두 사용상 적합한 것을 확인할 수 있었다.
전반적으로 곡률이 커질수록 단위 시간당 가스 누출 방지 성능이 우수하였고, 곡률이 낮아질수록 제1연결부재와 금속패킹 및 금속주름관 사이의 밀착력이 높아지는 것을 확인할 수 있었다. 두 기준을 모두 만족하는 것은 제1연결부재내측경사관 내벽의 단면 곡률이 0.00001 ~ 0.005일 경우였다.
한편, 제1연결부재의 내측 경사면이 직선 형상을 갖도록 한 금속주름관의 연결구조는 가스 누출 방지 성능이 떨어지는 것을 확인할 수 있었다.
또한, 금속패킹의 단면과, 이탈방지링 및 제2연결부재경사면에 마찰면을 형성하지 않은 금속주름관의 연결구조의 경우 가스 누출 방지 성능 및 제1연결부재와 금속패킹 및 금속주름관 사이의 밀착력 모두 현저하게 떨어짐을 확인할 수 있었다.
비교예 4 내지 6. 소재를 달리한 패킹의 제조
금속패킹 제조 단계(S40)를 상이하게 적용하여 비교예 4 내지 6의 패킹을 제조하였다.
패킹 제조 단계(S40): 2mm 이하의 두께 및 하기 표 3의 소재로 패킹을 제조하였으며, 양 단부에 마찰면이 형성되도록 패킹을 제조하였다.
비교예 4 비교예 5 비교예 6
금속패킹의 소재 알루미늄합금(Al-Cu-Mg) 알루미늄 실리콘러버
실험예 2. 내열성 확인
실시예 1에서 제조한 구리 소재의 금속 패킹과 비교예 4 내지 6의 패킹에 대하여 내열성을 확인하였다.
실시예 1 및 비교예 4 내지 6의 패킹을 가열로에 위치시키고 점차적으로 온도를 증가시키면서 모양이 변형되는 온도를 확인하였다. 결과는 하기 표 4에 나타낸 바와 같다.
형태가 변형되기 시작한 온도(℃)
실시예1 942
비교예4 463
비교예5 470
비교예6 235
그 결과 구리 소재로 제조했을 때 내열성이 우수함을 확인할 수 있었다.
상기 실시예, 비교예 및 실험예를 통하여 본 발명에 따른 금속주름관의 연결구조에 대하여 확인하였다.
본 발명에 따른 금속주름관의 연결구조는 제1연결부의 제1연결부재내측가이드직관과 제1연결부재내측경사관은, 금속주름관이 삽입되는 내측 방향으로 곡면을 이루면서 지름이 축소된다. 직선방향으로만 지름이 축소되는 비교예 3에 비해 곡면을 이루면서 지름이 축소되는 실시예 1 내지 3과 비교예 1 내지 2가 가스 차단력이 우수함을 확인할 수 있었다.
한편, 본 발명에 따른 금속주름관의 연결구조는 제1연결부재경사면의 단면 곡률이 0.00001 ~ 0.005일 때 가스 누출 방지 및 밀착력을 동시에 충족할 수 있음을 확인하였다.
또한, 본 발명에 따른 금속주름관의 연결구조는 금속패킹이 구리 소재로 형성되어 실리콘 등의 연질 내열성이 우수함을 확인할 수 있었다.
이에, 본 발명은 가스 누출 방지 및 밀착력이 증대되고, 내열성이 우수한 금속주름관의 연결 구조를 개발하였음을 명시한다.
본 발명을 첨부된 도면과 함께 설명하였으나, 이는 본 발명의 요지를 포함하는 다양한 실시 형태 중의 하나의 실시 예에 불과하며, 당 업계에서 통상의 지식을 가진 자가 용이하게 실시할 수 있도록 하는 데에 그 목적이 있는 것으로, 본 발명은 상기 설명된 실시예에만 국한되는 것이 아님은 명확하다. 따라서, 본 발명의 보호범위는 하기의 청구범위에 의해 해석되어야 하며, 본 발명의 요지를 벗어나지 않는 범위 내에서 변경, 치환, 대체 등에 의해 그와 동등한 범위 내에 있는 모든 기술 사상은 본 발명의 권리에 포함될 것이다. 또한, 도면의 일부 구성은 구성을 보다 명확하게 설명하기 위한 것으로 실제보다 과장되거나 축소되어 제공되는 것임을 명확히 한다.
10: 제1연결부재 20: 제2연결부재
30: 금속패킹 50: 이탈방지링
P: 금속주름관

Claims (7)

  1. 일측 외주면에 제1연결부재나사산이 형성되고, 상기 제1연결부재나사산이 형성된 영역의 내측에는 제1연결부재내측가이드직관과 제1연결부재내측경사관이 형성된 제1연결부재;
    상기 제1연결부재의 제1연결부재내측가이드직관과 제1연결부재내측경사관으로 삽입되는 금속주름관;
    상기 금속주름관의 외측에 끼워지고 상기 제1연결부재와 나사 결합되며, 내측에 제2연결부재나사산 및, 제2연결부재경사면 또는 제2연결부재직각면이 형성된 제2연결부재;
    상기 금속 주름관의 외측에 끼워져, 제1연결부재내측가이드직관과 제1연결부재내측경사관으로 삽입되면서, 곡면을 이루며 축관되는 금속패킹 및,
    상기 금속주름관 외측의 골에 끼워지며, 금속패킹을 고정하여, 금속패킹이 이탈되지 않도록 고정하는 이탈방지금속링을 포함하는 것을 특징으로 하는 금속주름관의 연결구조.
  2. 제1항에 있어서,
    상기 금속패킹은 구리를 포함하는 금속 소재인 것을 특징으로 하는 금속주름관의 연결구조.
  3. 제1항에 있어서,
    상기 제1연결부의 제1연결부재내측가이드직관과 제1연결부재내측경사관은, 금속주름관이 삽입되는 내측 방향으로 곡면을 이루면서 지름이 축소되는 것을 특징으로 하는 금속주름관의 연결구조.
  4. 제1항에 있어서,
    상기 제1연결부재내측가이드직관과 제1연결부재내측경사관의 내벽에는 각각 제1연결부재가이드직면 및 제1연결부재곡경사면이 형성되는 것을 특징으로 하는 금속주름관의 연결구조.
  5. 제1항에 있어서,
    상기 금속패킹은, 상기 제1연결부재내측가이드직관과 제1연결부재내측경사관으로 삽입되어, 곡면을 이루면서 지름이 축소되는 것을 특징으로 하는 금속주름관의 연결구조.
  6. 제1항에 있어서,
    상기 금속주름관은 곡면으로 축관되는 금속패킹에 의해, 곡면을 이루면서 지름이 축소되는 것을 특징으로 하는 금속주름관의 연결구조.
  7. 제1항에 있어서,
    상기 금속패킹의 단면과, 이탈방지링 및 제2연결부재경사면에는 마찰면이 형성되어, 상기 제2연결부재를 회전시켜 이탈방지링을 기준으로 제1연결부재가 이탈방지링 쪽으로 당겨지면서 금속패킹이 제1연결부재 경사면에 삽입되고 축관되는 것을 특징으로 하는 금속주름관의 연결구조.
KR1020210018430A 2021-02-09 2021-02-09 금속 주름관의 연결구조 Active KR102561511B1 (ko)

Priority Applications (2)

Application Number Priority Date Filing Date Title
KR1020210018430A KR102561511B1 (ko) 2021-02-09 2021-02-09 금속 주름관의 연결구조
US17/666,253 US20220252190A1 (en) 2021-02-09 2022-02-07 Connection structure of metal corrugated pipe

Applications Claiming Priority (1)

Application Number Priority Date Filing Date Title
KR1020210018430A KR102561511B1 (ko) 2021-02-09 2021-02-09 금속 주름관의 연결구조

Publications (2)

Publication Number Publication Date
KR20220114874A true KR20220114874A (ko) 2022-08-17
KR102561511B1 KR102561511B1 (ko) 2023-07-31

Family

ID=82703691

Family Applications (1)

Application Number Title Priority Date Filing Date
KR1020210018430A Active KR102561511B1 (ko) 2021-02-09 2021-02-09 금속 주름관의 연결구조

Country Status (2)

Country Link
US (1) US20220252190A1 (ko)
KR (1) KR102561511B1 (ko)

Cited By (1)

* Cited by examiner, † Cited by third party
Publication number Priority date Publication date Assignee Title
KR200498314Y1 (ko) 2023-05-10 2024-09-04 주식회사 오산배관 주름관 소켓을 갖는 압력계 안전밸브

Citations (3)

* Cited by examiner, † Cited by third party
Publication number Priority date Publication date Assignee Title
KR950033769U (ko) 1994-05-23 1995-12-18 진금섭 피복금속주름관 이음쇠
KR200346945Y1 (ko) * 2004-01-14 2004-04-01 주식회사 래트라 주름관 연결장치
KR20190048170A (ko) * 2017-10-30 2019-05-09 주식회사 두본후렉시블 금속 주름관의 연결 구조

Family Cites Families (5)

* Cited by examiner, † Cited by third party
Publication number Priority date Publication date Assignee Title
US2782060A (en) * 1952-05-01 1957-02-19 Arthur I Appleton Separable conduit fitting
US6276728B1 (en) * 1999-07-08 2001-08-21 Omega Flex, Inc. Fitting for use with corrugated tubing
CA2615430A1 (en) * 2005-08-04 2007-02-15 Parker-Hannifin Corporation Pre-assemblable, push-in fitting connection for corrugated tubing
PL2083203T3 (pl) * 2008-01-22 2013-01-31 Serto Holding Ag Złącze rurowe śrubowe do metalowych rur falistych
ITBS20110083A1 (it) * 2011-06-07 2012-12-08 M F C S R L Raccordo

Patent Citations (3)

* Cited by examiner, † Cited by third party
Publication number Priority date Publication date Assignee Title
KR950033769U (ko) 1994-05-23 1995-12-18 진금섭 피복금속주름관 이음쇠
KR200346945Y1 (ko) * 2004-01-14 2004-04-01 주식회사 래트라 주름관 연결장치
KR20190048170A (ko) * 2017-10-30 2019-05-09 주식회사 두본후렉시블 금속 주름관의 연결 구조

Cited By (1)

* Cited by examiner, † Cited by third party
Publication number Priority date Publication date Assignee Title
KR200498314Y1 (ko) 2023-05-10 2024-09-04 주식회사 오산배관 주름관 소켓을 갖는 압력계 안전밸브

Also Published As

Publication number Publication date
KR102561511B1 (ko) 2023-07-31
US20220252190A1 (en) 2022-08-11

Similar Documents

Publication Publication Date Title
JP5785301B2 (ja) チューブとの緩み脱落を防止する管継ぎ手
JP2020531764A (ja) 複合的ジオメトリおよび複合的材料の断熱部品
EP2377627A1 (en) A bimetallic tube, apparatus comprising such a tube and method of manufacturing an apparatus comprising a bimetallic tube
KR20220114874A (ko) 금속 주름관의 연결구조
CN109282093A (zh) 挤压式管路连接系统
AU2018202127B2 (en) Pressing means for pressing a fitting
CN110185872A (zh) 一种齿轮型橡胶管夹及其密封方法
CN204027402U (zh) 一种高耐压的内螺纹铜管
CN101430035A (zh) 滑紧式铝塑复合管管件
CN210770781U (zh) 一种密封管接头
WO2019204951A1 (zh) 一种管件连接结构
JP6211330B2 (ja) 3重管式熱交換器の製造方法
JP2010112565A (ja) 熱交換器
CN206093257U (zh) 一种防止过度弯曲的空调波纹管
CN214947023U (zh) 一种制冷用空心薄壁毛细铜管
CN112856817A (zh) 一种热水器
CN223050749U (zh) 埋入式热电阻
CN109869549A (zh) 一种可拆卸抱管密封连接结构
CN222577560U (zh) 一种密封陶瓷垫片
US12385586B2 (en) Compression teeth ring connection pipe fitting
CN205534197U (zh) 高压管密封垫圈
CN210014104U (zh) 一种连接管及空调器
CN209623896U (zh) 一种外置式测温铂热电阻的密封装置
CN207830788U (zh) 一种防水型金属软管接头
CN100342170C (zh) 一种管道连接管件

Legal Events

Date Code Title Description
PA0109 Patent application

St.27 status event code: A-0-1-A10-A12-nap-PA0109

PA0201 Request for examination

St.27 status event code: A-1-2-D10-D11-exm-PA0201

D13-X000 Search requested

St.27 status event code: A-1-2-D10-D13-srh-X000

D14-X000 Search report completed

St.27 status event code: A-1-2-D10-D14-srh-X000

PG1501 Laying open of application

St.27 status event code: A-1-1-Q10-Q12-nap-PG1501

E902 Notification of reason for refusal
PE0902 Notice of grounds for rejection

St.27 status event code: A-1-2-D10-D21-exm-PE0902

AMND Amendment
E13-X000 Pre-grant limitation requested

St.27 status event code: A-2-3-E10-E13-lim-X000

P11-X000 Amendment of application requested

St.27 status event code: A-2-2-P10-P11-nap-X000

P13-X000 Application amended

St.27 status event code: A-2-2-P10-P13-nap-X000

E601 Decision to refuse application
PE0601 Decision on rejection of patent

St.27 status event code: N-2-6-B10-B15-exm-PE0601

AMND Amendment
E13-X000 Pre-grant limitation requested

St.27 status event code: A-2-3-E10-E13-lim-X000

P11-X000 Amendment of application requested

St.27 status event code: A-2-2-P10-P11-nap-X000

P13-X000 Application amended

St.27 status event code: A-2-2-P10-P13-nap-X000

PX0901 Re-examination

St.27 status event code: A-2-3-E10-E12-rex-PX0901

E90F Notification of reason for final refusal
PE0902 Notice of grounds for rejection

St.27 status event code: A-1-2-D10-D21-exm-PE0902

AMND Amendment
P11-X000 Amendment of application requested

St.27 status event code: A-2-2-P10-P11-nap-X000

P13-X000 Application amended

St.27 status event code: A-2-2-P10-P13-nap-X000

PX0701 Decision of registration after re-examination

St.27 status event code: A-3-4-F10-F13-rex-PX0701

X701 Decision to grant (after re-examination)
GRNT Written decision to grant
PR0701 Registration of establishment

St.27 status event code: A-2-4-F10-F11-exm-PR0701

PR1002 Payment of registration fee

St.27 status event code: A-2-2-U10-U11-oth-PR1002

Fee payment year number: 1

PG1601 Publication of registration

St.27 status event code: A-4-4-Q10-Q13-nap-PG1601