KR20220076696A - 척추 측만 및 곡만 교정기 - Google Patents

척추 측만 및 곡만 교정기 Download PDF

Info

Publication number
KR20220076696A
KR20220076696A KR1020200165451A KR20200165451A KR20220076696A KR 20220076696 A KR20220076696 A KR 20220076696A KR 1020200165451 A KR1020200165451 A KR 1020200165451A KR 20200165451 A KR20200165451 A KR 20200165451A KR 20220076696 A KR20220076696 A KR 20220076696A
Authority
KR
South Korea
Prior art keywords
curvature
scoliosis
spine
cutout
corrector
Prior art date
Legal status (The legal status is an assumption and is not a legal conclusion. Google has not performed a legal analysis and makes no representation as to the accuracy of the status listed.)
Granted
Application number
KR1020200165451A
Other languages
English (en)
Other versions
KR102503243B1 (ko
Inventor
박병기
박형민
Original Assignee
박병기
박형민
Priority date (The priority date is an assumption and is not a legal conclusion. Google has not performed a legal analysis and makes no representation as to the accuracy of the date listed.)
Filing date
Publication date
Application filed by 박병기, 박형민 filed Critical 박병기
Priority to KR1020200165451A priority Critical patent/KR102503243B1/ko
Publication of KR20220076696A publication Critical patent/KR20220076696A/ko
Application granted granted Critical
Publication of KR102503243B1 publication Critical patent/KR102503243B1/ko
Active legal-status Critical Current
Anticipated expiration legal-status Critical

Links

Images

Classifications

    • AHUMAN NECESSITIES
    • A61MEDICAL OR VETERINARY SCIENCE; HYGIENE
    • A61HPHYSICAL THERAPY APPARATUS, e.g. DEVICES FOR LOCATING OR STIMULATING REFLEX POINTS IN THE BODY; ARTIFICIAL RESPIRATION; MASSAGE; BATHING DEVICES FOR SPECIAL THERAPEUTIC OR HYGIENIC PURPOSES OR SPECIFIC PARTS OF THE BODY
    • A61H1/00Apparatus for passive exercising; Vibrating apparatus; Chiropractic devices, e.g. body impacting devices, external devices for briefly extending or aligning unbroken bones
    • A61H1/008Apparatus for applying pressure or blows almost perpendicular to the body or limb axis, e.g. chiropractic devices for repositioning vertebrae, correcting deformation
    • AHUMAN NECESSITIES
    • A61MEDICAL OR VETERINARY SCIENCE; HYGIENE
    • A61HPHYSICAL THERAPY APPARATUS, e.g. DEVICES FOR LOCATING OR STIMULATING REFLEX POINTS IN THE BODY; ARTIFICIAL RESPIRATION; MASSAGE; BATHING DEVICES FOR SPECIAL THERAPEUTIC OR HYGIENIC PURPOSES OR SPECIFIC PARTS OF THE BODY
    • A61H1/00Apparatus for passive exercising; Vibrating apparatus; Chiropractic devices, e.g. body impacting devices, external devices for briefly extending or aligning unbroken bones
    • A61H1/005Moveable platforms, e.g. vibrating or oscillating platforms for standing, sitting, laying or leaning
    • AHUMAN NECESSITIES
    • A61MEDICAL OR VETERINARY SCIENCE; HYGIENE
    • A61HPHYSICAL THERAPY APPARATUS, e.g. DEVICES FOR LOCATING OR STIMULATING REFLEX POINTS IN THE BODY; ARTIFICIAL RESPIRATION; MASSAGE; BATHING DEVICES FOR SPECIAL THERAPEUTIC OR HYGIENIC PURPOSES OR SPECIFIC PARTS OF THE BODY
    • A61H1/00Apparatus for passive exercising; Vibrating apparatus; Chiropractic devices, e.g. body impacting devices, external devices for briefly extending or aligning unbroken bones
    • A61H1/02Stretching or bending or torsioning apparatus for exercising
    • A61H1/0292Stretching or bending or torsioning apparatus for exercising for the spinal column
    • AHUMAN NECESSITIES
    • A61MEDICAL OR VETERINARY SCIENCE; HYGIENE
    • A61HPHYSICAL THERAPY APPARATUS, e.g. DEVICES FOR LOCATING OR STIMULATING REFLEX POINTS IN THE BODY; ARTIFICIAL RESPIRATION; MASSAGE; BATHING DEVICES FOR SPECIAL THERAPEUTIC OR HYGIENIC PURPOSES OR SPECIFIC PARTS OF THE BODY
    • A61H39/00Devices for locating or stimulating specific reflex points of the body for physical therapy, e.g. acupuncture
    • A61H39/04Devices for pressing such points, e.g. Shiatsu or Acupressure
    • AHUMAN NECESSITIES
    • A61MEDICAL OR VETERINARY SCIENCE; HYGIENE
    • A61HPHYSICAL THERAPY APPARATUS, e.g. DEVICES FOR LOCATING OR STIMULATING REFLEX POINTS IN THE BODY; ARTIFICIAL RESPIRATION; MASSAGE; BATHING DEVICES FOR SPECIAL THERAPEUTIC OR HYGIENIC PURPOSES OR SPECIFIC PARTS OF THE BODY
    • A61H2203/00Additional characteristics concerning the patient
    • A61H2203/04Position of the patient
    • A61H2203/0443Position of the patient substantially horizontal
    • A61H2203/0456Supine

Landscapes

  • Health & Medical Sciences (AREA)
  • Rehabilitation Therapy (AREA)
  • Animal Behavior & Ethology (AREA)
  • Physical Education & Sports Medicine (AREA)
  • Pain & Pain Management (AREA)
  • Life Sciences & Earth Sciences (AREA)
  • Epidemiology (AREA)
  • General Health & Medical Sciences (AREA)
  • Public Health (AREA)
  • Veterinary Medicine (AREA)
  • Engineering & Computer Science (AREA)
  • Biomedical Technology (AREA)
  • Neurology (AREA)
  • Orthopedic Medicine & Surgery (AREA)
  • Orthopedics, Nursing, And Contraception (AREA)

Abstract

본 발명은 천장을 바라본 상태로 누운 후 본체를 등의 척추 및 골반 부분에 위치시켜서 측만 또는 곡만된 척추가 동시에 교정되도록 하는 척추 측만 및 곡만 교정기를 제공한다. 본 발명은 탄성부재가 교정부재에 탄성력을 부여하여 교정부재가 상하로 이동하도록 함으로써 사용자의 측만척추를 효과적으로 가압하여 척추측만증의 교정효과를 향상시킬 수 있도록 하는 효과가 있다. 또한, 교정부재의 교정구의 상면에 수정을 매립되게 결합시켜, 등과 척추 주변의 경혈을 지압하여 척추측만증 또는 척추곡만증의 교정효과를 배가시킬 수 있으며, 사용자의 혈액순환을 촉진하고 뭉친근육을 풀어줄 수 있도록 하는 효과가 있다.

Description

척추 측만 및 곡만 교정기{SCOLIOSIS AND SWAYBACK CORRECTION DEVICE}
본 발명은 척추 측만 및 곡만 교정기에 관한 것으로, 좀 더 구체적으로는 천장을 바라본 상태로 누운 후 본체를 등의 척추 및 골반 부분에 위치시켜서 측만 또는 곡만된 척추가 동시에 교정되도록 하는 척추 측만 및 곡만 교정기에 관한 것이다.
사람의 척추는 인체의 중심을 이루어 신체의 등 중앙에 길이 방향으로 위치하는 신체기관이다. 척추는 7개의 경추, 12개의 흉추, 5개의 요추, 선골, 및 미추로 구성되어 위쪽으로 머리를 받치고, 아래쪽은 골반과 연결되어 체중을 하지로 전달하는 기능을 한다. 척추골 사이에는 섬유 연골성 추간판이 형성되어 두개골로부터 골반골까지 강한 인대와 근육이 결합되어 있어 신체를 지지하고 평형을 유지한다. 또한, 척추와 척추 사이에는 31쌍의 척수신경이 나와서 온몸으로 퍼진 신경가지를 형성하여 제각기 서로 다른 내장기관의 자율운동을 관장하여 신체의 모든 감각을 수용하여 운동을 가능하도록 한다.
이러한 다양한 척추의 기능이 적절히 발휘되기 위해서는 뼈, 디스크, 인대, 근육이 적절한 위치를 유지하여야 한다. 그러나 잘못된 자세, 과도한 운동 및 장시간의 노동으로 인하여 척추의 인대가 휘어지거나 변형이 되는 척추이상이 발생할 수 있다.
척추이상 중 하나인 척추측만증은 척추가 옆으로 굽고 휘어지는 병을 말한다. 척추측만증이 있는 사람은 척추가 일직선인 정상적인 사람에 비하여 허리가 'S'자형으로 휘어지는 척추의 변형으로 인해 골반이나 어깨의 높이가 서로 다르거나 몸통이 한쪽으로 치우쳐 보이게 된다.
척추측만증을 교정하지 않는 경우 점점 더 휘어짐이 심해져 심폐기능이 저하될 수 있으며, 심하면 수명이 단축 될 수도 있다.
한편, 또 다른 척추이상으로 척추만곡증이 있다. 정상성인의 척추는 측면에서 보았을 때 "S" 형태로 곡률을 갖게 형성된다. 척추만곡증이 있는 사람은 원래의 "S"자와 다른 형태로 척추가 굽어진 형태를 나타낸다. 일례로, 거북목이나 굽은등(척추후만증) 등이 있다.
이러한 척추만곡증은 최근 스마트폰의 사용이 증가하면서 발생이 증가하고 있다. 척추만곡증을 교정하지 않는 경우 외관상으로 보기가 안좋을 뿐만 아니라 걸음걸이도 변형되고, 목뼈의 변형에 의해 경추신경이 눌리기 때문에 통증 등 심각한 신체적 문제를 발생시킨다.
이와 같은 문제점으로 인해 본 발명자는 척추 측만 및 곡만 교정기를 선출원 후 등록받았는 바, 특허문헌 1의 척추 측만 및 곡만 교정기는 도 1에서 보는 바와 같이 상면이 정상적인 척추의 곡률에 대응되는 곡률을 갖도록 곡만교정판(110)이 구비되고; 상기 곡만교정판(110)의 상면에는 척추 방향을 따라 일정 두께 돌출되게 결합되어 사용자의 등과 접촉시 측만척추증을 앓는 측만척추의 양측을 중심방향으로 가압하는 한 쌍의 측만교정가이드바(130,130a)가 구비되며; 한 쌍의 측만교정가이드바(130,130a)의 상면에 복수개의 수정이 돌출되게 결합되고; 상기 한 쌍의 측만교정가이드바(130,130a) 사이의 간격을 상기 측만척추의 휨정도에 따라 조절하는 가이드간격조절부(140)를 포함하는 것을 특징으로 한다.
상술한 척추 측만 및 곡만 교정기는 측만교정가이드바(130,130a)가 좌우로만 이동가능하도록 구성되어 있어 측만척추를 가압하는 효과가 미비한 부분이 있었다.
이와 같은 문제점으로 인해 본 발명자는 상기의 척추 측만 및 곡만 교정기를 개량하여 측만척추를 효과적으로 가압하여 척추측만증의 교정효과를 향상시킬 수 있도록 하는 기술을 개발하기에 이르렀다.
특허문헌 1 : 국내등록특허공보 제10-1993809호(2019년 06월 21일 등록) 척추 측만 및 곡만 교정기
따라서 본 발명은 이와 같은 종래 문제점을 개선하기 위해 제안된 것으로, 천장을 바라본 상태로 누운 후 본체를 등의 척추 및 골반 부분에 위치시켜서 측만 또는 곡만된 척추가 동시에 교정되도록 하는 새로운 형태의 척추 측만 및 곡만 교정기를 제공하는 것을 해결하고자 하는 과제로 한다.
특히, 탄성부재가 교정부재에 탄성력을 부여하여 교정부재가 상하로 이동하도록 함으로써 사용자의 측만척추를 효과적으로 가압하여 척추측만증의 교정효과를 향상시킬 수 있도록 하는 새로운 형태의 척추 측만 및 곡만 교정기를 제공하는 것을 해결하고자 하는 과제로 한다.
또한, 교정부재의 교정구의 상면에 수정을 매립되게 결합시켜, 등과 척추 주변의 경혈을 지압하여 척추측만증 또는 척추곡만증의 교정효과를 배가시킬 수 있으며, 사용자의 혈액순환을 촉진하고 뭉친근육을 풀어줄 수 있도록 하는 새로운 형태의 척추 측만 및 곡만 교정기를 제공하는 것을 해결하고자 하는 과제로 한다.
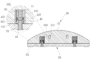
상술한 목적을 달성하기 위한 본 발명의 특징에 의하면, 상부가 척추의 곡률과 대응되는 곡률을 갖는 곡률부(21)를 갖고, 상기 곡률부(21) 상에 일부 절개되도록 절개부(22)가 형성된 본체(20)와; 상부가 상기 본체(20)의 곡률부(21)와 대응되는 곡률을 갖고, 상기 본체(20)의 절개부(22) 상에 배치되며, 사용자의 등과 접촉시 척추를 가압하여 교정하기 위한 교정부재(30)와; 상기 교정부재(30)가 상기 본체(20)의 절개부(22) 상에서 상하로 이동가능하도록 탄성력을 부여하기 위한 탄성부재(40)를 포함하는 것을 특징으로 한다.
이와 같은 본 발명에 따른 척추 측만 및 곡만 교정기에서 상기 교정부재(30)는 상기 본체(20)의 절개부(22) 상에 배치되고, 상부가 척추의 곡률과 대응되는 곡률을 가지며, 양측면으로 결합봉(311)이 이격되어 형성되는 중심체(31)와; 상기 중심체(31)와 대응되는 형상으로 이루어져 상기 중심체(31)의 결합봉(311)이 삽입되도록 상하방향으로 장방향의 관통홀(321)이 형성되고, 하부에서 상측으로 상기 탄성부재(40)가 위치되는 절개부(322)가 양측으로 이격되어 형성되는 교정구(32)를 포함하는 것을 특징으로 한다.
그리고 본 발명에 따른 척추 측만 및 곡만 교정기에서 상기 탄성부재(40)는 상기 본체(20)의 하면에서 상기 절개부(22) 상으로 형성되는 관통홀(23)을 관통하는 체결볼트(41)와; 원통형상으로 이루어져 하부 내주면에 상기 체결볼트(41)와 체결되도록 제1나사산(421)이 형성되고, 상부 외주면에 제2나사산(422)이 형성되며, 상부가 개방되어 수용공간(423)을 갖는 연결구(42)와; 상기 연결구(42)의 수용공간(423)에 수용되는 탄성구(43)와; 하부가 개방되어 상기 탄성구(43)가 수용되는 수용공간(441)을 갖고, 개방된 하부 내주면에 상기 연결구(42)의 제2나사산(422)과 체결되도록 나사산(442)이 형성되는 커버(44)를 포함하는 것을 특징으로 한다.
또한, 본 발명에 따른 척추 측만 및 곡만 교정기에서 상기 커버(44)의 나사산(442)은 하부 내주면에 일부분만 형성되고, 상기 연결구(42)의 제2나사산(422)은 상기 커버(44)의 나사산(442)과의 체결후 상측으로 이탈되어 상기 수용공간(441)에 수용되고, 상기 수용공간(441) 상에서 상기 탄성구(43)에 의해 상하로 이동가능하게 형성되는 것을 특징으로 한다.
이상과 같이 본 발명에 따른 척추 측만 및 곡만 교정기에 의하면, 천장을 바라본 상태로 누운 후 본체를 등의 척추 및 골반 부분에 위치시켜서 측만 또는 곡만된 척추가 동시에 교정되도록 하는 효과가 있다.
특히, 탄성부재가 교정부재에 탄성력을 부여하여 교정부재가 상하로 이동하도록 함으로써 사용자의 측만척추를 효과적으로 가압하여 척추측만증의 교정효과를 향상시킬 수 있도록 하는 효과가 있다.
또한, 교정부재의 교정구의 상면에 수정을 매립되게 결합시켜, 등과 척추 주변의 경혈을 지압하여 척추측만증 또는 척추곡만증의 교정효과를 배가시킬 수 있으며, 사용자의 혈액순환을 촉진하고 뭉친근육을 풀어줄 수 있도록 하는 효과가 있다.
도 1은 본 발명자에 의해 등록받은 척추 측만 및 곡만 교정기를 설명하기 위한 도면,
도 2는 본 발명의 바람직한 실시예에 따른 척추 측만 및 곡만 교정기의 사시도,
도 3은 본 발명의 바람직한 실시예에 따른 척추 측만 및 곡만 교정기의 분리사시도,
도 4a 및 도 4b는 본 발명의 바람직한 실시예에 따른 척추 측만 및 곡만 교정기의 단면도,
도 5는 본 발명의 바람직한 실시예에 따른 척추 측만 및 곡만 교정기에서 교정부재의 교정구의 상면에 복수개의 수정이 결합된 상태를 보여주는 도면이다.
이하, 본 발명의 바람직한 실시예를 첨부된 도면에 의거하여 상세히 설명하며, 도 2 내지 도 5에 있어서 동일한 기능을 수행하는 구성 요소에 대해서는 동일한 참조 번호를 병기한다. 한편, 도면의 도시 및 상세한 설명에 있어서 본 발명의 기술적 특징과 직접적으로 연관되지 않는 요소의 구체적인 기술적 구성 및 작용에 대한 상세한 설명 및 도시는 생략하고, 본 발명과 관련되는 기술적 구성만을 간략하게 도시하거나 설명하였다.
도 2 내지 도 5를 참고하면, 본 발명의 바람직한 실시예에 따른 척추 측만 및 곡만 교정기는 상부가 척추의 곡률과 대응되는 곡률을 갖는 곡률부(21)를 갖고, 곡률부(21) 상에 일부 절개되도록 절개부(22)가 형성된 본체(20)와, 상부가 본체(20)의 곡률부(21)와 대응되는 곡률을 갖고, 본체(20)의 절개부(22) 상에 배치되며, 사용자의 등과 접촉시 척추를 가압하여 교정하기 위한 교정부재(30)와, 교정부재(30)가 본체(20)의 절개부(22) 상에서 상하로 이동가능하도록 탄성력을 부여하기 위한 탄성부재(40)를 포함하여 이루어진다.
본체(20)는 하부가 평평하게 형성되고, 상부가 척추의 곡률과 대응되는 곡률을 갖는 곡률부(21)를 갖고, 곡률부(21) 상에 일부 절개되도록 절개부(22)가 형성된다. 이때, 절개부(22) 상에는 하면과 관통되는 관통홀(23)이 형성되고, 평평하게 형성되는 하부의 하면의 모서리측에는 받침구(24)가 형성되어 진다.
교정부재(30)는 사용자의 등과 접촉시 척추를 가압하여 교정하기 위한 것으로, 본체(20)의 절개부(22) 상에 배치되고, 상부가 척추의 곡률과 대응되는 곡률을 가지며, 양측면으로 결합봉(311)이 이격되어 형성되는 중심체(31)와, 중심체(31)와 대응되는 형상으로 이루어져 중심체(31)의 결합봉(311)이 삽입되도록 상하방향으로 장방향의 관통홀(321)이 형성되고, 하부에서 상측으로 탄성부재(40)가 위치되는 절개부(322)가 양측으로 이격되어 형성되는 교정구(32)를 포함하여 이루어진다.
한편, 교정부재(30)의 교정구(32)는 도 5에서 보는 바와 같이 상면에 돌출되게 결합되어 사용자의 등과 접촉시 등의 경혈을 자극하도록 형성되는 복수개의 수정(323)을 포함하여 이루어진다.
일반적으로 수정은 인체에 좋은 영향을 주는 원적외선이 상온에서 92% 이상 다량 방출된다고 알려져 있다. 또한, 수정은 생체 전류의 흐트러짐을 바로잡아 건강한 생체리듬으로 되돌려 주는 작용을 한다. 이때, 수정에서 뿜어내는 규칙적인 생체파동 에너지는 혈류의 순환을 순조롭게 하며 혈압안정, 혈당조절, 긴장 해소, 피부미용, 노폐물 배출 등에 효과가 있다고 알려져 있으므로, 수정의 효능들에 의해 척추 주변의 혈액순환을 원활히 하고, 근육의 뭉침을 풀어 척추 교정 효과를 향상시킬 수 있다.
탄성부재(40)는 본체(20)의 하면에서 절개부(22) 상으로 형성되는 관통홀(23)을 관통하는 체결볼트(41)와, 원통형상으로 이루어져 하부 내주면에 체결볼트(41)와 체결되도록 제1나사산(421)이 형성되고, 상부 외주면에 제2나사산(422)이 형성되며, 상부가 개방되어 수용공간(423)을 갖는 연결구(42)와, 연결구(42)의 수용공간(423)에 수용되는 탄성구(43)와, 하부가 개방되어 탄성구(43)가 수용되는 수용공간(441)을 갖고, 개방된 하부 내주면에 상기 연결구(42)의 제2나사산(422)과 체결되도록 나사산(442)이 형성되는 커버(44)를 포함하여 이루어진다. 여기서, 탄성구(43)는 탄성스프링으로 구성되는 것이 바람직하다.
한편, 커버(44)의 나사산(442)은 하부 내주면에 일부분만 형성되고, 연결구(42)의 제2나사산(422)은 커버(44)의 나사산(442)과의 체결후 상측으로 이탈되어 수용공간(441)에 수용되고, 수용공간(441) 상에서 탄성구(43)에 의해 상하로 이동가능하게 형성되어 진다. 이때, 연결구(42)의 하부는 제2나사산(422)이 커버(44)의 수용공간(441)에 수용될 시 커버(44)의 하부 끝단에 비해 하측으로 돌출되도록 형성된다. 이는 커버(44)와 연결구(42)의 분리를 용이하게 하기 위함이다.
이상과 같이 본 발명에 따른 척추 측만 및 곡만 교정기에 의하면, 천장을 바라본 상태로 누운 후 본체를 등의 척추 및 골반 부분에 위치시켜서 측만 또는 곡만된 척추가 동시에 교정되도록 하는 효과가 있다.
특히, 탄성부재가 교정부재에 탄성력을 부여하여 교정부재가 상하로 이동하도록 함으로써 사용자의 측만척추를 효과적으로 가압하여 척추측만증의 교정효과를 향상시킬 수 있도록 하는 효과가 있다.
또한, 교정부재의 교정구의 상면에 수정을 매립되게 결합시켜, 등과 척추 주변의 경혈을 지압하여 척추측만증 또는 척추곡만증의 교정효과를 배가시킬 수 있으며, 사용자의 혈액순환을 촉진하고 뭉친근육을 풀어줄 수 있도록 하는 효과가 있다.
상술한 바와 같은, 본 발명의 바람직한 실시예에 따른 척추 측만 및 곡만 교정기를 상기한 설명 및 도면에 따라 도시하였지만, 이는 예를 들어 설명한 것에 불과하며 본 발명의 기술적 사상을 벗어나지 않는 범위 내에서 다양한 변화 및 변경이 가능하다는 것을 이 분야의 통상적인 기술자들은 잘 이해할 수 있을 것이다.
10 : 척추 측만 및 곡만 교정기
20 : 본체 21 : 곡률부
22 : 절개부 23 : 관통홀
30 : 교정부재 31 : 중심체
311 : 결합봉 32 : 교정구
321 : 관통홀 322 : 절개부
323 : 수정 40 : 탄성부재
41 : 체결볼트 42 : 연결구
421 : 제1나사산 422 : 제2나사산
423 : 수용공간 43 : 탄성구
44 : 커버 441 : 수용공간
442 : 나사산

Claims (5)

  1. 상부가 척추의 곡률과 대응되는 곡률을 갖는 곡률부(21)를 갖고, 상기 곡률부(21) 상에 일부 절개되도록 절개부(22)가 형성된 본체(20)와;
    상부가 상기 본체(20)의 곡률부(21)와 대응되는 곡률을 갖고, 상기 본체(20)의 절개부(22) 상에 배치되며, 사용자의 등과 접촉시 척추를 가압하여 교정하기 위한 교정부재(30)와;
    상기 교정부재(30)가 상기 본체(20)의 절개부(22) 상에서 상하로 이동가능하도록 탄성력을 부여하기 위한 탄성부재(40)를 포함하는 것을 특징으로 하는 척추 측만 및 곡만 교정기.
  2. 제 1 항에 있어서,
    상기 교정부재(30)는 상기 본체(20)의 절개부(22) 상에 배치되고, 상부가 척추의 곡률과 대응되는 곡률을 가지며, 양측면으로 결합봉(311)이 이격되어 형성되는 중심체(31)와;
    상기 중심체(31)와 대응되는 형상으로 이루어져 상기 중심체(31)의 결합봉(311)이 삽입되도록 상하방향으로 장방향의 관통홀(321)이 형성되고, 하부에서 상측으로 상기 탄성부재(40)가 위치되는 절개부(322)가 양측으로 이격되어 형성되는 교정구(32)를 포함하는 것을 특징으로 하는 척추 측만 및 곡만 교정기.
  3. 제 2 항에 있어서,
    상기 탄성부재(40)는 상기 본체(20)의 하면에서 상기 절개부(22) 상으로 형성되는 관통홀(23)을 관통하는 체결볼트(41)와;
    원통형상으로 이루어져 하부 내주면에 상기 체결볼트(41)와 체결되도록 제1나사산(421)이 형성되고, 상부 외주면에 제2나사산(422)이 형성되며, 상부가 개방되어 수용공간(423)을 갖는 연결구(42)와;
    상기 연결구(42)의 수용공간(423)에 수용되는 탄성구(43)와;
    하부가 개방되어 상기 탄성구(43)가 수용되는 수용공간(441)을 갖고, 개방된 하부 내주면에 상기 연결구(42)의 제2나사산(422)과 체결되도록 나사산(442)이 형성되는 커버(44)를 포함하는 것을 특징으로 하는 척추 측만 및 곡만 교정기.
  4. 제 3 항에 있어서,
    상기 커버(44)의 나사산(442)은 하부 내주면에 일부분만 형성되고,
    상기 연결구(42)의 제2나사산(422)은 상기 커버(44)의 나사산(442)과의 체결후 상측으로 이탈되어 상기 수용공간(441)에 수용되고, 상기 수용공간(441) 상에서 상기 탄성구(43)에 의해 상하로 이동가능하게 형성되는 것을 특징으로 하는 척추 측만 및 곡만 교정기.
  5. 제 2 항에 있어서,
    상기 교정부재(30)의 교정구(32)는 상면에 돌출되게 결합되어 사용자의 등과 접촉시 등의 경혈을 자극하도록 형성되는 복수개의 수정(323)을 포함하는 것을 특징으로 하는 척추 측만 및 곡만 교정기.
KR1020200165451A 2020-12-01 2020-12-01 척추 측만 및 곡만 교정기 Active KR102503243B1 (ko)

Priority Applications (1)

Application Number Priority Date Filing Date Title
KR1020200165451A KR102503243B1 (ko) 2020-12-01 2020-12-01 척추 측만 및 곡만 교정기

Applications Claiming Priority (1)

Application Number Priority Date Filing Date Title
KR1020200165451A KR102503243B1 (ko) 2020-12-01 2020-12-01 척추 측만 및 곡만 교정기

Publications (2)

Publication Number Publication Date
KR20220076696A true KR20220076696A (ko) 2022-06-08
KR102503243B1 KR102503243B1 (ko) 2023-02-24

Family

ID=81981073

Family Applications (1)

Application Number Title Priority Date Filing Date
KR1020200165451A Active KR102503243B1 (ko) 2020-12-01 2020-12-01 척추 측만 및 곡만 교정기

Country Status (1)

Country Link
KR (1) KR102503243B1 (ko)

Cited By (1)

* Cited by examiner, † Cited by third party
Publication number Priority date Publication date Assignee Title
CN115429617A (zh) * 2022-08-23 2022-12-06 西安市红会医院(西安市骨科研究所) 一种骨科用脊柱侧弯矫正器

Citations (3)

* Cited by examiner, † Cited by third party
Publication number Priority date Publication date Assignee Title
KR200193647Y1 (ko) * 2000-03-13 2000-08-16 김병재 간이 척추교정기
KR101849884B1 (ko) * 2016-10-28 2018-05-31 백형철 척추 교정대
KR101993809B1 (ko) 2017-09-14 2019-06-27 박병기 척추 측만 및 곡만 교정기

Patent Citations (3)

* Cited by examiner, † Cited by third party
Publication number Priority date Publication date Assignee Title
KR200193647Y1 (ko) * 2000-03-13 2000-08-16 김병재 간이 척추교정기
KR101849884B1 (ko) * 2016-10-28 2018-05-31 백형철 척추 교정대
KR101993809B1 (ko) 2017-09-14 2019-06-27 박병기 척추 측만 및 곡만 교정기

Cited By (1)

* Cited by examiner, † Cited by third party
Publication number Priority date Publication date Assignee Title
CN115429617A (zh) * 2022-08-23 2022-12-06 西安市红会医院(西安市骨科研究所) 一种骨科用脊柱侧弯矫正器

Also Published As

Publication number Publication date
KR102503243B1 (ko) 2023-02-24

Similar Documents

Publication Publication Date Title
US10561561B2 (en) Functional pillow for manipulation therapy
KR101173164B1 (ko) 경추 견인치료기
KR101633910B1 (ko) 경추 보조장치
KR101780277B1 (ko) 신연을 이용한 경추교정베개
KR102284813B1 (ko) 신연을 이용한 경추교정베개
RU2753640C1 (ru) Корректирующий позвоночник ортопедический массажный валик
US20160128902A1 (en) Chair with Backrest Having Pressure Points for Stimulating Mechanoreceptors
KR101649416B1 (ko) 머리 이완용 베개
KR102503243B1 (ko) 척추 측만 및 곡만 교정기
KR100795271B1 (ko) 베어 등목 베개
JP2005046553A (ja) 健康枕
KR102218609B1 (ko) 상면과 저면에 서로 다른 자극돌기 구조를 갖는 휴대용 척추 지압기구
KR200216138Y1 (ko) 척추 교정용 의자
KR101664462B1 (ko) 두개천골 요법이 적용된 착석용 골반베개
US20240065923A1 (en) Massage apparatus
US5570703A (en) Contoured therapeutic spinal support
KR101813106B1 (ko) 자세교정을 위한 개량형 탈착식 척추지지대
KR101993809B1 (ko) 척추 측만 및 곡만 교정기
KR101509204B1 (ko) 경추 베개
JP2005027993A (ja) 頚椎生理的前弯維持・矯正枕
KR20090001134U (ko) 신체교정장치
KR200216334Y1 (ko) 자세교정구
KR20210133333A (ko) 경추굴곡 감지를 통한 교정운동 마사지장치
RU236873U1 (ru) Ортопедическое устройство для поясницы и таза
RU2729941C1 (ru) Анатомический матрас для отдыха и снятия напряжений с мышц человека

Legal Events

Date Code Title Description
PA0109 Patent application

Patent event code: PA01091R01D

Comment text: Patent Application

Patent event date: 20201201

PA0201 Request for examination
PG1501 Laying open of application
E902 Notification of reason for refusal
PE0902 Notice of grounds for rejection

Comment text: Notification of reason for refusal

Patent event date: 20221130

Patent event code: PE09021S01D

E701 Decision to grant or registration of patent right
PE0701 Decision of registration

Patent event code: PE07011S01D

Comment text: Decision to Grant Registration

Patent event date: 20230131

GRNT Written decision to grant
PR0701 Registration of establishment

Comment text: Registration of Establishment

Patent event date: 20230220

Patent event code: PR07011E01D

PR1002 Payment of registration fee

Payment date: 20230221

End annual number: 3

Start annual number: 1

PG1601 Publication of registration