KR20220072648A - 반도체 소자와 lc 공진 회로를 이용한 하이브리드 dc 차단기 - Google Patents

반도체 소자와 lc 공진 회로를 이용한 하이브리드 dc 차단기 Download PDF

Info

Publication number
KR20220072648A
KR20220072648A KR1020200160490A KR20200160490A KR20220072648A KR 20220072648 A KR20220072648 A KR 20220072648A KR 1020200160490 A KR1020200160490 A KR 1020200160490A KR 20200160490 A KR20200160490 A KR 20200160490A KR 20220072648 A KR20220072648 A KR 20220072648A
Authority
KR
South Korea
Prior art keywords
circuit
semiconductor element
current
circuit breaker
breaker
Prior art date
Legal status (The legal status is an assumption and is not a legal conclusion. Google has not performed a legal analysis and makes no representation as to the accuracy of the status listed.)
Granted
Application number
KR1020200160490A
Other languages
English (en)
Other versions
KR102505689B9 (ko
KR102505689B1 (ko
Inventor
이교범
한병문
이의재
차지윤
Original Assignee
아주대학교산학협력단
Priority date (The priority date is an assumption and is not a legal conclusion. Google has not performed a legal analysis and makes no representation as to the accuracy of the date listed.)
Filing date
Publication date
Application filed by 아주대학교산학협력단 filed Critical 아주대학교산학협력단
Priority to KR1020200160490A priority Critical patent/KR102505689B1/ko
Publication of KR20220072648A publication Critical patent/KR20220072648A/ko
Application granted granted Critical
Publication of KR102505689B1 publication Critical patent/KR102505689B1/ko
Publication of KR102505689B9 publication Critical patent/KR102505689B9/ko
Active legal-status Critical Current
Anticipated expiration legal-status Critical

Links

Images

Classifications

    • HELECTRICITY
    • H01ELECTRIC ELEMENTS
    • H01HELECTRIC SWITCHES; RELAYS; SELECTORS; EMERGENCY PROTECTIVE DEVICES
    • H01H33/00High-tension or heavy-current switches with arc-extinguishing or arc-preventing means
    • H01H33/02Details
    • H01H33/59Circuit arrangements not adapted to a particular application of the switch and not otherwise provided for, e.g. for ensuring operation of the switch at a predetermined point in the AC cycle
    • H01H33/596Circuit arrangements not adapted to a particular application of the switch and not otherwise provided for, e.g. for ensuring operation of the switch at a predetermined point in the AC cycle for interrupting DC
    • HELECTRICITY
    • H02GENERATION; CONVERSION OR DISTRIBUTION OF ELECTRIC POWER
    • H02HEMERGENCY PROTECTIVE CIRCUIT ARRANGEMENTS
    • H02H3/00Emergency protective circuit arrangements for automatic disconnection directly responsive to an undesired change from normal electric working condition with or without subsequent reconnection ; integrated protection
    • H02H3/08Emergency protective circuit arrangements for automatic disconnection directly responsive to an undesired change from normal electric working condition with or without subsequent reconnection ; integrated protection responsive to excess current
    • H02H3/087Emergency protective circuit arrangements for automatic disconnection directly responsive to an undesired change from normal electric working condition with or without subsequent reconnection ; integrated protection responsive to excess current for DC applications
    • HELECTRICITY
    • H02GENERATION; CONVERSION OR DISTRIBUTION OF ELECTRIC POWER
    • H02HEMERGENCY PROTECTIVE CIRCUIT ARRANGEMENTS
    • H02H9/00Emergency protective circuit arrangements for limiting excess current or voltage without disconnection
    • H02H9/02Emergency protective circuit arrangements for limiting excess current or voltage without disconnection responsive to excess current
    • H02H9/028Current limitation by detuning a series resonant circuit
    • YGENERAL TAGGING OF NEW TECHNOLOGICAL DEVELOPMENTS; GENERAL TAGGING OF CROSS-SECTIONAL TECHNOLOGIES SPANNING OVER SEVERAL SECTIONS OF THE IPC; TECHNICAL SUBJECTS COVERED BY FORMER USPC CROSS-REFERENCE ART COLLECTIONS [XRACs] AND DIGESTS
    • Y02TECHNOLOGIES OR APPLICATIONS FOR MITIGATION OR ADAPTATION AGAINST CLIMATE CHANGE
    • Y02EREDUCTION OF GREENHOUSE GAS [GHG] EMISSIONS, RELATED TO ENERGY GENERATION, TRANSMISSION OR DISTRIBUTION
    • Y02E60/00Enabling technologies; Technologies with a potential or indirect contribution to GHG emissions mitigation
    • Y02E60/60Arrangements for transfer of electric power between AC networks or generators via a high voltage DC link [HVCD]

Landscapes

  • Engineering & Computer Science (AREA)
  • Power Engineering (AREA)
  • Driving Mechanisms And Operating Circuits Of Arc-Extinguishing High-Tension Switches (AREA)

Abstract

본원은 반도체 소자와 LC 공진 회로를 이용한 하이브리드 DC 차단기에 관한 것으로, 본원의 일 실시예에 따른 DC 차단기는 공급 전원과 선로 사이에 연결되는 차단기, 상기 차단기와 병렬로 연결되고, 일방향의 전류 흐름을 제어하는 제1다이오드, 커패시터와 인덕터가 직렬로 연결된 LC 회로, 일방향으로 전류의 흐름을 제어하는 복수개의 반도체 소자, 상기 LC 회로의 충전된 전압을 반전시키기 위하여 전류 흐름을 제어하는 반전부, 상기 LC 회로를 충전시키기 위한 전류 흐름을 제어하는 충전부, 공진 전류 주입을 위하여 전류 흐름을 제어하는 공진부 및 상기 선로의 에너지를 방사하는 방전 회로를 포함할 수 있다.

Description

반도체 소자와 LC 공진 회로를 이용한 하이브리드 DC 차단기 {HYBRID DC CIRCUIT BREAKER USING LC RESONANCE CIRCUIT AND SEMICONDUCTOR DEVICE}
본원은 반도체 소자와 LC 공진 회로를 이용한 하이브리드 DC 차단기에 관한 것이다.
직류 송전 시스템은 기존의 교류 송전 시스템에 비해 효율 및 비용 측면에서 유리하며, 주파수 차이에서 자유롭기 때문에 국가 간 송전에 적합한 장점을 갖는다.
신재생에너지 발전단지의 보급이 증가하면서 기존 AC 계통과 1:1로 연결하는 Point-to-point 방식 대신에, 대량의 부하와 결합이 자유로운 Multi-terminal 방식이 주목 받고 있다.
Multi-terminal 방식의 경우 터미널 간 상호 간섭 효과를 배제하여야 하므로, DC 단에서의 직접 차단이 요구되고, 기존에 개발된 DC 차단기의 차단 방식으로 고장 전류 우회 방식과 공진 전류 주입 방식이 있다.
공진 전류 주입 방식의 경우 초기에는 고속 기계식 스위치를 사용하였으나, 느린 차단 속도로 인해 반도체 스위치를 이용한 빠른 차단 시간 확보, 손실과 경제성 측면을 모두 만족할 수 있는 DC 차단기가 필요하다.
특히, 신재생에너지 전력 공급 비중을 확대하는 국제적 추세를 고려하면, 대용량 직류 송전 시스템에서 빠른 차단 속도를 확보할 수 있으면서, 손실을 최소화하고 경제적 측면에서 유리한 DC 차단기에 대한 필요가 증가하고 있다.
본원의 배경이 되는 기술은 한국등록특허 제10-1843640호에 개시되어 있다.
본원은 전술한 종래 기술의 문제점을 해결하기 위한 것으로서 정상작동 시 손실이 적고, 고장 시 차단 손실이 적으며, 초기 충전 시 LC 회로에 충전된 전압의 극성 반전이 필요하지 않고, 차단 동작 수행 후 다음 고장에 대비하는 사전 동작을 선로에 유기된 에너지를 방전하는 과정에 수행하여, 정상 상태 회복을 위한 별도의 시간이 요구되지 않는 하이브리드 DC 차단기를 제공하는 것을 목적으로 한다.
다만, 본원의 실시예가 이루고자 하는 기술적 과제는 상기된 바와 같은 기술적 과제들도 한정되지 않으며, 또 다른 기술적 과제들이 존재할 수 있다.
상기한 기술적 과제를 달성하기 위한 기술적 수단으로서, 본원의 일 실시예에 따른 DC 차단기는 공급 전원과 선로 사이에 연결되는 차단기, 상기 차단기와 병렬로 연결되고, 일방향의 전류 흐름을 제어하는 제1다이오드, 커패시터와 인덕터가 직렬로 연결된 LC 회로, 일방향으로 전류의 흐름을 제어하는 복수개의 반도체 소자, 상기 LC 회로의 충전된 전압을 반전시키기 위하여 전류 흐름을 제어하는 반전부, 상기 LC 회로를 충전시키기 위한 전류 흐름을 제어하는 충전부, 공진 전류 주입을 위하여 전류 흐름을 제어하는 공진부 및 상기 선로의 에너지를 방사하는 방전 회로를 포함할 수 있다.
본원의 일 실시예에 따른 DC 차단기의 상기 반전부는 상기 LC 회로에 병렬로 연결되는 제4반도체 소자를 포함하고, 상기 충전부는 상기 LC 회로의 일측과 상기 차단기의 일측에 연결되는 제1반도체 소자, 상기 LC 회로의 타측과 접지에 연결되는 충전 저항 및 제5반도체 소자를 포함하고, 상기 공진부는 상기 LC 회로의 일측과 상기 차단기의 타측에 연결되는 제2반도체 소자 및 상기 LC 회로의 타측과 상기 차단기의 일측에 연결되는 제3반도체 소자를 포함하고, 상기 방전 회로는 상기 선로와 접지 사이에 연결되는 제2다이오드 및 방전 소자를 포함할 수 있다.
본원의 일 실시예에 따른 DC 차단기의 상기 충전부는, 정상 상태에서 상기 제1반도체 소자 및 상기 제5반도체 소자를 턴온시켜 상기 커패시터를 충전하고, 상기 커패시터의 충전 완료 후 상기 제1반도체 소자 및 상기 제5반도체 소자가 턴오프되는 것일 수 있다.
본원의 일 실시예에 따른 DC 차단기의 상기 충전부는, 동작 대기 상태에서 충전된 상기 커패시터의 전압이 기설정한 값 이하일 때, 상기 제1반도체 소자 및 상기 제5반도체 소자를 턴온시켜 상기 커패시터를 충전하고, 상기 커패시터의 충전 완료 후 상기 제1반도체 소자 및 상기 제5반도체 소자가 턴오프 되는 것일 수 있다.
본원의 일 실시예에 따른 DC 차단기의 상기 공진부는, 부하 측 사고 발생시 상기 제2반도체 소자 및 상기 제3반도체 소자를 턴온시켜, 상기 LC 회로에 충전된 전압을 이용하여 상기 차단기로 사고전류의 역방향으로 공진 전류를 주입하고, 상기 차단기는 상기 사고전류 및 상기 공진 전류에 따라, 상기 차단기에 흐르는 전류가 영점이 될 때 개방되는 것일 수 있다.
본원의 일 실시예에 따른 DC 차단기의 상기 제1다이오드는, 상기 차단기가 개방될 때 턴온되고, 상기 커패시터의 전압에 따라 턴오프 되는 것일 수 있다.
본원의 일 실시예에 따른 DC 차단기의 상기 LC 회로는, 부하 측 사고 발생시 상기 차단기가 개방된 상태 및 상기 제2반도체 소자 및 상기 제3반도체 소자가 턴온된 상태에서, 상기 공급 전원 및 사고 전류에 따라 상기 커패시터를 재충전하고, 상기 제2반도체 소자 및 상기 제3반도체 소자는 상기 커패시터의 재충전 전압에 따라 턴오프 되는 것일 수 있다.
본원의 일 실시예에 따른 DC 차단기의 상기 반전부는, 상기 제2반도체 소자 및 상기 제3반도체 소자가 턴오프 된 후, 상기 제4반도체 소자를 턴온시켜 상기 커패시터 전압을 반전시키는 것일 수 있다.
본원의 일 실시예에 따른 DC 차단기의 상기 방전 회로는, 부하 측 사고 발생시 상기 제2다이오드가 턴온되어, 상기 선로에 유기된 에너지가 상기 방전 소자에 의해 방전되는 것일 수 있다.
본원의 일 실시예에 따른 DC 차단기의 상기 반전부는, 상기 선로에 유기된 에너지가 상기 방전 소자에 의해 방전되는 동안, 상기 제4반도체 소자를 턴온시켜 상기 커패시터 전압을 반전시키는 것일 수 있다.
본원의 일 실시예에 따른 DC 차단기의 상기 복수개의 반도체 소자, 상기 제1반도체 소자 내지 상기 제5반도체 소자는 사이리스터인 것일 수 있다.
본원의 일 실시예에 따른 양방향 DC 차단기는 제1공급 전원에 연결되는 제1선로와 연결되는 제1차단기, 상기 제1차단기와 제2공급 전원에 연결되는 제2선로에 연결되는 제2차단기, 상기 제2차단기와 병렬로 연결되고, 일방향의 전류 흐름을 제어하는 제1다이오드, 상기 제1차단기와 병렬로 연결되고, 일방향의 전류 흐름을 제어하는 제3다이오드, 커패시터와 인덕터가 직렬로 연결된 LC 회로, 상기 LC 회로에 병렬로 연결되는 제4반도체 소자를 포함하고, 상기 LC 회로의 충전된 전압을 반전시키기 위하여 전류 흐름을 제어하는 반전부, 상기 LC 회로의 일측과 상기 제1차단기-상기 제2차단기 접점에 연결되는 제1반도체 소자, 상기 LC 회로의 타측과 접지에 연결되는 충전 저항 및 제5반도체 소자를 포함하고, 상기 LC 회로를 충전시키기 위한 전류 흐름을 제어하는 충전부, 상기 LC 회로의 일측과 상기 제2차단기-상기 제2선로 접점에 연결되는 제2반도체 소자 및 상기 LC 회로의 타측과 상기 제1차단기-상기 제1선로 접점에 연결되는 제3반도체 소자를 포함하고, 상기 제2차단기로의 공진 전류 주입을 위하여 전류 흐름을 제어하는 제1공진부, 상기 LC 회로의 일측과 상기 제1차단기-상기 제1선로 접점에 연결되는 제6반도체 소자 및 상기 LC 회로의 타측과 상기 제2차단기-상기 제2선로의 접점에 연결되는 제7반도체 소자를 포함하고, 상기 제1차단기로의 공진 전류 주입을 위하여 전류 흐름을 제어하는 제2공진부, 상기 제2선로와 접지 사이에 연결되는 제2다이오드 및 제1방전 소자를 포함하고, 상기 제2선로의 에너지를 방사하는 제1방전 회로, 상기 제1선로와 접지 사이에 연결되는 제4다이오드 및 제2방전 소자를 포함하고, 상기 제1선로의 에너지를 방사하는 제2방전 회로를 포함할 수 있다.
본원의 일 실시예에 따른 양"??* DC 차단기의 상기 제1공진부는, 상기 제2공급 전원측 사고 발생시 상기 제2반도체 소자 및 상기 제3반도체 소자를 턴온시켜, 상기 LC 회로로부터 상기 제2차단기로 사고 전류와 반대 방향으로 공진 전류를 주입하고, 제2공진부는 상기 제1공급 전원측 사고 발생시 상기 제6반도체 소자 및 상기 제7반도체 소자를 턴온시켜, 상기 LC 회로로부터 상기 제1차단기로 사고 전류와 반대 방향으로 공진 전류를 주입하는 것일 수 있다.
상술한 과제 해결 수단은 단지 예시적인 것으로서, 본원을 제한하려는 의도로 해석되지 않아야 한다. 상술한 예시적인 실시예 외에도, 도면 및 발명의 상세한 설명에 추가적인 실시예가 존재할 수 있다.
전술한 본원의 과제 해결 수단에 의하면, 정상 동작 시에 LC 회로에 충전된 전압을 반전하지 않고 공진 전류를 주입할 수 있고, 사고 발생 시 사고 전류 및 공급 전원을 이용하여 LC 회로를 재충전하고, 선로에 유기된 에너지를 방사하는 동작을 수행하면서LC 회로에 재충전된 전압을 반전시킴으로써, 사고 발생 후 다음 고장에 대비하는 사전 동작을 수행하기 위한 별도의 준비 시간 없이 동작할 수 있다.
또한, 빠른 차단 속도를 확보하면서, 손실이 적고, 경제적인 DC 차단기를 제공할 수 있다.
다만, 본원에서 얻을 수 있는 효과는 상기된 바와 같은 효과들로 한정되지 않으며, 또 다른 효과들이 존재할 수 있다.
도1은 본원의 일 실시예에 따른 DC 차단기를 나타낸 회로도이다.
도2는 본원의 일 실시예에 따른 DC 차단기의 충전 동작을 나타낸 회로도이다.
도3은 본원의 일 실시예에 따른 부하 측 사고 발생 시 DC 차단기의 공진 전류 주입을 나타낸 회로도이다.
도4는 본원의 일 실시예에 따른 부하 측 사고 발생 시 DC 차단기의 차단기 개방 동작을 나타낸 회로도이다.
도5는 본원의 일 실시예에 따른 부하 측 사고 발생 시 DC 차단기의 LC 회로를 재충전하는 동작을 나타낸 회로도이다.
도6은 본원의 일 실시예에 따른 부하 측 사고 발생 시 DC 차단기의 재충전된 LC 전압 반전 동작 및 선로에 유기된 에너지 방사 동작을 나타낸 회로도이다.
도7은 본원의 일 실시예에 따른 DC 차단기를 단극 직류 송전선로(Monopole DC)에 적용한 회로도이다.
도8은 본원의 일 실시예에 따른 양방향 DC 차단기를 단극 직류 송전선로(Monopole DC)에 적용한 회로도이다.
도9는 본원의 일 실시예에 따른 DC 차단기의 동작 시뮬레이션 결과를 나타낸 도면이다.
도10는 본원의 일 실시예에 따른 Monopole HVDC에 적용한 양방향 DC 차단기의 동작 시뮬레이션 결과를 나타낸 도면이다.
도11은 본원의 일 실시예에 따른 DC 차단기의 개략적인 구성도이다.
도12은 본원의 일 실시예에 따른 양방향 DC 차단기의 개략적인 구성도이다.
아래에서는 첨부한 도면을 참조하여 본원이 속하는 기술 분야에서 통상의 지식을 가진 자가 용이하게 실시할 수 있도록 본원의 실시예를 상세히 설명한다. 그러나 본원은 여러 가지 상이한 형태로 구현될 수 있으며 여기에서 설명하는 실시예에 한정되지 않는다. 그리고 도면에서 본원을 명확하게 설명하기 위해서 설명과 관계없는 부분은 생략하였으며, 명세서 전체를 통하여 유사한 부분에 대해서는 유사한 도면 부호를 붙였다.
본원 명세서 전체에서, 어떤 부분이 다른 부분과 "연결"되어 있다고 할 때, 이는 "직접적으로 연결"되어 있는 경우뿐 아니라, 그 중간에 다른 소자를 사이에 두고 "전기적으로 연결"되어 있는 경우도 포함한다.
본원 명세서 전체에서, 어떤 부재가 다른 부재 "상에", "상부에", "상단에", "하에", "하부에", "하단에" 위치하고 있다고 할 때, 이는 어떤 부재가 다른 부재에 접해 있는 경우뿐 아니라 두 부재 사이에 또 다른 부재가 존재하는 경우도 포함한다.
본원 명세서 전체에서, 어떤 부분이 어떤 구성요소를 "포함" 한다고 할 때, 이는 특별히 반대되는 기재가 없는 한 다른 구성요소를 제외하는 것이 아니라 다른 구성 요소를 더 포함할 수 있는 것을 의미한다.
다르게 정의되지 않는 한, 기술적이거나 과학적인 용어를 포함해서 여기서 사용되는 모든 용어들은 본원이 속하는 기술분야에서 통상의 지식을 가진 자에 의해 일반적으로 이해되는 것과 동일한 의미가 있다.
일반적으로 사용되는 사전에 정의되어 있는 것과 같은 용어들은 관련 기술의 문맥상 가지는 의미와 일치하는 의미를 갖는 것으로 해석되어야 하며, 본원에서 명백하게 정의하지 않는 한, 이상적이거나 과도하게 형식적인 의미로 해석되지 않아야 한다.
이하의 설명에서 사용되는 구성요소에 대한 접미사 "모듈", "블록" 및 "부"는 명세서 작성의 용이함만이 고려되어 부여되거나 혼용되는 것으로서, 그 자체로 서로 구별되는 의미 또는 역할을 갖는 것은 아니다.
이하의 설명에서 차단기(200)에 공진 전류를 주입한다고 하는 것은, LC 회로(110)의 공진에 의한 공진 전류가 차단기(200)에 흐르도록 할 수 있다는 것을 의미할 수 있다. 또한, 차단기(200)에 흐르는 전류가 영점을 지난다는 것은 차단기(200)에 흐르는 전류의 크기가 0이 될 수 있다는 것을 의미할 수 있고, LC 회로(110)를 충전 또는 재충전한다는 것은, LC 회로(110)의 커패시터(111)를 충전 또는 재충전하는 것을 의미할 수 있으며, 사고 전류는 고장 전류와 동일하게 이해될 수 있다.
DC 차단기는 Multi-terminal 방식의 직류 송전 시스템에서 필수적인 전력기기 중 하나이다. 현재 국내외에서 다양한 DC 고속차단기를 개발하여 발표하였으나, 기계식 고속 차단기가 대부분이며 이는 느린 차단 속도로 인해 전압원 인버터의 보호에 부적합하다. ABB 및 중국의 하이브리드 DC 차단기는 충분히 빠른 차단 속도를 구현하였으나, 정상 상태에서의 높은 전도 손실과 고가의 비용으로 인해 상용화에 제약이 존재한다.
본원에서 개시하는 DC 차단기(100)는 공진 전류 주입 방식의 하이브리드 DC 차단기로서 정상 상태시 기계식 고속 스위치를 통해 전류가 흐르며, 고장 발생 시 사전에 충전된 공진 회로에서 고장 전류의 역방향으로 공진 전류를 주입할 수 있다. 주입된 공진 전류에 의해 고장 전류가 감소되면 기계식 고속 스위치가 개방되며 고장 지점과 전원을 차단한다. 차단 후 선로에 남아있는 자기에너지는 ZnO를 통해 열로 방사된다. 본 발명에서 제안하는 하이브리드 DC 차단기의 차단 시간은 5 ms 이내로 VSC의 보호에 적합하다. 또한 공진 회로 충전 및 공진 전류 주입 동작은 사이리스터 밸브를 이용하여 수행하기 때문에 IGBT 스위치를 이용한 다른 하이브리드 DC 차단기와 비교하여 경제적인 측면에서 장점을 갖는다.
본원의 일 실시예에 따라 개시되는 하이브리드 DC 차단기(110) 및 이의 동작 방법은, 반도체 소자(120)인 사이리스터 밸브와 LC 공진 회로를 이용하는 것으로, 대용량 및 Multi-treminal 방식의 직류 송전 시스템에 적용이 가능하다. 교류와 달리 직류는 고장 발생 시 전류 영점이 발생하지 않기 때문에, 차단이 어려워 손쉽게 차단하기 위해 영점을 생성해서 차단할 수 있다. 대용량에 적용 가능한 전류 영점 생성 방식은 고장 전류 우회 방식과 공진 전류 주입 방식이 있으며, 본원에서 개시하는 DC 차단기(110)는 공진 전류 주입 방식을 이용하여 전류 영점을 생성할 수 있다.
본원에서 개시하는 DC 차단기는 정상 상태에서 기계식 고속 스위치(차단기)를 이용하여 입력 전원으로부터 부하로 전력을 전달할 수 있다. 고장 발생 시 충전된 커패시터(111)는 공진 전류 주입용 반도체 소자(120), 즉 사이리스터를 통해 고장 전류의 역방향으로 공진 전류를 주입하여 고장 전류를 감소시킬 수 있다. 기계식 고속 스위치에 흐르는 고장 전류값이 0이 되었을 시, 기계식 고속 스위치는 개방되며, 본원에서 개시하는 DC 차단기(100)는 고장 전류를 분기하기 위한 동작을 수행한다. 분기 후 선로에 남아있는 자기에너지는 ZnO(방전 소자)를 통해 열로 방사되며, 고장 전류는 소멸한다. 본 발명은 현재 전세계적으로 가장 상용화된 ABB사의 하이브리드 DC 차단기와 비교하여 경제적인 측면에서 장점을 가지고, 직류 송전 시스템에 필수적인 전력기기이므로, 추후 MVDC 사업이 본격화 될 경우, 더욱 활용도가 높아질 수 있다.
본원에서 개시하는 DC 차단기(100)는 DC 선로에서 고장 발생 시 DC 선로의 직접 차단이 가능하기 때문에, 대용량 직류 송전 시스템(HVDC, MVDC 시스템 등)의 적용이 가능하다. 또한 현재 보급량이 급증하고 있는 친환경 전기차 충전소 및 DC 마이크로그리드, LVDC 시스템 등의 분야에서 고장으로 인한 2차 피해를 방지하기 위해 널리 사용될 수 있다.
본원의 일 실시예에 따른 DC 차단기(100)는 DC 송전 시스템의 고장 발생 시, 공진 전류를 고장 전류의 역방향으로 주입하여 5ms 이내에 고장 지점으로부터 전원을 차단할 수 있다.
기존의 DC 차단기는 빠른 차단 속도가 확보되지 못하거나, 높은 손실 및 값비싼 가격으로 인해 상용화에 제약이 존재하였다. 반면 본 발명은 5 ms 이내라는 충분히 빠른 차단 시간을 확보하였으며, 사이리스터 밸브를 사용하여 과전류 및 과전압에 강인성을 확보하였으며, 경제적인 측면에서 경쟁력을 확보할 수 있다. 또한 본원의 일 실시예에 따른 DC 차단기(100)는 HVDC, MVDC, LVDC 시스템뿐만 아니라 DC 마이크로그리드 분야에 적용이 가능하므로 시장성이 클 것으로 예상된다.
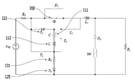
도1은 본원의 일 실시예에 따른 DC 차단기(100)를 나타낸 회로도이다. 도1에서 부하는 Rl, 선로는 DC 차단기(100)와 부하 사이에 연결된 선로에 해당할 수 있다.
도1을 참조하면, 본원의 일 실시예에 따른 DC 차단기(100)를 이용하여 직류 송전 시스템을 구축할 수 있다. DC 차단기(100)는 공급 전원(300)으로부터 공급 받는 전원을 이용하여 LC 회로(110)를 충전하고, 사고 발생 시 사고 전류의 반대방향으로 차단기(200)에 공진 전류를 주입함으로써 차단기(200)에 흐르는 전류가 영점일 때 차단기(200)를 개방할 수 있다. DC 차단기(100)는 정상 상태에서 공급 전원(300)으로부터 공급받은 전력을 부하측 선로를 통하여 부하로 공급할 수 있다.
도1을 참조하면, 본원의 일 실시예에 따른 DC 차단기(100)는 공급 전원(300)과 선로 사이에 연결되는 차단기(200), 차단기(200)와 병렬로 연결되고, 일방향의 전류 흐름을 제어하는 제1다이오드(170), 커패시터(111)와 인덕터(112)가 직렬로 연결된 LC 회로(110), 일방향으로 전류의 흐름을 제어하는 복수개의 반도체 소자(120), LC 회로(110)의 충전된 전압을 반전시키기 위하여 전류 흐름을 제어하는 반전부(150), LC 회로(110)를 충전시키기 위한 전류 흐름을 제어하는 충전부(130), 공진 전류 주입을 위하여 전류 흐름을 제어하는 공진부(140) 및 선로의 에너지를 방사하는 방전 회로(160)를 포함할 수 있다. DC 차단기(100)는 사고 전류 및 공급 전원(300)을 통해 사고 시에 LC 회로(110)를 충전하고, 방전 회로(160)에서 선로의 자기에너지를 방사하는 동작을 수행하면서 재충전된 LC 회로(110)의 전압을 반전시켜, 별도의 동작 대기 시간 없이 다음 동작을 수행할 수 있다.
차단기(200)는 공급 전원(300)과 선로 사이에 연결될 수 있다. 차단기(200)는 공급 전원(300)을 부하측으로 공급하기 위한 것이며, 사고 발생 시 기기의 보호, 사고 방지 등을 위하여 빠르게 개방되어, 공급 전원(300)으로부터 부하측으로의 전력 공급을 차단할 수 있다. 이후 설명하는 바와 같이, 공진 전류를 사고 전류와 반대방향으로 주입하여 차단기(200)에 흐르는 전류가 영점일 때 차단기(200)를 개방함으로써, 아크(arc) 발생을 최소화할 수 있다. 예시적으로, 차단기(200)는 고속 기계식 차단기(200) 등이 적용될 수 있다.
제1다이오드(170)는 차단기(200)와 병렬로 연결되며, 일방향으로 전류의 흐름을 제어할 수 있다. 다이오드는 양단 전압차에 따라 다르게 동작하는 것으로, 양단의 전압차가 순방향인 경우에만 전류가 흐르는 소자이다. 제1다이오드(170)는 사고 전류의 역방향인 공진 전류가 흐를 수 있도록 차단기(200)와 병렬로 연결될 수 있다. 제1다이오드(170)는 반도체 소자(120)와 달리, 도통되어 전류가 흐르기 위해서는 별도로 소자를 제어하기 위한 신호, 입력 등이 필요하지 않고, 양단 전압차에 의해 도통될 수 있으나, 이하의 설명에서 제1다이오드(170)가 "턴온"된다고 함은, 양단 전압차에 의하여 제1다이오드(170)가 도통되어 전류가 흐를 수 있다는 의미에 해당할 수 있고, "턴오프"된다고 함은, 제1다이오드(170)에 전류가 흐르지 않는다는 것을 의미할 수 있으며, 제2다이오드(171) 내지 제4다이오드(173)에도 동일하게 적용될 수 있다.
LC 회로(110)는 커패시터(111)(capacitor)와 인덕터(112)(inductor)를 포함할 수 있다. 커패시터(111)는 직류로 공급되는 공급 전원(300)으로부터 충전될 수 있고, 사고 발생 시 커패시터(111)와 인덕터(112)에 의한 공진 전류를 사고 전류와 반대방향으로 차단기(200)에 주입할 수 있다. 사고가 발생하였을 때, 사고 전류와 공급 전원(300)을 이용하여 LC 회로(110)의 커패시터(111)는 재충전될 수 있다. 재충전된 전압의 극성을 반전시켜, 다음 사고에 대비한 준비 과정을 수행할 수 있다.
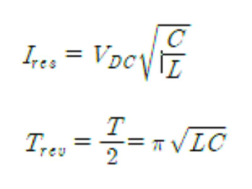
LC 회로(110)에서 차단기(200)로 주입하는 공진 전류의 최대값 Ires와 재충전된 전압의 극성 반전을 위한 극성 전환 동작 시간 Trev는 아래 [식1]과 같다. 공진 전류는 사고 발생 시 사고 전류의 역방향으로 차단기(200)에 주입하여, 차단기(200)에 흐르는 전류의 크기가 영점을 지나도록 하기 위한 것으로, 공진 전류의 최대 크기는 사고 전류의 크기보다 크도록 설정할 수 있으며, 인덕터(112)와 커패시터(111)의 값을 조정하여 설정할 수 있다. 또한, 인덕터(112)와 커패시터(111)의 값은 재충전된 전압의 극성을 반전시키기 위한 Trev의 크기에도 영향을 미치므로, 인덕터(112)와 커패시터(111)의 값은 공진 전류의 최대값 Ires와 극성 전환 동작 시간 Trev를 고려하여 결정될 수 있다.
[식1]
Figure pat00001
[식1]에서, Ires는 공진 전류의 최대값, Trev는 극성 전환 동작 시간이며, VDC는 공급 전원(300)의 전압의 크기, C는 커패시터(111)의 커패시턴스(capacitance), L은인덕터(112)의 인덕턴스(inductance), T는 공진 주기에 해당한다.
반도체 소자(120)는 일방향으로 전류의 흐름을 제어할 수 있다. DC 차단기(100)에서 차단 동작을 수행하기 위하여, LC 회로(110)를 충전시키기 위한 전류, 사고 발생 시 차단기(200)로 주입되는 공진 전류, LC 회로(110)를 재충전시키기 위한 전류 등의 흐름을 제어할 필요가 있다. 반도체 소자(120)는 외부 제어 신호를 통해 동작할 수 있으며, 반도체 소자(120)은 외부 제어 신호 또는 입력을 수신하면 도통하여 계속해서 전류가 흐를 수 있고, 흐르는 전류가 0이 되면, 다시 턴오프 될 수 있다.
본원의 일 실시예에 따른 DC 차단기(100) 또는 양방향 DC 차단기(100)의 복수개의 반도체 소자(120) 및 제1반도체 소자 내지 제7반도체 소자(121~127)는 사이리스터일 수 있다. 반도체 소자(120)는 사이리스터(thyristor)와 같은 소자가 적용될 수 있다. 사이리스터는 게이트에 일정한 전류, 즉 제어 신호를 입력하면 양극과 음극이 도통되고, 전류가 0이 될 때까지 도통 상태를 유지할 수 있다.
본원의 일 실시예에 따른 반도체 소자(120)는, 제1반도체 소자(121) 내지 제7반도체 소자(127)의 동작을 제어하기 위한 제어기를 포함할 수 있다. 제어기는 제1반도체 소자(121) 내지 제7반도체 소자(127)를 턴온시키기 위한 신호를 공급하기 위한 것으로, DC 차단기(100)의 각 동작 상태에 따라 제1반도체 소자(121) 내지 제7반도체 소자(127)를 턴온 시키기 위한 신호를 공급할 수 있다. 예시적으로, LC 회로(110) 충전 시에는 제1 및 제5반도체 소자(125)를 턴온시키고, 사고 발생이 감지되면, 제2 및 제3 반도체 소자(120)를 턴온시킬 수 있다.
또한, 실시예의 형태에 따라 충전부(130), 공진부(140), 반전부(150) 등은 각각 포함하고 있는 반도체 소자, 즉 제1내지 제7반도체소자(121~127)를 동작시키기 위하여 각 상황에 따라 반도체 소자(120)으로 제어 신호 또는 입력을 제공할 수도 있다.
반전부(150)는 LC 회로(110)의 충전된 전압을 반전시키기 위하여 전류 흐름을 제어할 수 있다. 사고 발생 후 LC 회로(110)에 재충전된 전압의 극성 방향은 공진 전류를 주입하기 위한 극성과 반대 방향이므로, 이를 반전시킴으로써 다음 사고에 대비할 수 있고, 재동작시에 별도의 LC 회로(110)를 충전하기 위한 과정없이 사고에 대비할 수 있다.
충전부(130)는 LC 회로(110)를 충전시키기 위한 전류 흐름을 제어할 수 있다. 충전부(130)는 전류 흐름을 제어하여, 공급 전원(300)으로부터 부하측으로 전력 공급을 시작하면 LC 회로(110)를 충전시킬 수 있다. LC 회로(110)에 충전된 전압의 크기는 사고 발생 시 공진 전류를 주입하여 차단기(200)에 흐르는 전류가 영점을 지나기 위해서 일정 전압값 이상으로 충전을 유지하고 있어야 한다. 그러나, 정상 동작 시간이 길어지는 경우, 커패시터(111)의 누설 전류에 의하여 충전된 전압의 크기가 감소할 수 있으므로, 충전부(130)는 충전된 전압 크기가 일정 값 이하인 경우 다시 LC 회로(110)의 충전을 위하여 전류 흐름을 제어할 수 있다.
공진부(140)는 공진 전류 주입을 위하여 전류 흐름을 제어할 수 있다. 공진부(140)는 전류 흐름을 제어하여, 사고 발생이 감지되면 차단기(200)로 사고 전류의 방향과 역방향으로 공진 전류가 흐르도록 전류 흐름을 제어할 수 있다. 차단기(200)에 흐르는 전류의 크기는 사고 전류의 크기와 공진 전류의 크기의 차이에 해당하므로, LC 회로(110) 공진에 따라 변하는 공진 전류의 크기가 사고 전류의 크기와 동일할 때 차단기(200)에 흐르는 전류가 영점에 해당할 수 있고, 이때 차단기(200)가 개방될 수 있다. 즉, 공진부(140)는 차단기(200)로 공진 전류가 사고 전류와 역방향으로 흐르도록 전류의 흐름을 제어할 수 있다.
또한, 공진부(140)에 의해 제어되는 전류 흐름은 사고 발생 상황에서 차단기(200)가 개방된 이후에는 공급 전원(300)에 의해 LC 회로(110)를 재충전하기 위하여 전류에 해당할 수도 있다. 사고 발생 시 공진부(140)에 의해 제어되는 전류 흐름은 차단기(200)에 흐르는 전류가 영점을 지나도록 하여 차단기(200)가 개방될 수 있도록 하고, 차단기(200) 개방 이후에는 공급 전원(300)으로부터 LC 회로(110)의 재충전을 위한 전류가 흐르도록, 전류 흐름을 제어할 수 있다.
방전 회로(160)는 선로의 에너지를 방사할 수 있다. 사고 발생 시 흐르는 사고 전류는 정상 동작 시에 비하여 값이 더 크게 흐를 수 있다. 예시적으로, 부하 측 지락 또는 단락 사고 발생시 흐르는 사고 전류의 값이 크고, 선로 자체가 인덕턴스 값을 가지기 때문에, 사고 전류에 의하여 선로에 자기에너지 등과 같은 에너지가 유기될 수 있다. 사고 발생 후 다시 정상적인 동작을 하기 위해서는 선로에 유기된 에너지를 소모하여야 하고, 방전 회로(160)를 통하여 선로에 유기된 에너지를 방전시킴으로써, 사고 원인 제거 후 정상 동작에 대비할 수 있다.
도1을 참조하면, 본원의 일 실시예에 따른 DC 차단기(100)의 반전부(150)는 LC 회로(110)에 병렬로 연결되는 제4반도체 소자(124)를 포함하고, 충전부(130)는, LC 회로(110)의 일측과 차단기(200)의 일측에 연결되는 제1반도체 소자(121), LC 회로(110)의 타측과 접지에 연결되는 충전 저항(131) 및 제5반도체 소자(125)를 포함하고, 공진부(140)는, LC 회로(110)의 일측과 차단기(200)의 타측에 연결되는 제2반도체 소자(122) 및 LC 회로(110)의 타측과 차단기(200)의 일측에 연결되는 제3반도체 소자(123)를 포함하고, 방전 회로(160)는, 선로와 접지 사이에 연결되는 제2다이오드(171) 및 방전 소자(161)를 포함하는 것일 수 있다. DC 차단기(100)의 반전부(150), 충전부(130), 공진부(140), 방전 회로(160)는 상기에서 설명한 동작을 수행하기 위하여 LC 회로(110) 또는 선로에 연결되어 전류의 흐름을 제어하기 위하여 위와 같이 연결될 수 있다.
반전부(150)는 LC 회로(110)에 병렬로 연결되는 제4반도체 소자(124)를 포함할 수 있다. 제4반도체 소자(124)는 일방향으로 전류의 흐름을 제어할 수 있다. 제4반도체 소자(124)는 LC 회로(110)와 병렬 연결되어, 도1의 제4반도체 소자(124)의 아래에서 위 방향으로만 전류가 흐르도록 제어할 수 있다. LC 회로(110)와 병렬로 연결된 제4반도체 소자(124)가 턴온되면 제4반도체 소자(124)가 도통되고, 커패시터(111)에 충전된 전압의 극성이 아래가 (+) 극성을 가지는 경우 제4반도체 소자(124)를 통하여 전류가 흐르게 되고, 커패시터(111)의 극성 반전이 완료될 때 제4반도체 소자(124)를 흐르는 전류가 0이 되어, 제4반도체 소자(124)는 턴오프될 수 있다.
충전부(130)는, LC 회로(110)의 일측과 차단기(200)의 일측에 연결되는 제1반도체 소자(121), LC 회로(110)의 타측과 접지에 연결되는 충전 저항(131) 및 제5반도체 소자(125)를 포함할 수 있다. 충전부(130)의 제1반도체 소자(121) 및 제5반도체 소자(125)가 턴온되어 도통되면, 공급 전원(300)으로부터 LC 회로(110)의 커패시터(111) 전압을 충전하게 된다. LC 회로(110)의 충전 전압, 즉 커패시터(111)의 충전 전압의 크기가 공급 전원(300)의 전압과 같아지면, 제1반도체 소자(121) 및 제5반도체 소자(125)에 흐르는 전류의 크기가 0이 되어 턴오프 될 수 있다.
공진부(140)는, LC 회로(110)의 일측과 차단기(200)의 타측에 연결되는 제2반도체 소자(122) 및 LC 회로(110)의 타측과 차단기(200)의 일측에 연결되는 제3반도체 소자(123)를 포함할 수 있다. 사고 발생 시에 제2반도체 소자(122) 및 제3반도체 소자(123)가 턴온되면, LC 회로(110)-제3반도체 소자(123)-차단기(200)-제2반도체 소자(122)로 폐회로가 형성되고, 커패시터(111)의 충전된 전압이 커패시터(111)의 위쪽이 (+)극인 경우, LC 회로(110)의 커패시터(111)와 인덕터(112)의 공진에 의하여 공진 전류가 흐를 수 있다. 공진 전류의 값이 0이 되면 제2반도체 소자(122) 및 제3반도체 소자(123)가 턴오프 될 수 있다.
방전 회로(160)는, 선로와 접지 사이에 연결되는 제2다이오드(171) 및 방전 소자(161)를 포함할 수 있다. 사고 전류에 의하여 선로에 유기된 에너지에 의하여, 제2다이오드(171)가 도통되어, 제2다이오드(171)의 순방향으로 전류가 흐를 수 있고, 방전 소자(161)에 전류가 흐르게 되어, 에너지를 방사할 수 있다.
방전 소자(161)는 저항성 소자로, 전류가 흐를 때 에너지를 소모하는 소자가 적용될 수 있다. 예시적으로 비선형 저항기와 같은 소자가 적용되어 고압에서 큰 전류가 흐르도록 하여 방전 동작을 수행할 수 있다. 방전 소자(161)는 ZnO와 같은 비선형 저항 소자가 적용될 수 있다.
DC 차단기(100)의 반전부(150), 충전부(130), 공진부(140), 방전 회로(160), 제1다이오드(170)를 도1과 같이 연결함으로써, 반도체 소자(120)를 제어하여 전류의 흐름을 제어할 수 있고, 사고 발생 시 차단기(200)에 흐르는 사고 전류의 반대방향으로 공진 전류를 주입하여, 차단기(200)에 흐르는 전류가 0점일 때 차단기(200)를 개방할 수 있고, 공급 전원(300) 및 사고 전류를 이용하여 LC 회로(110)를 재충전하고, 충전된 전압을 반전시켜 다음 DC 차단기(100) 동작을 위한 준비 과정을 사고 발생 도중 수행할 수 있다.
본원의 일 실시예에 따른 DC 차단기는 충전 동작 및 극성 반전 동작을 위한 별도의 시간이 요구되는 기존 DC 차단기와는 달리, 선로에너지 방사 동작 시 다음 고장에 대비한 공진 회로 충전 및 극성 전환 동작을 수행함으로써 선로 에너지 방사 동작이 완료되는 즉시 정상 상태 동작이 가능한 하이브리드 DC 차단기에 해당한다.
또한, 본원의 일 실시예에 따른 DC 차단기는 차단 동작 수행 후 다음 고장에 대비하는 사전 동작을 타 동작과 동시에 수행 가능케 함으로써, 정상 상태 회복을 위한 별도의 시간이 요구되지 않을 수 있다.
이하에서는 도2 내지 도6에서는 DC 차단기(100)의 정상 동작 시 LC 회로(110)의 충전, 공진 전류 주입, 차단기(200) 개방, 재충전, 방사 동작 각각에 대해서 설명한다. 이하의 도2 내지 도6에서 도통되어 전류가 흐르는 경로, 선로, 반도체 소자(120)는 굵게 표시하였다. 도2 내지 도6에서 VDC는 공급 전원(300), L은 인덕터(112), C는 커패시터(111), D1, D2는 제1다이오드(170)와 제2다이오드(171), T1은 제1반도체 소자(121), T2는 제2반도체 소자(122), T3는 제3반도체 소자(123), T4는 제4반도체 소자(124), T0는 제5반도체 소자(125), CB는 차단기(200), Rc는 충전 저항(131), Rs는 공급 전원(300) 저항, Li는 사고 전류 검출용 인덕터(112), ZnO는 방전 소자(161), Rl은 부하 저항을 의미한다.
도2는 본원의 일 실시예에 따른 DC 차단기(100)의 충전 동작을 나타낸 회로도이다.
도2를 참조하면, 본원의 일 실시예에 따른 DC 차단기(100)의 충전부(130)는, 정상 상태에서 제1반도체 소자(121) 및 제5반도체 소자(125)를 턴온시켜 커패시터(111)를 충전하고, 커패시터(111)의 충전 완료 후 제1반도체 소자(121) 및 제5반도체 소자(125)가 턴오프될 수 있다. 정상상태에서 LC 회로(110)의 커패시터(111) 충전은 제1반도체 소자(121) 및 제5반도체 소자(125)가 턴온되면 시작하여, 커패시터(111)의 충전이 완료되면 제1반도체 소자(121) 및 제5반도체 소자(125)는 턴오프될 수 있다.
도2와 같이, 정상 상태, 즉 공급 전원(300)으로부터 부하측으로 전력 공급이 시작되면 LC 회로(110)의 충전이 시작될 수 있다. 도2에서 공급 전원(300)은 차단기(200)를 통해 부하측과 연결되어 부하측으로 전력을 공급한다. 또한, 제1반도체 소자(121) 및 제5반도체 소자(125)가 턴온되어, 공급 전원(300)-제1반도체 소자(121)-LC 회로(110)-충전 저항(131)-제5반도체 소자(125)-공급 전원(300)의 폐회로가 형성될 수 있다. 따라서, LC 회로(110)의 커패시터(111)에 직류 공급 전원(300)이 공급되어, 커패시터(111)의 충전이 진행된다. 커패시터(111) 전압의 충전이 진행되어, 커패시터(111)의 전압, 즉 LC 회로(110)의 충전 전압이 공급 전원(300)의 전압과 같은 값이 되면, 더 이상 LC 회로(110)를 충전시키기 위한 공급 전원(300)-제1반도체 소자(121)-LC 회로(110)-충전 저항(131)-제5반도체 소자(125)-공급 전원(300)의 폐회로에 전류가 흐르지 않을 수 있다. 이때, 제1반도체 소자(121) 및 제5반도체 소자(125)에 흐르는 전류가 0이 될 수 있고, 제1반도체 소자(121) 및 제5반도체 소자(125)는 턴오프될 수 있다.
즉, 제1반도체 소자(121) 및 제5반도체 소자(125)가 턴온되면 LC 회로(110)의 충전, 커패시터(111)의 충전이 진행될 수 있다. LC 회로(110)의 충전이 진행되어 커패시터(111)의 충전이 완료되면 커패시터(111)의 충전 전압의 크기와 공급 전원(300)의 전압의 크기가 동일하기 때문에, 커패시터(111)의 충전 완료 후 제1반도체 소자(121) 및 제5반도체 소자(125)가 턴오프 될 수 있다. 충전부(130)에 의하여 충전된 LC 회로(110)의 극성은, 커패시터(111)의 위쪽이 공급 전원(300)측과 연결되어 (+)극이 되고, 아래쪽이 (-)극이 될 수 있다.
도2를 참조하면, 본원의 일 실시예에 따른 DC 차단기(100)의 충전부(130)는, 동작 대기 상태에서 충전된 커패시터(111)의 전압이 기설정한 값 이하일 때, 제1반도체 소자(121) 및 제5반도체 소자(125)를 턴온시켜 커패시터(111)를 충전하고, 커패시터(111)의 충전 완료 후 제1반도체 소자(121) 및 제5반도체 소자(125)가 턴오프될 수 있다. 커패시터(111)에 충전된 전압은 누설 전류에 의해, 시간이 경과함에 따라 충전된 전압의 크기가 감소할 수 있다. 따라서, 공급 전원(300)에 의하여 초기에 충전된 커패시터(111)의 전압은 동작 대기 상태가 장시간 지속되고 누설 전류에 의하여 충전된 전압값이 감소할 수 있고, 충전된 전압값이 누설 전류에 의하여 감소하게 되면 이후 사고 전류를 상쇄시키기 위한 공진 전류의 값이 낮아져서, 정상적인 차단 동작을 수행할 수 없는 염려가 있기 때문에, 감소된 커패시터(111) 충전 전압을 보충하여 충전할 필요가 있다.
동작 대기 상태는 공급 전원(300)에 의하여 LC 회로(110)의 커패시터(111)가 최초 전력 공급 시에 제1반도체 소자(121) 및 제5반도체 소자(125)가 턴온되어 충전이 완료된 후, 제1반도체 소자(121) 및 제5반도체 소자(125)가 턴오프 된 상태를 의미할 수 있다. 즉, 충전부(130)에 의하여 LC 회로(110)의 최초 충전이 완료된 후 사고 발생시를 대비하는 상태로, 동작 대기 상태에서 LC 회로(110)의 커패시터(111) 전압은 충전된 전압에서 누설 전류에 의하여 천천히 감소할 수 있다.
동작 대기 상태에서 충전된 커패시터(111) 전압이 기설정한 값 이하일 때, LC 회로(110)의 최초 충전시와 동일하게 제1반도체 소자(121) 및 제5반도체 소자(125)를 턴온시키면, 상기에서 설명한 바와 같이 LC 회로(110)를 충전시키기 위한 폐회로인 공급 전원(300)-제1반도체 소자(121)-LC 회로(110)-충전 저항(131)-제5반도체 소자(125)-공급 전원(300)의 폐회로가 형성되어, 다시 충전이 진행된다. 커패시터(111)의 충전이 완료되면, 최초 충전시와 동일하게 제1반도체 소자(121) 및 제5반도체 소자(125)가 턴오프 될 수 있다.
도3은 본원의 일 실시예에 따른 부하 측 사고 발생 시 DC 차단기(100)의 공진 전류 주입을 나타낸 회로도이다. 도3에서 공급 전원(300)측에서 부하측으로 차단기(200)에 흐르는 사고 전류의 방향, 즉 도3의 왼쪽에서 오른쪽으로 흐르는 전류의 "?향?* (+) 방향이라고 하고, 그 반대 전류 방향을 (-) 방향이라고 한다.
도3을 참조하면, 본원의 일 실시예에 따른 DC 차단기(100)의 공진부(140)는, 부하 측 사고 발생시 제2반도체 소자(122) 및 상기 제3반도체 소자(123)를 턴온시켜, LC 회로(110)에 충전된 전압을 이용하여 차단기(200)로 사고전류의 역방향으로 공진 전류를 주입하고, 차단기(200)는, 사고전류 및 공진 전류에 따라, 차단기(200)에 흐르는 전류가 영점이 될 때 개방될 수 있다. 부하 측에서 단락, 지락 등의 사고가 발생하면, 공진부(140)는 제2반도체 소자(122) 및 제3반도체 소자(123)를 턴온시켜 공진 전류를 주입함으로써 차단기(200)에 흐르는 전류가 영점을 지나도록 할 수 있다.
도3에서와 같이, 제2반도체 소자(122) 및 제3반도체 소자(123)는 앞서 설명한 바와 같이 각각 LC 회로(110)의 일측과 차단기(200)의 타측 사이 및 LC 회로(110)의 타측과 차단기(200)의 일측 사이에 연결될 수 있다. 제2반도체 소자(122) 및 제3반도체 소자(123)는 전류의 흐름을 제어할 수 있는 소자로서, 턴온되면 도통되어 일방향으로 전류의 흐름을 제어할 수 있다. 도3에서와 같이, 제2반도체 소자(122)는 LC 회로(110)로부터 차단기(200)로 전류가 흐르도록 전류의 흐름을 제어하도록 연결될 수 있고, 제3반도체 소자(123)는 차단기(200)로부터 LC 회로(110)로 전류가 흐르도록 전류의 흐름을 제어하도록 연결될 수 있다. 위와 같이 제2반도체 소자(122) 및 제3반도체 소자(123)가 연결되어, 사고 발생 시 차단기(200)에 사고 전류의 반대방향의 공진 전류를 주입할 수 있다.
도3은 본원의 일 실시예에 따라 부하측 지락 사고가 발생한 것을 도시한 것으로, 도3을 참조하면, 사고에 의하여 공급 전원(300)으로부터 공급된 전력은 부하를 거치지 않는다. 따라서, 차단기(200)를 통하여 큰 값의 사고 전류가 (+) 방향으로 흐르게 된다.
사고 발생 후 비정상적인 전류의 크기 증가 등을 통하여 사고를 감지하면, 공진부(140)는 제2반도체 소자(122) 및 제3반도체 소자(123)를 턴온 시킬 수 있고, 도3과 같이 LC 회로(110)-제2반도체 소자(122)-차단기(200)-제3반도체 소자(123)-LC 회로(110)의 폐회로가 형성될 수 있고, 형성된 폐회로를 통해 LC 회로(110)의 공진에 의한 공진 전류가 흐를 수 있다. 충전부(130)에 의해 충전된 LC 회로(110)의 커패시터(111)의 전압은 위쪽이 (+) 극성으로 충전되므로, 공진 전류의 방향은 차단기(200)의 부하측에서 공급 전원(300)측, 즉 오른쪽에서 왼쪽 방향인 (-) 방향으로 흐르게 되어, 사고 전류의 방향과 반대방향의 공진 전류가 차단기(200)를 흐르도록 할 수 있다.
공진부(140)에 의하여 형성된 폐회로에 흐르는 공진 전류는 LC 회로(110)가 공진함에 따라 크기가 변화할 수 있다. 즉, 공진 전류는 크기가 시간에 따라 변하는 것으로, 사인파 형태로 변할 수 있다. 공진 전류의 최대값은 앞서 설명한 바와 같이 공급 전원(300)의 전압 크기, 커패시터(111)의 커패시턴스, 인덕터(112)의 인덕턴스에 의하여 결정될 수 있다. 지락, 단락 등의 사고 발생시의 사고 전류를 계산하여, 공진 전류의 최대값이 사고 전류의 값보다 크게 설정할 수 있다. 공진 전류의 최대값이 사고 전류의 값보다 크면, 차단기(200)에 흐르는 전류인 사고 전류와 공진 전류의 크기가 같고 방향이 반대이기 때문에, 차단기(200)에 흐르는 전류가 영점이 될 수 있고, 이때 차단기(200)가 개방될 수 있다.
즉, 고장 발생 시 고장 전류는 감지 전까지 선형적으로 증가할 수 있고, 일정값 이상의 고장 전류가 감지되었을 때 제2반도체 소자(122) 및 제3반도체 소자(123)을 턴온 상태로 전환하여 공진 전류를 고장 전류의 역방향으로 주입할 수 있고, 공진 전류에 의해 차단기(200), 즉 기계식 고속 스위치에 흐르는 전류가 감소할 수 있다.
도4는 본원의 일 실시예에 따른 부하 측 사고 발생 시 DC 차단기(100)의 차단기(200) 개방 동작을 나타낸 회로도이다.
도4를 참조하면, 본원의 일 실시예에 따른 DC 차단기(100)의 제1다이오드(170)는, 차단기(200)가 개방될 때 턴온되고, 커패시터(111)의 전압에 따라 턴오프되는 것일 수 있다. 다이오드는 다이오드의 양단 전압차에 의하여 도통될 수 있는 소자로, 통상 PN 접합을 가지는 반도체 소자(120)로 구성될 수 있다. 다이오드는 양단 전압차의 방향이 순방향일 때만 도통되어 전류가 흐를 수 있고, 역방향일 경우 전류가 흐르지 않는다.
도4를 참조하면, 제1다이오드(170)는 부하측으로부터 공급 전원(300) 방향, 즉 (-) 방향으로 전류가 흐르도록 도통될 수 있도록 연결될 수 있다. 차단기(200) 개방 이후, 제1다이오드(170)의 양단 전압차에 의해 턴온되어, LC 회로(110)의 공진 전류가 제1다이오드(170)를 통해 흐를 수 있다. 이후 LC 회로(110)의 공진에 따라 공진 전류가 감소하고, 커패시터(111) 전압이 감소함에 따라 제1다이오드(170)는 턴오프되어 더 이상 전류가 흐르지 않을 수 있다.
도4를 참조하면, DC 차단기(100)의 차단기(200) 개방 동작 시 전류 흐름도를 확인할 수 있으며, 주입된 공진 전류에 의해 차단기(200)에 흐르는 전류가 영점이 되었을 때 차단기(200)이 개방되며, 차단기(200) 개방 이후 공진 전류는 차단기(200)와 병렬로 연결된 제1다이오드(170) D1을 통해 흐를 수 있다. 커패시터 전압이 감소하면 입력 전원에 의해 제1다이오드는 자동으로 off 상태로 전환, 즉 턴오프 될 수 있다.
도5는 본원의 일 실시예에 따른 부하 측 사고 발생 시 DC 차단기(100)의 LC 회로(110)를 재충전하는 동작을 나타낸 회로도이다.
도5를 참조하면, 본원의 일 실시예에 따른 DC 차단기(100)의 LC 회로(110)는, 부하 측 사고 발생시 차단기(200)가 개방된 상태 및 제2반도체 소자(122) 및 제3반도체 소자(123)가 턴온된 상태에서, 공급 전원(300) 및 사고 전류에 따라 커패시터(111)를 재충전하고, 제2반도체 소자(122) 및 제3반도체 소자(123)는, 커패시터(111)의 재충전 전압에 따라 턴오프 되는 것일 수 있다. 차단기(200)가 개방되고, 제1다이오드(170)가 턴오프 된 이후에는 공급 전원(300)에 의하여 LC 회로(110)가 재충전된다. 이때 재충전되는 LC 회로(110)의 전압은, 기동 초기 LC 회로(110)의 충전 전압과 극성이 반대일 수 있다.
도5를 참조하면, 사고 발생 시 공진 전류 주입에 따라 차단기(200)가 개방되고, 제1다이오드(170)가 턴오프 된 후, LC 회로(110)는 공급 전원(300)과 사고 전류에 의하여 재충전될 수 있다. 이때 LC 회로(110)의 커패시터(111)의 전압은 초기 충전된 커패시터(111) 전압 극성과 반대로, 아래가 (+)극, 위가 (-)극으로 충전됨을 알 수 있다. 이는, 도2에서 설명한 초기 충전 과정에서는 제1반도체 소자(121) 및 제5반도체 소자(125)가 턴온되어, LC 회로(110)의 일측이 공급 전원(300)과 연결됨에 반하여, 제2반도체 소자(122) 및 제3반도체 소자(123)가 턴온될 때 LC 회로(110)의 타측, 즉 초기 충전 과정과 반대측이 공급 전원(300)과 연결되기 때문에, 충전되는 극성이 반대로 될 수 있다.
LC 회로(110)는 재충전시에 공급 전원(300)과 선로의 인덕턴스에 저장된 자기 에너지에 의하여 충전되기 때문에, 재충전되는 전압의 크기는 공급 전원(300)이 전압 크기보다 더 큰 값으로 충전될 수 있다. 커패시터(111)의 전압 재충전이 완료되면, 제2반도체 소자(122) 및 제3반도체 소자(123)에 흐르는전류가 0이 될 수 있고, 이때 턴오프 될 수 있다.
도5를 참조하면, DC 차단기(100)의 커패시터(111) 자동 충전 동작 시 전류 흐름을 확인할 수 있으며, 입력 전원과 고장 전류에 의해 커패시터(111)이 충전되며, 도5에서 커패시터(111)의 하단에서 상단으로 전류가 흐르므로, 커패시터(111)의 전압의 극성은 도2에서의 충전된 극성과 반대로 충전될 수 있다. 커패시터(111)가 완전히 충전되면, 제2반도체 소자(122) 및 제3반도체 소자(123)는 자동으로 턴오프 될 수 있다.
도6은 본원의 일 실시예에 따른 부하 측 사고 발생 시 DC 차단기(100)의 재충전된 LC 전압 반전 동작 및 선로에 유기된 에너지 방사 동작을 나타낸 회로도이다.
도6을 참조하면, 본원의 일 실시예에 따른 DC 차단기(100)의 반전부(150)는, 제2반도체 소자(122) 및 상기 제3반도체 소자(123)가 턴오프 된 후, 제4반도체 소자(124)를 턴온시켜 커패시터(111) 전압을 반전시키는 것일 수 있다. 도2와 도5를 참조하면, 사고 발생 시 차단기(200) 개방 이후 재충전된 커패시터(111)의 전압의 극성은 초기 기동 시에 충전되는 커패시터(111)의 전압의 극성과 반대임을 알 수 있다. LC 회로(110)에 충전된 전압의 극성이 공진 전류를 주입하기 위한 극성과 반대이기 때문에, 반전부(150)는 LC 회로(110)의 커패시터(111)에 재충전된 전압의 극성을 반전시킴으로써 이후 차단기(200)가 재투입되는 경우 즉시 사고에 대비할 수 있는 상태로 만들 수 있다.
도6을 참조하면, 앞서 도1에서 설명한 바와 같이 제4반도체 소자(124)는 LC 회로(110)에 병렬로 연결될 수 있고, LC 회로(110)의 타측으로부터 LC 회로(110)의 일측, 즉 도6에서 제4반도체 소자(124)의 아래에서 위로 전류가 흐르도록 전류의 흐름을 제어할 수 있다. 재충전된 LC 회로(110)의 커패시터(111) 전압의 극성은 아래가 (+), 위가 (-)로 충전되고, 제4반도체 소자(124)가 턴온되면 공진에 LC 회로(110)의 공진에 의하여 극성이 반전되어, 도6과 같이 위가 (+), 아래가 (-)가 될 수 있다. 공진에 의한 극성이 반전되면, 제4반도체 소자(124)를 통해 흐르는 전류의 크기가 0이 되어, 제4반도체 소자(124)는 턴오프 될 수 있다.
도6을 참조하면, 본원의 일 실시예에 따른 DC 차단기(100)의 방전 회로(160)는, 부하 측 사고 발생시 상기 제2다이오드(171)가 턴온되어, 상기 선로에 유기된 에너지가 방전 소자(161)에 의해 방전되는 것일 수 있다. 사고 발생시 사고 전류에 의하여 선로에 자기 에너지가 유기되고, 유기된 자기 에너지를 방전시킬 필요가 있다. 방전 회로(160)는 방전 소자(161)에 유기된 자기 에너지에 의한 전류가 흐르게 함으로써 유기된 자기 에너지를 방전시킬 수 있다.
도6을 참조하면, 본원의 일 실시예에 따른 DC 차단기(100)의 반전부(150)는, 선로에 유기된 에너지가 방전 소자(161)에 의해 방전되는 동안, 제4반도체 소자(124)를 턴온시켜 커패시터(111) 전압을 반전시키는 것일 수 있다. 상기에서는 방전 회로(160)에서 선로에 유기된 에너지가 방전 소자(161)에 의해 방전되는 방사 동작과, 반전부(150)에서 제4반도체 소자(124)를 턴온시켜 재충전된 LC 회로(110)의 커패시터(111) 전압을 반전시키는 동작을 각각 설명하였으나, 방전 회로(160)에 의한 방사동작과 반전부(150)에 의한 극성 반전 동작은 동시에 수행될 수 있다. 즉, 방전 회로(160)에서 제2다이오드(171)가 턴온되어 방전 소자(161)에서 선로에 유기된 에너지가 방전되는 동안 반전부(150)의 제4반도체 소자(124)를 턴온시켜 LC 회로(110)의 재충전된 커패시터(111) 전압을 반전시킴으로써, 사고 상황이 지속되는 동안 차단기(200) 재투입시를 대비한 동작을 완료할 수 있기 때문에, 차단기(200)를 재투입하더라도 LC 회로(110)를 충전하거나 극성을 반전시키기 위한 별도의 준비 시간 또는 대기 시간이 필요하지 않고, 바로 동작 대기 상태로 사고를 대비할 수 있다.
도6을 참조하면, DC 차단기의 방사 동작 및 극성 전환 동작 시 전류 흐름을 확인할 수 있고, 선로 인덕턴스에 의해 유기된 전압이 방전소자(161) ZnOdp 인가되어 방전 소자(161)와 제2다이오드(171)이 도통될 수 있다. 따라서 선로에 남아있는 자기에너지는 방전 소자(161)에 의해 열로 방사되고, 고장 전류가 감소할 수 있다. 또한 커패시터(111) 자동 충전 동작에 의해 재충전된 커패시터(111) 전압의 극성은 고장 발생 시 공진 전류를 고장 전류의 역방향으로 주입하기 위한 극성의 반대이므로, 다음 고장을 대비하여 극성을 전환, 반전할 필요가 있어, 극성 전환용 반도체 소자 또는 사이리스터 밸브에 해당할 수 있는 제4반도체 소자(124) T4를 on 상태로 전환, 즉 턴온시켜 LC 회로(110)의 공진 작용에 의해 초기 충전 상태와 동일한 극성으로 커패시터(111)를 반전시킬 수 있다. 극성 전환 동작은 선로에너지 방사동작과 동시에 수행이 가능하기 때문에 정상 상태 및 고장 대기 상태를 위한 별도의 시간이 요구되지 않을 수 있다.
상기의 도1 내지 도6을 참조하면, 반도체 소자(120)와 LC 회로(LC 공진 회로)를 이용한 하이브리드 DC 차단기(100)의 회로 구성을 확인할 수 있고, 본원에 일 실시예에 따른 DC 차단기는 5개의 반도체 소자(사이리스터)(120)와 2개의 다이오드, 고속 기계식 스위치(차단기), 공진 전류를 위한 인덕터(L,112)와 커패시터(C, 111) 및 방전 소자(ZnO)로 구성될 수 있다. 반도체 소자, 즉 사이리스터는 커패시터 충전용 사이리스터(T0, T1)와 공진 전류 주입을 위한 사이리스터 T2, T3와 극성 변경을 위한 사이리스 T4, 그리고 근접 고장 발생 시 고장 전류 감지를 위한 내부 인덕턴스 Li로 분류될 수 있다. L, C는 공진 전류 주입을 위해 충전 상태를 유지해야 하며, 충전된 L, C는 고장 발생 시 고장 전류의 역방향으로 공진 전류를 주입할 수 있다. 주입된 공진 전류에 의해 CB에 흐르는 전류가 영점이 되었을 시, CB는 개방되어 차단동작을 수행할 수 있으며, 이후 선로에 남아있는 자기에너지는 ZnO에서 열로 소모될 수 있다. 차단 동작 수행 후 C 양단에 걸리는 전압의 극성이 반전되며, 반전된 극성은 고장 전류의 역방향으로 공진 전류를 주입할 수 없으므로 다음 고장을 대비하기 위해 C의 극성을 전환해야만 하며, 극성 전환 동작은 T4를 통해 이루어질 수 있다. 이 동작은 선로 에너지 방사 동작과 동시에 수행이 가능하므로, 정상 동작 회복까지 소요되는 시간을 단축할 수 있다.
도7은 본원의 일 실시예에 따른 DC 차단기(100)를 단극 직류 송전선로(Monopole DC)에 적용한 회로도이다.
상기에서 설명한 DC 차단기(100)는 공급 전원(300)에 부하가 연결된 송전선로를 가지는 직류 전원 공급 시스템에 관한 것이고, 도7은 2개 이상의 전원으로 구성된 단극 직류 송전선로(Monopole DC) 시스템을 나타낸 도면이다. 도7과 같이 복수의 공급 전원(300)으로부터 전력을 공급받는 경우, 사고 발생 지점에 따라 사고 전류의 방향이 달라질 수 있으므로, 사고 발생 지점에 따라 차단기(200)로 주입되는 공진 전류의 방향도 달라져야 DC 차단기(100)가 정상적으로 동작할 수 있다.
도7을 참조하면, 본원의 일 실시예에 따른 양방향 DC 차단기(100)는, 제1공급 전원(301)측에 연결되는 제1 DC 차단기(100)와 제2공급 전원(302)측에 연결되는 제2 DC 차단기(100)를 포함할 수 있다. 제1 및 제2 DC 차단기(100)는 앞서 설명한 DC 차단기(100)와 동일한 구성 및 연결을 가질 수 있고, 제1공급 전원(301)측에 연결되는 제1 DC 차단기(100)는 제2공급 전원(302)측에서 사고 발생 시 제1차단기(201)에 공진 전류를 주입할 수 있고, 제2공급 전원(302)측에 연결되는 제2 DC 차단기(100)는 제1공급 전원(301)측에서 사고 발생 시 제2차단기(202)에 공진 전류를 주입할 수 있다.
즉, 상기에서 설명한 부하로 전력을 공급하는 공급 전원(300)으로 연결된 시스템에서 적용되는 DC 차단기(100)가, 제1공급 전원(301)측과 제2공급 전원(302)측에 각각 연결됨으로써 각각 제2공급 전원(302)측과 제1공급 전원(301)측에 사고 발생 시 사고 전류의 방향과 반대로 공진 전류를 주입함으로써 차단기(200)를 개방할 수 있다. 이때 제1 및 제2 DC 차단기(100) 각각의 동작 방법, 구성, 구성의 연결 등은 상기에서 설명한 DC 차단기(100)와 동일하게 적용될 수 있다.
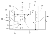
도8은 본원의 일 실시예에 따른 양방향 DC 차단기(100)를 단극 직류 송전선로(Monopole DC)에 적용한 회로도이다. 도8에서 좌측에 연결된 VDC는 제1공급 전원(301), 우측에 연결된 VDC는 제2공급 전원(302), CB`는 제1차단기(201), CB는 제1차단기(201), D1`는 제3다이오드(172), D2`는 제4다이오드(173), T2`는 제6반도체 소자(126), T7`는 제7반도체 소자(127), ZnO`는 제2방전 소자(165)에 해당할 수 있고, 이외의 구성은 도1에서 설명한 것과 동일하게 적용될 수 있다.
도8을 참조하면, 본원의 일 실시예에 따른 양방향 DC 차단기(100)는, 제1공급 전원(301)에 연결되는 제1선로와 연결되는 제1차단기(201), 제1차단기(201)와 제2공급 전원(302)에 연결되는 제2선로에 연결되는 제2차단기(202), 제2차단기(202)와 병렬로 연결되고, 일방향의 전류 흐름을 제어하는 제1다이오드(170), 제1차단기(201)와 병렬로 연결되고, 일방향의 전류 흐름을 제어하는 제3다이오드(172), 커패시터(111)와 인덕터(112)가 직렬로 연결된 LC 회로(110), LC 회로(110)에 병렬로 연결되는 제4반도체 소자(124)를 포함하고, LC 회로(110)의 충전된 전압을 반전시키기 위하여 전류 흐름을 제어하는 반전부(150), LC 회로(110)의 일측과 제1차단기(201)-제2차단기(202) 접점에 연결되는 제1반도체 소자(121), LC 회로(110)의 타측과 접지에 연결되는 충전 저항(131) 및 제5반도체 소자(125)를 포함하고, LC 회로(110)를 충전시키기 위한 전류 흐름을 제어하는 충전부(130), LC 회로(110)의 일측과 제2차단기(202)- 제2선로 접점에 연결되는 제2반도체 소자(122) 및 LC 회로(110)의 타측과 제1차단기(201) 제1선로 접점에 연결되는 제3반도체 소자(123)를 포함하고, 제2차단기(202)로의 공진 전류 주입을 위하여 전류 흐름을 제어하는 제1공진부(141), LC 회로(110)의 일측과 제1차단기(201)-제1선로 접점에 연결되는 제6반도체 소자(126) 및 LC 회로(110)의 타측과 제2차단기(202)-제2선로의 접점에 연결되는 제7반도체 소자(127)를 포함하고, 제1차단기(201)로의 공진 전류 주입을 위하여 전류 흐름을 제어하는 제2공진부(142), 제2선로와 접지 사이에 연결되는 제2다이오드(171) 및 제1방전 소자(163)를 포함하고, 제2선로의 자기에너지를 방사하는 제1방전 회로(162), 제1선로와 접지 사이에 연결되는 제4다이오드(173) 및 제2방전 소자(165)를 포함하고, 제1선로의 자기에너지를 방사하는 제2방전 회로(164)를 포함할 수 있다.
도8에 도시된 본원의 일 실시예에 따른 양방향 DC 차단기(100)는 도7에 도시된 본원의 일 실시예에 따른 양방향 DC차단기(200)에 비하여 사용되는 반도체 소자(120)의 수가 적어, 차단기(200)의 부피가 감소하고 경제적인 비용 절감이 가능한 효과가 있으며, 동일하게 제1공급 전원(301)측 또는 제2공급 전원(302)측 사고에 대비하여 사고 전류의 방향에 따라 공진 전류를 주입할 수 있다.
도8을 참조하면, 제1공급 전원(301)측에서 사고 발생시 사고 전류의 방향은 제1차단기(201) 및 제2차단기(202)의 오른쪽에서 왼쪽 방향으로 (-) 방향이고, 제2공급 전원(302)측에서 사고 발생시 사고 전류의 방향은 제1차단기(201) 및 제2차단기(202)의 왼쪽에서 오른쪽으로 (+) 방향이 되어, 사고 전류의 방향이 사고 발생 지점에 따라 반대가 될 수 있다.
이때, 양방향 DC 차단기(100)의 제2차단기(202), 제1다이오드(170), 제1 내지 제5반도체 소자(125), LC 회로(110), 충전 소자, 제2다이오드(171) 및 제1방전 소자(163)는 정상 동작 시 LC 회로(110)의 충전, 재충전된 LC 회로(110)의 커패시터(111) 전압 극성 반전, 제2공급 전원(302)측 사고 발생 시 공진 전류의 주입 및 제2공급 전원(302)측 선로에 유기된 에너지를 방전시키기 위한 것으로, 상기 구성들의 연결 및 동작 특성은 앞서 설명한 DC 차단기(100)와 동일하게 적용될 수 있다.
양방향 DC 차단기(100)의 제1반도체 소자(121), 충전 소자 및 제5반도체 소자(125)를 포함하는 충전부(130)는, 정상 상태시 제1반도체 소자(121) 및 제5반도체 소자(125)를 턴온시켜 LC 회로(110)를 충전하고, LC 회로(110)의 커패시터(111) 충전 완료 후 턴오프 될 수 있다.
양방향 DC 차단기(100)의 제4반도체 소자(124)를 포함하는 반전부(150)는, 사고 발생 시 재충전된 LC 회로(110)의 커패시터(111) 전압의 극성을 제4반도체 소자(124)를 턴온 시켜 반전시킬 수 있고, 극성 반전이 완료된 후 제4반도체 소자(124)는 턴오프 될 수 있다.
양방향 DC 차단기(100)의 제1다이오드(170)는, 제2차단기(202) 개방 후 턴온되어 LC 회로(110)로부터 공진 전류가 흐를 수 있고, 커패시터(111) 전압이 감소함에 따라 턴오프 될 수 있다.
양방향 DC 차단기(100)의 제2반도체 소자(122) 및 제3반도체 소자(123)를 포함하는 제1공진부(141)는, 사고 발생 시 제2반도체 소자(122) 및 제3반도체 소자(123)를 턴온시켜, LC회로-제2반도체 소자(122)-제2차단기(202)-제1차단기(201)-제3반도체소자-LC 회로(110)로 연결되는 폐회로를 형성하고, (+) 방향의 사고 전류와 반대 방향인 (-) 방향으로 제2차단기(202)에 공진 전류를 주입할 수 있다. 제2반도체 소자(122) 및 제3반도체 소자(123)는 이후 LC 회로(110)의 재충전이 완료되면 턴오프 될 수 있다.
양방향 DC 차단기(100)의 제2다이오드(171) 및 제1방전 소자(163)를 포함하는 제1방전 회로(162)는, 제2다이오드(171)가 턴온되어 제2공급 전원(302)측 선로에 유기된 에너지를 방전시킬 수 있다.
상기의 내용을 종합하면, 도8에 도시된 양방향 DC 차단기(100)의 제2차단기(202), 제1다이오드(170), LC 회로(110), 반전부(150), 충전부(130), 제1공진부(141), 제1방전 회로(162)는 앞서 설명한 공급 전원(300)과 부하를 연결하는 선로로 구성된 DC 차단기(100)의 차단기(200), 제1다이오드(170), LC 회로(110), 반전부(150), 충전부(130), 공진부(140), 방전 회로(160)와 동일하게 구성 및 동작이 설명될 수 있다. 따라서, 양방향 DC 차단기(100)의 제2차단기(202), 제1다이오드(170), LC 회로(110), 반전부(150), 충전부(130), 제1공진부(141), 제1방전 회로(162)에 대해서 생략된 내용이라 하더라도, 앞서 설명한 DC 차단기(100)의 차단기(200), 제1다이오드(170), LC 회로(110), 반전부(150), 충전부(130), 공진부(140), 방전 회로(160)에 대해서 설명된 내용은 동일하게 적용될 수 있다.
이하에서는 제1공급 전원(301)측 사고 발생시에 흐르는 (-) 방향의 사고 전류와 반대 방향으로 공진 전류를 주입하고, 제1공급 전원(301)측 선로에 유기된 에너지를 방전시키기 위한 구성에 대해서 설명한다.
본원의 일 실시예에 따른 양방향 DC 차단기(100)는 LC 회로(110)의 일측과 제1차단기(201)-제1선로 접점에 연결되는 제6반도체 소자(126) 및 LC 회로(110)의 타측과 제2차단기(202)-제2선로의 접점에 연결되는 제7반도체 소자(127)를 포함하고, 제1차단기(201)로의 공진 전류 주입을 위하여 전류 흐름을 제어하는 제2공진부(142)를 포함할 수 있다. 제2공진부(142)는 제1공급 전원(301)측 사고 발생시 제6반도체 소자(126) 및 제7반도체 소자(127)를 턴온 시킬 수 있고, 이에 따라 LC 회로(110)-제6반도체 소자(126)-제1차단기(201)-제2차단기(202)-제7반도체 소자(127)-LC 회로(110)의 폐회로가 형성되어, LC 회로(110)의 공진에 의하여 (-) 방향의 사고 전류 방향과 반대의 (+) 방향으로 제1차단기(201)에 공진 전류를 주입할 수 있다.
본원의 일 실시예에 따른 양방향 DC 차단기(100)는 제1공급 전원(301)에 연결되는 제1선로와 연결되는 제1차단기(201), 제1차단기(201)와 병렬로 연결되고, 일방향의 전류 흐름을 제어하는 제3다이오드(172)를 포함할 수 있다. 제1공급 전원(301)측 사고 발생시, 앞서 설명한 바와 같이 제2공진부(142)의 제6반도체 소자(126) 및 제7반도체 소자(127)가 턴온되어, (-) 방향의 사고 전류와 반대 방향인 (+) 방향으로 공진 전류를 주입할 수 있고, 제1차단기(201)에 흐르는 전류의 크기가 영점일 때, 제1차단기(201)는 개방될 수 있다. 제1차단기(201) 개방 이후, 제3다이오드(172)가 턴온될 수 있고, 제3다이오드(172)를 통해 공진 전류가 흐를 수 있으며, 이후 커패시터(111)의 전압에 따라 제3다이오드(172)는 턴오프 될 수 있다.
본원의 일 실시예에 따른 양방향 DC 차단기(100)는 제1선로와 접지 사이에 연결되는 제4다이오드(173) 및 제2방전 소자(165)를 포함하고, 제1선로의 자기에너지를 방사하는 제2방전 회로(164)를 포함할 수 있다. 제2방전 회로(164)는 제1차단기(201) 개방 및 제3다이오드(172) 턴오프 이후, 제1선로에 유기된 자기 에너지를 방사하기 위한 것으로, 제3다이오드(172)가 턴온되어 폐회로를 형성하고, 유기된 자기 에너지에 의한 전류가 제2방전 소자(165)를 흐르게 되어 선로에 유기된 자기 에너지를 방사시킬 수 있다.
상기의 양방향 DC 차단기(100)의 제2공진부(142), 제1차단기(201) 및 제3다이오드(172), 제2방전 회로(164)의 구성 및 동작은 사고 전류의 방향, 제1차단기(201)로 주입되는 공진 전류의 방향과 같이 사고 발생 지점의 차이로 인한 방향의 차이 및 연결 지점의 차이가 발생한다. 제6반도체 소자(126) 및 제7반도체 소자(127)는 제2반도체 소자(122) 및 제3반도체 소자(123), 제1차단기(201) 및 제3다이오드(172)는 제2차단기(202) 및 제1다이오드(170), 제2방전 회로(164)는 제1방전 회로(162)와 연결방향 또는 주입되는 공진 전류의 방향 등의 차이 외에 동작 특성은 동일하게 적용될 수 있으므로, DC 차단기(100)의 공진부(140), 차단기(200), 제1다이오드(170), 방전 회로(160) 또는 양방향 DC 차단기(100)의 제1공진부(141), 제2차단기(202), 제1다이오드(170), 제1방전 회로(162)에 대해서 설명된 내용, 예를 들어 제6반도체 소자(126) 및 제7반도체 소자(127)의 턴오프, 제1차단기(201) 개방 및 제3다이오드(172) 턴오프 이후 제6반도체 소자(126) 및 제7반도체 소자(127)를 통한 LC 회로(110)의 재충전 등은 설명에서 생략된 것이라 하더라도 동일하게 적용될 수 있다.
도8을 참조하면, 본원의 일 실시예에 따른 양방향 DC 차단기(100)의 제1공진부(141)는, 제2공급 전원(302)측 사고 발생시 제2반도체 소자(122) 및 제3반도체 소자(123)를 턴온시켜, LC 회로(110)로부터 제2차단기(202)로 사고 전류와 반대 방향으로 공진 전류를 주입하고, 제2공진부(142)는, 제1공급 전원(301)측 사고 발생시 제6반도체 소자(126) 및 제7반도체 소자(127)를 턴온시켜, LC 회로(110)로부터 상기 제1차단기(201)로 사고 전류와 반대 방향으로 공진 전류를 주입하는 것일 수 있다. 상기에서 설명한 바와 같이, 제1공진부(141)와 제2공진부(142)는 사고 발생 지점에 따라 달라지는 사고 전류의 방향과 반대 방향의 공진 전류를 제1차단기(201) 또는 제2차단기(202)로 주입함으로써, 제1차단기(201) 또는 제2차단기(202)에 흐르는 전류가 영점일 때, 제1차단기(201) 또는 제2차단기(202)를 개방할 수 있다.
제1공진부(141)는 제2공급 전원(302)측 사고 발생시 제2반도체 소자(122) 및 제3반도체 소자(123)를 턴온시켜, LC 회로(110)로부터 제2차단기(202)로 사고 전류와 반대 방향으로 공진 전류를 주입할 수 있다. 제2공급 전원(302)측 사고 발생시 사고 전류의 방향은 (+) 방향일 수 있다. 제2반도체 소자(122) 및 제3반도체 소자(123)가 턴온되면 LC 회로(110)-제2반도체 소자(122)-제2차단기(202)-제1차단기(201)-제3반도체 소자(123)-LC 회로(110)의 폐회로가 형성될 수 있다. 형성된 폐회로에 LC 회로(110)의 공진 전류는 (-) 방향으로 제2차단기(202)에 흐르게 되어, 제2차단기(202)에 흐르는 전류가 영점일 때, 제2차단기(202)가 개방될 수 있다.
제2공진부(142)는 제1공급 전원(301)측 사고 발생시 제6반도체 소자(126) 및 제7반도체 소자(127)를 턴온시켜, LC 회로(110)로부터 제1차단기(201)로 사고 전류와 반대 방향으로 공진 전류를 주입할 수 있다. 제1공급 전원(301)측 사고 발생시 사고 전류의 방향은 (-) 방향일 수 있다. 제6반도체 소자(126) 및 제7반도체 소자(127)가 턴온되면 LC 회로(110)-제6반도체 소자(126)-제1차단기(201)-제2차단기(202)-제7반도체 소자(127)-LC 회로(110)의 폐회로가 형성될 수 있다. 형성된 폐회로에 LC 회로(110)의 공진 전류는 (+) 방향으로 제1차단기(201)에 흐르게 되어, 제1차단기(201)에 흐르는 전류가 영점일 때, 제1차단기(201)가 개방될 수 있다.
위와 같이, 양방향 DC 차단기(100)는 제1공급 전원(301)측 사고 또는 제2공급 전원(302)측 사고 발생시 사고 전류의 방향이 서로 반대 방향이나, 제1공진부(141) 또는 제2공진부(142)에 의하여 사고 발생 지점에 따라 공진 전류를 반대방향으로 주입하여, 제1차단기(201) 또는 제2차단기(202)에 흐르는 전류가 영점을 지나도록 할 수 있고, 제1차단기(201) 또는 제2차단기(202)에 흐르는 전류가 영점일 때 제1차단기(201) 또는 제2차단기(202)를 개방할 수 있다.
단극 직류 송전 시스템, monopole HVDC 시스템과 같은 2개 이상의 전원으로 구성된 시스템에서는 고장 전류의 방향이 사고 발생 위치에 따라 달라질 수 있어, 단방향이 아니기 때문에 전원과 동일한 수의 차단기 수가 요구된다. 도7과 같이 DC 차단기(100)를 양 공급 전원 측에 설치하여 고장 전류의 방향에 따라 차단 동작을 수행할 수도 있지만, 차단기 부피 및 요구되는 반도체 소자(120)의 수가 증가한다는 단점이 발생한다. 도8에 도시된 본원의 일 실시예에 따른 양방향 DC 차단기(100)의 회로 구성에 따르면, 고장 전류의 방향이 (+) 방향인 경우 제2반도체 소자(122) 및 제3반도체 소자(123), T2와 T3를 on 상태로 전환하여 공진 전류를 (-) 방향으로 주입한 후 차단 동작을 수행할 수 있고, 고장 전류의 방향이 (-) 방향인 경우, 제6반도체 소자(126) 및 제7반도체 소자(127), T2*와 T3*를 on 상태로 전환하여 공진 전류를 (+) 방향으로 주입한 후 차단 동작을 수행할 수 있다.
도9는 본원의 일 실시예에 따른 DC 차단기(100)의 동작 시뮬레이션 결과를 나타낸 도면이다. 도9의 VCB, VC, VL은 각각 도1에서 차단기(200)의 부하측과 공급 전원(300)측 사이의 전압, 커패시터(111)의 위쪽과 아래쪽 사이의 전압, 인덕터(112)의 위쪽과 아래쪽 사이의 전압을 의미하고, ICB, IT3, ID1, ID2는 각각 차단기(200)에 흐르는 전류, 제3반도체 소자(123)를 흐르는 전류, 제1다이오드(170)를 흐르는 전류, 제2다이오드(171)를 흐르는 전류를 의미한다.
도9를 참조하면, 구간 1은 초기 충전 상태로, 구간 1에서 충전부(130)의 제1반도체 소자(121) 및 제5반도체 소자(125)가 턴온되어 LC 회로(110)의 커패시터(111) 전압이 충전되고, 정상 상태로 동작하여 부하로 전력을 공급할 수 있다. 충전된 커패시터(111) 전압은 공급 전원(300)의 전압의 크기와 같으며, 충전이 완료되면 제1반도체 소자(121) 및 제5반도체 소자(125)는 턴오프 될 수 있다.
구간 2는 정상 상태 및 고장 대기 상태로 공급 전원(300)에 의해 부하로 전력이 정상적으로 공급되며, 구간 3은 고장 발생 및 고장 전류 증가 상태로, 고장이 발생하여 고장 전류, 사고 전류가 증가할 수 있다. 구간 3에서는 사고 발생 여부를 감지하기 전으로, 사고 전류가 증가할 수 있다.
구간 4는 고장 감지 및 공진 전류 주입 상태로, 구간 4에서는 공진부(140)의 제2반도체 소자(122) 및 제3반도체 소자(123)가 턴온되어, LC 회로(110)의 공진에 의한 공진 전류가 사고 전류의 반대 방향으로 주입될 수 있다. 표의 IT3는 제3반도체 소자(123)에 흐르는 전류로, 주입되는 공진 전류의 크기에 해당하고, 공진 전류의 크기가 증가함에 따라 차단기(200)에 흐르는 전류 ICB가 감소하여, 영점을 지날 수 있다.
구간 5는 기계식 고속스위치(차단기) 개방 상태로, 구간5에서는 차단기(200)에 흐르는 전류가 영점일 때, 차단기(200)가 개방되어 제1다이오드(170)가 턴온되어, 제1다이오드(170)를 통해 공진 전류가 흐를 수 있다. 이때, 제1다이오드(170)를 흐르는 전류의 크기는 공진 전류와 사고 전류의 차에 해당하고, 방향은 사고 전류의 반대 방향으로 음의 값을 가질 수 있다. LC 회로(110)의 공진에 의해, 공진 전류는 최대값 이후 감소하고, 커패시터(111)의 전압 VC는 감소하게 되어, 이에 따라 제1다이오드(170) D1은 턴오프 될 수 있다
구간 6은 커패시터(111) 자동 충전 상태로, 구간 6에서는 턴온된 공진부(140)의 제2반도체 소자(122) 및 제3반도체 소자(123)로 공급 전원(300)에 의하여 LC 회로(110)가 자동으로 재충전 되는 구간으로, 커패시터(111)의 전압 VC는 공급 전원(300)의 크기로 재충전될 수 있다. 이때, 초기 충전과 달리, 공급 전원(300)에 연결되는 방향이 반대이므로 커패시터(111) 전압은 음의 값을 가질 수 있다.
구간 7은 고장 전류 분기 상태로, 구간7에서는 선로 인턱턴스에 저장된 자기 에너지에 의하여 커패시터(111)는 공급 전원(300) 이상의 값으로 계속해서 재충전될 수 있다. 커패시터(111)의 충전 전압의 값이 공급 전원(300) 이상의 값으로 커짐에 따라 방전 회로(160)의 양단 전압이 제2다이오드(171)의 순방향(도1에서 방전 회로(160)의 상측이 음의 전압, 하측은 접지로 0V)이 되어, 제2다이오드(171)가 턴온되어 선로에 유기된 자기 에너지가 방전될 수 있다. 커패시터(111)의 재충전이 완료되면, 제2반도체 소자(122) 및 제3반도체 소자(123)에 흐르는 전류의 크기가 0이 되어, 제2반도체 소자(122) 및 제3반도체 소자(123)가 턴오프 될 수 있다.
구간 8은 선로에너지 방사 상태로, 구간8에서는 방전 회로(160)의 방전 소자(161)에 전류가 흐름에 따라 계속해서 선로에 유기된 자기 에너지의 방전이 진행되고, 구간 9는 선로에너지 방사 및 극성 전환 상태로, 구간9에서는 반전부(150)의 제4반도체 소자(124)가 턴온되어, LC 회로(110)의 재충전된 커패시터(111)의 전압이 반전되고, 반전이 완료되면 제4반도체 소자(124)는 턴오프 될 수 있다. 구간 10은 선로에너지 방사 상태로, 구간 10에서는 계속해서 방전 회로(160)의 방전 소자(161)에 전류가 흐르고, 선로에 유기된 자기 에너지가 방사될 수 있다.
본원의 일 실시예에 따른 DC 차단기(100)의 반전부(150)는, LC 회로(110)의 충전된 전압의 크기를 감소시키면서 극성을 반전시키기 위한 전압 감쇄 소자를 포함할 수 있다. 차단기(200) 개방 이후 LC 회로(110)에 재충전되는 전압의 크기는 선로 인덕턴스에 저장된 자기 에너지에 의하여 공급 전원(300) 이상의 값으로 재충전될 수 있다. 따라서, 재충전된 LC 회로(110)의 재충전 전압을 감소시키기 위하여, 제4반도체 소자(124)가 턴온되어 극성이 반전될 때 반전되는 전압의 크기가 감소하도록 전압 감쇄 소자를 포함하여, 반전된 LC 회로(110)의 전압, 즉 커패시터(111)의 전압이 초기 상태와 동일하게 공급 전원(300)의 크기에 해당하도록 할 수 있다.
예시적으로, 전압 감쇄 소자는 저항이 적용될 수 있고, 제4반도체 소자(124)에 직렬로 저항을 연결하여, LC 회로(110)에 재충전된 전압의 극성을 반전시키는 동안 일부 전압이 저항에 의해 감쇄되도록 하여, 공급 전원(300)의 크기 이상으로 재충전된 LC 회로(110)의 전압 크기를 감쇄시켜 극성을 반전시킬 수 있다.
또한, 도9을 참조하면 본원의 일 실시예에 따른 DC 차단기(100)에 의한 차단 시간은 고장이 감지된 시점부터 고장 전류가 분기된 시점까지로, 약 2.8ms임을 확인할 수 있으며, 극성 전환 동작 시간은 공진 반주기이며, 이는 공진 회로, 즉 공진부(110)의 커패시터(111)와 인덕터(112)의 설정을 통해 결정될 수 있다.
도10는 본원의 일 실시예에 따른 Monopole HVDC에 적용한 양방향 DC 차단기(100)의 동작 시뮬레이션 결과를 나타낸 도면이다. 도10에서 ICB*, IT3*, ID1*, ID2*는 각각 도8에 도시된 양방향 DC 차단기(100)의 제1차단기(201)에 흐르는 전류, 제7반도체 소자(127)에 흐르는 전류, 제3다이오드(172)에 흐르는 전류, 제4다이오드(173)에 흐르는 전류에 해당하고, 나머지 기호 VCB, ICB 등은 도9의 설명과 동일하게 적용될 수 있다.
도10의 (a)는 고장 전류의 방향이 (+) 방향, 즉 제2공급 전원(302)측 사고 발생 시 결과를 나타낸 것이고, (b)는 고장 전류의 방향이 (-) 방향, 즉 제1공급 전원(301)측 사고 발생 시 결과를 나타낸 것이다.
도10(a)의 경우 제2공급 전원(302)측 사고 발생시 동작을 시뮬레이션 한 것으로, 도9에서 DC 차단기(100)의 부하측 사고 발생시와 동일하게 동작하므로, 도9에서 설명한 내용과 동일하게 이해될 수 있다.
도10(b)의 경우 제1공급 전원(301)측 사고 발생시 동작을 시뮬레이션 한 것으로, 커패시터(111)의 전압은 동일하게 초기 충전되어 일정한 값을 가지다가 사고 발생시 공진 전류 주입을 위하여 제6반도체 소자(126) 및 제7반도체 소자(127)가 턴온되어, LC 회로(110) 공진에 따라 전압이 감소하고, 제1차단기(201) 개방 이후 커패시터(111) 전압이 재충전되고, 반전부(150)에 의해 전압 극성이 반전됨을 확인할 수 있고, 이는 도9 또는 도10(a)에서 설명한 내용이 동일하게 적용될 수 있다.
도10(b)에서 사고 전류의 방향은 (-) 방향(도8에서 제1차단기(201) 및 제2차단기(202)의 오른쪽에서 왼쪽 방향)이므로, 공진 전류의 방향은 (+) 방향이 되므로, 제7반도체 소자(127), 제3다이오드(172), 사고 전류의 방향이 반대 방향으로 나타나고, 도9 및 도10(a)와 동일한 특성을 가진다.
도10을 참조하면, 본원의 일 실시예에 따른 양방향 DC 차단기의 차단 동작 수행 결과를 확인할 수 있으며, 고장 전류의 방향이 좌측에서 우측방향일 때 (+) 방향, 그 반대의 방향을 (-) 방향으로 가정한 결과이다. 고장 전류의 방향에 따라 공진 전류의 주입 방향이 결정될 수 있고, 차단 시간은 약 2.8ms임을 확인할 수 있다.
도11은 본원의 일 실시예에 따른 DC 차단기(100)의 개략적인 구성도이다.
도11을 참조하면, 본원의 일 실시예에 따른 DC 차단기(100)는 LC 회로(110), 반도체 소자(120), 충전부(130), 공진부(140), 반전부(150), 방전 회로(160), 제1다이오드(170), 차단기(200)를 포함할 수 있다.
LC회로는 직렬로 연결된 커패시터(111)와 인덕터(112)를 포함할 수 있고, 정상 동작시에 공급 전원(300)에 의해 충전되어, 사고 발생시 차단기(200)로 사고 전류의 반대 방향으로 공진 전류를 주입할 수 있다. 또한, LC 회로(110)는 사고 발생 도중 자동으로 재충전될 수 있고, 재충전된 전압 극성이 공진 전류를 주입하기 위한 전압 극성과 반대이므로, 선로에 유기된 자기 에너지 방사 도중 극성을 반전시킴으로써, 이후 차단기(200) 재투입시에 별도의 대기 시간 또는 충전 시간 없이 동작 대기 상태로 동작할 수 있다.
반도체 소자(120)는 일방향으로 전류의 흐름을 제어하기 위한 것으로, DC 차단기(100)가 사고 발생시에 정상적으로 동작하기 위하여 충전 동작, 공진 전류 주입 동작, 재충전 동작, 방사 동작 등의 각각의 동작 상황에 따라 전류 흐름을 제어하여 LC회로 충전, 공진 전류 주입 등을 수행할 수 있다.
충전부(130)는 LC 회로(110)를 충전시키기 위한 전류 흐름을 제어할 수 있다. 충전부(130)는 공급 전원(300)으로부터 부하측으로 정상적으로 전력을 공급하는 정상 상태에서 LC 회로(110)를 충전시키기 위하여 전류 흐름을 제어할 수 있다. 예시적으로, 도1과 같이 LC 회로(110)의 일측과 차단기(200)의 일측에 연결되는 제1반도체 소자(121), LC 회로(110)의 타측과 접지에 연결되는 충전 저항(131) 및 제5반도체 소자(125)를 포함할 수 있으며, 제1반도체 소자(121) 및 제5반도체 소자(125)가 턴온되면 LC 회로(110)가 충전되고, 충전이 완료되면 턴오프 될 수 있다.
공진부(140)는 공진 전류 주입을 위하여 전류 흐름을 제어할 수 있다. 공진부(140)는 차단기(200)를 포함하는 폐회로를 형성하여 차단기(200)에 흐르는 공진 전류가 사고 전류의 반대 방향이 되도록 전류 흐름을 제어할 수 있고, 차단기(200)에 흐르는 전류가 영점을 지나도록 할 수 있다. 예시적으로, 공진부(140)는 도1에서와 같이, LC 회로(110)의 일측과 차단기(200)의 타측에 연결되는 제2반도체 소자(122) 및 LC 회로(110)의 타측과 차단기(200)의 일측에 연결되는 제3반도체 소자(123)를 포함할 수 있고, 제2반도체 소자(122) 및 제3반도체 소자(123)가 턴온되면, 차단기(200)에 LC 회로(110) 공진에 의한 공진 전류가 사고 전류의 반대방향으로 흐르도록 전류 흐름을 제어할 수 있다.
반전부(150)는 LC 회로(110)의 충전된 전압을 반전시키기 위하여 전류 흐름을 제어할 수 있다. 사고 발생시 차단기(200) 개방 이후 LC 회로(110)는 공급 전원(300)과 선로 인덕턴스에 저장된 에너지에 의해 자동으로 재충전되고, 재충전된 LC 회로(110)의 전압 극성은 공진 전류를 사고 전류의 반대방향으로 주입하기 위한 극성과 반대이다. 반전부(150)는 재충전된 LC 회로(110)의 전압 극성을 반전시켜, 다음 차단기(200) 재투입시에 별도의 LC 회로(110) 충전 등을 위한 대기 시간 없이 사고 발생에 대비한 대기 상태로 LC 회로(110)의 전압 극성을 갖도록 할 수 있다.
예시적으로, 도1에 도시된 바와 같이 LC 회로(110)와 병렬로 연결되는 제4반도체 소자(124)를 포함할 수 있다. 또한, 제4반도체 소자(124)에 직렬로 연결되는 저항 등과 같이 재충전된 LC 회로(110)의 전압의 크기를 감소시키면서 극성을 반전시키기 위하여 전압 감쇄 소자를 포함할 수 있다.
방전 회로(160)는 선로의 에너지를 방사할 수 있다. 사고 발생에 의하여 선로에 흐르는 사고 전류의 크기는 정상 동작 시에 비하여 크기 때문에, 선로 자체의 인덕턴스에 의하여 자기 에너지가 유기될 수 있고, 이를 방사하여 제거할 필요가 있다. 예시적으로, 방전 회로(160)는 도1과 같이 선로와 접지 사이에 연결되는 제2다이오드(171) 및 방전 소자(161)를 포함하여, 제2다이오드(171)가 턴온되면 방전 소자(161)에 전류가 흐르게 되어, 선로에 유기된 자기 에너지를 방사할 수 있다.
제1다이오드(170)는 차단기(200)와 병렬로 연결되고, 일방향의 전류 흐름을 제어할 수 있다. 차단기(200)로 주입되는 공진 전류의 크기의 최대값은 앞서 설명한 바와 같이 커패시터(111)와 인덕터(112)에 의하여 결정될 수 있고, 그 값이 사고 전류의 값보다 크게 설정하여 사고 발생시 차단기(200)에 흐르는 전류가 영점을 지나도록 할 수 있다. 차단기(200) 개방 이후, LC 회로(110)의 공진에 의한 공진 전류가 제1다이오드(170)를 통해 흐르도록 함으로써 기존에 충전된 LC 회로(110)의 공진에 의하여 재충전이 진행되고, 사고 발생시 손실을 줄일 수 있다.
차단기(200)는 공급 전원(300)과 선로 사이에 연결될 수 있다. 차단기(200)에 흐르는 전류가 영점일 때, 차단기(200)는 개방될 수 있고 아크 등에 의한 사고를 예방할 수 있다.
도12은 본원의 일 실시예에 따른 양방향 DC 차단기(100)의 개략적인 구성도이다.
도12를 참조하면, 본원의 일 실시예에 따른 양방향 DC 차단기(100)는 LC 회로(110), 충전부(130), 제1공진부(141), 제2공진부(142), 반전부(150), 제1방전 회로(162), 제2방전 회로(164), 제1다이오드(170), 제3다이오드(172), 제1차단기(201) 및 제2차단기(202)를 포함할 수 있다.
양방향 DC 차단기(100)의 LC 회로(110), 충전부(130), 제1공진부(141), 반전부(150), 제1방전 회로(162), 제1다이오드(170) 및 제2차단기(202)는 앞서 도11에서 설명한 LC 회로(110), 반도체 소자(120), 충전부(130), 공진부(140), 반전부(150), 방전 회로(160), 제1다이오드(170), 차단기(200)에 관한 내용이 각각 동일하게 적용될 수 있다.
제2공진부(142)는 제1차단기(201)에 공진 전류를 사고 전류의 반대 방향으로 주입할 수 있도록 전류 흐름을 제어할 수 있다. 제2공진부(142)는 제1차단기(201)를 포함하는 폐회로를 형성하여, 제1차단기(201)에 흐르는 공진 전류가 사고 전류의 반대 방향이 되도록 전류 흐름을 제어할 수 있고, 제1차단기(201)에 흐르는 전류가 영점을 지나도록 할 수 있다. 예시적으로, 제2공진부(142)는 도8에서와 같이, LC 회로(110)의 일측과 제1차단기(201)와 제1선로 접점에 연결되는 제6반도체 소자(126) 및 LC 회로(110)의 타측과 제2차단기(202)와 제2선로의 접점에 연결되는 제7반도체 소자(127)를 포함할 수 있고, 제6반도체 소자(126) 및 제7반도체 소자(127)가 턴온되면, 제1차단기(201)에 LC 회로(110) 공진에 의한 공진 전류가 사고 전류의 반대방향인 (+) 방향으로 흐르도록 전류 흐름을 제어할 수 있다.
제2방전 회로(164)는 선로의 에너지를 방사할 수 있고, 제1공급 전원(301)측에 사고가 발생하였을 때, 제1선로에 유기되는 선로의 에너지를 방사할 수 있다. 예시적으로, 제1선로와 접지 사이에 연결되는 제4다이오드(173) 및 제2방전 소자(165)를 포함하고, 제1선로에 유기된 자기에너지를 방사할 수 있다.
제3다이오드(172)는 제1차단기(201)와 병렬로 연결되어, 일방향으로 전류 흐름을 제어할 수 있다. 제1차단기(201)로 주입되는 공진 전류의 크기의 최대값은 앞서 설명한 바와 같이 커패시터(111)와 인덕터(112)에 의하여 결정될 수 있고, 그 값이 사고 전류의 값보다 크게 설정하여 사고 발생시 차단기(200)에 흐르는 전류가 영점을 지나도록 할 수 있다. 제1차단기(201) 개방 이후, LC 회로(110)의 공진에 의한 공진 전류가 제3다이오드(172)를 통해 흐르도록 함으로써 기존에 충전된 LC 회로(110)의 공진에 의하여 재충전이 진행되고, 사고 발생시 손실을 줄일 수 있다.
제1차단기(201)는 제1공급 전원(301)과 제2차단기(202) 사이에 연결될 수 있다. 제1차단기(201)에 흐르는 전류가 영점일 때, 제1차단기(201)는 개방될 수 있고, 아크 등에 의한 사고를 예방할 수 있다.
이하에서 설명하는 DC 차단기(100) 동작 방법은 앞서 설명된 DC 차단기(100)에 의하여 수행될 수 있다. 따라서, 이하 생략된 내용이라고 하더라도 DC 차단기(100)에 대하여 설명된 내용은 DC 차단기(100) 동작 방법에 대한 설명에도 동일하게 적용될 수 있다.
본원의 일 실시예에 따른 DC 차단기(100) 동작 방법은, i) 공급 전원(300)과 선로 사이에 연결되는 차단기(200)를 투입하는 단계, ii) 커패시터(111)와 인덕터(112)가 직렬로 연결된LC 회로(110)를 충전시키기 위하여 전류 흐름을 제어하는 충전부(130)를 통해 상기 LC 회로(110)를 충전시키는 단계, iii) 상기 LC 회로(110)의 충전이 완료된 후 사고 대기 상태에서 사고를 감지하고, 공진부(140)에서 공진 전류 주입을 위하여 전류 흐름을 제어하는 단계, iv) 상기 차단기(200)에 흐르는 전류가 0일 때, 상기 차단기(200)를 개방하고, 상기 차단기(200)와 병렬로 연결된 제1다이오드(170)를 통해 전류 흐름을 제어하는 개방 단계, v) 상기 공급 전원(300)에 따라 상기 LC 회로(110)를 재충전하는 단계, vi) 전류 흐름을 제어하는 반전부(150)에서 상기 LC 회로(110)에 재충전된 전압을 반전시키는 단계, vii) 상기 선로의 에너지를 방전 회로(160)에서 방사하는 단계를 포함할 수 있다.
공급 전원(300)과 선로 사이에 연결되는 차단기(200)를 투입하는 단계는 부하측으로 직류 전원을 공급을 시작하는 단계에 해당할 수 있다.
LC 회로(110)를 충전시키는 단계에서, 커패시터(111)와 인덕터(112)가 직렬로 연결된LC 회로(110)를 충전시키기 위하여 전류 흐름을 제어하는 충전부(130)를 통해 상기 LC 회로(110)를 충전시킬 수 있다. LC 회로(110)는 커패시터(111)와 인덕터(112)가 직렬로 연결된 것일 수 있다. 충전부(130)는 예시적으로, LC 회로(110)의 일측과 차단기(200)의 일측에 연결되는 제1반도체 소자(121), LC 회로(110)의 타측과 접지에 연결되는 충전 저항(131) 및 제5반도체 소자(125)를 포함할 수 있고, 충전부(130)는 제1반도체 소자(121) 및 제5반도체 소자(125)를 턴온시켜, 공급 전원(300)으로부터 LC 회로(110)를 거쳐 접지 방향으로 LC 회로(110)를 충전시키기 위하여 전류의 흐름을 일방향으로 제어하여 LC 회로(110)를 충전시킬 수 있다. LC 회로(110)의 충전이 완료되면, 제1반도체 소자(121) 및 제5반도체 소자(125)에 흐르는 전류가 0이 되어 턴오프될 수 있다.
공진 전류 주입을 위하여 전류 흐름을 제어하는 단계에서 상기 LC 회로(110)의 충전이 완료된 후 사고 대기 상태에서 사고를 감지하고, 공진부(140)에서 공진 전류 주입을 위하여 전류 흐름을 제어할 수 있다. 공진부(140)는 예시적으로 LC 회로(110)의 일측과 차단기(200)의 타측에 연결되는 제2반도체 소자(122) 및 LC 회로(110)의 타측과 차단기(200)의 일측에 연결되는 제3반도체 소자(123)를 포함할 수 있다. 공진부(140)는 사고 대기 상태에서 사고가 감지되면, 제2반도체 소자(122) 및 제3반도체 소자(123)를 턴오프 시켜, LC 회로(110) 및 차단기(200)를 포함하는 폐회로를 형성할 수 있고, LC 회로(110)-제2반도체 소자(122)-차단기(200)-제3반도체 소자(123)-LC 회로(110) 순으로 형성된 폐회로의 차단기(200)에 사고 전류의 반대방향으로 공진 전류를 주입할 수 있다.
개방 단계에서는는, 차단기(200)에 흐르는 전류가 0일 때, 차단기(200)를 개방하고, 상기 차단기(200)와 병렬로 연결된 제1다이오드(170)를 통해 전류 흐름을 제어할 수 있다. 제1다이오드(170)는 차단기(200)와 병렬로 연결될 수 있고, 일방향의 전류 흐름을 제어할 수 있다. 차단기(200)로 주입되는 공진 전류의 크기의 최대값은 앞서 설명한 바와 같이 커패시터(111)와 인덕터(112)에 의하여 결정될 수 있고, 그 값이 사고 전류의 값보다 크게 설정하여 사고 발생시 차단기(200)에 흐르는 전류가 영점을 지나도록 할 수 있다. 차단기(200) 개방 이후, LC 회로(110)의 공진에 의한 공진 전류가 제1다이오드(170)를 통해 흐르도록 함으로써 기존에 충전된 LC 회로(110)의 공진에 의하여 재충전이 진행되고, 사고 발생시 손실을 줄일 수 있다.
상기 공급 전원(300)에 따라 상기 LC 회로(110)를 재충전하는 단계에서는 공급 전원(300)에 따라 LC 회로(110)가 재충전될 수 있으며, 선로의 자체 인덕턴스에 유기된 자기에너지에 의하여 LC 회로(110)는 공급 전원(300)의 전압값 이상으로 재충전될 수 있다. LC 회로(110)의 재충전이 완료되면, 제2반도체 소자(122) 및 제3반도체 소자(123)에 흐르는 전류의 크기가 0이되어 턴오프 될 수 있다.
전류 흐름을 제어하는 반전부(150)에서 상기 LC 회로(110)에 재충전된 전압을 반전시키는 단계에서는, LC 회로(110)에 재충전된 전압을 반전시킬 수 있다. LC 회로(110)에 재충전된 전압의 극성은 사고 발생시 차단기(200)로 사고 전류 방향의 반대의 공진 전류를 주입하기 위한 극성과 반대일 수 있고, 재충전된 전압의 극성을 반전시킴으로써 사고 원인 제거 후 차단기(200) 재투입시 별도의 LC 회로(110) 충전을 위한 동작이나, 대기 시간 등과 같은 과정 없이 사고 대기 상태로 준비될 수 있다.
선로의 에너지를 방사하는 단계는, 방전 회로(160)에서 선로에 유기된 자기에너지를 방사할 수 있다. 사고 전류는 정상 동작 상태의 전류의 크기보다 매우 크고, 이로 인해 선로에 자기에너지가 유기될 수 있다. 선로에 유기된 자기에너지는 사고의 원인이 될 수 있고, 고장 발생 원인 제거 후 차단기(200) 재투입시 공급 전원(300) 또는 부하측 사고를 유발할 수 있어, 이를 방사할 필요가 있다. 방전 회로(160)는 예시적으로 선로와 접지 사이에 연결되는 제2다이오드(171) 및 방전 소자(161)를 포함할 수 있고, 선로에 유기된 에너지에 의해 제2다이오드(171)가 턴온되어 방전 소자(161)를 통해 전류가 흐르게 되어 전력을 소모함으로써 선로에 유기된 에너지를 방사할 수 있다.
본원의 일 실 예에 따른 DC 차단기(100) 동작 방법은 다양한 컴퓨터 수단을 통하여 수행될 수 있는 프로그램 명령 형태로 구현되어 컴퓨터 판독 가능 매체에 기록될 수 있다. 상기 컴퓨터 판독 가능 매체는 프로그램 명령, 데이터 파일, 데이터 구조 등을 단독으로 또는 조합하여 포함할 수 있다. 상기 매체에 기록되는 프로그램 명령은 본 발명을 위하여 특별히 설계되고 구성된 것들이거나 컴퓨터 소프트웨어 당업자에게 공지되어 사용 가능한 것일 수도 있다. 컴퓨터 판독 가능 기록 매체의 예에는 하드 디스크, 플로피 디스크 및 자기 테이프와 같은 자기 매체(magnetic media), CD-ROM, DVD와 같은 광기록 매체(optical media), 플롭티컬 디스크(floptical disk)와 같은 자기-광 매체(magneto-optical media), 및 롬(ROM), 램(RAM), 플래시 메모리 등과 같은 프로그램 명령을 저장하고 수행하도록 특별히 구성된 하드웨어 장치가 포함된다. 프로그램 명령의 예에는 컴파일러에 의해 만들어지는 것과 같은 기계어 코드뿐만 아니라 인터프리터 등을 사용해서 컴퓨터에 의해서 실행될 수 있는 고급 언어 코드를 포함한다. 상기된 하드웨어 장치는 본 발명의 동작을 수행하기 위해 하나 이상의 소프트웨어 모듈로서 작동하도록 구성될 수 있으며, 그 역도 마찬가지이다.
또한, 전술한 DC 차단기(100) 동작 방법은 기록 매체에 저장되는 컴퓨터에 의해 실행되는 컴퓨터 프로그램 또는 애플리케이션의 형태로도 구현될 수 있다.
전술한 본원의 설명은 예시를 위한 것이며, 본원이 속하는 기술분야의 통상의 지식을 가진 자는 본원의 기술적 사상이나 필수적인 특징을 변경하지 않고서 다른 구체적인 형태로 쉽게 변형이 가능하다는 것을 이해할 수 있을 것이다. 그러므로 이상에서 기술한 실시예들은 모든 면에서 예시적인 것이며 한정적이 아닌 것으로 이해해야만 한다. 예를 들어, 단일형으로 설명되어 있는 각 구성 요소는 분산되어 실시될 수도 있으며, 마찬가지로 분산된 것으로 설명되어 있는 구성 요소들도 결합된 형태로 실시될 수 있다.
본원의 범위는 상기 상세한 설명보다는 후술하는 특허청구범위에 의하여 나타내어지며, 특허청구범위의 의미 및 범위 그리고 그 균등 개념으로부터 도출되는 모든 변경 또는 변형된 형태가 본원의 범위에 포함되는 것으로 해석되어야 한다.
100: DC 차단기
110: LC 회로
111: 커패시터
112: 인덕터
120: 반도체 소자
121: 제1반도체 소자
122: 제2 반도체 소자
123: 제3 반도체 소자
124: 제4반도체 소자
125: 제5반도체 소자
126: 제6반도체 소자
127: 제7반도체 소자
130: 충전부
131: 충전 저항
140: 공진부
141: 제1공진부
142: 제2공진부
150: 반전부
160: 방전 회로
161: 방전 소자
162: 제1방전 회로
163: 제1 방전 소자
164: 제2방전 회로
165: 제2방전 소자
170: 제1다이오드
171: 제2다이오드
172: 제3다이오드
173: 제4다이오드
200: 차단기
201: 제1차단기
202: 제2차단기
300: 공급 전원
301: 제1공급 전원
302: 제2공급 전원

Claims (13)

  1. 공급 전원과 선로 사이에 연결되는 차단기;
    상기 차단기와 병렬로 연결되고, 일방향의 전류 흐름을 제어하는 제1다이오드;
    커패시터와 인덕터가 직렬로 연결된 LC 회로;
    일방향으로 전류의 흐름을 제어하는 복수개의 반도체 소자;
    상기 LC 회로의 충전된 전압을 반전시키기 위하여 전류 흐름을 제어하는 반전부;
    상기 LC 회로를 충전시키기 위한 전류 흐름을 제어하는 충전부;
    공진 전류 주입을 위하여 전류 흐름을 제어하는 공진부; 및
    상기 선로의 에너지를 방사하는 방전 회로,
    를 포함하는 DC 차단기.
  2. 제1항에 있어서,
    상기 반전부는,
    상기 LC 회로에 병렬로 연결되는 제4반도체 소자를 포함하고,
    상기 충전부는,
    상기 LC 회로의 일측과 상기 차단기의 일측에 연결되는 제1반도체 소자, 상기 LC 회로의 타측과 접지에 연결되는 충전 저항 및 제5반도체 소자를 포함하고,
    상기 공진부는,
    상기 LC 회로의 일측과 상기 차단기의 타측에 연결되는 제2반도체 소자 및 상기 LC 회로의 타측과 상기 차단기의 일측에 연결되는 제3반도체 소자를 포함하고,
    상기 방전 회로는, 상기 선로와 접지 사이에 연결되는 제2다이오드 및 방전 소자를 포함하는, DC 차단기.
  3. 제2항에 있어서,
    상기 충전부는,
    정상 상태에서 상기 제1반도체 소자 및 상기 제5반도체 소자를 턴온시켜 상기 커패시터를 충전하고, 상기 커패시터의 충전 완료 후 상기 제1반도체 소자 및 상기 제5반도체 소자가 턴오프되는 것인, DC 차단기.
  4. 제2항에 있어서,
    상기 충전부는,
    동작 대기 상태에서 충전된 상기 커패시터의 전압이 기설정한 값 이하일 때, 상기 제1반도체 소자 및 상기 제5반도체 소자를 턴온시켜 상기 커패시터를 충전하고, 상기 커패시터의 충전 완료 후 상기 제1반도체 소자 및 상기 제5반도체 소자가 턴오프 되는 것인, DC 차단기.
  5. 제2항에 있어서,
    상기 공진부는,
    부하 측 사고 발생시 상기 제2반도체 소자 및 상기 제3반도체 소자를 턴온시켜, 상기 LC 회로에 충전된 전압을 이용하여 상기 차단기로 사고전류의 역방향으로 공진 전류를 주입하고,
    상기 차단기는,
    상기 사고전류 및 상기 공진 전류에 따라, 상기 차단기에 흐르는 전류가 영점이 될 때 개방되는 것인, DC 차단기.
  6. 제5항에 있어서,
    상기 제1다이오드는,
    상기 차단기가 개방될 때 턴온되고, 상기 커패시터의 전압에 따라 턴오프 되는 것인, DC 차단기.
  7. 제2항에 있어서,
    상기 LC 회로는,
    부하 측 사고 발생시 상기 차단기가 개방된 상태 및 상기 제2반도체 소자 및 상기 제3반도체 소자가 턴온된 상태에서, 상기 공급 전원 및 사고 전류에 따라 상기 커패시터를 재충전하고,
    상기 제2반도체 소자 및 상기 제3반도체 소자는,
    상기 커패시터의 재충전 전압에 따라 턴오프 되는 것인, DC 차단기.
  8. 제7항에 있어서,
    상기 반전부는,
    상기 제2반도체 소자 및 상기 제3반도체 소자가 턴오프 된 후, 상기 제4반도체 소자를 턴온시켜 상기 커패시터 전압을 반전시키는 것인, DC 차단기.
  9. 제2항에 있어서,
    상기 방전 회로는,
    부하 측 사고 발생시 상기 제2다이오드가 턴온되어, 상기 선로에 유기된 에너지가 상기 방전 소자에 의해 방전되는 것인, DC 차단기.
  10. 제9항에 있어서,
    상기 반전부는,
    상기 선로에 유기된 에너지가 상기 방전 소자에 의해 방전되는 동안, 상기 제4반도체 소자를 턴온시켜 상기 커패시터 전압을 반전시키는 것인, DC 차단기.
  11. 제2항에 있어서,
    상기 복수개의 반도체 소자, 상기 제1반도체 소자 내지 상기 제5반도체 소자는 사이리스터인 것인, DC 차단기.
  12. 제1공급 전원에 연결되는 제1선로와 연결되는 제1차단기;
    상기 제1차단기와 제2공급 전원에 연결되는 제2선로에 연결되는 제2차단기;
    상기 제2차단기와 병렬로 연결되고, 일방향의 전류 흐름을 제어하는 제1다이오드;
    상기 제1차단기와 병렬로 연결되고, 일방향의 전류 흐름을 제어하는 제3다이오드;
    커패시터와 인덕터가 직렬로 연결된 LC 회로;
    상기 LC 회로에 병렬로 연결되는 제4반도체 소자를 포함하고, 상기 LC 회로의 충전된 전압을 반전시키기 위하여 전류 흐름을 제어하는 반전부;
    상기 LC 회로의 일측과 상기 제1차단기-상기 제2차단기 접점에 연결되는 제1반도체 소자, 상기 LC 회로의 타측과 접지에 연결되는 충전 저항 및 제5반도체 소자를 포함하고, 상기 LC 회로를 충전시키기 위한 전류 흐름을 제어하는 충전부;
    상기 LC 회로의 일측과 상기 제2차단기-상기 제2선로 접점에 연결되는 제2반도체 소자 및 상기 LC 회로의 타측과 상기 제1차단기-상기 제1선로 접점에 연결되는 제3반도체 소자를 포함하고, 상기 제2차단기로의 공진 전류 주입을 위하여 전류 흐름을 제어하는 제1공진부;
    상기 LC 회로의 일측과 상기 제1차단기-상기 제1선로 접점에 연결되는 제6반도체 소자 및 상기 LC 회로의 타측과 상기 제2차단기-상기 제2선로의 접점에 연결되는 제7반도체 소자를 포함하고, 상기 제1차단기로의 공진 전류 주입을 위하여 전류 흐름을 제어하는 제2공진부;
    상기 제2선로와 접지 사이에 연결되는 제2다이오드 및 제1방전 소자를 포함하고, 상기 제2선로의 에너지를 방사하는 제1방전 회로;
    상기 제1선로와 접지 사이에 연결되는 제4다이오드 및 제2방전 소자를 포함하고, 상기 제1선로의 에너지를 방사하는 제2방전 회로,
    를 포함하는, 양방향 DC 차단기.
  13. 제12항에 있어서,
    제1공진부는,
    상기 제2공급 전원측 사고 발생시 상기 제2반도체 소자 및 상기 제3반도체 소자를 턴온시켜, 상기 LC 회로로부터 상기 제2차단기로 사고 전류와 반대 방향으로 공진 전류를 주입하고,
    제2공진부는,
    상기 제1공급 전원측 사고 발생시 상기 제6반도체 소자 및 상기 제7반도체 소자를 턴온시켜, 상기 LC 회로로부터 상기 제1차단기로 사고 전류와 반대 방향으로 공진 전류를 주입하는 것인, 양방향 DC 차단기.
KR1020200160490A 2020-11-25 2020-11-25 반도체 소자와 lc 공진 회로를 이용한 하이브리드 dc 차단기 Active KR102505689B1 (ko)

Priority Applications (1)

Application Number Priority Date Filing Date Title
KR1020200160490A KR102505689B1 (ko) 2020-11-25 2020-11-25 반도체 소자와 lc 공진 회로를 이용한 하이브리드 dc 차단기

Applications Claiming Priority (1)

Application Number Priority Date Filing Date Title
KR1020200160490A KR102505689B1 (ko) 2020-11-25 2020-11-25 반도체 소자와 lc 공진 회로를 이용한 하이브리드 dc 차단기

Publications (3)

Publication Number Publication Date
KR20220072648A true KR20220072648A (ko) 2022-06-02
KR102505689B1 KR102505689B1 (ko) 2023-03-02
KR102505689B9 KR102505689B9 (ko) 2023-06-12

Family

ID=81985261

Family Applications (1)

Application Number Title Priority Date Filing Date
KR1020200160490A Active KR102505689B1 (ko) 2020-11-25 2020-11-25 반도체 소자와 lc 공진 회로를 이용한 하이브리드 dc 차단기

Country Status (1)

Country Link
KR (1) KR102505689B1 (ko)

Cited By (2)

* Cited by examiner, † Cited by third party
Publication number Priority date Publication date Assignee Title
CN115693619A (zh) * 2022-11-08 2023-02-03 国网安徽省电力有限公司电力科学研究院 一种用于高压直流断路器的谐振电子开关及过零控制策略
KR20240072820A (ko) * 2022-11-17 2024-05-24 국립목포대학교산학협력단 직류 링크 고장 전류 차단이 가능한 인버터

Citations (2)

* Cited by examiner, † Cited by third party
Publication number Priority date Publication date Assignee Title
KR101688921B1 (ko) * 2015-06-22 2017-01-02 주식회사 효성 Dc 차단기
KR20170142020A (ko) * 2016-06-16 2017-12-27 명지대학교 산학협력단 하이브리드 dc 차단기 및 이의 동작 방법

Patent Citations (2)

* Cited by examiner, † Cited by third party
Publication number Priority date Publication date Assignee Title
KR101688921B1 (ko) * 2015-06-22 2017-01-02 주식회사 효성 Dc 차단기
KR20170142020A (ko) * 2016-06-16 2017-12-27 명지대학교 산학협력단 하이브리드 dc 차단기 및 이의 동작 방법

Cited By (3)

* Cited by examiner, † Cited by third party
Publication number Priority date Publication date Assignee Title
CN115693619A (zh) * 2022-11-08 2023-02-03 国网安徽省电力有限公司电力科学研究院 一种用于高压直流断路器的谐振电子开关及过零控制策略
CN115693619B (zh) * 2022-11-08 2023-08-15 国网安徽省电力有限公司电力科学研究院 一种用于高压直流断路器的谐振电子开关及过零控制策略
KR20240072820A (ko) * 2022-11-17 2024-05-24 국립목포대학교산학협력단 직류 링크 고장 전류 차단이 가능한 인버터

Also Published As

Publication number Publication date
KR102505689B9 (ko) 2023-06-12
KR102505689B1 (ko) 2023-03-02

Similar Documents

Publication Publication Date Title
CN103337851B (zh) 一种半控型有源注入电流式高压直流断路器及其实现方法
WO2016197973A1 (zh) 预充电型高速直流断路器及其控制方法和存储介质
CN106159880B (zh) 直流固态断路器及配电系统
WO2015081615A1 (zh) 一种直流断路器
CN104158152B (zh) 一种电机驱动器防护电路及防护方法
KR102505689B1 (ko) 반도체 소자와 lc 공진 회로를 이용한 하이브리드 dc 차단기
CN111224372A (zh) 具有快速重合闸功能的混合式直流断路器及其开断方法
Zhou et al. Circuit modeling and experimental validation of a bidirectional Z-source circuit breaker based on coupled inductors
Xu et al. Design of a reliable bidirectional solid-state circuit breaker for DC microgrids
CN106849327B (zh) 一种交直流混合型的断路器及控制方法
CN209659145U (zh) 一种用于双向直流电源的充放电一体化保护电路
Diao et al. A bidirectional efficient circuit breaker with automatic and controllable shutoff functions for DC distribution network
CN112993931B (zh) 一种ю源直流固态断路器及其控制方法
Yu et al. A new thyristor DC solid-state circuit breaker capable of performing operating duty
CN103823502A (zh) 一种限流式混合型功率控制器
CN209233749U (zh) 用于直流供电系统的驱动器限流启动电路
CN116846039B (zh) 充放电装置、方法、设备和存储介质
CN111355213B (zh) 一种直流断路器
CN115549028B (zh) 一种基于双耦合电感的串联型混合断路器
CN114937979B (zh) 一种具备故障电流抑制能力的混合直流断路器及其工作方法
CN101022217A (zh) 故障限流器直流控制系统
CN113852050B (zh) 基于电容换流的可主动关断型直流固态断路器及控制方法
CN114123121B (zh) 一种具有高分断能力的重合闸直流断路器
CN111245087A (zh) 一种混合式直流快切装置及其控制方法
CN105811381A (zh) 一种直流限流断路器

Legal Events

Date Code Title Description
PA0109 Patent application

St.27 status event code: A-0-1-A10-A12-nap-PA0109

PA0201 Request for examination

St.27 status event code: A-1-2-D10-D11-exm-PA0201

D13-X000 Search requested

St.27 status event code: A-1-2-D10-D13-srh-X000

D14-X000 Search report completed

St.27 status event code: A-1-2-D10-D14-srh-X000

PG1501 Laying open of application

St.27 status event code: A-1-1-Q10-Q12-nap-PG1501

E902 Notification of reason for refusal
PE0902 Notice of grounds for rejection

St.27 status event code: A-1-2-D10-D21-exm-PE0902

R18-X000 Changes to party contact information recorded

St.27 status event code: A-3-3-R10-R18-oth-X000

E13-X000 Pre-grant limitation requested

St.27 status event code: A-2-3-E10-E13-lim-X000

P11-X000 Amendment of application requested

St.27 status event code: A-2-2-P10-P11-nap-X000

P13-X000 Application amended

St.27 status event code: A-2-2-P10-P13-nap-X000

PE0701 Decision of registration

St.27 status event code: A-1-2-D10-D22-exm-PE0701

PR0701 Registration of establishment

St.27 status event code: A-2-4-F10-F11-exm-PR0701

PR1002 Payment of registration fee

St.27 status event code: A-2-2-U10-U11-oth-PR1002

Fee payment year number: 1

PG1601 Publication of registration

St.27 status event code: A-4-4-Q10-Q13-nap-PG1601

G170 Re-publication after modification of scope of protection [patent]
PG1701 Publication of correction

St.27 status event code: A-5-5-P10-P19-oth-PG1701

Patent document republication publication date: 20230612

Republication note text: Request for Correction Notice (Document Request)

Gazette number: 1025056890000

Gazette reference publication date: 20230302

PR1001 Payment of annual fee

St.27 status event code: A-4-4-U10-U11-oth-PR1001

Fee payment year number: 4

U11 Full renewal or maintenance fee paid

Free format text: ST27 STATUS EVENT CODE: A-4-4-U10-U11-OTH-PR1001 (AS PROVIDED BY THE NATIONAL OFFICE)

Year of fee payment: 4