KR20220002797U - Axial replacement handle for container - Google Patents

Axial replacement handle for container Download PDF

Info

Publication number
KR20220002797U
KR20220002797U KR2020210001585U KR20210001585U KR20220002797U KR 20220002797 U KR20220002797 U KR 20220002797U KR 2020210001585 U KR2020210001585 U KR 2020210001585U KR 20210001585 U KR20210001585 U KR 20210001585U KR 20220002797 U KR20220002797 U KR 20220002797U
Authority
KR
South Korea
Prior art keywords
screw
handle
cap
connection part
container
Prior art date
Legal status (The legal status is an assumption and is not a legal conclusion. Google has not performed a legal analysis and makes no representation as to the accuracy of the status listed.)
Granted
Application number
KR2020210001585U
Other languages
Korean (ko)
Other versions
KR200497411Y1 (en
Inventor
위-타 첸
Original Assignee
짜이르 이 인더스트리얼 컴퍼니 리미티드
Priority date (The priority date is an assumption and is not a legal conclusion. Google has not performed a legal analysis and makes no representation as to the accuracy of the date listed.)
Filing date
Publication date
Application filed by 짜이르 이 인더스트리얼 컴퍼니 리미티드 filed Critical 짜이르 이 인더스트리얼 컴퍼니 리미티드
Priority to KR2020210001585U priority Critical patent/KR200497411Y1/en
Publication of KR20220002797U publication Critical patent/KR20220002797U/en
Application granted granted Critical
Publication of KR200497411Y1 publication Critical patent/KR200497411Y1/en
Active legal-status Critical Current
Anticipated expiration legal-status Critical

Links

Images

Classifications

    • BPERFORMING OPERATIONS; TRANSPORTING
    • B65CONVEYING; PACKING; STORING; HANDLING THIN OR FILAMENTARY MATERIAL
    • B65DCONTAINERS FOR STORAGE OR TRANSPORT OF ARTICLES OR MATERIALS, e.g. BAGS, BARRELS, BOTTLES, BOXES, CANS, CARTONS, CRATES, DRUMS, JARS, TANKS, HOPPERS, FORWARDING CONTAINERS; ACCESSORIES, CLOSURES, OR FITTINGS THEREFOR; PACKAGING ELEMENTS; PACKAGES
    • B65D25/00Details of other kinds or types of rigid or semi-rigid containers
    • B65D25/28Handles
    • B65D25/2802Handles fixed, i.e. non-swingable, handles
    • B65D25/2805Handles fixed, i.e. non-swingable, handles provided on a local area of the side walls
    • BPERFORMING OPERATIONS; TRANSPORTING
    • B65CONVEYING; PACKING; STORING; HANDLING THIN OR FILAMENTARY MATERIAL
    • B65DCONTAINERS FOR STORAGE OR TRANSPORT OF ARTICLES OR MATERIALS, e.g. BAGS, BARRELS, BOTTLES, BOXES, CANS, CARTONS, CRATES, DRUMS, JARS, TANKS, HOPPERS, FORWARDING CONTAINERS; ACCESSORIES, CLOSURES, OR FITTINGS THEREFOR; PACKAGING ELEMENTS; PACKAGES
    • B65D25/00Details of other kinds or types of rigid or semi-rigid containers
    • B65D25/20External fittings
    • B65D25/22External fittings for facilitating lifting or suspending of containers
    • BPERFORMING OPERATIONS; TRANSPORTING
    • B65CONVEYING; PACKING; STORING; HANDLING THIN OR FILAMENTARY MATERIAL
    • B65DCONTAINERS FOR STORAGE OR TRANSPORT OF ARTICLES OR MATERIALS, e.g. BAGS, BARRELS, BOTTLES, BOXES, CANS, CARTONS, CRATES, DRUMS, JARS, TANKS, HOPPERS, FORWARDING CONTAINERS; ACCESSORIES, CLOSURES, OR FITTINGS THEREFOR; PACKAGING ELEMENTS; PACKAGES
    • B65D2525/00Details of other kinds or types of rigid or semi-rigid containers
    • B65D2525/28Handles
    • B65D2525/281Details relating to handles
    • B65D2525/285Details relating to handles removable or detachable
    • BPERFORMING OPERATIONS; TRANSPORTING
    • B65CONVEYING; PACKING; STORING; HANDLING THIN OR FILAMENTARY MATERIAL
    • B65DCONTAINERS FOR STORAGE OR TRANSPORT OF ARTICLES OR MATERIALS, e.g. BAGS, BARRELS, BOTTLES, BOXES, CANS, CARTONS, CRATES, DRUMS, JARS, TANKS, HOPPERS, FORWARDING CONTAINERS; ACCESSORIES, CLOSURES, OR FITTINGS THEREFOR; PACKAGING ELEMENTS; PACKAGES
    • B65D2525/00Details of other kinds or types of rigid or semi-rigid containers
    • B65D2525/28Handles
    • B65D2525/281Details relating to handles
    • B65D2525/289Handgrip-element made separately from the handle

Landscapes

  • Engineering & Computer Science (AREA)
  • Mechanical Engineering (AREA)
  • Details Of Rigid Or Semi-Rigid Containers (AREA)

Abstract

본 고안은 용기의 축방향 교체 손잡이를 제공하며, 용기 외부 가장자리의 연결부에 매칭되어 조립된다. 여기에는 주로 손잡이봉, 캡 및 잠금고정 메커니즘이 포함된다. 상기 캡 및 상기 손잡이봉은 각각 용기 연결부의 꼭대기부 및 바닥부에 설치된다. 상기 손잡이봉 또는 상기 캡 중 하나는 목재 등과 같이 인성이 있는 재질로 제작된다. 상기 잠금고정 메커니즘은 서로 나사결합 가능한 제1 나사결합부 및 제2 나사결합부를 구비한다. 상기 제1 나사결합부 및 상기 제2 나사결합부는 각각 상기 손잡이봉 꼭대기부 및 상기 캡 바닥부에 설치된다. 상기 잠금고정 메커니즘은 상기 연결부의 관통공을 관통하며, 단단히 조이면서 상기 연결부를 상기 손잡이봉과 상기 캡 사이에 고정시킨다.The present invention provides an axial replacement handle of the container, and is assembled by matching with the connection part of the outer edge of the container. These primarily include grab rods, caps and locking mechanisms. The cap and the handle rod are installed on the top and bottom of the container connecting portion, respectively. One of the handle rod or the cap is made of a tough material such as wood. The locking mechanism includes a first screw coupling portion and a second screw coupling portion capable of being screwed together. The first screw connection part and the second screw connection part are respectively installed on the top part of the handle bar and the bottom part of the cap. The locking and fixing mechanism passes through the through hole of the connection part and fixes the connection part between the handle bar and the cap while tightly tightening it.

Description

용기의 축방향 교체 손잡이{Axial replacement handle for container}Axial replacement handle for container}

본 고안은 손잡이에 관한 것으로, 더욱 상세하게는 도구 없이 용기 입구 둘레의 연결부에 조립 연결이 가능한 구조를 가진 손잡이에 관한 것이다.The present invention relates to a handle, and more particularly, to a handle having a structure capable of being assembled and connected to a connection portion around a container inlet without tools.

일반 용기는 사용자가 쉽게 잡을 수 있도록 대부분의 손잡이가 용기의 외부 가장자리에 설치되며, 재료 및 제조 공정의 제한을 받아 손잡이와 용기를 일체로 성형하거나 별도 가공(예를 들어 용접)을 통해 손잡이를 용기의 외부 가장자리에 고정시킨다. 그러나 이러한 방식은 컵 손잡이를 교체할 수 없는 문제가 있으며, 손잡이나 용기가 파손되면 이를 버릴 수밖에 없다.In general containers, most of the handles are installed on the outer edge of the container so that the user can easily hold it. Due to limitations in materials and manufacturing processes, the handle and container are integrally molded or separately processed (eg welding) to attach the handle to the container. fixed to the outer edge of the However, this method has a problem in that the handle of the cup cannot be replaced, and when the handle or the container is damaged, it is inevitable to throw it away.

한편, 용기 손잡이를 교체할 수 있는 구조는 주로 용기 외부 가장자리에 관통공을 구비한 연결부가 설치된다. 손잡이의 해당 연결부에는 대응하는 천공이 설치되며, 나사가 상기 천공 및 상기 관통공을 관통하여 너트와 나사결합되어 손잡이가 용기 외부 가장자리에 조립된다. 그러나 상기 방법은 손잡이 교체 목적을 달성할 수는 있으나, 손잡이 교체 시 도구를 사용해야만 손잡이를 용기와 분리 또는 조립할 수 있기 때문에, 실제 조작이 불편하다. 또한 손잡이에 나사와 너트가 노출되기 때문에, 손잡이가 나사 또는 너트와 손잡이 사이의 연결 부분에서 걸리기 쉽다.On the other hand, the structure capable of replacing the container handle is mainly provided with a connection portion having a through hole on the outer edge of the container is installed. Corresponding holes are provided in the corresponding connecting parts of the handle, and screws pass through the holes and the through holes and are screwed with a nut so that the handle is assembled to the outer edge of the container. However, although the above method can achieve the purpose of replacing the handle, actual operation is inconvenient because the handle can be separated or assembled from the container only by using a tool when replacing the handle. Also, since the screw and nut are exposed on the handle, the handle is likely to get caught in the connection between the screw or nut and the handle.

이러한 점을 고려하여, 본 고안의 목적은 종래의 축방향 교체식 용기의 손잡이 조립에 도구가 있어야만 손잡이를 용기의 연결부에 단단히 고정할 수 있으며 조립하여 고정한 후 잠금고정 부재가 손잡이에 노출되어 걸림 현상이 발생하기 쉬운 문제를 해결하는 데에 있다.In view of this point, the object of the present invention is that the handle must be firmly fixed to the connection part of the container only when there is a tool for assembling the handle of the conventional axially replaceable container, and after assembling and fixing, the locking member is exposed to the handle and jamming It is to solve this easy problem.

상기 목적을 달성하기 위하여, 본 고안은 용기의 축방향 교체 손잡이를 제공한다. 이는 용기 외부 가장자리의 연결부에 매칭되어 조립되며, 상기 연결부에는 관통공이 설치된다. 상기 손잡이는 주로,In order to achieve the above object, the present invention provides an axial replacement handle of the container. It is assembled by matching with the connection part of the outer edge of the container, and a through hole is installed in the connection part. The handle is mainly

상기 연결부 바닥부에 설치되는 손잡이봉;a handle bar installed on the bottom of the connection part;

상기 연결부 꼭대기부에 설치되는 캡-상기 손잡이봉 또는 상기 캡 중 하나는 목재 등 인성이 있는 재료로 제작됨-; 및a cap installed at the top of the connection part—one of the handle rod or the cap is made of a tough material such as wood; and

상호 나사결합 가능한 제1 나사결합부 및 제2 나사결합부를 구비하는 잠금고정 메커니즘을 포함한다. 상기 제1 나사결합부 및 상기 제2 나사결합부는 각각 상기 손잡이봉 꼭대기부 및 상기 캡 바닥부에 설치되고, 상기 잠금고정 메커니즘은 상기 연결부의 관통공을 관통하며, 단단히 조여져 상기 연결부를 상기 손잡이봉과 상기 캡 사이에 고정시킨다.A locking mechanism including a first screw coupling portion and a second screw coupling portion capable of being mutually screwed together. The first screw connection part and the second screw connection part are respectively installed on the top part of the handle bar and the bottom part of the cap, and the locking mechanism passes through the through hole of the connection part and is tightly tightened to connect the connection part to the handle bar. It is fixed between the caps.

따라서 상기 잠금고정 메커니즘은 도구를 사용하지 않고 상기 손잡이봉과 상기 캡을 직접 서로 나사결합하고 조이며, 상기 잠금고정 메커니즘이 직접 상기 손잡이봉과 상기 캡에 설치된다. 따라서 본 고안은 용기에 결합된 후 잠금고정 메커니즘이 손잡이에 노출되지 않아 걸리는 문제가 발생하는 것을 방지한다.Therefore, the locking mechanism directly screws and tightens the handlebar and the cap to each other without using a tool, and the locking mechanism is directly installed on the handlebar and the cap. Therefore, the present invention prevents the problem that the locking mechanism is not exposed to the handle after being coupled to the container from occurring.

도 1은 본 고안 실시예에 따른 사시도이다.
도 2 및 도 3은 본 고안 실시예에 따른 분해도이다.
도 4는 본 고안 실시예에 따른 사용상태도이다.
도 5는 본 고안 실시예에 따른 사용상태 분해도이다.
도 6은 본 고안 실시예에 따른 사용상태 단면도이다.
도 7, 도 8 및 도 9는 본 고안 실시예에 따른 분해도이다.
도 10 및 도 11은 본 고안 실시예에 따른 사용상태 단면도이다.
도 12는 본 고안 실시예에 따른 사용상태도이다.
도 13은 본 고안 실시예에 따른 사용상태 분해도이다.
1 is a perspective view according to an embodiment of the present invention.
2 and 3 are exploded views according to an embodiment of the present invention.
4 is a use state diagram according to an embodiment of the present invention.
5 is an exploded view of a use state according to an embodiment of the present invention.
6 is a cross-sectional view of a state of use according to an embodiment of the present invention.
7, 8 and 9 are exploded views according to an embodiment of the present invention.
10 and 11 are cross-sectional views of a state of use according to an embodiment of the present invention.
12 is a use state diagram according to an embodiment of the present invention.
13 is an exploded view of a use state according to an embodiment of the present invention.

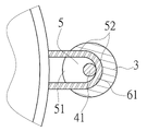
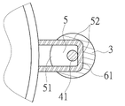
도 12 및 도 13에 도시된 바와 같이, 본 고안의 비교적 바람직한 실시예에 따른 용기의 축방향 교체 손잡이(1)는 용기(6) 외부 가장자리의 연결부(61)에 매칭되어 조립된다. 상기 연결부(61)에는 관통공(62)이 설치된다. 상기 손잡이(1)는 주로 손잡이봉(2), 캡(3) 및 잠금고정 메커니즘(4)을 포함한다. 12 and 13, the axial replacement handle 1 of the container according to a relatively preferred embodiment of the present invention is matched and assembled to the connection portion 61 of the outer edge of the container 6. A through hole 62 is installed in the connection part 61 . The handle 1 mainly includes a handle bar 2, a cap 3 and a locking mechanism 4.

상기 손잡이봉(2)은 상기 연결부(61) 바닥부에 설치되는 막대체이다. 본 고안에서는 그 외관을 한정하지 않으므로, 이는 원형 막대, 다각형 막대 등 기하학적 막대일 수 있다. 그 재질도 한정하지 않으나, 목재 등 인성이 있는 재질로 제작하는 것이 바람직하다.The handle rod 2 is a rod body installed on the bottom of the connection part 61. Since the appearance is not limited in the present invention, it may be a geometric bar such as a circular bar or a polygonal bar. The material is also not limited, but it is preferable to make it of a tough material such as wood.

상기 캡(3)은 상기 연결부(61) 꼭대기부에 설치된다. 본 고안은 그 재질을 한정하지 않는다. 상기 손잡이봉(2)이 목재인 경우, 상기 캡(3)의 재질 경도는 목재 경도보다 단단해야 한다. 반대로 상기 캡(3)이 목재 등과 같이 인성이 있는 재질로 제작된 경우, 상기 손잡이봉(2)의 재질 경도는 목재보다 단단해야 한다.The cap 3 is installed at the top of the connection part 61. The present invention is not limited to the material. When the handlebar 2 is made of wood, the material hardness of the cap 3 must be harder than that of wood. Conversely, when the cap 3 is made of a tough material such as wood, the hardness of the material of the handle bar 2 must be harder than that of wood.

상기 잠금고정 메커니즘(4)은 서로 나사결합 가능한 제1 나사결합부(41) 및 제2 나사결합부(42)를 구비한다. 상기 제1 나사결합부(41) 및 제2 나사결합부(42)는 각각 상기 손잡이봉(2) 꼭대기부 및 상기 캡(3) 바닥부에 설치된다. 상기 잠금고정 메커니즘은 상기 연결부의 관통공을 관통하여 단단히 조이며 상기 연결부(61)에 힘을 가하여 목재의 상기 손잡이봉(2) 또는 상기 캡(3) 내에 삽입시킴으로써, 상기 연결부(61)를 상기 손잡이봉(2) 및 상기 캡(3) 사이에 숨겨 고정시킨다.The locking mechanism 4 includes a first screw coupling portion 41 and a second screw coupling portion 42 that are screwable to each other. The first screw connection part 41 and the second screw connection part 42 are installed on the top part of the handle bar 2 and the bottom part of the cap 3, respectively. The locking and fixing mechanism penetrates the through hole of the connection part and applies force to the connection part 61 to insert it into the handle bar 2 or the cap 3 of wood, thereby locking the connection part 61 into the handle It is hidden and fixed between the rod (2) and the cap (3).

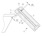
계속해서 도 1 내지 도 6은 본 고안의 다른 실시예를 도시한 것이다. 본 고안에서 상기 캡(3)과 상기 손잡이봉(2) 사이에 안쪽으로 오목한 클램핑 공간(5)이 형성되며, 상기 손잡이(1)에 수직인 축방향으로 노치(51)가 설치되어 상기 클램핑 공간(5)을 연통시킨다. 도 2 및 도 3에 도시된 바와 같이, 상기 클램핑 공간(5)은 상기 캡(3) 바닥부에 설치되거나, 또는 도 7 내지 도 9에 도시된 바와 같이 상기 손잡이봉(2)의 꼭대기부에 설치될 수 있다. 상기 용기(6)의 연결부(61)는 상기 클램핑 공간(5) 내에 설치되고, 상기 클램핑 공간(5)은 적어도 두 벽면에 상기 연결부(61)의 차단 에지가 형성된다. 상기 연결부(61)는 상기 노치(51)를 통해 관통 연장된다. 상기 클램핑 공간(5) 내에서 상기 연결부(61)의 관통공(62)을 통과하여 상기 연결부(61)를 상기 클램핑 공간(5) 내에 고정시킨다.1 to 6 show another embodiment of the present invention. In the present invention, an inward concave clamping space 5 is formed between the cap 3 and the handle bar 2, and a notch 51 is installed in an axial direction perpendicular to the handle 1 to form the clamping space (5) is communicated. 2 and 3, the clamping space 5 is installed at the bottom of the cap 3, or at the top of the handle bar 2, as shown in FIGS. 7 to 9. can be installed The connection part 61 of the container 6 is installed in the clamping space 5, and the clamping space 5 has blocking edges of the connection part 61 formed on at least two walls. The connecting portion 61 extends through the notch 51 . The connection part 61 is fixed in the clamping space 5 by passing through the through hole 62 of the connection part 61 within the clamping space 5 .

도 2 및 도 7에 도시된 바와 같이, 상기 제1 나사결합부(41)가 나사 구멍 또는 너트인 경우, 상기 제2 나사결합부(42)는 나사 파일 또는 나사이다. 반대로 도 3, 도 8 및 도 9에 도시된 바와 같이, 상기 제1 나사결합부(41)가 나사 파일 또는 나사인 경우, 상기 제2 나사결합부(42)는 나사 구멍 또는 너트 중 하나이다. 전술한 나사 파일 또는 나사는 주로 상기 캡(3) 바닥부 또는 상기 손잡이봉(2) 꼭대기부에 부분적으로 내장되며, 상기 캡(3) 또는 상기 손잡이봉(2) 외부에 부분적으로 노출되어 나사 구멍 또는 너트와 나사결합된다. 또는 도 6에 도시된 바와 같이, 상기 제2 나사결합부(42)가 나사 상태인 경우, 상기 나사는 상기 손잡이봉(2)을 축방향으로 관통하도록 설치되며, 상기 나사의 헤드부가 상기 손잡이봉(2) 바닥부에 삽입되고, 상기 나사 꼬리부가 상기 손잡이봉(2) 꼭대기부에 노출된다. 또한 도 9에 도시된 바와 같이, 너트인 경우, 상기 너트는 상기 손잡이봉(2) 내 또는 상기 캡(3) 내에 내장된다.As shown in FIGS. 2 and 7 , when the first screw connection part 41 is a screw hole or a nut, the second screw connection part 42 is a screw file or screw. Conversely, as shown in FIGS. 3, 8 and 9, when the first screw coupling part 41 is a screw file or a screw, the second screw coupling part 42 is either a screw hole or a nut. The above-described screw file or screw is mainly partially embedded in the bottom part of the cap 3 or the top part of the handle bar 2, and is partially exposed to the outside of the cap 3 or the handle bar 2 and is partially exposed to the screw hole. or screwed with a nut. Alternatively, as shown in FIG. 6, when the second screw coupling part 42 is in a screw state, the screw is installed to pass through the pull bar 2 in an axial direction, and the head of the screw is attached to the handle bar. (2) It is inserted into the bottom part, and the screw tail part is exposed to the top part of the handle bar (2). Also, as shown in FIG. 9 , in the case of a nut, the nut is embedded in the handlebar 2 or the cap 3.

계속해서 도 4 내지 도 6 및 도 10 내지 도 12는 본 고안을 실제 용기(6)에 적용한 상태를 도시한 것이다. 상기 용기(6) 외부 가장자리에 연결부(61)가 설치되고, 연결부(61)에는 관통공(62)이 설치되고, 상기 캡(3) 및 상기 손잡이봉(2)은 각각 상기 연결부(61)의 꼭대기면 및 바닥면에 설치된다. 상기 연결부(61)가 상기 캡(3)의 클램핑 공간(5)에 설치되고, 상기 연결부(61)의 외부 가장자리가 상기 클램핑 공간(5)의 벽면(52)에 맞닿은 후, 상기 손잡이봉(2)은 상기 연결부(61)의 바닥면이 상기 캡(3)에 나사결합된다. 또한 상기 클램핑 공간(5)의 높이(H1)는 상기 연결부(61)의 두께(H2)보다 작기 때문에 상기 제1 나사결합부(41) 및 상기 제2 나사결합부(42)가 일정 거리로 나사결합된 후, 상기 캡(3) 및 상기 손잡이봉(2)이 상기 연결부(61)에 클램핑되어 이를 본 고안과 고정시킨다.Subsequently, FIGS. 4 to 6 and 10 to 12 show a state in which the present invention is applied to an actual container 6. A connection part 61 is installed on the outer edge of the container 6, a through hole 62 is installed in the connection part 61, and the cap 3 and the handle bar 2 are respectively connected to the connection part 61. It is installed on the top and bottom surfaces. After the connection part 61 is installed in the clamping space 5 of the cap 3 and the outer edge of the connection part 61 comes into contact with the wall surface 52 of the clamping space 5, the handle bar 2 ), the bottom surface of the connection part 61 is screwed to the cap 3. In addition, since the height H1 of the clamping space 5 is smaller than the thickness H2 of the connecting portion 61, the first screw coupling portion 41 and the second screw coupling portion 42 are screwed at a certain distance. After being coupled, the cap 3 and the handle bar 2 are clamped to the connecting portion 61 to fix them with the present invention.

전술한 바와 같이, 본 고안은 상기 클램핑 공간(5)의 형상을 한정하지 않는다. 그러나 그 중 적어도 두 벽면(52)은 상기 연결부(61)의 차단 에지를 형성하고, 상기 두 벽면(52)은 각각 상기 연결부(61)의 상이한 방향의 외부 가장자리에 맞닿는다. 상기 제1 나사결합부(41) 또는 제2 나사결합부(42)의 외부 가장자리는 상기 연결부(61) 관통공(62)의 내측에 맞닿아 제한된다. 또한 상기 캡(3) 꼭대기부에는 경사면(31)이 설치된다. 상기 경사면(31)은 상기 노치(51)와 반대로 대향한다. 즉, 상기 노치(51)는 상기 용기(6)를 향하고, 상기 경사면(31)은 상기 캡(3)의 외측에 설치된다. 상기 경사면(31)의 설치를 통해 사용자의 그립감을 향상시킨다.As described above, the present invention does not limit the shape of the clamping space 5. However, at least two wall surfaces 52 among them form blocking edges of the connecting portion 61 , and the two wall surfaces 52 respectively abut against outer edges of the connecting portion 61 in different directions. An outer edge of the first screw coupling part 41 or the second screw coupling part 42 comes into contact with the inside of the through hole 62 of the connection part 61 and is limited. In addition, an inclined surface 31 is installed at the top of the cap 3. The inclined surface 31 oppositely faces the notch 51 . That is, the notch 51 faces the container 6, and the inclined surface 31 is installed outside the cap 3. Through the installation of the inclined surface 31, the user's grip is improved.

여기에서, 본 고안을 용기(6)의 연결부(61)에 조립 또는 분해할 때 도구 없이 교체가 가능하다. 또한 상기 잠금고정 메커니즘(4)이 상기 클램핑 공간(5) 내에 설치되기 때문에, 이를 용기(6)에 조립한 후, 상기 잠금고정 메커니즘(4)이 외부로 노출되지 않고, 상기 캡(3) 및 상기 손잡이봉(2) 외표면이 매끄러운 외관을 유지하여 걸림 문제의 발생을 줄인다.Here, when assembling or disassembling the present invention to the connecting portion 61 of the container 6, replacement is possible without tools. In addition, since the locking mechanism 4 is installed in the clamping space 5, after assembling it to the container 6, the locking mechanism 4 is not exposed to the outside, and the cap 3 and The outer surface of the handle rod 2 maintains a smooth appearance to reduce the occurrence of jamming problems.

1 - 손잡이
2 - 손잡이봉
3 - 캡
31 - 경사면
4 - 잠금고정 메커니즘
41 - 제1 나사결합부
42 - 제2 나사결합부
5 - 클램핑 공간
51 - 노치
52 - 벽면
6 - 용기
61 - 연결부
62 - 관통공
H1 - 높이
H2 - 두께
1 - handle
2 - handle bar
3 - cap
31 - slope
4 - locking mechanism
41 - first screw connection
42 - second screw connection
5 - clamping space
51 - Notch
52 - wall
6 - Courage
61 - connection
62 - through hole
H1 - height
H2 - Thickness

Claims (8)

용기의 축방향 교체 손잡이에 있어서,
용기 외부 가장자리의 연결부에 매칭되어 조립되고, 상기 연결부에는 관통공이 설치되고, 상기 손잡이는 주로,
상기 연결부 바닥부에 설치되는 손잡이봉;
상기 연결부 꼭대기부에 설치되는 캡-상기 손잡이봉 또는 상기 캡 중 하나는 목재 등 인성이 있는 재료로 제작됨-; 및
상호 나사결합 가능한 제1 나사결합부 및 제2 나사결합부를 구비하는 잠금고정 메커니즘을 포함하고, 상기 제1 나사결합부 및 상기 제2 나사결합부는 각각 상기 손잡이봉 꼭대기부 및 상기 캡 바닥부에 설치되고, 상기 잠금고정 메커니즘은 상기 연결부의 관통공을 관통하며, 단단히 조여져 상기 연결부를 상기 손잡이봉과 상기 캡 사이에 고정시키는 용기의 축방향 교체 손잡이.
In the axial replacement handle of the container,
It is assembled by matching the connection part of the outer edge of the container, a through hole is installed in the connection part, and the handle is mainly,
a handle bar installed on the bottom of the connection part;
a cap installed at the top of the connection part—either the handle bar or the cap is made of a tough material such as wood; and
A locking mechanism including a first screw coupling portion and a second screw coupling portion capable of being mutually screwed together, wherein the first screw coupling portion and the second screw coupling portion are respectively installed on the top portion of the handlebar and the bottom portion of the cap. And, the locking fixing mechanism passes through the through hole of the connection part, and is tightly tightened to fix the connection part between the handle bar and the cap.
제1항에 있어서,
상기 캡과 상기 손잡이봉 사이에 안쪽으로 오목한 클램핑 공간이 형성되고, 상기 손잡이에 수직인 축방향으로 노치가 설치되어 상기 클램핑 공간을 연통시키고, 상기 용기의 연결부는 상기 클램핑 공간 내에 설치되고, 상기 클램핑 공간의 적어도 두 벽면은 상기 연결부의 차단 에지를 형성하는 용기의 축방향 교체 손잡이.
According to claim 1,
An inward concave clamping space is formed between the cap and the handle bar, a notch is installed in an axial direction perpendicular to the handle to communicate the clamping space, and the connection part of the container is installed in the clamping space, and the clamping space is installed in the clamping space. At least two walls of the cavity form a blocking edge of the connecting portion.
제2항에 있어서,
상기 클램핑 공간 및 상기 노치가 상기 캡에 설치되는 용기의 축방향 교체 손잡이.
According to claim 2,
The clamping space and the axial replacement handle of the container in which the notch is installed in the cap.
제2항에 있어서,
상기 클램핑 공간 및 상기 노치가 상기 손잡이봉에 설치되는 용기의 축방향 교체 손잡이.
According to claim 2,
Axial replacement handle of the container in which the clamping space and the notch are installed on the handle bar.
제1항에 있어서,
상기 제1 나사결합부는 나사 파일 또는 나사 중 하나이고, 상기 제2 나사결합부는 나사 구멍 또는 너트 중 하나인 용기의 축방향 교체 손잡이.
According to claim 1,
The first screw coupling portion is one of a screw file or a screw, and the second screw coupling portion is one of a screw hole or a nut.
제1항에 있어서,
상기 제1 나사결합부는 나사 구멍 또는 너트 중 하나이고, 상기 제2 나사결합부는 나사 파일 또는 나사 중 하나인 용기의 축방향 교체 손잡이.
According to claim 1,
The first screw connection portion is one of a screw hole or a nut, and the second screw connection portion is one of a screw file or a screw.
제6항에 있어서,
상기 제2 나사결합부가 나사 상태인 경우, 상기 나사는 상기 손잡이봉을 축방향으로 관통하도록 설치되며, 상기 나사의 헤드부가 상기 손잡이봉 바닥부에 삽입되고, 상기 나사 꼬리부가 상기 손잡이봉 꼭대기부에 노출되는 용기의 축방향 교체 손잡이.
According to claim 6,
When the second screw coupling part is in a screw state, the screw is installed to pass through the pull rod in an axial direction, the head of the screw is inserted into the bottom of the pull rod, and the screw tail portion is inserted into the top of the pull rod. Axial rotation handle on exposed vessel.
제1항에 있어서,
상기 캡 꼭대기부에 경사면이 설치되는 용기의 축방향 교체 손잡이.
According to claim 1,
Axial replacement handle of the container to which the inclined surface is installed on the top of the cap.
KR2020210001585U 2021-05-18 2021-05-18 Axial replacement handle for container Active KR200497411Y1 (en)

Priority Applications (1)

Application Number Priority Date Filing Date Title
KR2020210001585U KR200497411Y1 (en) 2021-05-18 2021-05-18 Axial replacement handle for container

Applications Claiming Priority (1)

Application Number Priority Date Filing Date Title
KR2020210001585U KR200497411Y1 (en) 2021-05-18 2021-05-18 Axial replacement handle for container

Publications (2)

Publication Number Publication Date
KR20220002797U true KR20220002797U (en) 2022-11-25
KR200497411Y1 KR200497411Y1 (en) 2023-11-01

Family

ID=84233547

Family Applications (1)

Application Number Title Priority Date Filing Date
KR2020210001585U Active KR200497411Y1 (en) 2021-05-18 2021-05-18 Axial replacement handle for container

Country Status (1)

Country Link
KR (1) KR200497411Y1 (en)

Citations (4)

* Cited by examiner, † Cited by third party
Publication number Priority date Publication date Assignee Title
JPS5415804A (en) * 1977-06-27 1979-02-06 Kubota Ltd Automatic lifting and lowering mechanism for soil treating machine
EP1955629A2 (en) * 2007-02-07 2008-08-13 Pressofonderia F. Lli Luchetti S.R.L. Removable wooden handle for pots
WO2008114283A1 (en) * 2007-03-15 2008-09-25 Bialetti Industrie S.P.A. Receptacle device with means for connecting a fixture particularly a handle
CN110693300A (en) * 2019-10-12 2020-01-17 九阳股份有限公司 Cooking utensil

Patent Citations (5)

* Cited by examiner, † Cited by third party
Publication number Priority date Publication date Assignee Title
JPS5415804A (en) * 1977-06-27 1979-02-06 Kubota Ltd Automatic lifting and lowering mechanism for soil treating machine
EP1955629A2 (en) * 2007-02-07 2008-08-13 Pressofonderia F. Lli Luchetti S.R.L. Removable wooden handle for pots
WO2008114283A1 (en) * 2007-03-15 2008-09-25 Bialetti Industrie S.P.A. Receptacle device with means for connecting a fixture particularly a handle
US20100084370A1 (en) * 2007-03-15 2010-04-08 Bialetti Industrie S.P.A. Receptacle Device With Means For Connecting A Fixture, Particularly A Handle
CN110693300A (en) * 2019-10-12 2020-01-17 九阳股份有限公司 Cooking utensil

Also Published As

Publication number Publication date
KR200497411Y1 (en) 2023-11-01

Similar Documents

Publication Publication Date Title
US20030084545A1 (en) Lightweight cement trowel handle with preferred tightness and safe grip
JP2002337009A (en) Cutting tools for parting and grooving operations
KR20220002797U (en) Axial replacement handle for container
US20080249578A1 (en) Fastener for securing two separate workpieces
US7614321B2 (en) Bottle and can opener arrangement
TWM366516U (en) Grip
US6872026B2 (en) Handle connector
CN216128652U (en) Axial replacement handle for container
US11458602B1 (en) Hex tool
US11383356B1 (en) System and method for easy rotational jewelry metal clamp
JP3233310U (en) Replaceable shaft-fixed handle for containers
US20070044599A1 (en) Head replaceable hand tools
US4999899A (en) U-nut removal tool
US20160271812A1 (en) Locking structure for shears
JP3224423U (en) Removable container handle
JP6935096B2 (en) Knob nut body
US10364081B1 (en) Tool hanger
KR20170095590A (en) Fastening bolt
US20030121359A1 (en) Motorcycle handgrip
US12358120B2 (en) Auxiliary attachment
US20200198106A1 (en) Wrench and wrench assembly capable of being rotated quickly
JPH088015Y2 (en) Insert clamping mechanism for rolling tools
US20080041214A1 (en) Percussion drum construction
JP3143035U (en) Saw handle, saw blade, press fastener and spare blade saw
CN219428304U (en) Binding ring structure and bicycle

Legal Events

Date Code Title Description
UA0108 Application for utility model registration

Comment text: Application for Utility Model Registration

Patent event code: UA01011R08D

Patent event date: 20210518

UA0201 Request for examination
UG1501 Laying open of application
UE0902 Notice of grounds for rejection

Comment text: Notification of reason for refusal

Patent event code: UE09021S01D

Patent event date: 20230228

E701 Decision to grant or registration of patent right
UE0701 Decision of registration

Patent event date: 20230925

Comment text: Decision to Grant Registration

Patent event code: UE07011S01D

REGI Registration of establishment
UR0701 Registration of establishment

Patent event date: 20231030

Patent event code: UR07011E01D

Comment text: Registration of Establishment

UR1002 Payment of registration fee

Start annual number: 1

End annual number: 3

Payment date: 20231030

UG1601 Publication of registration