KR20210155042A - Chili cultivation apparatus improved space utilization - Google Patents

Chili cultivation apparatus improved space utilization Download PDF

Info

Publication number
KR20210155042A
KR20210155042A KR1020200071983A KR20200071983A KR20210155042A KR 20210155042 A KR20210155042 A KR 20210155042A KR 1020200071983 A KR1020200071983 A KR 1020200071983A KR 20200071983 A KR20200071983 A KR 20200071983A KR 20210155042 A KR20210155042 A KR 20210155042A
Authority
KR
South Korea
Prior art keywords
hair growth
seedling
rearrangement
main body
rail member
Prior art date
Legal status (The legal status is an assumption and is not a legal conclusion. Google has not performed a legal analysis and makes no representation as to the accuracy of the status listed.)
Granted
Application number
KR1020200071983A
Other languages
Korean (ko)
Other versions
KR102525176B1 (en
Inventor
김찬용
원종건
권오훈
박나윤
이마리나
신용습
Original Assignee
경상북도(농업기술원)
Priority date (The priority date is an assumption and is not a legal conclusion. Google has not performed a legal analysis and makes no representation as to the accuracy of the date listed.)
Filing date
Publication date
Application filed by 경상북도(농업기술원) filed Critical 경상북도(농업기술원)
Priority to KR1020200071983A priority Critical patent/KR102525176B1/en
Publication of KR20210155042A publication Critical patent/KR20210155042A/en
Application granted granted Critical
Publication of KR102525176B1 publication Critical patent/KR102525176B1/en
Active legal-status Critical Current
Anticipated expiration legal-status Critical

Links

Images

Classifications

    • AHUMAN NECESSITIES
    • A01AGRICULTURE; FORESTRY; ANIMAL HUSBANDRY; HUNTING; TRAPPING; FISHING
    • A01GHORTICULTURE; CULTIVATION OF VEGETABLES, FLOWERS, RICE, FRUIT, VINES, HOPS OR SEAWEED; FORESTRY; WATERING
    • A01G9/00Cultivation in receptacles, forcing-frames or greenhouses; Edging for beds, lawn or the like
    • A01G9/02Receptacles, e.g. flower-pots or boxes; Glasses for cultivating flowers
    • A01G9/029Receptacles for seedlings
    • AHUMAN NECESSITIES
    • A01AGRICULTURE; FORESTRY; ANIMAL HUSBANDRY; HUNTING; TRAPPING; FISHING
    • A01GHORTICULTURE; CULTIVATION OF VEGETABLES, FLOWERS, RICE, FRUIT, VINES, HOPS OR SEAWEED; FORESTRY; WATERING
    • A01G27/00Self-acting watering devices, e.g. for flower-pots
    • AHUMAN NECESSITIES
    • A01AGRICULTURE; FORESTRY; ANIMAL HUSBANDRY; HUNTING; TRAPPING; FISHING
    • A01GHORTICULTURE; CULTIVATION OF VEGETABLES, FLOWERS, RICE, FRUIT, VINES, HOPS OR SEAWEED; FORESTRY; WATERING
    • A01G9/00Cultivation in receptacles, forcing-frames or greenhouses; Edging for beds, lawn or the like
    • A01G9/02Receptacles, e.g. flower-pots or boxes; Glasses for cultivating flowers
    • A01G9/022Pots for vertical horticulture
    • A01G9/023Multi-tiered planters
    • AHUMAN NECESSITIES
    • A01AGRICULTURE; FORESTRY; ANIMAL HUSBANDRY; HUNTING; TRAPPING; FISHING
    • A01GHORTICULTURE; CULTIVATION OF VEGETABLES, FLOWERS, RICE, FRUIT, VINES, HOPS OR SEAWEED; FORESTRY; WATERING
    • A01G9/00Cultivation in receptacles, forcing-frames or greenhouses; Edging for beds, lawn or the like
    • A01G9/14Greenhouses
    • A01G9/143Equipment for handling produce in greenhouses
    • YGENERAL TAGGING OF NEW TECHNOLOGICAL DEVELOPMENTS; GENERAL TAGGING OF CROSS-SECTIONAL TECHNOLOGIES SPANNING OVER SEVERAL SECTIONS OF THE IPC; TECHNICAL SUBJECTS COVERED BY FORMER USPC CROSS-REFERENCE ART COLLECTIONS [XRACs] AND DIGESTS
    • Y02TECHNOLOGIES OR APPLICATIONS FOR MITIGATION OR ADAPTATION AGAINST CLIMATE CHANGE
    • Y02ATECHNOLOGIES FOR ADAPTATION TO CLIMATE CHANGE
    • Y02A40/00Adaptation technologies in agriculture, forestry, livestock or agroalimentary production
    • Y02A40/10Adaptation technologies in agriculture, forestry, livestock or agroalimentary production in agriculture
    • Y02A40/25Greenhouse technology, e.g. cooling systems therefor

Landscapes

  • Life Sciences & Earth Sciences (AREA)
  • Environmental Sciences (AREA)
  • Engineering & Computer Science (AREA)
  • Water Supply & Treatment (AREA)
  • Cultivation Receptacles Or Flower-Pots, Or Pots For Seedlings (AREA)

Abstract

본 발명은 육모 하우스 내에 고추씨앗이 파종된 육모포트들을 상하 이격되게 다단 적층하여, 한정된 육모 하우스 내에서 다량의 고추모종의 육모가 가능하도록 하는 공간 활용도가 향상된 고추 모종 재배장치에 관한 것으로,
본 발명에서는 적어도 각 모서리에 수직 프레임이 형성된 본체와; 상기 본체 내에 설정간격으로 상하 이격되게 배치되어, 본체에 사방이 개방된 육모 공간층들을 상하 구획되게 형성하는 모종 재배틀과; 상기 본체에 형성된 각 모종 재배틀에 안착되어 육모 공간층에 배치되는 육모포트들; 및 상기 각 육모 공간층에 배치되어 급수되는 물을 육모 공간층에 분사하여서, 해당 육모 공간층을 형성하는 모종 재배틀에 안착된 육모포트에 생육하는 고추모종에 수분을 공급하는 분사 노즐부를 포함하여 구성된 것을 특징으로 한다.
The present invention relates to a pepper seedling cultivation apparatus with improved space utilization that enables hair growth of a large amount of red pepper seedlings in a limited hair growth house by stacking hair growth pots in which red pepper seeds are sown in a hair growth house in multi-stage spaced apart from each other.
In the present invention, at least a body in which a vertical frame is formed at each corner; a seedling rearrangement arranged to be vertically spaced apart from each other at a set interval in the main body, and forming the hair growth space layers open in all directions to the main body to be vertically partitioned; hair growth ports seated on each seedling rearrangement formed on the main body and disposed in the hair growth space layer; And by spraying water disposed in each of the hair growth spatial layers to the hair growth spatial layer, and supplying moisture to the pepper seedlings growing in the hair growth pot seated in the seedling rearrangement forming the hair growth spatial layer comprising a spray nozzle part characterized in that it is composed.

Description

공간 활용도가 향상된 고추 모종 재배장치{Chili cultivation apparatus improved space utilization }Chili cultivation apparatus improved space utilization }

본 발명은 공간 활용도가 향상된 고추 모종 재배장치에 관한 것으로, 더욱 상세하게는 육모 하우스 내에 고추씨앗이 파종된 육모포트들을 상하 이격되게 다단 적층하여, 한정된 육모 하우스 내에서 다량의 고추모종의 육모가 가능하도록 하는 공간 활용도가 향상된 고추 모종 재배장치에 관한 것이다.The present invention relates to an apparatus for growing red pepper seedlings with improved space utilization, and more particularly, by stacking hair growth pots in which red pepper seeds are sown in a hair growth house in multiple stages spaced up and down, it is possible to grow a large amount of red pepper seedlings in a limited hair growth house It relates to a pepper seedling cultivation device with improved space utilization.

일반적으로 유리온실이나 비닐하우스들은, 추운 겨울철에도 고추, 오이·토마토·방울토마토 등의 과채류나 상추·미나리·배추·양배추·시금치·파 등의 엽채류 및 장미·거베라·국화·카네이션 등의 화훼류와 같은 식물을 재배할 수 있게 함으로써 농가의 수익증대는 물론 소비자는 겨울철에도 싱싱한 식물을 섭취할 수 있게 한다.In general, glass greenhouses and greenhouses are equipped with fruits and vegetables such as red pepper, cucumber, tomato and cherry tomato, leaf vegetables such as lettuce, water parsley, Chinese cabbage, cabbage, spinach and green onion, and flowers such as rose, gerbera, chrysanthemum, and carnation, even in the cold winter. By allowing the same plants to be grown, it not only increases the farmer's profit, but also enables consumers to consume fresh plants even in winter.

그런데, 이러한 유리온실이나 비닐하우스는 농지나 하천부지 등의 지상에 시설하여 해당 식물의 씨앗을 지면에 파종하거나 묘상에서 자란 모종을 지면에 이식을 하여 재배토록 하는 것이므로 재배공간이나 단위면적당 생산량이 한정됨은 물론 연작에 의한 피해가 초래되는 등의 문제점들이 있었다.However, since these glass greenhouses or greenhouses are installed on the ground, such as farmland or river sites, sowing the seeds of the plant on the ground or transplanting the seedlings grown on the seedlings into the ground for cultivation, the cultivation space or production per unit area is limited. Of course, there were problems such as damage caused by continuous cropping.

따라서, 종래에는 한정된 재배공간에서도 생산량이 증대되게 함과 동시에 재배에 소요되는 인력 등의 감소는 물론 연작에 의한 피해를 줄이기 위해 식물을 공간에 다단식으로 배열하여 재배하기도 하였다.Therefore, in the prior art, in order to increase production in a limited cultivation space, reduce the manpower required for cultivation, as well as reduce damage caused by continuous cropping, plants were cultivated by arranging them in multiple stages in a space.

그러나, 이러한 재배방법은 최상단에 있는 식물과 그 뿌리가 심어진 배드나 화분(재배용기) 등에 의해 하부에 위치하는 식물에 공급될 햇빛이 차단되기 때문에 하부의 식물생장에 좋지 않은 영향을 미치게 되는 문제점이 있었다.However, this cultivation method has a problem that adversely affects the growth of plants at the bottom because sunlight to be supplied to the plants located at the bottom is blocked by the topmost plant and the bed or pot (cultivation container) in which the root is planted. there was.

이에 당분야에서는, 각 재배층 별로 LED 램프 등의 인공광원을 배치하여, 인공광원을 통한 인공채광에 의해 해당 작물들이 생육하도록 하고 있으나, 이러한 인공채광 보다 햇빛을 통한 자연채광이 작물의 생육에 보다 바람직하다.Accordingly, in the field, artificial light sources such as LED lamps are arranged for each cultivation layer so that the crops are grown by artificial light through the artificial light source. desirable.

KR 10-2055868 B1KR 10-2055868 B1 KR 20-0327215 Y1KR 20-0327215 Y1

상기한 문제점을 해소하기 위해 안출된 본 발명의 목적은, 본 발명은 공간 활용도가 향상된 고추 모종 재배장치에 관한 것으로, 더욱 상세하게는 육모 하우스 내에 고추씨앗이 파종된 육모포트들을 상하 이격되게 다단 적층하여, 한정된 육모 하우스 내에서 다량의 고추모종의 육모가 가능하도록 함에 있어,An object of the present invention devised to solve the above problems, the present invention relates to a pepper seedling cultivation apparatus with improved space utilization, and more particularly, multi-stage stacking of hair growth ports in which pepper seeds are sown in a hair growth house are vertically spaced apart. In order to enable hair growth of a large amount of red pepper seedlings within a limited hair growth house,

상기 적층된 다단의 육모포트에 고추모종의 생육에 적합한 채광과 온도와 배수 및 통기상태를 형성함으로써, 각 층에 육모포트에 생육되는 고추모종들은 생육의 편차 발생없이 균일하면서 양질의 생육상태를 형성하도록 하는 공간 활용도가 향상된 고추 모종 재배장치를 제공함에 있다.By forming light, temperature, drainage, and ventilation conditions suitable for the growth of red pepper seedlings in the multi-stage hair growth pot of the stacked layer, the pepper seedlings grown in the hair growth pot on each layer form a uniform and high quality growth state without any variation in growth. It is to provide a pepper seedling cultivation apparatus with improved space utilization.

상기한 목적은, 본 발명에서 제공되는 하기 구성에 의해 달성된다.The above object is achieved by the following configuration provided in the present invention.

본 발명에 따른공간 활용도가 향상된 고추모종 재배장치는,Red pepper seedling cultivation apparatus with improved space utilization according to the present invention,

적어도 각 모서리에 수직 프레임이 형성된 본체와;a body in which a vertical frame is formed at least at each corner;

상기 본체 내에 설정간격으로 상하 이격되게 배치되어, 본체에 사방이 개방된 육모 공간층들을 상하 구획되게 형성하는 모종 재배틀과; a seedling rearrangement arranged to be vertically spaced apart from each other at a set interval in the main body, and to form upper and lower sections of the hair growth space layers open in all directions to the main body;

상기 본체에 형성된 각 모종 재배틀에 안착되어 육모 공간층에 배치되는 육모포트들; 및 hair growth ports seated on each seedling rearrangement formed on the body and disposed in the hair growth space layer; and

상기 각 육모 공간층에 배치되어 급수되는 물을 육모 공간층에 분사하여서, 해당 육모 공간층을 형성하는 모종 재배틀에 안착된 육모포트에 생육하는 고추모종에 수분을 공급하는 분사 노즐부를 포함하여 구성된 것을 특징으로 한다.A spray nozzle unit for supplying moisture to red pepper seedlings grown in a hair growth pot seated in a seedling rearing frame forming the hair growth space layer by spraying water disposed in each hair growth space layer and supplied with water to the hair growth space layer characterized in that

바람직하게는, 상기 모종 재배틀의 양측을 본체에 전후 길이방향의 진퇴구조로 고정하여, 각 모종 재배틀이 전후 길이방향으로 진퇴되도록 하는 슬라이딩 레일부가 형성되고,Preferably, by fixing both sides of the seedling rearrangement to the main body in a forward and backward longitudinal direction, a sliding rail part is formed so that each seedling rearrangement advances and retreats in the front and rear longitudinal direction,

상기 슬라이딩 레일부는, 본체의 양측 내벽에 형성되는 레일부재와; 상기 모종 재배틀의 양측에 형성되어, 레일부재를 따라 길이방향으로 구름 이동하면서 레일부재를 따라 진퇴하는 가이드 롤러를 포함하여 구성된다.The sliding rail unit includes: rail members formed on both inner walls of the body; It is formed on both sides of the seedling replant and is configured to include guide rollers moving forward and backward along the rail member while rolling along the rail member in the longitudinal direction.

보다 바람직하게는, 상기 모종 재배틀을 슬라이딩 구조로 배치한 레일부재는 힌지축을 통해 본체에 상하 힌지구조로 설치되어, 힌지축를 중심으로 상하로 틸팅되어 경사각이 조절되도록 구성되어서,More preferably, the rail member on which the seedling rearrangement is arranged in a sliding structure is installed in a vertical hinge structure on the main body through a hinge shaft, and is tilted up and down around the hinge shaft to adjust the inclination angle,

상기 레일부재의 경사각의 조절에 의해 모종 재배틀은, 전후방향의 슬라이딩 이동을 통한 채광 위치의 변경과 경사도의 변경을 통해 채광각도의 변경이 가능하도록 구성된다.By adjusting the inclination angle of the rail member, the seedling rearrangement is configured so that the lighting angle can be changed through the change of the lighting position and the change of the inclination through the sliding movement in the front-rear direction.

전술한 바와 같이 본 발명에서는, 본체 내에 모종 재배틀을 상하 이격되게 배치하여 다단의 육모 공간층을 형성함으로써, 고추모종의 육모에 따른 단위면적당 수량 및 생산성이 온실 대비 3배 내지 10배 정도 증가시킬 수 있는 효과가 있다.As described above, in the present invention, by arranging the seedling cultivation frame vertically spaced apart in the body to form a multi-stage hair growth space layer, the yield and productivity per unit area according to hair growth of red pepper seedlings can be increased by 3 to 10 times compared to the greenhouse. can have an effect.

또한, 고추모종의 생육에 적합한 환경 조절을 통해 재배일수 단축 및 규격묘 생산이 가능하므로, 고추모종의 육모에 따른 생산성과 관리에 따른 편리성이 확보될 수 있다.In addition, since it is possible to shorten the cultivation days and produce standard seedlings through environmental control suitable for the growth of red pepper seedlings, productivity and management convenience according to the growth of red pepper seedlings can be secured.

특히, 본 발명에서는 각 육모 공간층에 위치된 고추모종의 자연 채광을 극대화함으로써, LED 등의 보조 광원을 채택하지 아니하고도 안정적인 생육이 가능하다.In particular, in the present invention, by maximizing the natural light of red pepper seedlings located in each hair growth space layer, stable growth is possible without using an auxiliary light source such as LED.

그리고, 각 육모 공간층에 배치된 육모포트에는 안정적인 온열의 공급과 배수 및 통기가 이룩되므로, 각 육모 공간층에 배치된 육모포트에 생육되는 고추모종들은 생육의 편차 발생없이 균일하면서 양질의 생육 상태를 형성할 수 있다.In addition, since stable heat supply, drainage, and ventilation are achieved in the hair growth pots disposed in each hair growth space layer, red pepper seedlings grown in the hair growth pots disposed in each hair growth space layer are in a uniform and high quality growth state without any variation in growth. can form.

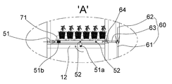
도 1과 도 2는 본 발명에서 바람직한 실시예로 제안하고 있는 공간 활용도가 향상된 고추 모종 재배장치의 전체 구성을 보여주는 것이고,
도 3과 도 4는 본 발명에서 바람직한 실시예로 제안하고 있는 공간 활용도가 향상된 고추 모종 재배장치에 있어, 모종 재배틀의 진퇴 및 틸팅에 따른 모종 재배틀에 안착된 육모포트의 채광상태의 변화를 보여주는 것이고,
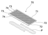
도 5는 본 발명에서 바람직한 실시예로 제안하고 있는 공간 활용도가 향상된 고추 모종 재배장치에 있어, 온열 공급부의 세부 구성과, 육묘포트를 온열 공급부에 안착한 상태를 모식적으로 보여주는 것이다.
1 and 2 show the overall configuration of the pepper seedling cultivation apparatus with improved space utilization proposed as a preferred embodiment in the present invention,
3 and 4 show a change in the mining state of a hair growth pot seated on a seedling rearrangement according to advance and backward movement and tilting of the seedling rearrangement in the pepper seedling cultivation apparatus with improved space utilization proposed as a preferred embodiment of the present invention. it shows,
5 schematically shows the detailed configuration of the heating supply unit and the state in which the seedling pot is seated in the heating supply unit in the pepper seedling cultivation apparatus with improved space utilization proposed as a preferred embodiment of the present invention.

이하, 첨부된 도면을 참조하여 본 발명에서 바람직한 실시예로 제안하고 있는 공간 활용도가 향상된 고추 모종 재배장치를 상세히 설명하기로 한다.Hereinafter, with reference to the accompanying drawings, it will be described in detail the pepper seedling cultivation apparatus with improved space utilization proposed as a preferred embodiment in the present invention.

도 1과 도 2는 본 발명에서 바람직한 실시예로 제안하고 있는 공간 활용도가 향상된 고추 모종 재배장치의 전체 구성을 보여주는 것이고, 도 3과 도 4는 본 발명에서 바람직한 실시예로 제안하고 있는 공간 활용도가 향상된 고추 모종 재배장치에 있어, 모종 재배틀의 진퇴 및 틸팅에 따른 모종 재배틀에 안착된 육모포트의 채광상태의 변화를 보여주는 것이고, 도 5는 본 발명에서 바람직한 실시예로 제안하고 있는 공간 활용도가 향상된 고추 모종 재배장치에 있어, 온열 공급부의 세부 구성과, 육묘포트를 온열 공급부에 안착한 상태를 모식적으로 보여주는 것이다.1 and 2 show the overall configuration of a pepper seedling cultivation apparatus with improved space utilization proposed as a preferred embodiment in the present invention, and FIGS. 3 and 4 show the space utilization proposed as a preferred embodiment in the present invention. In the improved pepper seedling cultivation apparatus, it shows the change in the lighting state of the hair growth pot seated on the seedling rearrangement according to the advance and retreat and tilting of the seedling rearrangement, and FIG. 5 shows the space utilization proposed as a preferred embodiment in the present invention In the improved pepper seedling cultivation apparatus, the detailed configuration of the heat supply unit and the state in which the seedling pot is seated in the heat supply unit are schematically shown.

본 발명에서 바람직한 실시예로 제안하고 있는 공간 활용도가 향상된 고추모종 재배장치(1)는, 도 1 내지 도 4에서 보는 바와 같이 적어도 각 모서리에 수직 프레임(11)이 형성된 본체(10)와; 상기 본체(10) 내에 설정간격으로 상하 이격되게 배치되어, 본체(10)에 사방이 개방된 육모 공간층(21)들을 상하 구획되게 형성하는 모종 재배틀(20)와; 상기 본체(10)에 형성된 각 모종 재배틀(20)에 안착되어 육모 공간층(21)에 배치되는 육모포트(30)들; 및 상기 각 육모 공간층(21)에 배치되어 급수되는 물을 육모 공간층(21)에 분사하여서, 해당 육모 공간층(21)을 형성하는 모종 재배틀(20)에 안착된 육모포트(30)에 생육하는 고추모종에 수분을 공급하는 분사 노즐부(40)를 포함한다.The red pepper seedling cultivation apparatus 1 with improved space utilization proposed as a preferred embodiment of the present invention includes a body 10 having at least a vertical frame 11 formed at each corner as shown in FIGS. 1 to 4; a seedling rearrangement 20 which is vertically spaced apart from each other at set intervals in the main body 10, and forms the hair growth space layers 21 open in all directions in the main body 10 to be vertically partitioned; The hair growth ports 30 are seated on each seedling rearrangement 20 formed in the main body 10 and disposed in the hair growth space layer 21; And by spraying water disposed in each of the hair growth space layer 21 and supplied to the hair growth space layer 21, the hair growth port 30 seated on the seedling rearrangement 20 forming the corresponding hair growth space layer 21. Includes a spray nozzle unit 40 for supplying moisture to the pepper seedlings growing in the.

상기 본체(10)는 각 모서리에 프로파일로 구성된 수직 프레임(11)들이 수평 프레임(12)에 의해 연결된 사각의 프레임 구조체로 구성된다.The main body 10 is composed of a rectangular frame structure in which vertical frames 11 composed of a profile are connected by horizontal frames 12 at each corner.

본 실시예에서는 상기 사각의 본체(10) 내에 4개의 모종 재배틀(20)을 상하 이격되게 배치하여, 본체(10) 내에 사방이 개방된 4단의 육모 공간층(21)을 형성하고 있다.In this embodiment, the four seedling rearrangements 20 are vertically spaced apart from each other in the rectangular body 10 to form a four-stage hair growth space layer 21 open in all directions in the body 10 .

그리고, 상기 각 모종 재배틀(20)에는 배양토가 충진된 각 포트홈(31)에 고추씨앗이 파종된 육모포트(30)가 각각 안착되어, 한정된 재배공간을 갖는 육모 하우스 내에서 다량의 육모포트(30)들을 적층되게 배열하여 공간 활용도가 극대화되도록 한다.In addition, in each of the seedling replanting boxes 20, a hair growth pot 30 in which pepper seeds are sown in each pot groove 31 filled with culture soil is seated, respectively, a large amount of hair growth pots in a hair growth house having a limited cultivation space (30) are arranged to be stacked so that space utilization is maximized.

여기서, 상기 육모포트(30)는 하부 바닥에 배수공(32)이 형성된 포트홈(31)들이 형성된 형태로 구성되며, 종래의 것과 대동소이하다.Here, the hair growth port 30 is configured in a form in which the port grooves 31 in which the drain hole 32 is formed in the lower bottom are formed, and is substantially the same as that of the related art.

다만, 본 실시예에서는 상기 본체(10)에 형성된 각 육모 공간층(21)에 배열된 육모포트(30)에, 균일한 채광과, 온도와, 수분을 포함하는 최적의 생육조건을 형성함으로써, 각 고추모종들이 생육편차의 발생없이 균일하면서 양질의 생육상태를 형성하도록 한다.However, in this embodiment, by forming optimal growth conditions including uniform light, temperature, and moisture in the hair growth ports 30 arranged in each hair growth space layer 21 formed in the main body 10, Make sure that each pepper seedlings form a uniform and high-quality growth state without any growth deviation.

먼저, 본 발명에서는 상기 각 육모 공간층(21)에 배열된 육모포트(30)에 LED 램프를 포함하는 인공적인 광원을 활용하지 아니하고, 육모되는 고추모종에 자연광이 최대한 채광되도록 구성함으로써, 각 육모포트(30)에 육모되는 고추모종들은 자연광의 안정적인 채광을 통해 보다 건실하게 생육되도록 한다.First, in the present invention, without using an artificial light source including an LED lamp in the hair growth port 30 arranged in each hair growth space layer 21, and by configuring so that natural light is maximally lit on red pepper seedlings to be grown, each hair growth The red pepper seedlings grown in the pot 30 are allowed to grow more soundly through stable lighting of natural light.

이를 위해, 본 실시예에서는 상기 육모포트(30)를 안착한 모종 재배틀(20)이 전후방으로 진퇴하도록 구성함으로써, 상부층을 형성하는 모종 재배틀(20)에 의해 하부층을 형성하는 모종 재배틀(20)에 안착된 육모포트(30)의 음영발생을 최소화함으로써, 안정적인 자연광의 채광이 가능하도록 한다.To this end, in this embodiment, the seedling rearrangement 20 on which the hair growth port 30 is seated is configured to move forward and backward, and thus the seedling rearrangement 20 forming the lower layer by the seedling rearrangement 20 forming the upper layer. ) by minimizing the shading of the hair growth port 30 seated in the ), thereby enabling stable natural light.

이를 상술하자면, 본 실시예에서는 상기 모종 재배틀(20)의 양측을 본체(10)에 전후방향의 진퇴구조로 고정하여, 각 모종 재배틀(20)이 본체(10)의 전후방향으로 진출되도록 하는 슬라이딩 레일부(50)를 형성한다.In detail, in this embodiment, both sides of the seedling rearrangement 20 are fixed to the main body 10 in a forward and backward structure in the forward and backward direction, so that each seedling rearrangement 20 advances in the front-rear direction of the main body 10 . A sliding rail portion 50 is formed.

여기서, 상기 슬라이딩 레일부(50)는 본체(10)의 양측 내벽에 형성된 레일부재(51)와; 상기 모종 재배틀(20)의 양측에 배치되어 레일부재(51)를 따라 구름 이동하면서 레일부재(51)를 따라 길이방향으로 진퇴하는 하나 이상의 가이드 롤러(52)를 포함한다.Here, the sliding rail unit 50 includes rail members 51 formed on both inner walls of the body 10; It includes one or more guide rollers 52 disposed on both sides of the seedling rearrangement 20 and moving forward and backward along the rail member 51 in the longitudinal direction while rolling along the rail member 51 .

따라서, 상기 각 모종 재배틀(20)은 본체(10)에서 전후방으로 진출입하여 독립적인 채광위치를 형성하여, 상부에 형성된 모종 재배틀(20)에 의한 음영발생이 최소화함으로써, 각 육모 공간층(21)에 육모된 고추모종들은 균일한 채광을 도모할 수 있다.Therefore, each of the seedling rearrangements 20 moves forward and backward from the main body 10 to form independent lighting positions, thereby minimizing the occurrence of shading by the seedling rearrangement 20 formed on the upper portion, and thus each hair growth space layer ( The red pepper seedlings grown in 21) can achieve uniform light.

특히, 본 발명에서는 상기 슬라이딩 레일부(50)를 통해 본체에 진퇴구조로 배치된 각 모종 재배틀(20)을 전후방으로 진퇴하면서 전방으로 진퇴하는 모종 재배틀(20)이 점차 경사지도록 하는 견인 틸팅구조를 부가하여, 자연 채광에 따른 모종 재배틀(20)의 진퇴와 경사각의 조절이 일괄되게 수행함으로써, 각 모종 재배틀(20)에 의한 음영발생을 최소화하여 보다 안정적인 자연 채광이 가능하도록 한다.In particular, in the present invention, traction tilting to gradually incline each seedling rearrangement 20 arranged in a forward and backward structure on the main body through the sliding rail unit 50 forward and backward while moving forward and backward. By adding the structure, the advancing and retreating of the seedling rearrangement 20 and the adjustment of the inclination angle according to natural light are simultaneously performed, thereby minimizing the occurrence of shading caused by each seedling rearrangement 20, thereby enabling more stable natural light.

먼저, 본 발명에서는 상기 슬라이딩 레일부(50)의 레일부재(51)의 일지점에 힌지축(51a)를 형성하여, 상기 모종 재배틀을 진퇴구조로 설지한 레일부재(51)는 힌지축(51a)를 중심으로 상하 힌지구조로 틸팅하도록 한다.First, in the present invention, by forming a hinge shaft (51a) at one point of the rail member (51) of the sliding rail part (50), the rail member (51) in which the seedling rearrangement is installed in a forward and backward structure is a hinge shaft ( 51a) as the center to tilt the hinge structure up and down.

따라서, 상기 레일부재(51)의 전반부가 하방향으로 틸팅하면 모종 재배틀(20)은 경사진 레일부재(51)를 따라 전방으로 진출하도록 구성하고, 또 상기 레일부재(51)의 후반부가 하방향으로 틸팅하여 레일부재(51)가 수평 상태를 형성하면 모종 재배틀(20)은 경사진 레일부재(51)를 따라 후방으로 진출하도록 구성한다. Therefore, when the first half of the rail member 51 is tilted in the downward direction, the seedling rearrangement 20 is configured to advance forward along the inclined rail member 51, and the second half of the rail member 51 is lowered When the rail member 51 forms a horizontal state by tilting in the direction, the seedling rearrangement 20 is configured to advance backward along the inclined rail member 51 .

그리고, 본 실시예에서는 상기 레일부재(51)에 진퇴구조로 배치된 모종 재배틀(20)을 후방으로 탄성 견인하는 견인 스프링(64)이 배치한다.And, in the present embodiment, a traction spring 64 for elastically pulling the seedling rearrangement 20 arranged in a forward and backward structure on the rail member 51 to the rear is disposed.

따라서, 경사진 레일부재(51)를 따라 모종 재배틀(20)이 전방으로 슬라이딩 이동하는 과정에 모종 재배틀(20)은 견인 스프링(64)에 의해 진출속도가 지연되어 서서히 전방으로 진출하고, 또 레일부재(51)가 수평을 유지하면 전방으로 진출된 모종 재배틀(20)은 후방으로 탄성 견인하여 후퇴하므로, 모종 재배틀(20)이 순간적으로 진출함에 따른 충격이 완화되고, 또 모종 재배틀(20)의 원복이 가능하다.Accordingly, in the process of the seedling rearrangement 20 sliding forward along the inclined rail member 51, the seedling rearrangement 20 is delayed in advance by the traction spring 64 and gradually advances forward, In addition, when the rail member 51 is maintained horizontally, the seedling reassembler 20 advancing forward is elastically traction to the rear and retreats, so that the impact caused by the instantaneous advancing of the seedling reassembler 20 is alleviated, and It is possible to undo the battle (20).

이때, 상기 레일부재(51)에는 모종 재배틀(20)에 배치된 가이드 롤러(52)의 진출거리를 물리적으로 제한하는 롤러 스토퍼(51b)가 배치하여, 관리자는 각 레일부재(51)에 설치되는 롤러 스토퍼(51b)의 선택하여서 각 육모 공간층(21)에 형성된 모종 재배틀(20)의 진퇴 행정거리를 조절함으로써, 각 육모 공간층(21)에 배치된 모종 재배틀(20)의 진퇴거리의 개별적인 설정이 가능하다.At this time, the rail member 51 is provided with a roller stopper 51b for physically limiting the advance distance of the guide roller 52 disposed on the seedling rearrangement 20 , and the administrator installs it on each rail member 51 . By selecting the roller stopper 51b to be used and adjusting the advancing and retreating stroke distance of the seedling rearrangement tray 20 formed in each hair growth space layer 21, the advance and retreat of the seedling rearrangement tray 20 disposed in each hair growth space layer 21 Individual setting of distance is possible.

본 발명에서는 일예로, 하부에 형성된 육모 공간층(21)의 레일부재(51)에는 롤러 스토퍼(51b)를 전방에 최대한 배치하고, 상부에 형성된 육모 공간층(21)의 레일부재(51)에는 롤러 스토퍼(51b)를 점차적으로 후방에 배치하고 있다.In the present invention, as an example, the roller stopper 51b is disposed in the front as much as possible on the rail member 51 of the hair growth space layer 21 formed on the lower portion, and the rail member 51 of the hair growth space layer 21 formed on the upper portion has The roller stopper 51b is gradually arranged rearward.

이때, 상기 하부 육모 공간층(21)에 형성된 모종 재배틀(20)은, 상부 육모 공간층(21)에 배치된 모종 재배틀(20) 보다 상대적으로 전방으로 더 돌출되도록 구성하여서, 상하 틸팅을 통해 경사진 레일부재(51)들을 따라 전방으로 진출된 모종 재배틀(20)들은 상하로 진출거리를 달리하여 경사진 빗면구조를 형성하여서, 상부에 배치된 모종 재배틀(20)에 의해 채광이 저하되는 현상이 최소화되도록 한다.At this time, the seedling rearrangement 20 formed in the lower hair growth space layer 21 is configured to protrude further forward relatively than the seedling rearrangement frame 20 disposed in the upper hair growth space layer 21, so that vertical tilting is performed. The seedling replants 20 advanced forward along the inclined rail members 51 form a sloped structure by varying the up and down entry distances, so that the light is blocked by the seedling replants 20 disposed on the top. degradation should be minimized.

그리하여, 상기 본체(10)에 배치된 각 모종 재배틀(20) 중, 하부에 형성된 모종 재배틀(20) 보다 상부에 형성된 모종 재배틀(20)의 진출거리는 점차적으로 짧게 형성하여, 각 모종 재배틀(20)이 전방으로 진출되면 모종 재배틀(20)들은 계단식 형태를 형성하여 보다 안정적인 채광이 도모된다.Thus, the advance distance of each seedling rearrangement 20 disposed in the main body 10 is gradually shorter than that of the seedling rearrangement 20 formed at the lower portion of the seedling rearrangement 20, so that each seedling material When the battle 20 advances to the front, the seedling rearrangements 20 form a stepped shape to promote more stable mining.

물론, 각 모종 재배틀(20)에 안착된 육모포트(30)에 육모되는 고추의 생육상태에 의해서도, 해당 모종 재배틀(30)의 진퇴거리의 개별적인 설정이 가능한 특이성을 갖는다.Of course, even by the growth state of the red pepper grown in the hair growth port 30 seated on each seedling rearrangement 20, it has the specificity that it is possible to individually set the forward and backward distance of the seedling rearrangement 30.

특히, 본 발명에서는 상기 힌지(51a)를 중심으로 상하 선회하여, 진퇴구조로 배치된 모종 재배틀(20)의 독립적인 진출과 틸팅을 도모하는 각 레일부재(51)들의 상하 틸팅이 전동에 의해 일괄하여 구현되도록 하는 견인 틸팅부(60)를 부가함으로써, 관리자가 일일히 상기 레일부재(51)의 경사각을 개별적으로 설정함에 따른 번거로움을 해소한다.In particular, in the present invention, by rotating up and down around the hinge 51a, the upper and lower tilting of each rail member 51 that promotes independent advancement and tilting of the seedling rearrangement 20 arranged in a forward and retreat structure is performed by transmission. By adding the traction tilting unit 60 to be implemented collectively, the inconvenience caused by the administrator setting the inclination angle of the rail member 51 individually on a daily basis is eliminated.

본 실시예에 따른 견인 틸팅부(60)는, 본체(10)에 배치된 각 레일부재(51)를 링크구조로 연결하는 링크로드(61)와; 상기 링크로드(61)를 진퇴되도록 하는 전동 실린더(62)를 포함하며, 본 실시예에서는 상기 커넥션 로드(63)를 통해 링크로드(61)와 레일부재(51)를 링크구조로 연결하고 있다.The traction tilting unit 60 according to the present embodiment includes a link rod 61 connecting each rail member 51 disposed on the main body 10 in a link structure; It includes an electric cylinder 62 for moving the link rod 61 forward and backward, and in this embodiment, the link rod 61 and the rail member 51 are connected in a link structure through the connection rod 63 .

따라서, 도 3과 같이 상기 전동 실린더(62)에 의해 링크로드(61)가 하강하면 각 레일부재는 힌지축을 중심으로 후방으로 틸팅하여 수평 상태를 형성하고, 이 상태에서는 견인 스프링(64)의 견인력에 의해 각 레일부재(51)에 배치된 모종 재배틀(20)들은 후방으로 일괄하여 이동한다.Accordingly, when the link rod 61 is lowered by the electric cylinder 62 as shown in FIG. 3 , each rail member tilts backward about the hinge axis to form a horizontal state, and in this state, the traction force of the traction spring 64 . The seedlings rearranged 20 arranged on each rail member 51 by the collectively move to the rear.

그리고, 도 4와 같이 상기 전동 실린더(62)에 의해 링크로드(61)가 상승하면 각 레일부재(51)는 전방으로 틸팅하여 수평 상태를 형성하고, 이 상태에서는 각 레일부재(51)에 배치된 모종 재배틀(20)들은 경사진 레일부재(51)를 따라 전방으로 일괄하여 이동하여 전방으로 진출한다.And, when the link rod 61 is raised by the electric cylinder 62 as shown in FIG. 4 , each rail member 51 tilts forward to form a horizontal state, and in this state, it is disposed on each rail member 51 . The seedling rearrangements 20 are collectively moved forward along the inclined rail member 51 to advance forward.

또한, 상기 견인 틸팅부(60)는 설정된 시간, 내지 채광량에 따라 레일부재(51)를 상하로 틸팅하여 각 레일부재(51)에 배치된 모종 재배틀(20)의 경사도와 진출거리를 유기적으로 설정함으로써, 각 모종 재배틀(20)의 채광량이 극대화되도록 한다.In addition, the traction tilting unit 60 tilts the rail member 51 up and down according to a set time and amount of light to organically determine the inclination and the advance distance of the seedling replant 20 disposed on each rail member 51 . By setting, the amount of light of each seedling rearrangement 20 is maximized.

즉, 상기 전동 실린더(62)는 제어부(미도시)에 설정된 제어값, 즉 시간대별, 또는 광센서(미도시)를 통해 모종 재배틀(20)에 채광되는 채광량을 실시간으로 계측하고, 상기 실시간으로 계측되는 채광량에 따라 각 모종 재배틀(20)들의 진퇴와 경사각을 유기적으로 조절하도록 한다.That is, the electric cylinder 62 measures the amount of light mined in the seedling replant 20 in real time through a control value set in the control unit (not shown), that is, by time period or through an optical sensor (not shown), and the real time The advancing and retreating angles and inclination angles of each seedling rearrangement 20 are organically adjusted according to the amount of light measured by .

한편, 본 실시예에 따른 고추 모종 재배장치(1)는 본체(10)에 형성된 각 육모 공간층(21)에 육모포트(30)를 적층되게 배열하여 공간 활용도가 향상되도록 구성한 관계로, 상하 온도편차에 의해 각 육모 공간층(21)에 재배되는 고추모종의 생육 편차가 야기될 수 있고, 또 상기 분사 노즐부(40)를 통해 급수되는 육모포트(30)의 안정적인 배수가 요구된다.On the other hand, the pepper seedling cultivation apparatus 1 according to this embodiment is configured to improve the space utilization by arranging the hair growth ports 30 in each hair growth space layer 21 formed in the main body 10 in a stacked relationship, the upper and lower temperature Variation in the growth of red pepper seedlings grown in each hair growth space layer 21 may be caused by the deviation, and stable drainage of the hair growth port 30 supplied through the spray nozzle unit 40 is required.

이를 위해, 본 실시예에서는 도 1과 도 5와 도 6에서 보는 바와 같이 상기 육모 공간층(21)을 형성하는 각 모종 재배틀(20)에 개량된 온열 공급구조와, 통기 배수구조를 갖는 온열 공급부(70)를 배치하여서, 해당 육모 공간층(21)에 배치된 육모포트(30)에 안정적인 온열공급과 통기 배수가 도모되도록 한다.To this end, in this embodiment, as shown in FIGS. 1, 5, and 6, the improved heat supply structure and ventilation and drainage structure for each seedling rearrangement 20 forming the hair growth space layer 21. By disposing the supply unit 70, stable heat supply and ventilation and drainage to the hair growth port 30 disposed in the hair growth space layer 21 is achieved.

상기 온열 공급부(70)는, 하부에 온수관 정렬홈(72) 형성된 방열판(71)을 포함하여 구성되어, 온수관(P)을 통해 제공되는 온열을 상부에 안착된 육모포트(30)에 면상 발열하여서 육모포트(30)는 방열판(71)을 통해 제공되는 열기를 균일하게 제공받도록 한다.The heat supply unit 70 is configured to include a heat sink 71 formed with a hot water pipe alignment groove 72 at the lower portion, and heat provided through the hot water pipe P is placed on the hair growth port 30 seated on the top surface. By heating, the hair growth port 30 is uniformly provided with the heat provided through the heat sink 71 .

그리고, 도 6과 같이 상기 방열판(71)의 상부면에는 각 포트홈(31)의 저면 경사측벽에 빗면구조로 지지되어 포트홈(31)의 바닥면을 설정높이로 이격되도록 하는 방열 지지블록(73)들이 형성되며, 상기 방열 지지블록(73)을 통해 각 포트홈(31) 내에 안정적인 온열을 제공함과 동시에, 포트홈(31)의 바닥에 형성된 배수구(32)를 통해 배수되는 수분은 방열 지지블록(73) 사이를 통과하여 외부로 안정되게 배출되도록 한다.And, as shown in FIG. 6, the upper surface of the heat sink 71 is supported in an inclined structure on the bottom inclined sidewall of each port groove 31 so that the bottom surface of the port groove 31 is spaced apart by a set height. A heat dissipation support block ( 73) are formed, and at the same time providing stable heat in each port groove 31 through the heat dissipation support block 73, and at the same time, the moisture drained through the drain hole 32 formed at the bottom of the port groove 31 supports heat dissipation. It passes between the blocks 73 so as to be stably discharged to the outside.

특히, 본 실시예에서는 상기 방열판(71)의 상부에, 육모포트(30)에 형성된 포트홈(31)의 배수공(32)를 통해 포트홈(31) 내에 진입하는 중공의 통기핀(74)들이 돌출되게 형성하여 상기 중공의 통기핀(74)을 통해 포트홈(31) 내에 충진된 배양토의 안정적인 통기를 도모한다. In particular, in this embodiment, the hollow ventilation pins 74 entering the port groove 31 through the drain hole 32 of the port groove 31 formed in the hair growth port 30 on the upper portion of the heat sink 71 are It is formed to protrude to promote stable ventilation of the culture soil filled in the port groove 31 through the hollow ventilation pin 74 .

이때, 상기 통기핀(74)은 중공의 통기공이 형성된 관체로 구성되어, 통기공들을 통해 포트홈(31) 내의 안정적인 통기를 도모한다.At this time, the vent pin 74 is composed of a tubular body having a hollow vent hole, and promotes stable ventilation in the port groove 31 through the vent hole.

따라서, 본 발명은 상기 방열판(71)을 이용한 면상 발열을 통해 각 육모 공간층(21)에 배열된 육모포트(30)에 고른 열기의 제공이 가능하고, 또 상기 방열판에 형성된 방열 지지블록(73)과 통기핀(74)을 통한 배수 및 통기 유도구조에 의해서, 각 육모 공간층(21)에 재배되는 고추모종들은 생육에 적합한 온도와 배수가 이룩되어서 안정적인 생육이 가능한 특이성을 갖는다.Therefore, in the present invention, it is possible to provide uniform heat to the hair growth ports 30 arranged in each hair growth space layer 21 through planar heat generation using the heat sink 71, and the heat radiation support block 73 formed on the heat sink ) and the drainage and ventilation induction structure through the ventilation pin 74, the red pepper seedlings grown in each hair growth space layer 21 have a specific temperature and drainage suitable for growth, enabling stable growth.

1. 고추모종 재배장치
10. 본체 11. 수직 프레임
12. 수평 프레임
20. 모종 재배틀 21. 육모 공간층
22. 집수 유도관로
30. 육모포트 31. 포트홈
32. 배수공
40. 분사 노즐부
50. 슬라이딩 레일부
51. 레일부재 51a. 힌지
52. 가이드 롤러
60. 견인 틸팅부 61. 링크로드
62. 전동 실린더 63. 커넥션 로드
64. 견인 스프링
70. 온열 공급부 71. 방열판
72. 온수관 정렬홈 73. 방열 지지블록
74. 통기핀 P. 온수관
1. Chili pepper seedling cultivation equipment
10. Body 11. Vertical Frame
12. Horizontal Frame
20. Seedling rearrangement 21. Spatial layer for hair growth
22. Collecting Induction Pipe
30. Hair growth port 31. Port home
32. Drainer
40. Spray Nozzle
50. Sliding rail part
51. Rail member 51a. hinge
52. Guide roller
60. Traction tilting part 61. Link rod
62. Electric cylinder 63. Connection rod
64. Traction spring
70. Heat supply part 71. Heat sink
72. Hot water pipe alignment groove 73. Heat dissipation support block
74. Ventilation pin P. Hot water pipe

Claims (3)

적어도 각 모서리에 수직 프레임이 형성된 본체와;
상기 본체 내에 설정간격으로 상하 이격되게 배치되어, 본체에 사방이 개방된 육모 공간층들을 상하 구획되게 형성하는 모종 재배틀과;
상기 본체에 형성된 각 모종 재배틀에 안착되어 육모 공간층에 배치되는 육모포트들; 및
상기 각 육모 공간층에 배치되어 급수되는 물을 육모 공간층에 분사하여서, 해당 육모 공간층을 형성하는 모종 재배틀에 안착된 육모포트에 생육하는 고추모종에 수분을 공급하는 분사 노즐부를 포함하여 구성된 것을 특징으로 하는 공간 활용도가 향상된 고추모종 재배장치.
a body in which a vertical frame is formed at least at each corner;
a seedling rearrangement arranged to be vertically spaced apart from each other at a set interval in the main body, and forming the hair growth space layers open in all directions to the main body to be vertically partitioned;
hair growth ports seated on each seedling rearrangement formed on the main body and disposed in the hair growth space layer; and
A spray nozzle unit for supplying moisture to red pepper seedlings growing in a hair growth pot seated in a seedling rearrangement forming the corresponding hair growth space layer by spraying water disposed in each hair growth space layer and water supplied to the hair growth space layer Red pepper seedling cultivation apparatus with improved space utilization, characterized in that.
제 1항에 있어서, 상기 모종 재배틀의 양측을 본체에 전후 길이방향의 진퇴구조로 고정하여, 각 모종 재배틀이 전후 길이방향으로 진퇴되도록 하는 슬라이딩 레일부가 형성되고,
상기 슬라이딩 레일부는, 본체의 양측 내벽에 형성되는 레일부재와; 상기 모종 재배틀의 양측에 형성되어, 레일부재를 따라 길이방향으로 구름 이동하면서 레일부재를 따라 진퇴하는 가이드 롤러를 포함하여 구성된 것을 특징으로 하는 공간 활용도가 향상된 고추모종 재배장치.
According to claim 1, wherein both sides of the seedling rearrangement are fixed to the main body in a forward and backward longitudinal direction, and sliding rails are formed so that each seedling rearrangement advances and retreats in the front-rear longitudinal direction;
The sliding rail unit includes: rail members formed on both inner walls of the body; Red pepper seedling cultivation apparatus with improved space utilization, characterized in that it is formed on both sides of the seedling cultivation frame, and comprises a guide roller that moves forward and backward along the rail member while rolling along the rail member in the longitudinal direction.
제 2항에 있어서, 상기 모종 재배틀을 슬라이딩 구조로 배치한 레일부재는 힌지축을 통해 본체에 상하 힌지구조로 설치되어, 힌지축를 중심으로 상하로 틸팅되어 경사각이 조절되도록 구성되어서,
상기 레일부재의 경사각의 조절에 의해 모종 재배틀은 전후방향의 슬라이딩 이동을 통한 채광 위치의 변경과, 상하 틸팅에 통한 경사도의 변경을 통해 채광각도의 변경이 가능하도록 구성된 것을 특징으로 하는 공간 활용도가 향상된 고추모종 재배장치.



The method according to claim 2, wherein the rail member on which the seedling rearrangement is arranged in a sliding structure is installed in a vertical hinge structure on the main body through a hinge axis, and is tilted up and down about the hinge axis to adjust the inclination angle,
By adjusting the inclination angle of the rail member, the seedling rearrangement is configured to change the lighting position through sliding movement in the front and rear direction and change the lighting angle through the change of the inclination through up and down tilting Space utilization, characterized in that Improved pepper seedling cultivation equipment.



KR1020200071983A 2020-06-15 2020-06-15 Chili cultivation apparatus improved space utilization Active KR102525176B1 (en)

Priority Applications (1)

Application Number Priority Date Filing Date Title
KR1020200071983A KR102525176B1 (en) 2020-06-15 2020-06-15 Chili cultivation apparatus improved space utilization

Applications Claiming Priority (1)

Application Number Priority Date Filing Date Title
KR1020200071983A KR102525176B1 (en) 2020-06-15 2020-06-15 Chili cultivation apparatus improved space utilization

Publications (2)

Publication Number Publication Date
KR20210155042A true KR20210155042A (en) 2021-12-22
KR102525176B1 KR102525176B1 (en) 2023-04-24

Family

ID=79164098

Family Applications (1)

Application Number Title Priority Date Filing Date
KR1020200071983A Active KR102525176B1 (en) 2020-06-15 2020-06-15 Chili cultivation apparatus improved space utilization

Country Status (1)

Country Link
KR (1) KR102525176B1 (en)

Cited By (3)

* Cited by examiner, † Cited by third party
Publication number Priority date Publication date Assignee Title
CN116831018A (en) * 2023-06-15 2023-10-03 福建省中科生物股份有限公司 High-yield cultivation method of sweet peppers for plant factories
CN118266344A (en) * 2024-05-31 2024-07-02 黑龙江省农业机械工程科学研究院 Rice seedling raising device
KR20250071144A (en) * 2023-11-14 2025-05-21 주식회사 에버디포 Shelter system having moss module and high-pressure spray

Families Citing this family (2)

* Cited by examiner, † Cited by third party
Publication number Priority date Publication date Assignee Title
KR102735856B1 (en) 2024-04-24 2024-12-04 (주)한국선별기술 Automatic alignment apparatus for vegetable cultivation gutter using shape identification
KR102735857B1 (en) 2024-04-24 2024-12-04 (주)한국선별기술 Automatic alignment apparatus for vegetable cultivation gutter using identification code

Citations (5)

* Cited by examiner, † Cited by third party
Publication number Priority date Publication date Assignee Title
KR200327215Y1 (en) 2003-06-05 2003-09-19 황대연 The multi stage cultivation equipment for crops
KR20130118096A (en) * 2012-04-19 2013-10-29 농업회사법인주식회사 세이프푸드 Plant cultivation device
KR20140055677A (en) * 2012-11-01 2014-05-09 박영택 Tilting apparatus for cultivation a plant container of multistage lamination layers
KR20150137485A (en) * 2014-05-29 2015-12-09 이선우 sprouts cultivating apparatus
KR102055868B1 (en) 2017-11-03 2019-12-13 경기도 Plant cultivation system

Patent Citations (5)

* Cited by examiner, † Cited by third party
Publication number Priority date Publication date Assignee Title
KR200327215Y1 (en) 2003-06-05 2003-09-19 황대연 The multi stage cultivation equipment for crops
KR20130118096A (en) * 2012-04-19 2013-10-29 농업회사법인주식회사 세이프푸드 Plant cultivation device
KR20140055677A (en) * 2012-11-01 2014-05-09 박영택 Tilting apparatus for cultivation a plant container of multistage lamination layers
KR20150137485A (en) * 2014-05-29 2015-12-09 이선우 sprouts cultivating apparatus
KR102055868B1 (en) 2017-11-03 2019-12-13 경기도 Plant cultivation system

Cited By (3)

* Cited by examiner, † Cited by third party
Publication number Priority date Publication date Assignee Title
CN116831018A (en) * 2023-06-15 2023-10-03 福建省中科生物股份有限公司 High-yield cultivation method of sweet peppers for plant factories
KR20250071144A (en) * 2023-11-14 2025-05-21 주식회사 에버디포 Shelter system having moss module and high-pressure spray
CN118266344A (en) * 2024-05-31 2024-07-02 黑龙江省农业机械工程科学研究院 Rice seedling raising device

Also Published As

Publication number Publication date
KR102525176B1 (en) 2023-04-24

Similar Documents

Publication Publication Date Title
KR102525176B1 (en) Chili cultivation apparatus improved space utilization
KR100338865B1 (en) Multi-stage planting method and multi-stage planting device used in it
KR101916950B1 (en) Foldable same-place raising-seedling apparatus and method for strawberry elevated cultivation
KR101749871B1 (en) Strawberry double layered cultivation equipment that combines strawberry nursery and cultivation
JP6462867B2 (en) Artificial hydroponics equipment
KR101873187B1 (en) Seedling cultivationsystem
CN108739322A (en) A kind of tidal type strawberry potted tray cuttage and seedling culture method
KR20140122821A (en) Hydroponic culturing device
KR200327215Y1 (en) The multi stage cultivation equipment for crops
CN102524038B (en) Three-dimensional combined temperature-controlled light-controlled breeding bed
KR20180058558A (en) cultivating control system of sprout
KR20090088668A (en) Sprout cultivation device using trolley conveyor
KR101582867B1 (en) Machinery and management systems for water culture of fruit tree(2)
JP2516523B2 (en) Plant growing method and device
CN110122117A (en) A kind of vertical planting frame and its working method
KR102184907B1 (en) Cultivation pot and high-position cultivating bed using the same
KR100795931B1 (en) Multi-stage Differentiated Plant Cultivator
KR102076710B1 (en) Seedling pot seating device for in-situ seedling laying in heavy planting device
CN212852101U (en) Indoor planting device
WO2020040139A1 (en) Crop cultivation device and crop cultivation method
CN212650165U (en) Rice seedling raising device
CN212279015U (en) Novel regulation formula municipal landscape pergola
KR20160080968A (en) Smart plant cultivating device
CN215454117U (en) Three-dimensional cuttage seedling growing system
CN204888184U (en) Reinforcing illumination multilayer case of growing seedlings

Legal Events

Date Code Title Description
PA0109 Patent application

Patent event code: PA01091R01D

Comment text: Patent Application

Patent event date: 20200615

PA0201 Request for examination
PG1501 Laying open of application
E902 Notification of reason for refusal
PE0902 Notice of grounds for rejection

Comment text: Notification of reason for refusal

Patent event date: 20220523

Patent event code: PE09021S01D

AMND Amendment
E601 Decision to refuse application
PE0601 Decision on rejection of patent

Patent event date: 20221111

Comment text: Decision to Refuse Application

Patent event code: PE06012S01D

Patent event date: 20220523

Comment text: Notification of reason for refusal

Patent event code: PE06011S01I

X091 Application refused [patent]
AMND Amendment
PX0901 Re-examination

Patent event code: PX09011S01I

Patent event date: 20221111

Comment text: Decision to Refuse Application

Patent event code: PX09012R01I

Patent event date: 20220719

Comment text: Amendment to Specification, etc.

PX0701 Decision of registration after re-examination

Patent event date: 20230310

Comment text: Decision to Grant Registration

Patent event code: PX07013S01D

Patent event date: 20230213

Comment text: Amendment to Specification, etc.

Patent event code: PX07012R01I

Patent event date: 20221111

Comment text: Decision to Refuse Application

Patent event code: PX07011S01I

Patent event date: 20220719

Comment text: Amendment to Specification, etc.

Patent event code: PX07012R01I

X701 Decision to grant (after re-examination)
GRNT Written decision to grant
PR0701 Registration of establishment

Comment text: Registration of Establishment

Patent event date: 20230419

Patent event code: PR07011E01D

PR1002 Payment of registration fee

Payment date: 20230419

End annual number: 3

Start annual number: 1

PG1601 Publication of registration