KR20210133384A - 탑다운공법을 이용하여 공기단축이 가능한 공동주택 리모델링 골조공사방법 - Google Patents

탑다운공법을 이용하여 공기단축이 가능한 공동주택 리모델링 골조공사방법 Download PDF

Info

Publication number
KR20210133384A
KR20210133384A KR1020200051904A KR20200051904A KR20210133384A KR 20210133384 A KR20210133384 A KR 20210133384A KR 1020200051904 A KR1020200051904 A KR 1020200051904A KR 20200051904 A KR20200051904 A KR 20200051904A KR 20210133384 A KR20210133384 A KR 20210133384A
Authority
KR
South Korea
Prior art keywords
construction
wall
basement
constructing
frame
Prior art date
Legal status (The legal status is an assumption and is not a legal conclusion. Google has not performed a legal analysis and makes no representation as to the accuracy of the status listed.)
Granted
Application number
KR1020200051904A
Other languages
English (en)
Other versions
KR102409591B1 (ko
Inventor
이새롬
김우재
김인호
배창한
이원현
최진호
Original Assignee
주식회사 포스코건설
(주)바로건설기술
Priority date (The priority date is an assumption and is not a legal conclusion. Google has not performed a legal analysis and makes no representation as to the accuracy of the date listed.)
Filing date
Publication date
Application filed by 주식회사 포스코건설, (주)바로건설기술 filed Critical 주식회사 포스코건설
Priority to KR1020200051904A priority Critical patent/KR102409591B1/ko
Publication of KR20210133384A publication Critical patent/KR20210133384A/ko
Application granted granted Critical
Publication of KR102409591B1 publication Critical patent/KR102409591B1/ko
Active legal-status Critical Current
Anticipated expiration legal-status Critical

Links

Images

Classifications

    • EFIXED CONSTRUCTIONS
    • E02HYDRAULIC ENGINEERING; FOUNDATIONS; SOIL SHIFTING
    • E02DFOUNDATIONS; EXCAVATIONS; EMBANKMENTS; UNDERGROUND OR UNDERWATER STRUCTURES
    • E02D29/00Independent underground or underwater structures; Retaining walls
    • E02D29/045Underground structures, e.g. tunnels or galleries, built in the open air or by methods involving disturbance of the ground surface all along the location line; Methods of making them
    • EFIXED CONSTRUCTIONS
    • E02HYDRAULIC ENGINEERING; FOUNDATIONS; SOIL SHIFTING
    • E02DFOUNDATIONS; EXCAVATIONS; EMBANKMENTS; UNDERGROUND OR UNDERWATER STRUCTURES
    • E02D27/00Foundations as substructures
    • E02D27/10Deep foundations
    • E02D27/12Pile foundations
    • EFIXED CONSTRUCTIONS
    • E02HYDRAULIC ENGINEERING; FOUNDATIONS; SOIL SHIFTING
    • E02DFOUNDATIONS; EXCAVATIONS; EMBANKMENTS; UNDERGROUND OR UNDERWATER STRUCTURES
    • E02D29/00Independent underground or underwater structures; Retaining walls
    • E02D29/02Retaining or protecting walls
    • E02D29/0258Retaining or protecting walls characterised by constructional features
    • E02D29/0275Retaining or protecting walls characterised by constructional features cast in situ
    • EFIXED CONSTRUCTIONS
    • E21EARTH OR ROCK DRILLING; MINING
    • E21DSHAFTS; TUNNELS; GALLERIES; LARGE UNDERGROUND CHAMBERS
    • E21D9/00Tunnels or galleries, with or without linings; Methods or apparatus for making thereof; Layout of tunnels or galleries
    • E21D9/04Driving tunnels or galleries through loose materials; Apparatus therefor not otherwise provided for
    • EFIXED CONSTRUCTIONS
    • E02HYDRAULIC ENGINEERING; FOUNDATIONS; SOIL SHIFTING
    • E02DFOUNDATIONS; EXCAVATIONS; EMBANKMENTS; UNDERGROUND OR UNDERWATER STRUCTURES
    • E02D2250/00Production methods
    • E02D2250/0023Cast, i.e. in situ or in a mold or other formwork
    • EFIXED CONSTRUCTIONS
    • E02HYDRAULIC ENGINEERING; FOUNDATIONS; SOIL SHIFTING
    • E02DFOUNDATIONS; EXCAVATIONS; EMBANKMENTS; UNDERGROUND OR UNDERWATER STRUCTURES
    • E02D2300/00Materials
    • E02D2300/0004Synthetics
    • E02D2300/0018Cement used as binder
    • E02D2300/002Concrete

Landscapes

  • Engineering & Computer Science (AREA)
  • Mining & Mineral Resources (AREA)
  • Life Sciences & Earth Sciences (AREA)
  • General Life Sciences & Earth Sciences (AREA)
  • Civil Engineering (AREA)
  • Paleontology (AREA)
  • Environmental & Geological Engineering (AREA)
  • General Engineering & Computer Science (AREA)
  • Structural Engineering (AREA)
  • Geochemistry & Mineralogy (AREA)
  • Geology (AREA)
  • Underground Structures, Protecting, Testing And Restoring Foundations (AREA)
  • Working Measures On Existing Buildindgs (AREA)

Abstract

본 발명은 공동주택 리모델링 공사시 증축되는 코어부의 한쪽은 기둥으로 지지하고 다른 한쪽은 구골조와의 접합을 통해 하중을 전달하여 신축코어부 주차장 굴착중에 지상층 공사를 탑다운으로 선시공하며, 추가로 상부층 코어 골조의 형식을 철골로 시공하여 추가적인 공기단축이 가능하도록 하는 탑다운공법을 이용하여 공기단축이 가능한 공동주택 리모델링 골조공사방법에 관한 것이다.
본 발명의 바람직한 일 실시예는 공동주택 리모델링 골조공사방법에 있어서, (a) 기존 구조물의 일부 구 골조를 철거 후 흙막이 벽체를 시공하는 단계; (b) 흙막이 벽체의 외측에 일정 깊이까지 터파기하고 흙막이 벽체 상부까지 기존 기초를 연장하여 증축부의 신설 기초를 타설하는 단계; (c) 지하부분은 흙막이 벽체의 외측으로 일정거리 이격된 위치에 기둥을 시공하고, 굴착하여 철골보를 설치하는 단계; (d) 지하부분은 지하굴착 및 하부층 역타방식으로 차례로 시공을 진행하고, 지상부분은 철골구조를 소정 높이의 저층부까지 설치하는 단계; (e) 상기 소정 높이의 저층부를 초과하는 층은 철근콘크리트조를 상부로 시공하면서, 소정 높이의 저층부까지는 상기 기설치된 철골구조를 포함한 철골 철근콘크리트조로 시공하고 지하층은 지하 구조물을 역타로 형성하는 단계; (f) 골조가 끝난 부분부터 마감공사를 진행하는 단계;를 포함하여 이루어진다.

Description

탑다운공법을 이용하여 공기단축이 가능한 공동주택 리모델링 골조공사방법{Apartment remodeling construction method for construction duration reduction}
본 발명은 탑다운공법을 이용하여 공기단축이 가능한 공동주택 리모델링 골조공사방법에 관한 것으로서, 더욱 상세하게는 공동주택 리모델링 공사시 증축되는 코어부의 한쪽은 기둥으로 지지하고 다른 한쪽은 구골조와의 접합을 통해 하중을 전달하여 신축코어부 주차장 굴착중에 지상층 공사를 탑다운으로 선시공하며, 추가로 상부층 코어 골조의 형식을 철골로 시공하여 추가적인 공기단축이 가능하도록 하는 탑다운공법을 이용하여 공기단축이 가능한 공동주택 리모델링 골조공사방법에 관한 것이다.
정부 정책이 공동주택 재건축 시장은 억제하고, 공동주택 리모델링 시장은 활성화하는 정책으로 방향이 전환되고 있다. 또한 리모델링 시기가 도래한 ’80년대 후반~’90년대 아파트는 대부분 벽식구조이며, 이러한 벽식 아파트의 리모델링 사업이 활성화되고 있다. 이러한 시장의 수요에 발맞춰 본 발명을 개발함으로써 공기에 대한 리스크가 많은 리모델링 사업에서 추가적인 공기단축을 하여 공기 리스크에 대한 대비를 할 수 있다.
그러나, 공동주택 리모델링 공사시 종래 사용 중인 공법은 순차적인 시공 방법으로 시공순서는 지하층 터파기, 매트기초 시공 및 지하층 골조공사 완료 후, 지상층 골조공사를 진행한다. 따라서 지상층 골조공사를 진행하기 위해서 지하3층 기준으로 4개월 이상의 공기지연이 발생되는 문제점이 있었다.
본 발명의 배경이 되는 기술로는 특허공개 제2012-0093547호 "톱다운식 지하증축 시공방법"(특허문헌 1)이 있다. 상기 배경기술에서는 '기존건축물의 내력부와 견질지반사이에 지지수단을 설치하여 상기 지지수단이 기존건축물의 견질지반에 도달하여 기존건축물을 지지하도록 보강하는 기존건축물 보강과정과; 상기 기존건축물이 상기 지지수단에 의해 견질지반에 지지된 상태에서 상기 기존건축물의 최하층 기초와 바닥슬래브를 철거하고 콘크리트를 재타설하는 구조 안정화과정과; 상기 기존건축물의 하부를 굴착하여 공간을 형성하는 공간 형성과정과; 상기 기존건축물의 굴착된 하부에 콘크리트를 타설하여 지하실을 형성하는 지하실 형성과정;을 포함하는 것을 특징으로 하는 톱다운식 지하증축 시공방법'을 제안한다.
그러나 상기 배경기술은 순차적인 시공방법으로 지하층 공사가 완료되기 전까지는 지상층 공사를 진행할 수 없는 문제점이 있었다.
특허공개 제2012-0093547호 "톱다운식 지하증축 시공방법"
본 발명은 상기와 같은 문제점을 해결하기 위한 것으로, 공동주택 리모델링 공사시 골조공사 공기단축을 하여 프로젝트 전체 공기를 단축(지하3층 기준 약 4개월 공기단축) 할 수 있으며, 증축되는 코어부의 한쪽은 기둥으로 지지하고 다른 한쪽은 구골조와의 접합을 통해 구골조에 하중을 전달도록 하여 PRD 부재 사이즈의 경제적 설계를 통해 원가절감 및 시공성을 향상 시킬 수 있는 탑다운공법을 이용하여 공기단축이 가능한 공동주택 리모델링 골조공사방법을 제공하는데 그 목적이 있다.
본 발명은 공동주택 리모델링 골조공사방법에 있어서, (a) 기존 구조물의 일부 구 골조를 철거 후 흙막이 벽체를 시공하는 단계; (b) 흙막이 벽체의 외측에 일정 깊이까지 터파기하고 흙막이 벽체 상부까지 기존 기초를 연장하여 증축부의 신설 기초를 타설하는 단계; (c) 지하부분은 흙막이 벽체의 외측으로 일정거리 이격된 위치에 기둥을 시공하고, 굴착하여 철골보를 설치하는 단계; (d) 지하부분은 지하굴착 및 하부층 역타방식으로 차례로 시공을 진행하고, 지상부분은 철골구조를 소정 높이의 저층부까지 설치하는 단계; (e) 상기 소정 높이의 저층부를 초과하는 층은 철근콘크리트조를 상부로 시공하면서, 소정 높이의 저층부까지는 상기 기설치된 철골구조를 포함한 철골 철근콘크리트조로 시공하고 지하층은 지하 구조물을 역타로 형성하는 단계; (f) 골조가 끝난 부분부터 마감공사를 진행하는 단계;를 포함하여 이루어지는 것을 특징으로 하는 탑다운공법을 이용하여 공기단축이 가능한 공동주택 리모델링 골조공사방법을 제공하고자 한다.
또한, (d) 단계에서, 지하부분은 지하굴착 및 하부층 역타방식으로 차례로 시공을 진행하고, 지상부분은 증축부와 코어부의 동시 시공을 위해 증축부(a)와 기둥의 사이에 철골로 이루어지는 철골구조를 저층부까지 설치하도록 이루어지고, (e) 단계는, (e-1) 지하부분은 주차창부와 코어부의 바닥 기초를 동시에 타설하고 지상부분은 철골구조 부분의 벽체를 형성하도록 하고, 철골구조의 상부로 증축부의 소정높이까지 중층 하부의 벽체 및 슬래브를 시공하는 단계; (e-2) 지하부분은 바닥 기초 양생후 코어부 지하층의 수직부재를 시공하고, 지상부분은 증축부의 소정높이까지 중층 상부의 벽체 및 슬래브를 시공하는 단계; (e-3) 증축부의 상부 잔여골조를 시공하는 단계;로 이루어지는 것을 특징으로 하는 탑다운공법을 이용하여 공기단축이 가능한 공동주택 리모델링 골조공사방법을 제공하고자 한다.
또한, (d) 단계에서, 철골구조 부분의 벽체형성부분에 갱폼을 미리 설치하고, (e) 단계에서, 벽체를 시공하도록 하는 것을 특징으로 하는 탑다운공법을 이용하여 공기단축이 가능한 공동주택 리모델링 골조공사방법을 제공하고자 한다.
또한, (e-3) 단계 이후에, 기둥을 해체하도록 하는 것을 특징으로 하는 탑다운공법을 이용하여 공기단축이 가능한 공동주택 리모델링 골조공사방법을 제공하고자 한다.
또한, (c) 단계에서, 기존 구조물의 구 골조벽체에 신설 벽체를 접합할 때에는, 구 골조벽체에 접합 플레이트를 앵커로 고장하고, 접합 플레이트에 지지부재를 접합한 후, 지지부재의 상부에 신설 벽체를 시공하도록 하는 것을 특징으로 하는 탑다운공법을 이용하여 공기단축이 가능한 공동주택 리모델링 골조공사방법을 제공하고자 한다.
본 발명의 탑다운공법을 이용하여 공기단축이 가능한 공동주택 리모델링 골조공사방법은 공동주택 리모델링 공사시 골조공사 공기단축을 하여 프로젝트 전체 공기를 단축(지하3층 기준 약 4개월 공기단축) 할 수 있으며, 증축되는 코어부의 한쪽은 기둥으로 지지하고 다른 한쪽은 구골조와의 접합을 통해 구골조에 하중을 전달도록 하여 PRD 부재 사이즈의 경제적 설계를 통해 원가절감 및 시공성을 향상 시킬 수 있는 매우 유용한 효과가 있다.
본 명세서에서 첨부되는 다음의 도면들은 본 발명의 바람직한 실시 예를 예시하는 것이며, 발명의 상세한 설명과 함께 본 발명의 기술사상을 더욱 이해시키는 역할을 하는 것이므로, 본 발명은 첨부한 도면에 기재된 사항에만 한정되어서 해석되어서는 아니 된다.
도 1 내지 도 5는 본 발명의 탑다운공법을 이용하여 공기단축이 가능한 공동주택 리모델링 골조공사방법을 순서대로 도시한 도이다.
도 6은 본 발명에서 구 골조벽체에 신설 벽체를 접합하는 일 실시예를 도시한 도이다.
아래에서 본 발명은 첨부된 도면에 제시된 실시 예를 참조하여 상세하게 설명이 되지만 제시된 실시 예는 본 발명의 명확한 이해를 위한 예시적인 것으로 본 발명은 이에 제한되지 않는다.
이하 바람직한 실시예에 따라 본 발명의 기술적 구성을 상세히 설명하면 다음과 같다.
도 1 내지 도 5는 본 발명의 탑다운공법을 이용하여 공기단축이 가능한 공동주택 리모델링 골조공사방법을 순서대로 도시한 도이다.
본 발명의 탑다운공법을 이용하여 공기단축이 가능한 공동주택 리모델링 골조공사방법은 먼저, 도 1에서와 같이, 기존 구조물의 일부 구 골조(10)를 철거 후 흙막이 벽체(20)를 시공하도록 한다(a).
흙막이 벽체(20)는 슬러리월, CIP, SCW 공법 등 공지의 다양한 방법들에 의하여 형성할 수 있으며, 토압, 수압과 함께 수직하중도 지지하도록 한다.
이후, 도 2에서와 같이, 신설 기초(10b)를 타설하도록 한다(b).
흙막이 벽체(20)의 외측에 주차창부(p)와 코어부(c)가 시공될 부분까지 일정 깊이까지 터파기를 하고, 기존 기초(10a)에서 흙막이 벽체(20) 상부까지 연장하도록 증축부의 신설 기초(10b)를 타설하도록 한다.
이후 단계부터는 지하부분과 지상부분을 동시에 시공하도록 하는데, 우선, 도 3에서와 같이, 지하부분은 흙막이 벽체(20)의 외측으로 일정거리 이격된 위치에 기둥(40)을 시공하고 굴착하여 철골보(50)를 설치하도록 한다(c).
기둥(40)은 공지의 다양한 기둥을 사용할 수 있으며, 특히, PPRD공법(PERCUSSION ROTARY DRILL; casing을 근입하고 굴착장비를 이용하여 소정 심도까지 굴착하는 공법)으로 시공되는 기둥을 사용할 수 있으며 다양한 규격이나 형상으로 이루어질 수 있다.
이와 같이 기둥(40)을 시공하고, 기둥(40)에 철골보(50)를 설치하도록 함으로써 증축되는 코어부(c)에서 철골보(50)의 일측을 기둥(40)으로 지지하도록 하고 타측은 구 골조와의 접합되도록 하여 구골조에 하중을 전달도록 하는 것이다.
또한 지상 부분은 코어부(c)를 제외한 증축부(a)의 소정높이까지 저층부의 벽체(11) 및 슬래브(12)를 시공하도록 하며, 바람직하게는 3층의 바닥 슬래브까지 시공하도록 한다.
이후, 지하부분은 지하굴착 및 하부층 역타방식으로 차례로 시공을 진행하고, 지상부분은 철골구조(60)를 소정 높이의 저층부까지 설치하도록 한다(d).
이때, 지하부분은 지하굴착 및 하부층 역타방식으로 차례로 시공을 진행하고, 지상부분은 증축부(a)와 코어부(c)의 동시 시공을 위해 증축부(a)와 기둥(40)의 사이에 철골로 이루어지는 철골구조(60)를 저층부(바람직하게는 1층~3층까지의 저층부)까지 설치한다.
지하주차장 부분과 코어부(c)에 해당하는 지하 부분은 일반적인 공지의 역타방식으로 차례로 시공을 하도록 하며, 동시에 지상부분은 증축부(a)와 기둥(40)의 사이에 철골로 이루어지는 철골구조(60)를 설치하도록 한다.
철골구조(60)는 다양한 형상 및 크기로 이루어질 수 있으며, 도시된 바와 같이 수직 철골 기둥과 수평 철골 보를 이용하여 프레임 형상으로로 구성될 수 있다.
이와 같은 철골구조(60)는 증축부(a)와 코어부(c)의 동시 시공을 위해 설치되며, 상기에서 지상 부분 증축부(a)의 소정높이까지 저층부의 벽체(11) 및 슬래브(12)의 높이까지 설치하도록 한다.
이때의 철골구조(60)는 코어부(c)에서 뜬구조 형식으로 구성되며, 코어부(c)의 갱폼(75)의 설치가 용이하도록 한다.
코어부(지하층 有)와 코어가 없는 부분(지하층 無)의 공기차이가 발생하게 되는데, 양쪽의 기준층 갱폼 셋팅 전의 공기를 맞추기 위해 코어가 있는 부분의 필로티층 및 계단실을 철골로 설치하고, 갱폼을 철골 및 데크슬라브에 고정함으로써 공기를 추가 단축할 수 있다.
이후, 도 4에서와 같이, 상기 소정 높이의 저층부를 초과하는 층은 철근콘크리트조를 상부로 시공하면서, 소정 높이의 저층부까지는 상기 기설치된 철골구조(60)를 포함한 철골 철근콘크리트조로 시공하고 지하층은 지하 구조물을 역타로 형성하도록 한다(e).
이때, 본 단계는 다음과 같은 순서로 시공하도록 할 수 있다.
먼저, 지하부분은 주차창부(p)와 코어부(c)의 바닥 기초(70)를 동시에 타설하고 지상부분은 철골구조(60) 부분의 벽체(73)를 형성하도록 하고, 철골구조(60)의 상부로 증축부(a)의 소정높이까지 중층 하부의 벽체(11) 및 슬래브(12)를 시공한다(e-1).
지하부분은 주차창부(p)와 코어부(c)의 바닥 기초(70)를 동시에 타설하고 지상부분은 철골구조(60) 부분의 벽체(73)를 형성하도록 하며, 철골구조(60) 만으로는 증축부(a)의 중층 하부(바람직하게는 9층 바닥 슬래브) 까지의 상부하중을 지지하도록 하여, 중층 하부의 벽체(11) 및 슬래브(12)를 차례로 시공하도록 한다.
이후, 도 5에서와 같이, 지하부분은 바닥 기초(70) 양생후 코어부(c) 지하층의 수직부재(71)를 시공하고, 지상부분은 증축부(a)의 소정높이까지 중층 상부의 벽체(11) 및 슬래브(12)를 시공하도록 한다(e-2).
지하부분은 바닥 기초(70) 양생된 후, 코어부(c)의 벽체 등의 수직부재(71)를 시공하도록 하며, 동시에 증축부(a)의 소정높이까지 중층 상부의 벽체(11) 및 슬래브(12)를 시공한다. 이때, 지하부분 코어 골조 완료전 바람직하게는 15층 바닥 슬래브까지 타설이 가능하다.
마지막으로, 증축부(a)의 상부 잔여골조를 시공하도록 한다(e-3).
지하골조가 완료된 이후에 잔여골조를 시공하여 완료하도록 한다.
또한, (e-3) 단계 이후에, 기둥(40)을 해체하도록 할 수도 있다.
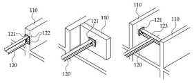
도 6은 본 발명에서 구 골조벽체에 신설 벽체를 접합하는 일 실시예를 도시한 도이다.
특히, 기존 구조물의 구 골조벽체(110)에 신설 벽체(11)를 접합할 때에는, 구 골조벽체(110)에 접합 플레이트(121)를 앵커(122)로 고장하고, 접합 플레이트(121)에 지지부재(120)를 접합하여 지지부재(120)의 상부에 신설 벽체(11)를 시공하도록 할 수 있다.
또한, 마주보는 구 골조벽체(110)에 별도의 연결부재(123)를 단부에 접합 플레이트(121) 및 앵커(122)를 이용하여 단부를 접합하고, 연결부재(123)에 지지부재(120)를 접합하도록 할 수도 있다.
마지막으로, 골조가 끝난 부분부터 마감공사를 진행하도록 한다(f).
상기와 같은 본 발명의 탑다운공법을 이용하여 공기단축이 가능한 공동주택 리모델링 골조공사방법은 공동주택 리모델링 공사시 골조공사 공기단축을 하여 프로젝트 전체 공기를 단축(지하3층 기준 약 4개월 공기단축) 할 수 있으며, 증축되는 코어부의 한쪽은 기둥으로 지지하고 다른 한쪽은 구골조와의 접합을 통해 구골조에 하중을 전달도록 하여 PRD 부재 사이즈의 경제적 설계를 통해 원가절감 및 시공성을 향상 시킬 수 있는 매우 유용한 효과가 있다.
지금까지 본 발명은 제시된 실시 예를 참조하여 상세하게 설명이 되었지만 이 분야에서 통상의 지식을 가진 자는 제시된 실시 예를 참조하여 본 발명의 기술적 사상을 벗어나지 않는 범위에서 다양한 변형 및 수정 발명을 만들 수 있을 것이다. 본 발명은 이와 같은 변형 및 수정 발명에 의하여 제한되지 않으며 다만 아래에 첨부된 청구범위에 의하여 제한된다.
10 : 구 골조
10a : 기존 기초
10b : 신설 기초
11 : 벽체
12 : 슬래브
20 : 흙먹이 벽체
40 : 기둥
50 : 철골보
60 : 철골구조
70 : 바닥 기초
71 : 수직부재
73 : 벽체
120 : 지지부재
121 : 접합 플레이트
122 : 앵커

Claims (5)

  1. 공동주택 리모델링 골조공사방법에 있어서,
    (a) 기존 구조물의 일부 구 골조(10)를 철거 후 흙막이 벽체(20)를 시공하는 단계;
    (b) 흙막이 벽체(20)의 외측에 일정 깊이까지 터파기하고 흙막이 벽체(20) 상부까지 기존 기초(10a)를 연장하여 증축부의 신설 기초(10b)를 타설하는 단계;
    (c) 지하부분은 흙막이 벽체(20)의 외측으로 일정거리 이격된 위치에 기둥(40)을 시공하고, 굴착하여 철골보(50)를 설치하는 단계;
    (d) 지하부분은 지하굴착 및 하부층 역타방식으로 차례로 시공을 진행하고, 지상부분은 철골구조(60)를 소정 높이의 저층부까지 설치하는 단계;
    (e) 상기 소정 높이의 저층부를 초과하는 층은 철근콘크리트조를 상부로 시공하면서, 소정 높이의 저층부까지는 상기 기설치된 철골구조(60)를 포함한 철골 철근콘크리트조로 시공하고 지하층은 지하 구조물을 역타로 형성하는 단계;
    (f) 골조가 끝난 부분부터 마감공사를 진행하는 단계;를 포함하여 이루어지는 것을 특징으로 하는 탑다운공법을 이용하여 공기단축이 가능한 공동주택 리모델링 골조공사방법.
  2. 청구항 1에 있어서,
    (d) 단계에서,
    지하부분은 지하굴착 및 하부층 역타방식으로 차례로 시공을 진행하고, 지상부분은 증축부(a)와 코어부(c)의 동시 시공을 위해 증축부(a)와 기둥(40)의 사이에 철골로 이루어지는 철골구조(60)를 저층부까지 설치하도록 이루어지고,
    (e) 단계는,
    (e-1)지하부분은 주차창부(p)와 코어부(c)의 바닥 기초(70)를 동시에 타설하고 지상부분은 철골구조(60) 부분의 벽체(73)를 형성하도록 하고, 철골구조(60)의 상부로 증축부(a)의 소정높이까지 중층 하부의 벽체(11) 및 슬래브(12)를 시공하는 단계;
    (e-2) 지하부분은 바닥 기초(70) 양생후 코어부(c) 지하층의 수직부재(71)를 시공하고, 지상부분은 증축부(a)의 소정높이까지 중층 상부의 벽체(11) 및 슬래브(12)를 시공하는 단계;
    (e-3) 증축부(a)의 상부 잔여골조를 시공하는 단계;로 이루어지는 것을 특징으로 하는 탑다운공법을 이용하여 공기단축이 가능한 공동주택 리모델링 골조공사방법.
  3. 청구항 2에 있어서,
    (d) 단계에서, 철골구조(60) 부분의 벽체형성부분에 갱폼(75)을 미리 설치하고,
    (e) 단계에서, 벽체(73)를 시공하도록 하는 것을 특징으로 하는 탑다운공법을 이용하여 공기단축이 가능한 공동주택 리모델링 골조공사방법.
  4. 청구항 2에 있어서,
    (e-3) 단계 이후에,
    기둥(40)을 해체하도록 하는 것을 특징으로 하는 탑다운공법을 이용하여 공기단축이 가능한 공동주택 리모델링 골조공사방법.
  5. 청구항 1에 있어서,
    (c) 단계에서,
    기존 구조물의 구 골조벽체(110)에 신설 벽체(11)를 접합할 때에는,
    구 골조벽체(110)에 접합 플레이트(121)를 앵커(122)로 고장하고, 접합 플레이트(121)에 지지부재(120)를 접합한 후,
    지지부재(120)의 상부에 신설 벽체(11)를 시공하도록 하는 것을 특징으로 하는 탑다운공법을 이용하여 공기단축이 가능한 공동주택 리모델링 골조공사방법.
KR1020200051904A 2020-04-29 2020-04-29 탑다운공법을 이용하여 공기단축이 가능한 공동주택 리모델링 골조공사방법 Active KR102409591B1 (ko)

Priority Applications (1)

Application Number Priority Date Filing Date Title
KR1020200051904A KR102409591B1 (ko) 2020-04-29 2020-04-29 탑다운공법을 이용하여 공기단축이 가능한 공동주택 리모델링 골조공사방법

Applications Claiming Priority (1)

Application Number Priority Date Filing Date Title
KR1020200051904A KR102409591B1 (ko) 2020-04-29 2020-04-29 탑다운공법을 이용하여 공기단축이 가능한 공동주택 리모델링 골조공사방법

Publications (2)

Publication Number Publication Date
KR20210133384A true KR20210133384A (ko) 2021-11-08
KR102409591B1 KR102409591B1 (ko) 2022-06-21

Family

ID=78485734

Family Applications (1)

Application Number Title Priority Date Filing Date
KR1020200051904A Active KR102409591B1 (ko) 2020-04-29 2020-04-29 탑다운공법을 이용하여 공기단축이 가능한 공동주택 리모델링 골조공사방법

Country Status (1)

Country Link
KR (1) KR102409591B1 (ko)

Cited By (1)

* Cited by examiner, † Cited by third party
Publication number Priority date Publication date Assignee Title
KR102611456B1 (ko) * 2022-07-08 2023-12-07 디엘이앤씨 주식회사 리모델링 공사용 수평 부분 역타 공법

Families Citing this family (1)

* Cited by examiner, † Cited by third party
Publication number Priority date Publication date Assignee Title
KR20240138893A (ko) 2023-03-13 2024-09-20 삼성물산 주식회사 클라이밍 브라켓을 이용한 공동주택 리모델링 골조 시공 방법

Citations (4)

* Cited by examiner, † Cited by third party
Publication number Priority date Publication date Assignee Title
KR100771144B1 (ko) * 2007-02-20 2007-10-29 삼성물산 주식회사 복수층의 동시시공을 통한 다층건축물의 수평증축방법
KR20070111440A (ko) * 2007-11-08 2007-11-21 쌍용건설 주식회사 엘리베이터 지하층 연장 운행을 위한 공동부 시공방법
KR20120093547A (ko) 2011-02-15 2012-08-23 주식회사고려이엔시 톱다운식 지하증축 시공방법
KR20130131057A (ko) * 2012-05-23 2013-12-03 삼성물산 주식회사 작업장 확보로 공기단축을 위한 공동주택 리모델링 공법

Patent Citations (4)

* Cited by examiner, † Cited by third party
Publication number Priority date Publication date Assignee Title
KR100771144B1 (ko) * 2007-02-20 2007-10-29 삼성물산 주식회사 복수층의 동시시공을 통한 다층건축물의 수평증축방법
KR20070111440A (ko) * 2007-11-08 2007-11-21 쌍용건설 주식회사 엘리베이터 지하층 연장 운행을 위한 공동부 시공방법
KR20120093547A (ko) 2011-02-15 2012-08-23 주식회사고려이엔시 톱다운식 지하증축 시공방법
KR20130131057A (ko) * 2012-05-23 2013-12-03 삼성물산 주식회사 작업장 확보로 공기단축을 위한 공동주택 리모델링 공법

Cited By (1)

* Cited by examiner, † Cited by third party
Publication number Priority date Publication date Assignee Title
KR102611456B1 (ko) * 2022-07-08 2023-12-07 디엘이앤씨 주식회사 리모델링 공사용 수평 부분 역타 공법

Also Published As

Publication number Publication date
KR102409591B1 (ko) 2022-06-21

Similar Documents

Publication Publication Date Title
CN103437567B (zh) 利用原有桩基础支撑既有建筑地下增层的方法
KR100938918B1 (ko) 지하외벽의 연속시공을 위해 채널에 의한 나뭇가지형 스틸프레임을 이용한 역타공법
JP6855296B2 (ja) 建物基礎部構造及びその施工方法
KR100967497B1 (ko) 지하 구조물 구축공법
KR101267565B1 (ko) 지하 역타 시공시 코어부 구조물 시공 방법
CN110397278A (zh) 一种地上建筑和地下结构同步施工的方法
KR102409591B1 (ko) 탑다운공법을 이용하여 공기단축이 가능한 공동주택 리모델링 골조공사방법
KR100788623B1 (ko) Pc기둥을 이용한 탑다운 공법
KR20190022132A (ko) 각형강관과 합성된 프리캐스트 콘크리트 기둥을 활용한 pc 탑다운공법
KR102286225B1 (ko) 무지주 탑다운 지하구조물 pc복합화 시공공법
KR102396786B1 (ko) 기존 지하 외벽의 보강을 통한 신설 건물의 지하 증축 및 역타 공법
KR20060092552A (ko) 현장타설파일을 이용한 무지보 하향골조 시공방법
KR101054696B1 (ko) 슬러리 월에서 슬래브 강막작용을 이용하여 토압 지지가이루어지도록 한 지하구조물의 역타 구축 공법
JP5865567B2 (ja) 連結用スラブ及びその構築方法
KR20210090100A (ko) 지하구조물이 벽식구조인 건물에서 가설전이구조물을 이용하여 조기지상골조 착수가 가능한 공기단축형 역타공법 및 구조
KR20110043976A (ko) 사전 제작된 기둥을 사용하는 역타 공법 및 이에 의한 건물 구조체
JP4228308B2 (ja) 既存床の補強工法および既存建物の免震化工法
JP2018066220A (ja) 地下躯体の改築方法
JP2001317217A (ja) 既存建物の基礎下免震構法
KR20080103260A (ko) 분리타설을 위한 철근조립체 및 이를 이용한 역타 지지구조
RU190322U1 (ru) Устройство возведения многоэтажного подземного сооружения
JP7106305B2 (ja) 構真柱および免震建物
KR102864508B1 (ko) 코어 벽체에 매설되는 보강플레이트가 부착된 가설기둥을 이용한 지하 최상층 코어 선시공으로 지하 및 지상구조물을 병행 시공하는 방법
JP6534026B2 (ja) 免震建物及びその施工方法
CN114263166B (zh) 一种地下硐室拱脚梁下地基加固结构及施工方法

Legal Events

Date Code Title Description
PA0109 Patent application

Patent event code: PA01091R01D

Comment text: Patent Application

Patent event date: 20200429

PA0201 Request for examination
E902 Notification of reason for refusal
PE0902 Notice of grounds for rejection

Comment text: Notification of reason for refusal

Patent event date: 20211014

Patent event code: PE09021S01D

PG1501 Laying open of application
E601 Decision to refuse application
PE0601 Decision on rejection of patent

Patent event date: 20220214

Comment text: Decision to Refuse Application

Patent event code: PE06012S01D

Patent event date: 20211014

Comment text: Notification of reason for refusal

Patent event code: PE06011S01I

AMND Amendment
PX0901 Re-examination

Patent event code: PX09011S01I

Patent event date: 20220214

Comment text: Decision to Refuse Application

PX0701 Decision of registration after re-examination

Patent event date: 20220317

Comment text: Decision to Grant Registration

Patent event code: PX07013S01D

Patent event date: 20220304

Comment text: Amendment to Specification, etc.

Patent event code: PX07012R01I

Patent event date: 20220214

Comment text: Decision to Refuse Application

Patent event code: PX07011S01I

X701 Decision to grant (after re-examination)
GRNT Written decision to grant
PR0701 Registration of establishment

Comment text: Registration of Establishment

Patent event date: 20220613

Patent event code: PR07011E01D

PR1002 Payment of registration fee

Payment date: 20220613

End annual number: 3

Start annual number: 1

PG1601 Publication of registration
PR1001 Payment of annual fee

Payment date: 20250331

Start annual number: 4

End annual number: 4