KR20210055981A - 공사중 교통처리를 최소화한 탑-다운 방식의 강제지중연속벽을 이용한 지하차도 및 그의 시공방법 - Google Patents
공사중 교통처리를 최소화한 탑-다운 방식의 강제지중연속벽을 이용한 지하차도 및 그의 시공방법 Download PDFInfo
- Publication number
- KR20210055981A KR20210055981A KR1020190142437A KR20190142437A KR20210055981A KR 20210055981 A KR20210055981 A KR 20210055981A KR 1020190142437 A KR1020190142437 A KR 1020190142437A KR 20190142437 A KR20190142437 A KR 20190142437A KR 20210055981 A KR20210055981 A KR 20210055981A
- Authority
- KR
- South Korea
- Prior art keywords
- wall
- underpass
- pile
- slab
- forced
- Prior art date
- Legal status (The legal status is an assumption and is not a legal conclusion. Google has not performed a legal analysis and makes no representation as to the accuracy of the status listed.)
- Abandoned
Links
- 229910000831 Steel Inorganic materials 0.000 title claims abstract description 63
- 239000010959 steel Substances 0.000 title claims abstract description 63
- 238000000034 method Methods 0.000 title claims abstract description 50
- 238000010276 construction Methods 0.000 claims abstract description 90
- XLYOFNOQVPJJNP-UHFFFAOYSA-N water Substances O XLYOFNOQVPJJNP-UHFFFAOYSA-N 0.000 claims abstract description 9
- 239000004568 cement Substances 0.000 claims description 44
- 239000004567 concrete Substances 0.000 claims description 39
- 239000000463 material Substances 0.000 claims description 20
- 230000008878 coupling Effects 0.000 claims description 18
- 238000010168 coupling process Methods 0.000 claims description 18
- 238000005859 coupling reaction Methods 0.000 claims description 18
- 230000002787 reinforcement Effects 0.000 claims description 15
- 239000003566 sealing material Substances 0.000 claims description 15
- 238000005266 casting Methods 0.000 claims description 12
- 238000003466 welding Methods 0.000 claims description 12
- 238000011065 in-situ storage Methods 0.000 claims description 8
- 239000003351 stiffener Substances 0.000 claims description 8
- 239000011384 asphalt concrete Substances 0.000 claims description 3
- 238000010586 diagram Methods 0.000 description 33
- 238000000926 separation method Methods 0.000 description 11
- 238000009415 formwork Methods 0.000 description 7
- RYGMFSIKBFXOCR-UHFFFAOYSA-N Copper Chemical compound [Cu] RYGMFSIKBFXOCR-UHFFFAOYSA-N 0.000 description 6
- 229910052802 copper Inorganic materials 0.000 description 6
- 239000010949 copper Substances 0.000 description 6
- 238000012360 testing method Methods 0.000 description 6
- 238000009412 basement excavation Methods 0.000 description 5
- 239000002689 soil Substances 0.000 description 5
- 239000011248 coating agent Substances 0.000 description 4
- 238000000576 coating method Methods 0.000 description 4
- 239000002131 composite material Substances 0.000 description 3
- 238000013461 design Methods 0.000 description 3
- 238000009434 installation Methods 0.000 description 3
- 230000001788 irregular Effects 0.000 description 3
- 230000004888 barrier function Effects 0.000 description 2
- 238000012986 modification Methods 0.000 description 2
- 230000004048 modification Effects 0.000 description 2
- 238000007792 addition Methods 0.000 description 1
- 238000005452 bending Methods 0.000 description 1
- 230000000903 blocking effect Effects 0.000 description 1
- 238000004891 communication Methods 0.000 description 1
- 239000000428 dust Substances 0.000 description 1
- 230000000694 effects Effects 0.000 description 1
- 238000005516 engineering process Methods 0.000 description 1
- 239000003673 groundwater Substances 0.000 description 1
- 230000008676 import Effects 0.000 description 1
- 230000002452 interceptive effect Effects 0.000 description 1
- 239000000203 mixture Substances 0.000 description 1
- 239000004570 mortar (masonry) Substances 0.000 description 1
- 230000001151 other effect Effects 0.000 description 1
- 238000013439 planning Methods 0.000 description 1
- 239000011178 precast concrete Substances 0.000 description 1
- 230000008569 process Effects 0.000 description 1
- 230000001681 protective effect Effects 0.000 description 1
- 239000012779 reinforcing material Substances 0.000 description 1
- 239000002023 wood Substances 0.000 description 1
Images
Classifications
-
- E—FIXED CONSTRUCTIONS
- E02—HYDRAULIC ENGINEERING; FOUNDATIONS; SOIL SHIFTING
- E02D—FOUNDATIONS; EXCAVATIONS; EMBANKMENTS; UNDERGROUND OR UNDERWATER STRUCTURES
- E02D29/00—Independent underground or underwater structures; Retaining walls
- E02D29/045—Underground structures, e.g. tunnels or galleries, built in the open air or by methods involving disturbance of the ground surface all along the location line; Methods of making them
- E02D29/05—Underground structures, e.g. tunnels or galleries, built in the open air or by methods involving disturbance of the ground surface all along the location line; Methods of making them at least part of the cross-section being constructed in an open excavation or from the ground surface, e.g. assembled in a trench
- E02D29/055—Underground structures, e.g. tunnels or galleries, built in the open air or by methods involving disturbance of the ground surface all along the location line; Methods of making them at least part of the cross-section being constructed in an open excavation or from the ground surface, e.g. assembled in a trench further excavation of the cross-section proceeding underneath an already installed part of the structure, e.g. the roof of a tunnel
-
- E—FIXED CONSTRUCTIONS
- E02—HYDRAULIC ENGINEERING; FOUNDATIONS; SOIL SHIFTING
- E02D—FOUNDATIONS; EXCAVATIONS; EMBANKMENTS; UNDERGROUND OR UNDERWATER STRUCTURES
- E02D5/00—Bulkheads, piles, or other structural elements specially adapted to foundation engineering
- E02D5/02—Sheet piles or sheet pile bulkheads
- E02D5/03—Prefabricated parts, e.g. composite sheet piles
-
- E—FIXED CONSTRUCTIONS
- E01—CONSTRUCTION OF ROADS, RAILWAYS, OR BRIDGES
- E01C—CONSTRUCTION OF, OR SURFACES FOR, ROADS, SPORTS GROUNDS, OR THE LIKE; MACHINES OR AUXILIARY TOOLS FOR CONSTRUCTION OR REPAIR
- E01C1/00—Design or layout of roads, e.g. for noise abatement, for gas absorption
- E01C1/002—Design or lay-out of roads, e.g. street systems, cross-sections ; Design for noise abatement, e.g. sunken road
-
- E—FIXED CONSTRUCTIONS
- E02—HYDRAULIC ENGINEERING; FOUNDATIONS; SOIL SHIFTING
- E02D—FOUNDATIONS; EXCAVATIONS; EMBANKMENTS; UNDERGROUND OR UNDERWATER STRUCTURES
- E02D2200/00—Geometrical or physical properties
- E02D2200/16—Shapes
-
- E—FIXED CONSTRUCTIONS
- E02—HYDRAULIC ENGINEERING; FOUNDATIONS; SOIL SHIFTING
- E02D—FOUNDATIONS; EXCAVATIONS; EMBANKMENTS; UNDERGROUND OR UNDERWATER STRUCTURES
- E02D2450/00—Gaskets
-
- E—FIXED CONSTRUCTIONS
- E02—HYDRAULIC ENGINEERING; FOUNDATIONS; SOIL SHIFTING
- E02D—FOUNDATIONS; EXCAVATIONS; EMBANKMENTS; UNDERGROUND OR UNDERWATER STRUCTURES
- E02D2600/00—Miscellaneous
- E02D2600/20—Miscellaneous comprising details of connection between elements
Landscapes
- Engineering & Computer Science (AREA)
- Mining & Mineral Resources (AREA)
- Structural Engineering (AREA)
- Civil Engineering (AREA)
- Life Sciences & Earth Sciences (AREA)
- Paleontology (AREA)
- General Life Sciences & Earth Sciences (AREA)
- General Engineering & Computer Science (AREA)
- Environmental & Geological Engineering (AREA)
- Chemical & Material Sciences (AREA)
- Composite Materials (AREA)
- Architecture (AREA)
- Underground Structures, Protecting, Testing And Restoring Foundations (AREA)
- Bulkheads Adapted To Foundation Construction (AREA)
Abstract
[기술분야/해결과제]
본 발명은 탑-다운 방식의 강제지중연속벽을 이용한 지하차도 및 그의 시공방법에 관한 것으로, 기존에는 바텀-업(bottom-up) 방식 또는 탑-다운(top-down) 방식으로 도로 양방향을 동시에 시공하기 때문에 중간벽체의 지지력 확보가 어려워 시공이 불가능한 문제점을 해결하기 위한 것이다.
[해결수단]
본 발명에 의한 지하차도는, 도로 한쪽을 차량 통행시키면서 도로 다른쪽을 굴착하여 상부슬래브를 시공한 다음 상부슬래브 상부를 되메우기로 복원시켜 교통을 개방하고 동시에 상부슬래브 밑에서 굴착을 진행하여 하부슬래브와 벽체를 시공하여 구조체의 강성을 확보한 후 반대편 도로를 같은 방법으로 시공함으로써, 구조체의 지지력 및 강성 확보에 따라 안전하게 시공할 수 있고, 구조체를 흙막이벽 및 차수벽 역할의 강제지중 연속벽으로 형성한 후 탑-다운 방식으로 시공할 수 있다.
[기대효과]
본 발명에 따르면, 구조체의 지지력 및 강성 확보에 따라 안전하고 신속하게 시공할 수 있고, 우회도로와 교통통제 없이 시공이 가능하여 공사기간과 공사비용을 줄일 수 있다.
본 발명은 탑-다운 방식의 강제지중연속벽을 이용한 지하차도 및 그의 시공방법에 관한 것으로, 기존에는 바텀-업(bottom-up) 방식 또는 탑-다운(top-down) 방식으로 도로 양방향을 동시에 시공하기 때문에 중간벽체의 지지력 확보가 어려워 시공이 불가능한 문제점을 해결하기 위한 것이다.
[해결수단]
본 발명에 의한 지하차도는, 도로 한쪽을 차량 통행시키면서 도로 다른쪽을 굴착하여 상부슬래브를 시공한 다음 상부슬래브 상부를 되메우기로 복원시켜 교통을 개방하고 동시에 상부슬래브 밑에서 굴착을 진행하여 하부슬래브와 벽체를 시공하여 구조체의 강성을 확보한 후 반대편 도로를 같은 방법으로 시공함으로써, 구조체의 지지력 및 강성 확보에 따라 안전하게 시공할 수 있고, 구조체를 흙막이벽 및 차수벽 역할의 강제지중 연속벽으로 형성한 후 탑-다운 방식으로 시공할 수 있다.
[기대효과]
본 발명에 따르면, 구조체의 지지력 및 강성 확보에 따라 안전하고 신속하게 시공할 수 있고, 우회도로와 교통통제 없이 시공이 가능하여 공사기간과 공사비용을 줄일 수 있다.
Description
본 발명은 탑-다운 방식의 강제지중연속벽을 이용한 지하차도 및 그의 시공방법에 관한 것으로, 특히 기존의 바텀-업(bottom-up) 방식 또는 탑-다운(top-down) 방식으로 도로 양방향을 동시에 시공할 경우 중간벽체의 지지력 확보가 어려워 시공이 불가능한 문제점을 해결하기 위해, 도로 한쪽을 차량 통행시키면서 도로 다른쪽을 굴착하여 상부슬래브를 시공한 다음 상부슬래브 상부를 되메우기로 복원시켜 교통을 개방하고 동시에 상부슬래브 밑에서 굴착을 진행하여 하부슬래브와 벽체를 시공하여 구조체의 강성을 확보한 후 반대편 도로를 같은 방법으로 시공함으로써, 구조체의 지지력 및 강성 확보에 따라 안전하게 시공할 수 있는 탑-다운 방식의 강제지중연속벽을 이용한 지하차도 및 그의 시공방법에 관한 것이다.
또한, 본 발명은 지하차도의 좌우측벽체와 중간벽체를 흙막이벽 및 차수벽 역할의 강제지중 연속벽으로 형성한 후 탑-다운(top-down) 방식으로 시공함으로써, 구조체의 지지력 및 강성을 확보하고, 응력과 지진에 대한 내진성을 크게 향상시킬 수 있는 탑-다운 방식의 강제지중연속벽을 이용한 지하차도 및 그의 시공방법에 관한 것이다.
또한, 본 발명은 우회도로와 교통통제 없이 시공이 가능하고 공사기간과 공사비용을 줄일 수 있는 탑-다운 방식의 강제지중연속벽을 이용한 지하차도 및 그의 시공방법에 관한 것이다.
일반적으로, 지하차도는 도로나 철도의 하부를 가로지르도록 설치되어 사람이나 차량이 도로나 철도를 운행하는 차량의 운행을 방해하지 않고 안전하게 횡단 통행이 가능하도록 하는 지하구조물을 말한다. 지하차도는 서로 간격을 두고 형성되는 양측의 벽체와 벽체의 하단을 연결하는 바닥 슬래브 그리고 벽체의 상단을 연결하는 상부 슬래브가 박스형 단면을 이루는 구성을 가지며 통행하는 차량의 안전을 위한 차선분리대로서 그리고 상부 슬래브의 부족한 내하력을 보강하기 위해 중앙분리벽 또는 다수 개의 중앙분리기둥이 통행방향을 따라 상부 슬래브와 바닥 슬래브를 연결하도록 설치될 수 있다.
지하차도는 기시설된 도로나 철도의 하부를 횡단하도록 후시공되거나 지하차도를 먼저 시공하고 그 위로 도로나 철도를 부설할 수 있다. 전자의 경우 기시설된 도로나 철도의 침하를 방지할 수 있도록 적절한 가시설을 설치하거나 특별한 공법을 적용하여야 한다. 후자의 경우 H말뚝과 토류판 또는 쉬트파일로 흙막이벽을 구축하고 띠장과 버팀대를 이용해 흙막이벽을 지지하면서 소요 심도까지 굴착한 다음 콘크리트 현장타설 방식으로 바닥 슬래브, 벽체 및 상부 슬래브를 순서대로 시공하게 된다. 이때, H말뚝과 토류판 또는 쉬트파일은 굴착을 위한 가시설로서 지하차도의 시공후에는 철거하게 된다. 이렇게 현장타설방식으로 시공되는 지하차도의 경우 가시설의 설치 및 해체로 인한 비용 증가 및 공사기간의 연장, 바닥 슬래브와 벽체 그리고 상부 슬래브를 현장타설방식으로 구축하기 위한 거푸집 설치, 철근 조립, 콘크리트 타설 및 양생에 따른 많은 현장 인력의 소요 및 공기지연의 문제점이 있다.
이러한 문제점을 해결하기 위하여, 등록특허 제10-0938395호(등록일자; 2010.01.15.)에는 지하차도의 양측 벽체가 형성되는 쪽에 강합성 콘크리트 벽체파일을 시공하여 H말뚝 흙막이벽과 현장타설 콘크리트 벽체의 역할을 동시에 하도록 한 것으로, 강합성 벽체파일 간에 형성된 노출강판의 하부에 용접된 스터드 볼트와 모멘트 플레이트를 사용하여 하부 슬래브가 벽체파일과 일체로 합성되도록 한 강합성 벽체파일을 이용한 지하차도의 시공방법에 대해 개시하고 있다.
또한, 공개특허 제10-2011-0132909호(공개일자; 2011.12.09.)에는 서로 간격을 두고 형성되는 양측의 벽체와 벽체의 하단을 연결하는 하부 슬래브 그리고 벽체의 상단을 연결하는 상부 슬래브가 박스형 단면을 이루는 지하차도에 있어서 벽체를 기성 콘크리트 말뚝으로 구성하면서 기성 콘크리트 말뚝으로 구성되는 말뚝벽체와 현장타설 콘크리트로 구성되는 상부 및 하부 슬래브의 접합부 구조를 개선한 지하차도 및 그 시공방법에 대해 개시하고 있다.
그러나, 상기 특허문헌을 포함한 종래의 기술들은 지하차도를 시공하기 위해 지하차도의 단면보다 더 큰 개착을 진행하고 지하차도를 완성한 후 되메우기하여 도로를 복구하는 방식을 사용하기 때문에 굴착 토공량이 증가하고 주변 환경을 훼손하는 문제점이 있다.
또한, 도로를 절개한 후 콘크리트 구조물을 설치해야 하기 때문에 공사 기간동안 도로를 차단하고 우회도로를 확보해야 하는 문제점이 있고, 공사 구간에서 차량 정체로 인해 통행에 큰 불편을 주는 문제점이 있다.
또한, 토압 및 하중을 지지하는 가시설의 설치 및 철거로 인해 공사기간과 공사비용이 증가하고, 소음 및 분진 등으로 각종 민원이 발생하는 문제점이 있다.
또한, H빔파일 사이에 판형 목재를 끼워넣어 측벽을 형성하는 시공방식은, 지반에 따라 규격 및 배치간격과 심도를 조절할 수 없어서 최적의 시공이 곤란하여 경제성이 떨어지고 붕괴의 위험성을 내포하고 있다. 그리고, 지하차도 이외에 하천의 옹벽, 교량의 교대, 지하 주차장의 벽체, 지하통로의 벽체 등에 광범위하게 적용하기에는 한계점이 있다.
또한, 기존에는 바텀-업(bottom-up) 방식 또는 탑-다운(top-down) 방식으로 도로 양방향을 동시에 시공하기 때문에, 구조체의 지지력 확보가 어려워 시공이 불가능한 문제점이 있다.
전술한 문제점을 해결하기 위하여 본 발명이 이루고자 하는 기술적 과제는, 도로 한쪽을 차량 통행시키면서 도로 다른쪽을 굴착하여 상부슬래브를 시공한 다음 상부슬래브 상부를 되메우기로 복원시켜 교통을 개방하고 동시에 상부슬래브 밑에서 굴착을 진행하여 하부슬래브와 벽체를 시공하여 구조체의 강성을 확보한 후 반대편 도로를 같은 방법으로 시공함으로써, 구조체의 지지력 및 강성 확보에 따라 안전하게 시공할 수 있는 탑-다운 방식의 강제지중연속벽을 이용한 지하차도 및 그의 시공방법을 제공하는데 있다.
또한, 본 발명이 이루고자 하는 다른 기술적 과제는, 지하차도의 좌우측벽체와 중간벽체를 흙막이벽 및 차수벽 역할의 강제지중 연속벽으로 형성한 후 탑-다운(top-down) 방식으로 시공함으로써, 구조체의 지지력 및 강성을 확보하고, 응력과 지진에 대한 내진성을 크게 향상시킬 수 있는 탑-다운 방식의 강제지중연속벽을 이용한 지하차도 및 그의 시공방법을 제공하는데 있다.
또한, 본 발명이 이루고자 하는 또 다른 기술적 과제는, 우회도로와 교통통제 없이 시공이 가능하고 공사기간과 공사비용을 줄일 수 있는 탑-다운 방식의 강제지중연속벽을 이용한 지하차도 및 그의 시공방법을 제공하는데 있다.
또한, 본 발명이 이루고자 하는 또 다른 기술적 과제는, 지하차도의 좌우측 벽과 중간벽체의 강제지중 연속벽 사이에 프리캐스트 거더를 강재브라켓으로 설치하고 그 위에 토핑 콘크리트를 타설하거나 현장 타설 방식으로 상부슬래브를 형성한 탑-다운 방식의 강제지중연속벽을 이용한 지하차도 및 그의 시공방법을 제공하는데 있다.
또한, 본 발명이 이루고자 하는 또 다른 기술적 과제는, 플랜지 양단에 C형 이음재가 형성된 H빔 파일에 플랜지 양단에 I형 이음재 또는 T형 이음재가 형성된 H빔 파일을 결합하여 지하차도의 좌우측벽체과 중간벽체(중앙분리벽)의 강제지중 연속벽을 구성하고 이음재 내부에 소일-시멘트(soil-cement)를 타설하여 시공한 탑-다운 방식의 강제지중연속벽을 이용한 지하차도 및 그의 시공방법을 제공하는데 있다.
또한, 본 발명이 이루고자 하는 또 다른 기술적 과제는, H빔의 C형 이음재의 단부에 근입 보조장치를 설치한 탑-다운 방식의 강제지중연속벽을 이용한 지하차도 및 그의 시공방법을 제공하는데 있다.
또한, 본 발명이 이루고자 하는 또 다른 기술적 과제는, 플랜지 양단에 반고리형 이음재가 형성된 H빔 파일을 서로 연결하여 지하차도의 좌우측 벽체과 중간벽체(중앙분리벽)의 강제지중 연속벽을 구성하고 이음재 내부에 소일-시멘트(soil-cement)를 타설하여 시공한 탑-다운 방식의 강제지중연속벽을 이용한 지하차도 및 그의 시공방법을 제공하는데 있다.
또한, 본 발명이 이루고자 하는 또 다른 기술적 과제는, 플랜지 양단에 '┏┓' 또는 '┗┛' 형상의 이음재가 형성된 H빔 파일을 서로 연결하여 지하차도의 좌우측 벽체과 중간벽체(중앙분리벽)의 강제지중 연속벽을 구성하고 이음재 내부에 소일-시멘트(soil-cement)를 타설하여 시공한 탑-다운 방식의 강제지중연속벽을 이용한 지하차도 및 그의 시공방법을 제공하는데 있다.
또한, 본 발명이 이루고자 하는 또 다른 기술적 과제는, 지하차도의 좌우측 벽체와 중간벽체(중앙분리벽)의 H빔 파일의 외측면에 플랜지보강강재를 용접으로 부착하여 강성을 증가시키고, H빔 파일의 양쪽 내측에 전단보강강재를 용접으로 부착하여 연직방향의 전단력을 강화시킨 탑-다운 방식의 강제지중연속벽을 이용한 지하차도 및 그의 시공방법을 제공하는데 있다.
또한, 본 발명이 이루고자 하는 또 다른 기술적 과제는, 지하차도의 좌우측 벽체와 중간벽체(중앙분리벽)의 H빔 파일의 이음결합 부에 실링재(띠상실링재, 부정형실링재 등)를 부착하여 지수성(止水性)을 향상시킨 탑-다운 방식의 강제지중연속벽을 이용한 지하차도 및 그의 시공방법을 제공하는데 있다.
또한, 본 발명이 이루고자 하는 또 다른 기술적 과제는, 일측면에 C형 이음재가 형성되고 타측면에 원형 끼움재가 형성된 강관 파일을 서로 결합하여 지하차도의 좌우측 벽체과 중간벽체(중앙분리벽)의 강제지중 연속벽을 구성하고 이음재 내부에 소일-시멘트(soil-cement)를 타설하여 고정한 탑-다운 방식의 강제지중연속벽을 이용한 지하차도 및 그의 시공방법을 제공하는데 있다.
또한, 본 발명이 이루고자 하는 또 다른 기술적 과제는, 지하차도의 좌우측 벽체과 중간벽체(중앙분리벽)의 강제지중 연속벽 사이에 보강재를 설치하여 강성을 확보한 탑-다운 방식의 강제지중연속벽을 이용한 지하차도 및 그의 시공방법을 제공하는데 있다.
본 발명의 해결과제는 이상에서 언급된 것들에 한정되지 않으며, 언급되지 아니한 다른 해결과제들은 아래의 기재로부터 당업자에게 명확하게 이해되어 질 수 있을 것이다.
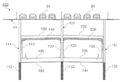
전술한 기술적 과제를 해결하기 위한 수단으로서, 본 발명에 의한 탑-다운 방식의 강제지중연속벽을 이용한 지하차도의 시공방법은, (a) 선형측량을 통해 지하차도의 좌우측벽체(110,130)와 중간벽체(120)의 지점에 상기 지하차도의 길이방향을 따라 줄파기 및 트렌치를 굴착하는 단계; (b) 상기 굴착한 좌우측벽체(110,130)와 중간벽체(120)의 트렌치에 파일을 이음결합으로 근입하여 강제지중 연속벽(111,121,131)을 각각 형성하고, 파일 하부에 콘크리트(112)로 속채움 타설하는 단계; (c) 상기 지하차도의 지상 좌측도로의 지반을 상부슬래브(160)의 심도에 맞게 터파기하고 바닥을 평평하게 고른 다음 프리캐스트 거더(140)를 상기 좌측벽체(110)의 강제지중 연속벽(111)과 상기 중간벽체(120)의 강제지중 연속벽(121) 사이에 설치한 후 토핑 콘크리트를 타설하거나 현장 타설 방식으로 상부슬래브(160)를 형성하고 상기 상부슬래브(160) 상에 방수층(170)을 형성하는 단계; (d) 상기 상부슬래브(160)의 상부를 되메우기로 복토하여 차량통행이 가능하도록 지상 좌측도로를 복원하는 단계; (e) 상기 프리캐스트 거더(140)의 하부를 하부슬래브(190)의 심도에 맞게 터파기하고 바닥을 평평하게 고른 다음 바닥면의 상부에 방수층(180)을 형성한 후 소일-시멘트를 타설하여 하부슬래브(190)를 형성하고 좌측벽체(110) 및 중간벽체(120)를 형성하는 단계; (f) 상기 지하차도의 지상 우측도로의 지반을 상부슬래브(220)의 심도에 맞게 터파기하고 바닥을 평평하게 고른 다음 프리캐스트 거더(200)를 상기 중간벽체(120)의 강제지중 연속벽(121)과 상기 우측벽체(130)의 강제지중 연속벽(131) 사이에 설치한 후 토핑 콘크리트를 타설하거나 현장 타설 방식으로 상부슬래브(220)를 형성하고 상기 상부슬래브(220) 상에 방수층(230)을 형성하는 단계; (g) 상기 상부슬래브(220)의 상부를 되메우기로 복토하여 차량통행이 가능하도록 지상 우측도로를 복원하는 단계; (h) 상기 프리캐스트 거더(200)의 하부를 하부슬래브(250)의 심도에 맞게 터파기하고 바닥을 평평하게 고른 다음 바닥면의 상부에 방수층(240)을 형성한 후 소일-시멘트를 타설하여 하부슬래브(250)를 형성하고 우측벽체(130)와 중간벽체(120) 및 부대공을 시공하는 단계; 및 (i) 상기 지하차도의 하부슬래브(190,250) 상에 아스콘으로 포장하는 단계;를 포함하여 구성될 수 있다.
상기 지하차도의 시공 방법은, 플랜지 양단에 C형 이음재(272)가 형성된 H빔 파일(270); 플랜지 양단에 I형 이음재(282)가 형성된 H빔 파일(280); 및 플랜지 양단에 T형 이음재(292)가 형성된 H빔 파일(290);을 포함하며, 상기 H빔 파일(270)의 C형 이음재(272)에 상기 H빔 파일(280)의 I형 이음재(282) 또는 상기 H빔 파일(290)의 T형 이음재(292)를 이음 결합한 후 소일-시멘트(soil-cement)를 타설 시공하여 상기 좌측 및 우측벽체(110,130)와 상기 중간벽체(120)의 강제지중 연속벽(111,121,131)을 구성할 수 있다.
상기 지하차도의 시공 방법은, 상기 H빔 파일(270)의 C형 이음재(272) 단부에 일측이 개구된 깔대기 형상의 근입 보조장치(330)가 설치될 수 있다.
상기 지하차도의 시공 방법은, 상기 H빔 파일(270,280,290)의 외측면에 플랜지보강강재(273)를 용접으로 부착하여 강성을 증가시키고, 플랜지의 양쪽 내측에 전단보강강재(275)를 용접으로 부착하여 연직방향의 전단력을 강화시킬 수 있다.
상기 지하차도의 시공 방법은, 상기 H빔 파일(270,280,290)의 이음결합 부에 실링재(300,310)를 부착하여 지수성(止水性)을 향상시킬 수 있다.
상기 지하차도의 시공 방법은, 플랜지 양단에 반고리형 이음재(342,343)가 서로 반대 방향으로 형성된 H빔 파일(340);을 포함하며, 상기 H빔 파일(340)의 반고리형 이음재(342)에 상기 H빔 파일(340)과 구성이 동일한 다른 H빔 파일의 반고리형 이음재(343)를 이음 결합한 후 소일-시멘트(soil-cement)를 타설 시공하여 상기 좌측 및 우측벽체(110,130)와 상기 중간벽체(120)의 강제지중 연속벽(111,121,131)을 구성할 수 있다.
상기 지하차도의 시공 방법은, 플랜지 양단에 '┗┛' 형 이음재(352)와 '┏┓' 형 이음재(353)가 서로 반대 방향으로 형성된 H빔 파일(350);을 포함하며, 상기 H빔 파일(350)의 '┗┛' 형 이음재(352)에 상기 H빔 파일(350)과 구성이 동일한 다른 H빔 파일의 '┏┓' 형 이음재(353)를 이음 결합한 후 소일-시멘트(soil-cement)를 타설 시공하여 상기 좌측 및 우측벽체(110,130)와 상기 중간벽체(120)의 강제지중 연속벽(111,121,131)을 구성할 수 있다.
상기 지하차도의 시공 방법은, 일측면에 C형 이음재(411c)가 형성되고 타측면에 원형 끼움재(411b)가 형성된 강관 파일(411);을 포함하고, 상기 강관 파일(411)의 C형 이음재(411c)에 상기 강관 파일(411)과 구성이 동일한 다른 강관 파일의 원형 끼움재(411b)를 이음 결합한 후 소일-시멘트(soil-cement)를 타설하여 상기 좌우측벽체(110,130)의 강제지중 연속벽(111)과 상기 중간벽체(120)의 강제지중 연속벽(121)을 구성할 수 있다.
전술한 기술적 과제를 해결하기 위한 수단으로서, 본 발명에 의한 탑-다운 방식의 강제지중연속벽을 이용한 지하차도는, 지하차도의 길이방향을 따라 파일을 이음결합으로 근입하여 강제지중 연속벽(111,121,131)을 형성하고 콘크리트로 타설 시공된 지하차도의 좌우측벽체(110,130) 및 중간벽체(120); 상기 지하차도의 지상 우측도로를 이용하여 차량 통행하면서 지상 좌측도로를 굴착하여 상부슬래브(160)의 방수층(170)까지 시공한 후 상기 상부슬래브(160)의 상부를 되메우기로 복토하여 차량통행이 가능하도록 복원한 다음 하부슬래브(190)와 좌측벽체(110) 및 중간벽체(120)를 시공하는 좌측 지하차도; 및 상기 좌측 지하차도를 시공한 다음, 상기 지상 우측도로의 지반을 굴착하여 상부슬래브(220)의 방수층(230)까지 시공한 후 상기 상부슬래브(220)의 상부를 되메우기로 복토하여 차량통행이 가능하도록 복원한 다음 하부슬래브(250)와 우측벽체(130) 및 중간벽체(120)를 시공하는 우측 지하차도;를 포함하여 구성될 수 있다.
상기 좌측 지하차도는, 상기 좌측벽체(110)의 강제지중 연속벽(111)과 상기 중간벽체(120)의 강제지중 연속벽(121) 사이에 강재브라켓(150)으로 설치된 프리캐스트 거더(140)와, 상기 프리캐스트 거더(140) 상에 토핑 콘크리트의 타설로 또는 현장 타설로 형성된 상부슬래브(160)와, 상기 상부슬래브(160) 상에 형성된 방수층(170)과, 상기 프리캐스트 거더(140)의 하부를 굴착한 바닥면의 상부에 형성된 방수층(180)과, 상기 방수층(180) 상에 소일-시멘트 타설로 형성된 하부슬래브(190)와, 상기 좌측벽체(110)의 강제지중 연속벽(111)과 상기 중간벽체(120)의 강제지중 연속벽(121)에 소일-시멘트 타설로 형성된 좌측벽체(110) 및 중간벽체(120)를 포함하여 구성될 수 있다.
상기 우측 지하차도는, 상기 우측벽체(130)의 강제지중 연속벽(131)과 상기 중간벽체(120)의 강제지중 연속벽(121) 사이에 강재브라켓(210)으로 설치된 프리캐스트 거더(200)와, 상기 프리캐스트 거더(200) 상에 토핑 콘크리트의 타설로 또는 현장 타설로 형성된 상부슬래브(220)와, 상기 상부슬래브(220) 상에 형성된 방수층(230)과, 상기 프리캐스트 거더(200)의 하부를 굴착한 바닥면의 상부에 형성된 방수층(240)과, 상기 방수층(240) 상에 소일-시멘트 타설로 형성된 하부슬래브(250)와, 상기 우측벽체(130)의 강제지중 연속벽(131)과 상기 중간벽체(120)의 강제지중 연속벽(121)에 소일-시멘트 타설로 형성된 우측벽체(130) 및 중간벽체(120)를 포함하여 구성될 수 있다.
상기 지하차도는, 플랜지 양단에 이음재가 형성된 H빔 파일을 서로 이음결합하여 연속벽으로 형성된 상기 강제지중 연속벽(111,121,131); 상기 H빔 파일의 플랜지 외측면에 용접으로 부착하여 강도를 강화시킨 플랜지보강강재(273); 상기 플랜지 내측에 용접으로 부착하여 연직방향의 전단력을 강화시킨 전단보강강재(275); 및 상기 H빔 파일의 이음결합부에 부착하여 지수성을 향상시킨 실링재(300,310);를 포함하여 구성될 수 있다.
본 발명에 따르면, 도로 한쪽을 차량 통행시키면서 도로 다른쪽을 굴착하여 상부슬래브를 시공한 다음 상부슬래브 상부를 되메우기로 복원시켜 교통을 개방하고 동시에 상부슬래브 밑에서 굴착을 진행하여 하부슬래브와 벽체를 시공하여 구조체의 강성을 확보한 후 반대편 도로를 같은 방법으로 시공함으로써, 구조체의 지지력 및 강성 확보에 따라 안전하게 시공할 수 있다. 그리고, 우회도로와 교통통제 없이 시공이 가능하고 공사기간과 공사비용을 줄일 수 있다.
또한, H빔 또는 원형 강관 등의 파일을 이음결합에 의해 강제지중 연속벽을 형성하여 지하차도의 좌우측벽체와 중간벽체를 형성하고 동시에 흙막이벽 및 차수벽의 역할을 수행함으로써, 측벽에서 작용하는 하중에 대한 지지력과 강성력을 증가시키고, 벽체의 응력과 지진에 대한 내진성을 크게 향상시킬 수 있다.
또한, 강관 또는 H빔 파일을 결합하여 연속으로 연결하여 좌우측 벽체과 중앙분리벽 벽체의 연속벽을 형성하고, 강제지중 연속벽에 프리캐스트 거더를 강재브라켓으로 설치하고 그 위에 토핑 콘크리트를 타설하거나 현장 타설 방식으로 상부슬래브를 형성하고 좌우측 벽체와 중앙분리벽 벽체를 형성함으로써, 시공이 간단하고 용이하여 공사기간과 공사비용을 줄일 수 있다.
또한, 지하차도 이외에 도로 및 하천의 옹벽, 교량의 교대, 지하 주차장의 벽체, 지하통로의 벽체, 지하철 박스구조, 수로박스, 전력구, 통신구, 공동구 등에 광범위하게 응용 및 적용할 수 있다.
본 발명의 효과는 이상에서 언급된 것들에 한정되지 않으며, 언급되지 아니한 다른 효과들은 아래의 기재로부터 당업자에게 명확하게 이해되어 질 수 있을 것이다.
도 1 내지 도 16은 본 발명의 실시예에 의한 탑-다운 방식의 강제지중연속벽을 이용한 지하차도의 시공방법을 시공 순서대로 나타낸 구성도이다.
도 17 내지 도 31은 좌우측벽체 파일과 중간벽체 파일의 실시예를 나타낸 도면으로,
도 17은 벽체파일(270)의 제1 실시예의 구성도이고,
도 18은 벽체파일(280)의 제2 실시예의 구성도이고,
도 19는 벽체파일(290)의 제3 실시예의 구성도이고,
도 20은 벽체파일(270,280)의 이음결합을 나타낸 구성도이고,
도 21은 벽체파일(270,290)의 이음결합을 나타낸 구성도이고,
도 22 및 도 23은 벽체파일(270)의 플랜지 외측면에 플랜지보강강재(273)를 부착한 예를 나타낸 구성도이고,
도 24는 벽체파일(270)의 플랜지 외측면 및 내측면에 플랜지보강강재(273)를 부착하고 플랜지면 및 웨브면에 실링재를 형성한 예를 나타낸 구성도이고,
도 25는 벽체파일(270)의 플랜지 내측에 전단보강강재(275)를 부착한 예를 나타낸 구성도이고,
도 26 및 도 27은 벽체파일(270,280)의 이음결합부에 실링재(300,310)를 부착하여 지수성을 향상시킨 예를 나타낸 구성도이고,
도 28은 벽체파일(270,280)의 이음접합부(320), 근입 보조장치(330)를 나타낸 구성도이고,
도 29는 벽체파일(340)의 제4 실시예의 구성도이고,
도 30은 벽체파일(350)의 제5 실시예의 구성도이고,
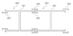
도 31은 벽체파일(360)의 제6 실시예의 구성도이다.
도 32는 벽체파일(370)의 제7 실시예의 구성도이다.
도 33은 벽체파일(380)의 제8 실시예의 구성도이다.
도 34는 벽체파일(390)의 제9 실시예의 구성도이고,
도 35 및 도 36은 벽체파일(400)의 제10 실시예의 구성도이다.
도 17 내지 도 31은 좌우측벽체 파일과 중간벽체 파일의 실시예를 나타낸 도면으로,
도 17은 벽체파일(270)의 제1 실시예의 구성도이고,
도 18은 벽체파일(280)의 제2 실시예의 구성도이고,
도 19는 벽체파일(290)의 제3 실시예의 구성도이고,
도 20은 벽체파일(270,280)의 이음결합을 나타낸 구성도이고,
도 21은 벽체파일(270,290)의 이음결합을 나타낸 구성도이고,
도 22 및 도 23은 벽체파일(270)의 플랜지 외측면에 플랜지보강강재(273)를 부착한 예를 나타낸 구성도이고,
도 24는 벽체파일(270)의 플랜지 외측면 및 내측면에 플랜지보강강재(273)를 부착하고 플랜지면 및 웨브면에 실링재를 형성한 예를 나타낸 구성도이고,
도 25는 벽체파일(270)의 플랜지 내측에 전단보강강재(275)를 부착한 예를 나타낸 구성도이고,
도 26 및 도 27은 벽체파일(270,280)의 이음결합부에 실링재(300,310)를 부착하여 지수성을 향상시킨 예를 나타낸 구성도이고,
도 28은 벽체파일(270,280)의 이음접합부(320), 근입 보조장치(330)를 나타낸 구성도이고,
도 29는 벽체파일(340)의 제4 실시예의 구성도이고,
도 30은 벽체파일(350)의 제5 실시예의 구성도이고,
도 31은 벽체파일(360)의 제6 실시예의 구성도이다.
도 32는 벽체파일(370)의 제7 실시예의 구성도이다.
도 33은 벽체파일(380)의 제8 실시예의 구성도이다.
도 34는 벽체파일(390)의 제9 실시예의 구성도이고,
도 35 및 도 36은 벽체파일(400)의 제10 실시예의 구성도이다.
아래에서는 첨부한 도면을 참조하여 본 발명이 속하는 기술분야에서 통상의 지식을 가진 자가 용이하게 실시할 수 있도록 본 발명의 실시 예를 상세히 설명한다. 그러나 본 발명은 여러 가지 상이한 형태로 구현될 수 있으며 여기에서 설명되는 실시 예에 한정되지 않는다. 그리고 도면에서 본 발명을 명확하게 설명하기 위해서 설명과 관계없는 부분은 생략하였으며, 발명의 설명 전체를 통하여 유사한 부분에 대해서는 유사한 도면 부호를 붙여 설명하기로 한다.
이하, 본 발명에서 실시하고자 하는 구체적인 기술내용에 대해 첨부도면을 참조하여 상세하게 설명하기로 한다.
실시예
도 1 내지 도 16은 본 발명의 실시예에 의한 탑-다운 방식의 강제지중연속벽을 이용한 지하차도의 시공방법을 시공 순서대로 나타낸 구성도이다.
먼저, 지하차도를 시공하기 위해서는 시공계획, 현지조사와 시험시공, 선형측량 등이 필요하다.
여기서, 시공계획은 설계 및 시공상의 특성을 충분히 고려하여 계획하여야 하며, 현지 조사는 시공에 필요한 현지조건등의 정보를 입수하기 위해 실시한다. 특히 지반 조건은 강제 지중 연속벽의 품질에 영향을 주기 때문에 지층구성, 토질, 지하수 등에 대해 조사해야 한다.
현지 조사는 플랜트장, 기자재 반입로 등을 포함한 주변 작업환경을 확인한다. 지중 매설물 등의 장애물이 예상되는 경우에는 사전에 관계기관과 연계하여 필요에 따라 시굴 등을 실시한다. 만약, 지중 장애물이 존재하면 강제지중 연속벽 공법을 횡행할 수 없게 되기 때문에, 사전에 장애물을 확인하고 제거하는 것이 바람직하다.
시공이 어려운 것으로 예상되는 경우, 시험 시공하는 것이 바람직하다.
시험 시공은 시공 속도, 시공 능률 토질 등의 확인을 위해 실시한다. 시험 시공의 결과는 필요에 따라 설계 및 시공 계획에 반영한다. 시험 시공시에는 현지 조건, 지반 조건을 고려하여 시험 목적을 명확히하고, 전체 공정 경제성을 감안하여 실시할 필요가 있다.
선형측량은 노선의 계획, 설계 및 공사를 위하여 노선을 중심으로 측량을 실시하며, 최근에는 GSIS 방법에 의하여 최적 노선을 선정한다. 그리고, 평면도, 종단면도, 횡단면도 등을 통하여 성토 및 절토량을 계산한다.
이하, 첨부도면을 참조하여 본 발명의 강제지중 연속벽을 이용한 지하차도의 시공 방법에 대해 설명하기로 한다.
상기 선형측량을 통해 지하차도를 건설할 위치에 내벽에 해당되는 좌우측벽체(110,130)와 중간벽체(120)를 형성하기 위한 줄파기(11) 및 트렌치(12)를 굴착하게 된다. 상기 줄파기(11) 및 트렌치(12)는 시공하고자 하는 지하차도의 좌우측벽체(110,130)와 중간벽체(120)의 지점에 상기 지하차도의 길이방향(종방향)을 따라 굴착하게 되며, TRD 공법기(20)의 커터(Cutter)(21)를 사용하여 굴착될 수 있다. 이때, 트렌치(12)의 깊이는 시공하고자 하는 지하차도의 하부슬래브(190,250) 보다 더 깊게 형성된다.
상기 굴착한 좌우측벽체(110,130)의 트렌치와 중간벽체(120)의 트렌치에 파일(예를 들어, H빔 파일, 원형 강관 등)을 이음결합으로 근입하여 지하차도의 길이방향으로 강제지중 연속벽(111,121,131)을 각각 형성하고, 파일 하부에 콘크리트(112)를 타설하여 속채움을 한다. 이때, 상기 강제지중 연속벽(111,121,131)은 지하차도의 하부슬래브(190,250) 보다 더 깊게 형성되어야 한다(도 6 참조). 또한, 상기 강제지중 연속벽(111,121,131)은 지하차도의 좌우측벽체(110,130)와 중간벽체(120)로 구성되면서 흙막이벽 및 차수벽의 역할을 함께 수행함으로써, 측벽 하중에 대한 지지력과 강성력을 증가시키고, 벽체의 응력과 지진에 대한 내진성을 크게 향상시킬 수 있다.
상기 강제지중 연속벽(111,121,131)은 H빔, 원형 강관 등 다양한 형태의 파일을 이용하여 이음결합에 의해 연속적으로 설치될 수 있다. 상기 강제지중 연속벽(111,121,131)의 실시예에 대해서는 후술하는 도 17 내지 도 36에서 상세하게 설명하기로 한다.
본 발명에 의한 탑-다운 방식의 강제지중연속벽을 이용한 지하차도의 시공방법은, 지하차도의 길이방향으로 상기 좌우측벽체(110,130)의 강제지중 연속벽(111,131)과 상기 중간벽체(120)의 강제지중 연속벽(121)을 시공한 후, 상기 지하차도의 지상 좌측도로(또는, 지상 우측도로)를 굴착하여 상부슬래브(160)의 방수층(170)까지 시공한 후 상부슬래브(160)의 상부를 되메우기로 복토하여 차량통행이 가능하도록 복원한 다음 하부슬래브(190)와 좌측벽체(110) 및 중간벽체(120)를 시공한 다음, 상기 지하차도의 지상 우측도로(또는, 지상 좌측도로)를 굴착하여 상부슬래브(220)의 방수층(230)까지 시공한 후 상부슬래브(220)의 상부를 되메우기로 복토하여 차량통행이 가능하도록 복원한 다음 하부슬래브(250)와 우측벽체(130) 및 중간벽체(120)를 시공함으로써, 공사구간에 차량을 통제하거나 우회도로를 별도로 설치하지 않아도 된다.
예를 들어, 상기 지하차도의 지상 좌측도로의 지반을 상기 지하차도의 상부슬래브(160)의 심도에 맞게 터파기하고 바닥을 평평하게 고른 다음, 프리캐스트 거더(140)를 설치한다. 이때, 상기 터파기의 바닥면은 상기 프리캐스트 거더(140)를 설치하기 위해 상기 프리캐스트 거더(140)의 높이보다 더 깊게 굴착되어야 한다(도 5 내지 도 7 참조).
이후, 상기 좌측벽체(110)의 강제지중 연속벽(111)과 상기 중간벽체(120)의 강제지중 연속벽(121) 사이에는 프리캐스트 거더(140)가 설치될 수 있다. 상기 프리캐스트 거더(140)는 강재브라켓(150)과 스터드(stud)를 이용하여 설치될 수 있다(도 5 참조). 이때, 상기 프리캐스트 거더(140)는 공장에서 콘크리트 타설로 시공된 완성품으로 지하도로 시공 현장으로 운반하여 설치 조립된다.
이후, 상기 프리캐스트 거더(140) 상부에 토핑 콘크리트를 타설하거나 동바리 및 거푸집을 이용하여 현장 타설 방식으로 상부슬래브(160)를 형성한다. 이때, 상기 프리캐스트 거더(140)의 양쪽 측벽과 그 아래에도 콘크리트가 동시에 타설되어 좌측벽체와 중간벽체의 일부가 형성되도록 함으로써, 상기 상부슬래브(160)와 상기 프리캐스트 거더(140)의 하중을 충분히 지지할 수 있도록 한다.
그리고, 상기 상부슬래브(160) 상에는 방수도막 처리를 하거나 방수재(예, 방수시트)로 방수층(170)을 형성한다(도 6 참조). 이때, 상기 방수층(170)은 보호몰탈 방수시트층으로 시공될 수도 있다.
이후, 상기 상부슬래브(160)의 상부를 되메우기로 복토하여 차량통행이 가능하도록 지상 좌측도로를 복원한다(도 7 참조).
이후, 상기 프리캐스트 거더(140)의 하부를 상기 지하차도의 하부슬래브(190)의 심도에 맞게 터파기하고 바닥을 평평하게 고른 다음, 터파기의 바닥면 상부에 방수도막을 처리하거나 방수시트로 방수층(180)을 형성한다. 그리고, 상기 방수층(180) 상부에 소일-시멘트(soil-cement)를 타설하여 하부슬래브(190)를 형성한다(도 8 참조).
참고로, 도 8에서 상기 하부슬래브(190)의 좌측에 표기된 도면부호 191은 공동구, 도면부호 192는 배수구를 나타낸다.
이후, 지하차도의 양측 내벽에 소일-시멘트(soil-cement)를 타설하여 좌측벽체(110) 및 중간벽체(120)를 형성한다(도 9 참조).
그 다음, 상기 지하차도의 지상 우측도로의 지반을 상기 지하차도의 상부슬래브(220)의 심도에 맞게 터파기하고 바닥을 평평하게 고른 다음, 프리캐스트 거더(200)를 설치한다. 이때, 상기 터파기의 바닥면은 상기 프리캐스트 거더(200)를 설치하기 위해 상기 프리캐스트 거더(200)의 높이보다 더 깊게 굴착되어야 한다(도 10 내지 도 11 참조).
이후, 상기 중간벽체(120)의 강제지중 연속벽(121)과 상기 우측벽체(130)의 강제지중 연속벽(131) 사이에는 프리캐스트 거더(200)가 설치될 수 있다. 상기 프리캐스트 거더(200)는 강재브라켓(210)과 스터드(stud)를 이용하여 설치될 수 있다(도 10 참조). 이때, 상기 프리캐스트 거더(200)는 공장에서 콘크리트 타설로 시공된 완성품으로 지하도로 시공 현장으로 운반하여 설치 조립된다.
이후, 상기 프리캐스트 거더(200) 상부에 토핑 콘크리트를 타설하거나 동바리 및 거푸집을 이용하여 현장 타설 방식으로 상부슬래브(220)를 형성한다. 이때, 상기 프리캐스트 거더(200)의 양쪽 측벽과 그 아래에도 콘크리트가 동시에 타설되어 좌측벽체와 중간벽체의 일부가 형성되도록 함으로써, 상기 상부슬래브(220)와 상기 프리캐스트 거더(200)의 하중을 충분히 지지할 수 있도록 한다.
그리고, 상기 상부슬래브(220) 상에는 방수도막을 처리하거나 방수시트로 방수층(230)을 형성한다(도 12 참조).
이후, 상기 상부슬래브(220)의 상부를 되메우기로 복토하여 차량통행이 가능하도록 지상 우측도로를 복원한다(도 13 참조).
이후, 상기 프리캐스트 거더(200)의 하부를 상기 지하차도의 하부슬래브(250)의 심도에 맞게 터파기하고 바닥을 평평하게 고른 다음, 터파기의 바닥면 상부에 방수도막을 처리하거나 방수시트로 방수층(240)을 형성한다. 그리고, 상기 방수층(240) 상부에 소일-시멘트(soil-cement)를 타설하여 하부슬래브(250)를 형성한다(도 14 참조).
참고로, 도 14에서 상기 하부슬래브(250)의 우측에 표기된 도면부호 251은 공동구, 도면부호 252는 배수구를 나타낸다.
이후, 지하차도의 양측 내벽에 소일-시멘트(soil-cement)를 타설하여 중간벽체(120) 및 우측벽체(130)를 형성한다(도 15 참조).
마지막으로, 상기 지하차도의 하부슬래브(190,250) 상에 아스콘으로 포장도로(260)를 시공하여 지하차도를 완공하게 된다(도 16 참조).
한편, 본 발명은, 상기 프리캐스트 거더(140,200)를 설치하지 않고 토핑 콘크리트를 타설하거나 동바리 및 거푸집을 이용하여 현장 타설 방식으로 상부슬래브(160,220)를 형성하여 시공할 수도 있다.
상술한 바와 같이, 본 발명에 의한 탑-다운 방식의 강제지중연속벽을 이용한 지하차도의 시공방법은, 도로 한쪽을 차량 통행시키면서 도로 다른쪽을 굴착하여 상부슬래브를 시공한 다음 상부슬래브 상부를 되메우기로 복원시켜 교통을 개방하고 동시에 상부슬래브 밑에서 굴착을 진행하여 하부슬래브와 벽체를 시공하여 구조체의 강성을 확보한 후 반대편 도로를 같은 방법으로 시공함으로써, 구조체의 지지력 및 강성 확보에 따라 도로 차단과 우회도로 없이도 안전하고 신속하게 지하차도를 시공할 수 있다.
또한, 본 발명은, H빔 또는 원형 강관 등의 파일을 이음결합에 의해 강제지중 연속벽을 형성하여 지하차도의 좌우측벽체(110,130)와 중간벽체(120)를 형성함과 동시에 흙막이벽 및 차수벽의 역할을 동시에 수행함으로써, 측벽에서 작용하는 하중에 대한 지지력과 강성력을 증가시키고, 벽체의 응력과 지진에 대한 내진성을 크게 향상시킬 수 있다.
지하차도의 실시예
본 발명에 의한 탑-다운 방식의 강제지중연속벽을 이용한 지하차도는 도 1 내지 도 16에 나타낸 바와 같이, 지하차도의 좌우측벽체(110,130) 및 중간벽체(120), 좌우측 지하차도를 포함하여 구성될 수 있다.
상기 지하차도의 좌우측벽체(110,130) 및 중간벽체(120)는 지하차도의 길이방향을 따라 파일을 이음결합으로 근입하여 강제지중 연속벽(111,121,131)을 형성하고 콘크리트로 타설 시공될 수 있다.
상기 좌측 지하차도는, 상기 지하차도의 지상 우측도로를 이용하여 차량 통행하면서 지상 좌측도로를 굴착하여 상부슬래브(160)의 방수층(170)까지 시공한 후 상기 상부슬래브(160)의 상부를 되메우기로 복토하여 차량통행이 가능하도록 복원한 다음 하부슬래브(190)와 좌측벽체(110) 및 중간벽체(120)를 시공하도록 구성된다.
상기 좌측 지하차도는, 상기 좌측벽체(110)의 강제지중 연속벽(111)과 상기 중간벽체(120)의 강제지중 연속벽(121) 사이에 강재브라켓(150)으로 설치된 프리캐스트 거더(140)와, 상기 프리캐스트 거더(140) 상에 토핑 콘크리트의 타설로 또는 동바리 및 거푸집을 이용하여 현장 타설로 형성된 상부슬래브(160)와, 상기 상부슬래브(160) 상에 형성된 방수층(170)과, 상기 프리캐스트 거더(140)의 하부를 굴착한 바닥면의 상부에 형성된 방수층(180)과, 상기 방수층(180) 상에 소일-시멘트 타설로 형성된 하부슬래브(190)와, 상기 좌측벽체(110)의 강제지중 연속벽(111)과 상기 중간벽체(120)의 강제지중 연속벽(121)에 소일-시멘트 타설로 형성된 좌측벽체(110) 및 중간벽체(120)를 포함하여 구성될 수 있다.
상기 우측 지하차도는, 상기 좌측 지하차도를 시공한 다음, 상기 지상 우측도로의 지반을 굴착하여 상부슬래브(220)의 방수층(230)까지 시공한 후 상기 상부슬래브(220)의 상부를 되메우기로 복토하여 차량통행이 가능하도록 복원한 다음 하부슬래브(250)와 우측벽체(130) 및 중간벽체(120)를 시공하도록 구성된다.
상기 우측 지하차도는, 상기 우측벽체(130)의 강제지중 연속벽(131)과 상기 중간벽체(120)의 강제지중 연속벽(121) 사이에 강재브라켓(210)으로 설치된 프리캐스트 거더(200)와, 상기 프리캐스트 거더(200) 상에 토핑 콘크리트의 타설로 또는 동바리 및 거푸집을 이용하여 현장 타설로 형성된 상부슬래브(220)와, 상기 상부슬래브(220) 상에 형성된 방수층(230)과, 상기 프리캐스트 거더(200)의 하부를 굴착한 바닥면의 상부에 형성된 방수층(240)과, 상기 방수층(240) 상에 소일-시멘트 타설로 형성된 하부슬래브(250)와, 상기 우측벽체(130)의 강제지중 연속벽(131)과 상기 중간벽체(120)의 강제지중 연속벽(121)에 소일-시멘트 타설로 형성된 우측벽체(130) 및 중간벽체(120)를 포함하여 구성될 수 있다.
한편, 본 발명에 의한 지하차도는, 상기 프리캐스트 거더(140,200)를 설치하지 않고 토핑 콘크리트를 타설하거나 동바리 및 거푸집을 이용하여 현장 타설 방식으로 상부슬래브(160,220)를 형성하여 시공할 수도 있다.
그리고, 상기 지하차도의 심도가 깊을 경우, 상기 상부슬래브(160,220) 상부의 좌우측벽체(110,130)의 강제지중 연속벽(111,131)과 상기 중간벽체(120)의 강제지중 연속벽(121) 사이에 버팀보(미도시)를 설치하여 강성을 확보하도록 구성될 수 있다.
벽체파일의 실시예
도 17 내지 도 31은 좌우측벽체 파일과 중간벽체 파일의 실시예를 나타낸 도면이다.
먼저, 도 17은 벽체파일(270)의 제1 실시예로서, 플랜지 양단에 C형 이음재(272)가 형성된 H빔 파일(270)로 구성된다.
그리고, 도 18은 벽체파일(280)의 제2 실시예로서, 플랜지 양단에 I형 이음재(282)가 형성된 H빔 파일(280)로 구성된다.
또한, 도 19는 벽체파일(290)의 제3 실시예로서, 플랜지 양단에 T형 이음재(292)가 형성된 H빔 파일(290)로 구성된다.
도 20은 벽체파일(270,280)의 이음결합을 나타낸 구성도로서, 상기 H빔 파일(270)의 C형 이음재(272)에 상기 H빔 파일(280)의 I형 이음재(282)를 이음 결합하여 연속벽을 형성시킬 수 있다. 상기 H빔 파일(270,280)과 상기 C형 이음재(272)와 I형 이음재(282)의 이음결합부에 소일-시멘트(soil-cement)를 타설 시공하여 상기 좌측 및 우측벽체(110,130)와 상기 중간벽체(120)의 강제지중 연속벽(111,121,131)을 구성할 수 있다.
도 21은 벽체파일(270,290)의 이음결합을 나타낸 구성도로서, 상기 H빔 파일(270)의 C형 이음재(272)에 상기 H빔 파일(290)의 T형 이음재(292)를 이음 결합하여 연속벽을 형성시킬 수 있다. 상기 H빔 파일(270,290)과 상기 C형 이음재(272)와 T형 이음재(292)의 이음결합부에 소일-시멘트(soil-cement)를 타설 시공하여 상기 좌측 및 우측벽체(110,130)와 상기 중간벽체(120)의 강제지중 연속벽(111,121,131)을 구성할 수 있다.
도 22 및 도 23은 벽체파일(270)의 플랜지 외측면에 플랜지보강강재(273)를 부착한 예를 나타낸 구성도이다.
여기서, 도 22의 경우, 상기 벽체파일(270)의 플랜지 외측면 전체에 플랜지보강강재(273)를 용접으로 부착하여, 강성 및 응력을 크게 증가시킬 수 있다.
도 23의 경우, 상기 벽체파일(270)의 플랜지 외측면 부분에 플랜지보강강재(273)를 용접으로 부착하여, 플랜지의 강성 및 응력을 크게 보강하여 증가시킬 수 있다.
도 24는 벽체파일(270)의 플랜지 외측면 및 내측면에 플랜지보강강재(273)를 부착하고, 상기 플랜지보강강재(273)가 부착되지 않은 플랜지면 및 웨브면에 실링재를 형성한 예를 나타낸 구성도로서, 플랜지의 강성 및 응력 증가와 함께 지수성을 향상시킬 수 있다.
도 25는 벽체파일(270)의 플랜지 내측에 전단보강강재(275)를 부착한 예를 나타낸 구성도로서, 연직 방향의 휨모멘트 및 축력과 전단력을 크게 향상시킬 수 있다.
도 26 및 도 27은 벽체파일(270,280)의 이음결합부에 실링재(300,310)를 부착하여 지수성을 향상시킨 예를 나타낸 구성도로서, 벽체파일(270,280)의 이음결합부에 부정형실링재(300), 띠상실링재(310)를 설치하고 내벽 콘크리트(60)로 억제함으로써, 높은 지수성을 얻을 수 있다. 여기서, 도면부호 50은 소일 시멘트를 나타낸다.
도 28은 벽체파일(270,280)의 이음접합부(320), 근입 보조장치(330)를 나타낸 구성도이다. 상기 이음접합부(320)는 2개의 벽체파일(270,280)을 이음접합하여 하나로 연결하는 역할을 하며, 상기 근입 보조장치(330)는 일측이 개구된 깔대기 형상을 가지며, 상기 H빔 파일(270)의 C형 이음재(272) 단부에 설치될 수 있다.
도 29는 제4 실시예에 의한 벽체파일(340)의 구성도로서, 플랜지 양단에 반고리형 이음재(342,343)가 서로 반대 방향으로 형성된 H빔 파일(340)로 구성되며, 상기 H빔 파일(340)의 반고리형 이음재(342)에 상기 H빔 파일(340)과 구성이 동일한 다른 H빔 파일의 반고리형 이음재(343)를 대향 결합한 후 소일-시멘트(soil-cement)를 타설 시공하여 상기 좌측 및 우측벽체(110,130)와 상기 중간벽체(120)의 강제지중 연속벽(111,121,131)을 형성시킬 수 있다.
도 30은 제5 실시예에 의한 벽체파일(350)의 구성도로서, 플랜지 양단에 '┗┛' 형 이음재(352)와 '┏┓' 형 이음재(353)가 서로 반대 방향으로 형성된 H빔 파일(350)로 구성되며, 상기 H빔 파일(350)의 '┗┛' 형 이음재(352)에 상기 H빔 파일(350)과 구성이 동일한 다른 H빔 파일의 '┏┓' 형 이음재(353)를 대향 결합한 후 소일-시멘트(soil-cement)를 타설 시공하여 상기 좌측 및 우측벽체(110,130)와 상기 중간벽체(120)의 강제지중 연속벽(111,121,131)을 형성시킬 수 있다.
도 31은 제6 실시예에 의한 벽체파일(360)의 구성도로서, 플랜지 양단에 '┗┛' 형 이음재(352)와 '┏┓' 형 이음재(353)가 서로 반대 방향으로 형성되고, 플랜지 양단 단부가 '┗'형과 '┓'형으로 절곡된 H빔 파일(350)로 구성되며, 상기 H빔 파일(350)의 '┗┛' 형 이음재(352)에 상기 H빔 파일(350)과 구성이 동일한 다른 H빔 파일의 '┏┓' 형 이음재(353)를 대향 결합하고 플랜지 단부의 '┓'형과 '┗'형을 대향 배치한 후 소일-시멘트(soil-cement)를 타설 시공하여 상기 좌측 및 우측벽체(110,130)와 상기 중간벽체(120)의 강제지중 연속벽(111,121,131)을 형성시킬 수 있다.
지하차도의 다른 실시예
본 발명에 의한 탑-다운 방식의 강제지중연속벽을 이용한 지하차도의 다른 실시예는, 상기 좌우측벽체(110,130)의 강제지중 연속벽(111,131)과 상기 중간벽체(120)의 강제지중 연속벽(121)을 강관 파일(370)로 이음결합하여 구성시킬 수도 있다.
도 32는 제7 실시예에 의한 벽체파일의 구성도로서, 플랜지 일측에 C형 이음재(371)가 형성되고, 타측에 T형 끼움재(372)가 형성된 강관 파일(370)으로 구성될 수 있다.
상기 벽체파일의 제7 실시예는 상기 강관 파일(370)의 C형 이음재(371)에 상기 강관 파일(370)과 구성이 동일한 다른 강관 파일(370)의 T형 끼움재(372)를 결합한 후 소일-시멘트(soil-cement)를 타설 시공하여 상기 좌측 및 우측벽체(110,130)와 상기 중간벽체(120)의 강제지중 연속벽(111,121,131)을 형성시킬 수 있다.
도 33은 제8 실시예에 의한 벽체파일의 구성도로서, 플랜지 일측에 C형 이음재(381)가 형성되고, 타측에 원형 끼움재(382)가 형성된 강관 파일(380)으로 구성될 수 있다.
상기 벽체파일의 제8 실시예는 상기 강관 파일(380)의 C형 이음재(381)에 상기 강관 파일(380)과 구성이 동일한 다른 강관 파일(380)의 원형 끼움재(382)를 결합한 후 소일-시멘트(soil-cement)를 타설 시공하여 상기 좌측 및 우측벽체(110,130)와 상기 중간벽체(120)의 강제지중 연속벽(111,121,131)을 형성시킬 수 있다.
도 34는 제9 실시예에 의한 벽체파일의 구성도로서, 플랜지 일측에 C형 이음재(391)가 형성되고, 타측에 원형 끼움재(392)가 형성된 강관 파일(390)으로 구성될 수 있다.
상기 벽체파일의 제9 실시예는 상기 강관 파일(390)의 형 이음재(391)에 상기 강관 파일(390)과 구성이 동일한 다른 강관 파일(390)의 T형 끼움재(382)를 결합한 후 소일-시멘트(soil-cement)를 타설 시공하여 상기 좌측 및 우측벽체(110,130)와 상기 중간벽체(120)의 강제지중 연속벽(111,121,131)을 형성시킬 수 있다.
도 35 및 도 36은 제10 실시예에 의한 벽체파일의 구성도로서, 플랜지의 일측 단부에 형 이음재(401)가 형성되고 타측 단부에 형 이음재(402)가 형성된 H빔 파일(400)로 구성되며, 상기 H빔 파일(400)의 형 이음재(401)와 상기 H빔 파일(400)과 동일한 구성을 갖는 다른 H빔 파일의 형 이음재(402)를 대향 배치한 후 소일-시멘트(soil-cement)를 타설 시공하여 상기 좌측 및 우측벽체(110,130)와 상기 중간벽체(120)의 강제지중 연속벽(111,121,131)을 형성시킬 수 있다.
또한, 본 발명은 지하차도 상부에 터파기로 인해 상기 좌우측벽체(410,430)의 강제지중 연속벽(411,431)과 상기 중간벽체(420)의 강제지중 연속벽(421)의 강도를 보강하기 위하여 수평 및 수직 방향으로 버팀보(미도시)가 설치될 수 있다. 이때, 상기 버팀보는 H빔, 강관 등 통상적으로 사용되는 모든 자재로 구성될 수 있다.
상술한 바와 같이, 본 발명에 의한 탑-다운 방식의 강제지중연속벽을 이용한 지하차도 및 그의 시공방법은, 도로 한쪽을 차량 통행시키면서 도로 다른쪽을 굴착하여 상부슬래브를 시공한 다음 상부슬래브 상부를 되메우기로 복원시켜 교통을 개방하고 동시에 상부슬래브 밑에서 굴착을 진행하여 하부슬래브와 벽체를 시공하여 구조체의 강성을 확보한 후 반대편 도로를 같은 방법으로 시공함으로써, 본 발명의 기술적 과제를 해결할 수가 있다.
또한, H빔 또는 원형 강관 등의 파일을 이음결합에 의해 강제지중 연속벽을 형성하여 지하차도의 좌우측벽체와 중간벽체를 형성하고 동시에 흙막이벽 및 차수벽의 역할을 수행함으로써, 본 발명의 기술적 과제를 해결할 수가 있다.
이상에서 설명한 본 발명의 바람직한 실시 예들은 기술적 과제를 해결하기 위해 개시된 것으로, 본 발명이 속하는 기술 분야에서 통상의 지식을 가진 자(당업자)라면 본 발명의 사상과 범위 안에서 다양한 수정, 변경, 부가 등이 가능할 것이며, 이러한 수정 변경 등은 이하의 청구범위에 속하는 것으로 보아야 할 것이다.
10 : 지반
11 : 줄파기구멍(임시구멍)
12 : 트렌치(Trench) 20 : TRD 공법기
21 : 커터(Cutter) 30 : 차량
40 : 굴착기 50 : 소일 시멘트
60 : 내벽콘크리트 100 : 지하차도
110 : 외측벽체(좌측벽체) 111 : 좌측벽체의 강제지중 연속벽
112 : 콘크리트 120 : 중간벽체(중앙분리벽 벽체)
121 : 중간벽체의 강제지중 연속벽 122 : 콘크리트
130 : 외측벽체(우측벽체) 131 : 우측벽체의 강제지중 연속벽
132 : 콘크리트
140 : 좌측 프리캐스트 거더(Precast Girder)
150 : 강재브라켓 160 : 좌측 상부슬래브
170 : 상부 방수층 180 : 하부 방수층
190 : 좌측 하부슬래브 191 : 공동구
192 : 배수로
200 : 우측 프리캐스트 거더(Precast Girder)
210 : 강재브라켓 220 : 우측 상부슬래브
230 : 상부 방수층 240 : 하부 방수층
250 : 우측 하부슬래브 251 : 공동구
252 : 배수로 260 : 포장도로
270 : 플랜지 양단에 C형 이음재가 형성된 H빔 파일
271 : 몸체 272 : C형 이음재
273, 274 : 플랜지보강강재 275 : 전단보강강재
280 : 플랜지 양단에 I형 이음재가 형성된 H빔 파일
281 : 몸체 282 : I형 이음재
283, 284 : 플랜지보강강재
290 : 플랜지 양단에 T형 이음재가 형성된 H빔 파일
291 : 몸체 292 : T형 이음재
300 : 부정형실링재 310 : 띠상실링재
320 : 이음접합부 330 : 근입 보조장치
340 : 플랜지 양단에 반고리형 이음재가 형성된 H빔 파일
341 : 몸체 342 : 반고리형 이음재
350 : 플랜지 양단에 '┏┓' 또는 '┗┛' 형 이음재가 형성된 H빔 파일
351 : 몸체 352 : '┏┓' 또는 '┗┛' 형 이음재
360 : 플랜지 양단에 '┏┓' 또는 '┗┛' 형 이음재가 형성된 H빔 파일
361 : 몸체 362 : '┏┓' 또는 '┗┛' 형 이음재
370 : 강관 파일 371 : C형 이음재
372 : T형 끼움재 380 : 강관 파일
381 : C형 이음재 382 : 원형 끼움재
390 : 강관 파일 391 : 형 이음재
392 : T형 끼움재
400 : 플랜지 양단에 이음재가 형성된 H빔 파일
401 : 형 이음재 402 : 형 이음재
12 : 트렌치(Trench) 20 : TRD 공법기
21 : 커터(Cutter) 30 : 차량
40 : 굴착기 50 : 소일 시멘트
60 : 내벽콘크리트 100 : 지하차도
110 : 외측벽체(좌측벽체) 111 : 좌측벽체의 강제지중 연속벽
112 : 콘크리트 120 : 중간벽체(중앙분리벽 벽체)
121 : 중간벽체의 강제지중 연속벽 122 : 콘크리트
130 : 외측벽체(우측벽체) 131 : 우측벽체의 강제지중 연속벽
132 : 콘크리트
140 : 좌측 프리캐스트 거더(Precast Girder)
150 : 강재브라켓 160 : 좌측 상부슬래브
170 : 상부 방수층 180 : 하부 방수층
190 : 좌측 하부슬래브 191 : 공동구
192 : 배수로
200 : 우측 프리캐스트 거더(Precast Girder)
210 : 강재브라켓 220 : 우측 상부슬래브
230 : 상부 방수층 240 : 하부 방수층
250 : 우측 하부슬래브 251 : 공동구
252 : 배수로 260 : 포장도로
270 : 플랜지 양단에 C형 이음재가 형성된 H빔 파일
271 : 몸체 272 : C형 이음재
273, 274 : 플랜지보강강재 275 : 전단보강강재
280 : 플랜지 양단에 I형 이음재가 형성된 H빔 파일
281 : 몸체 282 : I형 이음재
283, 284 : 플랜지보강강재
290 : 플랜지 양단에 T형 이음재가 형성된 H빔 파일
291 : 몸체 292 : T형 이음재
300 : 부정형실링재 310 : 띠상실링재
320 : 이음접합부 330 : 근입 보조장치
340 : 플랜지 양단에 반고리형 이음재가 형성된 H빔 파일
341 : 몸체 342 : 반고리형 이음재
350 : 플랜지 양단에 '┏┓' 또는 '┗┛' 형 이음재가 형성된 H빔 파일
351 : 몸체 352 : '┏┓' 또는 '┗┛' 형 이음재
360 : 플랜지 양단에 '┏┓' 또는 '┗┛' 형 이음재가 형성된 H빔 파일
361 : 몸체 362 : '┏┓' 또는 '┗┛' 형 이음재
370 : 강관 파일 371 : C형 이음재
372 : T형 끼움재 380 : 강관 파일
381 : C형 이음재 382 : 원형 끼움재
390 : 강관 파일 391 : 형 이음재
392 : T형 끼움재
400 : 플랜지 양단에 이음재가 형성된 H빔 파일
401 : 형 이음재 402 : 형 이음재
Claims (11)
- (a) 선형측량을 통해 지하차도의 좌우측벽체(110,130)와 중간벽체(120)의 지점에 상기 지하차도의 길이방향을 따라 줄파기 및 트렌치를 굴착하는 단계;
(b) 상기 굴착한 좌우측벽체(110,130)와 중간벽체(120)의 트렌치에 파일을 이음결합으로 근입하여 강제지중 연속벽(111,121,131)을 각각 형성하고, 파일 하부에 콘크리트(112)로 속채움 타설하는 단계;
(c) 상기 지하차도의 지상 좌측도로의 지반을 상부슬래브(160)의 심도에 맞게 터파기하고 바닥을 평평하게 고른 다음 프리캐스트 거더(140)를 상기 좌측벽체(110)의 강제지중 연속벽(111)과 상기 중간벽체(120)의 강제지중 연속벽(121) 사이에 설치한 후 토핑 콘크리트를 타설하거나 현장 타설 방식으로 상부슬래브(160)를 형성하고 상기 상부슬래브(160) 상에 방수층(170)을 형성하는 단계;
(d) 상기 상부슬래브(160)의 상부를 되메우기로 복토하여 차량통행이 가능하도록 지상 좌측도로를 복원하는 단계;
(e) 상기 프리캐스트 거더(140)의 하부를 하부슬래브(190)의 심도에 맞게 터파기하고 바닥을 평평하게 고른 다음 바닥면의 상부에 방수층(180)을 형성한 후 소일-시멘트를 타설하여 하부슬래브(190)를 형성하고 좌측벽체(110) 및 중간벽체(120)를 형성하는 단계;
(f) 상기 지하차도의 지상 우측도로의 지반을 상부슬래브(220)의 심도에 맞게 터파기하고 바닥을 평평하게 고른 다음 프리캐스트 거더(200)를 상기 중간벽체(120)의 강제지중 연속벽(121)과 상기 우측벽체(130)의 강제지중 연속벽(131) 사이에 설치한 후 토핑 콘크리트를 타설하거나 현장 타설 방식으로 상부슬래브(220)를 형성하고 상기 상부슬래브(220) 상에 방수층(230)을 형성하는 단계;
(g) 상기 상부슬래브(220)의 상부를 되메우기로 복토하여 차량통행이 가능하도록 지상 우측도로를 복원하는 단계;
(h) 상기 프리캐스트 거더(200)의 하부를 하부슬래브(250)의 심도에 맞게 터파기하고 바닥을 평평하게 고른 다음 바닥면의 상부에 방수층(240)을 형성한 후 소일-시멘트를 타설하여 하부슬래브(250)를 형성하고 우측벽체(130)와 중간벽체(120) 및 부대공을 시공하는 단계; 및
(i) 상기 지하차도의 하부슬래브(190,250) 상에 아스콘으로 포장하는 단계;
를 포함하는 지하차도의 시공 방법.
- 제 1 항에 있어서,
상기 지하차도의 시공 방법은,
플랜지 양단에 C형 이음재(272)가 형성된 H빔 파일(270);
플랜지 양단에 I형 이음재(282)가 형성된 H빔 파일(280); 및
플랜지 양단에 T형 이음재(292)가 형성된 H빔 파일(290);을 포함하며,
상기 H빔 파일(270)의 C형 이음재(272)에 상기 H빔 파일(280)의 I형 이음재(282) 또는 상기 H빔 파일(290)의 T형 이음재(292)를 이음 결합한 후 소일-시멘트(soil-cement)를 타설 시공하여 상기 좌측 및 우측벽체(110,130)와 상기 중간벽체(120)의 강제지중 연속벽(111,121,131)을 구성한 지하차도의 시공 방법.
- 제 2 항에 있어서,
상기 지하차도의 시공 방법은,
상기 H빔 파일(270)의 C형 이음재(272) 단부에 일측이 개구된 깔대기 형상의 근입 보조장치(330)가 설치된 지하차도의 시공 방법.
- 제 2 항에 있어서,
상기 지하차도의 시공 방법은,
상기 H빔 파일(270,280,290)의 외측면에 플랜지보강강재(273)를 용접으로 부착하여 강성을 증가시키고, 플랜지의 양쪽 내측에 전단보강강재(275)를 용접으로 부착하여 연직방향의 전단력을 강화시킨 지하차도의 시공 방법.
- 제 2 항에 있어서,
상기 지하차도의 시공 방법은,
상기 H빔 파일(270,280,290)의 이음결합 부에 실링재(300,310)를 부착하여 지수성(止水性)을 향상시킨 지하차도의 시공 방법.
- 제 1 항에 있어서,
상기 지하차도의 시공 방법은,
플랜지 양단에 반고리형 이음재(342,343)가 서로 반대 방향으로 형성된 H빔 파일(340);을 포함하며,
상기 H빔 파일(340)의 반고리형 이음재(342)에 상기 H빔 파일(340)과 구성이 동일한 다른 H빔 파일의 반고리형 이음재(343)를 이음 결합한 후 소일-시멘트(soil-cement)를 타설 시공하여 상기 좌측 및 우측벽체(110,130)와 상기 중간벽체(120)의 강제지중 연속벽(111,121,131)을 구성한 지하차도의 시공 방법.
- 제 1 항에 있어서,
상기 지하차도의 시공 방법은,
플랜지 양단에 '┗┛' 형 이음재(352)와 '┏┓' 형 이음재(353)가 서로 반대 방향으로 형성된 H빔 파일(350);을 포함하며,
상기 H빔 파일(350)의 '┗┛' 형 이음재(352)에 상기 H빔 파일(350)과 구성이 동일한 다른 H빔 파일의 '┏┓' 형 이음재(353)를 이음 결합한 후 소일-시멘트(soil-cement)를 타설 시공하여 상기 좌측 및 우측벽체(110,130)와 상기 중간벽체(120)의 강제지중 연속벽(111,121,131)을 구성한 지하차도의 시공 방법.
- 제 1 항에 있어서,
상기 지하차도의 시공 방법은,
일측에 C형 이음재(371)가 형성되고 타측에 T형 끼움재(372)가 형성된 강관 파일(370);을 포함하고,
상기 강관 파일(370)의 C형 이음재(371)에 상기 강관 파일(370)과 구성이 동일한 다른 강관 파일의 T형 끼움재(372)를 이음 결합한 후 소일-시멘트(soil-cement)를 타설하여 상기 좌우측벽체(110,130)의 강제지중 연속벽(111)과 상기 중간벽체(120)의 강제지중 연속벽(121)을 구성한 지하차도의 시공 방법.
- 지하차도의 길이방향을 따라 파일을 이음결합으로 근입하여 강제지중 연속벽(111,121,131)을 형성하고 콘크리트로 타설 시공된 지하차도의 좌우측벽체(110,130) 및 중간벽체(120);
상기 지하차도의 지상 우측도로를 이용하여 차량 통행하면서 지상 좌측도로를 굴착하여 상부슬래브(160)의 방수층(170)까지 시공한 후 상기 상부슬래브(160)의 상부를 되메우기로 복토하여 차량통행이 가능하도록 복원한 다음 하부슬래브(190)와 좌측벽체(110) 및 중간벽체(120)를 시공하는 좌측 지하차도; 및
상기 좌측 지하차도를 시공한 다음, 상기 지상 우측도로의 지반을 굴착하여 상부슬래브(220)의 방수층(230)까지 시공한 후 상기 상부슬래브(220)의 상부를 되메우기로 복토하여 차량통행이 가능하도록 복원한 다음 하부슬래브(250)와 우측벽체(130) 및 중간벽체(120)를 시공하는 우측 지하차도;
를 포함하는 지하차도.
- 제 9 항에 있어서,
상기 좌측 지하차도는, 상기 좌측벽체(110)의 강제지중 연속벽(111)과 상기 중간벽체(120)의 강제지중 연속벽(121) 사이에 강재브라켓(150)으로 설치된 프리캐스트 거더(140)와, 상기 프리캐스트 거더(140) 상에 토핑 콘크리트의 타설로 또는 현장 타설로 형성된 상부슬래브(160)와, 상기 상부슬래브(160) 상에 형성된 방수층(170)과, 상기 프리캐스트 거더(140)의 하부를 굴착한 바닥면의 상부에 형성된 방수층(180)과, 상기 방수층(180) 상에 소일-시멘트 타설로 형성된 하부슬래브(190)와, 상기 좌측벽체(110)의 강제지중 연속벽(111)과 상기 중간벽체(120)의 강제지중 연속벽(121)에 콘크리트 타설로 형성된 좌측벽체(110) 및 중간벽체(120)를 포함하며,
상기 우측 지하차도는, 상기 우측벽체(130)의 강제지중 연속벽(131)과 상기 중간벽체(120)의 강제지중 연속벽(121) 사이에 강재브라켓(210)으로 설치된 프리캐스트 거더(200)와, 상기 프리캐스트 거더(200) 상에 토핑 콘크리트의 타설로 또는 현장 타설로 형성된 상부슬래브(220)와, 상기 상부슬래브(220) 상에 형성된 방수층(230)과, 상기 프리캐스트 거더(200)의 하부를 굴착한 바닥면의 상부에 형성된 방수층(240)과, 상기 방수층(240) 상에 소일-시멘트 타설로 형성된 하부슬래브(250)와, 상기 우측벽체(130)의 강제지중 연속벽(131)과 상기 중간벽체(120)의 강제지중 연속벽(121)에 콘크리트 타설로 형성된 우측벽체(130) 및 중간벽체(120)를 포함하는 지하차도.
- 제 9 항에 있어서,
상기 지하차도는,
플랜지 양단에 이음재가 형성된 H빔 파일을 서로 이음결합하여 연속벽으로 형성된 상기 강제지중 연속벽(111,121,131);
상기 H빔 파일의 플랜지 외측면에 용접으로 부착하여 강도를 강화시킨 플랜지보강강재(273);
상기 플랜지 내측에 용접으로 부착하여 연직방향의 전단력을 강화시킨 전단보강강재(275); 및
상기 H빔 파일의 이음결합부에 부착하여 지수성을 향상시킨 실링재(300,310);
를 포함하는 지하차도.
Priority Applications (1)
| Application Number | Priority Date | Filing Date | Title |
|---|---|---|---|
| KR1020190142437A KR20210055981A (ko) | 2019-11-08 | 2019-11-08 | 공사중 교통처리를 최소화한 탑-다운 방식의 강제지중연속벽을 이용한 지하차도 및 그의 시공방법 |
Applications Claiming Priority (1)
| Application Number | Priority Date | Filing Date | Title |
|---|---|---|---|
| KR1020190142437A KR20210055981A (ko) | 2019-11-08 | 2019-11-08 | 공사중 교통처리를 최소화한 탑-다운 방식의 강제지중연속벽을 이용한 지하차도 및 그의 시공방법 |
Publications (1)
| Publication Number | Publication Date |
|---|---|
| KR20210055981A true KR20210055981A (ko) | 2021-05-18 |
Family
ID=76158795
Family Applications (1)
| Application Number | Title | Priority Date | Filing Date |
|---|---|---|---|
| KR1020190142437A Abandoned KR20210055981A (ko) | 2019-11-08 | 2019-11-08 | 공사중 교통처리를 최소화한 탑-다운 방식의 강제지중연속벽을 이용한 지하차도 및 그의 시공방법 |
Country Status (1)
| Country | Link |
|---|---|
| KR (1) | KR20210055981A (ko) |
Cited By (1)
| Publication number | Priority date | Publication date | Assignee | Title |
|---|---|---|---|---|
| CN115125995A (zh) * | 2022-06-13 | 2022-09-30 | 中电建南方建设投资有限公司 | 一种装配式车站的出入口环框施工方法 |
Citations (2)
| Publication number | Priority date | Publication date | Assignee | Title |
|---|---|---|---|---|
| KR100938395B1 (ko) | 2008-12-24 | 2010-01-21 | 재단법인 포항산업과학연구원 | 강합성 벽체파일을 이용한 지하차도의 시공방법 |
| KR20110132909A (ko) | 2010-06-03 | 2011-12-09 | 김원근 | 기성 콘크리트 말뚝을 이용한 지하차도 및 그의 시공방법 |
-
2019
- 2019-11-08 KR KR1020190142437A patent/KR20210055981A/ko not_active Abandoned
Patent Citations (2)
| Publication number | Priority date | Publication date | Assignee | Title |
|---|---|---|---|---|
| KR100938395B1 (ko) | 2008-12-24 | 2010-01-21 | 재단법인 포항산업과학연구원 | 강합성 벽체파일을 이용한 지하차도의 시공방법 |
| KR20110132909A (ko) | 2010-06-03 | 2011-12-09 | 김원근 | 기성 콘크리트 말뚝을 이용한 지하차도 및 그의 시공방법 |
Cited By (2)
| Publication number | Priority date | Publication date | Assignee | Title |
|---|---|---|---|---|
| CN115125995A (zh) * | 2022-06-13 | 2022-09-30 | 中电建南方建设投资有限公司 | 一种装配式车站的出入口环框施工方法 |
| CN115125995B (zh) * | 2022-06-13 | 2024-05-10 | 中电建南方建设投资有限公司 | 一种装配式车站的出入口环框施工方法 |
Similar Documents
| Publication | Publication Date | Title |
|---|---|---|
| CN108678000B (zh) | 一种路基下穿公路u型支挡结构及其施工方法 | |
| US9322137B2 (en) | Method for building structures, particularly passages under operating railways or the like | |
| CN108868778B (zh) | 一种大型地下结构非开挖修建方法 | |
| CN104018405B (zh) | 一种“桩-锚-框架”复合的双层路基结构 | |
| KR101331261B1 (ko) | 피씨 지중연속벽을 활용하여 스트럿구조나 어스앙카 구조에서 시공가능한 지하조립식 피씨 저류조 및 이의 시공 방법 | |
| KR101344063B1 (ko) | 강합성 지하차도 시공 공법 | |
| KR20210078779A (ko) | 강제지중연속벽으로 시공완료 후 상부슬래브 상단과 노면 사이의 상부연속벽체구조물을 제거한 탑-다운 방식의 지하차도 및 그의 시공 방법 | |
| KR102431393B1 (ko) | 지하구조물 시공방법 | |
| CN109914456A (zh) | 一种桥梁与地铁隧道毗邻新建或同建时的设计施工方法 | |
| US10435854B2 (en) | Construction methods and systems for grade separation structures | |
| JP4881555B2 (ja) | 地下構造物の構築方法 | |
| KR101167511B1 (ko) | 기성 콘크리트 말뚝을 이용한 지하차도 및 그의 시공방법 | |
| KR20190079588A (ko) | 복층 터널 공법 | |
| CN1837506B (zh) | 一种在运营中的隧道上方开挖箱形结构的施工方法 | |
| CN112064751A (zh) | 一种排水管线的深沟槽施工方法 | |
| JP3586864B2 (ja) | 地下構造物の構築方法および高架式交通路 | |
| JP3893056B2 (ja) | 地下構造物の構築方法 | |
| KR20210055980A (ko) | 우회도로와 교통통제 없이 시공이 가능한 강제지중 연속벽을 이용한 탑-다운 방식의 지하차도 및 그의 시공 방법 | |
| CN115450221A (zh) | 一种地铁穿越河道的施工方法 | |
| KR20210055981A (ko) | 공사중 교통처리를 최소화한 탑-다운 방식의 강제지중연속벽을 이용한 지하차도 및 그의 시공방법 | |
| JP5915074B2 (ja) | 地上交通路の下に地下空間を形成する方法 | |
| KR101169437B1 (ko) | 트라프를 이용한 구조물 설치구조 및 시공공법 | |
| JP2000291398A (ja) | 地下構造物およびその構築方法 | |
| KR100784201B1 (ko) | 암석구간에서의 강관루프 구조체를 이용한 터널시공 방법 | |
| KR102174082B1 (ko) | 비탈면 배수로 시공방법 |
Legal Events
| Date | Code | Title | Description |
|---|---|---|---|
| PA0109 | Patent application |
Patent event code: PA01091R01D Comment text: Patent Application Patent event date: 20191108 |
|
| PA0201 | Request for examination | ||
| PE0902 | Notice of grounds for rejection |
Comment text: Notification of reason for refusal Patent event date: 20201030 Patent event code: PE09021S01D |
|
| E701 | Decision to grant or registration of patent right | ||
| PE0701 | Decision of registration |
Patent event code: PE07011S01D Comment text: Decision to Grant Registration Patent event date: 20210426 |
|
| PG1501 | Laying open of application | ||
| PC1904 | Unpaid initial registration fee |