KR20210001191A - 경사면에 설치 가능한 태양광 발전 장치 - Google Patents

경사면에 설치 가능한 태양광 발전 장치 Download PDF

Info

Publication number
KR20210001191A
KR20210001191A KR1020190076876A KR20190076876A KR20210001191A KR 20210001191 A KR20210001191 A KR 20210001191A KR 1020190076876 A KR1020190076876 A KR 1020190076876A KR 20190076876 A KR20190076876 A KR 20190076876A KR 20210001191 A KR20210001191 A KR 20210001191A
Authority
KR
South Korea
Prior art keywords
reinforcing structure
solar cell
fastening means
support substrate
support frame
Prior art date
Legal status (The legal status is an assumption and is not a legal conclusion. Google has not performed a legal analysis and makes no representation as to the accuracy of the status listed.)
Granted
Application number
KR1020190076876A
Other languages
English (en)
Other versions
KR102254431B1 (ko
Inventor
김태현
Original Assignee
주식회사 제코
Priority date (The priority date is an assumption and is not a legal conclusion. Google has not performed a legal analysis and makes no representation as to the accuracy of the date listed.)
Filing date
Publication date
Application filed by 주식회사 제코 filed Critical 주식회사 제코
Priority to KR1020190076876A priority Critical patent/KR102254431B1/ko
Publication of KR20210001191A publication Critical patent/KR20210001191A/ko
Application granted granted Critical
Publication of KR102254431B1 publication Critical patent/KR102254431B1/ko
Expired - Fee Related legal-status Critical Current
Anticipated expiration legal-status Critical

Links

Images

Classifications

    • HELECTRICITY
    • H02GENERATION; CONVERSION OR DISTRIBUTION OF ELECTRIC POWER
    • H02SGENERATION OF ELECTRIC POWER BY CONVERSION OF INFRARED RADIATION, VISIBLE LIGHT OR ULTRAVIOLET LIGHT, e.g. USING PHOTOVOLTAIC [PV] MODULES
    • H02S20/00Supporting structures for PV modules
    • H02S20/10Supporting structures directly fixed to the ground
    • HELECTRICITY
    • H02GENERATION; CONVERSION OR DISTRIBUTION OF ELECTRIC POWER
    • H02SGENERATION OF ELECTRIC POWER BY CONVERSION OF INFRARED RADIATION, VISIBLE LIGHT OR ULTRAVIOLET LIGHT, e.g. USING PHOTOVOLTAIC [PV] MODULES
    • H02S30/00Structural details of PV modules other than those related to light conversion
    • H02S30/10Frame structures
    • YGENERAL TAGGING OF NEW TECHNOLOGICAL DEVELOPMENTS; GENERAL TAGGING OF CROSS-SECTIONAL TECHNOLOGIES SPANNING OVER SEVERAL SECTIONS OF THE IPC; TECHNICAL SUBJECTS COVERED BY FORMER USPC CROSS-REFERENCE ART COLLECTIONS [XRACs] AND DIGESTS
    • Y02TECHNOLOGIES OR APPLICATIONS FOR MITIGATION OR ADAPTATION AGAINST CLIMATE CHANGE
    • Y02EREDUCTION OF GREENHOUSE GAS [GHG] EMISSIONS, RELATED TO ENERGY GENERATION, TRANSMISSION OR DISTRIBUTION
    • Y02E10/00Energy generation through renewable energy sources
    • Y02E10/50Photovoltaic [PV] energy

Landscapes

  • Photovoltaic Devices (AREA)

Abstract

본 발명은 경사면에 태양광 발전 장치를 설치하는 경우, 지상의 경사 각도에 따른 지지 프레임에 의한 태양광 지지 기판에 가해지는 스트레스를 완화하고자 태양전지 패널 지지 기판 및 지지 프레임 사이에 경사면을 가진 보강 구조체를 갖는 태양광 발전 장치를 제공하는 것을 목적으로 한다.

Description

경사면에 설치 가능한 태양광 발전 장치{SOLAR CELL GENERATION APPARATUS CAPABLE OF BEING MADE ON OBLIQUE PLANE}
본 발명은 경사면에 설치 가능한 태양광 발전 장치에 관한 것이며, 보다 상세하게는 태양광 지지 기판 및 지지 프레임 사이에 경사면을 가진 보강 구조체를 갖는 태양광 발전 장치에 관한 것이다.
태양광 발전은 다수개의 태양전지패널로 이루어진 태양광모듈을 이용하여 태양광을 직접 전기에너지로 변환시키는 발전 방식으로 다른 발전방식에 비하여 대기오염, 소음, 발열, 진동 등의 공해가 전혀 없으며, 유지관리가 용이하고 수명이 길기 때문에 새로운 에너지원으로 각광받고 있다. 이러한 태양광 발전 장치는 소규모 발전이 가능하기 때문에 정부나 지자체 뿐만 아니라 개인들도 태양광 발전장치를 설치하여 발전을 하고 있다.
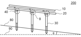
그런데 이러한 태양광 발전장치의 문제점은 경사진 부분에 설치해야 할 때, 설치상의 문제점이 발생할 수 있다. 예를 들어, 도 1에 나타난 바와 같이, 태양전지 패널(10)을 지지하고 있는 태양전지 패널 지지 기판(20)과 지지 프레임(30)은 지상(80)과 수평선(90)의 각도인 θ만큼 기울여지기 때문에, 영역 A에서 태양전지 패널 지지 기판(20)은 지지 프레임(30)에 의한 스트레스를 받게 되는 문제점이 있다. 따라서, 이에 대한 개선이 필요한 상황이다.
한국등록특허번호 10-1751643 한국등록특허번호 10-1919956 한국등록특허번호 10-1326719
본 발명은 상기와 같은 종래기술의 문제점과 과거로부터 요청되어온 기술적 과제를 해결하는 것을 목적으로 한다.
구체적으로, 본 발명은 경사면에 태양광 발전 장치를 설치하는 경우, 지상의 경사 각도에 따른 지지 프레임에 의한 태양광 지지 기판에 가해지는 스트레스를 완화하고자 태양전지 패널 지지 기판 및 지지 프레임 사이에 경사면을 가진 보강 구조체를 갖는 태양광 발전 장치를 제공하는 것을 목적으로 한다.
본 발명은 다수개로 배열된 태양전지 패널; 상기 태양전지 패널의 배면을 고정하여 지지하며, 상기 태양전지 패널의 배면과 이격된 태양전지 패널 지지 기판; 및 상기 태양전지 패널 지지 기판을 지상에 고정하기 위한 지지 프레임;을 포함하는 태양광 발전 장치이며, 상기 지지 프레임은 경사진 지상에 고정되어 있고, 상기 지지 프레임과 태양전지 패널 지지 기판 사이에 경사부를 갖는 보강 구조체를 구비하는 것을 특징으로 한다.
상기 경사부를 갖는 보강 구조체의 상부면은 하부면에 대하여 5° 내지 20° 기울어진 것을 특징으로 한다.
상기 경사부를 갖는 보강 구조체의 하부에 각관을 구비하며, 상기 태양전지 패널 지지 기판, 상기 경사부를 갖는 보강 구조체 및 각관은 제1 체결 수단에 의하여 고정되는 것을 특징으로 한다.
여기서, 상기 각관과 지지 프레임의 측면에 지지부를 더욱 구비하며, 상기 각관과 상기 지지부는 제2 체결 수단에 의하여 고정되며, 상기 지지 프레임과 상기 지지부는 제3 체결 수단에 의하여 고정되는 것을 특징으로 한다.
또한, 보강 구조체의 내부는 중공을 구비하고, 보강 구조체의 부피를 100으로 하는 경우, 중공의 부피는 30 내지 70인 것을 특징으로 한다.
이상에서 설명한 바와 같이, 본 발명의 경사면에 설치 가능한 태양광 발전 장치에 의하면, 지상의 경사 각도에 따른 지지 프레임의 상부면과 태양전지 패널 지지 기판 하부면의 접촉 면적이 증가하게 되어 안정적으로 태양광 발전 장치를 설치할 수 있다.
도 1은 종래의 태양광 발전 장치의 단면도를 나타낸다.
도 2는 본 발명의 일 실시형태인 태양광 발전 장치의 단면도를 나타낸다.
도 3은 본 발명의 보강 구조체의 다양한 실시 형태를 나타낸다.
도 4 내지 도 7은 본 발명의 보강 구조체가 설치된 태양광 발전 장치의 다양한 실시 형태를 나타낸다.
이하, 본 발명이 속하는 기술분야에서 통상의 지식을 가진 자가 본 발명의 기술적 사상을 용이하게 실시할 수 있을 정도로 상세히 설명하기 위하여, 본 발명의 가장 바람직한 실시예를 첨부 도면을 참조하여 설명하기로 한다. 또한, 본 발명을 설명함에 있어, 관련된 공지 구성 또는 기능에 대한 구체적인 설명이 본 발명의 요지를 흐릴 수 있다고 판단되는 경우에는 그 상세한 설명은 생략한다.
도 2는 본 발명의 일 실시형태인 태양광 발전 장치(200)의 단면도를 나타낸다.
본 발명의 태양광 발전 장치(200)는 다수개로 배열된 태양전지 패널(10), 상기 태양전지 패널(10)의 배면을 고정하여 지지하며, 상기 태양전지 패널(10)의 배면과 이격된 태양전지 패널 지지 기판(20) 및 상기 태양전지 패널 지지 기판(20)을 지상에 고정하기 위한 지지 프레임(30)을 포함할 수 있다.
여기서, 상기 지지 프레임(30)은 경사진 지상에 고정되어 있고, 영역 B에 나타난 바와 같이, 상기 지지 프레임(30)과 태양전지 패널 지지 기판(20) 사이에 경사부를 갖는 보강 구조체(40)를 구비할 수 있다.
경사진 지상에 태양전지 패널(10)을 설치하고자 하는 경우, 태양전지 패널 지지 기판(20)과 지지 프레임(30) 사이에 간격이 생길 수 있다. 그러나, 태양전지 패널 지지 기판(20)과 지지 프레임(30) 사이를 매울 수 있는 보강 구조체(40)를 구비함으로써, 태양전지 패널 지지 기판(20)과 지지 프레임(30)의 접촉 면적은 실질적으로 넓어지게 되어 태양전지 패널 지지 기판(20)에 걸리는 스트레스를 완화할 수 있는 효과가 있다.
도 3은 경사부를 갖는 보강 구조체(40A,40B,40C,40D,40E)의 다양한 실시 형태를 나타내고, 도 4 내지 7은 이러한 경사부를 갖는 보강 구조체(40A,40B,40C,40D)가 장착된 태양광 발전 장치(300,400,500,600)를 나타낸다.
본 발명의 경사부를 갖는 보강 구조체(40A,40B,40C,40D)는 하부면과 상부면의 각도가 1° 내지 40°인 것이 바람직하며, 3° 내지 30°인 것이 더욱 바람직하며, 5° 내지 20°인 것이 가장 바람직하다. 이러한 각도는 지상의 기울어진 기울기에 의하여 결정되는 것이나, 상기 범위에서 태양전지 패널 지지 기판(20)에 걸리는 스트레스를 완화할 수 있는 효과를 적절하게 얻을 수 있다.
도 3 (a)는 경사부를 갖는 보강 구조체(40A)의 기본 구조를 나타낸다. 즉, 도 3 (a)에 나타난 바와 같이, 보강 구조체(40A)의 제1 측면(41a)보다 제2 측면(41b)의 길이가 길고, 또한 상부면은 하부면에 대하여 경사진 것을 특징으로 한다. 이와 같이, 제1 측면(41a)보다 제2 측면(41b)을 길게 함으로써, 보강 구조체(40A)는 하부면과 상부면의 각도를 5° 내지 20°으로 조정할 수 있는 것이다.
또한, 보강 구조체(40A)의 상부면과 하부면을 관통하는 홀(43a)을 구비한다. 이러한 홀(43a)을 통하여 태양전지 패널 지지 기판(20) 및 각관(60)을 고정할 수 있다. 홀(43a)의 개수는 1개일 수 있고, 2개 이상일수 있다. 태양전지 패널 지지 기판(20) 및 각관(60)을 고정하면 홀(43a)의 개수는 이에 제한되는 것은 아니다.
보강 구조체(40A)는 알루미늄, 구리, 텅스텐, 스텐인레스, 철로부터 선택된 어느 하나 또는 둘 이상의 합금을 사용할 수 있다. 또는, 열가소성 수지, 열경화성 수지 등의 플라스틱을 사용할 수도 있다. 보강 구조체(40A)로서 금속을 사용하게 되면 접지 전극의 역할도 하는 장점이 있다.
도 3 (b)는 경사부를 갖는 보강 구조체(40B)의 다른 구조를 나타낸다. 즉, 도 3 (b)에 나타난 바와 같이, 보강 구조체(40B)의 제1 측면(41bx)보다 제2 측면(42bx)의 길이가 길고, 또한 상부면은 하부면에 대하여 경사진다. 여기서, 제1 측면(41bx)의 하부에 제1 단부(41by)를 구비하고, 제2 측면(42bx)의 하부에 제2 단부(41by)를 구비하는 것을 특징으로 한다. 이와 같이, 제1 측면(41bx) 및 제2 측면(42bx)이 각각 제1 단부(41by) 및 제2 단부(42by)를 구비함으로써 보강 구조체(40B)와 각관(60)의 고정 강도를 높여 지상으로부터 태양광 발전 장치가 안정적으로 설치될 수 있는 장점이 있다.
도 3 (c)는 제1 단부 및 제2 단부를 구비하는 보강 구조체(40C)의 다른 구조를 나타낸다. 즉, 도 3 (c)에 나타난 바와 같이, 보강 구조체(40C)의 제1 측면(41cx)보다 제2 측면(42cx)의 길이가 길고, 또한 상부면은 하부면에 대하여 경사지며, 제1 측면(41cx)의 하부에 제1 단부(41cy)를 구비하고, 제2 측면(42cx)의 하부에 제2 단부(42cy)를 구비한다. 여기서, 제1 단부(41cy) 및 제2 단부(42cy)에 홀(43c1,43c2)을 구비하는 것을 특징으로 한다. 이와 같이, 제1 단부(41cy) 및 제2 단부(42cy)에 홀(43c1,43c2)을 구비함으로써, 보강 구조체(40C)와 각관(60)을 체결 수단에 의하여 고정하여 지상으로부터 태양광 발전 장치가 안정적으로 설치될 수 있는 장점이 있다.
도 3 (d)는 경사부를 갖는 보강 구조체(40D)의 다른 구조를 나타낸다. 즉, 도 3 (d)에 나타난 바와 같이, 보강 구조체(40D)의 제1 측면(41d)보다 제2 측면(42d)의 길이가 길고, 또한 상부면은 하부면에 대하여 경사진다. 여기서, 보강 구조체(40D)의 상부면에 완충 구조체(44)를 구비함으로써, 태양전지 패널 지지 기판(20)과 보강 구조체(40D)의 경사각의 오차를 줄여 줄 수 있다. 지상으로부터 경사 또는 시공 상의 약간의 오차가 발생할 수 있고, 이러한 오차를 탄성을 갖는 완충 구조체(44)를 구비함으로써 태양광 발전 장치가 안정적으로 설치될 수 있는 장점이 있다. 완충 구조체(44)로서, 실리콘 고무, 실리콘 수지, 우레탄 등을 사용할 수 있으나, 내구성의 관점에서 실리콘 수지를 사용하는 것이 바람직하다.
도 3 (e)는 경사부를 갖는 보강 구조체(40E)의 다른 구조를 나타낸다. 즉, 도 3 (e)에 나타난 바와 같이, 보강 구조체(40D)의 제1 측면(41e)보다 제2 측면(42e)의 길이가 길고, 또한 상부면은 하부면에 대하여 경사진다. 여기서, 보강 구조체(40E)의 상부면에 홈을 구비하고, 상기 홈에 상기 홈보다 높은 길이를 갖는 완충 구조체(44k)를 구비함으로써, 태양전지 패널 지지 기판(20)과 보강 구조체(40E)의 경사각의 오차를 줄여 줄 수 있다. 특히, 이와 같은 구조를 가지면 보강 구조체의 전면을 완충 구조체가 덮는 것보다 경사각의 오차를 더욱 줄일 수 있는 장점이 있다.
여기서, 도 3 (a) 내지 (e)의 각각을 개별적으로 설명하였으나, 이들의 조합에 의한 사용도 가능하다. 예를 들어, 도 3 (b) 및 (d)의 기술적 특징으로 조합하는 보강 구조체의 형태, 즉 제1 측면(41bx) 및 제2 측면(42bx)이 각각 제1 단부(41by) 및 제2 단부(42by)를 구비하며, 또한 보강 구조체의 상부면에 완충 구조체(44)를 구비하여 사용할 수도 있고, 도 3 (c) 및 (d)의 기술적 특징으로 조합하는 보강 구조체의 형태, 즉 제1 측면(41cx) 및 제2 측면(42cx)이 각각 제1 단부(41cy) 및 제2 단부(42cy)를 구비하며, 또한 제1 단부(41cy) 및 제2 단부(42cy)의 각각에 홀(43c1,43c2)을 구비하며, 또한 보강 구조체의 상부면에 완충 구조체(44)를 구비하여 사용할 수도 있다.
또는, 도 3 (b) 및 (e)의 기술적 특징으로 조합하는 보강 구조체의 형태, 즉 제1 측면(41bx) 및 제2 측면(42bx)이 각각 제1 단부(41by) 및 제2 단부(42by)를 구비하며, 또한 보강 구조체의 홈에 완충 구조체(44k)를 구비하여 사용할 수도 있고, 도 3 (c) 및 (e)의 기술적 특징으로 조합하는 보강 구조체의 형태, 즉 제1 측면(41cx) 및 제2 측면(42cx)이 각각 제1 단부(41cy) 및 제2 단부(42cy)를 구비하며, 또한 제1 단부(41cy) 및 제2 단부(42cy)의 각각에 홀(43c1,43c2)을 구비하며, 또한 보강 구조체의 홈에 완충 구조체(44k)를 구비하여 사용할 수도 있다.
보강 구조체는 주조 등의 방법으로 제조 가능하다. 보강 구조체의 내부는 중공으로 사용될 수 있다. 예를 들어, 보강 구조체의 내부를 중공으로 하는 경우, 재료가 절약되며, 나아가 태양전지 패널 지지 기판 및 각관 사이에 보강 구조체가 압력을 받는 경우 유연성을 지닐 수 있게 되는 장점이 있다. 이러한 유연성을 가지기 위해서는 보강 구조체의 부피를 100으로 하는 경우, 중공의 부피는 30 내지 70인 것이 바람직하다. 중공의 부피가 30미만이면 태양전지 패널 지지 기판 및 각관의 압력에 의하여 보강 구조체의 변형이 일어나고, 중공의 부피가 70을 초과하면 태양전지 패널 지지 기판 및 각관의 압력에도 유연성을 얻기 어렵기 때문이다.
도 4는 도 3 (a)의 경사부를 갖는 보강 구조체(40A)가 장착된 태양광 발전 장치(300)의 확대된 단면도를 나타낸다.
태양전지 패널 지지 기판(20)과 각관(60) 사이에 경사부를 갖는 보강 구조체(40A)를 구비한다. 태양전지 패널 지지 기판(20), 경사부를 갖는 보강 구조체(40A) 및 각관(60)은 제1 체결 수단(51)에 의하여 고정될 수 있다.
여기서, 태양전지 패널 지지 기판(20), 경사부를 갖는 보강 구조체(40A) 및 각관(60)은 제1 공통 홀을 구비하여 제1 체결 수단(51)에 의하여 체결되고, 제1 체결 수단(51)은 지면에 대하여 수직하게 형성될 수 있다.
한편, 각관(60)과 지지 프레임(30)의 측면에 지지부(70)를 구비한다. 각관(60)과 지지부(70)는 제2 체결 수단(52)에 의하여 고정될 수 있으며, 지지 프레임(30)과 지지부(70)는 제3 체결 수단(53)에 의하여 고정될 수 있다.
여기서, 각관(60)과 지지부(70)는 제2 공통 홀을 구비하여 제2 체결 수단(52)에 의하여 체결되고, 제2 체결 수단(52)은 지면에 대하여 수평되게 형성될 수 있다.
또한, 지지 프레임(30)과 지지부(70)는 제3 공통 홀을 구비하여 제3 체결 수단(53)에 의하여 체결되고, 제3 체결 수단(53)은 지면에 대하여 수평되게 형성될 수 있다.
제1 체결 수단(51) 내지 제4 체결 수단(54)은 바람직하게 볼트와 너트로 이루어진 체결 수단일 수 있으나, 이에 한정되는 것은 아니다.
도 5는 도 3 (b)의 경사부를 갖는 보강 구조체(40B)가 장착된 태양광 발전 장치(400)의 확대된 단면도를 나타낸다.
태양전지 패널 지지 기판(20)과 각관(60) 사이에 경사부를 갖는 보강 구조체(40B)를 구비한다. 태양전지 패널 지지 기판(20), 경사부를 갖는 보강 구조체(40B) 및 각관(60)은 제1 체결 수단(51)에 의하여 고정될 수 있다.
여기서, 보강 구조체(40B)의 제1 측면(41bx)보다 제2 측면(42bx)의 길이가 길고, 또한 상부면은 하부면에 대하여 경사진다. 여기서, 제1 측면(41bx)의 하부에 제1 단부(41by)를 구비하고, 제2 측면(42bx)의 하부에 제2 단부(42by)를 구비하는 것을 특징으로 한다. 이와 같이, 제1 측면(41bx) 및 제2 측면(42bx)이 각각 제1 단부(42bx) 및 제2 단부(42by)를 구비함으로써 보강 구조체(40B)와 각관(60)의 고정 강도를 높여 지상으로부터 태양광 발전 장치(400)가 안정적으로 설치될 수 있는 장점이 있다.
태양전지 패널 지지 기판(20), 경사부를 갖는 보강 구조체(40B) 및 각관(60)은 제1 공통 홀을 구비하여 제1 체결 수단(51)에 의하여 체결되고, 제1 체결 수단(51)은 지면에 대하여 수직하게 형성될 수 있다.
한편, 각관(60)과 지지 프레임(30)의 측면에 지지부(70)를 구비한다. 각관(60)과 지지부(70)는 제2 체결 수단(52)에 의하여 고정될 수 있으며, 지지 프레임(30)과 지지부(70)는 제3 체결 수단(53)에 의하여 고정될 수 있다.
여기서, 각관(60)과 지지부(70)는 제2 공통 홀을 구비하여 제2 체결 수단(52)에 의하여 체결되고, 제2 체결 수단(52)은 지면에 대하여 수평되게 형성될 수 있다.
또한, 지지 프레임(30)과 지지부(70)는 제3 공통 홀을 구비하여 제3 체결 수단(53)에 의하여 체결되고, 제3 체결 수단(53)은 지면에 대하여 수평되게 형성될 수 있다.
도 6은 도 3 (c)의 경사부를 갖는 보강 구조체(40C)가 장착된 태양광 발전 장치(500)의 확대된 단면도를 나타낸다.
태양전지 패널 지지 기판(20)과 각관(60) 사이에 경사부를 갖는 보강 구조체(40C)를 구비한다. 태양전지 패널 지지 기판(20), 경사부를 갖는 보강 구조체(40C) 및 각관(60)은 제1 체결 수단(51)에 의하여 고정될 수 있다.
여기서, 보강 구조체(40C)의 제1 측면(41cx)보다 제2 측면(42cx)의 길이가 길고, 또한 상부면은 하부면에 대하여 경사지며, 제1 측면(41cx)의 하부에 제1 단부(41cy)를 구비하고, 제2 측면(42cx)의 하부에 제2 단부(42cy)를 구비한다. 여기서, 제1 단부(41cy) 및 제2 단부(42cy)에 제4 체결 수단(54)을 위한 홀을 구비하는 것을 특징으로 한다. 이와 같이, 제1 단부(41cy) 및 제2 단부(42cy)에 제4 체결 수단을 구비함으로써, 보강 구조체(40C)와 각관(60)을 제4 체결 수단(54)에 의하여 고정하여 지상으로부터 태양광 발전 장치(500)가 안정적으로 설치될 수 있는 장점이 있다.
태양전지 패널 지지 기판(20), 경사부를 갖는 보강 구조체(40C) 및 각관(60)은 제1 공통 홀을 구비하여 제1 체결 수단(51)에 의하여 체결되고, 제1 체결 수단(51)은 지면에 대하여 수직하게 형성될 수 있다.
한편, 각관(60)과 지지 프레임(30)의 측면에 지지부(70)를 구비한다. 각관(60)과 지지부(70)는 제2 체결 수단(52)에 의하여 고정될 수 있으며, 지지 프레임(30)과 지지부(70)는 제3 체결 수단(53)에 의하여 고정될 수 있다.
여기서, 각관(60)과 지지부(70)는 제2 공통 홀을 구비하여 제2 체결 수단(52)에 의하여 체결되고, 제2 체결 수단(52)은 지면에 대하여 수평되게 형성될 수 있다.
또한, 지지 프레임(30)과 지지부(70)는 제3 공통 홀을 구비하여 제3 체결 수단(53)에 의하여 체결되고, 제3 체결 수단(53)은 지면에 대하여 수평되게 형성될 수 있다.
도 7은 도 3 (d)의 경사부를 갖는 보강 구조체(40D)가 장착된 태양광 발전 장치(600)의 확대된 단면도를 나타낸다.
태양전지 패널 지지 기판(20)과 각관(60) 사이에 경사부를 갖는 보강 구조체(40D)를 구비한다. 태양전지 패널 지지 기판(20), 경사부를 갖는 보강 구조체(40D) 및 각관(60)은 제1 체결 수단(51)에 의하여 고정될 수 있다.
여기서, 보강 구조체(40D)의 제1 측면(41d)보다 제2 측면(42d)의 길이가 길고, 또한 상부면은 하부면에 대하여 경사진다. 여기서, 보강 구조체의 상부면에 완충 구조체(44)를 구비함으로써, 태양전지 패널 지지 기판(20)과 보강 구조체(40D)의 경사각의 오차를 줄여 줄 수 있다. 시공 과정에서 오차가 발생할 수 있고, 이러한 오차를 탄성을 갖는 완충 구조체(44)를 구비함으로써 태양광 발전 장치(600)가 안정적으로 설치될 수 있는 장점이 있다.
태양전지 패널 지지 기판(20), 완충 구조체(44), 경사부를 갖는 보강 구조체(40D) 및 각관(60)은 제1 공통 홀을 구비하여 제1 체결 수단(51)에 의하여 체결되고, 제1 체결 수단(51)은 지면에 대하여 수직하게 형성될 수 있다.
한편, 각관(60)과 지지 프레임(30)의 측면에 지지부(70)를 구비한다. 각관(60)과 지지부(70)는 제2 체결 수단(52)에 의하여 고정될 수 있으며, 지지 프레임(30)과 지지부(70)는 제3 체결 수단(53)에 의하여 고정될 수 있다.
여기서, 각관(60)과 지지부(70)는 제2 공통 홀을 구비하여 제2 체결 수단(52)에 의하여 체결되고, 제2 체결 수단(52)은 지면에 대하여 수평되게 형성될 수 있다.
또한, 지지 프레임(30)과 지지부(70)는 제3 공통 홀을 구비하여 제3 체결 수단(53)에 의하여 체결되고, 제3 체결 수단(53)은 지면에 대하여 수평되게 형성될 수 있다.
100, 200, 300, 400, 500, 600: 태양광 발전 장치
10: 태양전지 패널
20: 태양전지 패널 지지 기판
30: 지지 프레임
40, 40A, 40B, 40C, 40D: 보강 구조체
44: 완충구조체
51, 52, 53, 54: 체결수단
60: 각관
70: 지지부
80: 지상
90: 수평선

Claims (5)

  1. 다수개로 배열된 태양전지 패널;
    상기 태양전지 패널의 배면을 고정하여 지지하며, 상기 태양전지 패널의 배면과 이격된 태양전지 패널 지지 기판; 및
    상기 태양전지 패널 지지 기판을 지상에 고정하기 위한 지지 프레임;을 포함하는 태양광 발전 장치이며,
    상기 지지 프레임은 경사진 지상에 고정되어 있고,
    상기 지지 프레임과 태양전지 패널 지지 기판 사이에 보강 구조체를 구비하며,
    상기 보강 구조체의 제1 측면보다 제2 측면이 더 긴 것을 것을 특징으로 하는 태양광 발전 장치.
  2. 청구항 1에 있어서,
    상기 경사부를 갖는 보강 구조체의 상부면은 하부면에 대하여 5° 내지 20° 기울어진 것을 특징으로 하는 태양광 발전 장치.
  3. 청구항 1에 있어서,
    상기 경사부를 갖는 보강 구조체의 하부에 각관을 구비하며,
    상기 태양전지 패널 지지 기판, 상기 경사부를 갖는 보강 구조체 및 각관은 제1 체결 수단에 의하여 고정되는 것을 특징으로 하는 태양광 발전 장치.
  4. 청구항 3에 있어서,
    상기 각관과 지지 프레임의 측면에 지지부를 더욱 구비하며,
    상기 각관과 상기 지지부는 제2 체결 수단에 의하여 고정되며,
    상기 지지 프레임과 상기 지지부는 제3 체결 수단에 의하여 고정되는 것을 특징으로 하는 태양광 발전 장치.
  5. 청구항 1에 있어서,
    상기 보강 구조체의 내부는 중공을 구비하고, 보강 구조체의 부피를 100으로 하는 경우, 중공의 부피는 30 내지 70인 것을 특징으로 하는 태양광 발전 장치.
KR1020190076876A 2019-06-27 2019-06-27 경사면에 설치 가능한 태양광 발전 장치 Expired - Fee Related KR102254431B1 (ko)

Priority Applications (1)

Application Number Priority Date Filing Date Title
KR1020190076876A KR102254431B1 (ko) 2019-06-27 2019-06-27 경사면에 설치 가능한 태양광 발전 장치

Applications Claiming Priority (1)

Application Number Priority Date Filing Date Title
KR1020190076876A KR102254431B1 (ko) 2019-06-27 2019-06-27 경사면에 설치 가능한 태양광 발전 장치

Publications (2)

Publication Number Publication Date
KR20210001191A true KR20210001191A (ko) 2021-01-06
KR102254431B1 KR102254431B1 (ko) 2021-05-21

Family

ID=74128355

Family Applications (1)

Application Number Title Priority Date Filing Date
KR1020190076876A Expired - Fee Related KR102254431B1 (ko) 2019-06-27 2019-06-27 경사면에 설치 가능한 태양광 발전 장치

Country Status (1)

Country Link
KR (1) KR102254431B1 (ko)

Citations (9)

* Cited by examiner, † Cited by third party
Publication number Priority date Publication date Assignee Title
KR20110004946U (ko) * 2009-11-12 2011-05-18 (주)지티씨코퍼레이션 경사지 설치용 고정 가변형 태양광발전장치
KR101232306B1 (ko) * 2011-03-08 2013-02-13 주식회사 일광솔라에너지 분리식 브라켓을 구비한 태양광 발전 장치 지지구조체
KR101326719B1 (ko) 2013-09-24 2013-11-08 주식회사 블루스톤코퍼레이션 태양광모듈의 경사각도 조절이 가능한 태양광 발전장치
JP2013231273A (ja) * 2012-04-27 2013-11-14 Kyocera Corp 太陽電池アレイ
KR20150117513A (ko) * 2014-04-10 2015-10-20 박찬웅 태양광 어레이의 조립식 지붕 고정 구조물
KR101626877B1 (ko) * 2015-08-18 2016-06-02 주식회사 에스에치 태양광 패널 설치용 콘크리트 기초블록
KR101751643B1 (ko) 2016-06-22 2017-07-11 아이솔라에너지 주식회사 태양광패널 설치대 및 이의 시공방법
KR101754135B1 (ko) * 2016-11-23 2017-07-20 주식회사 이멕스 베이스레일을 이용한 샌드위치 판넬 지붕의 태양광 발전 시스템 고정 장치
KR101919956B1 (ko) 2018-04-30 2018-11-20 조규현 태양전지 패널과 경사 브라켓이 구비되는 방음벽

Patent Citations (9)

* Cited by examiner, † Cited by third party
Publication number Priority date Publication date Assignee Title
KR20110004946U (ko) * 2009-11-12 2011-05-18 (주)지티씨코퍼레이션 경사지 설치용 고정 가변형 태양광발전장치
KR101232306B1 (ko) * 2011-03-08 2013-02-13 주식회사 일광솔라에너지 분리식 브라켓을 구비한 태양광 발전 장치 지지구조체
JP2013231273A (ja) * 2012-04-27 2013-11-14 Kyocera Corp 太陽電池アレイ
KR101326719B1 (ko) 2013-09-24 2013-11-08 주식회사 블루스톤코퍼레이션 태양광모듈의 경사각도 조절이 가능한 태양광 발전장치
KR20150117513A (ko) * 2014-04-10 2015-10-20 박찬웅 태양광 어레이의 조립식 지붕 고정 구조물
KR101626877B1 (ko) * 2015-08-18 2016-06-02 주식회사 에스에치 태양광 패널 설치용 콘크리트 기초블록
KR101751643B1 (ko) 2016-06-22 2017-07-11 아이솔라에너지 주식회사 태양광패널 설치대 및 이의 시공방법
KR101754135B1 (ko) * 2016-11-23 2017-07-20 주식회사 이멕스 베이스레일을 이용한 샌드위치 판넬 지붕의 태양광 발전 시스템 고정 장치
KR101919956B1 (ko) 2018-04-30 2018-11-20 조규현 태양전지 패널과 경사 브라켓이 구비되는 방음벽

Also Published As

Publication number Publication date
KR102254431B1 (ko) 2021-05-21

Similar Documents

Publication Publication Date Title
JP3224019U (ja) 浮遊型発電システム及びその支持アレイ
KR101885421B1 (ko) 부유식 솔라셀 패널
CN101877363A (zh) 太阳电池组件边框、太阳电池组件及其安装系统
JP5365937B2 (ja) 太陽電池パネルの取付装置
JP5744469B2 (ja) 太陽光発電モジュール用架台システム
JP2022153627A (ja) 太陽光発電パネル用架台、太陽光発電装置、及び太陽光発電装置の設置方法
WO2016024310A1 (ja) 太陽光発電パネル及び太陽光発電パネルユニットの取付方法
KR102254431B1 (ko) 경사면에 설치 가능한 태양광 발전 장치
JP3195654U (ja) 太陽電池パネル水上設置台
JP6350859B2 (ja) 太陽光発電装置
KR102242043B1 (ko) 경사각을 조절하여 설치 가능한 태양광 발전 장치
EP2624313A2 (en) Solar panel module
KR101681262B1 (ko) 프레임 어셈블리용 연결구 및 이를 구비한 태양광 발전장치
JP2019085697A (ja) フィルム型太陽電池設置架台
JP2013073958A (ja) 太陽光発電装置及びシステム
JP2017002656A (ja) 太陽光発電パネル取付用架台及び太陽光発電装置
JP6296222B2 (ja) ソーラーパネルの支持構造
KR101215625B1 (ko) 태양광 모듈 지지장치
KR102319830B1 (ko) 태양광 패널 결합 브라켓
KR102673848B1 (ko) 수상 태양광 발전 시스템
KR102663765B1 (ko) 수상 태양광 발전 시스템
KR20160073844A (ko) 태양광 모듈 지지대
KR20210054804A (ko) 태양광 패널 거치대
JP2015105494A (ja) 太陽電池モジュール用架台および太陽電池モジュール用架台を用いた太陽電池アレイ
JP4383208B2 (ja) 太陽電池パネル

Legal Events

Date Code Title Description
PA0109 Patent application

St.27 status event code: A-0-1-A10-A12-nap-PA0109

PA0201 Request for examination

St.27 status event code: A-1-2-D10-D11-exm-PA0201

P11-X000 Amendment of application requested

St.27 status event code: A-2-2-P10-P11-nap-X000

P13-X000 Application amended

St.27 status event code: A-2-2-P10-P13-nap-X000

D13-X000 Search requested

St.27 status event code: A-1-2-D10-D13-srh-X000

D14-X000 Search report completed

St.27 status event code: A-1-2-D10-D14-srh-X000

PE0902 Notice of grounds for rejection

St.27 status event code: A-1-2-D10-D21-exm-PE0902

E13-X000 Pre-grant limitation requested

St.27 status event code: A-2-3-E10-E13-lim-X000

P11-X000 Amendment of application requested

St.27 status event code: A-2-2-P10-P11-nap-X000

P13-X000 Application amended

St.27 status event code: A-2-2-P10-P13-nap-X000

PG1501 Laying open of application

St.27 status event code: A-1-1-Q10-Q12-nap-PG1501

E701 Decision to grant or registration of patent right
PE0701 Decision of registration

St.27 status event code: A-1-2-D10-D22-exm-PE0701

N231 Notification of change of applicant
PN2301 Change of applicant

St.27 status event code: A-3-3-R10-R13-asn-PN2301

St.27 status event code: A-3-3-R10-R11-asn-PN2301

PR0701 Registration of establishment

St.27 status event code: A-2-4-F10-F11-exm-PR0701

PR1002 Payment of registration fee

St.27 status event code: A-2-2-U10-U11-oth-PR1002

Fee payment year number: 1

P14-X000 Amendment of ip right document requested

St.27 status event code: A-5-5-P10-P14-nap-X000

P16-X000 Ip right document amended

St.27 status event code: A-5-5-P10-P16-nap-X000

PG1601 Publication of registration

St.27 status event code: A-4-4-Q10-Q13-nap-PG1601

Q16-X000 A copy of ip right certificate issued

St.27 status event code: A-4-4-Q10-Q16-nap-X000

PC1903 Unpaid annual fee

St.27 status event code: A-4-4-U10-U13-oth-PC1903

Not in force date: 20240515

Payment event data comment text: Termination Category : DEFAULT_OF_REGISTRATION_FEE

PC1903 Unpaid annual fee

St.27 status event code: N-4-6-H10-H13-oth-PC1903

Ip right cessation event data comment text: Termination Category : DEFAULT_OF_REGISTRATION_FEE

Not in force date: 20240515