KR20200142963A - 기체 용해 장치 및 그를 포함하는 미세기포 발생장치 - Google Patents

기체 용해 장치 및 그를 포함하는 미세기포 발생장치 Download PDF

Info

Publication number
KR20200142963A
KR20200142963A KR1020190070620A KR20190070620A KR20200142963A KR 20200142963 A KR20200142963 A KR 20200142963A KR 1020190070620 A KR1020190070620 A KR 1020190070620A KR 20190070620 A KR20190070620 A KR 20190070620A KR 20200142963 A KR20200142963 A KR 20200142963A
Authority
KR
South Korea
Prior art keywords
gas
supply pipe
fluid
dissolving device
dissolution tank
Prior art date
Legal status (The legal status is an assumption and is not a legal conclusion. Google has not performed a legal analysis and makes no representation as to the accuracy of the status listed.)
Granted
Application number
KR1020190070620A
Other languages
English (en)
Other versions
KR102288440B1 (ko
Inventor
안상철
Original Assignee
주식회사 태신
Priority date (The priority date is an assumption and is not a legal conclusion. Google has not performed a legal analysis and makes no representation as to the accuracy of the date listed.)
Filing date
Publication date
Application filed by 주식회사 태신 filed Critical 주식회사 태신
Priority to KR1020190070620A priority Critical patent/KR102288440B1/ko
Publication of KR20200142963A publication Critical patent/KR20200142963A/ko
Application granted granted Critical
Publication of KR102288440B1 publication Critical patent/KR102288440B1/ko
Active legal-status Critical Current
Anticipated expiration legal-status Critical

Links

Images

Classifications

    • B01F3/04248
    • BPERFORMING OPERATIONS; TRANSPORTING
    • B01PHYSICAL OR CHEMICAL PROCESSES OR APPARATUS IN GENERAL
    • B01FMIXING, e.g. DISSOLVING, EMULSIFYING OR DISPERSING
    • B01F23/00Mixing according to the phases to be mixed, e.g. dispersing or emulsifying
    • B01F23/20Mixing gases with liquids
    • B01F23/23Mixing gases with liquids by introducing gases into liquid media, e.g. for producing aerated liquids
    • B01F23/231Mixing gases with liquids by introducing gases into liquid media, e.g. for producing aerated liquids by bubbling
    • B01F23/23105Arrangement or manipulation of the gas bubbling devices
    • B01F23/2312Diffusers
    • B01F23/23121Diffusers having injection means, e.g. nozzles with circumferential outlet
    • B01F1/00
    • BPERFORMING OPERATIONS; TRANSPORTING
    • B01PHYSICAL OR CHEMICAL PROCESSES OR APPARATUS IN GENERAL
    • B01FMIXING, e.g. DISSOLVING, EMULSIFYING OR DISPERSING
    • B01F21/00Dissolving
    • BPERFORMING OPERATIONS; TRANSPORTING
    • B01PHYSICAL OR CHEMICAL PROCESSES OR APPARATUS IN GENERAL
    • B01FMIXING, e.g. DISSOLVING, EMULSIFYING OR DISPERSING
    • B01F25/00Flow mixers; Mixers for falling materials, e.g. solid particles
    • B01F25/30Injector mixers
    • B01F25/31Injector mixers in conduits or tubes through which the main component flows
    • B01F5/0403

Landscapes

  • Chemical & Material Sciences (AREA)
  • Chemical Kinetics & Catalysis (AREA)

Abstract

본 발명은 인젝터, 유량 증폭부, 기액 혼화부, 용해 탱크 및 배출부를 포함하고, 상기 인젝터는 유체 공급관 및 기체 공급관을 포함하고, 상기 기체 공급관은 상기 유체 공급관 내부에 위치하는 내부 기체 공급관, 상기 유체 공급관의 상측에 노출되어 위치하는 상측 노출 기체 공급관 및 상기 유체 공급관의 하측에 돌출되어 위치하는 하측 돌출 기체 공급관을 포함하고, 상기 기체 공급관의 내부에 형성된 기체 유로을 포함하고, 상기 유체 공급관의 내주면과 상기 내부 기체 공급관의 외주면 사이에 형성된 유체 유로를 포함하고, 상기 유량 증폭부는 상단부 및 하단부가 열린 통형이고, 상기 하측 돌출 기체 공급관을 상부에 수용하고, 상기 기액 혼화부는 상단부가 열리고 하단부가 막힌 통형이고, 상기 유량 증폭부를 상부에 수용하고, 상기 하측 돌출 기체 공급관, 유량 증폭부, 및 기액 혼화부는 상기 용해 탱크에 수용되고, 상기 배출부는 상기 용해 탱크의 하부에 위치하는 것인 기체 용해 장치에 관한 것이다. 본 발명의 기체 용해 장치 및 그를 포함하는 미세기포 발생장치는 이중관 구조의 인젝터, 유량증폭부, 기액혼화부를 포함함으로써, 공기의 용해 효율을 향상시키고, 용해되지 않은 잔여 공기를 분리하여 재사용할 수 있는 효과가 있다.

Description

기체 용해 장치 및 그를 포함하는 미세기포 발생장치{GAS DISSOLUTION APPARATUS AND MICRO BUBBLE GENERATOR COMPRISING SAME}
기체 용해 장치 및 그를 포함하는 미세기포 발생장치에 관한 것으로, 보다 상세하게는 이중관 구조의 인젝터를 포함함으로써, 기체 용해 효율을 향상시킨 기체 용해 장치 및 그를 포함하는 미세기포 발생장치에 관한 것이다.
일반적으로 다양한 원리와 구조의 폐수처리장치가 처리하고자 하는 폐수의 성질에 따라 개발되어 왔고, 물리적인 방법과 화학적인 방법 또는 물리 화학적인 방법을 병용한 폐수처리방법과 장치가 제공되어 왔으며, 그 처리방법 중의 한 방법으로 불순물을 폐수 아래에 침전시켜 수거하는 침전법과 폐수 위로 부상시켜서 수거하는 부상법(Flotation)이 있다.
이 중 부상법에 의한 폐수처리장치는 폐수에 약품을 첨가하는 혼합조를 거치고 공기와 폐수를 가압펌프로 일정한 압력으로 가압탱크에 저장하고 이 가압된 폐수를 대기압 상태에 있는 폐수처리조인 부상조로 공급하면 가압된 폐수가 대기압 상태의 폐수처리조의 폐수에서 기포를 발생시키게 되고 이 기포가 폐수 속의 불순물을 포집하고 기포의 부력에 의하여 불순물을 부상시켜서 폐수 수면에 부상된 불순물을 제거장치인 스키머로 제거하는 방법으로 폐수를 처리할 수 있다.
그러나, 이러한 부상법에 사용되는 페수처리장치는 용존공기부상에 의한 방법으로서 기포를 발생시키기 위한 공기를 얻기 위해서는 높은 압력이 필요하였고 또한 기포 부상에 의한 필요한 공기가 용해도의 제한 때문에 부상조에는 많은 양의 폐수가 필요하였으므로 부상조의 용량이 커지고 많은 설치면적이 필요하고 가동비용이 증대되는 문제점이 있었다.
본 발명의 목적은 상기 문제점을 해결하기 위한 것으로, 이중관 구조의 인젝터, 유량증폭부, 기액혼화부를 포함함으로써, 공기의 용해 효율을 향상시키고, 용해되지 않은 잔여 공기를 분리하여 재사용할 수 있는 기체 용해 장치 및 그를 포함하는 미세기포 발생장치를 제공하는 데 있다.
본 발명의 일 측면에 따르면, 인젝터(110), 유량 증폭부(120), 기액 혼화부(130), 용해 탱크(140) 및 배출부(150)를 포함하고, 상기 인젝터(110)는 유체 공급관(111) 및 기체 공급관(112)을 포함하고, 상기 기체 공급관(112)은 상기 유체 공급관(111) 내부에 위치하는 내부 기체 공급관(1121), 상기 유체 공급관(111)의 상측에 노출되어 위치하는 상측 노출 기체 공급관(1122) 및 상기 유체 공급관(111)의 하측에 돌출되어 위치하는 하측 돌출 기체 공급관(1123)을 포함하고, 상기 기체 공급관(112)의 내부에 형성된 기체 유로(114)을 포함하고, 상기 유체 공급관(111)의 내주면과 상기 내부 기체 공급관(1121)의 외주면 사이에 형성된 유체 유로(113)를 포함하고, 상기 유량 증폭부(120)는 상단부 및 하단부가 열린 통형이고, 상기 하측 돌출 기체 공급관(1123)을 상부에 수용하고, 상기 기액 혼화부(130)는 상단부가 열리고 하단부가 막힌 통형이고, 상기 유량 증폭부(120)를 상부에 수용하고, 상기 하측 돌출 기체 공급관(1123), 유량 증폭부(120), 및 기액 혼화부(130)는 상기 용해 탱크(140)에 수용되고, 상기 배출부(150)는 상기 용해 탱크(140)의 하부에 위치하는 것인 기체 용해 장치(100)가 제공된다.
상기 기체 공급관(112)이 기체유입구(1124) 및 기체배출구(1125)를 포함하고, 기체유입구(1124)가 상기 상측 노출 기체 공급관(1122)의 일단에 위치하고, 상기 기체 배출구(1125)가 상기 하측 돌출 기체 공급관(1123)의 일단에 위치할 수 있다.
상기 유체 공급관(111)이 유체 유입구(1111), 유체 통로관(1112) 및 유체 배출구(1113)를 포함하고, 상기 유체 유입구(1111)가 상기 유체 공급관(111)의 상부의 일단부에 위치하고, 상기 유체 배출구(1113)가 상기 유체 공급관(111)의 하부의 타단부에 위치할 수 있다.
상기 유체 공급관(111)은 상부가 원통형이고, 상기 상부에 연속된 유체 공급관(111) 하부가 깔대기형이고, 상기 유체 공급관(111) 하부의 직경이 상기 유체 배출구(1113)에 가까워질수록 감소할 수 있다.
상기 인젝터(110)는 유체(F)가 상기 유체 유로(113)를 흘러 상기 유체 배출구(1113)의 외부로 분사됨으로써 기체(G)를 상기 기체 유입구(1124)로 유입시키고 상기 기체 배출구(1125)로 방출할 수 있다.
운전 시에 상기 기체 유입구(1124)는 기체(G)와 접하고 상기 기체 배출구(1125)는 유체(F)와 접할 수 있다.
상기 유량 증폭부(120)가 상부에서 상기 인젝터(110)로부터 유체(F) 및 기체(G)를 공급받아 상기 유체의 양을 증가시키고, 상기 유량 증폭부(120)의 하부로 배출 하기 위한 것일 수 있다.
상기 기액 혼화부(130)는 상기 유량 증폭부(120)로부터 공급받는 기체(G)를 유체(F)에 용해시키고, 외부로 배출하기 위한 것일 수 있다.
상기 배출부(150)는 기체(G)가 용해된 유체(F)를 포함하는 혼합물(F+G)을 외부로 배출시키기 위한 것일 수 있다.
상기 통형이 각각 독립적으로 원통형, 타원통형, 다각통형 또는 이들의 조합형일 수 있다.
유체(F)가 10 내지 20 m/s의 유속으로 상기 유체 유입구(1111)로 유입될 수 있다.
상기 기체 용해 장치(100)가 레벨센서(160)를 추가로 포함하고, 상기 레벨센서(160)가 상기 용해 탱크(140)의 유체의 수위를 감지할 수 있다.
상기 기체 용해 장치(100)가 솔레노이드밸브(170)를 추가로 포함하고, 상기 솔레노이드밸브(170)가 상기 용해 탱크(140)가 수용하는 기체(G)의 압력을 조절하여 상기 용해 탱크(140)가 수용하는 유체(F)의 수위를 제어할 수 있다.
상기 기체 용해 장치(100)가 상기 솔레노이드밸브(170)와 상기 용해 탱크(140) 사이에 체크밸브(180)를 포함하고, 상기 체크밸브(180)는 상기 용해 탱크(140)에 수용된 유체(F)가 상기 솔레노이드밸브(170) 방향으로 역류하는 것을 방지할 수 있다.
상기 기체 용해 장치(100)가 압력계(190)를 추가로 포함하고, 상기 압력계(190)가 상기 용해 탱크(140)가 수용하는 기체(G)의 압력을 측정할 수 있다.
본 발명의 다른 일 측면에 따르면, 상기 기체 용해 장치(100); 기체가 용해된 유체(F+G)를 상기 기체 용해 장치의 배출부(150)로부터 공급받아 미세기포를 발생시키는 미세기포 발생노즐(200); 상기 기체 용해 장치의 유체 공급관(111)에 유체(F)를 공급하기 위한 펌프(300); 및 상기 기체 용해 장치의 용해 탱크(140)에 기체(G)를 공급하기 위한 에어컴프레서(400);을 포함하는 미세기포 발생장치(10)가 제공된다.
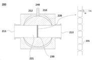
상기 미세기포 발생노즐(200)은, 유입구(211)와 유출구(213)를 구비하고 그들 사이에 내부 챔버(212)가 형성된 본체(210); 상기 내부 챔버(212)에 위치하고, 상기 기체가 용해된 유체(F+G)의 흐름을 허용하는 통로(221)를 구비하고, 수직 회전축을 중심으로 회전 가능하게 설치되어 상기 통로(221)를 개폐하는 회전볼(220); 및 상기 통로(221)의 내주면에 밀착되게 설치되고, 상기 기체가 용해된 유체(F+G)의 흐름을 허용하는 단수 또는 복수의 중공(231)을 포함하는 노즐판(230);을 포함할 수 있다.
상기 중공(231)의 직경이 일단부를 기준으로 타단부 방향으로 감소하다가 증가할 수 있다.
상기 중공(231)의 직경이 일단부에서 중심으로 갈수록 감소하다가 중심에서 타단부로 갈수록 증가할 수 있다.
상기 중공(231)은 직경이 중심에서 최소이고, 이중 깔대기 형태일 수 있다.
상기 중공(231)의 최소 직경이 1 내지 3mm일 수 있다.
상기 미세기포 발생노즐(200)이 상기 수직 회전축 상에 설치되는 스템(240)을 추가로 포함하고, 상기 스템(240)을 사용하여 상기 회전볼(220)을 좌우 방향으로 180°회전시켜 상기 중공(231)의 일단부를 타단부 쪽에 위치하도록 하여 상기 일단부에 쌓인 노폐물을 상기 기체가 용해된 유체(F+G)의 흐름에 의해 제거할 수 있다.
상기 미세기포 발생장치는 상기 솔레노이드밸브(170)와 상기 에어컴프레서(400) 사이에 레귤레이터(500)를 추가로 포함하고, 상기 레귤레이터(500)가 상기 용해 탱크(140)의 기체 압력과 솔레노이드밸브(170)의 기체 압력과의 차압을 일정하게 유지하기 위한 것일 수 있다.
본 발명의 기체 용해 장치 및 그를 포함하는 미세기포 발생장치는 이중관 구조의 인젝터, 유량증폭부, 기액혼화부를 포함함으로써, 공기의 용해 효율을 향상시키고, 용해되지 않은 잔여 공기를 분리하여 재사용할 수 있는 효과가 있다.
도 1은 본 발명의 일 실시예에 따른 기체 용해 장치의 구조도이다.
도 2는 본 발명의 일 실시예에 따른 인젝터의 세부 구조도이다.
도 3은 본 발명의 일 실시예에 따른 유체 공급관의 내주면과 기체 공급관의 외주면과의 거리의 최대값 및 최소값을 표시한 도면이다.
도 4는 본 발명의 일 실시예에 따른 기체 용해 장치 및 그를 포함하는 미세기포발생장치의 구조도이다.
도 5는 본 발명의 일 실시예에 따른 미세기포 발생노즐을 통로 길이방향에 따라 절단한 종단면도이다.
도 6은 본 발명의 일 실시예에 따른 미세기포 발생노즐을 통로 길이방향의 수직방향에 따라 절단한 종단면도이다.
도 7은 본 발명의 일 실시예에 따른 미세기포 발생노즐의 방향전환 모습을 나타내기 위한 횡단면도이다.
도 8은 본 발명의 일 실시예에 따른 회전볼의 사시도이다.
본 발명은 다양한 변환을 가할 수 있고 여러 가지 실시예를 가질 수 있는 바, 특정 실시예들을 도면에 예시하고 상세한 설명에 상세하게 설명하고자 한다. 그러나, 이는 본 발명을 특정한 실시 형태에 대해 한정하려는 것이 아니며, 본 발명의 사상 및 기술 범위에 포함되는 모든 변환, 균등물 내지 대체물을 포함하는 것으로 이해되어야 한다. 본 발명을 설명함에 있어서 관련된 공지 기술에 대한 구체적인 설명이 본 발명의 요지를 흐릴 수 있다고 판단되는 경우 그 상세한 설명을 생략한다.
제1, 제2 등의 용어는 다양한 구성요소들을 설명하는데 사용될 수 있지만, 상기 구성요소들은 상기 용어들에 의해 한정되어서는 안 된다. 상기 용어들은 하나의 구성요소를 다른 구성요소로부터 구별하는 목적으로만 사용된다.
본 출원에서 사용한 용어는 단지 특정한 실시예를 설명하기 위해 사용된 것으로, 본 발명을 한정하려는 의도가 아니다. 단수의 표현은 문맥상 명백하게 다르게 뜻하지 않는 한, 복수의 표현을 포함한다. 본 출원에서, "포함하다" 또는 "가지다" 등의 용어는 명세서상에 기재된 특징, 숫자, 단계, 동작, 구성요소, 부품 또는 이들을 조합한 것이 존재함을 지정하려는 것이지, 하나 또는 그 이상의 다른 특징들이나 숫자, 단계, 동작, 구성요소, 부품 또는 이들을 조합한 것들의 존재 또는 부가 가능성을 미리 배제하지 않는 것으로 이해되어야 한다.
이하, 본 발명의 실시예를 첨부도면을 참조하여 상세히 설명하기로 하며, 첨부 도면을 참조하여 설명함에 있어, 동일하거나 대응하는 구성 요소는 동일한 도면번호를 부여하고 이에 대한 중복되는 설명은 생략하기로 한다.
도 1은 본 발명의 일 실시예에 따른 기체 용해 장치(100)의 구조도이고, 도 2는 본 발명의 일 실시예에 따른 인젝터(110)의 세부 구조도이고, 도 3은 본 발명의 일 실시예에 따른 유체 공급관(111)의 내주면과 기체 공급관(112)의 외주면과의 거리의 최대값(L1) 및 최소값(L2)을 표시한 도면이다.
이하, 도 1 내지 3을 참조하여 기체 용해 장치(100)에 대해 상세히 설명하도록 한다. 다만, 이는 예시로서 제시되는 것으로, 이에 의해 본 발명이 제한되지는 않으며 본 발명은 후술할 청구범위의 범주에 의해 정의될 뿐이다.
본 발명은 인젝터(110), 유량 증폭부(120), 기액 혼화부(130), 용해 탱크(140) 및 배출부(150)를 포함하고, 상기 인젝터(110)는 유체 공급관(111) 및 기체 공급관(112)을 포함하는 이중관이고, 상기 기체 공급관(112)은 상기 유체 공급관(111) 내부에 위치하는 내부 기체 공급관(1121), 상기 유체 공급관(111)의 상측에 노출되어 위치하는 상측 노출 기체 공급관(1122) 및 상기 유체 공급관(111)의 하측에 돌출되어 위치하는 하측 돌출 기체 공급관(1123)을 포함하고, 상기 기체 공급관(112)의 내부에 형성된 기체 유로(114)을 포함하고, 상기 유체 공급관(111)의 내주면과 상기 내부 기체 공급관(1121)의 외주면 사이에 형성된 유체 유로(113)를 포함하고, 상기 유량 증폭부(120)는 상단부 및 하단부가 열린 통형이고, 상기 하측 돌출 기체 공급관(1123)을 상부에 수용하고, 상기 기액 혼화부(130)는 상단부가 열리고 하단부가 막힌 통형이고, 상기 유량 증폭부(120)를 상부에 수용하고, 상기 하측 돌출 기체 공급관(1123), 유량 증폭부(120), 및 기액 혼화부(130)는 상기 용해 탱크(140)에 수용되고, 상기 배출부(150)는 상기 용해 탱크(140)의 하부에 위치하는 것인 기체 용해 장치(100)를 제공한다.
상기 기체 공급관(112)이 기체 유입구(1124) 및 기체 배출구(1125)를 포함하고, 기체 유입구(1124)가 상기 상측 노출 기체 공급관(1122)의 일단에 위치하고, 상기 기체 배출구(1125)가 상기 하측 돌출 기체 공급관(1123)의 일단에 위치할 수 있다.
상기 유체 공급관(111)이 유체 유입구(1111), 유체 통로관(1112) 및 유체 배출구(1113)를 포함하고, 상기 유체 유입구(1111)가 상기 유체 공급관(111)의 상부의 일단부에 위치하고, 상기 유체 배출구(1113)가 상기 유체 공급관(111)의 하부의 타단부에 위치할 수 있다.
상기 유체 공급관(111)은 상부가 원통형이고, 상기 상부에 연속된 유체 공급관(111) 하부가 깔대기형이고, 상기 유체 공급관(111) 하부의 직경이 상기 유체 배출구(1113)에 가까워질수록 감소할 수 있다.
상기 인젝터(110)는 유체(F)가 상기 유체 유로(113)를 흘러 상기 유체 배출구(1113)의 외부로 분사됨으로써 기체(G)를 상기 기체 유입구(1124)로 유입시키고 상기 기체 배출구(1125)로 방출할 수 있다.
상기 기체(G)는 공기 또는 산소를 포함할 수 있고, 바람직하게는 공기를 포함할 수 있다.
상기 도 1을 참조하면, 구체적으로 이는 베르누이 원리에 의한 것으로, 상기 유체 유입구(1111)로 고압분사되어 공급된 유체(F)가 상기 유체 유로(113)를 통해 흘러 상기 유체 배출구(1113)의 외부로 분사됨으로써, 압력의 차이로 인해 상기 용해 탱크(140)가 수용하는 기체(G)가 상기 기체 유입구(1124)로 유입되고, 상기 기체 배출구(1125)로 방출되고, 또한 이로 인해 공기의 용해 효율을 향상시킬 수 있다.
운전 시에 상기 기체 유입구(1124)는 기체(G)와 접하고 상기 기체 배출구(1125)는 유체(F)와 접할 수 있다.
상기 유량 증폭부(120)가 상부에서 상기 인젝터(110)로부터 유체(F) 및 기체(G)를 공급받아 상기 유체의 양을 증가시키고, 상기 유량 증폭부(120)의 하부로 배출하기 위한 것일 수 있다.
상기 기액 혼화부(130)는 상기 유량 증폭부(120)로부터 공급받는 기체(G)를 유체(F)에 용해시키고, 외부로 배출하기 위한 것일 수 있다.
상기 배출부(150)는 기체(G)가 용해된 유체(F)를 포함하는 혼합물(F+G)을 외부로 배출시키기 위한 것일 수 있다.
상기 통형이 각각 독립적으로 원통형, 타원통형, 다각통형 또는 이들의 조합형일 수 있다.
상기 용해 탱크(140)는 실린더형 구조를 가짐으로써 기체를 용해시키기 위한 효율적인 공간을 제공하고, 일정 압력을 견질 수 있는 견고함을 가질 수 있다.
유체(F)가 10 내지 20 m/s의 유속으로 상기 유체 유입구(1111)로 유입될 수 있다.
상기 기체 용해 장치(100)가 레벨센서(160)를 추가로 포함하고, 상기 레벨센서(160)가 상기 용해 탱크(140)의 유체의 수위를 감지할 수 있다.
상기 기체 용해 장치(100)가 솔레노이드밸브(170)를 추가로 포함하고, 상기 솔레노이드밸브(170)가 상기 용해 탱크(140)가 수용하는 기체(G)의 압력을 조절하여 상기 용해 탱크(140)가 수용하는 유체(F)의 수위를 제어할 수 있다.
본 발명의 기체 용해 장치(100)는 공기의 용해효율 및 미세기포 발생량을 극대화하고, 레벨센서에 의해 일정한 수위가 형성되어 시간경과에 따른 균일한 성능을 유지할 수 있다.
상기 레벨센서(160)는 상기 용해 탱크가 수용하는 유체의 수위에 따라 상기 솔레노이드밸브(170)를 컨트롤함으로써 일정수위를 형성시켜 시간에 따른 균일한 성능을 유지할 수 있고, 상기 솔레노이드밸브(170)는 상기 레벨센서(160)와 연동되어 용해 탱크(140)로 유입되는 기체의 양을 조절할 수 있다. 구체적으로 상기 레벨센서(160)가 상기 용해 탱크(140)가 수용하는 유체의 수위가 높아진 것을 감지하면, 상기 솔레노이드 밸브(170)를 열어 기체를 주입하고, 반대의 경우 상기 솔레노이드 밸브(170)를 닫아 기체의 양을 조절할 수 있다.
상기 기체 용해 장치(100)가 상기 솔레노이드밸브(170)와 상기 용해 탱크(140) 사이에 체크밸브(180)를 포함하고, 상기 체크밸브(180)는 상기 용해 탱크(140)에 수용된 유체(F)가 상기 솔레노이드밸브(170) 방향으로 역류하는 것을 방지지할 수 있다.
상기 기체 용해 장치(100)가 압력계(190)를 추가로 포함하고, 상기 압력계(190)가 상기 용해 탱크(140)가 수용하는 기체(G)의 압력을 측정할 수 있다.
도 4는 본 발명의 일 실시예에 따른 기체 용해 장치 및 그를 포함하는 미세기포발생장치의 구조도이고, 도 5는 본 발명의 일 실시예에 따른 미세기포 발생노즐을 통로 길이방향에 따라 절단한 종단면도이고, 도 6은 본 발명의 일 실시예에 따른 미세기포 발생노즐을 통로 길이방향의 수직방향에 따라 절단한 종단면도이고, 도 7은 본 발명의 일 실시예에 따른 미세기포 발생노즐의 방향전환 모습을 나타내기 위한 횡단면도이다. 또한 도 8은 본 발명의 일 실시예에 따른 회전볼의 사시도이다.
이하, 도 4 내지 8을 참조하여 기체 용해 장치(100)를 포함하는 미세기포 발생장치(10)에 대해 상세히 설명하도록 한다.
본 발명은 상기 기체 용해 장치(100); 기체가 용해된 유체(F+G)를 상기 기체 용해 장치의 배출부(150)로부터 공급받아 미세기포를 발생시키는 미세기포 발생노즐(200); 상기 기체 용해 장치의 유체 공급관(111)에 유체(F)를 공급하기 위한 펌프(300); 및 상기 기체 용해 장치의 용해 탱크(140)에 기체(G)를 공급하기 위한 에어컴프레서(400);을 포함하는 미세기포 발생장치(10)를 제공한다.
상기 유체 공급관(111)은 상기 펌프(300)로부터 공급 배관을 통해 상기 유체를 공급받을 수 있고, 상기 기체 공급관(112)은 상기 에어컴프레서(400)로부터 공급 배관을 통해 상기 기체를 공급받을 수 있다.
상기 미세기포 발생노즐(200)은, 유입구(211)와 유출구(213)를 구비하고 그들 사이에 내부 챔버(212)가 형성된 본체(210); 상기 내부 챔버(212)에 위치하고, 상기 기체가 용해된 유체(F+G)의 흐름을 허용하는 통로(221)를 구비하고, 수직 회전축을 중심으로 회전 가능하게 설치되어 상기 통로(221)를 개폐하는 회전볼(220); 및 상기 통로(221)의 내주면에 밀착되게 설치되고, 상기 기체가 용해된 유체(F+G)의 흐름을 허용하는 단수 또는 복수의 중공(231)을 포함하는 노즐판(230);을 포함할 수 있다.
상기 기체가 용해된 유체(F+G)는 이물질 또는 노폐물을 포함하고 있을 수 있다.
도 5에 삽입된 노즐판(230)의 확대도를 참조하면, 상기 중공(231)의 직경이 일단부를 기준으로 타단부 방향으로 감소하다가 증가할 수 있다.
상기 중공(231)의 직경이 일단부에서 중심으로 갈수록 감소하다가 중심에서 타단부로 갈수록 증가할 수 있다.
상기 중공(231)은 직경이 중심에서 최소이고, 이중 깔대기 형태일 수 있다. d1은 이중 깔대기 형태인 중공의 최대 직경이고, d2는 최소 직경이다.
상기 중공(231)의 최소 직경이 1 내지 3mm일 수 있다. 상기 최소 직경이 1mm 미만이면, 노폐물이 너무 자주 쌓여 바람직하지 않고, 3mm 초과이면, 미세기포 발생효과가 떨어져 바람직하지 않다.
상기 미세기포 발생노즐(200)이 상기 수직 회전축 상에 설치되는 스템(240)을 추가로 포함하고, 상기 스템(240)은 상기 회전볼(220)의 회전을 유도하기 위한 것일 수 있다.
상기 스템(240)을 사용하여 상기 회전볼(220)을 좌우 방향으로 180°회전시켜 상기 중공(231)의 일단부를 타단부 쪽에 위치하도록 하여 상기 일단부에 쌓인 노폐물을 상기 기체가 용해된 유체(F+G)의 흐름에 의해 제거할 수 있다. 이와 같이 상기 미세기포 발생노즐(200)은 노폐물 제거가 용이하여 중공이 막히지 않고, 광범위한 환경에서 적용할 수 있다.
본 발명의 미세기포 발생노즐은 대칭구조의 이중 깔대기 형태인 복수의 중공을 포함하는 노즐판을 사용하고, 압력변화에 따라 방향을 전환함으로써, 이물질에 의해 노즐이 막히는 것을 방지하고, 고농도의 미세기포 형성을 할 수 있다.
상기 미세기포 발생장치는 상기 솔레노이드밸브(170)와 상기 에어컴프레서(400) 사이에 레귤레이터(500)를 추가로 포함하고, 상기 레귤레이터(500)가 상기 용해 탱크(140)의 기체 압력과 솔레노이드밸브(170)의 기체 압력과의 차압을 일정하게 유지하기 위한 것일 수 있다.
본 발명에 따른 기체 용해 장치 및 미세기포 발생장치는 고농도 폐수 처리장에서 폭기조의 산기관을 대체하는 산소공급장치, 정수장 또는 하폐수처리장의 가압부상분리장치(DAF), 호소 또는 하천에서의 미세기포 공급에 의한 자정작용으로 녹조 발생 제어 및 녹조의 직접 제거 및 각종 기체의 용해장치에 적용할 수 있다.
이하 미세기포 발생장치를 이용한 미세기포발생 방법을 설명한다.
도 1 내지 8을 참조하면, 펌프(300)를 이용하여 인젝터(100)의 유체 유로(112)로 유체(F)를 10~20m/s 속도로 흘러주면 베르누이 현상에 의해 기체 유로(114)로 기체(G)가 강제로 흐르게 되고, 기체와 유체가 유량 증폭부(120)로 흘러가고 유체와 기체의 흐름에 의해 유량 증폭부(120) 상부에서 유량 증폭부(120)와 인젝터(110) 사이로 유체가 더 흘러 들어와 유량이 증폭된다. 유체와 기체는 유량 증폭부(120)의 하부를 통해 기액 혼화부(130)로 유입된 후 기액 혼화부(130) 하부에서 기체가 유체에 혼화되고, 기체가 혼화된 유체는 기액 혼화부(130)의 바닥에 부딪히고 위로 흐르게 되는 과정에서 기체가 용해된 액체가 되어 기액 혼화부(130) 상부를 거쳐 기액 혼화부(130)로부터 배출된다. 한편 유체가 계속 유입되어 용해 탱크(140) 내부의 유체의 수위가 소정 수위로 높아져 레벨 센서(160)에 감지되면 솔레노이드 밸브(170)가 열리고 에어컴프레서(400)를 통하여 고압, 예를 들어 약 9기압의 기체가 레귤레이터로 유입되고 레귤레이터를 통해 감압하여 예를 들어 약 6기압의 기체를 용해 탱크(140)에 유입시킨다. 상기 용해 탱크에 유입되는 기체의 압력에 의해 기체가 용해된 유체는 미세기포 발생노즐(200)을 통해 배출되면서 고압의 용해 탱크 압력과 낮은 외부 압력, 예를 들어 대기압과의 기압차에 의해 유체에 용해되었던 기체가 유체에서 분리되어 미세기포가 발생한다.
한편 기체가 용해된 유체의 배출이 미세기포 발생노즐(200)을 통해 계속되어 용해 탱크(140) 내의 유체의 수위가 소정의 수위로 낮아지면 레벨 센서(160)가 감지하고 솔레노이브 밸브(170)가 닫히면서 고압의 기체의 유입이 멈춘다. 이와 같이 용해 탱크(140) 내의 수위의 변화에 따라 기체의 유입이 반복되고 이에 따라 미세기포의 발생이 반복된다.
또한 압력계(190)의 압력이 소정의 압력, 예를 들어 5~6기압을 초과할 경우 운전을 중단하지 않고, 스템을 좌우로 회전하여 노즐판(230)을 180° 회전시켜 노즐판의 중공에 끼인 노폐물을 고압의 유체로 밀어내어 노폐물을 제거한 후 계속하여 미세기포 발생장치를 운전할 수 있다. 여기서 노즐판의 중공이 앞에서 설명한 바와 같이 중간 부분이 좁은 이중 깔대기 모양이므로 단순히 노즐판의 180°회전으로 노폐물 제거가 가능하다.
이상, 본 발명의 실시예들에 대하여 설명하였으나, 해당 기술 분야에서 통상의 지식을 가진 자라면 특허청구범위에 기재된 본 발명의 사상으로부터 벗어나지 않는 범위 내에서, 구성 요소의 부가, 변경, 삭제 또는 추가 등에 의해 본 발명을 다양하게 수정 및 변경시킬 수 있을 것이며, 이 또한 본 발명의 권리범위 내에 포함된다고 할 것이다. 예를 들어, 단일형으로 설명되어 있는 각 구성 요소는 분산되어 실시될 수도 있으며, 마찬가지로 분산된 것으로 설명되어 있는 구성 요소들도 결합된 형태로 실시될 수 있다. 본 발명의 범위는 상기 상세한 설명보다는 후술하는 특허청구범위에 의하여 나타내어지며, 특허청구범위의 의미 및 범위 그리고 그 균등 개념으로부터 도출되는 모든 변경 또는 변형된 형태가 본 발명의 범위에 포함되는 것으로 해석되어야 한다.
10: 미세기포 발생장치
100: 기체 용해 장치 110: 인젝터
111: 유체 공급관 112: 기체 공급관
113: 유체 유로 114: 기체 유로
1111: 유체 유입구 1112: 유체 통로관
1113: 유체 배출구 1121: 내부 기체 공급관
1122: 상측 노출 기체 공급관 1123: 하측 돌출 기체 공급관
1124: 기체 유입구 1125: 기체 배출구
120: 유량증폭부 130: 기액 혼화부
140: 용해 탱크 150: 배출부
160: 레벨센서 170: 솔레노이드밸브
180: 체크밸브 190: 압력계
200: 미세기포 발생노즐 210: 본체
211: 유입구 212: 내부 챔버
213: 유출구 220: 회전볼
221: 통로 230: 노즐판
231: 중공 240: 스템
300: 펌프 400: 에어컴프레서
500: 레귤레이터

Claims (20)

  1. 인젝터, 유량 증폭부, 기액 혼화부, 용해 탱크 및 배출부를 포함하고,
    상기 인젝터는 유체 공급관 및 기체 공급관을 포함하고, 상기 기체 공급관은 상기 유체 공급관 내부에 위치하는 내부 기체 공급관, 상기 유체 공급관의 상측에 노출되어 위치하는 상측 노출 기체 공급관 및 상기 유체 공급관의 하측에 돌출되어 위치하는 하측 돌출 기체 공급관을 포함하고, 상기 기체 공급관의 내부에 형성된 기체 유로을 포함하고, 상기 유체 공급관의 내주면과 상기 내부 기체 공급관의 외주면 사이에 형성된 유체 유로를 포함하고,
    상기 유량 증폭부는 상단부 및 하단부가 열린 통형이고, 상기 하측 돌출 기체 공급관을 상부에 수용하고,
    상기 기액 혼화부는 상단부가 열리고 하단부가 막힌 통형이고, 상기 유량 증폭부를 상부에 수용하고,
    상기 하측 돌출 기체 공급관, 유량 증폭부, 및 기액 혼화부는 상기 용해 탱크에 수용되고,
    상기 배출부는 상기 용해 탱크의 하부에 위치하는 것인 기체 용해 장치.
  2. 제1항에 있어서,
    상기 기체 공급관이 기체유입구 및 기체배출구를 포함하고, 기체유입구가 상기 상측 노출 기체 공급관의 일단에 위치하고, 상기 기체 배출구가 상기 하측 돌출 기체 공급관의 일단에 위치하는 것을 특징으로 하는 기체 용해 장치.
  3. 제1항에 있어서,
    상기 유체 공급관이 유체 유입구, 유체 통로관 및 유체 배출구를 포함하고, 상기 유체 유입구가 상기 유체 공급관의 상부의 일단부에 위치하고, 상기 유체 배출구가 상기 유체 공급관의 하부의 타단부에 위치하는 것을 특징으로 하는 기체 용해 장치.
  4. 제1항에 있어서,
    상기 유체 공급관은 상부가 원통형이고, 상기 상부에 연속된 유체 공급관 하부가 깔대기형이고,
    상기 유체 공급관 하부의 직경이 상기 유체 배출구에 가까워질수록 감소하는 것을 특징으로 하는 기체 용해 장치.
  5. 제1항에 있어서,
    상기 인젝터는 유체(F)가 상기 유체 유로를 흘러 상기 유체 배출구의 외부로 분사됨으로써 기체(G)를 상기 기체 유입구로 유입시키고 상기 기체 배출구로 방출하는 것을 특징으로 하는 기체 용해 장치.
  6. 제1항에 있어서,
    운전 시에 상기 기체 유입구는 기체(G)와 접하고 상기 기체 배출구는 유체(F)와 접하는 것을 특징으로 하는 기체 용해 장치.
  7. 제1항에 있어서,
    상기 유량 증폭부가 상부에서 상기 인젝터로부터 유체(F) 및 기체(G)를 공급받아 상기 유체의 양을 증가시키고, 상기 유량 증폭부의 하부로 배출하기 위한 것임을 특징으로 하는 기체 용해 장치.
  8. 제1항에 있어서,
    상기 기액 혼화부는 상기 유량 증폭부로부터 공급받는 기체(G)를 유체(F)에 용해시키고, 외부로 배출하기 위한 것임을 특징으로 하는 기체 용해 장치.
  9. 제1항에 있어서,
    상기 기체 용해 장치가 레벨센서를 추가로 포함하고,
    상기 레벨센서가 상기 용해 탱크의 유체의 수위를 감지하는 것을 특징으로 하는 기체 용해 장치.
  10. 제1항에 있어서,
    상기 기체 용해 장치가 솔레노이드밸브를 추가로 포함하고,
    상기 솔레노이드밸브가 상기 용해 탱크가 수용하는 기체(G)의 압력을 조절하여 상기 용해 탱크가 수용하는 유체(F)의 수위를 제어하는 것을 특징으로 하는 기체 용해 장치.
  11. 제10항에 있어서,
    상기 기체 용해 장치가 상기 솔레노이드밸브와 상기 용해 탱크 사이에 체크밸브를 포함하고,
    상기 체크밸브는 상기 용해 탱크에 수용된 유체(F)가 상기 솔레노이드밸브 방향으로 역류하는 것을 방지하기 위한 것임을 특징으로 하는 기체 용해 장치.
  12. 제1항에 있어서,
    상기 기체 용해 장치가 압력계를 추가로 포함하고,
    상기 압력계가 상기 용해 탱크가 수용하는 기체(G)의 압력을 측정하는 것을 특징으로 하는 기체 용해 장치.
  13. 제1항의 기체 용해 장치;
    기체가 용해된 유체(F+G)를 상기 기체 용해 장치의 배출부로부터 공급받아 미세기포를 발생시키는 미세기포 발생노즐;
    상기 기체 용해 장치의 유체 공급관에 유체(F)를 공급하기 위한 펌프; 및
    상기 기체 용해 장치의 용해 탱크에 기체(G)를 공급하기 위한 에어컴프레서;을
    포함하는 미세기포 발생장치.
  14. 제13항에 있어서,
    상기 미세기포 발생노즐은,
    유입구와 유출구를 구비하고 그들 사이에 내부 챔버가 형성된 본체;
    상기 내부 챔버에 위치하고, 상기 기체가 용해된 유체(F+G)의 흐름을 허용하는 통로를 구비하고, 수직 회전축을 중심으로 회전 가능하게 설치되어 상기 통로를 개폐하는 회전볼; 및
    상기 통로의 내주면에 밀착되게 설치되고, 상기 기체가 용해된 유체(F+G)의 흐름을 허용하는 단수 또는 복수의 중공을 포함하는 노즐판;을 포함하는 것을 특징으로 하는 미세기포 발생장치.
  15. 제14항에 있어서,
    상기 중공의 직경이 일단부를 기준으로 타단부 방향으로 감소하다가 증가하는 것을 특징으로 하는 미세기포 발생장치.
  16. 제14항에 있어서,
    상기 중공의 직경이 일단부에서 중심으로 갈수록 감소하다가 중심에서 타단부로 갈수록 증가하는 것을 특징으로 하는 미세기포 발생장치.
  17. 제14항에 있어서,
    상기 중공은 직경이 중심에서 최소이고, 이중 깔대기 형태인 것을 특징으로 하는 미세기포 발생장치.
  18. 제14항에 있어서,
    상기 중공의 최소 직경이 1 내지 3mm인 것을 특징으로 하는 미세기포 발생장치.
  19. 제14항에 있어서,
    상기 미세기포 발생노즐이 상기 수직 회전축 상에 설치되는 스템을 추가로 포함하고,
    상기 스템을 사용하여 상기 회전볼을 좌우 방향으로 180°회전시켜 상기 중공의 일단부를 타단부 쪽에 위치하도록 하여 상기 일단부에 쌓인 노폐물을 상기 기체가 용해된 유체(F+G)의 흐름에 의해 제거하는 것을 특징으로 하는 미세기포 발생장치.
  20. 제13항에 있어서,
    상기 미세기포 발생장치는 상기 솔레노이드밸브와 상기 에어컴프레서 사이에 레귤레이터를 추가로 포함하고,
    상기 레귤레이터가 상기 용해 탱크의 기체 압력과 솔레노이드밸브의 기체 압력과의 차압을 일정하게 유지하기 위한 것임을 특징으로 하는 미세기포 발생장치.
KR1020190070620A 2019-06-14 2019-06-14 기체 용해 장치 및 그를 포함하는 미세기포 발생장치 Active KR102288440B1 (ko)

Priority Applications (1)

Application Number Priority Date Filing Date Title
KR1020190070620A KR102288440B1 (ko) 2019-06-14 2019-06-14 기체 용해 장치 및 그를 포함하는 미세기포 발생장치

Applications Claiming Priority (1)

Application Number Priority Date Filing Date Title
KR1020190070620A KR102288440B1 (ko) 2019-06-14 2019-06-14 기체 용해 장치 및 그를 포함하는 미세기포 발생장치

Publications (2)

Publication Number Publication Date
KR20200142963A true KR20200142963A (ko) 2020-12-23
KR102288440B1 KR102288440B1 (ko) 2021-08-10

Family

ID=74089281

Family Applications (1)

Application Number Title Priority Date Filing Date
KR1020190070620A Active KR102288440B1 (ko) 2019-06-14 2019-06-14 기체 용해 장치 및 그를 포함하는 미세기포 발생장치

Country Status (1)

Country Link
KR (1) KR102288440B1 (ko)

Cited By (1)

* Cited by examiner, † Cited by third party
Publication number Priority date Publication date Assignee Title
KR102418767B1 (ko) * 2021-07-02 2022-07-08 주식회사 위젠트 압력제어형 미세기포 발생장치 여과기

Citations (4)

* Cited by examiner, † Cited by third party
Publication number Priority date Publication date Assignee Title
KR200353645Y1 (ko) * 2004-03-31 2004-06-18 백은경 오수처리용 제트폭기장치
JP2004313905A (ja) * 2003-04-15 2004-11-11 Matsushita Electric Works Ltd 気液溶解タンクの構造
KR100843970B1 (ko) * 2008-03-20 2008-07-03 유정호 마이크로 버블 발생장치
KR101113375B1 (ko) * 2011-06-28 2012-02-22 유해운 미세기포 발생장치

Patent Citations (4)

* Cited by examiner, † Cited by third party
Publication number Priority date Publication date Assignee Title
JP2004313905A (ja) * 2003-04-15 2004-11-11 Matsushita Electric Works Ltd 気液溶解タンクの構造
KR200353645Y1 (ko) * 2004-03-31 2004-06-18 백은경 오수처리용 제트폭기장치
KR100843970B1 (ko) * 2008-03-20 2008-07-03 유정호 마이크로 버블 발생장치
KR101113375B1 (ko) * 2011-06-28 2012-02-22 유해운 미세기포 발생장치

Cited By (1)

* Cited by examiner, † Cited by third party
Publication number Priority date Publication date Assignee Title
KR102418767B1 (ko) * 2021-07-02 2022-07-08 주식회사 위젠트 압력제어형 미세기포 발생장치 여과기

Also Published As

Publication number Publication date
KR102288440B1 (ko) 2021-08-10

Similar Documents

Publication Publication Date Title
KR100843970B1 (ko) 마이크로 버블 발생장치
CN1819868B (zh) 气体溶解量调整方法和其装置及其系统
US4735750A (en) Process and device for the dissolution of gas in liquid
KR101407122B1 (ko) 마이크로 버블 발생 장치
JPWO2005115596A1 (ja) 微細気泡含有液生成方法及び装置並びにこれに組み込まれる微細気泡発生器
KR100927673B1 (ko) 용존공기 분사식 가압부상조
KR100306790B1 (ko) 가압식 산소 용해방법
US20120228404A1 (en) Systems and methods for delivering a liquid having a desired dissolved gas concentration
US6315893B1 (en) Gas/liquid mixer with degasifier
FI96388B (fi) Menetelmä ja laitteisto kaasun liuottamiseksi
KR101163089B1 (ko) 다공관을 구비한 용존공기 순환수 생성기 및 이를 구비한 가압부상조
KR101683601B1 (ko) 개선된 구조의 산소 용해장치
EP1670574B1 (en) Method and apparatus for mixing of two fluids
KR102234444B1 (ko) 미세기포를 이용한 고액분리장치
KR102288440B1 (ko) 기체 용해 장치 및 그를 포함하는 미세기포 발생장치
KR102369944B1 (ko) 미세기포 발생노즐 및 그를 포함하는 미세기포 발생장치
JP3770133B2 (ja) 気体溶解装置
CN113302161B (zh) 将流体喷射入液体的装置、清洁所述装置的方法以及流出物处理设备
JP4133045B2 (ja) 気体溶解器及びそれらを備えた水処理装置
KR101024323B1 (ko) 가스 용해반응장치
JPH09299930A (ja) 気液接触装置
KR101597311B1 (ko) 가압부상설비용 용존공기 순환수 발생장치
KR101762181B1 (ko) 양식장용 미세기포 필터링장치
US11642634B2 (en) Gas saturation of liquids with application to dissolved gas flotation and supplying dissolved gases to downstream processes and water treatment
KR200199585Y1 (ko) 미세기포발생장치를 이용한 폐수처리시스템

Legal Events

Date Code Title Description
PA0109 Patent application

Patent event code: PA01091R01D

Comment text: Patent Application

Patent event date: 20190614

PA0201 Request for examination
PG1501 Laying open of application
E902 Notification of reason for refusal
PE0902 Notice of grounds for rejection

Comment text: Notification of reason for refusal

Patent event date: 20210210

Patent event code: PE09021S01D

E701 Decision to grant or registration of patent right
PE0701 Decision of registration

Patent event code: PE07011S01D

Comment text: Decision to Grant Registration

Patent event date: 20210722

GRNT Written decision to grant
PR0701 Registration of establishment

Comment text: Registration of Establishment

Patent event date: 20210804

Patent event code: PR07011E01D

PR1002 Payment of registration fee

Payment date: 20210804

End annual number: 3

Start annual number: 1

PG1601 Publication of registration
PR1001 Payment of annual fee

Payment date: 20240614

Start annual number: 4

End annual number: 4

PR1001 Payment of annual fee

Payment date: 20250612

Start annual number: 5

End annual number: 5