KR20200122763A - 기판 처리 장치 및 기판 처리 방법 - Google Patents

기판 처리 장치 및 기판 처리 방법 Download PDF

Info

Publication number
KR20200122763A
KR20200122763A KR1020190045882A KR20190045882A KR20200122763A KR 20200122763 A KR20200122763 A KR 20200122763A KR 1020190045882 A KR1020190045882 A KR 1020190045882A KR 20190045882 A KR20190045882 A KR 20190045882A KR 20200122763 A KR20200122763 A KR 20200122763A
Authority
KR
South Korea
Prior art keywords
substrate
treatment liquid
nozzle
support unit
liquid
Prior art date
Legal status (The legal status is an assumption and is not a legal conclusion. Google has not performed a legal analysis and makes no representation as to the accuracy of the status listed.)
Granted
Application number
KR1020190045882A
Other languages
English (en)
Other versions
KR102174062B1 (ko
Inventor
곽기영
이길재
Original Assignee
세메스 주식회사
Priority date (The priority date is an assumption and is not a legal conclusion. Google has not performed a legal analysis and makes no representation as to the accuracy of the date listed.)
Filing date
Publication date
Application filed by 세메스 주식회사 filed Critical 세메스 주식회사
Priority to KR1020190045882A priority Critical patent/KR102174062B1/ko
Publication of KR20200122763A publication Critical patent/KR20200122763A/ko
Application granted granted Critical
Publication of KR102174062B1 publication Critical patent/KR102174062B1/ko
Active legal-status Critical Current
Anticipated expiration legal-status Critical

Links

Images

Classifications

    • HELECTRICITY
    • H01ELECTRIC ELEMENTS
    • H01LSEMICONDUCTOR DEVICES NOT COVERED BY CLASS H10
    • H01L21/00Processes or apparatus adapted for the manufacture or treatment of semiconductor or solid state devices or of parts thereof
    • H01L21/67Apparatus specially adapted for handling semiconductor or electric solid state devices during manufacture or treatment thereof; Apparatus specially adapted for handling wafers during manufacture or treatment of semiconductor or electric solid state devices or components ; Apparatus not specifically provided for elsewhere
    • H01L21/67005Apparatus not specifically provided for elsewhere
    • H01L21/67242Apparatus for monitoring, sorting or marking
    • HELECTRICITY
    • H01ELECTRIC ELEMENTS
    • H01LSEMICONDUCTOR DEVICES NOT COVERED BY CLASS H10
    • H01L21/00Processes or apparatus adapted for the manufacture or treatment of semiconductor or solid state devices or of parts thereof
    • H01L21/02Manufacture or treatment of semiconductor devices or of parts thereof
    • H01L21/02041Cleaning
    • H01L21/02043Cleaning before device manufacture, i.e. Begin-Of-Line process
    • H01L21/02052Wet cleaning only
    • HELECTRICITY
    • H01ELECTRIC ELEMENTS
    • H01LSEMICONDUCTOR DEVICES NOT COVERED BY CLASS H10
    • H01L21/00Processes or apparatus adapted for the manufacture or treatment of semiconductor or solid state devices or of parts thereof
    • H01L21/02Manufacture or treatment of semiconductor devices or of parts thereof
    • H01L21/02104Forming layers
    • H01L21/02107Forming insulating materials on a substrate
    • H01L21/02296Forming insulating materials on a substrate characterised by the treatment performed before or after the formation of the layer
    • H01L21/02299Forming insulating materials on a substrate characterised by the treatment performed before or after the formation of the layer pre-treatment
    • H01L21/02307Forming insulating materials on a substrate characterised by the treatment performed before or after the formation of the layer pre-treatment treatment by exposure to a liquid
    • HELECTRICITY
    • H01ELECTRIC ELEMENTS
    • H01LSEMICONDUCTOR DEVICES NOT COVERED BY CLASS H10
    • H01L21/00Processes or apparatus adapted for the manufacture or treatment of semiconductor or solid state devices or of parts thereof
    • H01L21/02Manufacture or treatment of semiconductor devices or of parts thereof
    • H01L21/02104Forming layers
    • H01L21/02107Forming insulating materials on a substrate
    • H01L21/02296Forming insulating materials on a substrate characterised by the treatment performed before or after the formation of the layer
    • H01L21/02318Forming insulating materials on a substrate characterised by the treatment performed before or after the formation of the layer post-treatment
    • H01L21/02343Forming insulating materials on a substrate characterised by the treatment performed before or after the formation of the layer post-treatment treatment by exposure to a liquid
    • HELECTRICITY
    • H01ELECTRIC ELEMENTS
    • H01LSEMICONDUCTOR DEVICES NOT COVERED BY CLASS H10
    • H01L21/00Processes or apparatus adapted for the manufacture or treatment of semiconductor or solid state devices or of parts thereof
    • H01L21/67Apparatus specially adapted for handling semiconductor or electric solid state devices during manufacture or treatment thereof; Apparatus specially adapted for handling wafers during manufacture or treatment of semiconductor or electric solid state devices or components ; Apparatus not specifically provided for elsewhere
    • H01L21/67005Apparatus not specifically provided for elsewhere
    • H01L21/67011Apparatus for manufacture or treatment
    • H01L21/67017Apparatus for fluid treatment
    • H01L21/67028Apparatus for fluid treatment for cleaning followed by drying, rinsing, stripping, blasting or the like
    • H01L21/6704Apparatus for fluid treatment for cleaning followed by drying, rinsing, stripping, blasting or the like for wet cleaning or washing
    • H01L21/67051Apparatus for fluid treatment for cleaning followed by drying, rinsing, stripping, blasting or the like for wet cleaning or washing using mainly spraying means, e.g. nozzles
    • HELECTRICITY
    • H01ELECTRIC ELEMENTS
    • H01LSEMICONDUCTOR DEVICES NOT COVERED BY CLASS H10
    • H01L21/00Processes or apparatus adapted for the manufacture or treatment of semiconductor or solid state devices or of parts thereof
    • H01L21/67Apparatus specially adapted for handling semiconductor or electric solid state devices during manufacture or treatment thereof; Apparatus specially adapted for handling wafers during manufacture or treatment of semiconductor or electric solid state devices or components ; Apparatus not specifically provided for elsewhere
    • H01L21/67005Apparatus not specifically provided for elsewhere
    • H01L21/67011Apparatus for manufacture or treatment
    • H01L21/6715Apparatus for applying a liquid, a resin, an ink or the like
    • HELECTRICITY
    • H01ELECTRIC ELEMENTS
    • H01LSEMICONDUCTOR DEVICES NOT COVERED BY CLASS H10
    • H01L21/00Processes or apparatus adapted for the manufacture or treatment of semiconductor or solid state devices or of parts thereof
    • H01L21/67Apparatus specially adapted for handling semiconductor or electric solid state devices during manufacture or treatment thereof; Apparatus specially adapted for handling wafers during manufacture or treatment of semiconductor or electric solid state devices or components ; Apparatus not specifically provided for elsewhere
    • H01L21/683Apparatus specially adapted for handling semiconductor or electric solid state devices during manufacture or treatment thereof; Apparatus specially adapted for handling wafers during manufacture or treatment of semiconductor or electric solid state devices or components ; Apparatus not specifically provided for elsewhere for supporting or gripping
    • H01L21/687Apparatus specially adapted for handling semiconductor or electric solid state devices during manufacture or treatment thereof; Apparatus specially adapted for handling wafers during manufacture or treatment of semiconductor or electric solid state devices or components ; Apparatus not specifically provided for elsewhere for supporting or gripping using mechanical means, e.g. chucks, clamps or pinches
    • H01L21/68714Apparatus specially adapted for handling semiconductor or electric solid state devices during manufacture or treatment thereof; Apparatus specially adapted for handling wafers during manufacture or treatment of semiconductor or electric solid state devices or components ; Apparatus not specifically provided for elsewhere for supporting or gripping using mechanical means, e.g. chucks, clamps or pinches the wafers being placed on a susceptor, stage or support
    • H01L21/68742Apparatus specially adapted for handling semiconductor or electric solid state devices during manufacture or treatment thereof; Apparatus specially adapted for handling wafers during manufacture or treatment of semiconductor or electric solid state devices or components ; Apparatus not specifically provided for elsewhere for supporting or gripping using mechanical means, e.g. chucks, clamps or pinches the wafers being placed on a susceptor, stage or support characterised by a lifting arrangement, e.g. lift pins
    • HELECTRICITY
    • H01ELECTRIC ELEMENTS
    • H01LSEMICONDUCTOR DEVICES NOT COVERED BY CLASS H10
    • H01L21/00Processes or apparatus adapted for the manufacture or treatment of semiconductor or solid state devices or of parts thereof
    • H01L21/67Apparatus specially adapted for handling semiconductor or electric solid state devices during manufacture or treatment thereof; Apparatus specially adapted for handling wafers during manufacture or treatment of semiconductor or electric solid state devices or components ; Apparatus not specifically provided for elsewhere
    • H01L21/683Apparatus specially adapted for handling semiconductor or electric solid state devices during manufacture or treatment thereof; Apparatus specially adapted for handling wafers during manufacture or treatment of semiconductor or electric solid state devices or components ; Apparatus not specifically provided for elsewhere for supporting or gripping
    • H01L21/687Apparatus specially adapted for handling semiconductor or electric solid state devices during manufacture or treatment thereof; Apparatus specially adapted for handling wafers during manufacture or treatment of semiconductor or electric solid state devices or components ; Apparatus not specifically provided for elsewhere for supporting or gripping using mechanical means, e.g. chucks, clamps or pinches
    • H01L21/68714Apparatus specially adapted for handling semiconductor or electric solid state devices during manufacture or treatment thereof; Apparatus specially adapted for handling wafers during manufacture or treatment of semiconductor or electric solid state devices or components ; Apparatus not specifically provided for elsewhere for supporting or gripping using mechanical means, e.g. chucks, clamps or pinches the wafers being placed on a susceptor, stage or support
    • H01L21/68764Apparatus specially adapted for handling semiconductor or electric solid state devices during manufacture or treatment thereof; Apparatus specially adapted for handling wafers during manufacture or treatment of semiconductor or electric solid state devices or components ; Apparatus not specifically provided for elsewhere for supporting or gripping using mechanical means, e.g. chucks, clamps or pinches the wafers being placed on a susceptor, stage or support characterised by a movable susceptor, stage or support, others than those only rotating on their own vertical axis, e.g. susceptors on a rotating caroussel
    • HELECTRICITY
    • H01ELECTRIC ELEMENTS
    • H01LSEMICONDUCTOR DEVICES NOT COVERED BY CLASS H10
    • H01L22/00Testing or measuring during manufacture or treatment; Reliability measurements, i.e. testing of parts without further processing to modify the parts as such; Structural arrangements therefor
    • H01L22/10Measuring as part of the manufacturing process
    • H01L22/12Measuring as part of the manufacturing process for structural parameters, e.g. thickness, line width, refractive index, temperature, warp, bond strength, defects, optical inspection, electrical measurement of structural dimensions, metallurgic measurement of diffusions
    • HELECTRICITY
    • H01ELECTRIC ELEMENTS
    • H01LSEMICONDUCTOR DEVICES NOT COVERED BY CLASS H10
    • H01L22/00Testing or measuring during manufacture or treatment; Reliability measurements, i.e. testing of parts without further processing to modify the parts as such; Structural arrangements therefor
    • H01L22/20Sequence of activities consisting of a plurality of measurements, corrections, marking or sorting steps
    • H01L22/24Optical enhancement of defects or not directly visible states, e.g. selective electrolytic deposition, bubbles in liquids, light emission, colour change

Landscapes

  • Engineering & Computer Science (AREA)
  • Manufacturing & Machinery (AREA)
  • Computer Hardware Design (AREA)
  • Microelectronics & Electronic Packaging (AREA)
  • Power Engineering (AREA)
  • Physics & Mathematics (AREA)
  • Condensed Matter Physics & Semiconductors (AREA)
  • General Physics & Mathematics (AREA)
  • Cleaning Or Drying Semiconductors (AREA)

Abstract

기판 처리 장치가 개시된다. 기판 처리 장치는 내부에 기판 처리 공정이 수행되는 공간을 제공하는 하우징, 하우징 내에서 기판을 지지하는 지지 유닛, 지지 유닛에 놓인 기판에 처리액을 공급하는 제1 노즐 및 지지 유닛 상에 탈착 가능하게 제공되고, 제1 노즐에서 토출되는 처리액의 토출량을 측정하는 유량 측정 유닛을 포함하되, 유량 측정 유닛은, 지지 유닛에 결합되는 바디, 상부가 개방되어 제1 노즐로부터 토출되는 처리액이 수용되는 수용 공간을 가지는 플레이트, 바디와 플레이트 사이에 위치하여 수용 공간에 수용된 처리액의 무게를 측정하는 무게 측정 부재, 무게 측정 부재에서 측정되는 처리액의 무게에 기초하여 처리액의 토출량을 산출하는 제어 부재 및 제어 부재에서 산출된 처리액의 토출량을 외부로 전송하는 통신 부재를 포함한다.

Description

기판 처리 장치 및 기판 처리 방법{APPARATUS AND METHOD FOR TREATING SUBSTRATE}
본 발명은 기판 처리 장치 및 기판 처리 방법에 관한 것으로, 보다 상세하게는 노즐에서 토출되는 처리액의 토출량을 측정할 수 있는 기판 처리 장치 및 기판 처리 방법에 관한 것이다.
기판 표면에 잔류하는 파티클(Particle), 유기 오염물, 그리고 금속 오염물 등의 오염 물질은 반도체 소자의 특성과 생산 수율에 많은 영향을 미친다. 이 때문에 기판 표면에 부착된 각종 오염 물질을 제거하는 세정 공정이 반도체 제조 공정에서 매우 중요하며, 반도체를 제조하는 각 단위 공정의 전후 단계에서 기판을 세정 처리하는 공정이 실시되고 있다. 일반적으로 기판의 세정은 케미칼을 이용하여 기판상에 잔류하는 금속 이물질, 유기 물질, 또는 파티클 등을 제거하는 케미컬 처리 공정, 순수를 이용하여 기판상에 잔류하는 케미칼을 제거하는 린스 공정, 그리고 유기 용제, 초임계 유체, 또는 질소 가스 등을 이용하여 기판을 건조하는 건조 공정을 포함한다.
상술한 케미칼을 세정 공정과 같이 기판에 액을 공급하여 처리하는 공정의 경우, 기판의 정밀한 처리를 위해 액을 토출하는 노즐의 시간당 토출량을 정확히 조절하는 것이 요구된다. 따라서, 기판에 액을 공급하여 처리하는 장치의 경우 노즐의 단위 시간당 토출량을 주기적으로 측정한다.
종래에는 작업자가 직접 지그 커버 및 메스 실린더를 이용하여 케미칼의 토출량을 측정하였으므로 케미칼의 접촉 위험에 노출되는 문제가 있었고, 특히 케미칼이 독성 물질인 경우 작업자 보호를 위해 작업 절차가 복잡해지는 문제가 있었다. 이에 따라, 케미칼의 토출량을 자동으로 측정할 수 있는 장치에 대한 요구가 있었다.
본 발명의 목적은 노즐에서 토출되는 처리액의 토출량을 자동으로 측정할 수 있는 기판 처리 장치 및 기판 처리 방법을 제공함에 있다.
본 발명이 해결하고자 하는 과제가 상술한 과제들로 한정되는 것은 아니며, 언급되지 아니한 과제들은 본 명세서 및 첨부된 도면으로부터 본 발명의 속하는 기술 분야에서 통상의 지식을 가진 자에게 명확하게 이해될 수 있을 것이다.
상술한 목적을 달성하기 위한 본 발명의 일 실시 예에 따른 기판 처리 장치는, 기판을 처리하는 장치에 있어서, 내부에 기판 처리 공정이 수행되는 공간을 제공하는 하우징, 상기 하우징 내에서 기판을 지지하는 지지 유닛, 상기 지지 유닛에 놓인 기판에 처리액을 공급하는 제1 노즐 및 상기 지지 유닛 상에 탈착 가능하게 제공되고, 상기 제1 노즐에서 토출되는 처리액의 토출량을 측정하는 유량 측정 유닛을 포함하되, 상기 유량 측정 유닛은, 상기 지지 유닛에 결합되는 바디, 상부가 개방되어 상기 제1 노즐로부터 토출되는 처리액이 수용되는 수용 공간을 가지는 플레이트, 상기 바디와 상기 플레이트 사이에 위치하여 상기 수용 공간에 수용된 처리액의 무게를 측정하는 무게 측정 부재, 상기 무게 측정 부재에서 측정되는 상기 처리액의 무게에 기초하여 상기 처리액의 토출량을 산출하는 제어 부재 및 상기 제어 부재에서 산출된 상기 처리액의 토출량을 외부로 전송하는 통신 부재를 포함한다.
여기서, 상기 지지 유닛은, 회전 가능한 스핀 헤드 및 상기 스핀 헤드로부터 상부로 돌출되어 기판을 지지하는 핀 부재를 포함하고, 상기 바디는, 상기 핀 부재가 삽입되는 홈이 형성될 수 있다.
여기서, 상기 핀 부재는, 상기 스핀 헤드에 놓인 기판의 측부를 지지하는 척 핀을 포함하고, 상기 홈은, 상기 바디의 측면에 형성되는 제1 홈을 포함하며, 상기 바디가 상기 지지 유닛에 결합시 상기 척 핀이 상기 제1 홈에 삽입될 수 있다.
또한, 상기 핀 부재는, 상기 스핀 헤드에 놓인 기판의 저면을 지지하는 지지 핀을 포함하고, 상기 홈은, 상기 바디의 저면에 형성되는 제2 홈을 포함하며, 상기 바디가 상기 지지 유닛에 결합시 상기 지지 핀이 상기 제2 홈에 삽입될 수 있다.
또한, 상기 바디는, 가장자리 영역이 상기 바디의 외측 방향으로 경사지게 제공될 수 있다.
여기서, 상기 가장자리 영역은, 10도 내지 50도의 각도로 아래 방향으로 경사지게 제공될 수 있다.
여기서, 상기 바디는, 중심의 두께가 1.8 mm 내지 2.2 mm 이고, 최외곽의 두께가 0.8 mm 내지 1.2 mm 로 제공될 수 있다.
또한, 상기 바디의 하부는, 상기 기판과 동일한 크기로 제공될 수 있다.
또한, 상기 무게 측정 부재는, 로드셀로 제공될 수 있다.
또한, 상기 통신 부재는, 블루투스 모듈일 수 있다.
또한, 상기 유량 측정 유닛을 세정하는 세정액을 공급하는 제2 노즐을 더 포함할 수 있다.
한편, 본 발명의 일 실시 예에 따른 기판 처리 방법은, 본 발명의 기판 처리 장치를 이용하여 기판을 처리하는 방법에 있어서, 상기 유량 측정 유닛을 상기 지지 유닛 상에 결합하는 단계, 상기 제1 노즐로부터 상기 수용 공간으로 상기 처리액이 토출되는 단계, 상기 수용 공간에 수용된 처리액의 무게를 측정하는 단계 및 측정된 상기 처리액의 무게에 기초하여 상기 처리액의 토출량을 산출하는 단계를 포함한다.
여기서, 상기 기판 처리 장치는, 상기 유량 측정 유닛을 세정하는 세정액을 공급하는 제2 노즐을 더 포함하며, 상기 처리액의 토출량을 측정하는 단계 이후, 상기 수용 공간 내의 처리액을 제거하는 단계 및 상기 제2 노즐로부터 상기 수용 공간으로 상기 세정액을 공급하여 상기 유량 측정 유닛을 세정하는 단계를 더 포함할 수 있다.
여기서, 상기 수용 공간 내의 처리액을 제거하는 단계는, 상기 지지 유닛을 회전시켜 상기 바디의 회전에 의해 상기 처리액이 제거될 수 있다.
여기서, 상기 유량 측정 유닛을 세정하는 단계 이후, 상기 지지 유닛에서 상기 유량 측정 유닛을 제거하고 상기 지지 유닛 상에 기판을 로딩하는 단계 및 상기 제1 노즐로부터 상기 기판으로 상기 처리액을 공급하는 단계를 더 포함할 수 있다.
여기서, 상기 기판으로 상기 처리액을 공급하는 단계 전에, 상기 제1 노즐로부터 토출되는 상기 처리액의 토출량을 조절하는 단계를 더 포함할 수 있다.
이상과 같은 본 발명의 다양한 실시 예에 따르면 노즐에서 토출된 처리액의 무게를 측정하여 자동으로 처리액의 토출량을 측정할 수 있다.
또한, 측정된 처리액의 토출량을 자동으로 외부로 전송하여 작업자가 용이하게 처리액의 토출량에 관한 정보를 획득할 수 있다.
도 1은 본 발명의 일 실시 예에 따른 기판 처리 설비를 개략적으로 나타낸 평면도이다.
도 2는 본 발명의 일 실시 예에 따른 기판 처리 장치를 나타내는 단면도이다.
도 3은 본 발명의 일 실시 예에 따른 지지 유닛 상에 유량 측정 유닛이 위치한 상태의 단면도이다.
도 4는 본 발명의 일 실시 예에 따른 유량 측정 유닛의 구성을 나타내는 도면이다.
도 5 및 도 6은 본 발명의 일 실시 예에 따른 유량 측정 유닛이 지지 유닛에 결합되는 구조를 나타내는 도면이다.
도 7은 본 발명의 일 실시 예에 따른 바디의 구조는 나타내는 도면이다.
도 8 및 도 9는 본 발명의 일 실시 예에 따른 기판 처리 방법을 나타내는 흐름도이다.
이하, 본 발명의 실시 예를 첨부된 도면들을 참조하여 더욱 상세하게 설명한다. 본 발명의 실시 예는 여러 가지 형태로 변형할 수 있으며, 본 발명의 범위가 아래의 실시 예들로 한정되는 것으로 해석되어서는 안 된다. 본 실시 예는 당업계에서 평균적인 지식을 가진 자에게 본 발명을 더욱 완전하게 설명하기 위해 제공되는 것이다. 따라서 도면에서의 요소의 형상은 보다 명확한 설명을 강조하기 위해 과장되었다.
본 발명의 실시 예에서는 기판을 세정하는 공정을 수행하는 기판 처리 장치에 대해서 설명한다. 그러나 본 발명은 이에 한정되지 않고, 기판 상에 액을 도포하는 다양한 종류의 장치에 적용 가능하다.
이하, 도면들을 참조하여 본 발명의 장치 및 방법의 일 예를 상세히 설명한다.
도 1은 본 발명의 기판처리설비(1)를 개략적으로 나타낸 평면도이다. 도 1을 참조하면, 기판처리설비(1)는 인덱스모듈(10)과 공정처리모듈(20)을 가지고, 인덱스모듈(10)은 로드포트(120) 및 이송프레임(140)을 가진다. 로드포트(120), 이송프레임(140), 그리고 공정처리모듈(20)은 순차적으로 일렬로 배열된다. 이하, 로드포트(120), 이송프레임(140), 그리고 공정처리모듈(20)이 배열된 방향을 제1방향(12)이라 한다. 그리고 상부에서 바라볼 때 제1방향(12)과 수직한 방향을 제2방향(14)이라 하고, 제1방향(12)과 제2방향(14)을 포함한 평면에 수직인 방향을 제3방향(16)이라 한다.
로드포트(120)에는 기판(W)이 수납된 캐리어(18)가 안착된다. 로드포트(120)는 복수 개가 제공되며 이들은 제2방향(14)을 따라 일렬로 배치된다. 도 1에서는 네 개의 로드포트(120)가 제공된 것으로 도시하였다. 그러나 로드포트(120)의 개수는 공정처리모듈(20)의 공정효율 및 풋 프린트 등의 조건에 따라 증가하거나 감소할 수도 있다. 캐리어(18)에는 기판(W)의 가장자리를 지지하도록 제공된 슬롯(도시되지 않음)이 형성된다. 슬롯은 제3방향(16)을 복수 개가 제공되고, 기판(W)은 제3방향(16)을 따라 서로 이격된 상태로 적층되게 캐리어 내에 위치된다. 캐리어(18)로는 전면 개방 일체형 포드(Front Opening Unified Pod;FOUP)가 사용될 수 있다.
공정처리모듈(20)은 버퍼유닛(220), 이송챔버(240), 그리고 공정챔버(260)를 가진다. 이송챔버(240)는 그 길이 방향이 제1방향(12)과 평행하게 배치된다. 제2방향(14)를 따라 이송챔버(240)의 일측 및 타측에는 각각 공정챔버들(260)이 배치된다. 이송챔버(240)의 일측에 위치한 공정챔버들(260)과 이송챔버(240)의 타측에 위치한 공정챔버들(260)은 이송챔버(240)를 기준으로 서로 대칭이 되도록 제공된다. 공정챔버(260)들 중 일부는 이송챔버(240)의 길이 방향을 따라 배치된다. 또한, 공정챔버(260)들 중 일부는 서로 적층되게 배치된다. 즉, 이송챔버(240)의 일측에는 공정챔버(260)들이 A X B(A와 B는 각각 1이상의 자연수)의 배열로 배치될 수 있다. 여기서 A는 제1방향(12)을 따라 일렬로 제공된 공정챔버(260)의 수이고, B는 제3방향(16)을 따라 일렬로 제공된 공정챔버(260)의 수이다. 이송챔버(240)의 일측에 공정 챔버(260)가 4개 또는 6개 제공되는 경우, 공정챔버(260)들은 2 X 2 또는 3 X 2의 배열로 배치될 수 있다. 공정챔버(260)의 개수는 증가하거나 감소할 수도 있다. 상술한 바와 달리, 공정챔버(260)는 이송챔버(240)의 일측에만 제공될 수 있다. 또한, 상술한 바와 달리, 공정챔버(260)는 이송챔버(240)의 일측 및 양측에 단층으로 제공될 수 있다.
버퍼유닛(220)은 이송프레임(140)과 이송챔버(240) 사이에 배치된다. 버퍼 유닛(220)은 이송챔버(240)와 이송프레임(140) 간에 기판(W)이 반송되기 전에 기판(W)이 머무르는 공간을 제공한다. 버퍼유닛(220)은 그 내부에 기판(W)이 놓이는 슬롯(미도시)이 제공되며, 슬롯(미도시)들은 서로 간에 제3방향(16)을 따라 이격되도록 복수 개 제공된다. 버퍼유닛(220)에서 이송프레임(140)과 마주보는 면과 이송챔버(240)와 마주보는 면 각각이 개방된다.
이송프레임(140)은 로드포트(120)에 안착된 캐리어(18)와 버퍼유닛(220) 간에 기판(W)을 반송한다. 이송프레임(140)에는 인덱스레일(142)과 인덱스로봇(144)이 제공된다. 인덱스레일(142)은 그 길이 방향이 제2방향(14)과 나란하게 제공된다. 인덱스로봇(144)은 인덱스레일(142) 상에 설치되며, 인덱스레일(142)을 따라 제2방향(14)으로 직선 이동된다. 인덱스로봇(144)은 베이스(144a), 몸체(144b), 그리고 인덱스암(144c)을 가진다. 베이스(144a)는 인덱스레일(142)을 따라 이동 가능하도록 설치된다. 몸체(144b)는 베이스(144a)에 결합된다. 몸체(144b)는 베이스(144a) 상에서 제3방향(16)을 따라 이동 가능하도록 제공된다. 또한, 몸체(144b)는 베이스(144a) 상에서 회전 가능하도록 제공된다. 인덱스암(144c)은 몸체(144b)에 결합되고, 몸체(144b)에 대해 전진 및 후진 이동 가능하도록 제공된다. 인덱스암(144c)은 복수 개 제공되어 각각 개별 구동되도록 제공된다. 인덱스암(144c)들은 제3방향(16)을 따라 서로 이격된 상태로 적층되게 배치된다. 인덱스암(144c)들 중 일부는 공정처리모듈(20)에서 캐리어(18)로 기판(W)을 반송할 때 사용되고, 다른 일부는 캐리어(18)에서 공정처리모듈(20)로 기판(W)을 반송할 때 사용될 수 있다. 이는 인덱스로봇(144)이 기판(W)을 반입 및 반출하는 과정에서 공정 처리 전의 기판(W)으로부터 발생된 파티클이 공정 처리 후의 기판(W)에 부착되는 것을 방지할 수 있다.
이송챔버(240)는 버퍼유닛(220)과 공정챔버(260) 간에, 그리고 공정챔버(260)들 간에 기판(W)을 반송한다. 이송챔버(240)에는 가이드레일(242)과 메인로봇(244)이 제공된다. 가이드레일(242)은 그 길이 방향이 제1방향(12)과 나란하도록 배치된다. 메인로봇(244)은 가이드레일(242) 상에 설치되고, 가이드레일(242) 상에서 제1방향(12)을 따라 직선 이동된다. 메인로봇(244)은 베이스(244a), 몸체(244b), 그리고 메인암(244c)을 가진다. 베이스(244a)는 가이드레일(242)을 따라 이동 가능하도록 설치된다. 몸체(244b)는 베이스(244a)에 결합된다. 몸체(244b)는 베이스(244a) 상에서 제3방향(16)을 따라 이동 가능하도록 제공된다. 또한, 몸체(244b)는 베이스(244a) 상에서 회전 가능하도록 제공된다. 메인암(244c)은 몸체(244b)에 결합되고, 이는 몸체(244b)에 대해 전진 및 후진 이동 가능하도록 제공된다. 메인암(244c)은 복수 개 제공되어 각각 개별 구동되도록 제공된다. 메인암(244c)들은 제3방향(16)을 따라 서로 이격된 상태로 적층되게 배치된다. 버퍼유닛(220)에서 공정챔버(260)로 기판(W)을 반송할 때 사용되는 메인암(244c)과 공정챔버(260)에서 버퍼유닛(220)으로 기판(W)을 반송할 때 사용되는 메인암(244c)은 서로 상이할 수 있다.
공정챔버(260) 내에는 기판(W)에 대해 세정 공정을 수행하는 기판 처리 장치(300)가 제공된다. 각각의 공정챔버(260) 내에 제공된 기판 처리 장치(300)는 수행하는 세정 공정의 종류에 따라 상이한 구조를 가질 수 있다. 선택적으로 각각의 공정챔버(260) 내의 기판 처리 장치(300)는 동일한 구조를 가질 수 있다. 선택적으로 공정챔버(260)들은 복수 개의 그룹으로 구분되어, 동일한 그룹에 속하는 공정챔버(260)에 제공된 기판 처리 장치(300)들은 서로 동일한 구조를 가지고, 상이한 그룹에 속하는 공정챔버(260)에 제공된 기판 처리 장치(300)들은 서로 상이한 구조를 가질 수 있다. 예컨대, 공정챔버(260)가 2개의 그룹으로 나누어지는 경우, 이송챔버(240)의 일측에는 제1그룹의 공정챔버들(260)이 제공되고, 이송챔버(240)의 타측에는 제2그룹의 공정 챔버들(260)이 제공될 수 있다. 선택적으로 이송챔버(240)의 일측 및 타측 각각에서 하층에는 제1그룹의 공정챔버(260)들이 제공되고, 상층에는 제2그룹의 공정챔버(260)들이 제공될 수 있다. 제1그룹의 공정챔버(260)와 제2그룹의 공정챔버(260)는 각각 사용되는 케미컬의 종류나, 세정 방식의 종류에 따라 구분될 수 있다.
아래에서는 처리액을 이용하여 기판(W)을 세정하는 기판 처리 장치(300)의 일 예를 설명한다. 도 2를 참조하면, 기판 처리 장치(300)는 하우징(320), 지지 유닛(340), 승강유닛(360), 제 1 공급 유닛(380), 제 2 공급 유닛(390) 그리고 유량 측정 유닛(400)를 포함한다.
하우징(320)은 내부에 기판처리공정이 수행되는 공간을 제공하며, 그 상부는 개방된다. 하우징(320)은 내부회수통(322), 중간회수통(324), 그리고 외부회수통(326)을 가진다. 각각의 회수통(322, 324, 326)은 공정에 사용된 처리액 중 서로 상이한 처리액을 회수한다. 내부회수통(322)은 지지 유닛(340)을 감싸는 환형의 링 형상으로 제공되고, 중간회수통(324)은 내부회수통(322)을 감싸는 환형의 링 형상으로 제공되고, 외부회수통(326)은 중간회수통(324)을 감싸는 환형의 링 형상으로 제공된다. 내부회수통(322)의 내측공간(322a), 내부회수통(322)과 중간회수통(324)의 사이 공간(324a) 그리고 중간회수통(324)과 외부회수통(326)의 사이 공간(326a)은 각각 내부회수통(322), 중간회수통(324), 그리고 외부회수통(326)으로 처리액이 유입되는 유입구로서 기능한다. 각각의 회수통(322, 324, 326)에는 그 저면 아래 방향으로 수직하게 연장되는 회수라인(322b, 324b, 326b)이 연결된다. 각각의 회수라인(322b, 324b, 326b)은 각각의 회수통(322, 324, 326)을 통해 유입된 처리액을 배출한다. 배출된 처리액은 외부의 처리액 재생 시스템(미도시)을 통해 재사용될 수 있다.
도 3은 본 발명의 일 실시 예에 따른 지지 유닛 상에 유량 측정 유닛이 위치한 상태의 단면도이다. 도 2 및 도 3을 참조하면, 지지 유닛(340)은 하우징(320) 내에 제공된다. 지지 유닛(340)은 기판(W)을 지지한다. 지지 유닛(340)은 지지된 기판(W)을 회전시키는 스핀 헤드(340)로 제공될 수 있다. 일 실시 예에 따르면, 스핀 헤드(340)는 하우징(320) 내에 배치된다. 스핀 헤드(340)은 공정 진행 중 기판(W)을 지지하고 기판(W)을 회전시킨다. 스핀 헤드(340)는 몸체(342), 지지 핀(334), 척 핀(346), 그리고 지지축(348)을 가진다. 몸체(342)는 상부에서 바라볼 때 대체로 원형으로 제공되는 상부면을 가진다. 몸체(342)의 저면에는 모터(349)에 의해 회전가능한 지지축(348)이 고정결합된다.
지지 핀(334)은 복수 개 제공된다. 지지 핀(334)은 몸체(342)의 상부면의 가장자리부에 소정 간격으로 이격되게 배치되고 몸체(342)에서 상부로 돌출된다. 지지 핀들(334)은 서로 간에 조합에 의해 전체적으로 환형의 링 형상을 가지도록 배치된다. 지지 핀(334)은 몸체(342)의 상부면으로부터 기판(W)이 일정거리 이격되도록 기판(W)의 저면 가장자리를 지지한다. 지지 핀(334)은 상하 방향으로 이동되도록 제공됨으로써, 몸체(342)의 내외부로 이동 가능하도록 제공될 수 있다.
척 핀(346)은 복수 개 제공된다. 척 핀(346)은 몸체(342)의 중심에서 지지 핀(334)보다 멀리 떨어지게 배치된다. 척 핀(346)은 몸체(342)에서 상부로 돌출되도록 제공된다. 척 핀(346)은 스핀 헤드(340)가 회전될 때 기판(W)이 정 위치에서 측 방향으로 이탈되지 않도록 기판(W)의 측부를 지지한다. 척 핀(346)은 몸체(342)의 반경 방향을 따라 대기 위치와 지지 위치 간에 직선 이동 가능하도록 제공된다. 대기 위치는 지지 위치에 비해 몸체(342)의 중심으로부터 멀리 떨어진 위치이다. 기판(W)이 스핀 헤드(340)에 로딩 또는 언 로딩시에는 척 핀(346)은 대기 위치에 위치되고, 기판(W)에 대해 공정 수행시에는 척 핀(346)은 지지 위치에 위치된다. 지지 위치에서 척 핀(346)은 기판(W)의 측부와 접촉된다.
승강유닛(360)은 하우징(320)을 상하 방향으로 직선 이동시킨다. 하우징(320)이 상하로 이동됨에 따라 스핀 헤드(340)에 대한 하우징(320)의 상대 높이가 변경된다. 승강유닛(360)은 브라켓(362), 이동축(364), 그리고 구동기(366)를 가진다. 브라켓(362)은 하우징(320)의 외벽에 고정설치되고, 브라켓(362)에는 구동기(366)에 의해 상하 방향으로 이동되는 이동축(364)이 고정결합된다. 기판(W)이 스핀 헤드(340)에 놓이거나, 스핀 헤드(340)로부터 들어올려 질 때 스핀 헤드(340)가 하우징(320)의 상부로 돌출되도록 하우징(320)은 하강된다. 또한, 공정이 진행될 시에는 기판(W)에 공급된 처리액의 종류에 따라 처리액이 기설정된 회수통(360)으로 유입될 수 있도록 하우징(320)의 높이가 조절한다. 예컨대, 제1처리액으로 기판(W)을 처리하고 있는 동안에 기판(W)은 내부회수통(322)의 내측공간(322a)과 대응되는 높이에 위치된다. 또한, 제2처리액, 그리고 제3처리액으로 기판(W)을 처리하는 동안에 각각 기판(W)은 내부회수통(322)과 중간회수통(324)의 사이 공간(324a), 그리고 중간회수통(324)과 외부회수통(326)의 사이 공간(326a)에 대응되는 높이에 위치될 수 있다. 상술한 바와 달리 승강유닛(360)은 하우징(320) 대신 스핀 헤드(340)를 상하 방향으로 이동시킬 수 있다.
제 1 공급 유닛(380)은 스핀 헤드(340)에 놓인 기판(W) 상에 처리액을 공급하는 제1 노즐(384)을 가진다. 예를 들면 제 1 공급 유닛(380)은 노즐 지지대(382), 제1 노즐(384), 지지축(386), 그리고 구동기(388)를 가진다. 지지축(386)은 그 길이 방향이 제3방향(16)을 따라 제공되고, 지지축(386)의 하단에는 구동기(388)가 결합된다. 구동기(388)는 지지축(386)을 회전 및 승강 운동한다. 노즐지지대(382)는 구동기(388)와 결합된 지지축(386)의 끝단 반대편과 수직하게 결합된다. 제1 노즐(384) 은 노즐지지대(382)의 끝단 저면에 설치된다. 제1 노즐(384)은 구동기(388)에 의해 공정 위치와 대기 위치로 이동된다. 공정 위치는 제1 노즐(384)이 하우징(320)의 수직 상부에 배치된 위치이고, 대기 위치는 제1 노즐(384) 이 하우징(320)의 수직 상부로부터 벗어난 위치이다. 제1 노즐(384)은 스핀 헤드(340)에 놓인 기판(W) 상의 중앙 영역을 포함하는 영역에 처리액을 공급한다. 제1 노즐(384)에는 처리액을 저장하는 저장 용기(371)가 공급라인을 통해 연결된다. 공급 라인에는 밸브(372)가 설치된다. 제 1 공급 유닛(380)은 복수개로 제공될 수 있다. 이 경우, 각각의 제 1 공급 유닛(380)은 서로 상이한 처리액을 공급할 수 있다. 이와 달리, 제 1 공급 유닛(380)이 단수로 제공되는 경우, 제1 노즐(384)은 복수개로 제공될 수 있다. 이 경우, 각각의 제1 노즐(384)은 서로 상이한 처리액을 토출할 수 있다. 처리액은 이소프로필 알코올(IPA) 등의 유기 용제로 제공될 수 있다.
제 2 공급 유닛(390)은 지지 유닛(340) 상에 장착된 유량 측정 유닛(400)을 세정하는 세정액을 공급하는 제2 노즐(394)을 가진다. 일 실시 예에 따르면, 세정액은 순수(DIW)로 제공될 수 있다. 제2 노즐(394)은 지지 유닛(340) 상에 놓인 유량 측정 유닛(400)의 수용 공간에 세정액을 공급한다. 제2 노즐(394)에는 세정액을 저장하는 저장 용기(371)가 공급라인을 통해 연결된다. 공급 라인에는 밸브(373)가 설치된다. 제 2 공급 유닛(390)은 제2 노즐(394)을 이동시킬 수 있도록 구동기(398)를 가진다. 제 2 공급 유닛(390)의 그 외의 구성 및 구조는 제 1 공급 유닛(380)과 유사하다.
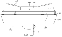
도 4는 본 발명의 일 실시 예에 따른 유량 측정 유닛의 구성을 나타내는 도면이다. 도 3 및 도 4를 참조하면, 유량 측정 유닛(400)은 제1 노즐(384)에서 토출되는 처리액의 토출량을 측정한다. 유량 측정 유닛(400)은 지지 유닛(340) 상에 탈착 가능하도록 제공된다. 유량 측정 유닛(400)은 바디(410), 플레이트(420), 무게 측정 부재(430), 제어 부재(440) 및 통신 부재(450)를 포함한다.
바디(410)는 지지 유닛(340)에 결합된다. 바디(410)의 가장자리 영역은 바디(410)의 외측 방향으로 경사지게 제공될 수 있다. 구체적으로, 바디(410)는 상부에서 바라볼 때 원형의 형상을 가지며, 중심 영역은 평평하고 가장자리 영역은 경사진 형상으로 제공될 수 있다. 바디(410)의 하부는 기판과 동일한 크기로 제공되어 바디(410)는 지지 유닛(340)에 용이하게 결합될 수 있다. 또한, 바디(410)는 핀 부재(334, 346)가 삽입되는 홈(411)이 형성될 수 있다. 도 5 및 도 6을 참조하면, 홈(411)은 바디(410)의 측면에 형성되는 제1 홈(411-1) 및 바디(410)의 저면에 형성되는 제2 홈(411-2)을 포함한다. 제1 홈(411-1)은 바디(410)의 측면에 일정한 간격으로 복수 개 형성될 수 있다. 제1 홈(411-1)은 척 핀(346)에 대응되는 개수로 형성될 수 있으며, 바디(410)가 지지 유닛(340)에 결합할 때 척 핀(346)이 제1 홈(411-1)에 삽입될 수 있다. 제2 홈(411-2)은 바디(410)의 저면에 일정한 간격으로 복수 개 형성될 수 있다. 제2 홈(411-2)은 지지 핀(334)에 대응되는 개수로 형성될 수 있으며, 바디(410)가 지지 유닛(340)에 결합할 때 지지 핀(334)이 제2 홈(411-2)에 삽입될 수 있다. 바디(410)에는 제1 홈(411-1) 및 제2 홈(411-2)이 모두 형성되거나 제1 홈(411-1) 및 제2 홈(411-2) 중 어느 하나만 형성될 수도 있다. 또한, 도 7을 참조하면, 바디(410)의 가장자리 영역은 바디(410)의 외측으로 갈수록 수평면에 대해 아래 방향으로 경사지게 제공되며, 경사 각도(c)는 10도 내지 50도의 각도로 제공될 수 있다. 바디(410)는 중심 두께(a)가 1.8 mm 내지 2.2 mm이고, 최외곽의 두께(b)가 0.8 mm 내지 1.2 mm로 제공될 수 있으며, 바람직하게는, 중심 두께(a)가 2.0 mm, 최외곽 두께(b)가 1.0 mm로 제공될 수 있다.
다시 도 3 및 도 4를 참조하면, 플레이트(420)는 상부가 개방되어 제1 노즐(384)에서 토출되는 처리액이 수용되는 수용 공간을 가진다. 제1 노즐(384)로부터 수용 공간으로 처리액이 토출되면, 바디(410)와 플레이트(420) 사이에 위치하는 무게 측정 부재(430)가 수용 공간에 수용된 처리액의 무게를 측정할 수 있다. 무게 측정 부재(430)는 로드셀로 제공될 수 있다. 제어 부재(440)는 무게 측정 부재(430)에서 측정된 처리액의 무게에 기초하여 처리액의 토출량을 산출할 수 있다. 통신 부재(450)는 제어 부재(440)에서 산출된 처리액의 토출량을 외부로 전송할 수 있다. 일 예로, 통신 부재(450)는 블루투스 모듈로 제공되어 블루투스 통신을 이용하여 토출량 정보를 외부로 전송할 수 있다. 무게 측정 부재(430), 제어 부재(440) 및 통신 부재(450)는 하나의 장치(예를 들어, 로드셀 및 블루투스 모듈을 포함하는 측정 장치)로 구현될 수 있으나, 이에 한정되는 것은 아니다.
도 8 및 도 9는 본 발명의 일 실시 예에 따른 기판 처리 방법을 나타내는 흐름도이다. 도 8을 참조하면, 우선, 유량 측정 유닛을 지지 유닛 상에 결합한다(S810). 이어서, 제1 노즐로부터 수용 공간으로 처리액이 토출되면(S820), 수용 공간에 수용된 처리액의 무게를 측정한다(S830). 이어서, 측정된 처리액의 무게에 기초하여 처리액의 토출량을 산출한다(S840).
또한, 도 9를 참조하면, 처리액의 토출량을 측정한 후, 측정된 처리액의 토출량에 기초하여 처리액의 토출량을 조절하여 기판으로 처리액을 공급함으로써, 기판을 처리할 수 있다. 구체적으로, 유량 측정 유닛을 지지 유닛에 결합하고(S910), 제1 노즐로부터 수용 공간으로 처리액이 토출되면(S920), 수용 공간에 수용된 처리액의 무게를 측정하고(S930), 측정된 처리액의 무게에 기초하여 처리액의 토출량을 측정한다(S940). 처리액의 토출량을 측정한 후, 유량 측정 유닛의 수용 공간 내의 처리액을 제거하고(S950), 제2 노즐로부터 수용 공간으로 세정액을 공급하여(S960) 유량 측정 유닛의 세정 공정을 수행할 수 있다. 유량 측정 유닛을 세정한 후 기판을 처리하기 위하여 지지 유닛에서 유량 측정 유닛을 제거하고 지지 유닛 상에 기판을 로딩한다(S970). 유량 측정 유닛에 의해 측정된 처리액의 토출량에 기초하여 제2 노즐로부터 토출되는 처리액의 토출량을 조절하고(S980), 조절된 토출량으로 제1 노즐로부터 기판으로 처리액을 공급하여(S990) 기판을 처리할 수 있다.
이상과 같은 본 발명의 다양한 실시 예에 따르면 노즐에서 토출된 처리액의 무게를 측정하여 자동으로 처리액의 토출량을 측정할 수 있으며, 측정된 처리액의 토출량을 자동으로 외부로 전송하여 작업자가 용이하게 처리액의 토출량에 관한 정보를 획득할 수 있다.
이상의 실시 예들은 본 발명의 이해를 돕기 위하여 제시된 것으로, 본 발명의 범위를 제한하지 않으며, 이로부터 다양한 변형 가능한 실시 예들도 본 발명의 범위에 속하는 것임을 이해하여야 한다. 본 발명의 기술적 보호범위는 특허청구범위의 기술적 사상에 의해 정해져야 할 것이며, 본 발명의 기술적 보호범위는 특허청구범위의 문언적 기재 그 자체로 한정되는 것이 아니라 실질적으로는 기술적 가치가 균등한 범주의 발명에 대하여까지 미치는 것임을 이해하여야 한다.
300: 기판 처리 장치 320: 하우징
340: 지지 유닛 384: 제1 노즐
394: 제2 노즐 400: 유량 측정 유닛
410: 바디 420: 플레이트
430: 무게 측정 부재 440: 제어 부재
450: 통신 부재

Claims (16)

  1. 기판을 처리하는 장치에 있어서,
    내부에 기판 처리 공정이 수행되는 공간을 제공하는 하우징;
    상기 하우징 내에서 기판을 지지하는 지지 유닛;
    상기 지지 유닛에 놓인 기판에 처리액을 공급하는 제1 노즐; 및
    상기 지지 유닛 상에 탈착 가능하게 제공되고, 상기 제1 노즐에서 토출되는 처리액의 토출량을 측정하는 유량 측정 유닛을 포함하되,
    상기 유량 측정 유닛은,
    상기 지지 유닛에 결합되는 바디;
    상부가 개방되어 상기 제1 노즐로부터 토출되는 처리액이 수용되는 수용 공간을 가지는 플레이트;
    상기 바디와 상기 플레이트 사이에 위치하여 상기 수용 공간에 수용된 처리액의 무게를 측정하는 무게 측정 부재;
    상기 무게 측정 부재에서 측정되는 상기 처리액의 무게에 기초하여 상기 처리액의 토출량을 산출하는 제어 부재; 및
    상기 제어 부재에서 산출된 상기 처리액의 토출량을 외부로 전송하는 통신 부재;를 포함하는 기판 처리 장치.
  2. 제1항에 있어서,
    상기 지지 유닛은,
    회전 가능한 스핀 헤드; 및
    상기 스핀 헤드로부터 상부로 돌출되어 기판을 지지하는 핀 부재를 포함하고,
    상기 바디는, 상기 핀 부재가 삽입되는 홈이 형성되는 기판 처리 장치.
  3. 제2항에 있어서,
    상기 핀 부재는, 상기 스핀 헤드에 놓인 기판의 측부를 지지하는 척 핀을 포함하고,
    상기 홈은, 상기 바디의 측면에 형성되는 제1 홈을 포함하며,
    상기 바디가 상기 지지 유닛에 결합시 상기 척 핀이 상기 제1 홈에 삽입되는 기판 처리 장치.
  4. 제2항에 있어서,
    상기 핀 부재는, 상기 스핀 헤드에 놓인 기판의 저면을 지지하는 지지 핀을 포함하고,
    상기 홈은, 상기 바디의 저면에 형성되는 제2 홈을 포함하며,
    상기 바디가 상기 지지 유닛에 결합시 상기 지지 핀이 상기 제2 홈에 삽입되는 기판 처리 장치.
  5. 제2항에 있어서,
    상기 바디는, 가장자리 영역이 상기 바디의 외측 방향으로 경사지게 제공되는 기판 처리 장치.
  6. 제5항에 있어서,
    상기 가장자리 영역은, 10도 내지 50도의 각도로 아래 방향으로 경사지게 제공되는 기판 처리 장치.
  7. 제6항에 있어서,
    상기 바디는, 중심의 두께가 1.8 mm 내지 2.2 mm 이고, 최외곽의 두께가 0.8 mm 내지 1.2 mm 로 제공되는 기판 처리 장치.
  8. 제2항에 있어서,
    상기 바디의 하부는, 상기 기판과 동일한 크기로 제공되는 기판 처리 장치.
  9. 제1항 내지 제8항 중 어느 한 항에 있어서,
    상기 무게 측정 부재는, 로드셀로 제공되는 기판 처리 장치.
  10. 제1항 내지 제8항 중 어느 한 항에 있어서,
    상기 통신 부재는, 블루투스 모듈인 기판 처리 장치.
  11. 제1항 내지 제8항 중 어느 한 항에 있어서,
    상기 유량 측정 유닛을 세정하는 세정액을 공급하는 제2 노즐;을 더 포함하는 기판 처리 장치.
  12. 제1항의 기판 처리 장치를 이용하여 기판을 처리하는 방법에 있어서,
    상기 유량 측정 유닛을 상기 지지 유닛 상에 결합하는 단계;
    상기 제1 노즐로부터 상기 수용 공간으로 상기 처리액이 토출되는 단계;
    상기 수용 공간에 수용된 처리액의 무게를 측정하는 단계; 및
    측정된 상기 처리액의 무게에 기초하여 상기 처리액의 토출량을 산출하는 단계;를 포함하는 기판 처리 방법.
  13. 제12항에 있어서,
    상기 기판 처리 장치는, 상기 유량 측정 유닛을 세정하는 세정액을 공급하는 제2 노즐을 더 포함하며,
    상기 처리액의 토출량을 측정하는 단계 이후, 상기 수용 공간 내의 처리액을 제거하는 단계; 및
    상기 제2 노즐로부터 상기 수용 공간으로 상기 세정액을 공급하여 상기 유량 측정 유닛을 세정하는 단계;를 더 포함하는 기판 처리 방법.
  14. 제13항에 있어서,
    상기 수용 공간 내의 처리액을 제거하는 단계는, 상기 지지 유닛을 회전시켜 상기 바디의 회전에 의해 상기 처리액이 제거되는 기판 처리 방법.
  15. 제14항에 있어서,
    상기 유량 측정 유닛을 세정하는 단계 이후, 상기 지지 유닛에서 상기 유량 측정 유닛을 제거하고 상기 지지 유닛 상에 기판을 로딩하는 단계; 및
    상기 제1 노즐로부터 상기 기판으로 상기 처리액을 공급하는 단계;를 더 포함하는 기판 처리 방법.
  16. 제15항에 있어서,
    상기 기판으로 상기 처리액을 공급하는 단계 전에, 상기 제1 노즐로부터 토출되는 상기 처리액의 토출량을 조절하는 단계;를 더 포함하는 기판 처리 방법.

KR1020190045882A 2019-04-19 2019-04-19 기판 처리 장치 및 기판 처리 방법 Active KR102174062B1 (ko)

Priority Applications (1)

Application Number Priority Date Filing Date Title
KR1020190045882A KR102174062B1 (ko) 2019-04-19 2019-04-19 기판 처리 장치 및 기판 처리 방법

Applications Claiming Priority (1)

Application Number Priority Date Filing Date Title
KR1020190045882A KR102174062B1 (ko) 2019-04-19 2019-04-19 기판 처리 장치 및 기판 처리 방법

Publications (2)

Publication Number Publication Date
KR20200122763A true KR20200122763A (ko) 2020-10-28
KR102174062B1 KR102174062B1 (ko) 2020-11-04

Family

ID=73018213

Family Applications (1)

Application Number Title Priority Date Filing Date
KR1020190045882A Active KR102174062B1 (ko) 2019-04-19 2019-04-19 기판 처리 장치 및 기판 처리 방법

Country Status (1)

Country Link
KR (1) KR102174062B1 (ko)

Cited By (2)

* Cited by examiner, † Cited by third party
Publication number Priority date Publication date Assignee Title
CN114695198A (zh) * 2020-12-31 2022-07-01 细美事有限公司 基板式传感器及测量化学品的冲击点及冲击力的方法
KR20240108639A (ko) * 2023-01-02 2024-07-09 (주)신우에이엔티 반도체 기판 세정용 세정액에 대한 무게 측정 유닛

Families Citing this family (1)

* Cited by examiner, † Cited by third party
Publication number Priority date Publication date Assignee Title
KR102536010B1 (ko) * 2021-04-16 2023-05-26 (주)신우에이엔티 반도체 제조에 사용되는 세정액에 대한 무게 측정 유닛

Citations (2)

* Cited by examiner, † Cited by third party
Publication number Priority date Publication date Assignee Title
KR20180078875A (ko) * 2016-12-30 2018-07-10 세메스 주식회사 기판 처리 장치, 이를 이용한 토출량 측정 방법 및 기판 처리 방법
KR20190022111A (ko) * 2017-08-25 2019-03-06 세메스 주식회사 기판 처리 장치 및 토출량 측정 방법

Patent Citations (2)

* Cited by examiner, † Cited by third party
Publication number Priority date Publication date Assignee Title
KR20180078875A (ko) * 2016-12-30 2018-07-10 세메스 주식회사 기판 처리 장치, 이를 이용한 토출량 측정 방법 및 기판 처리 방법
KR20190022111A (ko) * 2017-08-25 2019-03-06 세메스 주식회사 기판 처리 장치 및 토출량 측정 방법

Cited By (2)

* Cited by examiner, † Cited by third party
Publication number Priority date Publication date Assignee Title
CN114695198A (zh) * 2020-12-31 2022-07-01 细美事有限公司 基板式传感器及测量化学品的冲击点及冲击力的方法
KR20240108639A (ko) * 2023-01-02 2024-07-09 (주)신우에이엔티 반도체 기판 세정용 세정액에 대한 무게 측정 유닛

Also Published As

Publication number Publication date
KR102174062B1 (ko) 2020-11-04

Similar Documents

Publication Publication Date Title
KR102063322B1 (ko) 기판 처리 장치 및 방법
KR101621482B1 (ko) 기판 처리 장치 및 방법
KR102174062B1 (ko) 기판 처리 장치 및 기판 처리 방법
US11171019B2 (en) Substrate treating apparatus, method for measuring discharge amount by using the same, and substrate treating method
KR101910796B1 (ko) 기판 처리 장치 및 방법
KR102375625B1 (ko) 기판 처리 장치 및 토출량 측정 방법
KR101817211B1 (ko) 기판 처리 장치 및 방법
KR20120015928A (ko) 노즐 및 이를 갖는 기판처리장치
KR20140112299A (ko) 기판처리장치
KR20180030010A (ko) 기판 처리 장치 및 방법
KR20180002101A (ko) 기판 처리 장치 및 방법
US12224189B2 (en) Substrate type sensor and method of measuring the impact point and the impact force of chemical
KR101870666B1 (ko) 기판 처리 장치
KR101928010B1 (ko) 기판 처리 장치, 이를 이용한 토출량 측정 방법 및 기판 처리 방법
US10460923B2 (en) Apparatus and method for treating substrate
KR102121239B1 (ko) 기판처리장치 및 방법
KR102450031B1 (ko) 대기 포트 및 이를 가지는 기판 처리 장치
KR102096944B1 (ko) 기판처리장치 및 방법
KR102202467B1 (ko) 기판 처리 장치 및 방법
KR101910798B1 (ko) 배출 어셈블리 및 이를 가지는 기판 처리 장치
KR20170137242A (ko) 기판 처리 장치 및 방법
KR102347973B1 (ko) 기판 처리 장치 및 기판 처리 방법
KR20130019543A (ko) 기판처리장치
KR102180009B1 (ko) 기판처리장치 및 방법
KR102331356B1 (ko) 기판 처리 장치, 그리고 노즐 세정 방법

Legal Events

Date Code Title Description
PA0109 Patent application

St.27 status event code: A-0-1-A10-A12-nap-PA0109

PA0201 Request for examination

St.27 status event code: A-1-2-D10-D11-exm-PA0201

PE0902 Notice of grounds for rejection

St.27 status event code: A-1-2-D10-D21-exm-PE0902

AMND Amendment
E13-X000 Pre-grant limitation requested

St.27 status event code: A-2-3-E10-E13-lim-X000

P11-X000 Amendment of application requested

St.27 status event code: A-2-2-P10-P11-nap-X000

P13-X000 Application amended

St.27 status event code: A-2-2-P10-P13-nap-X000

PE0601 Decision on rejection of patent

St.27 status event code: N-2-6-B10-B15-exm-PE0601

X091 Application refused [patent]
AMND Amendment
E13-X000 Pre-grant limitation requested

St.27 status event code: A-2-3-E10-E13-lim-X000

P11-X000 Amendment of application requested

St.27 status event code: A-2-2-P10-P11-nap-X000

P13-X000 Application amended

St.27 status event code: A-2-2-P10-P13-nap-X000

PX0901 Re-examination

St.27 status event code: A-2-3-E10-E12-rex-PX0901

PX0701 Decision of registration after re-examination

St.27 status event code: A-3-4-F10-F13-rex-PX0701

X701 Decision to grant (after re-examination)
PG1501 Laying open of application

St.27 status event code: A-1-1-Q10-Q12-nap-PG1501

GRNT Written decision to grant
PR0701 Registration of establishment

St.27 status event code: A-2-4-F10-F11-exm-PR0701

PR1002 Payment of registration fee

St.27 status event code: A-2-2-U10-U11-oth-PR1002

Fee payment year number: 1

PG1601 Publication of registration

St.27 status event code: A-4-4-Q10-Q13-nap-PG1601

PN2301 Change of applicant

St.27 status event code: A-5-5-R10-R13-asn-PN2301

St.27 status event code: A-5-5-R10-R11-asn-PN2301

R18-X000 Changes to party contact information recorded

St.27 status event code: A-5-5-R10-R18-oth-X000

PR1001 Payment of annual fee

St.27 status event code: A-4-4-U10-U11-oth-PR1001

Fee payment year number: 4

PR1001 Payment of annual fee

St.27 status event code: A-4-4-U10-U11-oth-PR1001

Fee payment year number: 5

PN2301 Change of applicant

St.27 status event code: A-5-5-R10-R13-asn-PN2301

St.27 status event code: A-5-5-R10-R11-asn-PN2301

PR1001 Payment of annual fee

St.27 status event code: A-4-4-U10-U11-oth-PR1001

Fee payment year number: 6

U11 Full renewal or maintenance fee paid

Free format text: ST27 STATUS EVENT CODE: A-4-4-U10-U11-OTH-PR1001 (AS PROVIDED BY THE NATIONAL OFFICE)

Year of fee payment: 6