KR20200085975A - Opening and shutting sticker for packaging pack - Google Patents

Opening and shutting sticker for packaging pack Download PDF

Info

Publication number
KR20200085975A
KR20200085975A KR1020190001778A KR20190001778A KR20200085975A KR 20200085975 A KR20200085975 A KR 20200085975A KR 1020190001778 A KR1020190001778 A KR 1020190001778A KR 20190001778 A KR20190001778 A KR 20190001778A KR 20200085975 A KR20200085975 A KR 20200085975A
Authority
KR
South Korea
Prior art keywords
opening
closing
sticker
packaging pack
line
Prior art date
Legal status (The legal status is an assumption and is not a legal conclusion. Google has not performed a legal analysis and makes no representation as to the accuracy of the status listed.)
Ceased
Application number
KR1020190001778A
Other languages
Korean (ko)
Inventor
김진배
Original Assignee
주식회사 유진프린팅
Priority date (The priority date is an assumption and is not a legal conclusion. Google has not performed a legal analysis and makes no representation as to the accuracy of the date listed.)
Filing date
Publication date
Application filed by 주식회사 유진프린팅 filed Critical 주식회사 유진프린팅
Priority to KR1020190001778A priority Critical patent/KR20200085975A/en
Publication of KR20200085975A publication Critical patent/KR20200085975A/en
Ceased legal-status Critical Current

Links

Images

Classifications

    • BPERFORMING OPERATIONS; TRANSPORTING
    • B65CONVEYING; PACKING; STORING; HANDLING THIN OR FILAMENTARY MATERIAL
    • B65DCONTAINERS FOR STORAGE OR TRANSPORT OF ARTICLES OR MATERIALS, e.g. BAGS, BARRELS, BOTTLES, BOXES, CANS, CARTONS, CRATES, DRUMS, JARS, TANKS, HOPPERS, FORWARDING CONTAINERS; ACCESSORIES, CLOSURES, OR FITTINGS THEREFOR; PACKAGING ELEMENTS; PACKAGES
    • B65D75/00Packages comprising articles or materials partially or wholly enclosed in strips, sheets, blanks, tubes or webs of flexible sheet material, e.g. in folded wrappers
    • B65D75/52Details
    • B65D75/58Opening or contents-removing devices added or incorporated during package manufacture
    • B65D75/5827Tear-lines provided in a wall portion
    • B65D75/5833Tear-lines provided in a wall portion for tearing out a portion of the wall
    • B65D75/5838Tear-lines provided in a wall portion for tearing out a portion of the wall combined with separate fixed tearing means, e.g. tabs
    • AHUMAN NECESSITIES
    • A47FURNITURE; DOMESTIC ARTICLES OR APPLIANCES; COFFEE MILLS; SPICE MILLS; SUCTION CLEANERS IN GENERAL
    • A47KSANITARY EQUIPMENT NOT OTHERWISE PROVIDED FOR; TOILET ACCESSORIES
    • A47K10/00Body-drying implements; Toilet paper; Holders therefor
    • A47K10/24Towel dispensers, e.g. for piled-up or folded textile towels; Toilet paper dispensers; Dispensers for piled-up or folded textile towels provided or not with devices for taking-up soiled towels as far as not mechanically driven
    • A47K10/32Dispensers for paper towels or toilet paper
    • A47K10/42Dispensers for paper towels or toilet paper dispensing from a store of single sheets, e.g. stacked
    • A47K10/421Dispensers for paper towels or toilet paper dispensing from a store of single sheets, e.g. stacked dispensing from the top of the dispenser
    • BPERFORMING OPERATIONS; TRANSPORTING
    • B65CONVEYING; PACKING; STORING; HANDLING THIN OR FILAMENTARY MATERIAL
    • B65DCONTAINERS FOR STORAGE OR TRANSPORT OF ARTICLES OR MATERIALS, e.g. BAGS, BARRELS, BOTTLES, BOXES, CANS, CARTONS, CRATES, DRUMS, JARS, TANKS, HOPPERS, FORWARDING CONTAINERS; ACCESSORIES, CLOSURES, OR FITTINGS THEREFOR; PACKAGING ELEMENTS; PACKAGES
    • B65D75/00Packages comprising articles or materials partially or wholly enclosed in strips, sheets, blanks, tubes or webs of flexible sheet material, e.g. in folded wrappers
    • B65D75/52Details
    • B65D75/58Opening or contents-removing devices added or incorporated during package manufacture
    • B65D75/5894Preformed openings provided in a wall portion and covered by a separate removable flexible element
    • BPERFORMING OPERATIONS; TRANSPORTING
    • B65CONVEYING; PACKING; STORING; HANDLING THIN OR FILAMENTARY MATERIAL
    • B65DCONTAINERS FOR STORAGE OR TRANSPORT OF ARTICLES OR MATERIALS, e.g. BAGS, BARRELS, BOTTLES, BOXES, CANS, CARTONS, CRATES, DRUMS, JARS, TANKS, HOPPERS, FORWARDING CONTAINERS; ACCESSORIES, CLOSURES, OR FITTINGS THEREFOR; PACKAGING ELEMENTS; PACKAGES
    • B65D83/00Containers or packages with special means for dispensing contents
    • B65D83/08Containers or packages with special means for dispensing contents for dispensing thin flat articles in succession
    • B65D83/0805Containers or packages with special means for dispensing contents for dispensing thin flat articles in succession through an aperture in a wall
    • CCHEMISTRY; METALLURGY
    • C09DYES; PAINTS; POLISHES; NATURAL RESINS; ADHESIVES; COMPOSITIONS NOT OTHERWISE PROVIDED FOR; APPLICATIONS OF MATERIALS NOT OTHERWISE PROVIDED FOR
    • C09JADHESIVES; NON-MECHANICAL ASPECTS OF ADHESIVE PROCESSES IN GENERAL; ADHESIVE PROCESSES NOT PROVIDED FOR ELSEWHERE; USE OF MATERIALS AS ADHESIVES
    • C09J7/00Adhesives in the form of films or foils
    • C09J7/20Adhesives in the form of films or foils characterised by their carriers
    • CCHEMISTRY; METALLURGY
    • C09DYES; PAINTS; POLISHES; NATURAL RESINS; ADHESIVES; COMPOSITIONS NOT OTHERWISE PROVIDED FOR; APPLICATIONS OF MATERIALS NOT OTHERWISE PROVIDED FOR
    • C09JADHESIVES; NON-MECHANICAL ASPECTS OF ADHESIVE PROCESSES IN GENERAL; ADHESIVE PROCESSES NOT PROVIDED FOR ELSEWHERE; USE OF MATERIALS AS ADHESIVES
    • C09J2203/00Applications of adhesives in processes or use of adhesives in the form of films or foils
    • C09J2203/338Applications of adhesives in processes or use of adhesives in the form of films or foils as tamper-evident tape or label

Landscapes

  • Engineering & Computer Science (AREA)
  • Mechanical Engineering (AREA)
  • Chemical & Material Sciences (AREA)
  • Organic Chemistry (AREA)
  • Health & Medical Sciences (AREA)
  • Public Health (AREA)
  • Packages (AREA)

Abstract

본 발명에 따르면, 포장팩(10)에 개구된 인출공(11)을 개폐가능하게 커버하도록 포장팩(10)에 장착되는 포장팩용 개폐스티커에 있어서, 상기 인출공(11)보다 상대적으로 넓은 면적을 갖는 필름 형상으로 이루어지고 저면에는 접착제(111)가 도포되어 상기 인출공(11)을 커버하는 형태로 포장팩(10)에 부착되며 길이방향(L)의 일측에는 손잡이(112)가 형성되어 일측에서 타측으로 젖혀지도록 개폐되는 스티커본체(110); 상기 스티커본체(110) 상에서 폭방향(W)의 양측변부로부터 젖혀지는 타측방향을 향해 연장된 형태로 절개되어 젖혀진 상태에서 상기 스티커본체(110)의 타측부분이 포장팩(10)에 부착된 상태를 유지하도록 하는 제1개폐절개라인(120); 및 제2개폐절개라인(130); 및 상기 스티커본체(110)의 일측 상에서 타측방향을 향하여 볼록한 형태로 절개되면서 상기 포장팩(10)의 단부에 걸리도록 지지되는 걸림부(141)를 형성하는 걸림부절개라인(140);을 포함하는 포장팩용 개폐스티커가 개시된다.According to the present invention, in the opening and closing sticker for a packaging pack mounted on the packaging pack 10 so as to cover and open and close the extraction hole 11 opened in the packaging pack 10, a relatively large area than the extraction hole 11 It is made of a film shape having an adhesive 111 is applied to the bottom surface is attached to the packaging pack 10 in a form to cover the extraction hole 11, the handle 112 is formed on one side of the longitudinal direction (L) A sticker body 110 that is opened and closed to be tilted from one side to the other; On the sticker body 110, the other side portion of the sticker body 110 is attached to the packaging pack 10 in a state in which it is cut out and extended in a form extending toward the other side, which is tilted from both sides of the width direction W. A first opening/closing cutting line 120 to maintain a state; And a second opening and closing line 130; And a locking section cutting line 140 forming a locking section 141 supported on the end of the packaging pack 10 while being cut in a convex shape toward the other direction on one side of the sticker body 110. Disclosed is an opening and closing sticker for a packaging pack.

Description

포장팩용 개폐스티커{OPENING AND SHUTTING STICKER FOR PACKAGING PACK}Opening and closing sticker for packing pack {OPENING AND SHUTTING STICKER FOR PACKAGING PACK}

본 발명은 포장팩용 개폐스티커에 관한 것으로, 보다 상세하게는 포장팩에 개구된 인출공을 개폐가능하게 커버하여 사용시에는 인출공을 개방시켜 물티슈나 마스크팩 등의 내용물을 용이하게 꺼낼 수 있도록 하며 미사용시에는 개방된 인출공을 폐쇄시켜 내부의 수분이 증발하거나 외부 이물질이 내부로 유입되는 것을 방지할 수 있는 포장팩용 개폐스티커에 관한 것이다.The present invention relates to an opening/closing sticker for a packaging pack, and more specifically, to cover an opening hole opened in a packaging pack so that it can be opened and closed when used, so that contents such as wipes or mask packs can be easily taken out and unused. The present invention relates to an opening/closing sticker for a packaging pack that can prevent the moisture inside from evaporating or foreign substances from entering the inside by closing the open drawer hole.

일반적으로 물티슈나 마스크팩을 일정량 밀봉하는 포장팩은 사각의 비닐 케이스의 넓은 면 중앙에 내용물을 빼내는데 이용되는 인출공이 형성되고, 이 인출공을 커버하도록 인출공보다 넓은 스티커가 케이스에 부착된 구조로 되어 있다.In general, a packaging pack that seals a certain amount of a wet tissue or mask pack has a drawer hole used to extract the contents in the center of a wide surface of a rectangular plastic case, and a sticker with a wider sticker than the drawer hole is attached to the case to cover the drawer hole. It is made.

여기서, 도 1에는 종래의 물티슈 포장팩 및 이에 부착된 스티커의 구성이 개시되어 있다. 도면을 참고하면 종래의 스티커(14)는 인출공(12a)의 외측부에 부착되어 사용시 떼어지지 않는 고정부(22)와, 상기 고정부(22)의 중간에 고정부와 일체로 형성되어 인출공(12a)의 외주연을 따라 부착되면서 필요시에 인출공(12a)을 개방하도록 절기되는 절기부(24)로 구성되었다. 또한, 상기 절기부(24)의 끝단에는 절기부(24)를 떼어 올릴 때 용이하게 잡도록 손잡이부(24a)가 형성되어 있으며, 상기 절기부(24)의 타측(손잡이부의 반대측)은 고정부(22)에 이어져 있다.Here, FIG. 1 discloses a configuration of a conventional wet tissue packaging pack and a sticker attached thereto. Referring to the drawings, the conventional sticker 14 is attached to the outer portion of the withdrawal hole 12a and is fixed to the detachable portion 22 when used, and is formed integrally with the fixed portion in the middle of the fixed portion 22 and the withdrawal hole It was composed along the outer periphery of (12a) as it is attached to the seasoning portion 24 that is cut to open the withdrawal hole (12a) when necessary. In addition, at the end of the season portion 24, the handle portion 24a is formed to be easily caught when the season portion 24 is lifted off, and the other side (opposite side of the handle portion) of the season portion 24 is a fixed portion ( 22).

따라서, 물티슈를 사용하고자 하는 경우에는 손잡이부(24a)를 잡고 들어올려 절기부(24)가 포장팩(10)으로부터 떼어지도록 하여 노출된 인출공(12a)으로 물티슈를 빼어 쓸 수 있으며, 사용이 완료되면 떼어진 절기부(24)를 눌러 포장팩(10)에 재부착시킴으로써 노출된 인출공(12a)을 외부로부터 보호할 수 있었다.Therefore, in the case of using a wet wipe, the handle 24a is grasped and lifted so that the season portion 24 is detached from the packaging pack 10, and the wet wipe can be pulled out with the exposed drawer 12a. When completed, the detached season portion 24 was pressed and reattached to the packaging pack 10 to protect the exposed take-out hole 12a from the outside.

그러나, 절기부(24)가 포장팩(10)으로부터 떼어져 뒤로 젖혀진 상태에서 손잡이부(24a)를 잡은 손을 놓으면 스티커(14)가 갖는 탄성에 의해 원상복귀되려는 힘으로 인해 의도하지 않게 포장팩(10)에 재부착되어 사용간의 불편함을 제공하며, 원상복귀하는 중에 사용자의 손이나 인출된 내용물과 접촉되어 스티커(14)의 접착력이 저하되는 문제점이 있었다. 또한, 절기부(24)가 절개된 단부보다 후방으로 더 젖혀지는 경우 절기부(24)의 절개라인이 찢어지면서 스티커(14)로부터 절기부(24)가 분리되어 버리는 문제점이 있었다.However, if the hand holding the handle portion 24a is released while the season portion 24 is detached from the packaging pack 10 and is tilted back, the sticker 14 unintentionally wraps due to the force to be restored to the original state by the elasticity of the sticker 14 It was reattached to the pack 10 to provide discomfort between uses, and there was a problem in that the adhesive strength of the sticker 14 deteriorated due to contact with the user's hand or withdrawn contents during the restoration of the original shape. In addition, when the cutout portion 24 is tilted further to the rear than the cut end, the cutout line of the cutout portion 24 is torn and the cutout portion 24 is separated from the sticker 14.

등록실용신안공보 제20-0380636호(2005.03.24), 물티슈 봉투의 스티커.Registration Utility Model Publication No. 20-0380636 (2005.03.24), a sticker on a wet tissue envelope.

본 발명은 상술한 문제점을 해결하기 위하여 창출된 것으로, 본 발명의 목적은 스티커본체를 후방으로 젖혀 개방된 상태를 선택적으로 고정시킬 수 있어 스티커본체가 갖는 탄성에 의해 접착제 부분이 사용자의 손이나 내용물과 접촉되면서 접착력이 저하되는 것을 효과적으로 방지할 수 있으며 사용자의 두 손을 자유롭게 이용할 수 있고 후방으로 젖혀지는 힘에 의해 절개라인이 찢어지지 않는 구조로 이루어진 포장팩용 개폐스티커를 제공하는 것에 있다.The present invention was created to solve the above-mentioned problems, and the object of the present invention is to selectively fix the opened state by flipping the sticker body backwards, so that the adhesive portion of the adhesive body has elasticity and the user's hand or contents. It is to provide an opening/closing sticker for a packaging pack made of a structure in which the adhesive force can be effectively prevented from being in contact with, and the user's hands are freely used and the incision line is not torn by the force that is pushed backward.

상기의 목적을 달성하기 위한 본 발명에 따른 포장팩용 개폐스티커는, 포장팩(10)에 개구된 인출공(11)을 개폐가능하게 커버하도록 포장팩(10)에 장착되는 포장팩용 개폐스티커에 있어서, 상기 인출공(11)보다 상대적으로 넓은 면적을 갖는 필름 형상으로 이루어지고 저면에는 접착제(111)가 도포되어 상기 인출공(11)을 커버하는 형태로 포장팩(10)에 부착되며 길이방향(L)의 일측에는 손잡이(112)가 형성되어 일측에서 타측으로 젖혀지도록 개폐되는 스티커본체(110); 상기 스티커본체(110) 상에서 폭방향(W)의 양측변부로부터 젖혀지는 타측방향을 향해 연장된 형태로 절개되어 젖혀진 상태에서 상기 스티커본체(110)의 타측부분이 포장팩(10)에 부착된 상태를 유지하도록 하는 제1개폐절개라인(120); 및 제2개폐절개라인(130); 및 상기 스티커본체(110)의 일측 상에서 타측방향을 향하여 볼록한 형태로 절개되면서 상기 포장팩(10)의 단부에 걸리도록 지지되는 걸림부(141)를 형성하는 걸림부절개라인(140);을 포함한다.The opening and closing sticker for a packaging pack according to the present invention for achieving the above object is a packaging pack opening and closing sticker mounted on the packaging pack 10 so as to cover the withdrawal hole 11 opened in the packaging pack 10 so as to be opened and closed. , Made of a film shape having a relatively large area than the withdrawal hole 11, the adhesive 111 is applied to the bottom surface is attached to the packaging pack 10 in a form to cover the withdrawal hole 11, and the longitudinal direction ( The handle 112 is formed on one side of L), and the sticker body 110 is opened and closed to be flipped from one side to the other; On the sticker body 110, the other side portion of the sticker body 110 is attached to the packaging pack 10 in a state in which it is cut out and extended in a form extending toward the other side, which is tilted from both sides of the width direction W. A first opening/closing cutting line 120 to maintain a state; And a second opening and closing line 130; And a locking section cutting line 140 forming a locking section 141 supported on the end of the packaging pack 10 while being cut in a convex shape toward the other direction on one side of the sticker body 110. do.

여기서, 상기 제1개폐절개라인(120)의 단부에는 스티커본체(110)의 길이방향(L) 일측을 향하여 라운드지게 절개된 제1찢어짐방지 절개라인(121)이 형성되며, 상기 제2개폐절개라인(130)의 단부에는 스티커본체(110)의 길이방향(L) 일측을 향하여 라운드지게 절개된 제2찢어짐방지 절개라인(131)이 형성될 수 있다.Here, at the end of the first opening/closing cutting line 120, a first tear-prevention cutting line 121 is formed which is cut roundly toward the longitudinal direction (L) side of the sticker body 110, and the second opening/closing cutting is performed. At the end of the line 130, a second tear-prevention incision line 131 may be formed that is roundly cut toward one side in the longitudinal direction (L) of the sticker body 110.

또한, 상기 걸림부절개라인(140)의 양 단에는 스티커본체(110)의 길이방향(L) 타측을 향하여 라운드지게 절개된 제3찢어짐방지 절개라인(142)이 형성될 수 있다.In addition, a third tear-prevention incision line 142 may be formed at both ends of the engaging portion incision line 140 to be incised round toward the other side in the longitudinal direction L of the sticker body 110.

또한, 상기 제1개폐절개라인(120) 및 제2개폐절개라인(130)의 각 중앙부에는 폭방향(W)의 외측을 향해 볼록하게 절곡된 형태의 볼록절개라인(122,132)이 각각 형성될 수 있다.In addition, convex cut lines 122 and 132 having a convexly curved shape toward the outside of the width direction W may be formed at each central portion of the first open/close line 120 and the second open/close line 130. have.

또한, 상기 제1개폐절개라인(120)의 단부에는 원형상으로 개구되어 형성된 제1찢어짐방지공(123)이 형성되며, 상기 제2개폐절개라인(130)의 단부에는 원형상으로 개구되어 형성된 제2찢어짐방지공(133)이 형성될 수 있다.In addition, a first tear-prevention hole 123 formed by opening in a circular shape is formed at an end of the first opening/closing cutting line 120, and formed by opening in a circular shape at an end of the second opening/closing cutting line 130. A second tear prevention hole 133 may be formed.

또한, 상기 스티커본체(110) 상에서 상기 손잡이(112)는 길이방향(L)의 일측을 향해 반원형상으로 볼록하게 돌출되도록 형성되고 상기 걸림부절개라인(140)은 길이방향(L)의 타측을 향해 반원형상으로 볼록하게 절개되도록 형성되며, 상기 스티커본체(110)보다 상대적으로 휨강성이 높은 재질 또는 두께로 이루어지고 저면에는 접착제가 도포되며 원형상으로 이루어져 상기 손잡이(112)와 걸림부(141)의 상부에 부착되는 보강필름(150);을 더 포함할 수 있다.In addition, the handle 112 on the sticker body 110 is formed to protrude convexly in a semicircular shape toward one side in the longitudinal direction (L), and the engaging portion cutting line 140 is the other side of the longitudinal direction (L) It is formed to be convexly cut in a semi-circular shape toward the side, and is made of a material or thickness that has a relatively high bending stiffness than the sticker body 110, and an adhesive is applied to the bottom surface, and is formed in a circular shape so that the handle 112 and the engaging portion 141 are formed. It may further include; a reinforcing film 150 attached to the upper portion of the.

또한, 상기 보강필름(150)의 상부면에는 길이방향(L)을 향해 상향 돌출된 복수의 보강리브(151)가 폭방향(W)으로 이격배치될 수 있다.In addition, a plurality of reinforcing ribs 151 protruding upward toward the longitudinal direction L may be spaced apart in the width direction W on the upper surface of the reinforcing film 150.

또한, 상기 스티커본체(110)보다 상대적으로 작고 인출공(11)보다 상대적으로 큰 면적을 갖는 필름 형상으로 이루어져 상기 스티커본체(110)의 저면 상에서 상기 인출공(11)과 대향하는 위치에 부착되어 상기 인출공(11)의 주변에 밀착되는 커버필름(160);을 더 포함할 수 있다.In addition, it is formed in a film shape having a relatively smaller area than the sticker body 110 and a relatively larger area than the drawing hole 11 and is attached to a position facing the drawing hole 11 on the bottom surface of the sticker body 110. It may further include; a cover film 160 in close contact with the periphery of the extraction hole (11).

한편, 상기 커버필름(160)의 저면에는 발수성코팅(161)이 형성될 수 있다.Meanwhile, a water repellent coating 161 may be formed on the bottom surface of the cover film 160.

본 발명에 따른 포장팩용 개폐스티커에 의하면, 포장팩(10)의 인출공(11)을 커버하는 형태로 포장팩(10)에 부착되는 스티커본체(110)에는 일측 상에서 타측방향을 향해 볼록한 형태로 절개되면서 상기 포장팩(10)의 단부에 걸리도록 지지되는 걸림부(141)를 형성하는 걸림부절개라인(140)이 구비됨으로써, 상기 걸림부(141)를 포장팩(10)의 단부나 덮개케이스(30)의 단부의 하부에 끼워넣어 스티커본체(110)가 후방으로 젖혀진 상태를 선택적으로 고정시킬 수 있으므로, 스티커본체(110)가 갖는 탄성에 의해 접착제 부분이 사용자의 손이나 포장팩(10)의 내용물(20)과 접촉되면서 접착력이 저하되는 것을 효과적으로 방지할 수 있으며 사용자의 두 손을 자유롭게 이용할 수 있다.According to the opening and closing sticker for a packaging pack according to the present invention, the sticker body 110 attached to the packaging pack 10 in the form of covering the withdrawal hole 11 of the packaging pack 10 has a convex shape from one side toward the other. As the cut portion is provided with a locking portion cutting line 140 forming a locking portion 141 supported to be caught at the end of the packaging pack 10, the locking portion 141 is provided with an end or cover of the packaging pack 10. Since the sticker body 110 can be selectively fixed by being inserted into the lower portion of the end of the case 30, the adhesive portion is the user's hand or the packaging pack due to the elasticity of the sticker body 110. It is possible to effectively prevent the adhesive force from being deteriorated while being in contact with the contents 20 of 10), and the user's two hands can be used freely.

또한, 상기 스티커본체(110) 상에서 폭방향(W)의 양측변부로부터 젖혀지는 타측방향을 향해 연장된 형태로 절개되어 젖혀진 상태에서 상기 스티커본체(110)의 타측부분이 포장팩(10)에 부착된 상태를 유지하도록 하는 제1개폐절개라인(120) 및 제2개폐절개라인(130)이 구비되고, 상기 제1개폐절개라인(120)의 단부 및 제2개폐절개라인(130)의 단부에는 스티커본체(110)의 길이방향(L) 일측을 향하여 라운드지게 절개된 제1찢어짐방지 절개라인(121) 및 제2찢어짐방지 절개라인(131)이 각각 형성되므로, 스티커본체(110)를 후방으로 젖히는 힘에 의해 각 절개라인(120,130)이 찢어지는 현상을 감소시킬 수 있다.In addition, on the sticker body 110, the other side of the sticker body 110 is cut into the packaging pack 10 in a state in which it is cut out and extended in a form extending toward the other side, which is tilted from both sides of the width direction W. The first opening and closing line 120 and the second opening and closing line 130 are provided to maintain the attached state, and the end of the first opening and closing line 120 and the end of the second opening and closing line 130 Since the first tear-prevention incision line 121 and the second tear-prevention incision line 131, which are roundly incised toward one side in the longitudinal direction L of the sticker body 110, are respectively formed, the sticker main body 110 is rearward. It is possible to reduce the phenomenon that each incision line (120 130) is torn by the force.

더불어, 상기 제1개폐절개라인(120) 및 제2개폐절개라인(130)의 각 중앙부에는 폭방향(W)의 외측을 향해 볼록하게 절곡된 형태의 볼록절개라인(122,132)이 각각 형성되어, 스티커본체(110)를 후방으로 젖히는 힘을 측방을 향하도록 할 수 있어 각 절개라인(120,130)이 찢어지는 현상을 더욱 감소시킬 수 있다.In addition, convex cut lines 122 and 132 of convexly curved shapes are formed at the centers of the first opening and closing line 120 and the second opening and closing line 130 toward the outside of the width direction W, respectively. It is possible to reduce the phenomenon that each incision line 120 and 130 is torn, since the force that moves the sticker body 110 backwards can be directed to the side.

도 1은 종래의 물티슈 포장팩 및 이에 부착된 스티커의 구성을 나타낸 사시도,
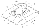
도 2는 본 발명의 바람직한 실시예에 따른 포장팩용 개폐스티커가 포장팩에 부착된 상태를 나타낸 사시도,
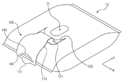
도 3은 본 발명의 바람직한 실시예에 따른 포장팩용 개폐스티커의 구성을 나타낸 사시도,
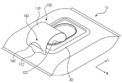
도 4는 본 발명의 바람직한 실시예에 따른 포장팩용 개폐스티커가 후방으로 젖혀진 상태로 고정된 구성을 나타낸 사시도,
도 5는 본 발명의 바람직한 실시예에 따른 볼록절개라인을 나타낸 평면도,
도 6 및 도 7은 본 발명의 바람직한 실시예에 따른 포장팩용 개폐스티커가 덮개케이스의 내측 위치에 장착된 상태를 나타낸 사시도,
도 8은 본 발명의 바람직한 실시예에 따른 보강필름의 구성을 나타낸 분리사시도,
도 9 및 도 10은 본 발명의 바람직한 실시예에 따른 커버필름의 구성을 나타낸 분리사시도 및 측단면도이다.
1 is a perspective view showing the configuration of a conventional wet tissue packaging pack and a sticker attached thereto,
Figure 2 is a perspective view showing a state in which the packaging pack opening and closing stickers according to a preferred embodiment of the present invention attached to the packaging pack,
Figure 3 is a perspective view showing the configuration of the opening and closing sticker for a packaging pack according to a preferred embodiment of the present invention,
Figure 4 is a perspective view showing a fixed configuration in a state in which the opening and closing sticker for a packaging pack according to a preferred embodiment of the present invention is tilted to the rear,
5 is a plan view showing a convex cut line according to a preferred embodiment of the present invention,
6 and 7 is a perspective view showing a state in which the opening and closing sticker for a packaging pack according to a preferred embodiment of the present invention is mounted in the inner position of the cover case,
8 is an exploded perspective view showing the configuration of a reinforcing film according to a preferred embodiment of the present invention,
9 and 10 are perspective and side cross-sectional views showing the configuration of a cover film according to a preferred embodiment of the present invention.

이하 첨부된 도면을 참조하면서 본 발명에 따른 바람직한 실시예를 상세히 설명하기로 한다. 이에 앞서, 본 명세서 및 청구범위에 사용된 용어나 단어는 통상적이거나 사전적인 의미로 한정해서 해석되어서는 아니 되며, 발명자는 그 자신의 발명을 가장 최선의 방법으로 설명하기 위해 용어의 개념을 적절하게 정의할 수 있다는 원칙에 입각하여, 본 발명의 기술적 사상에 부합하는 의미와 개념으로 해석되어야만 한다.Hereinafter, preferred embodiments of the present invention will be described in detail with reference to the accompanying drawings. Prior to this, the terms or words used in the present specification and claims should not be construed as being limited to ordinary or lexical meanings, and the inventor appropriately explains the concept of terms to explain his or her invention in the best way. Based on the principle that it can be defined, it should be interpreted as meanings and concepts consistent with the technical spirit of the present invention.

따라서, 본 명세서에 기재된 실시예와 도면에 도시된 구성은 본 발명의 가장 바람직한 일 실시예에 불과할 뿐이고 본 발명의 기술적 사상을 모두 대변하는 것은 아니므로, 본 출원시점에 있어서 이들을 대체할 수 있는 다양한 균등물과 변형예들이 있을 수 있음을 이해하여야 한다.Therefore, the embodiments shown in the embodiments and the drawings described in this specification are only the most preferred embodiments of the present invention and do not represent all of the technical spirit of the present invention, and thus can replace them at the time of application. It should be understood that there may be equivalents and variations.

본 발명의 바람직한 실시예에 따른 포장팩용 개폐스티커(100)는 스티커본체(110)를 후방으로 젖혀 개방된 상태를 선택적으로 고정시킬 수 있어 스티커본체(110)가 갖는 탄성에 의해 접착제(111) 부분이 사용자의 손이나 내용물과 접촉되면서 접착력이 저하되는 것을 효과적으로 방지할 수 있는 스티커부재로서, 도 2 내지 도 5에 도시된 바와 같이 스티커본체(110), 제1개폐절개라인(120), 제2개폐절개라인(130) 및 걸림부절개라인(140)을 포함한다.Opening and closing sticker 100 for a packaging pack according to a preferred embodiment of the present invention can selectively fix the opened state by flipping the sticker body 110 backward so that the adhesive 111 part by elasticity of the sticker body 110 As a sticker member that can effectively prevent the adhesive strength from being deteriorated while being in contact with the user's hand or contents, as shown in FIGS. 2 to 5, the sticker body 110, the first opening and closing line 120, the second It includes an opening/closing cutting line 130 and a locking section cutting line 140.

먼저, 상기 스티커본체(110)는 포장팩(10)에 개구되어 형성된 인출공(11)을 커버하는 부재로서, 상기 인출공(11)보다 상대적으로 넓은 면적을 갖는 필름 형상으로 이루어지고 저면에는 접착제(111, 도 9 참고)가 도포되어 상기 인출공(11)을 커버하는 형태로 포장팩(10)에 부착되며 길이방향(L)의 일측에는 손잡이(112)가 형성되어 일측에서 타측(후방)으로 젖혀지도록 개폐된다.First, the sticker body 110 is a member that covers the extraction hole 11 formed by opening in the packaging pack 10, and is formed in a film shape having a relatively large area than the extraction hole 11 and has an adhesive on the bottom surface. (111, see FIG. 9) is applied and is attached to the packaging pack 10 in a form to cover the withdrawal hole 11, and a handle 112 is formed on one side of the longitudinal direction L to form the other side (rear). It is opened and closed to be tilted.

상기 제1개폐절개라인(120) 및 제2개폐절개라인(130)은 스티커본체(110)를 후방으로 젖히는 힘에 의해 의도하지 않게 스티커본체(110) 전체가 포장팩(10)으로부터 분리되는 것을 방지하기 위한 절개라인으로서, 상기 스티커본체(110) 상에서 폭방향(W)의 양측변부로부터 젖혀지는 타측방향을 향해 연장된 형태로 절개되어 젖혀진 상태에서 상기 스티커본체(110)의 타측부분이 포장팩(10)에 부착된 상태를 유지하도록 한다.The first opening/closing cutting line 120 and the second opening/closing cutting line 130 unintentionally separate the entire sticker body 110 from the packaging pack 10 by the force of pulling the sticker body 110 backward. As an incision line for preventing, the other side portion of the sticker body 110 is packaged in a state in which the sticker body 110 is cut out and extended in a form extending toward the other side from the both sides of the width direction W on the sticker body 110. Keep it attached to the pack (10).

여기서, 상기 제1개폐절개라인(120)의 단부 및 제2개폐절개라인(130)의 단부에는 스티커본체(110)의 길이방향(L) 일측을 향하여 라운드지게 절개된 제1찢어짐방지 절개라인(121) 및 제2찢어짐방지 절개라인(131)이 각각 형성되므로, 스티커본체(110)를 후방으로 젖히는 힘에 의해 각 절개라인(120,130)이 찢어지는 현상을 감소시킬 수 있다.Here, at the ends of the first opening/closing cutting line 120 and the ends of the second opening/closing cutting line 130, the first tear-prevention cutting line (which is cut roundly toward one side in the longitudinal direction (L) of the sticker body 110 ( 121) and the second tear-prevention incision lines 131 are formed, respectively, so that the incision of each incision line 120 and 130 can be reduced by the force of pulling the sticker body 110 backward.

같은 맥락에서, 상기 걸림부절개라인(140)의 양단에는 스티커본체(110)의 길이방향(L) 타측을 향하여 라운드지게 절개된 제3찢어짐방지 절개라인(142)이 형성되어 걸림부(141)를 젖히는 힘에 의해 걸림부절개라인(140)이 찢어지는 현상을 감소시킬 수 있다.In the same context, a third tear-prevention incision line 142 that is incised round toward the other side in the longitudinal direction (L) of the sticker body 110 is formed at both ends of the engaging portion incision line 140 so that the engaging portion 141 It is possible to reduce the phenomenon that the engaging portion incision line 140 is torn by the force.

또한, 도 5에 도시된 바와 같이 상기 제1개폐절개라인(120) 및 제2개폐절개라인(130)의 각 중앙부에는 폭방향(W)의 외측을 향해 볼록하게 절곡된 형태의 볼록절개라인(122,132)이 각각 형성되어, 스티커본체(110)를 후방으로 젖히는 힘을 측방을 향하도록 할 수 있어 각 절개라인(120,130)이 찢어지는 현상을 더욱 감소시킬 수 있다.In addition, as shown in Figure 5, the first opening/closing cutting line 120 and the second opening/closing cutting line 130 have convex cutting lines (convexly curved toward the outside in the width direction W) 122 and 132) are formed respectively, so that the force of pulling the sticker body 110 backwards can be directed to the side, so that the incision of each incision line 120 and 130 can be further reduced.

한편, 상술한 바와 같이 제1개폐절개라인(120)와 제2개폐절개라인(130)의 단부에 각 라인이 연장된 방향과 반대방향으로 절곡된 제1찢어짐방지 절개라인(121) 및 제2찢어짐방지 절개라인(131)을 각각 형성하는 것 이외에, 도 9에 도시된 바와 같이 상기 제1개폐절개라인(120)의 단부에는 원형상으로 개구되어 형성된 제1찢어짐방지공(123)이 형성되며 상기 제2개폐절개라인(130)의 단부에는 원형상으로 개구되어 형성된 제2찢어짐방지공(133)이 형성됨으로써, 상기 제1개폐절개라인(120) 및 제2개폐절개라인(130)에 길이방향(L)의 일측방향으로 외부가압이 가해지는 경우 제1개폐절개라인(120) 및 제2개폐절개라인(130)의 단부가 찢어지는 현상을 방지할 수 있다.Meanwhile, as described above, at the ends of the first opening/closing cutting line 120 and the second opening/closing cutting line 130, the first tear-prevention cutting line 121 and the second bent in the opposite direction to the direction in which each line extends In addition to forming the tear-proof cut lines 131, respectively, as shown in FIG. 9, the first tear-opening hole 123 formed by opening in a circular shape is formed at the end of the first open/close line 120 At the end of the second opening/closing cutting line 130, a second tear prevention hole 133 formed by opening in a circular shape is formed, so that the length of the first opening/closing cutting line 120 and the second opening/closing cutting line 130 is formed. When an external pressure is applied in one direction in the direction L, the end of the first opening and closing line 120 and the second opening and closing line 130 can be prevented from being torn.

여기서, 본 발명의 바람직한 실시예에 따른 포장팩용 개폐스티커(100)는 도 2 및 도 4에 도시된 바와 같이 포장팩(10)에 장착되어 스티커본체(110)가 후방으로 젖혀진 상태에서 걸림부(141)가 포장팩(10)의 단부에 걸리도록 젖혀져 지지됨으로써 후방으로 젖혀진 상태 즉 개방상태를 선택적으로 고정시킬 수 있으며, 도 6 및 도 7에 도시된 바와 같이 포장팩(10) 상에서 덮개케이스(30)의 내측 위치에 배치되어 인출공(11)을 커버하는 형태로 부착되어 스티커본체(110)가 후방으로 젖혀진 상태에서 걸림부(141)가 덮개케이스(30)의 단부에 걸리도록 젖혀져 지지되는 방식으로도 스티커본체(110)의 개방된 상태를 선택적으로 고정시킬 수 있다.Here, the opening/closing sticker 100 for a packaging pack according to a preferred embodiment of the present invention is mounted on the packaging pack 10 as shown in FIGS. 2 and 4, and the sticker body 110 is hooked in the rearward state. As the 141 is supported so as to be hooked to the end of the packaging pack 10, it is possible to selectively fix a state in which it is tilted backward, that is, an open state. On the packaging pack 10, as shown in FIGS. 6 and 7 It is disposed in the inner position of the cover case 30 is attached in a form that covers the withdrawal hole 11, the locking body 141 is caught in the end of the cover case 30 in the state that the sticker body 110 is tilted backwards It is possible to selectively fix the opened state of the sticker body 110 in a manner that is supported by being tilted.

한편, 도 8에 도시된 바와 같이, 상기 스티커본체(110) 상에서 손잡이(112)는 길이방향(L)의 일측을 향해 반원형상으로 볼록하게 돌출되도록 형성되고 걸림부절개라인(140)은 길이방향(L)의 타측을 향해 반원형상으로 볼록하게 절개되도록 형성되며, 상기 손잡이(112)와 걸림부(141)의 상부에는 스티커본체(110)보다 상대적으로 휨강성이 높은 재질 또는 두께로 이루어지고 저면에는 접착제가 도포되며 원형상으로 이루어진 보강필름(150)이 부착됨으로써, 상기 손잡이(112) 및 걸림부(141)가 쉽게 접히거나 구겨지는 것을 방지하여 손잡이(112)의 들뜸 현상을 방지하고 스티커본체(110)의 개방상태를 보다 견고하게 유지할 수 있다.On the other hand, as shown in Figure 8, the handle 112 on the sticker body 110 is formed to protrude convexly in a semi-circular shape toward one side of the longitudinal direction (L) and the locking portion cutting line 140 is the longitudinal direction It is formed to be convexly cut in a semi-circular shape toward the other side of (L), and the upper part of the handle 112 and the engaging portion 141 is made of a material or thickness that has a relatively higher bending stiffness than the sticker body 110, and on the bottom The adhesive is applied and the reinforcing film 150 formed in a circular shape is attached, thereby preventing the handle 112 and the locking portion 141 from being easily folded or wrinkled, thereby preventing the handle 112 from being lifted and preventing the sticker body ( The open state of 110) can be maintained more firmly.

여기서, 도면에서와 같이 상기 보강필름(150)의 상부면에는 길이방향(L)을 향해 상향 돌출된 복수의 보강리브(151)가 폭방향(W)으로 이격배치됨으로써 상기 보강필름(150)의 휨강성을 더욱 증대시킬 수 있다.Here, as shown in the drawing, a plurality of reinforcing ribs 151 protruding upward toward the longitudinal direction L are spaced apart in the width direction W on the upper surface of the reinforcing film 150 so that the reinforcing film 150 is The bending stiffness can be further increased.

또한, 도 9 및 도 10에 도시된 바와 같이 상기 스티커본체(110)의 저면 상에서 인출공(11)과 대향하는 위치에는 스티커본체(110)보다 상대적으로 작고 인출공(11)보다 상대적으로 큰 크기(D2 〉D1)를 갖는 필름 형상으로 이루어진 커버필름(160)이 부착되어 인출공(11)의 주변에 밀착됨으로써, 인출공(11)을 통해 내부의 수분이 외부로 누출되거나 스티커본체(110)의 접착제(111)와 접촉되어 접착력이 저하되는 현상을 방지할 수 있다. 그리고, 상기 커버필름(160)의 저면에는 발수성코팅(161)이 형성되어 포장팩(10)의 내용물(20)이 접착제(111)이 묻거나 내용물(20)에 수분이 함유된 경우 수분이 외부로 누출되는 것을 최소화할 수 있다.In addition, as shown in FIGS. 9 and 10, the size of the sticker body 110 is relatively smaller than that of the sticker body 110 and relatively larger than that of the drawing hole 11 at a position facing the drawing hole 11 on the bottom surface of the sticker body 110. A cover film 160 made of a film shape having (D2>D1) is attached to be adhered to the periphery of the extraction hole 11, so that the moisture inside leaks out through the extraction hole 11 or the sticker body 110 It is possible to prevent the phenomenon that the adhesive strength is lowered by being in contact with the adhesive 111. In addition, when the water repellent coating 161 is formed on the bottom surface of the cover film 160 so that the contents 20 of the packaging pack 10 adhere to the adhesive 111 or the contents 20 contain moisture, the moisture is external. To minimize leakage.

상술한 바와 같은 본 발명의 바람직한 실시예에 따른 포장팩용 개폐스티커(100)의 각 구성 및 기능에 의해, 포장팩(10)의 인출공(11)을 커버하는 형태로 포장팩(10)에 부착되는 스티커본체(110)에는 일측 상에서 타측방향을 향해 볼록한 형태로 절개되면서 상기 포장팩(10)의 단부에 걸리도록 지지되는 걸림부(141)를 형성하는 걸림부절개라인(140)이 구비됨으로써, 상기 걸림부(141)를 포장팩(10)의 단부나 덮개케이스(30)의 단부의 하부에 끼워넣어 스티커본체(110)가 후방으로 젖혀진 상태를 선택적으로 고정시킬 수 있으므로, 스티커본체(110)가 갖는 탄성에 의해 접착제 부분이 사용자의 손이나 포장팩(10)의 내용물(20)과 접촉되면서 접착력이 저하되는 것을 효과적으로 방지할 수 있으며 사용자의 두 손을 자유롭게 이용할 수 있다.Attached to the packaging pack 10 in the form of covering the withdrawal hole 11 of the packaging pack 10 by each configuration and function of the opening and closing sticker 100 for the packaging pack according to the preferred embodiment of the present invention as described above By being cut in a convex shape toward the other direction on one side of the sticker body 110, a locking portion cutting line 140 is formed to form a locking portion 141 supported by the end of the packaging pack 10, Since the locking portion 141 is inserted into the bottom of the end of the packaging pack 10 or the end of the cover case 30, the sticker body 110 can be selectively fixed in a state in which it is tilted backward, so that the sticker body 110 Due to the elasticity of ), the adhesive portion can effectively prevent the adhesive force from being deteriorated while contacting the user's hand or the contents 20 of the packaging pack 10, and the user's two hands can be used freely.

이상과 같이, 본 발명은 비록 한정된 실시예와 도면에 의해 설명되었으나, 본 발명은 이것에 의해 한정되지 않으며 본 발명이 속하는 기술분야에서 통상의 지식을 가진 자에 의해 본 발명의 기술 사상과 아래에 기재될 청구범위의 균등 범위 내에서 다양한 수정 및 변형이 가능함은 물론이다.As described above, although the present invention has been described by a limited number of embodiments and drawings, the present invention is not limited by this, and the technical spirit of the present invention and the following will be described by those skilled in the art to which the present invention pertains. Of course, various modifications and variations are possible within the scope of the claims to be described.

10...포장팩 11...인출공
20...내용물 30...덮개케이스
100...포장팩용 개폐스티커 110...스티커본체
111...접착제 112...손잡이
120...제1개폐절개라인 121...제1찢어짐방지 절개라인
122,132...볼록절개라인 123...제1찢어짐방지공
130...제2개폐절개라인 131...제2찢어짐방지 절개라인
133...제2찢어짐방지공 140...걸림부절개라인
142...제3찢어짐방지 절개라인 150...보강필름
151...보강리브 160...커버필름
10...packing pack 11...drawer
20...Contents 30...Covercase
100...packing pack opening/closing sticker 110...sticker body
111...adhesive 112...handle
120... 1st opening and closing incision line 121... 1st tear prevention incision line
122,132...Convex incision line 123...First tear-prevention ball
130...second opening and closing incision line 131...second tear prevention incision line
133...Second tear prevention hole 140...Jam incision line
142...third tear prevention incision line 150...reinforcement film
151...Reinforcement rib 160...Cover film

Claims (6)

포장팩(10)에 개구된 인출공(11)을 개폐가능하게 커버하도록 포장팩(10)에 장착되는 포장팩용 개폐스티커에 있어서,
상기 인출공(11)보다 상대적으로 넓은 면적을 갖는 필름 형상으로 이루어지고 저면에는 접착제(111)가 도포되어 상기 인출공(11)을 커버하는 형태로 포장팩(10)에 부착되며 길이방향(L)의 일측에는 손잡이(112)가 형성되어 일측에서 타측으로 젖혀지도록 개폐되는 스티커본체(110);
상기 스티커본체(110) 상에서 폭방향(W)의 양측변부로부터 젖혀지는 타측방향을 향해 연장된 형태로 절개되어 젖혀진 상태에서 상기 스티커본체(110)의 타측부분이 포장팩(10)에 부착된 상태를 유지하도록 하는 제1개폐절개라인(120); 및 제2개폐절개라인(130); 및
상기 스티커본체(110)의 일측 상에서 타측방향을 향하여 볼록한 형태로 절개되면서 상기 포장팩(10)의 단부에 걸리도록 지지되는 걸림부(141)를 형성하는 걸림부절개라인(140);을 포함하는 포장팩용 개폐스티커.
In the opening and closing sticker for the packaging pack mounted on the packaging pack 10 to cover the drawer opening 11 opened in the packaging pack 10 so as to be openable and closed,
It is made of a film shape having a relatively large area than the drawing hole 11, and an adhesive 111 is applied to the bottom surface to be attached to the packaging pack 10 in a form to cover the drawing hole 11, and the longitudinal direction (L A handle 112 is formed on one side of the sticker body 110 that is opened and closed to be flipped from one side to the other;
On the sticker body 110, the other side portion of the sticker body 110 is attached to the packaging pack 10 in a state in which it is cut out and extended in a form extending toward the other side, which is tilted from both sides of the width direction W. A first opening/closing cutting line 120 to maintain a state; And a second opening and closing line 130; And
Containing a cut-out line 140 to form a locking portion 141 supported on the end of the packaging pack 10 while being cut in a convex shape toward the other side on one side of the sticker body 110 Opening and closing sticker for packaging pack.
청구항 1에 있어서,
상기 제1개폐절개라인(120)의 단부에는 스티커본체(110)의 길이방향(L) 일측을 향하여 라운드지게 절개된 제1찢어짐방지 절개라인(121)이 형성되며,
상기 제2개폐절개라인(130)의 단부에는 스티커본체(110)의 길이방향(L) 일측을 향하여 라운드지게 절개된 제2찢어짐방지 절개라인(131)이 형성된 것을 특징으로 하는 포장팩용 개폐스티커.
The method according to claim 1,
At the end of the first opening/closing incision line 120, a first tear-prevention incision line 121 is formed that is incised round toward one side in the longitudinal direction (L) of the sticker body 110,
Opening and closing sticker for a packaging pack, characterized in that a second tear-preventing incision line 131 cut roundly toward one side of the longitudinal direction (L) of the sticker body 110 is formed at an end of the second opening and closing line 130.
청구항 2에 있어서,
상기 걸림부절개라인(140)의 양 단에는 스티커본체(110)의 길이방향(L) 타측을 향하여 라운드지게 절개된 제3찢어짐방지 절개라인(142)이 형성된 것을 특징으로 하는 포장팩용 개폐스티커.
The method according to claim 2,
The opening and closing sticker for a packaging pack, characterized in that a third tear-prevention incision line 142 cut in a round direction toward the other side in the longitudinal direction (L) of the sticker body 110 is formed at both ends of the engaging portion incision line 140.
청구항 2에 있어서,
상기 제1개폐절개라인(120) 및 제2개폐절개라인(130)의 각 중앙부에는 폭방향(W)의 외측을 향해 볼록하게 절곡된 형태의 볼록절개라인(122,132)이 각각 형성된 것을 특징으로 하는 포장팩용 개폐스티커.
The method according to claim 2,
Each of the central portions of the first opening/closing cutting line 120 and the second opening/closing cutting line 130 has convex cutting lines 122 and 132 formed convexly bent toward the outside of the width direction W, respectively. Opening and closing sticker for packaging pack.
청구항 2에 있어서,
상기 제1개폐절개라인(120)의 단부에는 원형상으로 개구되어 형성된 제1찢어짐방지공(123)이 형성되며,
상기 제2개폐절개라인(130)의 단부에는 원형상으로 개구되어 형성된 제2찢어짐방지공(133)이 형성된 것을 특징으로 하는 포장팩용 개폐스티커.
The method according to claim 2,
A first tear-prevention hole 123 formed by opening in a circular shape is formed at an end of the first opening/closing cutting line 120,
The opening and closing sticker for a packaging pack, characterized in that a second tear-prevention hole 133 formed by opening in a circular shape is formed at an end of the second opening and closing line 130.
제 1항에 있어서,
상기 스티커본체(110) 상에서 상기 손잡이(112)는 길이방향(L)의 일측을 향해 반원형상으로 볼록하게 돌출되도록 형성되고 상기 걸림부절개라인(140)은 길이방향(L)의 타측을 향해 반원형상으로 볼록하게 절개되도록 형성되며,
상기 스티커본체(110)보다 상대적으로 휨강성이 높은 재질 또는 두께로 이루어지고 저면에는 접착제가 도포되며 원형상으로 이루어져 상기 손잡이(112)와 걸림부(141)의 상부에 부착되는 보강필름(150);을 더 포함하는 것을 특징으로 하는 포장팩용 개폐스티커.
According to claim 1,
On the sticker body 110, the handle 112 is formed to protrude convexly in a semicircular shape toward one side in the longitudinal direction L, and the engaging portion incision line 140 is semicircular toward the other side in the longitudinal direction L It is formed to be convexly incised upward,
A reinforcing film 150 made of a material or a thickness having a relatively higher bending rigidity than the sticker body 110, an adhesive is applied to the bottom surface and formed in a circular shape to be attached to the upper part of the handle 112 and the locking portion 141; A packing pack opening and closing sticker, characterized in that it further comprises.
KR1020190001778A 2019-01-07 2019-01-07 Opening and shutting sticker for packaging pack Ceased KR20200085975A (en)

Priority Applications (1)

Application Number Priority Date Filing Date Title
KR1020190001778A KR20200085975A (en) 2019-01-07 2019-01-07 Opening and shutting sticker for packaging pack

Applications Claiming Priority (1)

Application Number Priority Date Filing Date Title
KR1020190001778A KR20200085975A (en) 2019-01-07 2019-01-07 Opening and shutting sticker for packaging pack

Publications (1)

Publication Number Publication Date
KR20200085975A true KR20200085975A (en) 2020-07-16

Family

ID=71839500

Family Applications (1)

Application Number Title Priority Date Filing Date
KR1020190001778A Ceased KR20200085975A (en) 2019-01-07 2019-01-07 Opening and shutting sticker for packaging pack

Country Status (1)

Country Link
KR (1) KR20200085975A (en)

Cited By (2)

* Cited by examiner, † Cited by third party
Publication number Priority date Publication date Assignee Title
WO2023033316A1 (en) * 2021-09-01 2023-03-09 주식회사 아이센스 Protection sheet for body attachment device and body attachment device including same
KR20230059093A (en) * 2021-10-25 2023-05-03 이승현 System of overlapping label having selectively adhesion area by using fixed area of label

Citations (1)

* Cited by examiner, † Cited by third party
Publication number Priority date Publication date Assignee Title
KR200380636Y1 (en) 2005-01-19 2005-03-31 한울생약 주식회사 envelope label sticker for wet-tissue

Patent Citations (1)

* Cited by examiner, † Cited by third party
Publication number Priority date Publication date Assignee Title
KR200380636Y1 (en) 2005-01-19 2005-03-31 한울생약 주식회사 envelope label sticker for wet-tissue

Cited By (2)

* Cited by examiner, † Cited by third party
Publication number Priority date Publication date Assignee Title
WO2023033316A1 (en) * 2021-09-01 2023-03-09 주식회사 아이센스 Protection sheet for body attachment device and body attachment device including same
KR20230059093A (en) * 2021-10-25 2023-05-03 이승현 System of overlapping label having selectively adhesion area by using fixed area of label

Similar Documents

Publication Publication Date Title
EP2340216B1 (en) Packet with a closure for its outlet, e.g. for articles storage and dispensing
US7172093B2 (en) Container for dispensation of wet tissues
JP4753481B2 (en) Packaging container
KR101280064B1 (en) Tissue pack
JP2008189370A (en) Label for lid of wet tissue package
KR101568284B1 (en) Opening and shutting label for package
KR20200085975A (en) Opening and shutting sticker for packaging pack
WO2017002850A1 (en) Dispensing container
JP4018067B2 (en) Package
KR102787280B1 (en) Home storage container for leafy greens
JP4632334B2 (en) Packaging container
KR102788619B1 (en) Home storage container for leafy greens
KR102084643B1 (en) Opening and shutting sticker for wet tissue packing pack
KR101193795B1 (en) Vinyli pack for wet tissues
JP5872233B2 (en) Wet seat container and lid seal
KR102787279B1 (en) Home storage container for leafy greens
JP6255701B2 (en) Package
IL156431A (en) Dispenser for hygienic paper products or the like
KR101257312B1 (en) Pack of wet tissues
JP4921111B2 (en) Moisturizing container
JP6297881B2 (en) Lid for packaging body and packaging body
JP6194095B1 (en) Wrap film storage container
JP6170353B2 (en) Wrap film packaging box
JP2006111275A (en) Spout pack made of synthetic resin
JPH0948477A (en) Packaging container for tissue paper

Legal Events

Date Code Title Description
PA0109 Patent application

Patent event code: PA01091R01D

Comment text: Patent Application

Patent event date: 20190107

PA0201 Request for examination
PE0902 Notice of grounds for rejection

Comment text: Notification of reason for refusal

Patent event date: 20191120

Patent event code: PE09021S01D

PE0902 Notice of grounds for rejection

Comment text: Final Notice of Reason for Refusal

Patent event date: 20200501

Patent event code: PE09021S02D

PG1501 Laying open of application
E601 Decision to refuse application
PE0601 Decision on rejection of patent

Patent event date: 20201102

Comment text: Decision to Refuse Application

Patent event code: PE06012S01D

Patent event date: 20200501

Comment text: Final Notice of Reason for Refusal

Patent event code: PE06011S02I

Patent event date: 20191120

Comment text: Notification of reason for refusal

Patent event code: PE06011S01I