KR20200068467A - 교량용 프리스트레스트 거더 및 그 제작 방법 - Google Patents

교량용 프리스트레스트 거더 및 그 제작 방법 Download PDF

Info

Publication number
KR20200068467A
KR20200068467A KR1020180155486A KR20180155486A KR20200068467A KR 20200068467 A KR20200068467 A KR 20200068467A KR 1020180155486 A KR1020180155486 A KR 1020180155486A KR 20180155486 A KR20180155486 A KR 20180155486A KR 20200068467 A KR20200068467 A KR 20200068467A
Authority
KR
South Korea
Prior art keywords
concrete
strand
fixed
girder
sheath pipe
Prior art date
Legal status (The legal status is an assumption and is not a legal conclusion. Google has not performed a legal analysis and makes no representation as to the accuracy of the status listed.)
Granted
Application number
KR1020180155486A
Other languages
English (en)
Other versions
KR102206157B1 (ko
Inventor
김충언
양인욱
하태열
Original Assignee
(주)삼현피에프
Priority date (The priority date is an assumption and is not a legal conclusion. Google has not performed a legal analysis and makes no representation as to the accuracy of the date listed.)
Filing date
Publication date
Application filed by (주)삼현피에프 filed Critical (주)삼현피에프
Priority to KR1020180155486A priority Critical patent/KR102206157B1/ko
Publication of KR20200068467A publication Critical patent/KR20200068467A/ko
Application granted granted Critical
Publication of KR102206157B1 publication Critical patent/KR102206157B1/ko
Active legal-status Critical Current
Anticipated expiration legal-status Critical

Links

Images

Classifications

    • EFIXED CONSTRUCTIONS
    • E01CONSTRUCTION OF ROADS, RAILWAYS, OR BRIDGES
    • E01DCONSTRUCTION OF BRIDGES, ELEVATED ROADWAYS OR VIADUCTS; ASSEMBLY OF BRIDGES
    • E01D2/00Bridges characterised by the cross-section of their bearing spanning structure
    • E01D2/02Bridges characterised by the cross-section of their bearing spanning structure of the I-girder type
    • EFIXED CONSTRUCTIONS
    • E01CONSTRUCTION OF ROADS, RAILWAYS, OR BRIDGES
    • E01DCONSTRUCTION OF BRIDGES, ELEVATED ROADWAYS OR VIADUCTS; ASSEMBLY OF BRIDGES
    • E01D21/00Methods or apparatus specially adapted for erecting or assembling bridges
    • EFIXED CONSTRUCTIONS
    • E01CONSTRUCTION OF ROADS, RAILWAYS, OR BRIDGES
    • E01DCONSTRUCTION OF BRIDGES, ELEVATED ROADWAYS OR VIADUCTS; ASSEMBLY OF BRIDGES
    • E01D2101/00Material constitution of bridges
    • E01D2101/20Concrete, stone or stone-like material
    • E01D2101/24Concrete
    • E01D2101/26Concrete reinforced
    • E01D2101/28Concrete reinforced prestressed

Landscapes

  • Engineering & Computer Science (AREA)
  • Architecture (AREA)
  • Civil Engineering (AREA)
  • Structural Engineering (AREA)
  • Bridges Or Land Bridges (AREA)

Abstract

본 발명은 교량용 프리스트레스트 거더 및 그 제작 방법에 관한 것으로, 교량용 프리스트레스트 거더의 콘크리트부에 하나의 강연선 다발이 2개 이상의 고정 정착부가 종방향으로 이격되게 분산 배치되게 구성됨에 따라, 교량용 프리스트레스트 거더에 공용 중에 작용하는 휨 모멘트의 분포에 대응하여 다단 계단 형태로 프리스트레스가 도입된 교량용 프리스트레스트 거더 및 그 제작 방법을 제공한다.

Description

교량용 프리스트레스트 거더 및 그 제작 방법 {PRESTRESSED GIRDER FOR BRIDGE AND METHOD OF MANUAFACTURING THEREOF}
본 발명은 교량용 프리스트레스트 거더 및 그 제작 방법에 관한 것으로, 보다 상세하게는, 교량용 프리스트레스트 거더의 콘크리트부에 프리스트레스를 도입하는 강연선의 일단부를 콘크리트부에 보다 신뢰성있는 고정 정착부로서 고정하고, 공용중 작용하는 휨 모멘트에 부합하는 압축 프리스트레스가 도입된 교량용 프리스트레스트 거더 및 그 제작 방법에 관한 것이다.
일반적으로 교량은, 교각이나 교대 등의 하부 구조에 거더가 거치되고, 거더의 상면에 차량이나 보행자가 통행하는 바닥판이 합성되어 시공된다. 교량에 작용하는 하중은 고정 하중과 차량 등의 통행에 따른 활하중이 작용하며, 교량의 내하 능력을 높이기 위하여 중립축 하부에 압축 프리스트레스가 도입된다.
압축 프리스트레스를 도입하는 방법 중 하나로 강연선(20)을 콘크리트부(12)의 쉬스관(20s)에 내설한 상태에서, 강연선(20)에 인장력을 도입한 상태로 정착하는 방식이 널리 사용되고 있다.
본 출원인이 출원하여 특허등록된 대한민국 등록특허공보 제10-0547619호에 따르면, 거더 단부위치의 콘크리트부에 도입하는 압축 응력이 허용 응력을 초과하지 않게 하면서, 공용 중 작용하는 휨 모멘트(BMDr)에 유사하게 압축 프리스트레스를 도입하는 구성을 개시하고 있다.
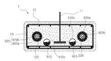
이에 따르면, 도1a 및 도1b에 도시된 바와 같이, 강재 빔(11)과 콘크리트부(12)가 합성된 강합성 거더(10)의 콘크리트부(12)에 압축 프리스트레스를 도입하기 위하여, 제1강연선(21)은 거더의 일단(E1)에 가동정착구(21a)로 고정되고 거더의 타단(E2)으로부터 이격된 위치의 콘크리트 내부에 고정 정착구(21b)로 고정되며, 제2강연선(22)은 거더의 타단(E2)에 가동정착구(22a)로 고정되고 거더의 일단(E1)으로부터 이격된 위치의 콘크리트 내부에 고정정착구(22b)로 고정되게 구성된다.
그리고, 가동 정착구(21a, 22a)에서 강연선(21, 22)에 인장력을 도입한 상태로 정착하는 것에 의해, 콘크리트부(12)에 압축 프리스트레스가 도입된다. 특히, 고정 정착구(21b, 22b)가 콘크리트부(12)의 단부(E1, E2)로부터 이격된 위치에 매립 고정 설치됨에 따라, 도1b에 도시된 바와 같이, 콘크리트부(12)에 도입된 프리스트레스에 의해 지지되는 휨 모멘트(BMDp)는 실제로 교량용 프리스트레스트 거더(9)에 작용하는 휨 모멘트(BMDr)를 저항할 수 있는 크기로 작용 휨 모멘트( BMDr )의 분포와 유사한 계단 형태로 형성하게 된다.
여기서, 도2에 도시된 바와 같이, 고정 정착구(22b)는, 강재 빔(11)에 설치된 보강 철근(25) 내부의 쉬스관(20s)에 내설된 강연선(22b)의 끝단부가 쉬스관(20s)의 바깥으로 노출되고, 강연선의 끝단부에 벌빙부(20x)가 형성되어 강연선의 고정정착부(22b)는 콘크리트부(12)와 일체로 고정된다.
그러나, 도3에 도시된 바와 같이, 쉬스관(20s)의 내부 공간은 강연선(22)의 원활한 삽입 설치를 위하여 강연선(22)이 차지하는 단면 공간에 비해 보다 넓게 형성되며, 이에 따라 강연선(22)이 쉬스관(20s)의 내부에 배치된 상태에서도 빈 공간(V)이 넓은 공간을 차지하게 된다.
이에 따라, 도2에 도시된 바와 같이 쉬스관(20s)에 강연선(22)을 설치한 상태에서 콘크리트부(12)를 형성하기 위한 콘크리트를 타설하면, 타설 콘크리트(예를 들어, 시멘트 페이스트 등)가 쉬스관(20s)의 내부로 유입되어, 고정 정착구(22b)가 형성되는 쉬스관(20s)의 끝단부에서의 내식 성능을 확실하게 확보하는 데 한계가 있었다.
또한, 쉬스관(20s)에 내설된 다수의 강연선(21, 22)은 고정 정착구를 형성하기 위하여 벌빙부(20x)가 형성된 끝단이 적당한 간격으로 벌어지는 것이 효과적인데, 강연선(21, 22)을 일일이 벌리는 작업이 매우 번거로운 문제도 안고 있었다.
따라서, 교량용 프리스트레스트 거더에 프리스트레스를 도입하기 위한 강연선의 끝단이 콘크리트부에 매립된 고정 정착부를 형성하는 데 있어서, 쉬스관(20s)의 내부와 외부를 명확히 구분하여 타설 콘크리트의 침투를 방지하고, 동시에 강연선 끝단의 벌빙부를 효율적으로 분산시킬 필요성이 높아지고 있다.
무엇보다도, 교량용 프리스트레스트 거더에 프리스트레스를 도입하는 강연선의 일단이 콘크리트부에 매립 고정된 고정 정착부를 형성하고, 강연선에 인장력을 도입한 상태로 정착하여 콘크리트부에 프리스트레스를 도입하면, 도1a 및 도1b에 도시된 바와 같이 고정 정착부(21b, 22b)가 어느 하나의 위치로 정해지므로, 콘크리트부(12)에 도입된 프리스트레스에 의해 지지되는 휨 모멘트(BMDp)는 하나의 계단을 이루는 형태에 국한된다. 이에 따라, 프리스트레스 도입시 고정 정착부(21b, 22b)에는 매우 큰 하중이 작용하게 되어 콘크리트부(12)에 국부적인 응력 집중에 따른 인장 균열이 발생하는 등의 문제점 뿐만 아니라, 실제로 교량용 프리스트레스트 거더(9)에 작용하는 휨 모멘트(BMDr)에 보다 유사한 다단의 계단 형태로 형성하는 데 한계를 갖고 있었다.
한편, 교량용 프리스트레스트 거더에 공용중에 실제 작용하는 휨 모멘트(BMDr)에 유사한 다단의 계단 형태로 프리스트레스 도입에 의한 휨 모멘트(BMDp)를 형성하기 위해서는, 서로 다른 2개의 강연선을 거더의 콘크리트부(12)에 배치하는 방법을 모색해 볼 수 있다. 그러나, 제작이 완료된 교량용 프리스트레스트 거더의 좌우 휨 변형을 억제하기 위해서는 콘크리트부에 배치되는 강연선은 좌우 대칭으로 배치되어야 하고, 강연선은 쉬스관 내에 다발 형태로 다수가 함께 설치되며, 특히 강재 빔과 콘크리트부가 합성된 강합성 거더는 콘크리트부의 단면이 작으므로, 강연선의 길이를 서로 다르게 배치할만한 충분한 단면이 콘크리트부에 마련되지 않으므로, 2개 이상의 계단을 이루는 형태로 휨 모멘트에 저항하는 프리스트레스의 도입이 불가능하였다.
따라서, 교량용 프리스트레스트 거더에 실제로 작용하는 휨 모멘트의 분포에 대응하여 다단 계단 형태로 프리스트레스의 도입 크기를 조절할 수 있도록 하는 방안의 필요성이 요구되고 있다.
본 발명은, 교량용 프리스트레스트 거더에 실제로 작용하는 휨 모멘트의 분포에 대응하여 다단 계단 형태로 프리스트레스의 도입 크기를 조절하여, 교량용 프리스트레스트 거더에 적정한 크기의 프리스트레스만 정확히 도입하는 것을 목적으로 한다.
그리고, 본 발명은, 프리스트레스 도입시 고정 정착부의 콘크리트부에 발생하는 국부적인 응력 집중을 줄임으로써 이에 따른 균열 발생을 감소시켜 보다 나은 콘크리트 품질을 확보하는 것을 목적으로 한다.
또한, 본 발명은, 콘크리트부에 매립되는 강연선 끝단의 고정 정착부가 콘크리트부에 골고루 분산되어 콘크리트부와의 부착력을 향상시켜 보다 큰 힘에도 고정 정착부로서의 작용을 신뢰성있게 구현하는 것을 목적으로 한다.
이 뿐만 아니라, 본 발명은, 작업자의 숙련도와 무관하게, 고정 정착부를 형성하는 강연선 끝단을 골고루 예정된 만큼 간편하게 분산시키는 것을 목적으로 한다.
또한, 본 발명은, 콘크리트부에 매립되어 고정 정착부를 형성하는 강연선을 수용하는 쉬스관에 채워지는 그라우트재와 타설 콘크리트가 서로 혼합되는 것을 억제하여 내식성과 내구성을 확보하는 것을 목적으로 한다.
상기와 같은 과제를 달성하기 위하여, 본 발명은, 종방향으로 연장된 콘크리트부를 포함하는 교량용 프리스트레스트 거더로서, 상기 콘크리트부의 일단으로부터 거더 중앙부를 가로질러 상기 콘크리트부의 타단으로부터 이격된 제1위치까지 내설된 제1쉬스관과; 상기 콘크리트부의 타단으로부터 거더 중앙부를 가로질러 상기 콘크리트부의 일단으로부터 이격된 제2위치까지 내설된 제2쉬스관과; 상기 콘크리트부의 일단으로부터 상기 제1쉬스관을 관통하여 설치되되, 상기 제1위치와 상기 콘크리트부의 타단 사이의 제1사잇영역의 제1-1위치에 일부인 제1-1강연선의 끝단이 매립 고정된 제1-1고정정착부와, 상기 제1-1위치로부터 종방향으로 이격된 제1-2위치에 다른 일부인 제1-2강연선의 끝단이 매립 고정된 제1-2고정정착부가 형성되고, 인장력이 도입된 상태로 정착되는 다수의 제1강연선과; 상기 콘크리트부의 타단으로부터 상기 제2쉬스관을 관통하여 설치되되, 상기 제2위치와 상기 콘크리트부의 일단 사이의 제2사잇영역의 제2-1위치에 일부인 제2-1강연선의 끝단이 매립 고정된 제2-1고정정착부와, 상기 제2-1위치로부터 종방향으로 이격된 제2-2위치에 다른 일부인 제2-2강연선의 끝단이 매립 고정된 제2-2고정정착부가 형성되고, 인장력이 도입된 상태로 정착되는 다수의 제2강연선을; 포함하여 구성된 것을 특징으로 하는 교량용 프리스트레스트 거더를 제공한다.
한편, 본 발명은, 전술한 구성의 교량용 프리스트레스트 강합성 거더의 제작 방법으로서, 강재 빔을 준비하는 강재 빔 준비단계와; 상기 강재 빔에 합성되는 상기 콘크리트부를 보강하는 철근을 배근하는 단계와; 상기 제1쉬스관과 상기 제2쉬스관을 포함하는 쉬스관을 설치하는 쉬스관 설치단계와; 상기 제1강연선의 벌빙부는 상기 제1쉬스관의 바깥에 노출되게 상기 제1강연선을 상기 제1쉬스관에 내설하고, 상기 제2강연선의 벌빙부는 상기 제2쉬스관의 바깥에 노출되게 상기 제2강연선을 상기 제2쉬스관에 내설하는 강연선 설치단계와; 상기 콘크리트부를 형성하기 위한 거푸집을 설치하는 거푸집 설치단계와; 상기 거푸집에 굳지 않은 콘크리트를 타설하고 미리 정해진 강도로 양생하는 콘크리트 형성단계와; 상기 콘크리트 형성단계 이후에 거푸집을 제거하고 나서, 상기 콘크리트부의 일단부에서 제1강연선에 인장력을 도입한 후 정착하고, 상기 콘크리트부의 타단부에서 제2강연선에 인장력을 도입한 후 정착하여 상기 콘크리트부에 프리스트레스를 도입하는 프리스트레스 도입단계를; 포함하여 구성된 것을 특징으로 하는 프리스트레스트 강합성 거더의 제작 방법을 제공한다.
본 명세서 및 청구범위에 기재된 '종방향' 또는 '길이 방향'은 교량용 프리스트레스트 거더의 길이 방향을 지칭하는 것으로 정의한다. 본 명세서 및 청구범위에 기재된 '축선 방향'은 쉬스관의 연장 방향을 지칭하는 것으로 정의한다. 본 명세서 및 청구범위에 기재된 '반경 방향'은 쉬스관의 연장 방향인 축선 방향의 중심축을 기준으로 축선 방향에 수직한 평면을 따라 멀어지는 방향을 지칭하는 것으로 정의한다.
상기와 같이 구성된 본 발명은, 하나의 강연선 다발이 2개 이상의 고정 정착부가 종방향으로 이격되게 분산 배치되게 구성됨에 따라, 교량용 프리스트레스트 거더에 공용 중에 작용하는 휨 모멘트의 분포에 대응하여 프리스트레스의 도입 크기를 다단 계단 형태로 도입하는 효과를 얻을 수 있을 뿐만 아니라, 하나의 고정 정착부에 발생하는 응력 집중을 줄여 콘크리트의 국부적인 인장(인장 균열 등)을 방지하여 보다 높은 콘크리트 품질을 확보하는 효과를 얻을 수 있다.
이를 통해, 본 발명은, 교량용 프리스트레스트 거더의 콘크리트부에 영역별로 과다한 프리스트레스의 도입을 방지하고, 자중과 외력에 의해 콘크리트부에 작용하는 휨모멘트를 상쇄시키는 크기로 압축 프리스트레스를 정확히 도입하여, 콘크리트부의 손상을 억제하면서도 작용하는 휨 모멘트에 대한 내하 능력을 향상시키는 효과를 얻을 수 있다.
또한, 본 발명은, 쉬스관의 내부 공간이 콘크리트부와 물리적으로 차단되게 구획됨에 따라, 쉬스관에 강연선이 설치된 상태에서 콘크리트부를 형성하기 위해 굳지 않은 콘크리트를 타설하더라도, 타설 콘크리트가 쉬스관의 내부로 유입되는 것을 방지하여 강연선의 내식성과 수명을 신뢰성있게 보장하는 효과를 얻을 수 있다.
또한, 본 발명은 제1분산체와 제2분산체에 형성된 제1안내공 및 제2안내공에 의해 강연선이 하나씩 안내되면서 콘크리트부에 고정되는 위치가 정해지므로, 작업자의 숙련도에 무관하게 강연선의 벌어지는 간격을 미리 정해진 크기로 정확히 설치할 수 있으며, 고정 정착부의 설치 작업이 보다 간편해지는 효과를 얻을 수 있다.
그리고, 본 발명은 다수의 강연선이 반경 방향으로 그리고 종방향으로 서로 이격 분산되어 콘크리트부와의 부착력이 보다 확보됨에 따라 고정 정착부의 작용을 보다 신뢰성있게 구현하는 효과를 얻을 수 있다.
이를 통해, 본 발명은 교량용 프리스트레스트 거더에 작용하는 휨 모멘트에 부합하는 압축 프리스트레스를 보다 정확하게 도입하여 예정된 내하 능력을 확실하게 구현하는 효과를 얻을 수 있다.
도1a는 종래의 교량용 합성 거더의 강연선 배치 구조를 도시한 정면도,
도1b는 도1a의 평면도 및 휨모멘트도.
도2는 콘크리트 타설 이전의 도1a의 'A'부분의 확대도,
도3은 도2의 절단선 Ⅲ-Ⅲ에 따른 단면도,
도4는 본 발명의 일 실시예에 따른 교량용 프리스트레스트 거더의 구성을 도시한 정면도,
도5는 도4의 콘크리트부에 설치된 강연선의 배치 구성을 도시한 평면도,
도6은 도4 및 도5의 'B'부분인 고정 정착부에 설치되는 강연선 분산형 고정 정착 장치를 도시한 사시도,
도7는 도6의 종단면 분해도,
도8 및 도9는 도4 및 도5의 고정 정착부에 설치되는 다른 형태의 강연선 분산형 고정 정착 장치의 종단면 분해도,
도10a는 도6의 제1분산체의 측면도,
도10b는 도6의 제2분산체의 측면도,
도11a는 도5의 절단선 C-C에 따른 횡단면도,
도11b는 도5의 절단선 D-D에 따른 횡단면도,
도12a는 도7의 'E'부분의 확대도,
도12b는 도7의 'E'부분에 대응하는 다른 실시 형태의 구성,
도13는 도4의 교량용 프리스트레스트 거더의 제작 방법을 순차적으로 도시한 순서도,
도14a 내지 도14f는 교량용 프리스트레스트 거더의 제작 순서에 따른 구성을 순차적으로 도시한 도면이다.
이하, 첨부 도면을 참조하여 본 발명의 일 실시예에 따른 교량용 프리스트레스트 거더(1)를 상술한다. 다만, 본 발명을 설명함에 있어서, 공지된 기능 혹은 구성에 대한 구체적인 설명은 본 발명의 요지를 명료하게 하기 위하여 생략하기로 한다.
본 발명의 제1실시예에 따른 교량용 프리스트레스트 거더(1)는, 도4 및 도5에 도시된 바와 같이, 종방향으로 연장된 I자 단면의 강재 빔(11)과, 강재 빔(11)의 하부 플랜지를 감싸는 형태로 강재 빔(11)에 합성된 콘크리트부(12)를 포함하여 구성되며, 콘크리트부(12)에 쉬스관이 내설되고, 쉬스관 내부에 강연선(900)이 설치되어 포스트텐션 방식으로 콘크리트부(12)에 압축 프리스트레스가 도입된다.
이를 위하여, 콘크리트부(12)의 일단(E1)으로부터 거더 중앙부를 가로질러 콘크리트부(12)의 타단(E2)으로부터 이격된 제1위치(P1)까지 제1쉬스관(910s)이 내설되고, 콘크리트부(12)의 타단(E2)으로부터 거더 중앙부를 가로질러 콘크리트부(12)의 일단(E1)으로부터 이격된 제2위치(P2)까지 제2쉬스관(920s)이 내설된다.
제1쉬스관(910s)에는 다수로 이루어진 제1강연선(910)이 내설된다. 제1강연선(910)은 콘크리트부(12)의 일단(E1)으로부터 제1쉬스관(910s)을 관통하여 설치되며, 콘크리트부(12)의 일단(E1)에서 인장력(P)이 도입되는 가동 정착구(911)가 형성되고, 제1쉬스관(910s)을 관통한 콘크리트부(12)에서 제1고정 정착부(912)가 형성된다.
여기서, 도4 및 도5에 도시된 바와 같이, 제1강연선(910)의 고정 정착구(912)는 제1쉬스관(910s)의 끝단인 제1위치(P1)와 콘크리트부(12)의 타단(E2) 사이의 제1사잇영역(A1)에 2개 이상 배치된다. 즉, 제1강연선(910)의 고정 정착부(912)는, 제1강연선(910)의 일부 강연선인 제1-1강연선의 끝단이 제1사잇영역(A1)의 제1-1위치(P11)에서 매립 고정된 제1-1고정정착부(9121)와, 제1강연선(910)의 다른 일부인 강연선인 제1-2강연선의 끝단이 제1-1위치(P11)에 비하여 콘크리트부(12)의 타단(E2)을 향하여 종방향으로 이격된 제1-2위치(P12)에서 매립 고정된 제1-2고정정착부(9122)로 이루어진다.
이와 유사하게, 제2쉬스관(920s)에는 다수로 이루어진 제2강연선(920)이 내설된다. 제2강연선(920)은 콘크리트부(12)의 타단(E2)으로부터 제2쉬스관(920s)을 관통하여 설치되며, 콘크리트부(12)의 타단(E2)에서 인장력(P)이 도입되는 가동 정착구(921)가 형성되고, 제2쉬스관(920s)을 관통한 콘크리트부(12)에서 제2고정 정착부(922)가 형성된다.
여기서, 도4 및 도5에 도시된 바와 같이, 제2강연선(920)의 고정 정착구(922)는 제2쉬스관(920s)의 끝단인 제2위치(P2)와 콘크리트부(12)의 일단(E1) 사이의 제2사잇영역(A2)에 2개 이상 배치된다. 즉, 제2강연선(920)의 고정 정착부(922)는, 제2강연선(920)의 일부 강연선인 제2-1강연선의 끝단이 제2사잇영역(A2)의 제2-1위치(P21)에서 매립 고정된 제2-1고정정착부(9221)와, 제2강연선(920)의 다른 일부인 강연선인 제2-2강연선의 끝단이 제2-1위치(P21)에 비하여 콘크리트부(12)의 일단(E1)을 향하여 종방향으로 이격된 제2-2위치(P22)에서 매립 고정된 제2-2고정정착부(9222)로 이루어진다.
도면에는, 제1고정 정착부(912) 및 제2고정정착부(922)가 서로 종방향으로 이격된 2개 위치에 형성된 구성이 예시되어 있지만, 본 발명의 다른 실시 형태에 따르면, 제1고정정착부(912)는 서로 종방향으로 이격된 3개 이상의 위치에 형성될 수도 있다. 여기서, 본 명세서 및 청구범위에 기재된 고정 정착부(9121, 9122, 9221, 9222)의 제1-1위치(P11), 제1-2위치(P12), 제2-1위치(P21), 제2-2위치(P22)및 이와 유사한 용어는 강연선(910, 920)의 벌빙부가 형성되어 콘크리트부(12)에 일체로 고정된 강연선 끝단부의 '위치'로서, 다수의 강연선의 벌빙부가 고정된 '영역'을 지칭하며, 종방향으로 1.0m 이하의 범위 내에서 강연선의 벌빙부(20x)가 고정된 영역을 '위치'라고 명명하는 것으로 정의한다. (즉, 종방향으로 1.0m 이하의 범위에서 벌빙부가 종방향으로 분산된 것은 거더의 거동에 미치는 영향이 크지 않으므로 1개의 위치에 벌빙부가 설치된 것으로 본다)
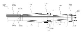
제1강연선(910)과 제2강연선(920)의 벌빙부(20x)가 콘크리트부(12)에 매립되어 형성되는 고정 정착부(912, 922)는 도6 및 도7에 도시된 강연선 분산형 고정 정착 장치(100)에 의해 형성된다. 도6은 제2강연선(920)의 끝단이 형성하는 제2고정정착부(922)가 도시되어 있으며, 이하에서는 편의상 도6 및 도7을 참조하여 제2고정정착부(922)를 형성하는 강연선 분산형 고정 정착 장치(100)를 설명한다. 제1고정정착부(912)도 제2고정정착부(922)와 동일하거나 유사하게 구성된다.
상기 강연선 분산형 고정 정착 장치(100)는, 제2쉬스관(920s)에 결합되어 제2강연선(920)을 수용하는 연결튜브(110)와, 연결튜브(110)의 끝단부에 결합되고 제2강연선의 일부인 제2-1강연선(920a)이 관통하는 제1안내공(122)이 다수 형성된 제1분산체(120)와, 제1분산체(120)의 중앙 관통공(126)과 연통되게 종방향으로 연장된 연장 쉬스관(130)과, 연장 쉬스관(130)에 결합되어 제2강연선(920)의 다른 일부인 제2-2강연선(920b)을 수용하는 제2연결튜브(140)와, 제2연결튜브(140)의 끝단부에 결합되고 제2-2강연선(920b)이 관통하는 제2안내공(152)이 다수 형성된 제2분산체(150)를 포함한다.
여기서, 상기 연결튜브(110)는, 제2쉬스관(920)의 끝단부에 종방향으로 연결되어, 제2쉬스관(920s)과 제1분산체(120)의 사이에 개재된다. 그리고, 연결 튜브(110)는 제2쉬스관(920s)의 끝단부로부터 튀어나온 제2강연선(920)을 내부 공간에 수용한다.
예를 들어, 연결 튜브(110)의 일단은 쉬스관(920s)의 끝단부 외주면을 감싸는 형태로 형성되고, 연결 튜브(110)의 일단 내주면이 쉬스관 끝단 외주면과 끼워 맞춰지거나 용접결합되거나 체결 결합된다. 경우에 따라서는, 연결 튜브(110)의 일단이 쉬스관(920s)의 끝단에 삽입되는 형태로 설치될 수 있으며, 본 발명은 도면에 도시된 연결 튜브(110)의 연결 방법에 국한되지 아니하고, 공지된 다양한 방법으로 연결 튜브(110)를 쉬스관(920s)에 연결 설치할 수 있다.
도7에 도시된 바와 같이, 연결 튜브(110)는 제2강연선(920)의 끝단으로 갈수록 점점 단면이 커지도록 형성된 확관 영역(Ex)이 구비되어, 제2쉬스관(920s)의 끝단부에 연결된 연결 튜브(110)의 일단의 단면에 비하여 연결 튜브(110)의 타단의 단면이 더 크게 형성된다.
도면에 도시되지 않았지만, 본 발명의 다른 실시 형태에 따르면, 연결튜브(110)는 설치되지 않을 수도 있으며, 제1분산체(120)가 직접 제2쉬스관(920s)의 끝단부에 결합 설치되는 구성을 포함한다.
상기 제1분산체(120)는 다수의 제1안내공(122)이 형성된 몸체부를 구비하며, 연결 튜브(110)에 결합되어 제2쉬스관(920s)의 내부 공간과 외부 공간을 차단하여 구획한다.
제1분산체(120)의 용이한 설치를 위하여, 제1분산체(120)는 제1안내공(122)이 형성된 몸체부로부터 연결 튜브(110)의 끝단 표면과 맞닿는 표면이 축선 방향으로 원형 단면으로 연장 형성된 연장부를 구비하여, 이들 표면이 맞닿은 상태로 용접 결합이나 체결 결합 등 다양한 방법으로 일체화시킬 수 있다.
다만, 본 발명은 도면에 도시된 형상에 국한되지 아니하며, 제2강연선(920)을 안내하는 제1안내공(122)이 형성된 몸체부를 구비하는 다양한 형상을 포함한다. 또한, 도면에는 제1분산체(120)에 안내공(122)이 형성된 몸체부가 원형 플레이트 형상으로 형성된 구성이 예시되어 있지만, 플레이트 형상이나 원형 형상으로 한정되지 아니하며, 제1안내공(122)이 형성된 다양한 형상을 포함한다.
여기서, 도10a에 도시된 바와 같이, 제1분산체(120)는 원형 플레이트로 형성된 몸체부에 다수의 안내공(122)이 원형 플레이트의 가장자리(120y)를 따라 원형으로 배치된다. 이를 통해, 제2강연선(920)들 중에 제1분산체(120)의 안내공(122)을 관통하는 제2-1강연선(920a)들은 각각 서로에 대하여 보다 멀리 이격된 거리를 유지하면서, 콘크리트부(12)에 보다 멀리 이격되게 분포된다.
이를 통해, 쉬스관(920s)에 수용된 다수의 제2강연선(920)들 중에 일부인 제2-1강연선(920a)들은 제1분산체(120)의 안내공(122)를 하나씩 관통하면서 분산 배치되므로, 작업자의 숙련도 등에 무관하게, 미리 정해진 간격으로 제2-1강연선(920a)들이 분리된 상태가 되고, 동시에 제2-1강연선(920a)의 끝단의 벌빙부(20x)는 콘크리트부(12)에 골고루 분산 배치된다.
더욱이, 연결 튜브(110)에 보다 단면이 더 커지는 확관 영역(Ex)이 구비됨에 따라, 제1분산체(120)의 몸체부는 제2쉬스관(920s)의 단면에 비하여 더 크게 형성된다. 따라서, 제1분산체(120)에 형성된 안내공(122)들은 상호 간에 보다 멀리 이격될 수 있는 환경이 마련되므로, 제2-1강연선(920a)을 콘크리트부(12)에 쉬스관의 중심축으로부터 멀어지는 반경 방향으로 보다 이격되게 분포시킬 수 있다. 이에 따라, 제1분산체(120)의 제1안내공(122)일부의 단면 일부 이상은 제2쉬스관(920s)이 차지하는 공간 바깥에 배치되어, 제2-1강연선(920a) 사이의 간격을 보다 넓게 배치할 수 있다.
한편, 본 발명의 다른 실시 형태에 따르면, 제2쉬스관(920s)의 끝단에 연결되는 연결 튜브(110)가 구비되지 아니하고, 제1분산체(120)가 쉬스관(920s)에 직접 연결되는 형태로 구성될 수 있다. 이 경우에는, 확관 영역(Ex)에 의해 종방향에 수직한 평면 방향으로 보다 이격되게 분포시키는 효과를 얻지 못하더라도, 정해진 위치의 안내공(122)을 통해 제2-1강연선(920a)을 분산시키는 효과를 얻을 수 있다.
이에 따라, 제2-1강연선(920a)은 제1분산체(120)의 제1안내공(122)을 관통하여 제2쉬스관(920s)의 끝단으로부터 종방향으로 약간 이격된 제2-1위치(P21)에 제2-1강연선(920a)의 벌빙부(20x)가 각각 콘크리트부(12)에 매립되어 일체화되는 것에 의해 제2-1고정정착부(9221)를 형성하게 된다.
한편, 제1분산체(120)는 중앙부에 중앙 관통공(126)이 관통 형성되어, 제2강연선(920)들 중에 제1분산체(120)의 제1안내공(122)을 통과한 제2-1강연선(920a)을 제외한 나머지인 제2-2강연선(920b)을 통과시킨다. 그리고, 연장 쉬스관(130)과 제1분산체(120)와의 결합을 보조하기 위하여, 필요에 따라, 도7에 도시된 바와 같이, 중앙 관통공(126)에는 돌출 파이프(228)가 제2쉬스관(920s)의 축선 방향으로 돌출 형성된다.
그리고, 상기 연장 쉬스관(130)은 제1분산체(120)의 중앙 관통공(126)으로부터 연장되게 제1분산체(120)에 결합된다. 이에 따라, 연장 쉬스관(130)의 직경은 제2쉬스관(920s)의 직경 이하로 형성된다. 예를 들어, 연장 쉬스관(130)이 제1분산체(120)의 돌출 파이프(128)의 내주면(128i)과 접촉하는 형태로 끼워지고, 연장 쉬스관(130)을 제1분산체(120)에 용접 결합하거나 접착 또는 체결 결합하는 것에 의해 이루어질 수 있다. 다만, 본 발명은 이에 한정되지 아니하며, 제1분산체와 다양한 형태로 결합되는 구성을 포함한다. 이에 따라, 제1분산체(120)의 중앙 관통공(126)으로부터 연장 설치되어, 제2강연선(920) 중에 제2-1강연선(920a)을 제외한 제2-2강연선(920b)을 관통시킨다.
연장 쉬스관(130)은 거더의 길이에 따라 차이가 있지만 소정 거리의 길이로 형성된다. 예를 들어, 연장 쉬스관(130)은 1.0m 보다는 더 길게 형성되며, 일단의 가동 정착구(911)와 제2-2고정정착구(9222) 사이의 길이의 1.5배 이하로 형성될 수 있다. 이에 따라, 연장 쉬스관(130)에 의해, 제2-2강연선(920b)의 벌빙부(20x)가 제2-1강연선(920a)의 벌빙부(20x)로부터 거더의 거동 측면에서 서로 다른 종방향으로의 위치에서 고정 정착부(9221, 9222)를 형성하는 역할을 한다. 이에 따라, 제2-1강연선(920a)의 벌빙부(20x)가 형성하는 제2-1고정정착부(9221)는 제2-2강연선(920b)의 벌빙부가 형성하는 제2-2고정정착부(9222)와 종방향으로 소정의 거리 차이를 두고 각각 제2-1위치(P21)와 제2-2위치(P22)에 배치된다.
따라서, 제2강연선(920)들에 인장력이 도입된 상태로 정착되어 콘크리트부에 압축 프리스트레스를 도입하면, 제2강연선(920)에 의해 도입되는 압축 프리스트레스는, 거더의 타단(E2)으로부터 제2-1위치(P21)까지의 영역은 제2-1강연선(920a)과 제2-2강연선(920b)에 의해 도입되는 데 반하여, 제2-1위치(P21)로부터 제2-2위치(P22)까지의 영역은 제2-2강연선(920b)에 의해서만 도입되므로, 도4의 하부에 도시된 휨모멘트 선도에 나타난 바와 같이, 콘크리트부(12)에 도입된 프리스트레스에 의해 지지되는 휨 모멘트(BMDp)는 종래 도1b에 도시된 구성에 의해 도입된 프리스트레스에 의해 지지되는 휨 모멘트에 비하여 'xBM'으로 표시된 영역(빗금)만큼 도입량을 줄여 다단의 계단 형태로 형성하는 것이 가능해진다.
또한, 종래에 하나의 고정 정착부에서 프리스트레스 도입에 따라 받던 인장력이 2개 이상의 고정 정착부(9221, 9222)로 분산됨으로써, 콘크리트부(12)에 발생되는 응력 집중을 완화시켜 콘크리트부(12)의 인장 응력에 의한 파손 가능성을 배제할 수 있다.
상기 연장 튜브(140)는 연장 쉬스관(130)의 끝단부에 결합되어, 연장 쉬스관(130)을 통과한 제2-2강연선(920b)을 감싸는 형태로 내부에 수용한다. 연결 튜브(110)의 결합 방식과 유사하게, 연장 튜브(140)의 일단부의 외주면(140o1)이 연장 쉬스관(130)의 끝단부에 삽입되거나, 연장 튜브(140)의 일단부가 연장 쉬스관(130)의 끝단부를 감싸게 구성하여 상호 맞닿는 표면이 생기도록 끼운 상태에서 용접이나 볼트 또는 접합이나 접착 등의 방법으로 결합시킨다.
도7에 도시된 바와 같이, 연장 튜브(140)는 제2-2강연선(920b)의 끝단(벌빙부가 형성된 단부)으로 갈수록 점점 단면이 커지도록 형성된 확관 영역(Ex)이 구비되어, 연장 쉬스관(130)의 끝단부에 연결된 연장 튜브(140)의 일단의 단면에 비하여 연장 튜브(140)의 타단의 단면이 더 크게 형성된다.
도8에 도시된 본 발명의 다른 실시 형태(100')에 따르면, 연장 튜브(140)는 설치되지 않을 수도 있으며, 연장 쉬스관(130)의 끝단에 직접 제2분산체(150)가 결합 설치되게 구성될 수도 있다. 한편, 도9에 도시된 본 발명의 또 다른 실시 형태(100")에 따르면, 연장 튜브(140)가 제외되는 대신에, 연장 쉬스관(230)에 단면이 점점 커지는 확관 영역(Ex)이 구비되고 연장 쉬스관(230)의 끝단에 직접 제2분산체(150)가 결합되게 구성될 수도 있다.
상기 제2분산체(150)는 연장 튜브(140)의 끝단에 결합되며, 콘크리트부(12) 내에서 제2-2강연선(920b)을 감싸는 연장 쉬스관(130)의 내부를 그 외부와 차단한다. 그리고, 제2분산체(150)에는 다수의 제2안내공(152)이 형성되어 제2-2강연선(920b)을 하나씩 관통시킨다.
여기서, 도10b에 도시된 바와 같이, 제2안내공(152)은 제2분산체(150)의 원형 가장자리(150y)에 근접한 원형으로 배치되는 안내공과 그 중앙부에 배치된 안내공을 포함한다. 이를 통해, 중앙부의 안내공은 제2-2강연선(920b)을 대체로 직선 형태로 연장되게 안내하고, 원형 가장자리의 안내공은 제2-2강연선(920b)을 대체로 방사상으로 뻗어 반경 방향으로 이격 분포되게 안내한다.
그리고, 제2분산체(150)는 제2안내공(152)이 형성된 몸체부와, 몸체부로부터 연장 튜브(140)와 결합을 보조하도록 축선 방향으로 연장된 연장부를 구비한다. 연장부는 연장 튜브(140)의 타단부 외주면(140o2)을 감싸는 형태로 결합될 수도 있고, 연장 튜브(140)의 타단부 내주면과 접촉하는 형태로 끼워져 결합될 수도 있다. 다만, 본 발명은 이에 한정되지 아니하며, 다양한 방식으로 제2분산체(150)가 연장 튜브(140)에 결합될 수 있다.
제2분산체(150)는 제1분산체로부터 축선 방향으로 연장됨에 따라, 제2안내공(152)를 관통한 제2-2강연선(920b)의 벌빙부(20x)의 위치를 제1안내공(122)을 관통한 제2-1강연선(920a)의 벌빙부(20x)의 위치에 비하여 축선 방향으로 대략 연장 쉬스관(130)의 길이와 연장 튜브(140)의 길이의 합(Le)만큼 이격 배치할 수 있게 한다.
이를 통해, 쉬스관(920s) 내의 강연선(920)은 각각의 벌빙부(20x)의 위치를 반경 방향(쉬스관의 축선 방향(종방향)에 수직한 방향)으로 분산시킬 뿐만 아니라, 축선 방향으로도 분산시킨다. 다시 말하면, 제1분산체(120)의 제1안내공(122)은 제2-1강연선(920a)을 축선 방향에 수직한 반경 방향으로 분산시키는 역할을 하고, 제2분산체(150)의 제2안내공(152)은 제2-2강연선(920b)을 축선 방향에 수직한 반경 방향으로 분산시키는 역할을 하며, 연장 튜브(140)는 제2-2강연선(920b)의 벌빙부(20x)를 제2-1강연선(920a)의 벌빙부(20x)에 비하여 대략 연장 쉬스관(130)의 길이(Ls)와 연장 튜브(140) 길이의 합(Le)만큼 축선 방향으로 보다 더 이격된 위치에서 분산시키는 역할을 한다.
더욱이, 연장 튜브(140)에 보다 단면이 더 커지는 확관 영역(Ex)이 구비됨에 따라, 제2분산체(150)의 몸체부는 연장 쉬스관(130)의 단면에 비하여 더 크게 형성된다. 따라서, 제2분산체(150)에 형성된 제2안내공(122)들은 상호 간에 보다 멀리 이격될 수 있는 환경이 마련되므로, 제2-2강연선(920b)을 콘크리트부(12)에 연장 쉬스관(130)의 중심축으로부터 멀어지는 반경 방향으로 보다 이격되게 분포시킬 수 있다. 이에 따라, 제2분산체(150)의 제2안내공(152)일부의 단면 일부 이상은 연장 쉬스관(130)이 차지하는 공간 바깥에 배치되어, 제2-2강연선(920b) 사이의 간격을 보다 넓게 배치할 수 있다.
한편, 본 발명의 다른 실시 형태에 따르면, 연장 쉬스관(130)의 끝단에 연결되는 연장 튜브(140)가 구비되지 아니하고, 제2분산체(150)가 연장 쉬스관(130)에 직접 연결되는 형태로 구성될 수 있다. 이 경우에는, 확관 영역(Ex)에 의해 종방향에 수직한 평면 방향으로 보다 이격되게 분포시키는 효과를 얻지 못하더라도, 정해진 위치의 제2안내공(152)을 통해 제2-2강연선(920b)을 분산시키는 효과를 얻을 수 있다.
한편, 상기와 같이 제2강연선(920)이 제1분산체(120)의 제1안내공(122)을 관통한 제2-1강연선(920a)과 이로부터 종방향으로 이격된 제2분산체(150)의 제2안내공(152)을 관통한 제2-2강연선(920b)은 그 끝단부의 벌빙부(20x)가 콘크리트부(12)에 고정된다. 그리고, 제2강연선(920)의 가동 정착구(921)에서 인장잭에 의해 인장력을 도입하고 정착하는 것에 의해 콘크리트부(12)에 압축 프리스트레스를 도입한다.
여기서, 제2-1강연선(920a)과 제2-2강연선(920b)은 동시에 인장력이 도입되는데, 제2-1강연선(920a)은 제2-2강연선(920b)에 비하여 대략 연장 쉬스관(130)의 길이(Ls)와 연장 튜브(140) 길이의 합(Le)만큼 더 길이가 짧다. 따라서, 프리스트레스 도입시 제2-1강연선(920a)의 인장 응력은 제2-2강연선(920b)의 인장 응력에 비하여 크게 된다. 즉, 프리스트레스 도입시 제2-1강연선(920a)의 인장 응력에 따라 거더에 도입하는 프리스트레스의 크기가 지배되게 된다. 그러나 이러한 인장 응력은 강연선의 허용 인장 응력 범위를 초과하지 않는다면 문제가 발생하지 않는다.
따라서, 강연선의 허용 인장 응력을 초과하지 않는 범위 내에서 제2-1강연선(920a)의 단면의 합 또는 개수를 정하는 것이 중요하다. 또한, 제2-1강연선(920a)이 콘크리트 내부에 배치됨에 따라 프리스트레스의 도입 시에 콘크리트부에 인장 응력을 발생시킬 수 있다. 제2-1강연선(920a)을 너무 많이 배치하면 제2-2강연선(920b)이 상대적으로 적게 되어 일단(E1)에서부터 제2-1고정 정착부(9221)의 경계면 콘크리트부 하연(XX)에 인장 응력이 발생하여 균열을 유발시킬 수 있고 제2-1고정 정착부(9221)의 콘크리트부(Y1)의 하연에 압축 응력의 여유치가 많아져 강연선 재료 사용의 효율성이 감소된다. 이와 반대로, 제2-1강연선(920a)을 너무 적게 배치하면 제2-2강연선(920b)이 상대적으로 많게 되어 제2-2고정 정착부(9222)의 콘크리트부(Y2)의 하연에 압축 응력의 여유치가 많아져 강연선 재료 사용의 효율성이 감소되고 제2-1강연선(910a)의 인장 응력이 강연선의 허용 인장 응력 범위를 초과하여 거더의 안정성에 문제를 유발할 수 있다.
따라서, 이러한 구조적 특성을 고려할 때, 제2-1강연선(920a)의 단면의 합 또는 개수는 제2강연선(920)의 단면의 합 또는 개수의 35% ~ 65% 수준으로 배치하는 것이 적정하다. 이는, 제1강연선(910)에 대해서도 동일하게 적용된다. 이를 통해, 강연선(920a, 920b; 920)의 허용 인장 응력 범위 내에서 프리스트레스의 도입 효율을 높일 수 있다.
상기와 같이, 강연선 분산형 고정 정착 장치(100)는 제2강연선(920)의 제2고정정착부(922)에 적용될 뿐만 아니라, 제1강연선(910)의 제1고정정착부(912)에도 동일하게 적용될 수 있다. 즉, 제1-1고정 정착부(9121)는 제2-1고정정착부(9221)와 대칭을 이루며 동일하게 형성되고, 제1-2고정 정착부(9122)는 제2-1고정정착부(9222)와 대칭을 이루며 동일하게 형성되어, 제1고정정착부(912)는 제2고정정착부(922)와 대칭을 이루며 동일하게 형성될 수 있다. 다만, 제1고정정착부(912)에 대한 설명은 제2고정정착부(922)에 관하여 전술한 것으로 대신하기로 한다.
그리고, 제1강연선(910)의 제1고정정착부(912)와 제2강연선(920)의 제2고정정착부(922)의 위치는 거더의 종방향의 중앙부를 기준으로 서로 대칭으로 배치될 수 있다. 다만, 사용 환경에 따라 연장 쉬스관의 길이가 다르게 형성되거나, 제1강연선(910)과 제2강연선(920) 중 어느 하나에 선택적으로 연결 튜브(110)와 연장 튜브(140) 중 어느 하나 이상이 제거된 형태로 구성될 수도 있다.
이와 같이, 강연선(910, 920)의 고정 정착부(912, 922)에 강연선 분산형 고정 정착 장치(100)를 적용함으로써, 쉬스관(910s, 920s)의 내부 공간과 콘크리트부(12)가 차지하는 외부 공간의 구분이 명확히 구분된다. 즉, 쉬스관(910s, 920s)의 끝단은 제1분산체(120)와 연장 쉬스관(130)과 제2분산체(150) 등으로 이루어진 고정 정착 장치(100)에 의해 막혀져 있으므로, 쉬스관(910s, 920s)의 내부 공간과 콘크리트부(12)가 차지하는 외부 공간이 안내공(122)을 제외하고 모두 차단된 상태가 된다. 이에 따라, 강연선(910, 920; 900)이 제1분산체(120)의 제1안내공(122) 및 제2분산체(150)의 제2안내공(152)을 관통한 상태에서는, 강연선(900)에 의해 안내공(122, 152)의 전부 또는 대부분의 공간이 막히므로, 콘크리트부(12)를 형성하는 과정에서 시멘트 페이스트 등의 물질이 쉬스관(920s)의 내부 공간으로 유입되는 것을 방지할 수 있다.
이와 같은 효과를 보다 확실히 하기 위하여, 본 발명의 바람직한 실시 형태에 따르면, 도12a에 도시된 바와 같이, 제1분산체(120)의 제1안내공(122)과 제2분산체(150)의 제2안내공(152) 중 어느 하나 이상에는 고무 등 탄성 변형이 가능한 탄성 링(88)이 구비될 수 있다. 이를 통해, 강연선(920a, 920b)이 하나씩 안내공(122, 152)을 관통하면서, 탄성링(88)이 탄성 변형되면서 강연선(920a, 920b)의 외주면에 탄성 복원력을 갖고 접촉하여, 강연선(920a, 920b)과 안내공(122, 152) 사이의 틈새를 최소화하거나 완전히 없앨 수 있으므로, 쉬스관(910s, 920s)의 내부 공간과 콘크리트부(12)가 차지하는 외부 공간이 완전히 차단되어 구획되므로, 콘크리트 타설 공정 중에 콘크리트가 쉬스관 내부로 침투하는 것을 억제할 수 있다.
한편, 본 발명의 다른 실시 형태에 따르면, 도12b에 도시된 바와 같이, 제1분산체의 몸체(120p')에 형성된 안내공(122')이 강연선의 삽입 방향(20d)을 기준으로, 삽입되는 일측의 단면이 배출되는 타측의 단면에 비하여 더 크게 형성된 깔때기 또는 원뿔 모양과 같은 경사 부분을 포함하게 형성될 수 있다. 그리고, 탄성링(88')의 외주면은 깔때기 형상의 안내공(122')의 내벽에 밀착 접촉하도록 경사지게 형성되어, 강연선(920a,...;920)이 안내공(122')을 관통하면서 설치될 때에, 탄성 링(88)이 강연선(920a,...;920)에 의해 밀려 안내공(122')의 바깥으로 빠지는 것을 억제하면서, 동시에 강연선(920a,...;920)의 외주면이 탄성 링(88)의 내주면에 확실히 밀착되게 하여 기밀성을 보다 확실히 확보할 수 있다.
이 뿐만 아니라, 강연선(910, 920; 900)이 안내공(122, 152)에 의해 분산 각도와 분산 위치가 하나씩 정해지므로, 제2-1강연선(920a)들의 사이 공간과, 제2-2강연선(920b)들의 사이 공간과, 제1강연선들 중에 제1안내공을 관통한 제1-1강연선들의 사이 공간과, 제1강연선들 중에 제2안내공을 관통한 제1-2강연선들의 사이 공간에 콘크리트부가 밀실하게 채워져 부착됨에 따라, 강연선(900)과 콘크리트부(12)가 보다 견고하게 결합되고 내부식성이 향상되며 고정 정착부의 역할을 보다 신뢰성있게 행할 수 있는 효과를 얻을 수 있다.
더욱이, 쉬스관(910s, 920s)의 축선 방향에 수직한 반경 방향 이외에 종방향으로도 강연선(910, 920; 900)의 끝단부가 이격 분산 배치되도록 구성함에 따라, 각 강연선(900)들 사이의 간격이 보다 넓어져 콘크리트부에 의한 부착 효과를 보다 높이는 효과를 얻을 수 있다.
한편, 도면에 예시된 실시예에서는 강연선 분산형 고정 정착 장치(100, 100', 100")는 제1분산체(120)와 제2분산체(150)를 구비하여, 제1강연선(910)과 제2강연선(920)에 의해 도입된 프리스트레스로 지지되는 휨 모멘트의 분포가 각각 2단의 계단 형태로 형성하는 구성이 예시되어 있지만, 본 발명은 이에 한정되지 아니한다.
즉, 제2분산체(150)에도 중앙 관통공이 형성되어 제2연장 쉬스관이 제2분산체(150)의 중앙부로부터 연장 형성되고, 제2연장 쉬스관의 끝단부에 제3안내공이 형성된 제3분산체가 결합되어 강연선(910, 920)의 일부 끝단부가 제3고정 정착부를 형성하도록 구성될 수도 있다. 이를 통해, 본 발명은 하나의 다발로 이루어진 강연선을 3개 이상의 계단(階段)을 이루는 형태로 휨모멘트를 지지하는 프리스트레스를 교량용 프리스트레스트 거더의 콘크리트부에 도입할 수 있다.
이와 같이, 다단의 계단 형태로 휨모멘트에 저항하는 프리스트레스를 도입함에 따라, 콘크리트부(12)에 국부적으로 과도한 응력이 도입되는 현상을 근본적으로 해결할 수 있으므로, 보다 안전하면서도 내하 능력이 우수한 교량용 프리스트레스트 거더를 제작할 수 있는 유리한 효과를 얻을 수 있다.
이하, 첨부된 도13 내지 도14f를 참조하여 상기와 같이 구성된 교량용 프리스트레스트 거더의 그 제작 방법(S100)을 상술한다.
단계 1: 먼저, 도14a에 도시된 바와 같이, 강재 빔(11)을 준비한다(S110).
강재 빔(11)은 다양한 단면 형태로 형성될 수 있으며, 도14에 예시된 바와 같이, 상부 플랜지(11a)와, 복부(11b)와, 하부 플랜지(11c)로 이루어진 I자형 단면의 강재 빔(11)일 수 있다.
강재 빔(110)의 양단부에는 수직 보강재(11d)가 형성될 수 있으며, 교좌 장치와 연결되는 받침대(11e)가 구비될 수 있다.
단계 2: 그 다음, 도14b에 도시된 바와 같이 강재 빔(11)에 합성되는 콘크리트부(12)를 보강하는 보강 철근(25)을 배근한다(S120). 도14a에 도시된 바와 같이, 콘크리트부(12)의 합성 방식에 따라 턴버클(99)을 이용하여 강재 빔(11)을 매단 상태로 보강 철근(25)이 배근될 수 있다.
단계 3: 단계 2가 행해진 이후에, 제1강연선(910)이 내설되는 제1쉬스관(910s)과 제2강연선(920)이 내설되는 제2쉬스관(920s)을 포함하는 쉬스관을 설치한다(S130).
쉬스관(910s, 920s)의 설치 공정은 철근 배근 공정(S120)에 비하여 먼저 행해질수도 있고 나중에 행해질 수도 있다.
단계 4: 단계 3이 행해진 이후에, 도14c에 도시된 바와 같이, 설치된 쉬스관(910s, 920s)의 내부에 제1강연선(910)과 제2강연선(920)을 각각 삽입하여 설치한다(S140). 즉, 제1강연선(910)의 벌빙부(20x)는 제1쉬스관(910s)의 바깥에 노출되도록 제1강연선(910)을 제1쉬스관(910s)에 내설하며, 제2강연선(920)의 벌빙부(20x)는 제2쉬스관(920s)의 바깥에 노출되도록 제2강연선(920)을 제2쉬스관(920s)에 내설한다.
이 때, 콘크리트부(12)에 매립되는 제1강연선(910)과 제2강연선(920)의 끝단부에는 도5 내지 도9에 도시된 분산형 정착 고정 장치(100, 100', 100")가 설치되어, 다발 형태인 제1강연선(910)과 제2강연선(920)이 하나씩 안내공(122, 152)을 관통하게 설치한다.
이에 따라, 도14d에 도시된 바와 같이, 제1강연선(910)의 벌빙부(20x)는 각각 제1-1위치(P11), 제1-2위치(P12)에 분산된 형태로 설치되어 제1-1고정정착부(9121)와 제1-2고정정착부(9122)가 형성될 준비가 행해진다. 그리고, 제2강연선(920)의 벌빙부(20x)는 각각 제2-1위치(P21), 제2-2위치(P22)에서 분산된 형태로 설치되어 제2-1고정정착부(9221)와 제2-2고정정착부(9222)가 형성될 준비가 행해진다.
단계 5: 단계 4가 행해진 이후에, 콘크리트부(12)를 형성하기 위한 거푸집(70)을 설치한다. 그 다음, 거푸집(70)의 내부에 타설기(75)로 굳지 않은 콘크리트(12a)를 타설하여 콘크리트부(12)를 형성한다(S150).
이 때, 제1강연선(910)과 제2강연선(920)의 고정 정착부(912, 922)에서는 쉬스관(910s, 920s)의 내부 공간과 콘크리트부(12)가 차지하는 외부 공간이 분산형 정착 고정 장치(100,...)에 의해 차단되어 구획되어 있으므로, 타설 콘크리트의 물질이 쉬스관(910s, 920s)의 내부로 침투하는 것이 근본적으로 억제된다.
또한, 분산형 정착 고정 장치(100,...)의 제1안내공(122)과 제2안내공(152)에 의해 강연선(910, 920; 900)이 하나씩 위치가 안내되므로, 강연선 사이의 틈새가 일정하게 유지되어, 안내공(122, 152)의 바깥에 노출된 강연선(900)의 사이 공간에 콘크리트가 밀실하게 채워진다. 따라서, 강연선(900)의 고정 정착부(912, 922)는 콘크리트부(12)와 높은 부착력으로 견고하게 고정되므로, 후술하는 단계 7에서 강연선(900)에 높은 인장력(P)이 도입되더라도 강연선(900)의 고정 정착부(912, 922)는 견고하게 위치 고정된 상태를 유지하여 강연선에 인장력의 도입 신뢰성을 확보할 수 있다.
단계 6: 그리고 나서, 거푸집(70)에 타설된 콘크리트가 미리 정해진 강도로 충분히 양생되면, 거푸집(70)을 해체하여 제거한다(S160).
단계 7: 그리고 나서, 도14f에 도시된 바와 같이, 콘크리트부(12)의 일단부(E1)의 제1강연선(910)의 가동정착구(911)에서 미리 정해진 크기의 인장력(P)을 도입한 후 정착하고, 콘크리트부(12)의 타단부(E2)에서 제2강연선(920)의 가동정착구(921)에서 미리 정해진 크기의 인장력(P)을 도입한 후 정착한다. 여기서, 제1강연선(910)과 제2강연선(920)에 인장력(P)을 동시에 도입한 후 정착할 수도 있다.
강연선(910, 920; 900)들에 인장력이 도입된 상태로 정착되어 콘크리트부에 압축 프리스트레스를 도입하면, 제2강연선(920)에 의해 도입되는 압축 프리스트레스는, 거더의 타단(E2)으로부터 제2-1위치(P21)까지의 영역은 제2-1강연선(920a)과 제2-2강연선(920b)에 의해 도입되는 데 반하여, 제2-1위치(P21)로부터 제2-2위치(P22)까지의 영역은 제2-2강연선(920b)에 의해서만 도입되므로, 2단의 계단 형태로 프리스트레스가 도입된다. 마찬가지로, 제1강연선(910)에 의해 도입되는 압축 프리스트레스는, 거더의 일단(E1)으로부터 제1-1위치(P11)까지의 영역은 제1강연선 전부(즉, 제1-1강연선과 제1-2강연선)에 의해 도입되는 데 반하여, 제1-1위치(P11)로부터 제1-2위치(P12)까지의 영역은 제1강연선(910)들 중에 제2안내공(152)을 통과한 제1-2강연선(미도시)에 의해서만 도입되므로, 2단의 계단 형태로 프리스트레스가 도입된다.
따라서, 도4의 하부에 도시된 휨모멘트 선도에 나타난 바와 같이, 콘크리트부(12)에 도입된 프리스트레스에 의해 지지되는 휨 모멘트(BMDp)는, 종래 도1b에 도시된 구성에 의해 도입된 프리스트레스에 의해 지지되는 휨 모멘트와 달리, 'xBM'으로 표시된 영역(빗금)만큼 불필요한 도입량을 줄여 다단의 계단 형태로 형성하는 것이 가능해지며, 이를 통해, 콘크리트부(12)에 공용 중 작용하는 휨 모멘트(BMDr)에 부합하는 크기 분포로 보다 정교하게 압축 프리스트레스를 도입하는 효과를 얻을 수 있다.
더욱이, 각 강연선(910, 920)의 고정 정착부(912, 922)를 종방향으로 이격된 2개의 위치에서 형성하는 대신에, 도면에 도시되지 않았지만, 각 강연선(910, 920)의 고정 정착부(912, 922)를 종방향으로 이격된 3개 이상의 위치에서 형성하는 경우에는 도4에 도시된 것에 비하여 보다 더 공용중 작용하는 휨 모멘트(BMDr)와 보다 근접한 형태로 휨 모멘트를 저항하는 압축 프리스트레스를 도입할 수도 있다.
이상에서는 본 발명의 바람직한 실시예를 예시적으로 설명하였으나, 본 발명의 범위는 이와 같은 특정 실시예에만 한정되는 것은 아니며, 특허청구 범위에 기재된 범주 내에서 적절하게 변경 가능한 것이다.
도면에 예시된 실시예에서는 I자형 단면의 강재 빔(11)과 콘크리트부(12)가 합성된 강합성 거더의 구성이 예시되어 있지만, 본 발명은 이에 한정되지 아니하고, U자 단면 등 다양한 단면의 강재 빔과 콘크리트부가 합성된 강합성 거더에 적용될 수 있으며, 강재 빔과 합성되지 않은 철근 콘크리트 거더에도 적용될 수 있다. 즉, 본 발명은 종방향으로 연장된 콘크리트부를 포함하고 강연선에 의해 프리스트레스가 도입되는 교량용 프리스트레스트 거더에 대해서는 모두 적용 가능하다.
1: 교량용 프리스트레스트 거더 11: 강재 빔
12: 콘크리트부
100, 100', 100": 강연선 분산형 고정 정착 장치
110: 연결 튜브 120: 제1분산체
122: 제1안내공 152: 제2안내공
130, 230: 연장 쉬스관 140: 연장 튜브
150: 제2분산체

Claims (12)

  1. 종방향으로 연장된 콘크리트부를 포함하는 교량용 프리스트레스트 거더로서,
    상기 콘크리트부의 일단으로부터 거더 중앙부를 가로질러 상기 콘크리트부의 타단으로부터 이격된 제1위치까지 내설된 제1쉬스관과;
    상기 콘크리트부의 타단으로부터 거더 중앙부를 가로질러 상기 콘크리트부의 일단으로부터 이격된 제2위치까지 내설된 제2쉬스관과;
    상기 콘크리트부의 일단으로부터 상기 제1쉬스관을 관통하여 설치되되, 상기 제1위치와 상기 콘크리트부의 타단 사이의 제1사잇영역의 제1-1위치에 일부인 제1-1강연선의 끝단이 매립 고정된 제1-1고정정착부 및 상기 제1-1위치로부터 종방향으로 이격된 제1-2위치에 다른 일부인 제1-2강연선의 끝단이 매립 고정된 제1-2고정정착부를 포함하는 제1고정정착부가 형성되고, 인장력이 도입된 상태로 정착되는 다수의 제1강연선과;
    상기 콘크리트부의 타단으로부터 상기 제2쉬스관을 관통하여 설치되되, 상기 제2위치와 상기 콘크리트부의 일단 사이의 제2사잇영역의 제2-1위치에 일부인 제2-1강연선의 끝단이 매립 고정된 제2-1고정정착부 및 상기 제2-1위치로부터 종방향으로 이격된 제2-2위치에 다른 일부인 제2-2강연선의 끝단이 매립 고정된 제2-2고정정착부를 포함하는 제2고정정착부가 형성되고, 인장력이 도입된 상태로 정착되는 다수의 제2강연선을;
    포함하여 구성된 것을 특징으로 하는 교량용 프리스트레스트 거더.
  2. 제 1항에 있어서,
    상기 제2-1고정 정착부는,
    상기 콘크리트부 내에서 상기 제2강연선을 감싸는 제2쉬스관의 내부를 외부와 차단하고, 상기 제2강연선의 일부인 제2-1강연선을 하나씩 관통시켜 안내하는 제1안내공이 형성된 제1분산체와;
    상기 제1분산체의 중앙부에 형성된 중앙 관통공으로부터 연장 설치되어, 상기 제2강연선 중에 상기 제2-1강연선을 제외한 제2-2강연선을 관통시키는 연장 쉬스관을;
    포함하여 구성된 것을 특징으로 하는 교량용 프리스트레스트 거더.
  3. 제 2항에 있어서,
    상기 제2-2고정정착부는,
    상기 콘크리트부 내에서 상기 제2-2강연선을 감싸는 상기 연장 쉬스관의 내부를 그 외부와 차단하고, 상기 제2-2강연선의 일부 이상을 하나씩 관통시켜 안내하는 제2안내공이 형성된 제2분산체를;
    포함하여 구성된 것을 특징으로 하는 교량용 프리스트레스트 거더.
  4. 제 2항에 있어서,
    상기 제2강연선을 내부 공간에 수용하고, 상기 제2쉬스관과 상기 제1분산체의 사이에 개재되고, 상기 제2쉬스관에 결합된 일단의 단면에 비하여 상기 제1분산체에 결합된 타단의 단면이 더 크게 형성된 연결 튜브를;
    더 포함하는 것을 특징으로 하는 교량용 프리스트레스트 거더.
  5. 제 3항에 있어서,
    상기 제2-2강연선을 내부 공간에 수용하고, 상기 연장 쉬스관과 상기 제2분산체의 사이에 개재되게 설치되고, 상기 연장 쉬스관에 결합된 일단의 단면에 비하여 상기 제2분산체에 결합된 타단의 단면이 더 크게 형성된 연장 튜브를;
    더 포함하는 것을 특징으로 하는 교량용 프리스트레스트 거더.
  6. 제 2항에 있어서,
    상기 제2-1강연선의 단면의 합은 상기 제2-2강연선의 단면의 합의 35% ~ 65%인 것을 특징으로 하는 교량용 프리스트레스트 거더.
  7. 제 1항에 있어서,
    상기 제2-1위치의 상기 제1강연선의 벌빙부와 상기 제2-2위치의 상기 제2-2강연선의 벌빙부의 사이 간격은 1m 이상이고, 상기 일단으로부터 상기 제2-2고정정착부 사이의 거리의 1.5배 이하인 것을 특징으로 하는 교량용 프리스트레스트 거더.
  8. 제 1항에 있어서,
    상기 제1-1고정 정착부는 상기 제2-1고정정착부와 대칭을 이루며 동일하게 형성되고, 상기 제1-2고정 정착부는 상기 제2-1고정정착부와 대칭을 이루며 동일하게 형성된 것을 특징으로 하는 교량용 프리스트레스트 거더.
  9. 제 8항에 있어서,
    상기 제1고정정착부의 위치와 상기 제2고정정착부의 위치는 상기 거더의 종방향의 중앙부를 기준으로 서로 대칭으로 배열된 것을 특징으로 하는 교량용 프리스트레스트 거더.
  10. 제 2항에 있어서,
    상기 제1안내공과 상기 제2안내공 중 어느 하나 이상에는 관통하는 상기 제2강연선에 접촉하는 탄성링이 설치된 것을 특징으로 하는 프리스트레스트 거더용 강연선 분산형 고정 정착 장치.
  11. 제 2항에 있어서,
    상기 제1안내공과 상기 제2안내공 중 어느 하나 이상은 일측이 타측에 비하여 더 크게 형성되고, 외주면이 상기 안내공과 접촉하는 탄성 링이 상기 안내공에는 설치된 것을 특징으로 하는 프리스트레스트 거더용 강연선 분산형 고정 정착 장치.
  12. 제1항 내지 제11항 중 어느 한 항에 따른 교량용 프리스트레스트 강합성 거더의 제작 방법으로서,
    강재 빔을 준비하는 강재 빔 준비단계와;
    상기 강재 빔에 합성되는 상기 콘크리트부를 보강하는 철근을 배근하는 단계와;
    상기 제1쉬스관과 상기 제2쉬스관을 포함하는 쉬스관을 설치하는 쉬스관 설치단계와;
    상기 제1강연선의 벌빙부는 상기 제1쉬스관의 바깥에 노출되게 상기 제1강연선을 상기 제1쉬스관에 내설하고, 상기 제2강연선의 벌빙부는 상기 제2쉬스관의 바깥에 노출되게 상기 제2강연선을 상기 제2쉬스관에 내설하는 강연선 설치단계와;
    상기 콘크리트부를 형성하기 위한 거푸집을 설치하는 거푸집 설치단계와;
    상기 거푸집에 굳지 않은 콘크리트를 타설하고 미리 정해진 강도로 양생하는 콘크리트 형성단계와;
    상기 콘크리트 형성단계 이후에 거푸집을 제거하고 나서, 상기 콘크리트부의 일단부에서 제1강연선에 인장력을 도입한 후 정착하고, 상기 콘크리트부의 타단부에서 제2강연선에 인장력을 도입한 후 정착하여 상기 콘크리트부에 프리스트레스를 도입하는 프리스트레스 도입단계를;
    포함하여 구성된 것을 특징으로 하는 프리스트레스트 강합성 거더의 제작 방법.


KR1020180155486A 2018-12-05 2018-12-05 교량용 프리스트레스트 거더 및 그 제작 방법 Active KR102206157B1 (ko)

Priority Applications (1)

Application Number Priority Date Filing Date Title
KR1020180155486A KR102206157B1 (ko) 2018-12-05 2018-12-05 교량용 프리스트레스트 거더 및 그 제작 방법

Applications Claiming Priority (1)

Application Number Priority Date Filing Date Title
KR1020180155486A KR102206157B1 (ko) 2018-12-05 2018-12-05 교량용 프리스트레스트 거더 및 그 제작 방법

Publications (2)

Publication Number Publication Date
KR20200068467A true KR20200068467A (ko) 2020-06-15
KR102206157B1 KR102206157B1 (ko) 2021-01-22

Family

ID=71081491

Family Applications (1)

Application Number Title Priority Date Filing Date
KR1020180155486A Active KR102206157B1 (ko) 2018-12-05 2018-12-05 교량용 프리스트레스트 거더 및 그 제작 방법

Country Status (1)

Country Link
KR (1) KR102206157B1 (ko)

Cited By (3)

* Cited by examiner, † Cited by third party
Publication number Priority date Publication date Assignee Title
CN114032774A (zh) * 2021-11-10 2022-02-11 中建新疆建工土木工程有限公司 一种用于现浇连续箱梁预应力管道定位的装置
CN116180563A (zh) * 2022-11-29 2023-05-30 中冶赛迪工程技术股份有限公司 桥梁预应力钢束连接构造及施工方法
KR20230123201A (ko) * 2022-02-16 2023-08-23 (주)한맥기술 다경간 ps 거더 및 다경간 ps 거더의 시공 방법

Citations (1)

* Cited by examiner, † Cited by third party
Publication number Priority date Publication date Assignee Title
KR101643325B1 (ko) * 2016-04-08 2016-07-27 강정국 강합성거더 제작용 응력분산형 고정단 정착부 및 이를 이용한 강합성 거더의 제작방법

Patent Citations (1)

* Cited by examiner, † Cited by third party
Publication number Priority date Publication date Assignee Title
KR101643325B1 (ko) * 2016-04-08 2016-07-27 강정국 강합성거더 제작용 응력분산형 고정단 정착부 및 이를 이용한 강합성 거더의 제작방법

Cited By (4)

* Cited by examiner, † Cited by third party
Publication number Priority date Publication date Assignee Title
CN114032774A (zh) * 2021-11-10 2022-02-11 中建新疆建工土木工程有限公司 一种用于现浇连续箱梁预应力管道定位的装置
CN114032774B (zh) * 2021-11-10 2024-02-02 中建新疆建工土木工程有限公司 一种用于现浇连续箱梁预应力管道定位的装置
KR20230123201A (ko) * 2022-02-16 2023-08-23 (주)한맥기술 다경간 ps 거더 및 다경간 ps 거더의 시공 방법
CN116180563A (zh) * 2022-11-29 2023-05-30 中冶赛迪工程技术股份有限公司 桥梁预应力钢束连接构造及施工方法

Also Published As

Publication number Publication date
KR102206157B1 (ko) 2021-01-22

Similar Documents

Publication Publication Date Title
KR102212482B1 (ko) 교량용 브라켓을 이용한 반단면데크 및 그 시공방법
KR20200068467A (ko) 교량용 프리스트레스트 거더 및 그 제작 방법
KR101252706B1 (ko) 티형 피에스씨 거더의 수직단차 보정이 가능한 교량시공방법
KR100885663B1 (ko) 가로보를 정착부로 이용한 psc 합성거더의 연속화시공방법 및 그 구조
KR101530643B1 (ko) 교량주탑용 새들 및 이를 이용한 케이블 정착방법
KR102048287B1 (ko) 프리스트레스트 거더용 강연선 분산형 고정 정착 장치
KR102032160B1 (ko) 교량용 프리스트레스트 콘크리트 거더 및 그 제작 방법
CN209670188U (zh) 先张法预应力叠合梁
CN106948263B (zh) 一种斜拉桥混凝土索塔用锚拉板
CN112982787B (zh) 一种钢筋混凝土与预应力拉索耦合的大跨度梁
KR100554408B1 (ko) 교량용 합성거더 및 이를 이용한 시공방법
KR101198897B1 (ko) 개구형 프리스트레스드 강합성 단경간 유-거더교 및 이의 시공방법
KR100892617B1 (ko) 바닥판 콘크리트층을 정착부로 이용한 psc 합성거더의연속화 시공방법 및 그 구조
KR20100069866A (ko) 강합성 거더
KR20060057233A (ko) 슬래브 단부 보강이 용이하고 유지보수시 재긴장이 가능한피에스씨 아이빔 및 그 피에스씨 아이빔을 이용한 교량시공·보수 방법
KR20130127305A (ko) 조인트 하이브리드 보강 교량용 거더
KR101807234B1 (ko) 교량의 상부슬래브 압축력 도입장치 및 그것이 구비된 교량 시공방법
KR101970873B1 (ko) 토핑콘크리트층을 갖는 강합성 중공 슬래브
RU2178045C1 (ru) Арматурный пучок из высокопрочных канатов и способ изготовления предварительно напряженных железобетонных конструкций с арматурными пучками
KR100792660B1 (ko) 합성케이블을 이용한 교량시공방법
KR102209189B1 (ko) 교량용 프리스트레스트 콘크리트 거더 및 그 제작 방법
KR101957207B1 (ko) Psc 거더 긴장력 도입 장치 및 이를 이용한 psc 거더 제작 방법
KR101044469B1 (ko) 돌출보가 부착된 프리스트레스트 콘크리트 거더
KR101725734B1 (ko) 강거더와 일체화된 힘전달장치를 구비한 프리스트레스트 강합성 거더 및 이의 제작방법
KR101819081B1 (ko) 이중강관 구조를 이용하여 제작된 교량용거더 및 그 시공방법

Legal Events

Date Code Title Description
PA0109 Patent application

Patent event code: PA01091R01D

Comment text: Patent Application

Patent event date: 20181205

PA0201 Request for examination
PG1501 Laying open of application
E902 Notification of reason for refusal
PE0902 Notice of grounds for rejection

Comment text: Notification of reason for refusal

Patent event date: 20200620

Patent event code: PE09021S01D

AMND Amendment
E601 Decision to refuse application
PE0601 Decision on rejection of patent

Patent event date: 20201221

Comment text: Decision to Refuse Application

Patent event code: PE06012S01D

Patent event date: 20200620

Comment text: Notification of reason for refusal

Patent event code: PE06011S01I

X091 Application refused [patent]
AMND Amendment
PX0901 Re-examination

Patent event code: PX09011S01I

Patent event date: 20201221

Comment text: Decision to Refuse Application

Patent event code: PX09012R01I

Patent event date: 20200806

Comment text: Amendment to Specification, etc.

PX0701 Decision of registration after re-examination

Patent event date: 20210116

Comment text: Decision to Grant Registration

Patent event code: PX07013S01D

Patent event date: 20201222

Comment text: Amendment to Specification, etc.

Patent event code: PX07012R01I

Patent event date: 20201221

Comment text: Decision to Refuse Application

Patent event code: PX07011S01I

Patent event date: 20200806

Comment text: Amendment to Specification, etc.

Patent event code: PX07012R01I

X701 Decision to grant (after re-examination)
GRNT Written decision to grant
PR0701 Registration of establishment

Comment text: Registration of Establishment

Patent event date: 20210118

Patent event code: PR07011E01D

PR1002 Payment of registration fee

Payment date: 20210118

End annual number: 3

Start annual number: 1

PG1601 Publication of registration
PR1001 Payment of annual fee

Payment date: 20231128

Start annual number: 4

End annual number: 4

PR1001 Payment of annual fee

Payment date: 20241125

Start annual number: 5

End annual number: 5