KR20200050598A - 사료 제조 플랜트 - Google Patents

사료 제조 플랜트 Download PDF

Info

Publication number
KR20200050598A
KR20200050598A KR1020180133381A KR20180133381A KR20200050598A KR 20200050598 A KR20200050598 A KR 20200050598A KR 1020180133381 A KR1020180133381 A KR 1020180133381A KR 20180133381 A KR20180133381 A KR 20180133381A KR 20200050598 A KR20200050598 A KR 20200050598A
Authority
KR
South Korea
Prior art keywords
bale
feed
container
unit
packaging
Prior art date
Legal status (The legal status is an assumption and is not a legal conclusion. Google has not performed a legal analysis and makes no representation as to the accuracy of the status listed.)
Granted
Application number
KR1020180133381A
Other languages
English (en)
Other versions
KR102248218B1 (ko
Inventor
김중관
Original Assignee
김중관
Priority date (The priority date is an assumption and is not a legal conclusion. Google has not performed a legal analysis and makes no representation as to the accuracy of the date listed.)
Filing date
Publication date
Application filed by 김중관 filed Critical 김중관
Priority to KR1020180133381A priority Critical patent/KR102248218B1/ko
Publication of KR20200050598A publication Critical patent/KR20200050598A/ko
Application granted granted Critical
Publication of KR102248218B1 publication Critical patent/KR102248218B1/ko
Active legal-status Critical Current
Anticipated expiration legal-status Critical

Links

Images

Classifications

    • AHUMAN NECESSITIES
    • A23FOODS OR FOODSTUFFS; TREATMENT THEREOF, NOT COVERED BY OTHER CLASSES
    • A23NMACHINES OR APPARATUS FOR TREATING HARVESTED FRUIT, VEGETABLES OR FLOWER BULBS IN BULK, NOT OTHERWISE PROVIDED FOR; PEELING VEGETABLES OR FRUIT IN BULK; APPARATUS FOR PREPARING ANIMAL FEEDING- STUFFS
    • A23N17/00Apparatus specially adapted for preparing animal feeding-stuffs
    • A23N17/005Apparatus specially adapted for preparing animal feeding-stuffs for shaping by moulding, extrusion, pressing, e.g. pellet-mills
    • AHUMAN NECESSITIES
    • A23FOODS OR FOODSTUFFS; TREATMENT THEREOF, NOT COVERED BY OTHER CLASSES
    • A23NMACHINES OR APPARATUS FOR TREATING HARVESTED FRUIT, VEGETABLES OR FLOWER BULBS IN BULK, NOT OTHERWISE PROVIDED FOR; PEELING VEGETABLES OR FRUIT IN BULK; APPARATUS FOR PREPARING ANIMAL FEEDING- STUFFS
    • A23N17/00Apparatus specially adapted for preparing animal feeding-stuffs
    • A23N17/007Apparatus specially adapted for preparing animal feeding-stuffs for mixing feeding-stuff components
    • BPERFORMING OPERATIONS; TRANSPORTING
    • B02CRUSHING, PULVERISING, OR DISINTEGRATING; PREPARATORY TREATMENT OF GRAIN FOR MILLING
    • B02CCRUSHING, PULVERISING, OR DISINTEGRATING IN GENERAL; MILLING GRAIN
    • B02C15/00Disintegrating by milling members in the form of rollers or balls co-operating with rings or discs
    • B02C15/004Shape or construction of rollers or balls
    • BPERFORMING OPERATIONS; TRANSPORTING
    • B65CONVEYING; PACKING; STORING; HANDLING THIN OR FILAMENTARY MATERIAL
    • B65BMACHINES, APPARATUS OR DEVICES FOR, OR METHODS OF, PACKAGING ARTICLES OR MATERIALS; UNPACKING
    • B65B1/00Packaging fluent solid material, e.g. powders, granular or loose fibrous material, loose masses of small articles, in individual containers or receptacles, e.g. bags, sacks, boxes, cartons, cans, or jars
    • B65B1/04Methods of, or means for, filling the material into the containers or receptacles
    • B65B1/10Methods of, or means for, filling the material into the containers or receptacles by rotary feeders
    • B65B1/12Methods of, or means for, filling the material into the containers or receptacles by rotary feeders of screw type
    • BPERFORMING OPERATIONS; TRANSPORTING
    • B65CONVEYING; PACKING; STORING; HANDLING THIN OR FILAMENTARY MATERIAL
    • B65BMACHINES, APPARATUS OR DEVICES FOR, OR METHODS OF, PACKAGING ARTICLES OR MATERIALS; UNPACKING
    • B65B35/00Supplying, feeding, arranging or orientating articles to be packaged
    • B65B35/30Arranging and feeding articles in groups
    • B65B35/46Arranging and feeding articles in groups by rotary conveyors
    • BPERFORMING OPERATIONS; TRANSPORTING
    • B65CONVEYING; PACKING; STORING; HANDLING THIN OR FILAMENTARY MATERIAL
    • B65BMACHINES, APPARATUS OR DEVICES FOR, OR METHODS OF, PACKAGING ARTICLES OR MATERIALS; UNPACKING
    • B65B61/00Auxiliary devices, not otherwise provided for, for operating on sheets, blanks, webs, binding material, containers or packages
    • B65B61/28Auxiliary devices, not otherwise provided for, for operating on sheets, blanks, webs, binding material, containers or packages for discharging completed packages from machines
    • BPERFORMING OPERATIONS; TRANSPORTING
    • B65CONVEYING; PACKING; STORING; HANDLING THIN OR FILAMENTARY MATERIAL
    • B65BMACHINES, APPARATUS OR DEVICES FOR, OR METHODS OF, PACKAGING ARTICLES OR MATERIALS; UNPACKING
    • B65B63/00Auxiliary devices, not otherwise provided for, for operating on articles or materials to be packaged
    • B65B63/02Auxiliary devices, not otherwise provided for, for operating on articles or materials to be packaged for compressing or compacting articles or materials prior to wrapping or insertion in containers or receptacles

Landscapes

  • Engineering & Computer Science (AREA)
  • Mechanical Engineering (AREA)
  • Life Sciences & Earth Sciences (AREA)
  • Food Science & Technology (AREA)
  • Chemical & Material Sciences (AREA)
  • Polymers & Plastics (AREA)
  • Animal Husbandry (AREA)
  • Apparatuses For Bulk Treatment Of Fruits And Vegetables And Apparatuses For Preparing Feeds (AREA)

Abstract

외부와 차단된 가압챔버 내부로 공급된 베일을 자동으로 커팅하여 혼합하는 베일 커팅부와, 컨테이너의 내부에 회전 가능하게 설치되는 한 쌍의 오거(auger)로 조사료를 세절하여 파쇄하는 파쇄부와, 컨테이너의 내부에 회전 가능하게 설치된 한 쌍의 오거로 다른 재료와 세절된 조사료를 혼합하여 사료를 제조하는 배합부와, 컨테이너의 내부에 회전 가능하게 설치된 한 쌍의 오거로 컨테이너 내의 사료를 일정량씩 배출하는 충진부와, 사료를 정량 포장하는 포장부와, 연속하는 두 공정 사이의 물질 이송을 위해 베일커팅부와 파쇄부와 배합부와 충진부 및 포장부 사이에 설치하는 스크류 컨베이어 및, 포장부에서 포장된 완제품을 적재 및 반출 공정으로 이송하는 벨트 컨베이어를 포함하며, 베일 커팅부와 파쇄부와 배합부와 충진부와 포장부 및 벨트 컨베이어가 이 순서대로 일렬 배치된 것을 특징으로 하는 사료 제조 플랜트가 개시된다.

Description

사료 제조 플랜트{AN FEED MANUFACTURING PLANT}
본 발명은 사료 제조 플랜트에 관한 것으로서, 보다 상세하게는 보리, 볏짚과 같은 조사료의 베일을 커팅부터 포장까지의 생산라인을 일렬로 배치하여 이루어진 사료 제조 플랜트에 관한 것이다.
일반적으로 가축을 사육하는 농가에서는 겨울철에 가축의 먹이(사료)로 사용할 수 있도록 볏짚, 옥수숫대, 밀, 보리 등을 원형으로 말아서 압축한 베일(bale)을 저장하였다가, 필요할 때 가축의 먹이로 공급하게 된다.
베일은 가축이 먹기에 적당한 크기로 절단한 후, 가축의 영양상태에 따라서 선택적으로 건초와 배합하여 공급하게 된다. 따라서 베일을 효율적으로 절단하기 위한 다양한 방법이 제안되고 있는데, 일예로서 대한민국 공개특허 제10-2012-0109545호(특허문헌 1)에서와 같이, 절단수단에 베일을 하나씩 들어 올려 거치한 상태에서, 절단수단을 이용하여 베일을 커팅하는 방법이 있다.
그런데 이러한 경우에는 중량이면서도 사이즈가 큰 베일을 별도의 장비를 작업자가 운전하여 낱개씩 절단장치에 거치하여 주어야 하므로, 커팅작업이 매우 번거롭고, 커팅작업에 많은 시간이 소요되는 문제가 있다.
또한, 커팅장치의 커팅수단이 외부로 노출되어 있기 때문에, 안전상의 문제점이 있다.
또한, 커팅수단에 의한 커팅동작시 베일이 커팅압력에 의해 커팅수단으로부터 밀려나오게 되어 정상적으로 커팅하지 못하는 문제점이 있다. 따라서 여러 번에 걸쳐서 커팅동작을 수행하여야 하고, 작업자가 외부로 밀려나온 베일이나 볏짚을 커팅수단으로 다시 집어넣어야 하므로, 작업시간이 오래 걸리고, 안전상의 문제점이 있다.
또한, 상기와 같이 베일을 커팅(세절)한 다음에 복수의 공정을 거쳐서 원하는 사료를 포장까지 해야 하는 사료 제조 공정이 이루어지는데, 이를 위해서 대규모 사료 플랜트시설이 교구된다.
일예로 대한민국 등록특허 제10-0742526호(특허문헌 2)에는, 반입된 조사료(베일)를 세절하는 세절기와, 세절된 조사료를 배합기에 투입하는 뉴메틱 컨베이어와, 필요에 따라 농후사료(곡물사료, 맥주 박 등)를 배합기에 투입하는 벨트 컨베이어와, 세절된 조사료와 농후사료를 혼합하는 배합기와, 배합기에서 배출되는 티엠알 사료를 제품탱크로 이송하는 제1 컨베이어(벨트 컨베이어)와, 티엠알 사료를 저장하는 제품탱크와, 제품탱크에서 배출되는 티엠알 사료를 포장기로 이송하는 제2 컨베이어(벨트 컨베이어)와, 티엠알 사료를 계량 및 포장하는 포장기로 이루어진 티엠알 사료 조제 농가용 소형 플랜트 및 티엠알 사료 제조방법이 공지되어 있다.
그러나 이 특허문헌 2에 개시된 플랜트는 이하와 같은 단점이 있다.
1) 베일을 세절(원하는 길이로 절단)하는 데에 사용되는 트랙터 견인형 세절기는 베일을 투입/세절하는 부위가 완전히 오픈되어 있기 때문에, 세절 작업 중에 발생한 분진이 주변에 퍼진다는 단점이 있다..
2) 배합기가 지하(pit)에 설치됨에 따라, 근무인원이나 작업장비(예를 들면, 로더 등)가 안전하게 이동할 수 있는 동선을 확보하는 데에 지장을 준다는 단점이 있다.
3) 공정간 이송(배합기에서 제품탱크로의 이송, 제품탱크에서 포장기로의 이송)에 벨트 컨베이어가 사용되기 때문에, 다량의 잔물(殘物, 벨트 컨베이어에서 작업장 바닥으로 떨어져 쌓이는 티엠알 사료)과 분진 및 악취가 발생하여 작업장의 환경이 나빠진다는 단점이 있다.
4) 제품(가공 완료된 티엠알 사료)이 톤 백에 수백 ㎏씩 담겨 출하되기 때문에, 지게차를 사용하지 않으면 취급할 수 없다는 단점이 있다.
또한, 특허문헌 2의 플랜트에서 생산되는 티엠알 사료는 다음과 같은 단점이 있다.
1) 세절된 조사료와 다양한 농후사료가 배합된 티엠알 사료는 발효사료에 비해 기호성이 낮다는 단점이 있다.
2) 낮은 기호성 때문에, 출하일령이 길고(평균 30개월), 평균적으로 도축우의 육질과 등급, 출하 체중이 기대에 못 미치며, 질병에 취약하다는 단점이 있다.
3) 소 한 마리당 출하일령까지 약 7톤이 사용되는 티엠알 사료는 농후사료의 배합량에 따라 가격에 편차가 있지만, 대체로 가격이 높아 농가 입장에서 수익성이 나쁘다는 단점이 있다.
특허문헌 1 : 대한민국 공개특허 제10-2012-0109545호 특허문헌 2 : 대한민국 등록특허 제10-0742526호
본 발명은 상기와 같은 점을 감안하여 창안된 것으로서, 베일을 자동으로 공급 및 커팅 할 수 있고, 사료의 제조에 따른 공정간 이송시나 가공시의 분지, 잔물, 악취 발생을 억제하고, 설비의 자동화가 가능하여 생산성이 향상된 사료 제조 플랜트를 제공하는데 그 목적이 있다.
상기 목적을 달성하기 위한 본 발명의 사료 제조 플랜트는, 외부와 차단된 가압챔버 내부로 공급된 베일을 자동으로 커팅하여 혼합하는 베일 커팅부; 컨테이너의 내부에 회전 가능하게 설치되는 한 쌍의 오거(auger)로 조사료를 세절하여 파쇄하는 파쇄부; 컨테이너의 내부에 회전 가능하게 설치된 한 쌍의 오거로 다른 재료와 세절된 조사료를 혼합하여 사료를 제조하는 배합부; 컨테이너의 내부에 회전 가능하게 설치된 한 쌍의 오거로 컨테이너 내의 사료를 일정량씩 배출하는 충진부; 사료를 정량 포장하는 포장부; 연속하는 두 공정 사이의 물질 이송을 위해, 상기 베일커팅부와 상기 파쇄부와 상기 배합부와 상기 충진부 및 상기 포장부 사이에 설치하는 스크류 컨베이어; 및 상기 포장부에서 포장된 완제품을 적재 및 반출 공정으로 이송하는 벨트 컨베이어;를 포함하며, 상기 베일 커팅부와 상기 파쇄부와 상기 배합부와 상기 충진부와 상기 포장부 및 상기 벨트 컨베이어가 이 순서대로 일렬 배치된 것을 특징으로 한다.
이로써, 베일의 커팅, 파쇄, 배합, 충진 및 포장공정을 원라인으로 연속공정으로 수행할 수 있게 된다.
여기서, 상기 포장부는, 사료를 20∼50㎏씩 포대에 담아 밀봉하는 소용량 포장 라인으로 이루어진 것이 바람직하다.
이로써, 원하는 사이즈의 소용량으로 대량으로 연속생산이 가능하다.
또한, 상기 소용량 포장 라인은, 소포장 라인 또는 압축포장 라인인 것이 좋다.
또한, 상기 포장부는 사료는 톤 백에 담는 대용량 포장 라인을 더 포함하는 것이 좋다.
이로써, 소형포장은 물론, 대형포장까지 하나의 생산시설에서 생산하는 것이 가능하다.
또한, 상기 파쇄부의 컨테이너와 상기 배합부의 컨테이너와 상기 충진부의 컨테이너에 각각 설치되는 개폐 도어는, 컨테이너의 길이방향으로 개폐되는 것이 좋다. 이로써, 각 공정에서의 컨테이너를 선택적으로 밀폐하여 가공하고, 가공 후에는 개폐 도어를 개방하여 이송할 수 있다.
또한, 상기 스크류 컨베이어는, 상부가 개방됨과 아울러, 어느 한쪽 단부에 배출구가 형성된 U형 슈트; 양 단부 중에서 배출구와 대응하지 않는 쪽의 단부에 공급구가 형성되고, 상기 U형 슈트의 개방된 상부를 덮는 평판형 커버; 상기 U형 슈트의 양끝에 장착되는 마구리판; 및 상기 U형 슈트 내에 회전 자유롭게 설치되며, 양 단부가 베어링을 통해 상기 마구리판에 지지되는 스크류;를 포함하는 것이 좋다.
이로써, 가공공정별 이동시에도 사료의 연질화 및 연질화를 통한 발열이 가능하여 포장시점에서는 생균제의 투입과 온도 조절 없이도 제품 포장 후, 사료의 자연 종균에 의한 숙성발효 및 질소 안정화가 단기간에 이루어지도록 할 수 있다.
또한, 상기 베일 커팅부는, 커팅 가공할 베일을 공급받는 공급구를 가지는 장치 본체; 상기 장치 본체의 내부에 설치되어, 상기 장치 본체 내부를 가압챔버와 혼합챔버로 구분하여 상기 가압챔버에서 상기 혼합챔버로 이동되는 베일을 커팅 가공하는 커터; 상기 가압챔버 내부로 공급된 베일을 상기 커터 쪽으로 가압하는 가압유닛; 상기 공급구를 선택적으로 개폐하도록 설치되는 안전커버; 및 상기 공급구로 상기 베일을 자동 공급하는 베일 작동 공급유닛;을 포함하는 것이 바람직하다.
이로써, 베일을 자동으로 공급하면서 자동으로 커팅 가공하는 것이 가능하게 된다.
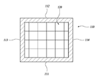
여기서, 상기 커터는 서로 교차하도록 배치되어 격자 구조를 이루는 복수의 수직날과 수평날을 포함하는 것이 바람직하다.
이로써, 베일을 한 번의 가압동작에 의해 원하는 사이즈로 커팅 가공할 수 있다.
또한, 상기 안전커버는 상기 가압유닛과 독립적으로 구동되도록 상기 장치 본체에 왕복 이동 가능하게 설치될 수 있다.
이로써, 안전커버를 동작시켜 공급구를 개폐할 수 있고, 베일의 커팅동작시에는 공급구를 차단하여 안전성을 확보하고, 베일이 커터 쪽으로만 가압되어 이동되도록 하여 가공공정이 원활하게 이루어지도록 할 수 있다.
또한, 상기 안전커버는 상기 가압유닛에 연결되어 함께 왕복 이동 가능하며, 상기 가압유닛에 대해 독립적으로 왕복 이동 가능하게 설치될 수 있다.
이로써, 안전커버는 베일의 커팅 공정시에 베일의 이동위치에 따라서 공급구를 선택적으로 차단하여 안전성을 확보하는 동시에, 베일의 이동시 함께 이동하면서 베일의 가압상태가 안정되게 유지되면서 커터를 통과하도록 지지하고 가이드 할 수 있다.
또한, 상기 베일 자동 공급유닛은, 상기 공급구 쪽으로 베일을 순차 공급하는 컨베이어; 상기 컨베이어에 의해 이동되는 베일을 일정 간격으로 유지하도록 하여 위치 결정시키는 복수의 스토퍼; 및 상기 공급구의 입구에 위치된 베일을 상기 공급구 내부로 밀어서 집어넣도록 설치되는 푸싱부;를 포함하는 것이 좋다.
이로써, 대형 및 중량의 베일을 순차적으로 연속 공급하여, 커팅공정이 끊김 없이 연속적으로 이루어지도록 할 수 있으며, 그로 인해 작업성을 향상시켜 공정 시간을 단축할 수 있고, 대량생산이 가능하며, 비용을 절감시킬 수 있게 된다.
또한, 상기 혼합챔버의 내부에는 한 쌍의 오거가 회전가능하게 설치되며, 상기 혼합챔버의 측면에는 상기 스크류 컨베이어가 연결되어 커팅 후 혼합된 사료를 상기 파쇄부로 공급 가능한 것이 좋다.
본 발명에 따른 사료 제조 플랜트는 사료 가공 및 공정간 이송이 밀폐형 컨테이너와 스크류 컨베이어를 통해 이루어지므로, 잔물이 생기거나 분진 및 악취가 작업장 내에 퍼지는 일이 없다. 따라서 작업장 환경이 청결하게 유지될 수 있다.
또한, 본 발명에 따른 사료 제조 플랜트는 커팅부와, 파쇄부와 배합부와 충진부와 포장부와 적재자동화 로봇이 지상에 일렬로 배치되므로 근무인원과 작업장비의 안전 시야 및 동선을 확보하기가 용이하며, 각 부분의 유지보수가 용이하게 이루어질 수 있다.
또한, 본 발명에 따른 사료 제조 플랜트는 대용량 제품 및 소용량 제품을 둘 다 생산할 수 있다.
또한, 본 발명에 따른 사료 제조 플랜트는 사료 가공 및 공정간 이송시에 조사료가 연질 처리될 뿐 아니라, 가공 및 이송 과정에서의 마찰열로 인해 사료 온도가 초기 발효온도에 도달하기 때문에, 생균제의 투입과 온도 조절 없이도, 제품 포장 후, 사료의 자연 종균에 의한 숙성발효 및 질소 안정화가 단기간에 이루어질 수 있다. 발효 사료는 티엠알 사료에 비해 기호성과 품질이 뛰어나며, 소화체열의 둔화와 반추위 내 pH 안정을 도모할 수 있기 때문에, 출하일령의 단축, 도축우의 육질과 등급의 향상, 출하체중의 증가, 건강증진 효과 등을 기대할 수 있다. 게다가, 질소 안정화가 이루어진 숙성발효사료는 기호성 및 품질의 변화 없이 6개월 이상 보관이 가능하다. 따라서 본 발명에 의한 사료 제조 플랜트에서 생산된 숙성발효사료를 사용하면, 농가의 수익성을 획기적으로 향상시킬 수 있다.
또한, 본 발명의 베일 커팅부에 의하면, 대형 및 중량인 베일을 자동으로 연속공급하면서 자동으로 커팅 가공 할 수 있다. 따라서 베일을 커팅 가공하여 사료를 가공 생산시, 사료 가공 생산 공정 시간을 단축하여 비용을 절감하고, 생산성을 향상시킬 수 있다.
특히, 전 과정을 자동화로 수행할 수 있으므로, 비용을 획기적으로 절감시킬 수 있게 되어, 가축 사육 농가의 운영비용을 절감할 수 있게 되어 소득 증대에 기여할 수 있다.
또한, 베일의 커팅 가공시 장치 본체의 내부를 외부와 차단하도록 함으로써, 안전성을 확보하여 안전사고를 예방할 수 있으며, 베일의 커팅 가공시에 발생하는 분진발생을 줄이고, 베일이 주변으로 흩어지는 것을 방지할 수 있다.
도 1은 본 발명의 일 실시형태에 따른 사료 제조 플랜트의 개략적인 구성도이다.
도 2는 도 1의 측면도이다.
도 3은 도 1 및 도 2에 도시된 파쇄부를 발췌하여 나타내 보인 사시도이다.
도 4는 도 1 및 2에 도시된 배합부 및 충진부의 측면도이다.
도 5는 도 1 및 도 2에 도시된 스크류 컨베이어의 일측 평면도이다.
도 6은 도 5에 도시된 스크류 컨베이어의 타측 평면도이다.
도 7은 스크류 컨베이어의 배출구에 연결 슈트가 장착된 상태의 사시도이다.
도 8은 본 발명의 일 실시형태에 따른 R판의 정면도이다.
도 9는 본 발명의 실시예에 따른 베일 커팅장치를 개략적으로 나타내 보인 정면도이다.
도 10은 도 9에 도시된 베일 커팅장치를 개략적으로 나타내 보인 좌측면도이다.
도 11은 도 9에 도시된 장치 본체, 가압유닛 및 커터를 나타내 보인 정면도이다.
도 12는 도 11에 도시된 커터를 나타내 보인 측면도이다.
도 12 내지 도 14 각각은 본 발명의 실시예에 따른 베일 커팅장치를 이용하여 베일을 커팅 가공하는 공정을 순차적으로 설명하기 위한 도면이다.
도 15 내지 도 18은 본 발명의 다른 실시예에 따른 베일 커팅장치를 이용하여 베일을 커팅 가공하는 공정을 순차적으로 설명하기 위한 도면이다.
도 19는 본 발명의 다른 실시에에 따른 커터를 설명하기 위한 개략적인 평면도이다.
도 20은 본 발명의 다른 실시형태에 따른 사료 제조 플랜트의 평면 배치도이다.
이하, 첨부된 도면을 참조하여 본 발명의 바람직한 실시예에 따른 사료 제조 플랜트를 자세히 설명하기로 한다.
우선, 도 1 및 도 2에 나타나 있는 바와 같이, 본 발명에 따른 사료 제조 플랜트는 베일 커팅부(F), 파쇄부(A), 배합부(B), 충진부(C), 포장부(D) 및 적재반출부(E)가 지상에 일직선으로 배치된 것을 기본 구성으로 한다.
여기서 "지상"이란, 본 발명에 따른 사료 제조 플랜트가 설치되는 작업장(예컨대 공장)의 바닥면을 의미하는데, 이 바닥면은 녹색이나 청색의 에폭시로 평탄하게 처리되어 있는 것이 바람직하다. 이러한 에폭시 처리에 의해, 작업장의 환경이 실질적으로 또는 시각적으로 청결해질 수 있다.
또한, 베일 커팅부(F), 파쇄부(A), 배합부(B), 충진부(C) 및 포장부(D) 사이에는 각각, 스크류 컨베이어(SC1∼SC4)가 설치되어 있으며, 이들을 통해, 분진이 생기지 않는 상태로, 전 공정에서 후공정으로의 물질(가공 중인 사료) 이송이 이루어진다.
또한, 포장부(D)와 적재반출부(E) 사이에는 완제품(예를 들면, PE 포대에 일정량의 사료가 담긴 상태)을 이송하기 위한 벨트 컨베이어(BC)가 설치되어 있다.
우선, 베일 커팅부(F)는 베일(10)을 자동으로 공급하여 원하는 사이즈로 커팅하고, 커팅 가공된 사료는 스크류 컨베이어(SC1)에 의해 파쇄부(A)로 공급된다.
상기 베일 커팅부(F) 즉, 베일 커팅장치(100)는 도 9 내지 도 19를 참조하면, 장치 본체(110)와, 장치 본체(110) 내부에 설치되는 커터(120), 가압유닛(130), 안전커버(140), 베일 자동 공급유닛(150)을 구비한다.
상기 장치 본체(110)는 하부벽(111)과, 상부벽(112) 및 양측의 측면벽(113,114)을 가지며 내부에 공간을 갖는 하우징 구조를 갖는다.
그리고 적어도 어느 한쪽 측면벽(113)에는 베일(10)이 공급되는 공급구(115)가 개방되어 있다.
상기 장치 본체(110)의 내부에는 커터(120)가 고정 설치되어 있다. 커터(120)를 사이에 두고, 공급구(115) 측의 공간은 베일(10)이 공급되어 가압유닛(130)에 의해 가압되는 커터(120) 쪽으로 이동되도록 하는 가압챔버(G1)가 마련되고, 반대 측의 공간은 커터(120)를 통과하면서 커팅된 베일 즉, 커팅된 볏짚이 이동되는 배출챔버(G2)로 구분될 수 있다. 배출챔버(G2)에는 별도의 컨베이어 스크류가 연결되거나, 사료 혼합챔버(160)가 연결된다. 그로 인해 자동 커팅된 베일을 혼합 발효시키면서 이송시키고, 포장공정까지 수행할 수 있는 설비와 연결할 수 있게 된다.
또한, 혼합챔버(160)의 내부에는 오거(161)가 복수 설치되어 커팅되어 공급된 사료를 혼합하면서, 스크류 컨베이어(SC1) 측으로 사료를 배출되도록 이송시킨다.
상기 공급구(115)는 안전커버(140)에 의해 선택적으로 개폐된다. 따라서 가압챔버(G1) 내부로 베일(10)이 공급되면, 안전커버(140)에 의해 공급구(115)는 닫히게 되어, 가압챔버(G1)가 외부와 차단된 상태에서 안전하게 커팅작업이 이루어지도록 할 수 있으며, 가압되는 베일(10)이 외부로 빠져나가지 못하도록 하여 커터(120) 쪽으로만 가압되어 이동되게 할 수 있다. 그리고 커팅동작이 마무리되면, 공급구(115)는 다시 개방되어 커팅할 새로운 베일(10)을 다시 공급할 수 있다.
상기 커터(120)는 장치 본체(110) 내부에 고정 설치되며, 가압유닛(130)에 의해 베일(10)이 가압되어 이동되는 방향을 기준으로 격자구조로 배치된다. 그리고 더욱 바람직하게는, 격자구조의 커터(120)의 중심부분이 다른 부분에 비하여 폭이 작게 형성되는 것이 좋다. 그로 인해, 원기둥 형태를 가지는 베일(10)이 가압되어 커터(120)에 접촉시, 커터(120)가 전체적으로 균일한 압력을 받으면서 동시에 접촉되면서 균일한 간격(길이)으로 효율적으로 커팅되도록 할 수 있다.
이러한 커터(120)는 격자 구조상 복수의 수평날(121)과 수직날(123)이 서로 교차하도록 설치되며, 서로의 길이가 서로 다르게 형성되는 것이 좋다. 예를 들어, 도시된 바와 같이, 수직날(123)이 수평날(121)보다 큰 폭을 가짐으로써, 가압챔버(G1) 쪽으로 수직날(123)이 더 돌출되게 형성되는 것이 좋다. 물론, 수평날(121)이 수직날(123)보다 더 큰 폭(좌우폭)으로 형성될 수도 있다.
상기 가압유닛(130)은 장치 본체(110)의 내부에 왕복 이동 가능하게 설치되는 가압판(131)과, 가압판(131)을 왕복 구동시키는 액추에이터(133)를 구비한다.
가압판(131)은 장치 본체(110) 내부의 공간 즉, 가압챔버(A)의 내부면에 최대한 근접 배치된 상태에서, 액추에이터(133)의 구동시 베일(10)을 커터(120) 쪽으로 가압한다(도 14 및 도 15 참조). 이러한 가압판(131)은 베일(10)에 접촉되는 접촉면의 중앙부분이 주변보다 더 돌출되게 형성될 수 있다. 그리고 가압판(131)은 베일(10)을 가압시, 최대한 커팅동작이 완전하게 이루어질 수 있도록 가압하기 위해서, 수평날(121)의 선단에 가압판(131)이 밀착될 수 있도록 구성된다. 이를 위해, 가압판(131)의 가압면에는 큰 폭으로 형성된 수직날(123) 또는 수평날(121)을 수용하기 위한 날 수용홈(미도시)이 형성될 수 있다. 따라서 가압판(131)을 커터(120) 쪽으로 최대한 밀어서 베일(10)을 가압하면, 베일(10)이 커터(120)를 완전하게 통과하면서 커팅 될 수 있다.
액추에이터(133)는 장치 본체(110)에 설치되어 가압판(131)을 왕복 이동시키는 유압실린더를 포함할 수 있다. 또한, 액추에이터(133)는 유압실린더 이외에도 다양한 공지의 왕복 구동수단을 포함할 수 있음은 당연하다. 즉, 액추에이터(133)는 구동모터에 의해 회전 구동되는 리드스크류에 의해 왕복 구동되는 작동실린더를 포함할 수도 있다.
상기 안전커버(140)는 장치 본체(110)에 왕복 이동 가능하게 설치되어, 공급구(115)를 선택적으로 개폐시키도록 구동된다. 이러한 안전커버(140)의 일예로는, 도 13 내지 도 15에 도시된 바와 같이, 공급구(115)를 개폐하도록 장치 본체(110) 측면벽(113)에 슬라이딩 가능하게 설치되며, 상기 가압판(131)과는 별개로 독립적으로 개폐 동작되게 설치될 수 있다. 이러한 안전커버(140)는 미도시된 액추에이터, 리니어모터, 리드스크류 등의 구동수단에 의해 개폐 동작 가능하도록 왕복 구동될 수 있다.
상기 베일 자동 공급유닛(150)은 베일(10)을 이동시키는 컨베이어(151)와, 컨베이어(151)에 의해 이동되는 베일(10)을 정해진 위치에 위치하도록 하는 복수의 스토퍼(153,154,155) 및 컨베이어(151)에 의해 이동된 베일(10)을 장치 본체(110) 내부로 낱개씩 밀어서 공급하는 푸싱부(156)를 구비한다.
컨베이어(151)는 복수의 베일(10)을 순차적으로 공급구(115) 쪽으로 이동시키도록 소정 길이로 설치된다. 컨베이어(151)에는 포장 팩이 제거된 베일(10)이 올려지고, 올려진 베일(10)은 공급구(115) 쪽으로 이동된다. 그리고 이동되는 베일(10)은 컨베이어(151)의 이동경로 상에 설치되는 복수의 스토퍼(153,154,155)에 의해 그 간격이 조절된다.
스토퍼(153,154,155)는 공급구(115)에 인접된 위치에서부터 일정 간격으로 복수가 배치되는 것이 바람직하다. 이러한 스토퍼(153,154,155)는 컨베이어(151)의 하부에서 상부로 출몰 가능한 피스톤을 갖는 실린더를 포함할 수 있다. 이러한 스토퍼(153,154,155)는 컨베이어(151)의 이동경로 상에서 베일(10)이 일정 간격을 유지하도록 하면서, 장치 본체(110)로 공급할 베일(10)을 대기 위치에 정 위치하도록 하는 역할을 한다.
상기 푸싱부(156)는 컨베이어(151)의 공급구(115)의 입구측에 위치된 베일(10)을 밀어서 장치 본체(110) 내부로 공급하는 푸싱부재(156a)와, 푸싱부재(156a)를 왕복 구동시키는 푸싱용 액추에이터(156b)를 구비한다. 푸싱용 액추에이터(156b)는 유압실린더를 포함할 수 있으며, 이외에도 다양한 구동수단이 적용될 수 있다.
상기 구성을 가지는 베일 커팅장치(100)의 작용효과에 대해 자세하게 설명하기로 한다.
먼저, 상기 컨베이어(151)에 포장팩이 제거된 베일(10)을 올려놓으면, 베일(10)은 단계적으로 공급구(115) 쪽으로 이동된다. 공급구(115) 쪽으로 이동되는 베일(10)은 스토퍼(153,154,155)에 의해 그 간격이 유지되어, 공급구(115) 쪽으로 단계적으로 이동될 수 있다. 이때 스토퍼(153,154,155)는 컨베이어(151)하부에서 베일(10)을 선택적으로 차단할 수 있도록 위치 이동되고, 베일(10)의 이동시에는 베일(10)의 이동경로에서 벗어나도록 작동될 수 있다.
공급구(115) 입구에 위치된 베일(10)은 상기 푸싱부(156)의 구동에 의해 장치 본체(110)의 가압챔버(G1) 내부로 공급된다. 즉, 도 9에서 실선으로 위치된 상태에서, 푸싱부재(156a)가 베일(10)을 푸싱하면, 실선으로 도시된 바와 같이, 푸싱부재(156a)가 가압챔버(G1) 내부로 베일(10)을 밀어 넣는다. 이때, 도 13에 도시된 바와 같이, 안전커버(140)는 공급구(115)에서 벗어나도록 위치되어 베일(10)이 공급될 수 있도록 한다.
베일(10)을 공급 후에 푸싱부재(156a)는 도 14와 같이, 초기위치로 복귀되며, 안전커버(140)는 공급구(115)를 차단하도록 이동된다.
이러한 상태에서 가압유닛(130)을 구동하여 가압판(131)을 커터(120) 쪽으로 이동시키면, 가압판(131)이 베일(10)을 커터(120) 쪽으로 가압함으로써, 베일(10)의 커팅동작이 이루어지게 된다. 그리고 도 15와 같이, 가압판(131)이 커터(120)의 단부에 밀착될 때까지 가압판(131)을 가압하게 되면, 베일(10)이 전체적으로 남김없이 커터(120)를 통과하면서 커팅작업이 효율적으로 이루어지도록 할 수 있다.
그리고 커팅된 사료는 배출챔버(G2)를 가지는 혼합챔버(160)로 이동하여 혼합된 뒤, 다음 공정으로 자동 이송된다.
또한, 가압판(131)에 의해 베일(10)이 가압 될 때, 안전커버(140)에 의해 가압챔버(G1)가 외부와 차단된 상태이므로, 베일(10)이 외부로 밀려나오는 것을 방지하고, 커터(120) 쪽으로만 가압되어 이동되도록 할 수 있으며, 작업자가 실수로 가압챔버(G1) 내부에 접근하는 것을 근본적으로 차단할 수 있으므로, 안전사고를 방지하고 안전을 확보할 수 있다.
이와 같이, 베일(10)을 순차적으로 공급하고 커팅하는 동작이 자동으로 반복 수행 가능하므로, 대량의 베일(10)을 자동 공급하면서 연속적으로 커팅할 수 있으므로, 그 가공시간을 단축하여 작업시간을 단축하고 비용을 절감할 수 있으며, 생산성을 향상시킬 수 있다.
또한, 도 16 내지 도 18에 도시된 바와 같이, 다른 실시예에 따른 베일 커팅장치에 따르면, 안전커버(140')가 가압판(131)에 왕복 이동 가능하게 설치되는 점에서 기술적 특징을 가진다. 이 경우, 안전커버(240)는 가압판(131)에 대해 독립적으로 왕복 이동 가능한 동시에, 가압판(131)과 함께 왕복 이동될 수 있게 된다. 이러한 구성에 의하면, 도 16과 같이, 가압판(131)이 커터(120)로부터 최대한 멀리 이격된 상태에서는 안전커버(140')가 공급구(115)를 개방하도록 후방으로 이동되어 베일(10)을 가압챔버(G1)로 공급할 수 있다. 그리고 베일(10)이 가압챔버(G1)로 진입된 상태에서, 도 17에 도시된 바와 같이, 가압판(131)을 이용하여 베일(10)을 가압하도록 이동될 때, 안전커버(140')를 커터(120) 쪽으로 이동시키면, 도 17과 같이, 안전커버(140')가 베일(10)이 공급구(115) 측으로 이동하는 것을 차단하면서 커터(120) 쪽으로 가압될 수 있도록 지지할 수 있다.
이 상태에서 가압판(131)을 커터(120) 쪽으로 더 가압하면, 가압판(131)과 함께 안전커버(140')가 커터(120) 쪽으로 이동하면서, 베일(10)을 지지하여, 공급구(115) 측으로 밀리는 것을 방지한다. 따라서 베일(10)은 안전커버(240)와 장치 본체(110)의 내부벽면에 가이드 되는 상태로 커터(120) 쪽으로 가압되어 효과적으로 커팅작업이 이루어지도록 할 수 있다.
또한, 도 19에 도시된 바와 같이, 베일(10)을 커터(120) 쪽으로 가압시에, 베일(10)이 커터(120)의 중앙으로 가이드 되어 진입되도록 하는 가이드날(125)이 더 구비되는 것이 좋다. 가이드날(125)은 장치 본체(110)의 내부벽면에 설치되며, 베일(10)이 커터(120) 쪽으로 이동될 때 중앙으로 진입하도록 가이드 하는 경사부(125a)가 선단에 형성될 수 있다.
상기 베일 커팅장치(100)에서 커팅 완료된 사료는 스크류 컨베이어(SC1)에 의해 파쇄부(A)로 이동된다. 파쇄 공정이 수행되는 파쇄부(A)는 도 3에 도시된 바와 같이, 파쇄기(200)와 하부 스트럭처(200A)로 구성되어 있다.
파쇄기(200)는, 컨테이너(210)와, 컨테이너(210)의 내부 하측에 회전 가능하게 설치되는 한 쌍의 오거(220)와, 조사료 등의 재료를 컨테이너(110) 안으로 투입할 때 열리고 재료를 파쇄할 때 닫히는 버킷(230)과, 버킷(230)을 여닫는 유압실린더(231)와, 오거(220)를 구동하는 모터(240)와, 가공이 끝난 재료를 컨테이너(210)로부터 후공정의 배합기(300)로 보낼 때 열리는 개폐 도어(250)와, 컨테이너(210)에 투입된 재료의 양을 계측하기 위해 컨테이너(210)와 하부 스트럭처(200A)의 연결부위에 설치되는 로드 셀(260)을 구비한다.
상기 컨테이너(210)는 이른바 "R판"이라고 부르는 하판과 사방 측판 및 상판이 용접이나 볼트체결에 의해 박스 모양을 이루고 있다.
R판(211)은, 도 8에 도시된 바와 같이, "J" 형상으로 굽힘 가공된 2개의 곡면판(211a)이 서로 용접되어 전체적으로 "ω" 형상을 이루고 있다.
사방 측판 중에서, 오거(220)의 회전축이 베어링을 통해 회전 자유롭게 지지되는 전측판에는 버킷(230)과 유압실린더(231)가 설치되고, 버킷(230)에 의해 개폐되는 투입구(미도시)가 형성되어 있다. 후측판 쪽에는 2개의 모터(240)가 설치된다. 좌측판과 우측판에는 개폐 도어(250)가 각각 설치되어 있으며, 개폐 도어(250)에 의해 개폐되는 토출구(미도시)가 형성되어 있다. 여기서 상기 버킷(230)과 유압실신더(231)는 제외될 수도 있고, 필요에 따라 설치되어 베일 커팅장치(100)로부터 커팅된 사료를 공급받지 않고, 버킷(230)을 개방시켜서 컨테이너(210)로 직접 사료를 투입할 수도 있도록 마련되는 것이 좋다.
컨테이너(210)의 상판은 2개의 분할판(212)으로 이루어져 있고, 각각의 분할판(212)은 유압실린더(213)에 의해 여닫을 수 있도록 되어 있다. 그러나 이와 다른 방식으로, 예컨대, 상판은 하나의 평판으로 구성되어도 되며, 이 경우에 상판 개폐용 유압실린더는 필요가 없다.
다음으로, 오거(220)는, 중심축의 외면을 따라 블레이드가 나선형으로 형성되고, 상기 블레이드의 끝에 다수의 커터가 장착된 구성으로 이루어져 있다. 이러한 오거(220)는 공지의 기술로부터 이해할 수 있는 것이므로 자세한 설명은 생략한다. 오거(220)는 한 쌍이 나란하게 설치되어 상기 모터(240)에 의해 각각 구동 회전되면서, 투입된 사료를 파쇄하는 역할을 할 수 있다.
다음으로, 버킷(230)의 하단부와 유압실린더(231)의 하단부는 전측판에 각각 힌지 결합되어 있으며, 유압실린더(231)의 상단부는 버킷(230)의 중간지점에 힌지 결합되어 있다. 그러나 만약 유압실린더(231)로 버킷(230)을 개폐할 수 있다면, 전측판과 버킷(230)과 유압실린더(231)의 결합 위치는 도 3에 도시된 위치와 다른 위치여도 무방하다.
다음으로, 컨테이너(210)의 후측판 쪽에 배치되는 한 쌍의 모터(240)는 각각의 오거(220)를 독립적으로 정역 회전시킬 수 있도록, 커플링을 통해 오거의 중심축과 결합되어 있다.
다음으로, 컨테이너(110)의 좌우측에 각각 설치되는 개폐 도어(250)는, 유압실린더(251)에 의해 컨테이너(210)의 길이방향(수평방향)으로 개폐되도록 구성되어 있다. 개폐 도어(250)는 설치지점에 따라, 예컨대 개폐 도어(250)가 컨테이너(210)의 R판(211)에 설치되는 경우에는 도어 형상이 전체적으로 곡면을 이루고, 좌측판과 우측판에 설치되는 경우에는 전체적으로 그 형상이 평면을 이루며, R판(211)과 좌우 측판에 걸쳐 있는 경우에는 개폐 도어의 일부분은 곡면을 이루면서 나머지 부분은 평면을 이루도록 제작된다. 그러나 이와는 다른 방식으로, 예컨대, 개폐 도어는 종래와 마찬가지로, 컨테이너의 높이방향으로 개폐되도록 구성되어도 된다.
다음으로, 로드 셀(260)은 컨테이너(210)의 네 귀퉁이에 하나씩 설치되어 있다. 로드 셀(260)의 측정치(투입된 재료의 양)는 도시하지 않은 제어패널의 인디케이터를 통해 표시된다.
다음으로, 파쇄기(200)를 떠받치는 하부 스트럭처(200A)는 원하는 치수와 모양으로 절단한 빔이나 앵글, 형강 등을 용접하거나 볼트 체결하여 제작된다.
또한, 상기 컨테이너(210)의 좌측판과 우측판 각각에는 스크류 컨베이어(SC1)에 의해 공급되는 사료가 투입되는 사료 투입구(215)가 형성된다.
배합부(B)는, 도 4에 도시된 바와 같이, 배합기(300)와 하부 스트럭처(300A)로 구성되어 있다.
배합기(300)는, 컨테이너(310)와, 컨테이너(310)의 내부 하측에 회전 가능하게 설치되는 한 쌍의 오거(320)와, 오거(320)를 구동하는 모터(330)와, 가공이 끝난 재료를 컨테이너(310)로부터 후공정의 충진기(400)로 보낼 때 열리는 개폐 도어(340)와, 컨테이너(310)에 투입된 재료의 양을 계측하기 위해 컨테이너(310)와 하부 스트럭처(300A)의 연결부위에 설치되는 로드 셀(350)로 이루어져 있다.
컨테이너(310)는 도 8에 도시된 R판(211)과 사방 측판 및 상판이 용접이나 볼트체결에 의해 박스 모양으로 이루어져 있다. 전측판과 후측판에는 오거(320)의 회전축이 베어링을 통해 각각 회전 자유롭게 지지되어 있으며, 후측판 쪽에 2개의 모터(330)가 배치되어 있다. 또, 좌측판과 우측판에는 개폐 도어(340)가 설치되어 있고, 개폐 도어(340)에 의해 개폐되는 토출구(미도시)가 형성되어 있다. 또, 상판은 하나의 평판으로 구성되어 있다.
한편, 도 4에 도시된 바와 같이, 컨테이너(310)의 상부측에는 스크류 컨베이어(SC2)의 배출구와 연결 슈트로 이어지는 투입구(311)가 형성되어 있다.
다음으로, 오거(320)는 중심축의 외면을 따라 블레이드가 나선형으로 설치되고, 블레이드의 끝에 다수의 커터가 장착된 구성으로 이루어져 있다.
다음으로, 컨테이너(310)의 후측판 쪽에 배치되는 한 쌍의 모터(330)는 각각의 오거(320)를 독립적으로 정역 회전시킬 수 있도록 커플링을 통해 오거의 중심축과 결합되어 있다.
다음으로, 컨테이너(310)의 좌우측에 각각 설치되는 개폐 도어(340)는, 유압실린더(341)에 의해 컨테이너(310)의 길이방향(수평방향)으로 개폐되도록 구성되어 있다. 개폐 도어(340)는 설치지점에 따라, 예컨대 개폐 도어(340)가 컨테이너(310)의 R판(211)에 설치되는 경우에는 그 형상이 곡면을 이루며, 좌측판과 우측판에 설치되는 경우에는 그 형상이 평면을 이루며, R판(211)과 좌우 측판에 걸쳐 있는 경우에는 일부분이 곡면을 이루면서 나머지 부분은 평면을 이루도록 제작된다. 그러나 이 개폐 도어 역시, 종래와 마찬가지로, 컨테이너의 높이방향으로 슬라이딩하여 개폐되는 구성이어도 된다.
다음으로, 로드 셀(350)은 컨테이너(310)의 네 귀퉁이에 하나씩 설치되어 있다. 로드 셀(350)에 의해 측정된 값은, 도시하지 않은 제어패널의 인디케이터를 통해 표시된다.
다음으로, 배합기(300)를 떠받치는 하부 스트럭처(300A)는 빔이나 앵글 또는 형강 등을 용접하거나 볼트 체결하여 제작된다.
충진부(C)는, 도 4에 도시된 바와 같이, 충진기(400)와 하부 스트럭처(400A)로 구성되어 있다.
충진기(400)의 컨테이너(410)는 배합기의 컨테이너(310)와 구성이 동일하다.
또한, 배합기(300)의 대응 구성요소와 비교하여, 충진기(400)에 설치되는 모터(430)와 개폐 도어(440)와 유압실린더(441)와 로드셀(450)은 크기와 출력 등에서 차이가 있을 수 있지만, 그 구성은 실질적으로 동일하다고 할 수 있다.
다음으로, 충진기(400)의 오거(420)는, 배합기(300)의 오거(320)로부터 커터를 제거한 구성이지만, 양자는 그 구성이 동일해도 무방하다.
다음으로, 로드 셀(450)에 의해 측정된 값은 도시하지 않은 제어패널의 인디케이터를 통해 표시된다.
사료를 정량 포장하는 포장부(D)는, 도 1, 2, 20에 도시된 바와 같이, 사료를 톤 백에 담는 대용량 포장 라인(500B)과, 사료를 20∼50㎏씩 포대에 담아 밀봉하는 소포장 라인(500)이나 압축포장 라인(500A) 중 어느 하나인 소용량 포장 라인으로 구성될 수 있다.
보다 구체적으로, 소포장 라인(500)은 계량 유닛과 포대 공급 유닛과 밴드실러와 완제품 성형 유닛으로 구성되며, 압축포장 라인(500A)은 압축 성형 유닛과 포대 공급 유닛과 밴드실러로 구성된다.
대용량 포장 라인(500B)이나 소포장 라인(500)이나 압축포장 라인(500A)의 세부 구성은 이 기술분야에서 통상의 지식을 가진 자에게 공지되어 있으며, 이들은 하나의 세트로 구입 가능하기 때문에, 이들에 대한 상세 설명은 생략하기로 한다.
상기 베일 커팅부(F), 파쇄부(A), 배합부(B), 충진부(C) 및 포장부(D) 사이에 설치하는 스크류 컨베이어(SC1∼SC4)는, 도 5 내지 7에 도시된 바와 같이, 상부가 개방되고 어느 한쪽 단부에 배출구(601)가 형성된 U형 슈트(600)와, 양 단부 중에서 U형 슈트(600)의 배출구(601)와 대응하지 않는 쪽의 단부에 공급구(611)가 형성되고 용접이나 볼트체결에 의해 U형 슈트(600)의 개방된 상부를 덮는 평판형 커버(610)와, U형 슈트(600)의 양끝에 장착되는 마구리판(620)과, U형 슈트(600) 내에 회전 자유롭게 설치되며 양 단부가 베어링을 통해 마구리판(620)에 지지되는 스크류(630)를 구비한다.
스크류(630)는 중심축의 외면을 따라 블레이드(631)가 나선형으로 형성된 것으로서, 이송 모터(TM)와 커플링을 통해 결합되어 있으며, 이송 모터(TM)에 의해 정역 회전된다.
또, 전 공정에서 후공정으로 사료를 이송할 때, 분진이 작업장 내에 전파되는 것을 방지하기 위해, 혼합챔버(160), 파쇄기(100), 배합기(200), 충진기(300) 및 포장부(D)의 계량 유닛이나 압축 성형 유닛과의 연결부에는, 예컨대 배출구(601)와 공급구(611)에는, 연결 슈트(CC)가 구비된다.
포장부(D)에서 포장되어 나오는 소용량 제품은 벨트 컨베이어(BC)에 실려 적재반출부(E)로 이송되며, 적재반출부(E)를 구성하는 적재자동화 로봇에 의해 팔레트에 적재된다. 팔레트에 일정량의 제품이 적재되면, 지게차에 의해 반출된다.
한편, 도면에 나타나 있지 않았지만, 베일 커팅부(F)와 파쇄부(A)와 배합부(B)와 충진부(C)와 포장부(D)와 적재반출부(E)에는, 모터와 유압실린더, 공압실린더, 적재자동화 로봇 등을 제어하고, 또한 로드셀의 측정값을 표시하기 위한 제어패널("로컬패널"이라고도 한다)이 각각 마련될 수 있다.
도 20은 본 발명의 다른 실시형태에 따른 사료 제조 플랜트의 평면 배치를 나타낸 도면으로서, 베일 커팅부(F)와 파쇄부(A)와 배합부(B)와 충진부(C)가 3열로 배치되고, 그 중 2개 열에는 4개의 소포장 라인(500)이 연결 설치되는 한편, 나머지 1개 열에는 압축포장 라인(500A)과 대용량(톤 백) 포장 라인(500B)이 각각 하나씩 연결 설치된 구성으로 되어 있다. 그러나 이와는 다른 구성으로, 예컨대 소포장 라인의 개수를 증감시켜도 된다.
따라서 이러한 가변 구성에 의해, 포장량이 다른 3종류의 완제품을 필요량만큼 동시에 생산할 수 있다.
즉, 본 발명의 실시예에 따른 사료 제조 플랜트에 의하면, 조사료의 연질화에 의해 고품질 사료를 저렴한 가격으로 생산할 수 있다. 이에 의해 농가의 사료비 부담은 경감시키면서 품질 만족도는 향상시킬 수 있다. 또한, 설비의 자동화를 통해 1인 생산이 가능하고, 근무 인원이 안전하게 작업할 수 있는 시야와 동선을 확보할 수 있다. 그리고 사료의 공정간 이송시나 가공시에 분진, 잔물, 악취가 전혀 발생하지 않아 작업장의 청결을 유지할 수 있고, 플랜트 각부의 유지보수가 용이하게 이루어질 수 있는 사료 제조 플랜트를 제공할 수 있다.
또한, 생균제를 투입하는 일 없이, 제품 포장이 완료 된 후, 사료의 자연 종균에 의해 안전하고 완전한 숙성발효가 단기간(예를 들어, 3일)에 이루어질 수 있는, 소의 반추위를 닮은 사료 제조 플랜트를 제공할 수 있다.
또한 본 발명의 숙성발효를 통해, 기호성 및 품질 변화 없이 장기 보관(예를 들어 6개월)이 가능한 고에너지 사료를 용이하게 제조할 수 있다.
또한, 본 발명은 소화체열의 둔화와 반추위 내 pH안정을 통해, 반추위와 장 내에 우점균주가 지속적으로 보존될 수 있는 사료 제조 플랜트를 제공할 수 있다.
앞에서, 본 발명의 특정한 실시예가 설명되고 도시되었지만 본 발명은 기재된 실시예에 한정되는 것이 아니고, 본 발명의 사상 및 범위를 벗어나지 않고 다양하게 수정 및 변형할 수 있음은 이 기술의 분야에서 통상의 지식을 가진 자에게 자명한 일이다. 따라서 그러한 수정예 또는 변형예들은 본 발명의 기술적 사상이나 관점으로부터 개별적으로 이해되어서는 안 되며, 변형된 실시예들은 본 발명의 특허청구범위에 속한다 하여야 할 것이다.
A : 파쇄부
200…파쇄기 200A…하부 스트럭처
210…컨테이너 220…오거
230…버킷 231…유압실린더
240…모터 250…개폐 도어
251…유압실린더 260…로드 셀
B : 배합부
300…배합기 300A…하부 스트럭처
310…컨테이너 320…오거
330…모터 340…개폐 도어
341…유압실린더 350…로드 셀
C : 충진부
400…충진기 400A…하부 스트럭처
410…컨테이너 420…오거
430…모터 440…개폐 도어
441…유압실린더 450…로드 셀
D : 포장부
500…소포장 라인 500A…압축포장 라인
500B…대용량 포장 라인
E : 적재반출부
F : 베일 커팅부
100..베일 커팅장치 110..장치 본체
120..커터 130..가압유닛
131..가압판 133..액추에이터
140,140'..안전커버 150..베일 자동 공급유닛
151..컨베이어 153,154,155..스토퍼
156..푸싱부
BC : 벨트 컨베이어
CC : 연결 슈트
BP : 곡면판
211 : R판
SC1∼SC4 : 스크류 컨베이어
600…U형 슈트 601…배출구
610…커버 611…공급구
620…마구리판 630…스크류
TM : 이송 모터

Claims (12)

  1. 외부와 차단된 가압챔버 내부로 공급된 베일을 자동으로 커팅하여 혼합하는 베일 커팅부;
    컨테이너의 내부에 회전 가능하게 설치되는 한 쌍의 오거(auger)로 조사료를 세절하여 파쇄하는 파쇄부;
    컨테이너의 내부에 회전 가능하게 설치된 한 쌍의 오거로 다른 재료와 세절된 조사료를 혼합하여 사료를 제조하는 배합부;
    컨테이너의 내부에 회전 가능하게 설치된 한 쌍의 오거로 컨테이너 내의 사료를 일정량씩 배출하는 충진부;
    사료를 정량 포장하는 포장부;
    연속하는 두 공정 사이의 물질 이송을 위해, 상기 베일커팅부와 상기 파쇄부와 상기 배합부와 상기 충진부 및 상기 포장부 사이에 설치하는 스크류 컨베이어; 및
    상기 포장부에서 포장된 완제품을 적재 및 반출 공정으로 이송하는 벨트 컨베이어;를 포함하며,
    상기 베일 커팅부와 상기 파쇄부와 상기 배합부와 상기 충진부와 상기 포장부 및 상기 벨트 컨베이어가 이 순서대로 일렬 배치된 것을 특징으로 하는 사료 제조 플랜트.
  2. 제1항에 있어서,
    상기 포장부는, 사료를 20∼50㎏씩 포대에 담아 밀봉하는 소용량 포장 라인으로 이루어진 것을 특징으로 하는 사료 제조 플랜트.
  3. 제2항에 있어서,
    상기 소용량 포장 라인은, 소포장 라인 또는 압축포장 라인인 것을 특징으로 하는 사료 제조 플랜트.
  4. 제2항에 있어서,
    상기 포장부는 사료는 톤 백에 담는 대용량 포장 라인을 더 포함하는 것을 특징으로 하는 사료 제조 플랜트.
  5. 제1항에 있어서,
    상기 파쇄부의 컨테이너와 상기 배합부의 컨테이너와 상기 충진부의 컨테이너에 각각 설치되는 개폐 도어는, 컨테이너의 길이방향으로 개폐되는 것을 특징으로 하는 사료 제조 플랜트.
  6. 제1항에 있어서, 상기 스크류 컨베이어는,
    상부가 개방됨과 아울러, 어느 한쪽 단부에 배출구가 형성된 U형 슈트;
    양 단부 중에서 배출구와 대응하지 않는 쪽의 단부에 공급구가 형성되고, 상기 U형 슈트의 개방된 상부를 덮는 평판형 커버;
    상기 U형 슈트의 양끝에 장착되는 마구리판; 및
    상기 U형 슈트 내에 회전 자유롭게 설치되며, 양 단부가 베어링을 통해 상기 마구리판에 지지되는 스크류;를 포함하는 것을 특징으로 하는 사료 제조 플랜트.
  7. 제1항 내지 제6항 중 어느 한 항에 있어서, 상기 베일 커팅부는,
    커팅 가공할 베일을 공급받는 공급구를 가지는 장치 본체;
    상기 장치 본체의 내부에 설치되어, 상기 장치 본체 내부를 가압챔버와 혼합챔버로 구분하여 상기 가압챔버에서 상기 혼합챔버로 이동되는 베일을 커팅 가공하는 커터;
    상기 가압챔버 내부로 공급된 베일을 상기 커터 쪽으로 가압하는 가압유닛;
    상기 공급구를 선택적으로 개폐하도록 설치되는 안전커버; 및
    상기 공급구로 상기 베일을 자동 공급하는 베일 작동 공급유닛;을 포함하는 것을 특징으로 하는 사료 제조 플랜트.
  8. 제7항에 있어서,
    상기 커터는 서로 교차하도록 배치되어 격자 구조를 이루는 복수의 수직날과 수평날을 포함하는 것을 특징으로 하는 사료 제조 플랜트.
  9. 제7항에 있어서,
    상기 안전커버는 상기 가압유닛과 독립적으로 구동되도록 상기 장치 본체에 왕복 이동 가능하게 설치되는 것을 특징으로 하는 사료 제조 플랜트.
  10. 제7항에 있어서,
    상기 안전커버는 상기 가압유닛에 연결되어 함께 왕복 이동 가능하며, 상기 가압유닛에 대해 독립적으로 왕복 이동 가능하게 설치되는 것을 특징으로 하는 사료 제조 플랜트.
  11. 제7항에 있어서, 상기 베일 자동 공급유닛은,
    상기 공급구 쪽으로 베일을 순차 공급하는 컨베이어;
    상기 컨베이어에 의해 이동되는 베일을 일정 간격으로 유지하도록 하여 위치 결정시키는 복수의 스토퍼; 및
    상기 공급구의 입구에 위치된 베일을 상기 공급구 내부로 밀어서 집어넣도록 설치되는 푸싱부;를 포함하는 것을 특징으로 하는 사료 제조 플랜트.
  12. 제7항에 있어서,
    상기 혼합챔버의 내부에는 한 쌍의 오거가 회전가능하게 설치되며,
    상기 혼합챔버의 측면에는 상기 스크류 컨베이어가 연결되어 커팅 후 혼합된 사료를 상기 파쇄부로 공급 가능한 것을 특징으로 하는 사료 제조 플랜트.
KR1020180133381A 2018-11-02 2018-11-02 사료 제조 플랜트 Active KR102248218B1 (ko)

Priority Applications (1)

Application Number Priority Date Filing Date Title
KR1020180133381A KR102248218B1 (ko) 2018-11-02 2018-11-02 사료 제조 플랜트

Applications Claiming Priority (1)

Application Number Priority Date Filing Date Title
KR1020180133381A KR102248218B1 (ko) 2018-11-02 2018-11-02 사료 제조 플랜트

Publications (2)

Publication Number Publication Date
KR20200050598A true KR20200050598A (ko) 2020-05-12
KR102248218B1 KR102248218B1 (ko) 2021-05-04

Family

ID=70679552

Family Applications (1)

Application Number Title Priority Date Filing Date
KR1020180133381A Active KR102248218B1 (ko) 2018-11-02 2018-11-02 사료 제조 플랜트

Country Status (1)

Country Link
KR (1) KR102248218B1 (ko)

Cited By (2)

* Cited by examiner, † Cited by third party
Publication number Priority date Publication date Assignee Title
CN112476514A (zh) * 2020-11-03 2021-03-12 陈智 一种畜牧用饲料打散粉碎设备
KR20210151349A (ko) * 2020-06-05 2021-12-14 김의철 베일 해체 및 커팅 공급시스템

Families Citing this family (1)

* Cited by examiner, † Cited by third party
Publication number Priority date Publication date Assignee Title
KR102391886B1 (ko) * 2021-11-09 2022-05-04 힐링파머스 주식회사 완전 혼합 발효 사료 생산 시스템

Citations (6)

* Cited by examiner, † Cited by third party
Publication number Priority date Publication date Assignee Title
KR100742526B1 (ko) 2005-01-06 2007-07-25 경북대학교 산학협력단 티엠알 사료 조제 농가용 소형 플랜트 및 티엠알 사료제조방법
KR20080000756U (ko) * 2006-10-25 2008-04-30 박종식 볏짚 절단기
KR100870721B1 (ko) * 2007-07-10 2008-11-27 (주)창영엔지니어링 폐기용 고철의 유압식 압축 및 자동 절단장치
KR20120109545A (ko) 2009-12-07 2012-10-08 토마스 쉬디 베일 절단 장치 및 그 방법
KR200472759Y1 (ko) * 2013-12-10 2014-05-21 이수춘 김밥용 단무지 절단장치
KR20170106723A (ko) * 2016-03-14 2017-09-22 김중관 사료 제조 플랜트

Patent Citations (6)

* Cited by examiner, † Cited by third party
Publication number Priority date Publication date Assignee Title
KR100742526B1 (ko) 2005-01-06 2007-07-25 경북대학교 산학협력단 티엠알 사료 조제 농가용 소형 플랜트 및 티엠알 사료제조방법
KR20080000756U (ko) * 2006-10-25 2008-04-30 박종식 볏짚 절단기
KR100870721B1 (ko) * 2007-07-10 2008-11-27 (주)창영엔지니어링 폐기용 고철의 유압식 압축 및 자동 절단장치
KR20120109545A (ko) 2009-12-07 2012-10-08 토마스 쉬디 베일 절단 장치 및 그 방법
KR200472759Y1 (ko) * 2013-12-10 2014-05-21 이수춘 김밥용 단무지 절단장치
KR20170106723A (ko) * 2016-03-14 2017-09-22 김중관 사료 제조 플랜트

Cited By (2)

* Cited by examiner, † Cited by third party
Publication number Priority date Publication date Assignee Title
KR20210151349A (ko) * 2020-06-05 2021-12-14 김의철 베일 해체 및 커팅 공급시스템
CN112476514A (zh) * 2020-11-03 2021-03-12 陈智 一种畜牧用饲料打散粉碎设备

Also Published As

Publication number Publication date
KR102248218B1 (ko) 2021-05-04

Similar Documents

Publication Publication Date Title
US6945485B1 (en) Multiple vertical auger cutter mixer
US6199781B1 (en) Animal feed processor
KR102248218B1 (ko) 사료 제조 플랜트
KR102034865B1 (ko) 발효사료 제조방법 및 그 시스템
GB2502049A (en) Animal feed mixing and dispensing apparatus
KR20170108722A (ko) 섬유질 사료 이송용 스크류컨베이어
KR101795913B1 (ko) 사료 제조 플랜트
KR101150746B1 (ko) 효과적인 배출이 이루어지게 한 가축용 배합사료의 저장 및 발효장치
CN110746212B (zh) 秸秆微贮肥生产线
EP1449426B1 (en) Equipment for cutting, loading and mixing fibrous products and its operating process
CA2221934C (en) Method for making high density combination dry hay and haylage livestock feed
KR102203795B1 (ko) 건초 사료 자동화 제조 장치
KR100477205B1 (ko) 배합사료 운송 급여용 차량
CA2869159C (en) Self-propelled self-loading feed mixer
KR20180028348A (ko) 롤 베일용 조사료 파쇄유닛이 구비된 스크류컨베이어
KR102597900B1 (ko) 건초 급이 호퍼 및 그를 포함하는 사료배합장치
US10252274B2 (en) Apparatus and method for chipping tree branches and the like and baling wood chips formed during such chipping activities
KR101732265B1 (ko) 조사료용 haccp 제조 장치
JP5960933B1 (ja) 竹笹ロールベールラップサイロの製造装置・製造システム・製造方法、及び、竹笹サイレージの製造方法
CA2282895C (en) Animal feed processor
RU2002107716A (ru) Конвейерная система универсальная блочно-интегрально-секционная зооагроперерабатывающая (ксу-бис)
KR200283992Y1 (ko) 배합사료 운송 급여용 차량
CN217407730U (zh) 一种饲草加工中心
WO2013136117A1 (en) Process for the preparation of food products for rabbits and rodents
NL2000037C2 (nl) Inrichting voor het doseren van veevoer.

Legal Events

Date Code Title Description
PA0109 Patent application

Patent event code: PA01091R01D

Comment text: Patent Application

Patent event date: 20181102

PA0201 Request for examination
PG1501 Laying open of application
E902 Notification of reason for refusal
PE0902 Notice of grounds for rejection

Comment text: Notification of reason for refusal

Patent event date: 20200520

Patent event code: PE09021S01D

PN2301 Change of applicant

Patent event date: 20200803

Comment text: Notification of Change of Applicant

Patent event code: PN23011R01D

E701 Decision to grant or registration of patent right
PE0701 Decision of registration

Patent event code: PE07011S01D

Comment text: Decision to Grant Registration

Patent event date: 20210128

GRNT Written decision to grant
PR0701 Registration of establishment

Comment text: Registration of Establishment

Patent event date: 20210428

Patent event code: PR07011E01D

PR1002 Payment of registration fee

Payment date: 20210428

End annual number: 3

Start annual number: 1

PG1601 Publication of registration
PR1001 Payment of annual fee

Payment date: 20240415

Start annual number: 4

End annual number: 4