KR20200015714A - 휴대용 스테이지 시스템 - Google Patents

휴대용 스테이지 시스템 Download PDF

Info

Publication number
KR20200015714A
KR20200015714A KR1020207000289A KR20207000289A KR20200015714A KR 20200015714 A KR20200015714 A KR 20200015714A KR 1020207000289 A KR1020207000289 A KR 1020207000289A KR 20207000289 A KR20207000289 A KR 20207000289A KR 20200015714 A KR20200015714 A KR 20200015714A
Authority
KR
South Korea
Prior art keywords
deck
pin
framework
stage
connector assembly
Prior art date
Legal status (The legal status is an assumption and is not a legal conclusion. Google has not performed a legal analysis and makes no representation as to the accuracy of the status listed.)
Granted
Application number
KR1020207000289A
Other languages
English (en)
Other versions
KR102403156B1 (ko
Inventor
크리스도퍼 씨. 디키
조셉 에이. 뷔르
폴 구드로
이안 포르테
앤드류 스미스
Original Assignee
시코 인코퍼레이티드
Priority date (The priority date is an assumption and is not a legal conclusion. Google has not performed a legal analysis and makes no representation as to the accuracy of the date listed.)
Filing date
Publication date
Application filed by 시코 인코퍼레이티드 filed Critical 시코 인코퍼레이티드
Publication of KR20200015714A publication Critical patent/KR20200015714A/ko
Application granted granted Critical
Publication of KR102403156B1 publication Critical patent/KR102403156B1/ko
Active legal-status Critical Current
Anticipated expiration legal-status Critical

Links

Images

Classifications

    • EFIXED CONSTRUCTIONS
    • E04BUILDING
    • E04HBUILDINGS OR LIKE STRUCTURES FOR PARTICULAR PURPOSES; SWIMMING OR SPLASH BATHS OR POOLS; MASTS; FENCING; TENTS OR CANOPIES, IN GENERAL
    • E04H3/00Buildings or groups of buildings for public or similar purposes; Institutions, e.g. infirmaries or prisons
    • E04H3/10Buildings or groups of buildings for public or similar purposes; Institutions, e.g. infirmaries or prisons for meetings, entertainments, or sports
    • E04H3/22Theatres; Concert halls; Studios for broadcasting, cinematography, television or similar purposes
    • E04H3/24Constructional features of stages
    • E04H3/28Shiftable or portable platforms
    • EFIXED CONSTRUCTIONS
    • E04BUILDING
    • E04HBUILDINGS OR LIKE STRUCTURES FOR PARTICULAR PURPOSES; SWIMMING OR SPLASH BATHS OR POOLS; MASTS; FENCING; TENTS OR CANOPIES, IN GENERAL
    • E04H3/00Buildings or groups of buildings for public or similar purposes; Institutions, e.g. infirmaries or prisons
    • E04H3/10Buildings or groups of buildings for public or similar purposes; Institutions, e.g. infirmaries or prisons for meetings, entertainments, or sports
    • E04H3/22Theatres; Concert halls; Studios for broadcasting, cinematography, television or similar purposes
    • E04H3/24Constructional features of stages
    • E04H3/26Revolving stages; Stages able to be lowered

Landscapes

  • Engineering & Computer Science (AREA)
  • Architecture (AREA)
  • Multimedia (AREA)
  • Civil Engineering (AREA)
  • Structural Engineering (AREA)
  • Casings For Electric Apparatus (AREA)
  • Handcart (AREA)
  • Refuge Islands, Traffic Blockers, Or Guard Fence (AREA)
  • Movable Scaffolding (AREA)
  • Projection Apparatus (AREA)
  • Road Signs Or Road Markings (AREA)
  • Fencing (AREA)
  • Legs For Furniture In General (AREA)

Abstract

휴대용 스테이지는 탈착식 데크를 지지하는 접이식 프레임워크를 포함한다. 프레임 워크에는 대향하는 단부 프레임워크 조립체들과 대향하는 측면 프레임워크 조립체들이 포함된다. 프레임워크는 사용을 위해 확장된 위치로부터 접히고, 프레임워크는 보관하기 위해 접힌다. 측면 프레임 워크 조립체들은 각각 데크 아래의 개방 공간을 형성하는 V형 구성을 갖는 경사부에 의해 연결된 코너 기둥들을 포함한다. 데크는 그 관통홀로 확장되는 핀 커넥터들과 연결된다. 핀 커넥터들은 핀이 스테이지 높이 조절을 위해 위에서 회전될 때 상대적인 축 방향 이동을 제공하는 핀을 지지하는 나사형 커넥터를 갖는다. 탈착식 가드레일들에는 핀 커넥터에 부착되는 장착 브래킷들이 포함된다.

Description

휴대용 스테이지 시스템
본 출원은 2018년 6월 8일 PCT 국제특허출원으로 출원되었으며, 2017년 6월 9일 출원된 미국 가특허출원 제62/517,249호에 대해 우선권을 주장하며, 그 개시 내용은 본 명세서에 전체적으로 참조에 의해 포함된다.
본 발명은 휴대용 스테이지 시스템, 특히 스테이지 데크(deck) 위에서 높이 조절이 이루어지고, 가드레일(guardrail)이 핀 커넥터 조립체에 장착되며, 접이식 프레임워크(folding framework)에 의해 스테이지 데크 아래 공간으로의 접근이 가능한 모듈식 스테이지 시스템에 관한 것이다.
휴대용 스테이지들은 일시적으로 상승된 스테이지 표면을 생성하는데 사용된다. 일반적으로, 직사각형 스테이지들은 가장자리에서 가장자리로의 연결로 결합될 수 있다. 이러한 스테이지들은 높이 조절을 제공하는 조절 가능한 프레임들 또는 레그(leg)들을 가질 수 있어서, 스테이지들은 확장 스테이지 표면들을 생성하도록 결합될 수 있고, 라이저형(riser-type) 구조를 형성하기 위해 상이한 높이를 갖는 스테이지들과 결합될 수도 있다. 스테이지들은 또한 그 사이에 브리징 데크(bridging deck)들을 지지할 수도 있다. 이러한 휴대용 스테이지는 휴대용이며 바람직하게는 컴팩트한 보관을 위해 분해되거나 접힐 수도 있다.
휴대용 스테이지 시스템의 예는 미국 특허 제4,843,792호, 제5,050,353호, 제5,317,842호 및 제5,323,563호에 나타나 있다. 종래의 스테이지들에는 그 활용성에 영향을 미치는 단점들이 여전히 존재한다.
종래 기술의 스테이지 시스템들들은 일반적으로 탈착식(removable) 데크들을 지지하기 위해 접이식 프레임워크들을 갖는다. 그러나, 프레임워크는 일반적으로 프레임의 측면들에 교차 지지부를 갖고, 단부들에 접힘부를 갖는 격자형(lattice type) 프레임워크로서 구성된다. 스테이지 데크들 아래의 보관 공간에 접근하여 케이블 및 다른 적용들을 위한 기타 요소들을 정비해야 할 수도 있다. 종래의 휴대용 스테이지 시스템의 프레임워크는 데크 아래 영역에 대해 충분한 접근성을 제공하지 못해 왔다. 따라서, 특히 넓은 확장 표면을 가진 구성들에 있어 휴대용 스테이지들의 활용성이 줄어들었다.
스테이지 시스템은 매끄러운 수평면 상에 설치될 수도 있지만, 레그들이 조절되지 않았거나 스테이지가 설치된 표면이 편평하지 않고 수평이 아닐 수도 있다고 이해될 것이다. 이것은 데크들의 상면에 영향을 줄 수 있고, 테크들의 상면에 불균일이 발생하여 평탄한 수평면을 얻지 못할 수 있다. 불균일은 사용자가 스테이지 위로 걸어갈 때 넘어지게 하거나, 또는 특정 스테이지들 및/또는 데크들에 흔들림을 유발할 수 있다. 종래 기술의 시스템들은 스테이지의 구성에 따라 레그 또는 바닥 캐스터(caster)의 위치를 변경함으로써 조절되어야 했다. 이러한 조절은 바닥 근처 또는 적어도 스테이지 데크 아래에서 이루어진다. 그러나, 조절이 필요한 요소들로의 접근이 어려우며, 넓은 확장 스테이지의 표면이 형성되어 있고 스테이지 표면의 외부 가장자리에서 먼 스테이지 아래로의 접근이 필요한 경우에는, 조절이 필요한 요소로의 접근이 특히 어렵다.
휴대용 스테이지 시스템들의 다른 문제점은 스테이지의 가장자리에 가드레일들을 장착하기 어려운 것이다. 휴대용 시스템은 가드레일을 장착하기 위해 스테이지 데크 자체를 활용해왔다. 그러나, 연결의 강도 및 회전의 상대적인 지점들은 프레임워크의 부분들에 연결이 이루어지거나 스테이지 데크들을 지지하는 요소들에 부착될 수 있을 만큼 튼튼하지 않을 수 있다. 또한, 데크들의 강성은 다른 프레임 요소들만큼 크지 않을 수 있으며, 가드레일들이 데크들을 손상시킬 수도 있다.
상기한 바에 의하면, 새롭고 개선된 스테이지 시스템이 필요하다는 것을 알 수 있다. 이러한 시스템은 충분한 지지력을 제공하고 스테이지 데크 아래 영역들에 더 많은 접근을 허용하는 접이식 프레임워크를 구비해야 한다. 또한, 이러한 시스템들은 스테이지 표면의 높이 조절 기능을 제공해야 하고, 높이 조절은 데크 표면의 상단에서 조절 장치로 접근함으로써 이루어지도록 해야 한다. 휴대용 스테이지 시스템들은 스테이지 데크에 대한 가드레일의 직접 장착이 아닌, 지지 조립체에 대한 가드레일의 개선된 장착을 포함해야 한다. 본 발명은 이들뿐만 아니라 휴대용 스테이지와 관련된 다른 문제들 또한 해결한다.
본 발명은 휴대용 스테이지 시스템, 특히 탈착식 데크들 및 접이식 프레임워크를 구비한 휴대용 스테이지 시스템에 관한 것으로서, 접이식 프레임워크는 스테이지 아래의 공간으로의 접근, 스테이지 위에서의 스테이지 데크의 높이 조절 및 프레임워크 조립체의 일부에 대한 가드레일의 장착을 제공한다.
휴대용 스테이지 시스템은 하나 이상의 스테이지 데크들을 지지하는 휴대용 접이식 프레임워크를 포함한다. 일 실시예에서, 프레임워크는 단일한 탈착식 직사각형 스테이지 데크를 지지하는 반면 다른 실시예들에서; 접이식 프레임워크는 2개, 3개 또는 그 이상의 탈착식 스테이지 데크들을 지지한다. 단일 데크, 더블 데크 및/또는 트리플 데크들을 갖는 휴대용 스테이지 조립체들은 다양한 수의 다른 휴대용 스테이지 조립체들과 조합, 혼합 및 매칭되어 다양한 크기 및 구성을 갖는 확장 스테이지 표면을 얻을 수 있는 것으로 이해될 수 있다. 또한, 스테이지들은 확장 스테이지 표면을 얻기 위해 프레임워크들 사이의 브리징 데크들을 지지하도록 구성된 프레임워크들을 포함한다.
접이식 프레임워크는 측면 섹션들 및 접이식 단부 섹션들을 포함한다. 접이식 단부 섹션들은 보관을 위해 내측으로 접혀져서 측면 섹션들이 서로를 향해 이동되도록 하는 두 가지 요소들을 포함한다. 단부 섹션들의 요소들은 서로 힌지 연결되어 있으며, 섹션들과 프레임워크를 펼친 사용 구성으로 유지하기 위해 스프링이 장착된 핀을 포함한다. 측면 프레임워크 섹션들은 수평 부재 및 코너 기둥의 상부로부터 수평 프레임워크 부재의 중간으로 하향 연장되는 2개의 경사부를 포함한다. 일 실시예에서, 경사부들은 단일 요소로서 형성되지만, 프레임워크는 수평 부재에 부착되는 2개의 개별 프레임 요소들로 이루어질 수도 있다. 이 구성은 프레임워크가 경사부들 위의 열린 공간을 유지하기 때문에 더 많은 액세스를 허용하면서도 충분한 지지력을 제공한다. 프레임워크는 스테이지가 펼친 사용 구성에 있을 때 운송을 위해 결합과 분리가 가능한 캐스터 상에 장착된다.
스테이지 데크들은 데크의 각 모서리 근처에 있는 관통홀들을 통해 핀 타입 커넥터들에 장착된다. 프레임워크는 높이 조절을 위해 상향 연장될 수 있는 텔레스코핑(telescoping) 요소들을 포함하는 기둥들을 각 테크의 코너 근처에 포함한다.
핀 타입 커넥터들은 브리징 데크들 또한 지지하고 적은 수의 프레임워크들을 갖는 확장 스테이지 표면을 형성하기 위해 최대 4개의 핀들을 포함한다. 핀 타입 커넥터는 커넥터들이 확장 스테이지 표면의 모서리에 있는 경우 핀들이 데크 아래에 위치되도록 각 코너에서 4개의 방향으로 연장되는 여러 방향으로 장착될 수 있는데, 스테이지 표면의 측면을 따라 배치되는 경우 1개의 핀은 데크의 가장자리를 넘어 위치되고, 또는 3개의 브리징 데크들을 지지하기 위해 스테이지 표면의 내측 부분에 있는 경우 모든 핀들이 외측으로 연장된다.
핀 커넥터는 또한 코너 기둥들의 텔레스코핑부의 상단에 장착되는 높이 조절 시스템을 포함할 수 있다. 높이 조절 조립체는 텔레스코핑부에 장착되도록 구성된 부싱(bushing), 상기 부싱에 나사 식으로 연결되고 핀에도 연결되는 로드 핀 및 핀 커넥터 하우징을 수용하는 소켓을 포함한다. 높이 조절 조립체의 핀은 데크의 관통홀을 통해 연장되며, 핀 및 로드를 회전시키기 위해 상보적인 툴과 결합하도록 육각형 또는 다른 수용부를 포함한다. 로드가 부싱에 대해 회전함에 따라 소켓은 부싱을 기준으로 축 방향으로 움직인다. 이 회전은 조립체의 높이를 변경하고, 그에 따라 지지되는 데크의 높이를 변경한다. 높이 조절 조립체에서 핀의 상단에 접근하여 조절이 이루어지므로, 지면 근처 또는 데크들 아래의 높이 조절 메커니즘들에 접근할 필요 없이 작업자들이 스테이지 표면 위에서 높이 조절 및 레벨링을 수행할 수 있다.
휴대용 스테이지 시스템은 프레임에 부착될 때 핀 커넥터 조립체에 장착되는 탈착식 가드레일들을 포함한다. 가드레일들에는 그 지지대의 하단에 장착되는 장착 브래킷들이 포함된다. 브래킷은 가드레일들을 스테이지 데크의 가장자리와 평행한 구성으로 유지하도록 정렬된 핀 커넥터 하우징의 장착면과 결합하도록 구성된다. 브래킷은 장착면들과 결합하고 핀 타입 커넥터들 중 하나에 장착되어 가드레일을 올바른 위치에 충분한 지지력과 강성으로 견고하게 유지한다.
본 발명을 특징짓는 신규성 및 다양한 다른 장점들의 특징들은 본원에 첨부되어 본원의 일부를 형성하는 청구 범위에서 상세히 언급된다. 그러나, 본 발명과 그 장점 및 그 사용에 의해 얻어지는 목적들에 대한 이해를 돕기 위해서, 본 발명의 바람직한 실시예가 도시되고 설명되어 있는, 본원의 다른 부분을 형성하는 도면들 및 동반되는 설명 사항을 참조해야 한다.
이제 도면들을 참조하면, 유사한 도면부호들 및 문자들은 여러 도면에 걸쳐 대응하는 구조를 나타낸다:
도 1은 본 발명의 원리에 따라 제 1 실시예의 휴대용 스테이지가 펼친 위치에 있는 상태를 보여주는 사시도이다;
도 2는 데크가 제거된 상태의 도 1에 도시된 휴대용 스테이지에 대한 사시도이다;
도 3은 도 2에 도시된 휴대용 스테이지의 단부 정면도이다;
도 4는 도 2에 도시된 휴대용 스테이지의 평면도이다;
도 5는 도 2에 도시된 휴대용 스테이지의 측면도이다;
도 6은 데크의 지지 기둥들이 가장 낮은 위치에 있는 도 2에 도시된 휴대용 스테이지의 사시도이다;
도 7은 접힌 위치에 있는 도 6에 도시된 휴대용 스테이지 에이지(age)의 사시도이다;
도 8은 도 7에 도시된 휴대용 스테이지의 단부 정면도이다;
도 9는 도 7에 도시된 휴대용 스테이지의 평면도이다;
도 10은 도 7에 도시된 휴대용 스테이지의 측면도이다;
도 11은 본 발명의 원리에 따라 제 2 실시예의 휴대용 스테이지가 펼친 위치에 있는 상태를 보여주는 사시도이다;
도 12는 데크가 제거된 상태의 도 11에 도시된 휴대용 스테이지에 대한 사시도이다;
도 13은 도 12에 도시된 휴대용 스테이지의 정면도이다;
도 14는 도 12에 도시된 휴대용 스테이지의 평면도이다;
도 15는 도 12에 도시된 휴대용 스테이지의 측면도이다;
도 16은 데크의 지지 기둥들이 가장 낮은 위치에 있는 도 12에 도시된 휴대용 스테이지의 사시도이다;
도 17은 접힌 위치에 있는 도 16에 도시된 휴대용 스테이지 에이지의 사시도이다.
도 18은 도 17에 도시된 휴대용 스테이지의 정면도이다;
도 19는 도 17에 도시된 휴대용 스테이지의 평면도이다;
도 20은 도 17에 도시된 휴대용 스테이지의 측면도이다;
도 21은 본 발명의 원리에 따라 제 3 실시예의 휴대용 스테이지가 펼친 위치에 있는 상태를 보여주는 사시도이다;
도 22는 데크가 제거된 상태의 도 21에 도시된 휴대용 스테이지에 대한 사시도이다;
도 23은 조절용 툴이 삽입된 상태의 도 1, 도 11 또는 도 21에 도시된 스테이지 데크 및 스테이지에 대한 지지대의 사시도이다;
도 24는 도 23에 도시된 데크, 지지대 및 툴의 상세도이다;
도 25는 도 23에 도시된 데크의 측 단면 상세도이다;
도 26은 데크가 상승된 상태의 도 25에 도시된 데크에 대한 측 단면도이다;
도 27은 도 1, 도 11 또는 도 21에 도시된 스테이지 용의 조절 가능한 핀 커넥터 조립체의 사시도이다;
도 28은 도 27에 도시된 핀 커넥터 조립체의 부분 분해 사시도이다;
도 29는 도 27에 도시된 핀 커넥터 조립체의 평면도이다;
도 30은 도 29의 선 30-30에 대한 단면도이다;
도 31은 도 27에 도시된 핀 커넥터 조립체 용의 조절 가능한 핀 커넥터의 분해 사시도이다;
도 32는 도 31에 도시된 조절 가능한 핀 커넥터의 분해 측면도이다;
도 33은 도 1, 도 11 또는 도 21에 도시된 스테이지 용의 고정 핀 커넥터 조립체의 사시도이다;
도 34는 도 33에 도시된 핀 커넥터 조립체의 부분 분해 사시도이다;
도 35는 도 33에 도시된 핀 커넥터 조립체의 평면도이다;
도 36은 도 35의 선 36-36에 대한 단면도이다;
도 37은 도 1, 도 11 또는 도 21에 도시된 스테이지 용의 탈착식 가드레일의 사시도이다;
도 38은 도 37에 도시된 가드레일의 정면도이다;
도 39는 도 37에 도시된 가드레일 용 장착 조립체의 상세도이다; 또한
도 40은 핀 커넥터 조립체에 장착된 도 27에 도시된 가드레일의 사시도이다.
이제 도면들, 특히 도 1 내지 도 10을 참조하면, 일반적으로 지정되는 휴대용 스테이지(100)가 도시되어 있다. 도 1 내지 도 10에 도시된 실시예에서, 스테이지(100)는 확장된 나란한 구성으로서 3개의 데크들(104)을 지지하는 접이식 프레임워크(102)를 포함한다. 또한, 브리징 데크들은 확장되고 상승된 스테이지의 표면을 형성하기 위해 프레임워크들(102) 사이에서 연장되고 프레임워크들(102) 상에서 지지될 수 있는 것으로 이해된다. 접이식 프레임워크(102)는 측면 프레임 조립체들(106) 및 접이식 단부 프레임 조립체들(108)을 포함한다. 프레임워크(102)는 선택적으로 수축 가능한 캐스터 조립체들(110)을 포함한다. 캐스터 조립체들이 하강될 때, 프레임워크(102)는 캐스터들 상에 지지되고 롤링되어 쉽게 이동될 수 있다. 프레임워크(102)가 펼쳐져 사용될 준비가 되면, 캐스터들이 상승되고, 스테이지들은 레그 또는 글라이드들(126) 상에 지지된다.
측면 프레임 조립체들(106)은 하부 수평 프레임 부재들(112) 및 경사 프레임부(114)를 포함한다. 경사 프레임부(114)는 대체로 V자형 프로파일을 형성한다. 이 구성은 데크들(102) 아래 및 경사 프레임부(114) 위에 실질적인 개방 공간을 제공한다. 도시된 실시예에서, 경사 프레임부(114)는 단일 요소로서 형성되지만, 각각의 경사 프레임부(114)는 개별적인 요소일 수 있다. 개구부는, 물품이 보관되어야 하거나 작업자가 개구부를 통해 접근하여 케이블 및 기타 요소들을 정비해야 하는 경우, 스테이지 데크(104) 아래의 공간으로의 접근을 제공한다. 또한, 개방형 구성은 스테이지 데크들이 적재될 때에도 만족스러운 지지 및 강성을 제공한다. 스테이지 데크(104)가 상승되면 개구부가 확장되는 것 또한 이해될 수 있다.
스테이지 데크(104)는 일반적으로 데크의 각 코너에서 기둥들(118) 위에서 지지된다. 기둥들(118)은 프레임워크(102)의 상단으로부터 연장되는 텔레스코핑 요소들(120)을 포함한다. 핀 커넥터 조립체(140) 상의 핀(146)은 후술하는 관통홀들에 삽입되고, 데크들(104)을 통해 수평으로 형성된다. 핀 커넥터 조립체(140)는 대응하는 텔레스코핑 요소(120)의 상단에 장착된다. 높이는 텔레스코핑 요소들(120)에서 이격된 조절 홀들(122) 내로 연장되는 스프링이 장착된 조절 핀(124)을 사용하여 다양한 높이들로 조절될 수 있다. 도시된 실시예에서, 높이는 48인치 내지 78인치 사이에서 변화될 수 있다. 그러나, 다른 높이 및 조절 범위들은 프레임 및/또는 텔레스코핑 요소들의 높이를 변화시킴으로써 달성될 수 있는 것으로 이해될 수 있다.
프레임워크들(102)은 도 7 내지 도 10에 도시된 바와 같이 보관을 위해 접힌다. 단부 프레임 조립체들(108)은 한 쌍의 단부 프레임 부재들(116)을 포함한다. 프레임워크는 단부 프레임 부재들(116)을 측면 프레임 조립체들(106)에 피봇 식으로 장착하기 위한 힌지들(130)을 포함한다. 또한, 단부 프레임 조립체들(108)의 중심에 있는 힌지들(132)은 단부 프레임 부재들(116) 사이의 힌지 연결을 제공한다. 스프링이 장착된 핀(134)은 단부 프레임 부재(116)를 선택적으로 고정 및 해제하기위해 구비된다. 펼친 사용 위치에서 상기 핀(134)이 단부 프레임 조립체(108)를 고정하도록 결합될 때, 프레임(102)은 핀들(146)이 데크들(104)을 통해 형성된 관통홀들과 적절히 정렬되도록 위치된다. 도 7 내지 도 10에 도시된 바와 같이, 데크가 제거된 상태에서, 접이식 프레임워크(102)는 펼친 사용 위치보다 더 적은 공간을 차지하고 더 작은 풋프린트(footprint)를 갖는 더욱 컴팩트한 구성으로 접힐 수 있다. 따라서, 본 발명은 영구적인 데크, 펼쳐진 스테이지는 탈착식 데크가 없는 스테이지보다 적은 보관 공간을 필요로 한다. 접힌 구성에서, 프레임워크(102)는 하강된 캐스터 조립체들(110)의 캐스터들을 롤링함으로써 용이하게 운반될 수 있다.
도 11 내지 도 20에 도시된 제 2 실시예에서, 휴대용 스테이지(200)는 일반적으로 지정된 단일 데크 유닛으로서 구성된다. 단일한 휴대용 스테이지(200)는 일반적으로 3개의 데크들을 지지하는 스테이지(100)와 유사한 요소들로 구성된다. 그러나, 프레임워크(202)는 오직 4개의 프레임 기둥들(118) 및 오직 한 세트의 단부 프레임 조립체들(108)을 포함한다. 프레임워크 요소들은 표준화되고 일반적으로 교체 가능하여 제조 비용을 감소시키는 것으로 이해될 수 있다. 또한, 직사각형 데크들(104)은 모든 유닛에 사용될 수 있다. 또한, 단일 스테이지(200)는 프레임워크(202) 사이의 브리징 데크들을 지지할 수 있고, 상이한 크기의 다른 스테이지들과 다양한 구성으로 결합됨으로써 광범위한 크기 및 구성들의 상승된 확장 스테이지들을 얻을 수 있다.
도 21 내지 도 22에 도시된 제 3 실시예에서, 휴대용 스테이지는 일반적으로 지정되는 더블 데크 유닛(300)으로 구성된다. 더블 휴대용 스테이지(300)는 일반적으로 3개의 데크들을 지지하는 스테이지(100) 또는 단일 데크를 지지하는 스테이지(200)와 유사한 요소로 구성된다. 그러나, 프레임워크(302)는 6개의 프레임 기둥들(318) 및 오직 2세트의 단부 프레임 조립체들(308)만을 포함한다. 또한, 직사각형 데크(104)는 모든 유닛에 사용될 수 있다. 또한, 더블 스테이지(300)는 프레임워크(202) 사이의 브리징 데크를 지지할 수 있고, 트리플 데크 스테이지들(100) 및/또는 단일 데크 스테이지들(300)과 다양한 구성으로 결합됨으로써 광범위한 크기 및 구성들의 상승된 확장 스테이지들을 얻을 수 있다. 서로 다른 크기의 프레임워크들의 사용은 광범위한 요구들과 적용들을 위한 배치 및 설계에 큰 유연성을 제공한다. 또한, 스테이지는 라이저형 구성에서 상이한 높이의 스테이지들과 함께 사용되거나, 다양한 레벨의 스테이지를 생성하기 위해 사용될 수 있는 것으로 이해될 수 있다.
이제 도 23 내지 도 26을 참조하면, 도시된 데크(104)는 경량이고 일반적으로 직사각형의 요소들이다. 일반적인 데크의 너비는 4피트이고 높이는 8피트이다. 그러나, 정사각형 데크, 삼각형 데크 또는 다른 사다리꼴의 데크를 포함하는 다른 형상일 수도 있다. 데크(104)는 그 각각의 코너에 인접하여 후술하는 바와 같이 핀 커넥터를 수용하는 수직 관통홀(136)을 포함한다. 관통홀(136)에는 슬리브형의 인서트(138A)가 슬라이딩 가능하게 위치되어, 상기 관통홀을 채우고 핀의 정렬을 돕는다. 슬리브형의 인서트(138A)는 데크(104)의 각 면과 같은 높이에 있는 단부 캡(cap)(138B)에 의해 보유된다. 단부 캡(138B)은 각각 핀(146)이 삽입될 수 있는 중앙 개구부를 포함한다. 데크가 프레임워크(102 또는 202)에 장착될 때, 핀(146)은 하단의 단부 캡(138B)의 개구부를 통해 연장되고 상단의 단부 캡(138B)의 내측면에 근접하여 슬리브(138A)를 상향으로 밀어낸다. 이러한 방식으로, 관통홀(136)이 실질적으로 채워지고 단부 캡(138B)은 데크(104)의 어느 면이 상면인지에 관계 없이 데크의 면에 의해 지지되고 데크의 면과 실질적으로 같은 높이에 있게 된다. 또한, 슬리브(138A)는 단부 캡(138B)에 의해 관통홀(136) 내에 보유되므로 슬리브 요소(138A)는 분실되지 않는다.
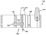
이제 도 27 내지 도 32를 참조하면, 일반적으로 지정된 조절 가능한 핀 커넥터 조립체(140)가 도시되어있다. 핀 커넥터 조립체(140)는 원통형 코너부(142D) 및 회전 가능한 커넥터 핀(144)을 수용하는 암(arm)부들(142A, 142B, 142C)을 포함하는 하우징(142)을 포함한다. 하우징(142)의 원통형 코너부(142D)는 프레임 기둥(118)의 텔레스코픽 요소(120)의 상단의 높이 조절 조립체(160)에 부착된다. 핀 커넥터 조립체(140)는 트리플 스테이지(100), 더블 스테이지(300) 또는 단일 스테이지(200)와 함께 사용될 수 있다. 회전 가능한 핀(144)은 수평 샤프트 상에 장착되고, 핀(144)이 실질적으로 수평으로 연장되는 하강 위치와 핀(144)이 수직으로 연장되어 브리징 데크(104)의 관통홀(136) 내로 연장될 수 있는 상승 위치 사이에서 연장된다. 핀 커넥터 조립체(140)는 또한 하우징(142)이 데크(104) 아래에서 내측을 향하도록, 코너 위치에 필요할 수 있는 텔레스코핑 요소(120) 상에 위치될 수 있다. 더욱이, 스테이지의 가장자리에 있어서, 핀 커넥터 조립체(140)는 회전 가능한 핀들(144) 중 하나, 둘 또는 전부가 스테이지(100, 200 또는 300)의 가장자리를 넘을 수 있도록 위치될 수 있다.
해제 조립체(148)는 중앙 암부(142B)에 핸들(150), 핀(152) 및 스프링(154)을 포함한다. 핀(152)은 하우징 및 높이 조절 조립체(160)의 대응하는 오리피스(orifice)를 통해 선택적으로 연장되고, 핀 커넥터 조립체(140)가 올바른 방향을 향할 수 있도록 핀 커넥터 조립체(140)가 제거 및 회전될 수 있게 한다. 핸들(150)은 하우징(142) 아래로 연장되고 높이 조절 조립체(160)로부터 하우징(140)을 해제하기 위해 외측으로 간단히 피봇된다. 하우징(142)은 또한 중앙 암부(142B)에 가드레일 장착면(156) 및 백업 장착면(158)을 포함한다. 상기 면들(156, 158)은 종래 기술에서와 같이 가드레일을 데크에 장착되도록 하는 것이 아니라, 핀 커넥터 조립체에 장착될 수 있도록 한다. 장착면들은 가드레일이 데크들의 가장자리와 평행하게 배치되도록 중앙 암에서 떨어져서 위치된다.
이제 도 31 및 도 32를 참조하면, 높이 조절 조립체(160)가 도시되어 있다. 높이 조절 조립체(160)는 프레임(102 또는 202) 상의 데크들(104)의 프레임 기둥들(118)에 정렬되고 프레임 기둥(118) 위로 상향 연장되며, 관통홀들(136) 내로 연장되는 핀(146)을 포함한다. 높이 조절 조립체는 그 하단에 나사 연결된 부싱(162)을 포함하고 텔레스코핑 요소들(120) 내로 연장된다. 로드(164)는 부싱(162)에 나사 식으로 장착된다. 소켓(166)은 로드에 장착되어, 핀(146)을 지지한다. 소켓(166)은 방사형 플랜지(168)를 포함한다. 핀 커넥터 조립체(140)의 원통형 코너부(142D)는 방사형 플랜지(168)의 가장자리 상에서 지지된다. 핀(146)이 부싱(162)을 중심으로 나사 식으로 회전하는 로드(164)에서도 회전하도록, 핀(146)과 로드(164)는 서로 연결된다. 대안적으로, 핀(146)과 로드(164)는 단일 요소로서 형성될 수 있다. 따라서, 상기 나사 식 연결은 부싱(162) 및 기둥(118)에 대한 소켓(166) 및 핀(146)의 축 방향 이동을 제공한다. 따라서, 핀을 회전시킴으로써, 소켓(166)이 상향 또는 하향으로 이동하고 핀 커넥터 조립체(140)의 높이가 조절될 수 있다. 나사 연결된 관계가 도시되어 있지만, 웜 기어 또는 캠(들)과 같이 소켓을 축 방향으로 이동시키는 다른 구성들도 가능하다. 텔레스코핑 요소들(120)의 서로 이격된 조절홀들과 결합되어, 스테이지(100, 200 및 300)는 적절한 높이로 조절될 수 있고, 적절한 높이로 더욱 미세하게 조정될 수 있다. 또한, 스테이지가 고르지 않은 지면 상에 있거나 다른 불균일들이 존재하는 경우, 높이 조절 조립체는 상승된 스테이지의 표면에 걸쳐 수평면이 유지되도록 변경될 수 있다.
다시 도 23 내지 도 26을 참조하면, 데크(104)에 형성된 관통홀(136)의 상단을 통해 내측이 육각형인 핀(146)을 결합할 수 있음을 알 수 있다. 육각 툴(1000)은 핀(146)의 상보적인 육각형 개구부에 간단하게 삽입될 수 있다. 도 25에 도시된 바와 같이, 높이 조절 조립체(160)는 가장 낮은 위치에 있다. 그러나, 툴(1000)이 핀을 회전시킬 때, 높이 조절 조립체(160)는 대응하는 데크(104)의 코너에서 상기 데크를 상승시킨다. 나사들은 적절한 높이의 표면이 얻어질 수 있도록 매우 미세한 높이 조절을 제공한다. 종래의 휴대용 스테이지 시스템과 달리, 작업자에 의해 높이 조절이 스테이지 표면 위에서 쉽게 접근되고 수행된다는 것이 이해될 수 있다.
이제 도 33 내지 도 36을 참조하면, 스테이지(100, 200, 및 300)는 또한 핀 커넥터(170)의 제 2 실시예를 활용할 수 있다. 고정 핀 커넥터(170)는 또한 프레임 기둥들 위에 회전 가능한 핀(144) 및 프레임 핀(146)을 포함한다. 그러나, 하우징(172)은 높이 조절 조립체를 포함하지 않으며 해제부를 포함하지 않는다. 탈착식 핀들(194)은 분실되거나 분리되지 않도록 끈에 연결될 수 있고, 이 핀들은 스테이지에 핀 커넥터들을 보유하는 데 이용될 수 있는 것으로 이해될 수 있다. 고정 핀 커넥터 조립체(170)는 장착면들(156, 158)을 또한 포함하고, 일부 스테이지에서 이용될 수 있는 반면, 높이 조절은 적용에 따라 다른 스테이지들에서 사용된다.
이제 도 37 내지 도 40을 참조하면, 가드레일들(180)은 확장 스테이지 표면의 가장자리를 따라 위치되도록 구성된다. 가드레일(180)은 교차 부재들(182) 및 수직 부재들(184)을 포함한다. 장착 브래킷들(186)은 핀 커넥터 조립체들(140 및/또는 170)에 장착되도록 구성된다. 장착 브래킷(186)은 수평 플랜지(188), 수평 플랜지에 형성된 핀 수용부(190) 및 수직 결합면(192)을 포함한다. 끈에 연결된 핀은 브래킷(186)을 통해 연장되어 핀 커넥터 조립체(140 또는 170)와 결합된다. 장착 브래킷들은 도 40에 도시된 바와 같이 브래킷이 중앙 암부(142B)에 결합할 때 브래킷이 장착면(156)과 결합되거나 암부(142A 또는 142C)의 측면들과 결합되도록 구성된다. 핀 수용부(190)는 정확한 위치 및 정렬이 보장하도록 회전 핀(144) 위에 장착된다. 연결 핀(194)은 브래킷(186) 및 백업면(156, 158)을 통해 연장된다. 수직 결합면은 대응하는 장착면(156)과 맞닿는다. 이러한 구성에 의해, 가드레일들(180)은 핀 커넥터 조립체(140, 170)에 장착되며 데크와 결합될 필요가 없다. 확장 스테이지 표면의 가장자리 주변에 충분한 안전성이 제공되도록 견고한 지지와 강력한 연결이 이루어진다.
그러나, 본 발명의 구조 및 기능의 세부 사항과 함께, 본 발명의 다수의 특징들 및 장점들이 전술한 설명에서 제시되었지만, 본 발명은 단지 예시적인 것이며, 세부적으로 변경이 있을 수 있고, 특히 발명의 원리에서부터 청구범위에 표현되는 용어들의 광범위한 일반적 의미에 의해 지시되는 전체 범위 내에서 부품들의 형태, 크기 및 배열 사항들은 세부적으로 변경될 수 있다.

Claims (15)

  1. 데크(104)를 관통하여 수직으로 연장되는 관통홀(136)을 갖는 데크(104);
    상기 데크(104) 아래에 배치되는 프레임(102);
    상기 관통홀(136) 내로 연장되고, 위에서 결합되도록 구성된 상부 결합부를 가지는 핀(146); 및
    상기 프레임(102) 상에 장착되고 상기 핀(146)에 부착되며, 상기 핀(146)이 제 1 방향으로 회전할 때 상기 데크(104)를 상승시키는 높이 조절 조립체(160)를 포함하는 것을 특징으로 하는 휴대용 스테이지 시스템(100, 200, 300).
  2. 제 1 항에 있어서,
    상기 높이 조절 조립체(160)는 상기 핀(146)이 제 2 방향으로 회전할 때 데크(104)를 하강시키는 것을 특징으로 하는 휴대용 시스템(100, 200, 300).
  3. 제 1 항 또는 제 2 항에 있어서,
    상기 높이 조절 조립체(160)는 상기 핀 부분(146)이 부싱(162)에 나사 식으로 장착되도록 하는 로드 부분(164)을 포함하는 것을 특징으로 하는 휴대용 시스템(100, 200, 300).
  4. 제 1 항 내지 제 3 항 중 어느 한 항에 있어서,
    상기 상부 결합부는 상기 핀(146)의 상면에 툴 결합 요소를 포함하고, 상보적인 툴에 의해 위에서 결합되도록 구성되는 것을 특징으로 하는 휴대용 시스템(100, 200, 300).
  5. 제 1 항 내지 제 4 항 중 어느 한 항에 있어서,
    상기 핀(146) 주위의 관통홀(136) 내에 슬리브(138A)를 더 포함하는 것을 특징으로 하는 휴대용 스테이지 시스템(100, 200, 300).
  6. 제 1 항 내지 제 5 항 중 어느 한 항에 있어서,
    상기 스테이지(100)는 복수 개의 상기 데크들(104)을 포함하고,
    상기 프레임(102)은 복수 개의 상기 데크들(104)을 지지하도록 구성되는 것을 특징으로 하는 휴대용 스테이지 시스템(100, 200, 300).
  7. 제 1 항 내지 제6 항 중 어느 한 항에 있어서,
    핀 커넥터 조립체(140)를 포함하고, 상기 핀 커넥터 조립체(140)는 하우징(142) 및 상기 하우징(142)으로부터 연장되는 3개의 암들(142A, 142B, 142C)을 포함하며, 각각의 상기 암들(142A, 142B, 142C)에는 추가 핀(144)이 장착되어 있고;
    상기 추가 핀들(144)은 서로 이격되어 있어 추가 데크들(104)의 관통홀들(136) 내로 연장되며 추가 데크들(104)의 코너를 지지하는 것을 특징으로 하는 휴대용 스테이지 시스템(100, 200, 300)
  8. 제 7 항에 있어서,
    상기 추가 핀들(144)은 상기 암들(142A, 142B, 142C)에 회전 가능하게 장착되고, 상기 핀 커넥터 조립체(140)는 데크(104) 아래에 하나 이상의 암들(142A, 142B, 142C)을 위치시키기 위해 회전 가능하게 장착되는 하우징(142)을 포함하는 것을 특징으로 하는 휴대용 스테이지 시스템(100, 200, 300).
  9. 제 1 항 내지 제 8 항 중 어느 한 항에 있어서,
    상기 프레임은 상기 데크(104)를 지지하는 접이식 프레임워크(102)를 포함하고, 상기 데크(104)는 상기 프레임워크(102)에 탈착 가능하게 장착되며;
    상기 프레임워크(102)는 제 1 및 제 2 측면 프레임워크 조립체(106)와, 제 1 및 제 2 단부 프레임워크 조립체(108)를 포함하고,
    상기 제 1 및 제 2 측면 프레임워크 조립체들은 상기 데크(104)의 대향 측면들에 근접하며, 각각의 제 1 및 제 2 프레임워크 조립체들은 하부 프레임 부재(112) 및 2개의 경사 프레임부(114)에 의해 연결되는 수직 기둥들(118)을 포함하고, 각각의 경사 프레임부(114)는 수직 기둥들(118) 중 하나의 상부로부터 하부 프레임 부재(112)의 중앙부로 하향 연장되며, 상기 경사 프레임부(114)는 상기 데크(104) 아래에 트인 공간을 형성하고;
    상기 제 1 및 제 2 단부 프레임워크 조립체들(108)은 상기 데크(104)의 대향 단부들에 근접하며, 상기 제 1 및 제 2 단부 프레임워크 조립체들(108)은 상기 제 1 및 제 2 측면 프레임워크 조립체들(106)을 연결하고, 각각의 상기 제 1 및 제 2 단부 프레임워크 조립체들(108)은 제 1 및 제 2 단부 프레임 부재들(116)을 포함하며, 상기 제 1 단부 프레임 부재(116)는 상기 제 2 단부 프레임 부재(116)에 피봇 식으로 연결되고, 상기 제 1 단부 프레임 부재(116)는 상기 제 1 측면 프레임워크 조립체(106)에 피봇 식으로 연결되며, 상기 제 2 단부 프레임 부재(116)는 상기 제 2 측면 프레임워크 조립체(106)에 피봇 식으로 연결되고, 상기 프레임워크(102)는 펼친 위치로부터 접힌 위치로 접혀지며, 상기 제 1 및 제 2 측면 프레임워크 조립체들은 펼친 위치보다 접힌 위치에서 더 가까워지는 것을 특징으로 하는 휴대용 스테이지 시스템(100, 200, 300).
  10. 제 9 항에 있어서,
    상기 제 1 및 제 2 단부 프레임 부재들(106)은 접힌 위치에서 내측으로 접히고, 상기 접이식 프레임(102)을 선택적으로 보유하는 잠금 가능한 힌지(132)에 의해 연결되는 것을 특징으로 하는 휴대용 스테이지 시스템(100, 200, 300).
  11. 제 9 항 또는 제 10 항에 있어서,
    상기 접이식 프레임 워크(102)는 복수 개의 상기 데크들(104)을 지지하도록 구성되는 것을 특징으로 하는 휴대용 스테이지 시스템(100, 200, 300).
  12. 제 7 항에 있어서,
    상기 핀 커넥터 조립체(140)에 장착되는 가드레일(180)을 포함하고,
    상기 가드레일(180)은 크로스 부재(182); 상기 크로스 부재(182)를 지지하는 레그(184); 및 상기 레그(184)에 부착되는 장착 브래킷(186)을 포함하며,
    상기 장착 브래킷(186)은 상기 핀(146)을 수용하도록 구성되는 오리피스(190) 및 상기 커넥터 조립체와 결합하기 위해 구성되는 수직 결합면(192)을 갖는 플랜지(188)를 포함하는 것을 특징으로 하는 휴대용 스테이지 시스템(100, 200, 300).
  13. 제 7 항에 있어서,
    상기 핀 커넥터 조립체(140)는 상기 암(142A, 142B, 142C) 상에 형성된 가드레일 장착면(156) 및 백업 장착면(158)을 포함하고,
    상기 가드레일(180)은 상기 핀 커넥터 조립체(140)에 장착되며, 상기 가드레일 장착면(156) 및 상기 백업 장착면(158)은 상기 가드레일(180)이 상기 데크(104)의 가장자리에 평행하게 위치될 수 있도록 배향되는 것을 특징으로 하는 휴대용 스테이지 시스템(100, 200, 300).
  14. 제 1 항에 있어서,
    핀 커넥터 조립체(140)를 더 포함하고,
    상기 핀 커넥터 조립체는 암들(142A, 142B, 142C)에 장착된 복수 개의 핀들(144, 146)을 포함하며 하우징(142)으로부터 연장되고, 상기 복수 개의 핀들(144, 146)은 이격되어 있어 각각의 핀이 상기 데크(104)의 대응하는 관통홀 내로 연장되도록 구성되고,
    상기 하우징(142)은 하나 이상의 상기 암을 상기 데크(104) 아래에 위치시키도록 회전 가능하게 장착되며, 상기 핀 커넥터 조립체(140)를 선택된 방향으로 위치시키기 위한 해제 조립체를(148)를 포함하는 것을 특징으로 하는 휴대용 스테이지 시스템(100, 200, 300).
  15. 제 14 항에 있어서,
    상기 해제 조립체(148)는 핸들(150), 핀(152) 및 스프링(154)을 포함하고,
    상기 핀(152)은 상기 하우징(142)의 대응하는 오리피스를 통해 선택적으로 연장되는 것을 특징으로 하는 휴대용 스테이지 시스템(100, 200, 300).
KR1020207000289A 2017-06-09 2018-06-08 휴대용 스테이지 시스템 Active KR102403156B1 (ko)

Applications Claiming Priority (3)

Application Number Priority Date Filing Date Title
US201762517249P 2017-06-09 2017-06-09
US62/517,249 2017-06-09
PCT/US2018/036735 WO2018227141A1 (en) 2017-06-09 2018-06-08 Portable stage system

Publications (2)

Publication Number Publication Date
KR20200015714A true KR20200015714A (ko) 2020-02-12
KR102403156B1 KR102403156B1 (ko) 2022-05-30

Family

ID=62784252

Family Applications (1)

Application Number Title Priority Date Filing Date
KR1020207000289A Active KR102403156B1 (ko) 2017-06-09 2018-06-08 휴대용 스테이지 시스템

Country Status (9)

Country Link
US (1) US11060308B2 (ko)
EP (1) EP3635198B1 (ko)
JP (1) JP7111748B2 (ko)
KR (1) KR102403156B1 (ko)
CN (1) CN110753774B (ko)
AU (1) AU2018279847B2 (ko)
CA (1) CA3062344A1 (ko)
MX (1) MX2019014673A (ko)
WO (1) WO2018227141A1 (ko)

Families Citing this family (5)

* Cited by examiner, † Cited by third party
Publication number Priority date Publication date Assignee Title
US11041932B2 (en) * 2019-02-22 2021-06-22 Eagle Technology, Llc Enhanced LORAN (eLORAN) system having corrected additional secondary factor (ASF) data
US11073592B2 (en) * 2019-07-17 2021-07-27 Eagle Technology, Llc Enhanced LORAN system generating correction factors based upon satellite-derived data and related methods
KR102469207B1 (ko) * 2021-04-30 2022-11-23 한국조선해양 주식회사 접철식 작업대
KR102469208B1 (ko) * 2021-04-30 2022-11-23 한국조선해양 주식회사 잠금기능을 구비한 접철식 작업대
JP7424694B1 (ja) 2023-02-07 2024-01-30 綜建産業株式会社 仮設ステージ

Citations (3)

* Cited by examiner, † Cited by third party
Publication number Priority date Publication date Assignee Title
US5323563A (en) * 1992-07-31 1994-06-28 Stageright Corporation Retractable locators for deck panels of portable staging
US6164016A (en) * 1997-08-01 2000-12-26 Sico Incorporated Deck connector
US20040020154A1 (en) * 2000-07-22 2004-02-05 Hubertus Greschbach Module for building platforms

Family Cites Families (36)

* Cited by examiner, † Cited by third party
Publication number Priority date Publication date Assignee Title
US3181203A (en) * 1961-02-15 1965-05-04 Harry J Wenger Portable stage and shell
US3777434A (en) * 1971-04-26 1973-12-11 Weyerhaeuser Co Connector
US4026221A (en) 1975-10-29 1977-05-31 Sico Incorporated Multi-leg mobile folding stage
US4054096A (en) 1976-04-06 1977-10-18 Sico Incorporated Mobile elevationally adjustable stage
US4100858A (en) 1977-01-21 1978-07-18 Sico Incorporated Folding wall table
US4327650A (en) 1979-02-01 1982-05-04 Sico Incorporated Support structure for mobile folding stage
US4296573A (en) 1979-07-18 1981-10-27 Sico Incorporated Audience control barrier
US4301627A (en) 1979-08-17 1981-11-24 Sico Incorporated Guard rails for portable stages
EP0381674B1 (en) 1987-07-31 1993-03-31 Sico Incorporated Mobile folding choral riser
US4843792A (en) 1988-06-27 1989-07-04 Stageright Corporation Socket support and interlock for staging panels
US4949649A (en) * 1989-04-28 1990-08-21 Sico Incorporated Folding stages
US5050353C1 (en) * 1990-07-06 2001-05-01 Stageright Corp Foldable multi-level staging and seating support
US5325640A (en) 1991-08-09 1994-07-05 Sico Incorporated Folding stage system
CA2101577C (en) * 1992-07-31 2005-06-07 Dale L. Taipale Modular portable stage system
US5317842A (en) 1992-07-31 1994-06-07 Stageright Corporation Fold and roll retractable locator
JP2574429Y2 (ja) * 1992-09-25 1998-06-11 三精輸送機株式会社 可搬ステージの保持装置
US5323564A (en) * 1992-10-02 1994-06-28 Showtech, Inc. Performance stage deck and assembly method
JPH0667709U (ja) * 1993-02-26 1994-09-22 株式会社越智工業所 ステージ等組立用の骨組
JP3339008B2 (ja) * 1993-11-02 2002-10-28 日本シコ株式会社 組立式床構造体
WO1995018901A1 (en) 1994-01-10 1995-07-13 Sico Incorporated Roller assembly lift mechanism
US5613450A (en) * 1994-11-10 1997-03-25 Sico Incorporated Mobile folding stage
US5660121A (en) 1995-02-24 1997-08-26 Sico Incorporated Folding framework and support legs
US6024026A (en) 1997-06-20 2000-02-15 Sico Incorporated Tri-height folding stage
US6014936A (en) * 1997-07-30 2000-01-18 Stageright Corporation Variable height fold and roll staging and method of assembling same
US6070367A (en) 1997-08-01 2000-06-06 Sico Incorporated Folding stage
US6082051A (en) 1998-07-23 2000-07-04 Sico Incorporated Folding stage
US6164017A (en) 1999-01-06 2000-12-26 Sico Incorporated Adjustable linkage
CN2515369Y (zh) * 2001-10-29 2002-10-09 张旭 一种可折叠平台的支撑结构
CN2908669Y (zh) * 2006-03-20 2007-06-06 碧卡株式会社 便携式操作台
CN201180380Y (zh) * 2008-01-18 2009-01-14 袁燕卫 一种便携式舞台
US8376307B2 (en) * 2010-06-03 2013-02-19 Robert Bosch Gmbh Foldable stand for a portable power tool
US20130019539A1 (en) 2011-07-22 2013-01-24 Sico Incorporated Portable seating system
JP5860826B2 (ja) 2013-02-21 2016-02-16 弘高 春田 折り立て収納式舞台
CN203569923U (zh) * 2013-08-26 2014-04-30 李德俅 可折叠式舞台
NO337317B1 (no) * 2013-11-04 2016-03-07 Ipi Access As Sammenleggbar, langstrakt bærekonstruksjonsmodul og en sammenleggbar, langstrakt modulær bjelkekonstruksjon.
CN205476646U (zh) * 2016-02-03 2016-08-17 北京新朗景艺术工程设计制作有限公司 一种新型舞台升降装置

Patent Citations (3)

* Cited by examiner, † Cited by third party
Publication number Priority date Publication date Assignee Title
US5323563A (en) * 1992-07-31 1994-06-28 Stageright Corporation Retractable locators for deck panels of portable staging
US6164016A (en) * 1997-08-01 2000-12-26 Sico Incorporated Deck connector
US20040020154A1 (en) * 2000-07-22 2004-02-05 Hubertus Greschbach Module for building platforms

Also Published As

Publication number Publication date
EP3635198A1 (en) 2020-04-15
US11060308B2 (en) 2021-07-13
CN110753774A (zh) 2020-02-04
WO2018227141A1 (en) 2018-12-13
NZ758763A (en) 2024-03-22
CA3062344A1 (en) 2018-12-13
MX2019014673A (es) 2020-02-07
KR102403156B1 (ko) 2022-05-30
JP7111748B2 (ja) 2022-08-02
EP3635198B1 (en) 2021-08-25
AU2018279847A1 (en) 2020-01-02
AU2018279847B2 (en) 2023-05-25
CN110753774B (zh) 2022-03-01
US20180355629A1 (en) 2018-12-13
JP2020523503A (ja) 2020-08-06

Similar Documents

Publication Publication Date Title
KR102403156B1 (ko) 휴대용 스테이지 시스템
US8701692B2 (en) Collapsible portable shelter
US3071204A (en) Adjustable scaffolding
US4986330A (en) Privacy booth
US4932333A (en) Stabilizing wheels for folding table
US10507572B2 (en) Workbench
US20180002982A1 (en) Ladder
KR101851556B1 (ko) 절첩식 책상
CA2227653C (en) Game table tilt and roll support
WO2016131839A1 (en) Collapsible elevated platforms
US20140345039A1 (en) Collapsible toilet enclosure
CN1265721A (zh) 面板连接件
US6082051A (en) Folding stage
US7686134B1 (en) Ladder support and bracing apparatus
KR101608803B1 (ko) 폭 조절 사다리
CN117223689B (zh) 一种快拆连接结构及具有该结构的钓台
KR101552245B1 (ko) 작업 반경 확장형 고소작업대
KR200474196Y1 (ko) 야전 침대 프레임
DE202012008101U1 (de) Bühnenpodestelement
KR101565301B1 (ko) 테이블용 다리장치
US20080282620A1 (en) Portable bar-b-q platform
GB2446445A (en) Stepped podium access tower
CN220550727U (zh) 一种稳定多用途可移动隔断
CA2559505C (en) Attached foldup camper stand
US10045622B1 (en) Telescoping observation chair assembly including seat and footrest

Legal Events

Date Code Title Description
PA0105 International application

Patent event date: 20200106

Patent event code: PA01051R01D

Comment text: International Patent Application

PG1501 Laying open of application
PA0201 Request for examination

Patent event code: PA02012R01D

Patent event date: 20210430

Comment text: Request for Examination of Application

PA0302 Request for accelerated examination

Patent event date: 20210430

Patent event code: PA03022R01D

Comment text: Request for Accelerated Examination

E902 Notification of reason for refusal
PE0902 Notice of grounds for rejection

Comment text: Notification of reason for refusal

Patent event date: 20210930

Patent event code: PE09021S01D

E701 Decision to grant or registration of patent right
PE0701 Decision of registration

Patent event code: PE07011S01D

Comment text: Decision to Grant Registration

Patent event date: 20220225

GRNT Written decision to grant
PR0701 Registration of establishment

Comment text: Registration of Establishment

Patent event date: 20220524

Patent event code: PR07011E01D

PR1002 Payment of registration fee

Payment date: 20220525

End annual number: 3

Start annual number: 1

PG1601 Publication of registration