KR20190141965A - 마스크의 제조 방법 - Google Patents

마스크의 제조 방법 Download PDF

Info

Publication number
KR20190141965A
KR20190141965A KR1020180068839A KR20180068839A KR20190141965A KR 20190141965 A KR20190141965 A KR 20190141965A KR 1020180068839 A KR1020180068839 A KR 1020180068839A KR 20180068839 A KR20180068839 A KR 20180068839A KR 20190141965 A KR20190141965 A KR 20190141965A
Authority
KR
South Korea
Prior art keywords
mask
frame
manufacturing
mask pattern
plating film
Prior art date
Legal status (The legal status is an assumption and is not a legal conclusion. Google has not performed a legal analysis and makes no representation as to the accuracy of the status listed.)
Ceased
Application number
KR1020180068839A
Other languages
English (en)
Inventor
김봉진
장택용
Original Assignee
주식회사 티지오테크
Priority date (The priority date is an assumption and is not a legal conclusion. Google has not performed a legal analysis and makes no representation as to the accuracy of the date listed.)
Filing date
Publication date
Application filed by 주식회사 티지오테크 filed Critical 주식회사 티지오테크
Priority to KR1020180068839A priority Critical patent/KR20190141965A/ko
Publication of KR20190141965A publication Critical patent/KR20190141965A/ko
Ceased legal-status Critical Current

Links

Images

Classifications

    • HELECTRICITY
    • H10SEMICONDUCTOR DEVICES; ELECTRIC SOLID-STATE DEVICES NOT OTHERWISE PROVIDED FOR
    • H10KORGANIC ELECTRIC SOLID-STATE DEVICES
    • H10K71/00Manufacture or treatment specially adapted for the organic devices covered by this subclass
    • H01L51/56
    • GPHYSICS
    • G03PHOTOGRAPHY; CINEMATOGRAPHY; ANALOGOUS TECHNIQUES USING WAVES OTHER THAN OPTICAL WAVES; ELECTROGRAPHY; HOLOGRAPHY
    • G03FPHOTOMECHANICAL PRODUCTION OF TEXTURED OR PATTERNED SURFACES, e.g. FOR PRINTING, FOR PROCESSING OF SEMICONDUCTOR DEVICES; MATERIALS THEREFOR; ORIGINALS THEREFOR; APPARATUS SPECIALLY ADAPTED THEREFOR
    • G03F7/00Photomechanical, e.g. photolithographic, production of textured or patterned surfaces, e.g. printing surfaces; Materials therefor, e.g. comprising photoresists; Apparatus specially adapted therefor
    • G03F7/20Exposure; Apparatus therefor
    • G03F7/2051Exposure without an original mask, e.g. using a programmed deflection of a point source, by scanning, by drawing with a light beam, using an addressed light or corpuscular source
    • G03F7/2059Exposure without an original mask, e.g. using a programmed deflection of a point source, by scanning, by drawing with a light beam, using an addressed light or corpuscular source using a scanning corpuscular radiation beam, e.g. an electron beam
    • G03F7/2063Exposure without an original mask, e.g. using a programmed deflection of a point source, by scanning, by drawing with a light beam, using an addressed light or corpuscular source using a scanning corpuscular radiation beam, e.g. an electron beam for the production of exposure masks or reticles
    • HELECTRICITY
    • H01ELECTRIC ELEMENTS
    • H01LSEMICONDUCTOR DEVICES NOT COVERED BY CLASS H10
    • H01L21/00Processes or apparatus adapted for the manufacture or treatment of semiconductor or solid state devices or of parts thereof
    • H01L21/02Manufacture or treatment of semiconductor devices or of parts thereof
    • H01L21/027Making masks on semiconductor bodies for further photolithographic processing not provided for in group H01L21/18 or H01L21/34
    • H01L21/033Making masks on semiconductor bodies for further photolithographic processing not provided for in group H01L21/18 or H01L21/34 comprising inorganic layers
    • H01L21/0334Making masks on semiconductor bodies for further photolithographic processing not provided for in group H01L21/18 or H01L21/34 comprising inorganic layers characterised by their size, orientation, disposition, behaviour, shape, in horizontal or vertical plane
    • H01L21/0337Making masks on semiconductor bodies for further photolithographic processing not provided for in group H01L21/18 or H01L21/34 comprising inorganic layers characterised by their size, orientation, disposition, behaviour, shape, in horizontal or vertical plane characterised by the process involved to create the mask, e.g. lift-off masks, sidewalls, or to modify the mask, e.g. pre-treatment, post-treatment
    • H01L51/0018
    • HELECTRICITY
    • H10SEMICONDUCTOR DEVICES; ELECTRIC SOLID-STATE DEVICES NOT OTHERWISE PROVIDED FOR
    • H10KORGANIC ELECTRIC SOLID-STATE DEVICES
    • H10K71/00Manufacture or treatment specially adapted for the organic devices covered by this subclass
    • H10K71/20Changing the shape of the active layer in the devices, e.g. patterning
    • H10K71/231Changing the shape of the active layer in the devices, e.g. patterning by etching of existing layers
    • H10K71/233Changing the shape of the active layer in the devices, e.g. patterning by etching of existing layers by photolithographic etching

Landscapes

  • Engineering & Computer Science (AREA)
  • Manufacturing & Machinery (AREA)
  • Physics & Mathematics (AREA)
  • General Physics & Mathematics (AREA)
  • Inorganic Chemistry (AREA)
  • Condensed Matter Physics & Semiconductors (AREA)
  • Chemical & Material Sciences (AREA)
  • Computer Hardware Design (AREA)
  • Microelectronics & Electronic Packaging (AREA)
  • Power Engineering (AREA)
  • Health & Medical Sciences (AREA)
  • Toxicology (AREA)
  • Electroluminescent Light Sources (AREA)

Abstract

본 발명은 마스크의 제조 방법에 관한 것이다. 본 발명에 따른 마스크의 제조 방법은, (a) 전도성 기재(50)를 제공하는 단계, (b) 전도성 기재(50)를 음극체(Cathode Body)로 사용하고, 전주 도금(Electroforming)으로 전도성 기재(50)의 일면 상에 도금막(110)을 형성하는 단계, (c) 도금막(110)의 일면 상에 패턴화된 절연부(M)를 형성하는 단계, (d) 도금막(110)의 일면에서 습식 식각(WE)으로 소정 깊이만큼 제1 마스크 패턴(P1)을 형성하는 단계, 및 (e) 레이저 식각(LE) 또는 건식 식각(DE)으로 제1 마스크 패턴(P1)에서부터 도금막(110)의 타면을 관통하는 제2 마스크 패턴(P2)을 형성하는 단계를 포함하는 것을 특징으로 한다.

Description

마스크의 제조 방법 {PRODUCING METHOD OF MASK}
본 발명은 마스크의 제조 방법에 관한 것이다. 보다 상세하게는, 마스크 패턴의 크기와 위치를 명확하게 제어할 수 있는 마스크의 제조 방법에 관한 것이다.
최근에 박판 제조에 있어서 전주 도금(Electroforming) 방법에 대한 연구가 진행되고 있다. 전주 도금 방법은 전해액에 양극체, 음극체를 침지하고, 전원을 인가하여 음극체의 표면상에 금속박판을 전착시키므로, 극박판을 제조할 수 있으며, 대량 생산을 기대할 수 있는 방법이다.
한편, OLED 제조 공정에서 화소를 형성하는 기술로, 박막의 금속 마스크(Shadow Mask)를 기판에 밀착시켜서 원하는 위치에 유기물을 증착하는 FMM(Fine Metal Mask) 법이 주로 사용된다.
기존의 마스크 제조 방법은, 마스크로 사용될 금속 박판을 마련하고, 금속 박판 상에 PR 코팅 후 패터닝을 하거나, 패턴을 가지도록 PR 코팅한 후, 식각을 통해 패턴을 가지는 마스크를 제조하였다. 하지만, 새도우 이펙트(Shadow Effect)를 막기 위해 테이퍼(Taper) 형상으로 경사지도록 마스크 패턴을 형성하는 것은 쉽지 않고, 별도의 공정이 수반되므로, 공정 시간, 비용이 증가하고, 생산성이 낮아지는 문제점이 있었다.
초고화질의 OLED의 경우, 현재 QHD 화질은 500~600 PPI(pixel per inch)로 화소의 크기가 약 30~50㎛에 이르며, 4K UHD, 8K UHD 고화질은 이보다 높은 ~860 PPI, ~1600 PPI 등의 해상도를 가지게 된다. 따라서, 마스크 패턴의 크기를 정밀하게 조절하는 기술 개발이 필요한 실정이다.
한편, 기존의 OLED 제조 공정에서는 마스크를 스틱 형태, 플레이트 형태 등으로 제조한 후, 마스크를 OLED 화소 증착 프레임에 용접 고정시켜 사용한다. 대면적 OLED 제조를 위해서 여러 개의 마스크를 OLED 화소 증착 프레임에 고정시킬 수 있는데, 프레임에 고정하는 과정에서 각 마스크가 평평하게 되도록 인장을 하게 된다. 여러 개의 마스크를 하나의 프레임에 고정시키는 과정에서 마스크 상호간에, 그리고 마스크 셀들의 상호간에 정렬이 잘 되지 않는 문제점이 있었다. 또한, 마스크를 프레임에 용접 고정하는 과정에서 마스크 막의 두께가 너무 얇고 대면적이기 때문에 하중에 의해 마스크가 쳐지거나 뒤틀어지는 문제점이 있었다.
이렇듯 초고화질의 OLED의 화소 크기를 고려하여 각 셀들간의 정렬 오차를 수 ㎛ 정도로 감축시켜야 하며, 이를 벗어나는 오차는 제품의 실패로 이어지게 되므로 수율이 매우 낮아지게 될 수 있다. 그러므로, 마스크가 쳐지거나 뒤틀리는 등의 변형을 방지하고, 정렬을 명확하게 할 수 있는 기술, 마스크를 프레임에 고정하는 기술 등의 개발이 필요한 실정이다.
따라서, 본 발명은 상기와 같은 종래 기술의 제반 문제점을 해결하기 위하여 안출된 것으로서, 마스크 패턴의 크기를 정밀하게 제어할 수 있는 마스크의 제조 방법을 제공하는 것을 그 목적으로 한다.
본 발명의 상기의 목적은, (a) 전도성 기재를 제공하는 단계; (b) 전도성 기재를 음극체(Cathode Body)로 사용하고, 전주 도금(Electroforming)으로 전도성 기재의 일면 상에 도금막을 형성하는 단계; (c) 도금막의 일면 상에 패턴화된 절연부를 형성하는 단계; (d) 도금막의 일면에서 습식 식각으로 소정 깊이만큼 제1 마스크 패턴을 형성하는 단계; 및 (e) 레이저 식각 또는 건식 식각으로 제1 마스크 패턴에서부터 도금막의 타면을 관통하는 제2 마스크 패턴을 형성하는 단계를 포함하는, 마스크의 제조 방법에 의해 달성된다.
그리고, 본 발명의 상기의 목적은, (a) 도금막의 일면 상에 패턴화된 절연부를 형성하는 단계; (b) 도금막의 일면에서 습식 식각으로 소정 깊이만큼 제1 마스크 패턴을 형성하는 단계; 및 (c) 레이저 식각 또는 건식 식각으로 제1 마스크 패턴에서부터 도금막의 타면을 관통하는 제2 마스크 패턴을 형성하는 단계를 포함하는, 마스크의 제조 방법에 의해 달성된다.
제1 마스크 패턴보다 제2 마스크 패턴의 폭이 좁을 수 있다.
제2 마스크 패턴의 폭은 적어도 35㎛보다 작을 수 있다.
(d) 단계에서, 소정 깊이의 값은 도금막의 두께보다 적을 수 있다.
제1 마스크 패턴 및 제2 마스크 패턴의 형상의 합은 전체적으로 테이퍼 형상 또는 역테이퍼 형상을 나타낼 수 있다.
제1 마스크 패턴의 두께가 제2 마스크 패턴의 두께보다 두꺼울 수 있다.
제1 및 제2 마스크 패턴이 형성된 도금막은 OLED 화소 증착에서 FMM(Fine Metal Mask)으로 사용될 수 있다.
도금막은 인바(invar), 슈퍼 인바(super invar), 니켈, 니켈-코발트 중 어느 하나의 재질일 수 있다.
도금막의 두께는 2㎛ 내지 50㎛일 수 있다.
기재는 도핑된 단결정 실리콘 재질일 수 있다.
기재는 인바(Invar), 슈퍼 인바(Super Invar), Si, Ti, Cu, Ag, GaN, SiC, GaAs, GaP, AlN, InN, InP, Ge, Al2O3, 흑연(graphite), 그래핀(graphene), 페로브스카이트(perovskite) 구조의 세라믹, 초내열합금 재질 중 어느 하나일 수 있다.
기재가 GaN, SiC, GaAs, GaP, AlN, InN, InP, Ge 재질 중 하나인 경우, 기재는 적어도 1019 cm-3 이상 도핑될 수 있다.
절연부는 포토레지스트 재질일 수 있다.
(b) 단계에서, 도금막을 형성한 후 열처리하는 단계를 더 포함할 수 있다.
열처리는 300℃ 내지 800℃로 수행할 수 있다.
상기와 같이 구성된 본 발명에 따르면, 마스크 패턴의 크기와 위치를 정밀하게 제어할 수 있는 효과가 있다.
도 1은 종래의 OLED 화소 증착용 마스크를 나타내는 개략도이다.
도 2는 종래의 마스크를 프레임에 접착하는 과정을 나타내는 개략도이다.
도 3은 종래의 마스크를 인장하는 과정에서 셀들간의 정렬 오차가 발생하는 것을 나타내는 개략도이다.
도 4는 본 발명의 일 실시예에 따른 프레임 일체형 마스크를 나타내는 정면도 및 측단면도이다.
도 5는 본 발명의 일 실시예에 따른 프레임을 나타내는 정면도 및 측단면도이다.
도 6은 본 발명의 일 실시예에 따른 마스크를 나타내는 개략도이다.
도 7은 종래의 마스크의 제조 과정을 나타내는 개략도이다.
도 8 및 도 9는 본 발명의 일 실시예에 따른 마스크의 제조 과정을 나타내는 개략도이다.
도 10은 본 발명의 일 실시 예에 따른 열처리 후의 마스크의 열팽창계수(coefficient of expansion, CTE)를 나타내는 그래프이다.
도 11은 본 발명의 일 실시예에 따른 마스크를 프레임의 셀 영역에 대응시키는 상태를 나타내는 개략도이다.
도 12는 본 발명의 일 실시예에 따른 마스크를 프레임의 셀 영역에 대응하여 접착하는 과정을 나타내는 개략도이다.
도 13은 본 발명의 일 실시예에 따른 마스크를 프레임의 셀 영역에 접착한 후 공정 영역의 온도를 하강시키는 과정을 나타내는 개략도이다.
도 14는 본 발명의 일 실시예에 따른 프레임 일체형 마스크를 이용한 OLED 화소 증착 장치를 나타내는 개략도이다.
후술하는 본 발명에 대한 상세한 설명은, 본 발명이 실시될 수 있는 특정 실시예를 예시로서 도시하는 첨부 도면을 참조한다. 이들 실시예는 당업자가 본 발명을 실시할 수 있기에 충분하도록 상세히 설명된다. 본 발명의 다양한 실시예는 서로 다르지만 상호 배타적일 필요는 없음이 이해되어야 한다. 예를 들어, 여기에 기재되어 있는 특정 형상, 구조 및 특성은 일 실시예에 관련하여 본 발명의 정신 및 범위를 벗어나지 않으면서 다른 실시예로 구현될 수 있다. 또한, 각각의 개시된 실시예 내의 개별 구성요소의 위치 또는 배치는 본 발명의 정신 및 범위를 벗어나지 않으면서 변경될 수 있음이 이해되어야 한다. 따라서, 후술하는 상세한 설명은 한정적인 의미로서 취하려는 것이 아니며, 본 발명의 범위는, 적절하게 설명된다면, 그 청구항들이 주장하는 것과 균등한 모든 범위와 더불어 첨부된 청구항에 의해서만 한정된다. 도면에서 유사한 참조부호는 여러 측면에 걸쳐서 동일하거나 유사한 기능을 지칭하며, 길이 및 면적, 두께 등과 그 형태는 편의를 위하여 과장되어 표현될 수도 있다.
이하에서는, 본 발명이 속하는 기술분야에서 통상의 지식을 가진 자가 본 발명을 용이하게 실시할 수 있도록 하기 위하여, 본 발명의 바람직한 실시예들에 관하여 첨부된 도면을 참조하여 상세히 설명하기로 한다.
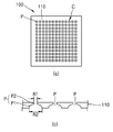
도 1은 종래의 OLED 화소 증착용 마스크(10)를 나타내는 개략도이다.
도 1을 참조하면, 종래의 마스크(10)는 스틱형(Stick-Type) 또는 판형(Plate-Type)으로 제조될 수 있다. 도 1의 (a)에 도시된 마스크(10)는 스틱형 마스크로서, 스틱의 양측을 OLED 화소 증착 프레임에 용접 고정시켜 사용할 수 있다. 도 1의 (b)에 도시된 마스크(100)는 판형(Plate-Type) 마스크로서, 넓은 면적의 화소 형성 공정에서 사용될 수 있다.
마스크(10)의 바디(Body)[또는, 마스크 막(11)]에는 복수의 디스플레이 셀(C)이 구비된다. 하나의 셀(C)은 스마트폰 등의 디스플레이 하나에 대응한다. 셀(C)에는 디스플레이의 각 화소에 대응하도록 화소 패턴(P)이 형성된다. 셀(C)을 확대하면 R, G, B에 대응하는 복수의 화소 패턴(P)이 나타난다. 일 예로, 셀(C)에는 70 X 140의 해상도를 가지도록 화소 패턴(P)이 형성된다. 즉, 수많은 화소 패턴(P)들은 군집을 이루어 셀(C) 하나를 구성하며, 복수의 셀(C)들이 마스크(10)에 형성될 수 있다.
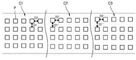
도 2는 종래의 마스크(10)를 프레임(20)에 접착하는 과정을 나타내는 개략도이다. 도 3은 종래의 마스크(10)를 인장(F1~F2)하는 과정에서 셀들간의 정렬 오차가 발생하는 것을 나타내는 개략도이다. 도 1의 (a)에 도시된 6개의 셀(C: C1~C6)을 구비하는 스틱 마스크(10)를 예로 들어 설명한다.
도 2의 (a)를 참조하면, 먼저, 스틱 마스크(10)를 평평하게 펴야한다. 스틱 마스크(10)의 장축 방향으로 인장력(F1~F2)을 가하여 당김에 따라 스틱 마스크(10)가 펴지게 된다. 그 상태로 사각틀 형태의 프레임(20) 상에 스틱 마스크(10)를 로딩한다. 스틱 마스크(10)의 셀(C1~C6)들은 프레임(20)의 틀 내부 빈 영역 부분에 위치하게 된다. 프레임(20)은 하나의 스틱 마스크(10)의 셀(C1~C6)들이 틀 내부 빈 영역에 위치할 정도의 크기일 수 있고, 복수의 스틱 마스크(10)의 셀(C1~C6)들이 틀 내부 빈 영역에 위치할 정도의 크기일 수도 있다.
도 2의 (b)를 참조하면, 스틱 마스크(10)의 각 측에 가하는 인장력(F1~F2)을 미세하게 조절하면서 정렬을 시킨 후, 스틱 마스크(10) 측면의 일부를 용접(W)함에 따라 스틱 마스크(10)와 프레임(20)을 상호 연결한다. 도 2의 (c)는 상호 연결된 스틱 마스크(10)와 프레임의 측단면을 나타낸다.
도 3을 참조하면, 스틱 마스크(10)의 각 측에 가하는 인장력(F1~F2)을 미세하게 조절함에도 불구하고, 마스크 셀(C1~C3)들의 상호간에 정렬이 잘 되지 않는 문제점이 나타난다. 가령, 셀(C1~C3)들의 패턴(P)간에 거리(D1~D1", D2~D2")가 상호 다르게 되거나, 패턴(P)들이 비뚤어지는 것이 그 예이다. 스틱 마스크(10)는 복수(일 예로, 6개)의 셀(C1~C6)을 포함하는 대면적이고, 수십 ㎛ 수준의 매우 얇은 두께를 가지기 때문에, 하중에 의해 쉽게 쳐지거나 뒤틀어지게 된다. 또한, 각 셀(C1~C6)들을 모두 평평하게 하도록 인장력(F1~F2)을 조절하면서, 각 셀(C1~C6)들간의 정렬 상태를 현미경을 통해 실시간으로 확인하는 것은 매우 어려운 작업이다.
따라서, 인장력(F1~F2)의 미세한 오차는 스틱 마스크(10) 각 셀(C1~C3)들이 늘어나거나, 펴지는 정도에 오차를 발생시킬 수 있고, 그에 따라 마스크 패턴(P)간에 거리(D1~D1", D2~D2")가 상이해지게 되는 문제점을 발생시킨다. 물론, 완벽하게 오차가 0이 되도록 정렬하는 것은 어려운 것이지만, 크기가 수 내지 수십 ㎛인 마스크 패턴(P)이 초고화질 OLED의 화소 공정에 악영향을 미치지 않도록 하기 위해서는, 정렬 오차가 3㎛를 초과하지 않는 것이 바람직하다. 이렇게 인접하는 셀 사이의 정렬 오차를 PPA(pixel position accuracy)라 지칭한다.
이에 더하여, 대략 6~20개 정도의 복수의 스틱 마스크(10)들을 프레임(20) 하나에 각각 연결하면서, 복수의 스틱 마스크(10)들간에, 그리고 스틱 마스크(10)의 복수의 셀(C~C6)들간에 정렬 상태를 명확히 하는 것도 매우 어려운 작업이고, 정렬에 따른 공정 시간이 증가할 수밖에 없게 되어 생산성을 감축시키는 중대한 이유가 된다.
한편, 스틱 마스크(10)를 프레임(20)에 연결 고정시킨 후에는, 스틱 마스크(10)에 가해졌던 인장력(F1~F2)이 프레임(20)에 역으로 작용할 수 있다. 즉, 인장력(F1~F2)에 의해 팽팽히 늘어났던 스틱 마스크(10)가 프레임(20)에 연결된 후에 프레임(20)에 장력(tension)을 작용할 수 있다. 보통 이 장력이 크지 않아서 프레임(20)에 큰 영향을 미치지 않을 수 있으나, 프레임(20)의 크기가 소형화되고 강성이 낮아지는 경우에는 이러한 장력이 프레임(20)을 미세하게 변형시킬 수 있다. 그리하면 복수의 셀(C~C6)들간에 정렬 상태가 틀어지는 문제가 발생할 수 있다.
이에, 본 발명은 마스크(100)가 프레임(200)과 일체형 구조를 이룰 수 있게 하는 프레임(200) 및 프레임 일체형 마스크를 제안한다. 프레임(200)에 일체로 형성되는 마스크(100)는 쳐지거나 뒤틀리는 등의 변형이 방지되고, 프레임(200)에 명확히 정렬될 수 있다. 마스크(100)가 프레임(200)에 연결될 때 마스크(100)에 어떠한 인장력도 가하지 않으므로, 마스크(100)가 프레임(200)에 연결된 후 프레임(200)이 변형될 정도의 장력을 가하지 않을 수 있다. 그리고, 마스크(100)를 프레임(200)에 일체로 연결하는 제조시간을 현저하게 감축시키고, 수율을 현저하게 상승시킬 수 있는 이점을 가진다.
도 4는 본 발명의 일 실시예에 따른 프레임 일체형 마스크를 나타내는 정면도[도 4의 (a)] 및 측단면도[도 4의 (b)]이고, 도 5는 본 발명의 일 실시예에 따른 프레임을 나타내는 정면도[도 5의 (a)] 및 측단면도[도 5의 (b)]이다.
도 4 및 도 5를 참조하면, 프레임 일체형 마스크는, 복수의 마스크(100) 및 하나의 프레임(200)을 포함할 수 있다. 다시 말해, 복수의 마스크(100)들을 각각 하나씩 프레임(200)에 접착한 형태이다. 이하에서는, 설명의 편의상 사각 형태의 마스크(100)를 예로 들어 설명하나, 마스크(100)들은 프레임(200)에 접착되기 전에는 양측에 클램핑되는 돌출부를 구비한 스틱 마스크 형태일 수 있으며, 프레임(200)에 접착된 후에 돌출부가 제거될 수 있다.
각각의 마스크(100)에는 복수의 마스크 패턴(P)이 형성되며, 하나의 마스크(100)에는 하나의 셀(C)이 형성될 수 있다. 하나의 마스크 셀(C)은 스마트폰 등의 디스플레이 하나에 대응할 수 있다. 얇은 두께로 형성할 수 있도록, 마스크(100)는 전주도금(electroforming)으로 형성될 수 있다. 마스크(100)는 열팽창계수가 약 1.0 X 10-6/℃인 인바(invar), 약 1.0 X 10-7/℃ 인 슈퍼 인바(super invar) 재질일 수 있다. 이 재질의 마스크(100)는 열팽창계수가 매우 낮기 때문에 열에너지에 의해 마스크의 패턴 형상이 변형될 우려가 적어 고해상도 OLED 제조에서 있어서 FMM(Fine Metal Mask), 새도우 마스크(Shadow Mask)로 사용될 수 있다. 이 외에, 최근에 온도 변화값이 크지 않은 범위에서 화소 증착 공정을 수행하는 기술들이 개발되는 것을 고려하면, 마스크(100)는 이보다 열팽창계수가 약간 큰 니켈(Ni), 니켈-코발트(Ni-Co) 등의 재질일 수도 있다. 마스크의 두께는 약 2㎛ 내지 50㎛ 정도로 형성될 수 있다.
프레임(200)은 복수의 마스크(100)를 접착시킬 수 있도록 형성된다. 프레임(200)은 최외곽 테두리를 포함해 제1 방향(예를 들어, 가로 방향), 제2 방향(예를 들어, 세로 방향)으로 형성되는 여러 모서리를 포함할 수 있다. 이러한 여러 모서리들은 프레임(200) 상에 마스크(100)가 접착될 구역을 구획할 수 있다.
프레임(200)은 대략 사각 형상, 사각틀 형상의 테두리 프레임부(210)를 포함할 수 있다. 테두리 프레임부(210)의 내부는 중공 형태일 수 있다. 즉, 테두리 프레임부(210)는 중공 영역(R)을 포함할 수 있다. 프레임(200)은 인바, 슈퍼인바, 알루미늄, 티타늄 등의 금속 재질로 구성될 수 있으며, 열변형을 고려하여 마스크와 동일한 열팽창계수를 가지는 인바, 슈퍼 인바, 니켈, 니켈-코발트 등의 재질로 구성되는 것이 바람직하고, 이 재질들은 프레임(200)의 구성요소인 테두리 프레임부(210), 마스크 셀 시트부(220)에 모두 적용될 수 있다.
이에 더하여, 프레임(200)은 복수의 마스크 셀 영역(CR)을 구비하며, 테두리 프레임부(210)에 연결되는 마스크 셀 시트부(220)를 포함할 수 있다. 마스크 셀 시트부(220)는 마스크(100)와 마찬가지로 전주도금으로 형성되거나, 그 외의 막 형성 공정을 사용하여 형성될 수 있다. 또한, 마스크 셀 시트부(220)는 평면의 시트(sheet)에 레이저 스크라이빙, 에칭 등을 통해 복수의 마스크 셀 영역(CR)을 형성한 후, 테두리 프레임부(210)에 연결할 수 있다. 또는, 마스크 셀 시트부(220)는 평면의 시트를 테두리 프레임부(210)에 연결한 후, 레이저 스크라이빙, 에칭 등을 통해 복수의 마스크 셀 영역(CR)을 형성할 수 있다. 본 명세서에서는 마스크 셀 시트부(220)에 먼저 복수의 마스크 셀 영역(CR)을 형성한 후, 테두리 프레임부(210)에 연결한 것을 주로 상정하여 설명한다.
마스크 셀 시트부(220)는 테두리 시트부(221) 및 제1, 2 그리드 시트부(223, 225) 중 적어도 하나를 포함하여 구성될 수 있다. 테두리 시트부(221) 및 제1, 2 그리드 시트부(223, 225)는 동일한 시트에서 구획된 각 부분을 지칭하며, 이들은 상호간에 일체로 형성된다.
테두리 시트부(221)가 실질적으로 테두리 프레임부(210)에 연결될 수 있다. 따라서, 테두리 시트부(221)는 테두리 프레임부(210)와 대응하는 대략 사각 형상, 사각틀 형상을 가질 수 있다.
또한, 제1 그리드 시트부(223)는 제1 방향(가로 방향)으로 연장 형성될 수 있다. 제1 그리드 시트부(223)는 직선 형태로 형성되어 양단이 테두리 시트부(221)에 연결될 수 있다. 마스크 셀 시트부(220)가 복수의 제1 그리드 시트부(223)를 포함하는 경우, 각각의 제1 그리드 시트부(223)는 동등한 간격을 이루는 것이 바람직하다.
또한, 이에 더하여, 제2 그리드 시트부(225)가 제2 방향(세로 방향)으로 연장 형성될 수 있다. 제2 그리드 시트부(225)는 직선 형태로 형성되어 양단이 테두리 시트부(221)에 연결될 수 있다. 제1 그리드 시트부(223)와 제2 그리드 시트부(225)는 서로 수직 교차될 수 있다. 마스크 셀 시트부(220)가 복수의 제2 그리드 시트부(225)를 포함하는 경우, 각각의 제2 그리드 시트부(225)는 동등한 간격을 이루는 것이 바람직하다.
한편, 제1 그리드 시트부(223)들 간의 간격과, 제2 그리드 시트부(225)들 간의 간격은 마스크 셀(C)의 크기에 따라서 동일하거나 상이할 수 있다.
제1 그리드 시트부(223) 및 제2 그리드 시트부(225)는 박막 형태의 얇은 두께를 가지지만, 길이 방향에 수직하는 단면의 형상은 직사각형, 평행사변형과 같은 사각형 형상, 삼각형 형상 등일 수 있고, 변, 모서리 부분이 일부 라운딩 될 수도 있다. 단면 형상은 레이저 스크라이빙, 에칭 등의 과정에서 조절 가능하다.
테두리 프레임부(210)의 두께는 마스크 셀 시트부(220)의 두께보다 두꺼울 수 있다. 테두리 프레임부(210)는 프레임(200)의 전체 강성을 담당하기 때문에 수mm 내지 수cm의 두께로 형성될 수 있다.
마스크 셀 시트부(220)의 경우는, 실질적으로 두꺼운 시트를 제조하는 공정이 어렵고, 너무 두꺼우면 OLED 화소 증착 공정에서 유기물 소스(600)[도 14 참조]가 마스크(100)를 통과하는 경로를 막는 문제를 발생시킬 수 있다. 반대로, 두께가 너무 얇아지면 마스크(100)를 지지할 정도의 강성 확보가 어려울 수 있다. 이에 따라, 마스크 셀 시트부(220)는 테두리 프레임부(210)의 두께보다는 얇지만, 마스크(100)보다는 두꺼운 것이 바람직하다. 마스크 셀 시트부(220)의 두께는, 약 0.1mm 내지 1mm 정도로 형성될 수 있다. 그리고, 제1, 2 그리드 시트부(223, 225)의 폭은 약 1~5mm 정도로 형성될 수 있다.
평면의 시트에서 테두리 시트부(221), 제1, 2 그리드 시트부(223, 225)가 점유하는 영역을 제외하여, 복수의 마스크 셀 영역(CR: CR11~CR56)이 제공될 수 있다. 다른 관점에서, 마스크 셀 영역(CR)이라 함은, 테두리 프레임부(210)의 중공 영역(R)에서 테두리 시트부(221), 제1, 2 그리드 시트부(223, 225)가 점유하는 영역을 제외한, 빈 영역을 의미할 수 있다.
이 마스크 셀 영역(CR)에 마스크(100)의 셀(C)이 대응됨에 따라, 실질적으로 마스크 패턴(P)을 통해 OLED의 화소가 증착되는 통로로 이용될 수 있게 된다. 전술하였듯이 하나의 마스크 셀(C)은 스마트폰 등의 디스플레이 하나에 대응한다. 하나의 마스크(100)에는 하나의 셀(C)을 구성하는 마스크 패턴(P)들이 형성될 수 있다. 또는, 하나의 마스크(100)가 복수의 셀(C)을 구비하고 각각의 셀(C)이 프레임(200)의 각각의 셀 영역(CR)에 대응할 수도 있으나, 마스크(100)의 명확한 정렬을 위해서는 대면적 마스크(100)를 지양할 필요가 있고, 하나의 셀(C)을 구비하는 소면적 마스크(100)가 바람직하다. 또는, 프레임(200)의 하나의 셀 영역(CR)에 복수의 셀(C)을 가지는 하나의 마스크(100)가 대응할 수도 있다. 이 경우, 명확한 정렬을 위해서는 2-3개 정도의 소수의 셀(C)을 가지는 마스크(100)를 대응하는 것을 고려할 수 있다.
프레임(200)은 복수의 마스크 셀 영역(CR)을 구비하고, 각각의 마스크(100)는 각각 하나의 마스크 셀(C)이 마스크 셀 영역(CR)에 대응되도록 접착될 수 있다.
도 6은 본 발명의 일 실시예에 따른 마스크(100)를 나타내는 개략도이다.
각각의 마스크(100)는 복수의 마스크 패턴(P)이 형성된 마스크 셀(C) 및 마스크 셀(C) 주변의 더미[셀(C)을 제외한 마스크 막(110) 부분에 대응]를 포함할 수 있다. 더미는 마스크 막(110)만을 포함하거나, 마스크 패턴(P)과 유사한 형태의 소정의 더미 패턴이 형성된 마스크 막(110)을 포함할 수 있다. 마스크 셀(C)은 프레임(200)의 마스크 셀 영역(CR)에 대응하고, 더미의 일부 또는 전부가 프레임(200)[마스크 셀 시트부(220)]에 접착될 수 있다. 이에 따라, 마스크(100)와 프레임(200)이 일체형 구조를 이룰 수 있게 된다.
한편, 다른 실시예에 따르면, 프레임은 테두리 프레임부(210)에 마스크 셀 시트부(220)를 접착하여 제조하지 않고, 테두리 프레임부(210)의 중공 영역(R) 부분에 테두리 프레임부(210)와 일체인 그리드 프레임[그리드 시트부(223, 225)에 대응]을 곧바로 형성한 프레임을 사용할 수도 있다. 이러한 형태의 프레임도 적어도 하나의 마스크 셀 영역(CR)을 포함하며, 마스크 셀 영역(CR)에 마스크(100)를 대응시켜 프레임 일체형 마스크를 제조할 수 있게 된다.
이하에서는, 마스크(100)를 제조하는 과정에 대해 설명한다.
도 7은 종래의 마스크의 제조 과정을 나타내는 개략도이다.
도 7을 참조하면, 종래의 마스크의 제조 과정은, 습식 식각(wet etching)만으로 수행된다.
먼저, 도 7의 (a)처럼 평면 도금막(110') 상에 패턴화된 포토레지스트(M)를 형성할 수 있다. 다음으로, 도 7의 (b)처럼 패턴화된 포토레지스트(M)의 사이 공간을 통하여 습식 식각(WE)을 수행한다. 습식 식각(WE)은 1회만 수행할 수 있고, 복수회 수행할 수도 있다. 습식 식각(WE) 후에 도금막(110')의 일부 공간이 관통되어 마스크 패턴(P')이 형성될 수 있다. 다음으로, 포토레지스트(M)를 세척하면 마스크 패턴(P')이 형성된 도금막(110'), 즉 마스크(100')의 제조를 완료할 수 있다.
도 7의 (b)처럼, 종래의 마스크(100')는 마스크 패턴(P')들의 크기가 일정하지 않은 문제점이 있다. 습식 식각(WE)은 등방성으로 수행되기 때문에, 식각되는 형태는 대략 원호 형상을 나타내게 마련이다. 또한, 습식 식각(WE) 과정에서 각각의 부분에 식각되는 속도를 똑같이 수행하기는 매우 어렵기 때문에, 도금막(110')이 관통된 후에 관통된 패턴의 폭(R1', R1", R1"')은 각각 상이할 수 밖에 없다. 특히, 언더컷(undercut; UC)이 많이 발생한 패턴에서 마스크 패턴(P')의 하부 폭(R1")뿐만 아니라 상부 폭(R2")까지도 넓게 형성될 수 있고, 언더컷(UC)이 덜 발생한 패턴에서는 하부 폭(R1', R1"') 및 상부 폭(R2', R2"')이 상대적으로 좁게 형성될 수 있다.
결국, 종래의 마스크(100')는 각 마스크 패턴(P')들의 크기가 균일하지 않은 문제점이 있었다. 초고화질의 OLED의 경우, 현재 QHD 화질은 500~600 PPI(pixel per inch)로 화소의 크기가 약 30~50㎛에 이르며, 4K UHD, 8K UHD 고화질은 이보다 높은 ~860 PPI, ~1600 PPI 등의 해상도를 가지게 되므로, 사소한 크기 차이도 제품의 실패로 이어질 위험이 있다.
따라서, 본 발명은 습식 식각과 레이저 식각/건식 식각을 병행하여 마스크의 패턴 정밀도를 향상시킨 것을 특징으로 한다.
도 8 및 도 9는 본 발명의 일 실시예에 따른 마스크의 제조 과정을 나타내는 개략도이다.
도 8의 (a)를 참조하면, 먼저, 전도성 기재(50)를 준비하고, 전도성 기재(50) 상에 전주도금으로 도금막(110)을 형성할 수 있다. 전도성 기재(50)는 전주도금에서 음극체(cathode body)로 사용될 수 있다. 기재(50)의 재질은 인바(Invar), 슈퍼 인바(Super Invar), Si, Ti, Cu, Ag, GaN, SiC, GaAs, GaP, AlN, InN, InP, Ge, Al2O3, 흑연(graphite), 그래핀(graphene) 등일 수 있다.
한편, 메탈 기재의 경우에는 표면에 메탈 옥사이드들이 생성되어 있을 수 있고, 메탈 제조 과정에서 불순물이 유입될 수 있으며, 다결정 실리콘 기재의 경우에는 개재물 또는 결정립계(Grain Boundary)가 존재할 수 있으며, 전도성 고분자 기재의 경우에는 불순물이 함유될 가능성이 높고, 강도. 내산성 등이 취약할 수 있다. 이하에서는 메탈 옥사이드, 불순물, 개재물, 결정립계 등과 같이 음극체(50)의 표면에 전기장이 균일하게 형성되는 것을 방해하는 요소를 "결함"(Defect)으로 지칭한다. 결함(Defect)에 의해, 상술한 재질의 음극체에는 균일한 전기장이 인가되지 못하여 도금막(110)의 일부가 불균일하게 형성될 수 있다.
UHD 급 이상의 초고화질 화소를 구현하는데 있어서 도금막(110) 및 도금막 패턴(P)의 불균일은 화소의 형성에 악영향을 미칠 수 있다. 예를 들어, 현재 QHD 화질의 경우는 500~600 PPI(pixel per inch)로 화소의 크기가 약 30~50㎛에 이르며, 4K UHD, 8K UHD 고화질의 경우는 이보다 높은 ~860 PPI, ~1600 PPI 등의 해상도를 가지게 된다. VR 기기에 직접 적용되는 마이크로 디스플레이, 또는 VR 기기에 끼워서 사용되는 마이크로 디스플레이는 약 2,000 PPI 이상급의 초고화질을 목표로 하고 있고, 화소의 크기는 약 5~10㎛ 정도에 이르게 된다. 이에 적용되는 FMM, 새도우 마스크의 패턴 폭은 수~수십㎛의 크기, 바람직하게는 30㎛보다 작은 크기로 형성될 수 있으므로, 수㎛ 크기의 결함조차 마스크의 패턴 사이즈에서 큰 비중을 차지할 정도의 크기이다.
또한, 상술한 재질의 음극체에서의 결함을 제거하기 위해서는 메탈 옥사이드, 불순물 등을 제거하기 위한 추가적인 공정이 수행될 수 있으며, 이 과정에서 음극체 재료가 식각되는 등의 또 다른 결함이 유발될 수도 있다.
이에 따라, 본 발명의 음극체의 전도성 기재(50)는 단결정 재질의 기재를 사용할 수 있다. 전도성 기재(50)는 단결정 실리콘 재질인 것이 바람직하다. 전도성을 가지도록, 기재(50)는 1019 이상의 고농도 도핑이 수행될 수 있다. 도핑은 기재(50)의 전체에 수행될 수도 있으며, 기재(50)의 표면 부분에만 수행될 수도 있다.
한편, 단결정 재질로는, Ti, Cu, Ag 등의 금속, GaN, SiC, GaAs, GaP, AlN, InN, InP, Ge 등의 반도체, 흑연(graphite), 그래핀(graphene) 등의 탄소계 재질, CH3NH3PbCl3, CH3NH3PbBr3, CH3NH3PbI3, SrTiO3 등을 포함하는 페로브스카이트(perovskite) 구조 등의 초전도체용 단결정 세라믹, 항공기 부품용 단결정 초내열합금 등이 사용될 수 있다. 금속, 탄소계 재질의 경우는 기본적으로 전도성 재질이다. 반도체 재질의 경우에는, 전도성을 가지도록 1019 이상의 고농도 도핑이 수행될 수 있다. 기타 재질의 경우에는 도핑을 수행하거나 산소 공공(oxygen vacancy) 등을 형성하여 전도성을 형성할 수 있다.
단결정 재질의 경우는 결함이 없기 때문에, 전주 도금 시에 표면 전부에서 균일한 전기장 형성으로 인한 균일한 도금막(110)이 생성될 수 있는 이점이 있다. 균일한 도금막(110)을 통해 제조하는 FMM(100)은 OLED 화소의 화질 수준을 더욱 개선할 수 있다. 그리고, 결함을 제거, 해소하는 추가 공정이 수행될 필요가 없으므로, 공정비용이 감축되고, 생산성이 향상되는 이점이 있다.
양극체(Anode Body, 미도시)는 음극체(50)와 대향하도록 소정 간격 이격 설치되고, 음극체(50)에 대응하는 일측이 평평한 평판 형상 등을 가지며, 도금액 내에 양극체의 전체가 침지될 수 있다. 양극체는 티타늄(Ti), 이리듐(Ir), 루테늄(Ru) 등과 같은 불용성 재료로 구성될 수 있다. 음극체(50)와 양극체는 수cm 정도로 이격 설치될 수 있다.
전원공급부(미도시)는 음극체(50)와 양극체에 전기 도금에 필요한 전류를 공급할 수 있다. 전원공급부의 (-) 단자는 음극체(50), (+) 단자는 양극체에 연결될 수 있다.
한편, 전주 도금으로 도금막(110)을 형성한 후, 도금막(110)에 열처리를 수행할 수 있다. 전주 도금막(110)의 열팽창계수를 낮춤과 전주 도금막(110)의 열에 의한 변형을 방지하기 위해, 음극체(50)[전도성 기재(50)] 상에 도금막(110)이 부착된 상태에서 열처리(H)를 수행할 수 있다. 열처리는 300℃ 내지 800℃의 온도로 수행할 수 있다[도 10 참조].
일반적으로 압연으로 생성한 인바 박판에 비해, 전주 도금으로 생성한 인바 박판이 열팽창계수가 높다. 그리하여 인바 박판에 열처리를 수행함으로써 열팽창계수를 낮출 수 있는데, 이 열처리 과정에서 인바 박판에 약간의 변형이 생길 수 있다. 따라서, 전도성 기재(50)와 도금막(110)이 접착된 상태에서 열처리를 수행하면, 열처리로 인한 미세한 변형을 방지할 수 있는 이점이 있다.
도 10은 본 발명의 일 실시 예에 따른 열처리 후의 마스크의 열팽창계수(coefficient of expansion, CTE)를 나타내는 그래프이다. 80 X 200mm의 샘플에 대해서, 300℃, 350℃, 400℃, 450℃, 500℃, 550℃, 800℃의 7가지의 온도 구간에서 열처리를 수행한 인바 박판의 열팽창계수를 측정하였다. 도 10의 (a)는 상온(25℃)에서 약 240℃까지 온도를 올리면서 각 샘플의 열팽창계수를 측정한 결과를 나타내고, 도 10의 (b)는 약 240℃에서 상온(25℃)까지 온도를 하강하면서 각 샘플의 열팽창계수를 측정한 결과를 나타낸다. 도 10의 (a) 및 도 10의 (b)를 참조하면, 열처리 온도에 따라 전주 도금으로 생성한 인바박판[또는, 도금막(110)]의 열팽창계수가 변화하며, 특히, 800℃의 열처리에서 가장 열팽창계수가 낮게 나타남을 확인할 수 있다.
따라서, 도금막(110)의 열팽창계수를 더 낮춤에 따라, ㎛ 스케일의 패턴(P)의 변형을 방지하고, 초고화질의 OLED 화소를 증착할 수 있는 마스크(100)를 제조할 수 있는 이점이 있다.
다음으로, 도 8의 (b)를 참조하면, 도금막(110)의 일면(상면) 상에 패턴화된 절연부(M)를 형성할 수 있다. 절연부(M)는 프린팅 법 등을 이용하여 포토레지스트 재질로 형성할 수 있다. 절연부(M)를 형성하기 전에 도금막(110)과 전도성 기재(50)를 분리할 수도 있다.
다음으로, 도 8의 (c)를 참조하면, 도금막(110)의 일면(상면)에서 습식 식각(WE)으로 소정 깊이만큼 제1 마스크 패턴(P1)을 형성할 수 있다. 습식 식각(WE)을 수행할 때, 도금막(110)이 관통되지 않도록 해야한다. 그리하여, 제1 마스크 패턴(P1)은 도금막(110)을 관통하지는 않고 대략 원호 형상으로 형성될 수 있다. 즉, 제1 마스크 패턴(P1)의 깊이 값은 도금막(110)의 두께보다는 적을 수 있다.
다음으로, 도 9의 (d)를 참조하면, 도금막(110)의 제1 마스크 패턴(P1) 상에 레이저 식각(LE) 또는 건식 식각(DE)을 수행할 수 있다. 레이저 식각(LE) 또는 건식 식각(DE)은 이방성 특징을 가지고, 제1 마스크 패턴(P1)의 폭(R2)보다는 좁은 폭(R1)에 대해 수행할 수 있다. 이에 따라, 원하는 폭만큼을 정밀하게 식각할 수 있는 이점이 있다. 레이저 식각(LE) 또는 건식 식각(DE)은 공지의 기술을 제한없이 사용할 수 있으나, 펨토초, 피코초 레이저 등을 사용하여 보다 정밀한 식각을 수행할 수 있다. 레이저 식각(LE) 또는 건식 식각(DE)은, 전도성 기재(50) 상에 도금막(110)이 붙어 있는 경우라면 도금막(110)의 일면 상에서 수행할 수 있고, 도금막(110)을 분리한 경우라면, 도금막(110)의 일면 또는 타면 상에서 수행할 수 있다.
다음으로, 도 9의 (e)를 참조하면, 레이저 식각(LE) 또는 건식 식각(DE) 결과, 제2 마스크 패턴(P2)이 형성될 수 있다. 제2 마스크 패턴(P2)은 도금막(110)을 관통하여 형성될 수 있다. 즉, 제1 마스크 패턴(P1)의 하단에서부터 도금막(110)의 타면을 관통하여 형성될 수 있다. 제2 마스크 패턴(P2)의 폭(R1)은 화소의 폭을 규정하기 때문에, 제2 마스크 패턴(P2)의 폭(R1)은 35㎛보다는 작은 것이 바람직하다. 또한, 제2 마스크 패턴(P2)의 두께가 너무 두꺼우면 새도우 효과에 의한 문제가 발생할 수 있고, 마스크 패턴(P)의 형상이 전체적으로 테이퍼/역테이퍼 형상으로 나타나지 않는 문제가 발생할 수 있으므로, 제2 마스크 패턴(P2)의 두께는 제1 마스크 패턴(P1)의 두께보다 작은 것이 바람직하다. 제2 마스크 패턴(P2)의 두께는 가급적 0에 가까운 것이 바람직하며, 화소의 크기를 고려하면, 예를 들어, 제2 마스크 패턴(P2)의 두께는 약 0.5 내지 3.0 ㎛인 것이 바람직하고, 0.5 내지 2.0 ㎛ 인 것이 더 바람직하다.
이어진 제1 마스크 패턴(P1)과 제2 마스크 패턴(P2)의 형상의 합이 마스크 패턴(P)을 구성할 수 있다.
다음으로, 도 9의 (f)를 참조하면, 절연부(M)를 제거하여 마스크(100)의 제조를 완료할 수 있다. 제1 마스크 패턴(P1)은 기울어진 면을 포함하여 형성되고, 제2 마스크 패턴(P2)은 수직하게 형성될 수 있다. 제2 마스크 패턴(P2)의 높이는 매우 낮게 형성되므로, 제1 마스크 패턴(P1)과 제2 마스크 패턴(P2)의 형상을 합하면, 전체적으로 테이퍼 형상 또는 역테이퍼 형상을 나타낼 수 있다.
위와 같이, 본 발명은 마스크 제조 방법은 습식 식각에 더하여, 이방성 특징을 가지고 식각할 수 있는 레이저 식각 또는 습식 식각을 수행함에 따라, 마스크 패턴(P)을 원하는 크기로 형성할 수 있는 효과가 있다. 게다가, 습식 식각으로 기울어진 면을 형성할 수 있기 때문에, 새도우 이펙트를 방지하는 마스크 패턴(P)을 구현할 수 있게 된다.
이하에서는, 본 발명의 프레임 일체형 마스크를 제조하는 과정을 더 설명한다.
먼저, 도 4 및 도 5에서 상술한 프레임(200)을 제공할 수 있다. 중공 영역(R)을 포함한 사각 틀 형상의 테두리 프레임부(210)를 제공할 수 있다.
다음으로, 마스크 셀 시트부(220)를 제조한다. 마스크 셀 시트부(220)는 전주도금 또는 그 외의 막 형성 공정을 사용하여 평면의 시트를 제조한 후, 레이저 스크라이빙, 에칭 등을 통해 마스크 셀 영역(CR) 부분을 제거함에 따라 제조할 수 있다. 본 명세서에서는 6 X 5의 마스크 셀 영역(CR: CR11~CR56)을 형성한 것을 예로 들어 설명한다. 5개의 제1 그리드 시트부(223) 및 4개의 제2 그리드 시트부(225)가 존재할 수 있다.
다음으로, 마스크 셀 시트부(220)를 테두리 프레임부(210)에 대응할 수 있다. 대응시키는 과정에서, 마스크 셀 시트부(220)의 모든 측을 인장(F1~F4)하여 마스크 셀 시트부(220)를 평평하게 편 상태로 테두리 시트부(221)를 테두리 프레임부(210)에 대응할 수 있다. 한 측에서도 여러 포인트[도 6의 (b)의 예로, 1~3포인트]로 마스크 셀 시트부(220)를 잡고 인장할 수 있다. 한편, 모든 측이 아니라, 일부 측 방향을 따라 마스크 셀 시트부(220)를 인장(F1, F2) 할 수도 있다.
다음으로, 마스크 셀 시트부(220)를 테두리 프레임부(210)에 대응하면, 마스크 셀 시트부(220)의 테두리 시트부(221)를 용접(W)하여 접착할 수 있다. 마스크 셀 시트부(220)가 테두리 프레임부(220)에 견고하게 접착될 수 있도록, 모든 측을 용접(W)하는 것이 바람직하다. 용접(W)은 테두리 프레임부(210)의 모서리쪽에 최대한 가깝게 수행하여야 테두리 프레임부(210)와 마스크 셀 시트부(220) 사이의 들뜬 공간을 최대한 줄이고 밀착성을 높일 수 있게 된다. 용접(W) 부분은 라인(line) 또는 스팟(spot) 형태로 생성될 수 있으며, 마스크 셀 시트부(220)와 동일한 재질을 가지고 테두리 프레임부(210)와 마스크 셀 시트부(220)를 일체로 연결하는 매개체가 될 수 있다.
한편, 평면의 시트를 테두리 프레임부(210)에 접착한 후에, 마스크 셀 영역(CR) 부분을 레이저 스크라이빙, 에칭 등을 통해 제거하여 마스크 셀 시트부(220)를 구성할 수도 있다.
도 11은 본 발명의 일 실시예에 따른 마스크(100)를 프레임(200)의 셀 영역(CR)에 대응시키는 상태를 나타내는 개략도이다. 이하에서는, 본 발명의 실시예에 따라, 제조된 프레임(200)에 마스크(100)를 접착하는 일련의 과정에 대해서 설명한다.
다음으로, 도 11을 참조하면, 마스크(100)를 프레임(200)의 하나의 마스크 셀 영역(CR)에 대응할 수 있다. 본 발명은 마스크(100)를 프레임(200)의 마스크 셀 영역(CR)에 대응하는 과정에서, 마스크(100)에 어떠한 인장력도 가하지 않을 수 있다.
프레임(200)의 마스크 셀 시트부(220)는 얇은 두께를 가지기 때문에, 마스크(100)에 인장력이 가해진 채로 마스크 셀 시트부(220)에 접착이 되면, 마스크(100)에 잔존하는 인장력이 마스크 셀 시트부(220) 및 마스크 셀 영역(CR)에 작용하게 되어 이들을 변형시킬 수도 있다. 따라서, 마스크(100)에 인장력을 가하지 않은 채로 마스크 셀 시트부(220)에 마스크(100)의 접착을 수행해야 한다. 그리하여, 마스크(100)에 가해진 인장력이 반대로 프레임(200)에 장력(tension)으로 작용하여 프레임(200)[또는, 마스크 셀 시트부(220)]을 변형시키는 것을 방지할 수 있게 된다.
다만, 마스크(100)에 인장력을 가하지 않고 프레임(200)[또는, 마스크 셀 시트부(220)]에 접착시켜 프레임 일체형 마스크를 제조하고, 이 프레임 일체형 마스크를 화소 증착 공정에 사용할 때 한가지 문제가 발생할 수 있다. 약 25~45 ℃ 정도에서 수행되는 화소 증착 공정에서 마스크(100)가 소정 길이만큼 열팽창 하는 것이다. 인바 재질의 마스크(100)라고 하더라도, 화소 증착 공정 분위기를 형성하기 위한 10℃ 정도의 온도 상승에 따라 약 1~3 ppm 만큼의 길이가 변할 수 있다. 예를 들어, 마스크(100)의 총 길이가 500 mm 경우, 약 5~15 ㎛만큼의 길이가 늘어날 수 있다. 그러면, 마스크(100)가 자중에 의해 쳐지거나, 프레임(200)에서 고정된 상태에서 늘어나 뒤틀리는 등의 변형을 일으키면서 패턴(P)들의 정렬 오차가 커지는 문제점이 발생하게 된다.
따라서, 본 발명은 상온이 아닌 이보다 높은 온도 상에서, 마스크(100)에 인장력을 가하지 않은 채로, 프레임(200)의 마스크 셀 영역(CR)에 대응하고 접착할 수 있다. 본 명세서에서는 공정 영역의 온도를 제1 온도로 상승(ET)시킨 후에 마스크(100)를 프레임(200)에 대응하고 접착한다고 표현한다.
"공정 영역"이라 함은 마스크(100), 프레임(200) 등의 구성 요소들이 위치하고, 마스크(100)의 접착 공정 등이 수행되는 공간을 의미할 수 있다. 공정 영역은 폐쇄된 챔버 내에 공간일 수도 있고, 개방된 공간일 수도 있다. 또한, "제1 온도"라 함은 프레임 일체형 마스크를 OLED 화소 증착 공정에 사용할 때, 화소 증착 공정 온도보다는 높거나 같은 온도를 의미할 수 있다. 화소 증착 공정 온도가 약 25~45℃인 것을 고려하면, 제1 온도는 약 25℃ 내지 60℃일 수 있다. 공정 영역의 온도 상승은, 챔버에 가열 수단을 설치하거나, 공정 영역 주변에 가열 수단을 설치하는 방법 등으로 수행할 수 있다.
다시, 도 11을 참조하면, 마스크(100)를 마스크 셀 영역(CR)에 대응한 후에, 프레임(200)이 포함된 공정 영역의 온도를 제1 온도로 상승(ET)시킬 수 있다. 또는, 프레임(200)이 포함된 공정 영역의 온도를 제1 온도로 상승(ET)시킨 후에, 마스크(100)를 마스크 셀 영역(CR)에 대응시킬 수도 있다. 도면에는 하나의 마스크(100)만을 하나의 마스크 셀 영역(CR)에 대응시킨 것이 도시되어 있지만, 마스크 셀 영역(CR)마다 마스크(100)들을 대응시킨 후에 공정 영역의 온도를 제1 온도로 상승(ET)시킬 수도 있다.
종래의 도 1의 마스크(10)는 셀 6개(C1~C6)를 포함하므로 긴 길이를 가지는데 반해, 본 발명의 마스크(100)는 셀 1개(C)를 포함하여 짧은 길이를 가지므로 PPA(pixel position accuracy)가 틀어지는 정도가 작아질 수 있다. 예를 들어, 복수의 셀(C1~C6, ...)들을 포함하는 마스크(10)의 길이가 1m이고, 1m 전체에서 10㎛의 PPA 오차가 발생한다고 가정하면, 본 발명의 마스크(100)는 상대적인 길이의 감축[셀(C) 개수 감축에 대응]에 따라 위 오차 범위를 1/n 할 수 있다. 예를 들어, 본 발명의 마스크(100)의 길이가 100mm라면, 종래 마스크(10)의 1m에서 1/10로 감축된 길이를 가지므로, 100mm 길이의 전체에서 1㎛의 PPA 오차가 발생하게 되며, 정렬 오차가 현저히 감소하게 되는 효과가 있다.
한편, 마스크(100)가 복수의 셀(C)을 구비하고, 각각의 셀(C)이 프레임(200)의 각각의 셀 영역(CR)에 대응하여도 정렬 오차가 최소화되는 범위 내에서라면, 마스크(100)는 프레임(200)의 복수의 마스크 셀 영역(CR)에 대응할 수도 있다. 또는, 복수의 셀(C)을 가지는 마스크(100)가 하나의 마스크 셀 영역(CR)에 대응할 수도 있다. 이 경우에도, 정렬에 따른 공정 시간과 생산성을 고려하여, 마스크(100)는 가급적 적은 수의 셀(C)을 구비하는 것이 바람직하다.
마스크(100)에 인장력을 가하지 않고, 마스크 셀 영역(CR)에 대응하도록 평평한 정도만 유지하면서, 현미경을 통해 실시간으로 정렬 상태를 확인할 수 있다. 본 발명의 경우는, 마스크(100)의 하나의 셀(C)을 대응시키고 정렬 상태를 확인하기만 하면 되므로, 복수의 셀(C: C1~C6)을 동시에 대응시키고 정렬 상태를 모두 확인하여야 하는 종래의 방법[도 2 참조]보다, 제조시간을 현저하게 감축시킬 수 있다.
즉, 본 발명의 프레임 일체형 마스크 제조 방법은, 6개의 마스크(100)에 포함되는 각각의 셀(C11~C16)을 각각 하나의 셀 영역(CR11~CR16)에 대응시키고 각각 정렬 상태를 확인하는 6번의 과정을 통해, 6개의 셀(C1~C6)을 동시에 대응시키고 6개 셀(C1~C6)의 정렬 상태를 동시에 모두 확인해야 하는 종래의 방법보다 훨씬 시간이 단축될 수 있다.
또한, 본 발명의 프레임 일체형 마스크 제조 방법은, 30개의 셀 영역(CR: CR11~CR56)에 30개의 마스크(100)를 각각 대응시키고 정렬하는 30번의 과정에서의 제품 수득률이, 6개의 셀(C1~C6)을 각각 포함하는 5개의 마스크(10)[도 2의 (a) 참조]를 프레임(20)에 대응시키고 정렬하는 5번의 과정에서의 종래의 제품 수득률보다 훨씬 높게 나타날 수 있다. 한번에 6개씩의 셀(C)이 대응하는 영역에 6개의 셀(C1~C6)을 정렬하는 종래의 방법이 훨씬 번거롭고 어려운 작업이므로 제품 수율이 낮게 나타나는 것이다.
한편, 마스크(100)를 프레임(200)에 대응한 후, 프레임(200)에 소정의 접착제를 개재하여 마스크(100)를 임시로 고정할 수도 있다. 이후에, 마스크(100)의 접착 단계를 진행할 수 있다.
도 12는 본 발명의 일 실시예에 따른 마스크(100)를 프레임(200)의 셀 영역(CR)에 대응하여 접착하는 과정을 나타내는 평면도[도 12의 (a)] 및 측단면도[도 12의 (b)]를 나타낸다.
다음으로, 도 12를 참조하면, 마스크(100)의 테두리의 일부 또는 전부를 프레임(200)에 접착할 수 있다. 접착은 용접(W)으로 수행될 수 있고, 바람직하게는 레이저 용접(W)으로 수행될 수 있다. 용접(W)된 부분은 마스크(100)/프레임(200)과 동일한 재질을 가지고 일체로 연결될 수 있다.
레이저를 마스크(100)의 테두리 부분[또는, 더미]의 상부에 조사하면, 마스크(100)의 일부가 용융되어 프레임(200)과 용접(W)될 수 있다. 용접(W)은 프레임(200)의 모서리쪽에 최대한 가깝게 수행하여야 마스크(100)와 프레임(200) 사이의 들뜬 공간을 최대한 줄이고 밀착성을 높일 수 있게 된다. 용접(W) 부분은 라인(line) 또는 스팟(spot) 형태로 생성될 수 있으며, 마스크(100)와 동일한 재질을 가지고 마스크(100)와 프레임(200)을 일체로 연결하는 매개체가 될 수 있다.
제1 그리드 시트부(223)[또는, 제2 그리드 시트부(225)]의 상면에 두 개의 이웃하는 마스크(100)의 일 테두리가 각각 접착(W)된 형태가 나타난다. 제1 그리드 시트부(223)[또는, 제2 그리드 시트부(225)]의 폭, 두께는 약 1~5mm 정도로 형성될 수 있고, 제품 생산성 향상을 위해, 제1 그리드 시트부(223)[또는, 제2 그리드 시트부(225)]와 마스크(100)의 테두리가 겹치는 폭을 약 0.1~2.5mm 정도로 최대한 감축시킬 필요가 있다.
용접(W) 방법은 마스크(100)를 프레임(200)에 접착하는 하나의 방법일 뿐이며, 이러한 실시예로 국한되지 않고 다양한 접착 방법을 사용할 수 있다.
마스크(100)에 인장력을 가하지 않은 채로 마스크 셀 시트부(220) 상에 용접(W)을 수행하므로, 마스크 셀 시트부(220)[또는, 테두리 시트부(221), 제1, 2 그리드 시트부(223, 225)]에는 장력이 가해지지 않는다.
하나의 마스크(100)를 프레임(200)에 접착하는 공정을 완료하면, 나머지 마스크(100)들을 나머지 마스크 셀(C)에 순차적으로 대응시키고, 프레임(200)에 접착하는 과정을 반복할 수 있다. 이미 프레임(200)에 접착된 마스크(100)가 기준 위치를 제시할 수 있으므로, 나머지 마스크(100)들을 셀 영역(CR)에 순차적으로 대응시키고 정렬 상태를 확인하는 과정에서의 시간이 현저하게 감축될 수 있는 이점이 있다. 그리고, 하나의 마스크 셀 영역에 접착된 마스크(100)와 이에 이웃하는 마스크 셀 영역에 접착된 마스크(100) 사이의 PPA(pixel position accuracy)가 3㎛를 초과하지 않게 되어, 정렬이 명확한 초고화질 OLED 화소 형성용 마스크를 제공할 수 있는 이점이 있다.
도 13은 본 발명의 일 실시예에 따른 마스크(100)를 프레임(200)의 셀 영역(CR)에 접착한 후 공정 영역의 온도를 하강(LT)시키는 과정을 나타내는 평면도[도 13의 (a)] 및 측단면도[도 13의 (b)]이다.
다음으로, 도 13을 참조하면, 공정 영역의 온도를 제2 온도로 하강(LT)시킨다. "제2 온도"라 함은 제1 온도보다 낮은 온도를 의미할 수 있다. 제1 온도가 약 25℃ 내지 60℃인 것을 고려하면, 제2 온도는 제1 온도보다 낮은 것을 전제로 약 20℃ 내지 30℃일 수 있고, 바람직하게, 제2 온도는 상온일 수 있다. 공정 영역의 온도 하강은, 챔버에 냉각 수단을 설치하거나, 공정 영역 주변에 냉각 수단을 설치하는 방법, 상온으로 자연 냉각하는 방법 등으로 수행할 수 있다.
공정 영역의 온도가 제2 온도로 하강(LT)되면, 마스크(100)는 소정 길이만큼 열수축 할 수 있다. 마스크(100)는 모든 측면 방향을 따라 등방성으로 열수축 할 수 있다. 다만, 마스크(100)는 프레임(200)[또는, 마스크 셀 시트부(220)]에 용접(W)으로 고정 연결되어 있으므로, 마스크(100)의 열수축은 주변의 마스크 셀 시트부(220)에 자체적으로 장력(TS)을 인가하게 된다. 마스크(100)의 자체적인 장력(TS) 인가에 의해 마스크(100)는 더욱 팽팽하게 프레임(200) 상에 접착될 수 있다.
또한, 각각의 마스크(100)들이 모두 대응되는 마스크 셀 영역(CR) 상에 접착된 후에 공정 영역의 온도가 제2 온도로 하강(LT)되므로, 모든 마스크(100)들이 동시에 열수축을 일으키게 되어 프레임(200)이 변형되거나 패턴(P)들이 정렬 오차가 커지는 문제가 방지될 수 있다. 더 설명하면, 장력(TS)이 마스크 셀 시트부(220)에 인가된다고 해도, 복수의 마스크(100)들이 상호 반대방향으로 장력(TS)을 인가하기 때문에, 그 힘이 상쇄되어 마스크 셀 시트부(220)에는 변형이 일어나지 않게 된다. 예를 들어, CR11 셀 영역에 부착된 마스크(100)와 CR12 셀 영역에 부착된 마스크(100) 사이의 제1 그리드 시트부(223)는 CR11 셀 영역에 부착된 마스크(100)의 우측 방향으로 작용하는 장력(TS)과 CR12 셀 영역에 부착된 마스크(100)의 좌측 방향으로 작용하는 장력(TS)이 상쇄될 수 있다. 그리하여, 장력(TS)에 의한 프레임(200)[또는, 마스크 셀 시트부(220)]에는 변형이 최소화되어 마스크(100)[또는, 마스크 패턴(P)]의 정렬 오차가 최소화 될 수 있는 이점이 있다.
도 14는 본 발명의 일 실시예에 따른 프레임 일체형 마스크(100, 200)를 이용한 OLED 화소 증착 장치(1000)를 나타내는 개략도이다.
도 14를 참조하면, OLED 화소 증착 장치(1000)는, 마그넷(310)이 수용되고, 냉각수 라인(350)이 배설된 마그넷 플레이트(300)와, 마그넷 플레이트(300)의 하부로부터 유기물 소스(600)를 공급하는 증착 소스 공급부(500)를 포함한다.
마그넷 플레이트(300)와 소스 증착부(500) 사이에는 유기물 소스(600)가 증착되는 유리 등의 대상 기판(900)이 개재될 수 있다. 대상 기판(900)에는 유기물 소스(600)가 화소별로 증착되게 하는 프레임 일체형 마스크(100, 200)[또는, FMM]이 밀착되거나 매우 근접하도록 배치될 수 있다. 마그넷(310)이 자기장을 발생시키고 자기장에 의해 대상 기판(900)에 밀착될 수 있다.
증착 소스 공급부(500)는 좌우 경로를 왕복하며 유기물 소스(600)를 공급할 수 있고, 증착 소스 공급부(500)에서 공급되는 유기물 소스(600)들은 프레임 일체형 마스크(100, 200)에 형성된 패턴(P)을 통과하여 대상 기판(900)의 일측에 증착될 수 있다. 프레임 일체형 마스크(100, 200)의 패턴(P)을 통과한 증착된 유기물 소스(600)는 OLED의 화소(700)로서 작용할 수 있다.
새도우 이펙트(Shadow Effect)에 의한 화소(700)의 불균일 증착을 방지하기 위해, 마스크 패턴(P)은 경사지게 형성(S)[또는, 테이퍼 형상(S)으로 형성]될 수 있다. 경사진 면을 따라서 대각선 방향으로 패턴을 통과하는 유기물 소스(600)들도 화소(700)의 형성에 기여할 수 있으므로, 화소(700)는 전체적으로 두께가 균일하게 증착될 수 있다. 도 9에서 상술한 바와 같이, 마스크 패턴(P)의 경사진 면은 습식 식각(WE)으로 형성하고, 유기물 소스(600)가 최종적으로 통과하는 제2 마스크 패턴(P2)은 레이저 식각(LE) 또는 건식 식각(DE)으로 형성하므로, 제2 마스크 패턴(P2)의 크기에 맞게 화소(700)의 폭이 정의될 수 있다.
마스크(100)는 화소 증착 공정 온도보다 높은 제1 온도 상에서 프레임(200)에 접착 고정되므로, 화소 증착을 위한 공정 온도로 상승시킨다고 하더라도, 마스크 패턴(P)의 위치에는 영향이 거의 없게 되며, 마스크(100)와 이에 이웃하는 마스크(100) 사이의 PPA는 3㎛를 초과하지 않도록 유지될 수 있다.
본 발명은 상술한 바와 같이 바람직한 실시예를 들어 도시하고 설명하였으나, 상기 실시예에 한정되지 아니하며 본 발명의 정신을 벗어나지 않는 범위 내에서 당해 발명이 속하는 기술분야에서 통상의 지식을 가진 자에 의해 다양한 변형과 변경이 가능하다. 그러한 변형예 및 변경예는 본 발명과 첨부된 특허청구범위의 범위 내에 속하는 것으로 보아야 한다.
50: 전도성 기재
100: 마스크
110: 마스크 막, 도금막
200: 프레임
210: 테두리 프레임부
220: 마스크 셀 시트부
221: 테두리 시트부
223: 제1 그리드 시트부
225: 제2 그리드 시트부
1000: OLED 화소 증착 장치
C: 셀, 마스크 셀
CR: 마스크 셀 영역
DE: 건식 식각
ET: 공정 영역의 온도를 제1 온도로 상승
LE: 레이저 식각 또는 건식 식각
LT: 공정 영역의 온도를 제2 온도로 하강
M: 절연부, 포토레지스트
R: 테두리 프레임부의 중공 영역
P: 마스크 패턴
P1: 제1 마스크 패턴
P2: 제2 마스크 패턴
W: 용접
WE: 습식 식각

Claims (16)

  1. (a) 전도성 기재를 제공하는 단계;
    (b) 전도성 기재를 음극체(Cathode Body)로 사용하고, 전주 도금(Electroforming)으로 전도성 기재의 일면 상에 도금막을 형성하는 단계;
    (c) 도금막의 일면 상에 패턴화된 절연부를 형성하는 단계;
    (d) 도금막의 일면에서 습식 식각으로 소정 깊이만큼 제1 마스크 패턴을 형성하는 단계; 및
    (e) 레이저 식각 또는 건식 식각으로 제1 마스크 패턴에서부터 도금막의 타면을 관통하는 제2 마스크 패턴을 형성하는 단계
    를 포함하는, 마스크의 제조 방법.
  2. (a) 도금막의 일면 상에 패턴화된 절연부를 형성하는 단계;
    (b) 도금막의 일면에서 습식 식각으로 소정 깊이만큼 제1 마스크 패턴을 형성하는 단계; 및
    (c) 레이저 식각 또는 건식 식각으로 제1 마스크 패턴에서부터 도금막의 타면을 관통하는 제2 마스크 패턴을 형성하는 단계
    를 포함하는, 마스크의 제조 방법.
  3. 제1항 또는 제2항에 있어서,
    제1 마스크 패턴보다 제2 마스크 패턴의 폭이 좁은, 마스크의 제조 방법.
  4. 제1항 또는 제2항에 있어서,
    제2 마스크 패턴의 폭은 적어도 35㎛보다 작은, 마스크의 제조 방법.
  5. 제1항에 있어서,
    (d) 단계에서, 소정 깊이의 값은 도금막의 두께보다 적은, 마스크의 제조 방법.
  6. 제1항 또는 제2항에 있어서,
    제1 마스크 패턴 및 제2 마스크 패턴의 형상의 합은 전체적으로 테이퍼 형상 또는 역테이퍼 형상을 나타내는, 마스크의 제조 방법.
  7. 제1항 또는 제2항에 있어서,
    제1 마스크 패턴의 두께가 제2 마스크 패턴의 두께보다 두꺼운, 마스크의 제조 방법.
  8. 제1항 또는 제2항에 있어서,
    제1 및 제2 마스크 패턴이 형성된 도금막은 OLED 화소 증착에서 FMM(Fine Metal Mask)으로 사용되는, 마스크의 제조 방법.
  9. 제1항 또는 제2항에 있어서,
    도금막은 인바(invar), 슈퍼 인바(super invar), 니켈, 니켈-코발트 중 어느 하나의 재질인, 마스크의 제조 방법.
  10. 제1항 또는 제2항에 있어서,
    도금막의 두께는 2㎛ 내지 50㎛인, 마스크의 제조 방법.
  11. 제1항 또는 제2항에 있어서,
    기재는 도핑된 단결정 실리콘 재질인, 마스크의 제조 방법.
  12. 제1항 또는 제2항에 있어서,
    기재는 인바(Invar), 슈퍼 인바(Super Invar), Si, Ti, Cu, Ag, GaN, SiC, GaAs, GaP, AlN, InN, InP, Ge, Al2O3, 흑연(graphite), 그래핀(graphene), 페로브스카이트(perovskite) 구조의 세라믹, 초내열합금 재질 중 어느 하나인, 마스크의 제조 방법.
  13. 제12항에 있어서,
    기재가 GaN, SiC, GaAs, GaP, AlN, InN, InP, Ge 재질 중 하나인 경우, 기재는 적어도 1019 cm-3 이상 도핑된, 마스크의 제조 방법.
  14. 제1항 또는 제2항에 있어서,
    절연부는 포토레지스트 재질인, 마스크의 제조 방법.
  15. 제1항에 있어서,
    (b) 단계에서, 도금막을 형성한 후 열처리하는 단계를 더 포함하는, 마스크의 제조 방법.
  16. 제15항에 있어서,
    열처리는 300℃ 내지 800℃로 수행하는, 마스크의 제조 방법.
KR1020180068839A 2018-06-15 2018-06-15 마스크의 제조 방법 Ceased KR20190141965A (ko)

Priority Applications (1)

Application Number Priority Date Filing Date Title
KR1020180068839A KR20190141965A (ko) 2018-06-15 2018-06-15 마스크의 제조 방법

Applications Claiming Priority (1)

Application Number Priority Date Filing Date Title
KR1020180068839A KR20190141965A (ko) 2018-06-15 2018-06-15 마스크의 제조 방법

Related Child Applications (1)

Application Number Title Priority Date Filing Date
KR1020200045435A Division KR20200044747A (ko) 2020-04-14 2020-04-14 마스크의 제조 방법 및 프레임 일체형 마스크의 제조 방법

Publications (1)

Publication Number Publication Date
KR20190141965A true KR20190141965A (ko) 2019-12-26

Family

ID=69103518

Family Applications (1)

Application Number Title Priority Date Filing Date
KR1020180068839A Ceased KR20190141965A (ko) 2018-06-15 2018-06-15 마스크의 제조 방법

Country Status (1)

Country Link
KR (1) KR20190141965A (ko)

Cited By (1)

* Cited by examiner, † Cited by third party
Publication number Priority date Publication date Assignee Title
WO2022149805A1 (ko) * 2021-01-08 2022-07-14 주식회사 케이앰티 하이브리드 방식에 의해 증착용 마스크를 제조하는 방법

Cited By (1)

* Cited by examiner, † Cited by third party
Publication number Priority date Publication date Assignee Title
WO2022149805A1 (ko) * 2021-01-08 2022-07-14 주식회사 케이앰티 하이브리드 방식에 의해 증착용 마스크를 제조하는 방법

Similar Documents

Publication Publication Date Title
KR101986525B1 (ko) 마스크의 제조 방법
KR102236538B1 (ko) 마스크의 제조 방법 및 프레임 일체형 마스크의 제조 방법
KR101989531B1 (ko) 마스크의 제조 방법
KR102342737B1 (ko) 마스크의 제조 방법
CN112424972B (zh) 掩模的制造方法、掩模及框架一体型掩模
KR20200006349A (ko) 프레임 일체형 마스크의 제조 방법
KR102254375B1 (ko) 프레임 일체형 마스크의 제조 방법
KR20200023337A (ko) 마스크의 제조 방법
KR102071487B1 (ko) 마스크의 제조 방법 및 마스크
KR20190096577A (ko) 프레임 일체형 마스크 및 프레임 일체형 마스크의 제조 방법
KR102202531B1 (ko) 프레임 일체형 마스크 및 그 제조방법
KR20200010856A (ko) Oled 화소 형성용 마스크 및 프레임 일체형 마스크의 제조 방법
KR102342735B1 (ko) 프레임 일체형 마스크의 제조 방법 및 마스크 지지에 사용되는 트레이
KR102314856B1 (ko) 프레임 일체형 마스크의 제조 방법
KR20190141965A (ko) 마스크의 제조 방법
KR102138799B1 (ko) 마스크 및 프레임 일체형 마스크
KR102283201B1 (ko) 프레임 일체형 마스크의 제조 방법
KR102217813B1 (ko) Oled 화소 형성용 마스크와 그 제조 방법 및 프레임 일체형 마스크의 제조 방법
KR20190105977A (ko) 프레임 일체형 마스크의 제조 방법
KR20200009616A (ko) 프레임 일체형 마스크의 제조 방법
KR102325256B1 (ko) 마스크의 패턴 형성 장치 및 마스크의 제조 방법
KR20200044747A (ko) 마스크의 제조 방법 및 프레임 일체형 마스크의 제조 방법
KR102236539B1 (ko) 프레임 일체형 마스크의 제조 방법
KR102142436B1 (ko) 프레임 일체형 마스크의 제조 방법 및 프레임
KR102152685B1 (ko) 프레임 일체형 마스크의 제조 방법

Legal Events

Date Code Title Description
PA0109 Patent application

Patent event code: PA01091R01D

Comment text: Patent Application

Patent event date: 20180615

PG1501 Laying open of application
PA0201 Request for examination

Patent event code: PA02012R01D

Patent event date: 20200220

Comment text: Request for Examination of Application

Patent event code: PA02011R01I

Patent event date: 20180615

Comment text: Patent Application

PA0107 Divisional application

Comment text: Divisional Application of Patent

Patent event date: 20200414

Patent event code: PA01071R01D

E902 Notification of reason for refusal
PE0902 Notice of grounds for rejection

Comment text: Notification of reason for refusal

Patent event date: 20210323

Patent event code: PE09021S01D

E601 Decision to refuse application
PE0601 Decision on rejection of patent

Patent event date: 20210801

Comment text: Decision to Refuse Application

Patent event code: PE06012S01D

Patent event date: 20210323

Comment text: Notification of reason for refusal

Patent event code: PE06011S01I