KR20190108963A - 보강토 옹벽블럭의 고정 장치 - Google Patents

보강토 옹벽블럭의 고정 장치 Download PDF

Info

Publication number
KR20190108963A
KR20190108963A KR1020180030696A KR20180030696A KR20190108963A KR 20190108963 A KR20190108963 A KR 20190108963A KR 1020180030696 A KR1020180030696 A KR 1020180030696A KR 20180030696 A KR20180030696 A KR 20180030696A KR 20190108963 A KR20190108963 A KR 20190108963A
Authority
KR
South Korea
Prior art keywords
retaining wall
nail
wall block
fixing device
tension
Prior art date
Legal status (The legal status is an assumption and is not a legal conclusion. Google has not performed a legal analysis and makes no representation as to the accuracy of the status listed.)
Granted
Application number
KR1020180030696A
Other languages
English (en)
Other versions
KR102107793B1 (ko
Inventor
문승정
염승옥
Original Assignee
주식회사동림이엔지
염승옥
Priority date (The priority date is an assumption and is not a legal conclusion. Google has not performed a legal analysis and makes no representation as to the accuracy of the date listed.)
Filing date
Publication date
Application filed by 주식회사동림이엔지, 염승옥 filed Critical 주식회사동림이엔지
Priority to KR1020180030696A priority Critical patent/KR102107793B1/ko
Publication of KR20190108963A publication Critical patent/KR20190108963A/ko
Application granted granted Critical
Publication of KR102107793B1 publication Critical patent/KR102107793B1/ko
Active legal-status Critical Current
Anticipated expiration legal-status Critical

Links

Images

Classifications

    • EFIXED CONSTRUCTIONS
    • E02HYDRAULIC ENGINEERING; FOUNDATIONS; SOIL SHIFTING
    • E02DFOUNDATIONS; EXCAVATIONS; EMBANKMENTS; UNDERGROUND OR UNDERWATER STRUCTURES
    • E02D29/00Independent underground or underwater structures; Retaining walls
    • E02D29/02Retaining or protecting walls
    • E02D29/0225Retaining or protecting walls comprising retention means in the backfill
    • E02D29/0233Retaining or protecting walls comprising retention means in the backfill the retention means being anchors
    • EFIXED CONSTRUCTIONS
    • E02HYDRAULIC ENGINEERING; FOUNDATIONS; SOIL SHIFTING
    • E02DFOUNDATIONS; EXCAVATIONS; EMBANKMENTS; UNDERGROUND OR UNDERWATER STRUCTURES
    • E02D29/00Independent underground or underwater structures; Retaining walls
    • E02D29/02Retaining or protecting walls
    • E02D29/025Retaining or protecting walls made up of similar modular elements stacked without mortar
    • EFIXED CONSTRUCTIONS
    • E02HYDRAULIC ENGINEERING; FOUNDATIONS; SOIL SHIFTING
    • E02DFOUNDATIONS; EXCAVATIONS; EMBANKMENTS; UNDERGROUND OR UNDERWATER STRUCTURES
    • E02D29/00Independent underground or underwater structures; Retaining walls
    • E02D29/02Retaining or protecting walls
    • E02D29/0258Retaining or protecting walls characterised by constructional features
    • E02D29/0266Retaining or protecting walls characterised by constructional features made up of preformed elements
    • EFIXED CONSTRUCTIONS
    • E02HYDRAULIC ENGINEERING; FOUNDATIONS; SOIL SHIFTING
    • E02DFOUNDATIONS; EXCAVATIONS; EMBANKMENTS; UNDERGROUND OR UNDERWATER STRUCTURES
    • E02D2600/00Miscellaneous
    • E02D2600/20Miscellaneous comprising details of connection between elements

Landscapes

  • Engineering & Computer Science (AREA)
  • Environmental & Geological Engineering (AREA)
  • Life Sciences & Earth Sciences (AREA)
  • General Life Sciences & Earth Sciences (AREA)
  • Mining & Mineral Resources (AREA)
  • Paleontology (AREA)
  • Civil Engineering (AREA)
  • General Engineering & Computer Science (AREA)
  • Structural Engineering (AREA)
  • Retaining Walls (AREA)

Abstract

본 발명은 보강토 옹벽블럭의 고정 장치에 관한 것으로, 보다 상세하게는 절토부와 옹벽 사이에 설치되어 옹벽의 고정력을 향상시키고자 하는 고정 장치의 구성 부품들을 단순화하함으로써 종래에 비해 조립 편의성을 향상시키고, 연결 부품들간의 결합 구조가 더욱 견고해지도록 하여 시공중에 안전사고의 발생을 방지할 수 있도록 하며, 그에 따른 안전성과 내구성 및 경제성을 동시에 향상시킬 수 있는 보강토 옹벽블럭의 고정 장치에 관한 것이다.
본 발명에 따른 보강토 옹벽블럭의 고정 장치는, 다단으로 적층 시공되는 다수의 옹벽블록이 상호 지지될 수 있도록 옹벽블록 몸체에 형성된 횡방향요홈을 따라 길게 삽입되는 연결바와; 절토부에 형성된 천공에 네일이 삽입되어 그라우팅 처리되는 네일부와; 상기 연결바와 상기 네일부 사이를 연결하여 상기 다수의 옹벽블록을 상기 절토부 방향으로 인장시키며 고정하는 연결고정부를; 포함하는 보강토 옹벽 블록의 고정 장치에 있어서, 상기 연결고정부는, 상기 절토부와 상기 연결바 사이로 길게 연장되는 인장와이어와, 상기 네일측에 일측이 연결되고 상기 인장와이어의 길이방향 일측 말단부에 체결되며 상기 인장와이어를 상기 절토부 방향으로 인장시키는 제1측 고정구 및, 상기 연결바측에 일측이 연결되고 상기 인장와이어의 길이방향 타측 말단부에 체결되며 상기 인장와이어를 상기 다수의 옹벽블록 방향으로 인장시키는 제2측 고정구를 포함하여 구성된 것을 특징으로 한다.

Description

보강토 옹벽블럭의 고정 장치{APPARATUS FOR FIXING REINFORCED RETAINAING WALL BLOCK}
본 발명은 보강토 옹벽블럭의 고정 장치에 관한 것으로, 보다 상세하게는 절토부와 옹벽 사이에 설치되어 옹벽의 고정력을 향상시키고자 하는 고정 장치의 구성 부품들을 단순화하함으로써 종래에 비해 조립 편의성을 향상시키고, 연결 부품들간의 결합 구조가 더욱 견고해지도록 하여 시공중에 안전사고의 발생을 방지할 수 있도록 하며, 그에 따른 안전성과 내구성 및 경제성을 동시에 향상시킬 수 있는 보강토 옹벽블럭의 고정 장치에 관한 것이다.
일반적으로, 보강토 옹벽블록은 토목공사에 의하여 형성된 절개지의 경사면이나 법면을 지탱하여 토사가 붕괴되는 것을 막기 위한 구조물로, 지형적 요인과 시공 후 옹벽에 가해지는 압력 분포 등을 고려하여 시공하게 된다.
기존의 보강토 옹벽의 축조공법은 크게 두 가지 유형이 있다. 그 하나는 콘크리트판넬을 옹벽전면판(Concerete facing)으로 하면서 콘크리트판넬의 이면에 설치된 연결고리에 P.E.T재질의 보강띠(Strip)을 연결시키고 이를 뒷채움 보강토 구간에 일직선상으로 포설한 후, 보강띠의 끝부분을 쐐기형 앵커로 고정하는 방법이다.
또한, 이러한 종래의 보강토 옹벽과 그 시공법은 특히, 절토부의 경우 보강토 옹벽의 축조 높이에 따라 뒷공간이 일정 넓이(높이의 70%정도)가 확보되어야 하지만, 도로의 협소한 공간에 따라 넓이가 확보되지 않을 경우 시공이 어렵게 되고, 보강재로 일반 그리드를 설치하게 되면 인장력이 부족하게 되어 보강토 블록 자체가 틀어지거나, 사면이 붕괴될 우려가 있는 것이었다.
한편, 성토부의 경우, 배면 토사의 재료와 지층을 설계 및 시공자가 선정한 균질한 재료에 의해 시공이 된다. 하지만, 절토부의 경우 원지반의 지층 및 지반조건(토층 성상, 지하수 등)이 불균질하여 설계와 실제 시공시에 상당한 격차를 보여 설계조건대로 시공하지 않고 현장에서 지반조건에 맞추어 변경 시공하는 일이 빈번하게 된다.
이에, 종래에는 상기와 같은 문제점을 해결하기 위한 기술로서, 대한민국 등록특허공보 제10-1463231호 “보강토 옹벽 블록의 고정 장치”가 개시되어 있다.
도 1을 참조하여 종래의 상기 보강토 옹벽 블록의 고정 장치(100)를 살펴보면, 보강토 옹벽 블록의 고정 장치에 있어서, 절토부에 형성된 천공에 삽입되고 그라우팅 처리되는 네일부(110)와, 옹벽블록의 횡방향요홈에 안착되어 다수의 옹벽블록 서로를 연결하도록 길게 연장된 블록고정바(120)와, 상기 옹벽블록이 절토부에 안정적으로 지지되도록 상기 네일부(110)와 상기 블록고정바(120) 사이를 연결하는 연결보강부(130)를 포함하되, 상기 연결보강부(130)는 일측이 네일(111)의 일단부에 연결되는 고리 지지체(131)와, 일단부가 상기 고리 지지체(131)에 걸림 지지되는 제1후크가 구비된 제1 연결체(132)와, 중공형의 나사공이 형성되어 일측이 상기 제1 연결체(132)의 타단부에 나사 결합되는 클램프(133)와, 상기 클램프(133)의 타측에 나사 결합되는 제2 연결체(134)와, 일단부가 상기 블록고정바(120)에 걸리는 제2후크가 구비된 제3 연결체(135)와, 소정 길이로 연장되어 상기 제2 연결체(134) 및 상기 제3 연결체(135)에 양측이 연결되는 보강바(136)를 포함하여 구성되어, 외력에 의해 상기 클램프(133)를 회전시킨 경우 상기 제1 연결체(132) 및 상기 제2 연결체(134)가 상호 인장되게 하는 기술이다.
상기와 같은 종래의 보강토 옹벽 블록의 고정 장치는 보강토 옹벽 블록을 절토부 방향으로 당기는 인장력의 조절이 편리하게 됨으로써 고정 장치의 체결에 따른 노동 강도를 절감할 수 있다는 이점이 있었다. 즉, 상기 클램프(133)가 회전됨에 따라 상기 제1 연결체(132) 및 제2 연결체(134)와 각각 조임 및 풀림 조절될 수 있게 구성되었던 것이다.
그러나, 상기와 같은 클램프(133)를 채택하여 현장에서 직접 시공한 결과 설치초기에는 크게 문제가 되지 않았으나, 옹벽 블록 고정 장치 전체의 무게가 증가하게 되고, 추가 부품 개수가 많아져 비용 상승 문제가 있었으며, 각 부품들의 연결부분이 많아짐에 따라 점차적으로 나사결합부에 간극이 발생하는 등의 문제가 발생되었을 뿐만 아니라, 강한 인장력을 가한 경우 상기 고리 지지체(131)와 상기 제1 연결체(132)를 연결하는 후크 부분 및 상기 제3 연결체(135)의 후크 부분이 강성 부족으로 파손됨으로써 보강토 옹벽을 고정하는 고정 장치로서의 기능이 상실하게 되는 문제가 발생되었던 것이다.
따라서, 상술한 바와 같은 종래의 상기 보강토 옹벽 블록의 고정 장치는 시공중에 안전 사고가 발생될 수 있는 단점과 함께 추가 부품들의 구성에 따른 원가 상승 등의 문제가 있었던 것이다.
본 발명은 상기와 같은 문제점을 해결하고자 안출된 것으로, 절토부와 옹벽 사이에 설치되어 옹벽의 고정력을 향상시키고자 하는 고정 장치의 조립 편의성을 향상시키고, 구성 부품들을 단순화하여 경제성을 높일 수 있을 뿐만 아니라, 연결 부품들간의 결합 구조가 더욱 견고해지도록 함으로써 시공중에 안전사고의 발생을 방지하여 특히, 종래의 기술에 비해 안전성과 내구성 및 경제성을 동시에 향상시킬 수 있도록 하는 보강토 옹벽블럭의 고정 장치를 제공하는데에 있다.
상기와 같은 목적을 달성하기 위하여 본 발명에 따른 보강토 옹벽블럭의 고정 장치는, 다단으로 적층 시공되는 다수의 옹벽블록이 상호 지지될 수 있도록 옹벽블록 몸체에 형성된 횡방향요홈을 따라 길게 삽입되는 연결바와; 절토부에 형성된 천공에 네일이 삽입되어 그라우팅 처리되는 네일부와; 상기 연결바와 상기 네일부 사이를 연결하여 상기 다수의 옹벽블록을 상기 절토부 방향으로 인장시키며 고정하는 연결고정부를; 포함하는 보강토 옹벽 블록의 고정 장치에 있어서, 상기 연결고정부는, 상기 절토부와 상기 연결바 사이로 길게 연장되는 인장와이어와, 상기 네일측에 일측이 연결되고 상기 인장와이어의 길이방향 일측 말단부에 체결되며 상기 인장와이어를 상기 절토부 방향으로 인장시키는 제1측 고정구 및, 상기 연결바측에 일측이 연결되고 상기 인장와이어의 길이방향 타측 말단부에 체결되며 상기 인장와이어를 상기 다수의 옹벽블록 방향으로 인장시키는 제2측 고정구를 포함하여 구성된 것을 특징으로 한다.
또한, 본 발명에 따른 보강토 옹벽블럭의 고정 장치는, 상기 제1측 고정구 및 제2측 고정구는, 측면 방향을 향하여 소정 크기로 관통된 삽입공이 형성되고, 각각의 타측 내부로 소정 깊이의 웨지수용부가 형성되되, 상기 제1측 고정구 및 제2측 고정구는, 상기 웨지수용부에 삽입 수용되는 웨지와, 상기 웨지수용부에 나사 체결되며 상기 웨지의 외면을 가압한 경우 상기 웨지의 내경을 축소시켜 상기 인장와이어에 인장을 가하는 웨지조인트가 각각 구비되어 구성된 것을 특징으로 한다.
또한, 본 발명에 따른 보강토 옹벽블럭의 고정 장치는, 상기 네일부는, 상기 네일과 상기 제1측 고정구 사이를 연결하는 네일연결구를 포함하여 구성되되, 상기 네일연결구는, 측면 방향을 향하여 관통된 한 쌍의 볼트공이 소정 간격 이격되게 형성된 조인트브라켓과, 상기 한 쌍의 볼트공에 삽입 체결되는 체결부재가 구비되어 구성되고, 상기 제1측 고정구는, 상기 체결부재를 통해 상기 삽입공 부분이 상기 조인트브라켓에 체결되어 일측이 상기 체결부재를 축으로 상하 회동가능하게 결합되고, 상기 제2측 고정구는, 상기 삽입공이 상기 연결바 상에 끼움 삽입되어 일측이 상기 연결바를 축으로 상하 회동가능하게 결합된 것을 특징으로 한다.
상기와 같은 구성에 의하여 본 발명에 따른 보강토 옹벽블럭의 고정 장치는 절토부와 옹벽 사이에 설치되어 옹벽의 고정력을 향상시키고자 하는 고정 장치의 조립 편의성이 향상되고, 구성 부품들을 단순화하여 경제성을 높일 수 있으며, 연결 부품들간의 결합 구조가 더욱 견고해지도록 함으로써 시공중에 안전사고의 발생을 방지하여 특히, 종래의 기술에 비해 안전성과 내구성 및 경제성을 동시에 향상시킬 수 있는 장점을 갖는다.
도 1은 종래의 일실시예에 따른 보강토 옹벽블럭의 고정 장치를 도시한 사시도.
도 2는 본 발명의 일실시예에 따른 보강토 옹벽블럭의 고정 장치의 시공 상태를 도시 측단면도.
도 3은 본 발명의 일실시예에 따른 보강토 옹벽블럭의 고정 장치의 시공 상태를 도시한 평면상태도.
도 4는 본 발명의 일실시예에 따른 보강토 옹벽블럭의 고정 장치가 조립 시공된 상태를 도시한 부분측단면도.
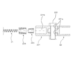
도 5는 본 발명의 일실시예에 따른 보강토 옹벽블럭의 고정 장치의 연결고정부의 구성을 도시한 분해단면도.
도 6은 본 발명의 일실시예에 따른 보강토 옹벽블럭의 고정 장치의 네일연결구의 결합 상태를 도시한 분해단면도.
도 7은 본 발명의 일실시예에 따른 보강토 옹벽블럭의 네일정착구의 결합 상태를 도시한 분해단면도.
이하에서는 도면에 도시된 실시예를 참조하여 본 발명에 따른 보강토 옹벽블럭의 고정 장치를 보다 상세하게 설명하기로 한다.
도 2는 본 발명의 일실시예에 따른 보강토 옹벽블럭의 고정 장치의 시공 상태를 도시 측단면도이고, 도 3은 본 발명의 일실시예에 따른 보강토 옹벽블럭의 고정 장치의 시공 상태를 도시한 평면상태도이며, 도 4는 본 발명의 일실시예에 따른 보강토 옹벽블럭의 고정 장치가 조립 시공된 상태를 도시한 부분측단면도이고, 도 5는 본 발명의 일실시예에 따른 보강토 옹벽블럭의 고정 장치의 연결고정부의 구성을 도시한 분해단면도이며, 도 6은 본 발명의 일실시예에 따른 보강토 옹벽블럭의 고정 장치의 네일연결구의 구성을 도시한 분해단면도이고, 도 7은 본 발명의 일실시예에 따른 보강토 옹벽블럭의 네일정착구의 결합 상태를 도시한 분해단면도이다.
도면을 참조하면, 본 발명의 일실시예에 따른 보강토 옹벽블럭의 고정 장치는, 다단으로 적층 시공되는 다수의 옹벽블록(1)이 상호 지지될 수 있도록 옹벽블록 몸체에 형성된 횡방향요홈(1a)을 따라 길게 삽입되는 연결바(10)와, 절토부(2)에 형성된 천공(2a)에 네일(21)이 삽입되어 그라우팅 처리되는 네일부(20)와, 상기 연결바(10)와 상기 네일부(20) 사이를 연결하여 상기 다수의 옹벽블록(1)을 상기 절토부(2) 방향으로 인장시키며 고정하는 연결고정부(30)를 포함하는 보강토 옹벽 블록의 고정 장치에 있어서, 상기 연결고정부(30)는, 인장와이어(31)와, 제1측 고정구(32) 및 제2측 고정구(33)를 포함하여 구성된다.
우선, 상기 다수의 옹벽블록(1)은 블록 몸체의 전면부에 형성된 핀삽입공에 상하로 삽입되며, 상하 이웃하는 옹벽블록(1)끼리 고정시키는 고정핀에 의해 다단으로 적층 시공될 수 있을 것이며, 상기 다수의 옹벽블록(1)은 종래에 개시된 다양한 시공 방법을 통해 뒷물림 경사각 등의 조절이 가능할 것이다. 이와 같은 옹벽블록의 시공법은 일반적인 것이므로 구체적인 설명은 생략하기로 한다.
상기 연결바(10)는 상기 옹벽블록(1)의 상기 횡방향요홈(1a)에 안착되어 다단으로 적층 시공되는 상기 다수의 옹벽블록(1)이 상호 안정적으로 지지될 수 있도록 하는 구성이다.
도 2 및 도 3을 참조하면, 본 발명의 일실시예에서의 상기 연결바(10)는 상기 옹벽블록(1) 몸체에 형성된 횡방향요홈(1a)을 따라 길게 삽입되고, 후술되는 상기 연결고정부(30)에 의해 상기 다수의 옹벽블록(1) 후방 즉, 상기 절토부(2) 방향으로 인장되며 상기 다수의 옹벽블록(1) 전체의 전단력을 보강하는 역할을 한다.
상기와 같은 연결바(10)는 일반적인 강봉 또는 철근이 적용될 수 있으며, 일정 직경을 갖는 봉형 부재로서 필요에 따라 절단하여 사용될 수 있다. 또한, 상기 연결바(10)는 내에서 허용되는 내구성을 갖는다면 금속 등의 재질에 제한을 두지 않을 것이다.
상기 네일부(20)는 보강재를 원지반에 삽입하여 원지반 자체의 전체적인 전단강도를 증대시키기 위한 소일 네일(Soil nail) 공법을 적용하기 위한 구성이다.
이에, 상기 네일부(20)는 상기 절토부(2)에 형성된 천공(2a)에 삽입되어 네일(11)이 그라우팅 처리되어 인발저항력을 갖게 된다.
한편, 본 발명의 일실시예에 따른 보강토 옹벽 블록의 고정 장치는, 상기 연결고정부(30)의 구성을 통해 상기 다수의 옹벽블록(1) 구조체와 상기 네일부(20) 상호간에 체결 및 인장 조절을 위한 시공 작업이 용이하고, 종래의 옹벽 고정 장치의 기술들에 비해 더욱 견고하면서 연결 구조는 단순화하여 경제성을 향상시킬 수 있는 것을 특징으로 한다.
도 3을 참조하면, 상술한 바와 같이 본 발명의 일실시예에서의 상기 연결고정부(30)는, 상기 연결바(10)와 상기 네일부(20) 사이를 연결하여 상기 다수의 옹벽블록(1)을 상기 절토부(2) 방향으로 인장시키며 고정하기 위한 구성으로, 상기 연결고정부(30)는 상기 인장와이어(31)와, 제1측 고정구(32) 및 제2측 고정구(33)를 포함하여 구성된다.
상기 인장와이어(31)는 상기 절토부(2)와 상기 연결바(10) 사이를 길게 연결하는 구성으로, 후술되는 상기 제1측 고정구(32) 및 제2측 고정구(33)를 일자로 연결할 수 있도록 일정 길이만큼 길게 연장된다.
또한, 상기 인장와이어(31)는 상기 다수의 옹벽블록(1) 구조체 후방으로 흙채움되는 공간에서 상기 옹벽블록(1)과 상기 절토부(2) 사이의 간격에 대응하는 길이만큼 절단하여 사용될 수 있으며, 현장 상황에 대응할 수 있는 다양한 두께 및 길이로 미리 제작될 수 있다.
이에, 상기 인장와이어(31)는 토목용 인장선 또는 철근 등이 사용될 수 있으며, 이때, 본 발명의 일실시예에서는 상기 인장와이어(31)가 표면을 따라 리브(31a)와 마디가 연속되게 형성된 철근을 사용하는 것이 바람직하다.
한편, 본 발명의 일실시예에 따른 보강토 옹벽 블록의 고정 장치에서는 상기 제1측 고정구(32) 및 제2측 고정구(33)의 구성을 통해 연결 부품들간의 결합 구조가 견고해지면서 구성 부품들을 단순화할 수 있는 특징과 장점을 갖는다.
즉, 본 발명 보강토 옹벽 블록의 고정 장치에서는 상기 제1측 고정구(32) 및 제2측 고정구(33)를 통해 상기 인장와이어(31)의 결합과 동시에 인장 조절이 간편하게 이루어질 수 있다.
도 4 및 도 5를 참조하면, 상기 제1측 고정구(32) 및 제2측 고정구(33)는 각각 일측에 측면 방향을 향하여 소정 크기로 관통된 삽입공(32a,33a)이 형성되고, 각각의 타측 내부로 소정 깊이의 웨지수용부(32b,33b)가 형성된다.
상기 삽입공(32a,33a)은 상기 연결바(10) 및 후술되는 상기 네일연결구(22)와의 결합이 간편하면서 견고하게 결합될 수 있게 형성된 것으로, 이하에서 다시 설명하기로 하며, 상기 웨지수용부(32b,33b)는 내부에 일정 길이만큼 암나사산이 형성된다.
또한, 상기 제1측 고정구(32) 및 상기 제2측 고정구(33)는 웨지(321,331) 및 웨지조인트(322,332)가 각각 구비되어 구성된다.
상기 웨지(321,331)는 복수개의 웨지편이 분할된 형태로 고무링에 의해 상호 원호형을 이루도록 결합되어 있어 외력에 의해 내경이 확장 및 축소될 수 있도록 구성된다. 그리고, 상기 웨지(321,331)는 상기 인장와이어(31)가 통과될 수 있는 중공이 형성되어 있다.
또한, 상기 웨지(321,331)는 외면에 일측 방향으로 경사부가 형성되어 있는데, 상기 경사부는 상기 웨지조인트(322,332)의 내면에 형성된 테이퍼면과 대응하여 맞닿게 형성된 것이다.
상기 웨지조인트(322,332)는 상기 웨지(321,331)의 외면을 감싸는 형태로 삽입될 수 있는 소정의 내부공간이 마련되는데, 상기 내부공간에는 상기 테이퍼면이 형성되고, 상기 웨지(321,331)와 같이 상기 인장와이어(31)가 통과될 수 있는 중공이 형성된다.
이에, 상기 웨지(321,331)는 상기 경사부가 상기 웨지조인트(322,332)의 테이퍼면에 밀착된 상태로 일체로 결합될 수 있다. 즉, 상기 웨지(321,331)는 상기 웨지수용부(32b,33b)의 내부로 삽입 수용될 수 있다.
또한, 상기 웨지조인트(322,332)는 외주면에 숫나사산이 형성되어 상기 웨지수용부(32b,33b)의 내면을 따라 나사 체결되는데, 이때 상기 웨지(321,331)는 상기 웨지조인트(322,332)에 의해 외면이 가압되어 내경이 축소되면서 상기 웨지수용부(32b,33b) 안쪽으로 점차적으로 이동하게 된다.
이에 따라, 상기 웨지조인트(322,332)를 상기 제1측 고정구(32) 및 상기 제2측 고정구(33)에 나사 결합하는 작업만으로 상기 인장와이어(31)를 쉽게 연결하는 것과 동시에 인장 강도를 용이하게 조절할 수 있게 된다.
상기와 같이 본 발명 보강토 옹벽 블럭의 고정 장치는 상기 제1측 고정구(32) 및 상기 제2측 고정구(33)가 상기 인장와이어(31)를 기준으로 상호 대칭 방향에서 상기 웨지(321,331) 및 웨지조인트(322,332)의 구성을 통해 각각 간편하게 결합되면서 상기 절토부(2)로 고정된 네일(21) 방향으로 상기 옹벽블록(1)을 팽팽하게 인장시키며 고정시킬 수 있게 된다.
즉, 상기 제1측 고정구(32)는 상기 네일(21)측에 일측이 연결되고, 상기 인장와이어(31)의 길이방향 일측 말단부에 체결되며 상기 인장와이어(31)를 상기 절토부(2) 방향으로 인장시키며, 상기 제2측 고정구(33)는 상기 연결바(10)측에 일측이 연결되고, 상기 인장와이어(31)의 길이방향 타측 말단부에 체결되며 상기 인장와이어(31)를 상기 다수의 옹벽블록(1) 방향으로 인장시켜 상기 옹벽블록(1) 구조체가 상기 네일부(20)에 안정적으로 연결되어 지지될 수 있게 한다.
또한, 본 발명의 일실시예에 따른 보강토 옹벽 블록의 고정 장치는, 상기 네일부(20)는 상기 네일(21)과 상기 제1측 고정구(32) 사이를 연결하는 네일연결구(22)를 포함하여 구성된다.
한편, 종래의 기술에서는 상기 보강바(136) 등에 강한 인장력을 가한 경우 후크와 같이 체결된 부분에서 단면의 전단 강도가 부족하여 파괴되는 문제가 발생되었던 것이다.
따라서, 본 발명 보강토 옹벽 블록의 고정 장치는 상기 제1측 고정구(32)가 상기 네일연결구(22)를 통해 상기 네일부(22)에 간편하고 견고하게 결합될 수 있도록 하고, 상기 제2측 고정구(33) 또한 상기 연결바(10)에 간편하고 견고하게 결합될 수 있도록 구성한 것이다.
이에, 상기 네일연결구(22)는 상기 제1측 고정구(32)의 삽입공(32a,33a) 부분이 간편하게 체결될 수 있도록 구성된다.
도 6을 참조하면, 상기 네일연결구(22)는 조인트브라켓(221) 및 체결부재(222)가 구비되어 구성된다.
상기 조인트브라켓(221)은 측면 방향 즉, 상기 네일(21)의 길이방향과 교차하는 방향으로 관통된 한 쌍의 볼트공(221a)이 소정 간격으로 이격되게 형성된다.
상기 체결부재(222)는 상기 한 쌍의 볼트공(221a)에 삽입 체결되는 구성으로, 상기 인장와이어(31)의 인장 강도에 대응할 수 있는 충분한 강도의 두께를 갖는 볼트 및 너트 부재가 사용될 수 있다.
이에 따라, 상기 체결부재(222) 즉, 상기 볼트는 상기 네일(21)의 길이방향과 교차하는 방향으로 고정된 연결축과 같은 역할을 하게 되는데, 이때 상기 제1측 고정구(32)는 상기 삽입공(32a)이 상기 한 쌍의 볼트공(221a) 사이에서 상기 볼트 상에 삽입된 상태로 상기 조인트브라켓(221)과 상호 체결된다.
즉, 상기 제1측 고정구(32)는 상기 체결부재(222)를 통해 상기 삽입공(32a) 부분이 상기 조인트브라켓(221)에 체결되어 일측 즉, 상기 웨지수용부(32b) 부분이 상기 체결부재(222)를 축으로 상하 회동가능하게 결합된다.
또한, 상기 조인트브라켓(221)은 상기 네일(21)과의 결합시 상기 네일(21)의 말단부에 나사탭을 형성하여 상기 조인트브라켓(221)에 단순하게 결합시킬 수 있을 것이지만, 이와 같은 경우 상기 네일(21)에 나사탭을 별도로 형성하여야 하는 등의 번거러운 작업이 필요하게 되었다.
따라서, 본 발명의 일실시예에서는 상기 조인트브라켓(221)이 상기 제1측 고정구(32)에서의 웨지 및 웨지조인트와 같은 구성을 이용하여 상기 네일(21)과 결합될 수 있도록 할 수 있다.
즉, 도 6에 도시된 바와 같이 상기 조인트브라켓(221)은 상기 한 쌍의 볼트공(221a)이 형성된 타측 방향으로 웨지수용부(221b)가 형성되고, 웨지(223) 및 웨지조인트(224)가 상기 웨지수용부(221b)에 체결되면서 상기 네일(21)에 인장을 가하며 고정시킬 수 있도록 할 수 있다.
이에 따라, 본 발명 보강토 옹벽블럭의 고정 장치는 상기 연결고정부(30) 측에서의 상기 인장와이어(31)의 결합이 견고하고 용이한 것은 물론, 상기 네일부(20)도 상기 연결고정부(30)에 간편하면서 견고하게 체결될 수 있어 보강토 옹벽블럭의 시공성이 종래에 비해 크게 향상될 수 있는 효과가 있다.
한편, 상기 제2측 고정구(33)는 상기 제1측 고정구(32)와 같이 상기 삽입공(33a)이 상기 연결바(10) 상에 끼움 삽입되어 일측이 상기 연결바(10)를 축으로 상하 회동가능하게 결합된다
따라서, 본 발명의 일실시예에서의 상기 연결고정부(30)는 양측이 각각 상기 연결바(10) 및 네일부(20)로부터 상하 회동가능하게 결합될 수 있어 상기 절토부(2)의 경사면에 따른 수평 조절 및 각도 조절이 용이할 뿐만 아니라, 시공 작업이 매우 신속하고 간편하게 진행될 수 있다.
상술한 바와 같은 구성을 통해, 본 발명 보강토 옹벽 블록의 고정 장치는 상기 종래의 보강토 옹벽 블록의 고정 장치(100)에 비해 연결 부품들의 결합 강도를 높일 수 있는 것은 물론, 전체 구성의 결합 구조를 단순화할 수 있을 뿐만 아니라, 시공 작업이 매우 간편하게 이루어지면서도 조립 작업시 인장 강도를 용이하게 조절할 수 있도록 함에 따라 안전성과 내구성 및 경제성을 동시에 향상시킬 수 있는 효과가 발생될 수 있다.
또한, 본 발명의 일실시예에 따른 보강토 옹벽 블록의 고정 장치는, 상기 네일부(20)는 상기 절토부(2)의 천공(2a) 내부에 그라우팅을 하는 경우 상기 네일(21)에 가해지는 인장 강도를 향상시킬 수 있도록 하는 네일정착구(23)를 더 포함하여 구성될 수 있다.
이에, 상기 네일정착구(23)는 정착체(231)와 스크류웨지(232)가 구비되어 구성될 수 있다.
도 7을 참조하면, 상기 정착체(231)는 일측에 외부 표면을 따라 다수의 요철면(231a)이 일정 길이만큼 형성되고, 다른 일측으로는 상기 네일(21)의 길이방향으로 삽입될 수 있는 너트수용부(231b)가 형성된다.
상기 정착체(231)는 그라우트재가 경화한 경우 상기 요철면(231a)에 의해 인발저항력을 향상시킬 수 있도록 상기 네일(21)의 길이방향 말단부에서 상기 스크류웨지(232)를 통해 결합된다.
또한, 상기 정착체(231)는 상기 너트수용부(231b)의 내면을 따라 암나사산이 형성되어 상기 스크류웨지(232)와 나사결합될 수 있다.
상기 스크류웨지(232)는 적어도 한 쌍 이상 분할된 형태로 상기 네일(21)과 상기 정착체(231)의 외면 사이에 개재되어 서로 결합된 경우 원호형을 이루도록 형성될 수 있다. 이에, 본 발명의 일실시예에서는 상기 스크류웨지(232)가 대략 반원형 구조로 한 쌍으로 구성될 수 있다.
또한, 상기 스크류웨지(232)는 내면에 상기 네일(21)의 리브 및 마디에 대응하여 맞물릴 수 있는 걸림홈(232a)이 길이방향을 따라 일정 간격으로 형성되고, 외면에는 상기 정착체(231)의 너트수용부(231b) 내면을 따라 나사 결합될 수 있도록 수나사산부(232b)이 길이방향을 따라 형성된다.
따라서, 상기 네일정착구(23)는 상기 정착체(231) 및 상기 스크류웨지(232)와 같은 구성을 통해 상기 네일(21)에 신속하고 간편한 방식으로 체결될 수 있고, 이때, 상기와 같이 설치된 상기 정착체(231)는 상기 네일(21)이 그라우팅 처리됨에 따라 상기 네일(21)의 인장 강도를 높일 수 있도록 하는 역할을 할 수 있게 된다.
앞에서 설명되고 도면에 도시된 보강토 옹벽블럭의 고정 장치는 본 발명을 실시하기 위한 하나의 실시예에 불과하며, 본 발명의 기술적 사상을 한정하는 것으로 해석되어서는 안된다. 본 발명의 보호범위는 이하의 특허청구범위에 기재된 사항에 의해서만 정하여지며, 본 발명의 요지를 벗어남이 없이 개량 및 변경된 실시예는 본 발명이 속하는 기술분야에서 통상의 지식을 가진 자에게 자명한 것인 한 본 발명의 보호범위에 속한다고 할 것이다.
1 옹벽블록 1a 횡방향요홈
2 절토부 2a 천공
10 연결바 20 네일부
21 네일 22 네일연결구
221 조인트브라켓 221a 볼트공
222 체결부재 23 네일정착구
231 정착체 232 스크류웨지
30 연결고정부 31 인장와이어
32 제1측 고정구 33 제2측 고정구
32a,33a 삽입공 32b,33b 웨지수용부
321,331 웨지 322,332 웨지조인트

Claims (3)

  1. 다단으로 적층 시공되는 다수의 옹벽블록이 상호 지지될 수 있도록 옹벽블록 몸체에 형성된 횡방향요홈을 따라 길게 삽입되는 연결바와; 절토부에 형성된 천공에 네일이 삽입되어 그라우팅 처리되는 네일부와; 상기 연결바와 상기 네일부 사이를 연결하여 상기 다수의 옹벽블록을 상기 절토부 방향으로 인장시키며 고정하는 연결고정부를; 포함하는 보강토 옹벽 블록의 고정 장치에 있어서,
    상기 연결고정부는, 상기 절토부와 상기 연결바 사이로 길게 연장되는 인장와이어와, 상기 네일측에 일측이 연결되고 상기 인장와이어의 길이방향 일측 말단부에 체결되며 상기 인장와이어를 상기 절토부 방향으로 인장시키는 제1측 고정구 및, 상기 연결바측에 일측이 연결되고 상기 인장와이어의 길이방향 타측 말단부에 체결되며 상기 인장와이어를 상기 다수의 옹벽블록 방향으로 인장시키는 제2측 고정구를 포함하여 구성된 것을 특징으로 하는 보강토 옹벽 블록의 고정 장치.
  2. 제1항에 있어서,
    상기 제1측 고정구 및 제2측 고정구는, 측면 방향을 향하여 소정 크기로 관통된 삽입공이 형성되고, 각각의 타측 내부로 소정 깊이의 웨지수용부가 형성되되,
    상기 제1측 고정구 및 제2측 고정구는, 상기 웨지수용부에 삽입 수용되는 웨지와, 상기 웨지수용부에 나사 체결되며 상기 웨지의 외면을 가압한 경우 상기 웨지의 내경을 축소시켜 상기 인장와이어에 인장을 가하는 웨지조인트가 각각 구비되어 구성된 것을 특징으로 하는 보강토 옹벽 블록의 고정 장치.
  3. 제2항에 있어서,
    상기 네일부는, 상기 네일과 상기 제1측 고정구 사이를 연결하는 네일연결구를 포함하여 구성되되,
    상기 네일연결구는, 측면 방향을 향하여 관통된 한 쌍의 볼트공이 소정 간격 이격되게 형성된 조인트브라켓과, 상기 한 쌍의 볼트공에 삽입 체결되는 체결부재가 구비되어 구성되고,
    상기 제1측 고정구는, 상기 체결부재를 통해 상기 삽입공 부분이 상기 조인트브라켓에 체결되어 일측이 상기 체결부재를 축으로 상하 회동가능하게 결합되고,
    상기 제2측 고정구는, 상기 삽입공이 상기 연결바 상에 끼움 삽입되어 일측이 상기 연결바를 축으로 상하 회동가능하게 결합된 것을 특징으로 하는 보강토 옹벽 블록의 고정 장치.
KR1020180030696A 2018-03-16 2018-03-16 보강토 옹벽블럭의 고정 장치 Active KR102107793B1 (ko)

Priority Applications (1)

Application Number Priority Date Filing Date Title
KR1020180030696A KR102107793B1 (ko) 2018-03-16 2018-03-16 보강토 옹벽블럭의 고정 장치

Applications Claiming Priority (1)

Application Number Priority Date Filing Date Title
KR1020180030696A KR102107793B1 (ko) 2018-03-16 2018-03-16 보강토 옹벽블럭의 고정 장치

Publications (2)

Publication Number Publication Date
KR20190108963A true KR20190108963A (ko) 2019-09-25
KR102107793B1 KR102107793B1 (ko) 2020-05-07

Family

ID=68068105

Family Applications (1)

Application Number Title Priority Date Filing Date
KR1020180030696A Active KR102107793B1 (ko) 2018-03-16 2018-03-16 보강토 옹벽블럭의 고정 장치

Country Status (1)

Country Link
KR (1) KR102107793B1 (ko)

Cited By (2)

* Cited by examiner, † Cited by third party
Publication number Priority date Publication date Assignee Title
KR20230172204A (ko) * 2022-06-15 2023-12-22 주식회사 대기이엔지 보강토 옹벽블럭의 고정 장치
KR102781771B1 (ko) * 2024-10-23 2025-03-18 남종성 개량형 연결구 및 이를 이용한 경사면 보강구조와 전면 패널마감 옹벽공법

Citations (3)

* Cited by examiner, † Cited by third party
Publication number Priority date Publication date Assignee Title
KR100681309B1 (ko) * 2005-03-29 2007-02-09 주식회사 피아이에이 옹벽 블럭과 소일 네일링의 인장재 연결구조
KR101072527B1 (ko) * 2010-07-30 2011-10-12 주식회사 브룸 강연선 지중앵커를 이용한 옹벽 구조물
KR101463231B1 (ko) * 2014-06-26 2014-11-21 주식회사동림이엔지 보강토 옹벽 블록의 고정 장치

Patent Citations (3)

* Cited by examiner, † Cited by third party
Publication number Priority date Publication date Assignee Title
KR100681309B1 (ko) * 2005-03-29 2007-02-09 주식회사 피아이에이 옹벽 블럭과 소일 네일링의 인장재 연결구조
KR101072527B1 (ko) * 2010-07-30 2011-10-12 주식회사 브룸 강연선 지중앵커를 이용한 옹벽 구조물
KR101463231B1 (ko) * 2014-06-26 2014-11-21 주식회사동림이엔지 보강토 옹벽 블록의 고정 장치

Cited By (2)

* Cited by examiner, † Cited by third party
Publication number Priority date Publication date Assignee Title
KR20230172204A (ko) * 2022-06-15 2023-12-22 주식회사 대기이엔지 보강토 옹벽블럭의 고정 장치
KR102781771B1 (ko) * 2024-10-23 2025-03-18 남종성 개량형 연결구 및 이를 이용한 경사면 보강구조와 전면 패널마감 옹벽공법

Also Published As

Publication number Publication date
KR102107793B1 (ko) 2020-05-07

Similar Documents

Publication Publication Date Title
KR101072527B1 (ko) 강연선 지중앵커를 이용한 옹벽 구조물
KR100963682B1 (ko) 앵커 조립체, 이를 이용한 경사면 보강공법
KR102264250B1 (ko) 블록식 보강토 옹벽 및 그 시공방법
KR101463231B1 (ko) 보강토 옹벽 블록의 고정 장치
KR101378793B1 (ko) 나사 조립식 마감캡을 갖는 절토부 패널옹벽
KR101510297B1 (ko) 제거 가능한 프리스트레싱 강관 쏘일 네일링 구조
KR102468702B1 (ko) 비탈면 보강용 매립 옹벽 및 이의 시공방법
KR101674811B1 (ko) 지하공간굴착 취약부 지반 보강방법
KR101471487B1 (ko) 다용도 하중 분산형 그라운드 앵커체
KR20190108963A (ko) 보강토 옹벽블럭의 고정 장치
KR200425520Y1 (ko) 블록식 보강토 옹벽용 연결구조
KR200455432Y1 (ko) 옹벽시공용 연결장치
KR102088161B1 (ko) 자립식 흙막이 구조
KR101000915B1 (ko) 전면부와 보강체의 직접 연결형 옹벽
KR101628079B1 (ko) 사면 보강용 패널 조립체 및 이의 시공방법
KR102652914B1 (ko) 보강토 옹벽블럭의 고정 장치
KR101460180B1 (ko) 소일네일링 공법용 이종 철근 연결구
KR200492647Y1 (ko) 소일 네일링 공법용 강재 연결구
KR20150082152A (ko) 사면을 압착하기 위한 수압판측에 정착체가 구비된 앵커 및 그 시공 방법
KR102607850B1 (ko) 인장력 전달성이 향상된 자립식 흙막이 시공용 브래킷 조립체
KR20060100790A (ko) 사면보강공사용 스크루 앵커 구조 및 이를 이용한 공법
KR102225888B1 (ko) 경사면의 최대 확장성을 적용한 쐐기 지압형 앵커
JP2024121168A (ja) 法面安定化擁壁における擁壁パネルの支持装置
KR101985854B1 (ko) 록볼트 안전캡
KR101445369B1 (ko) 연결구를 이용한 쏘일네일링 장치 및 이의 시공방법

Legal Events

Date Code Title Description
A201 Request for examination
PA0109 Patent application

Patent event code: PA01091R01D

Comment text: Patent Application

Patent event date: 20180316

PA0201 Request for examination
PG1501 Laying open of application
E902 Notification of reason for refusal
PE0902 Notice of grounds for rejection

Comment text: Notification of reason for refusal

Patent event date: 20190930

Patent event code: PE09021S01D

E701 Decision to grant or registration of patent right
PE0701 Decision of registration

Patent event code: PE07011S01D

Comment text: Decision to Grant Registration

Patent event date: 20200423

GRNT Written decision to grant
PR0701 Registration of establishment

Comment text: Registration of Establishment

Patent event date: 20200428

Patent event code: PR07011E01D

PR1002 Payment of registration fee

Payment date: 20200429

End annual number: 3

Start annual number: 1

PG1601 Publication of registration
PR1001 Payment of annual fee

Payment date: 20230130

Start annual number: 4

End annual number: 4

PR1001 Payment of annual fee

Payment date: 20240214

Start annual number: 5

End annual number: 5

PR1001 Payment of annual fee

Payment date: 20250519

Start annual number: 6

End annual number: 6