KR20190088782A - 다단 수평형 풍력 발전 장치 - Google Patents

다단 수평형 풍력 발전 장치 Download PDF

Info

Publication number
KR20190088782A
KR20190088782A KR1020180007292A KR20180007292A KR20190088782A KR 20190088782 A KR20190088782 A KR 20190088782A KR 1020180007292 A KR1020180007292 A KR 1020180007292A KR 20180007292 A KR20180007292 A KR 20180007292A KR 20190088782 A KR20190088782 A KR 20190088782A
Authority
KR
South Korea
Prior art keywords
unit
wind power
wiring
nacelle
steel pipe
Prior art date
Legal status (The legal status is an assumption and is not a legal conclusion. Google has not performed a legal analysis and makes no representation as to the accuracy of the status listed.)
Granted
Application number
KR1020180007292A
Other languages
English (en)
Other versions
KR102066665B1 (ko
Inventor
윤지호
Original Assignee
윤지호
Priority date (The priority date is an assumption and is not a legal conclusion. Google has not performed a legal analysis and makes no representation as to the accuracy of the date listed.)
Filing date
Publication date
Application filed by 윤지호 filed Critical 윤지호
Priority to KR1020180007292A priority Critical patent/KR102066665B1/ko
Publication of KR20190088782A publication Critical patent/KR20190088782A/ko
Application granted granted Critical
Publication of KR102066665B1 publication Critical patent/KR102066665B1/ko
Expired - Fee Related legal-status Critical Current
Anticipated expiration legal-status Critical

Links

Images

Classifications

    • FMECHANICAL ENGINEERING; LIGHTING; HEATING; WEAPONS; BLASTING
    • F03MACHINES OR ENGINES FOR LIQUIDS; WIND, SPRING, OR WEIGHT MOTORS; PRODUCING MECHANICAL POWER OR A REACTIVE PROPULSIVE THRUST, NOT OTHERWISE PROVIDED FOR
    • F03DWIND MOTORS
    • F03D1/00Wind motors with rotation axis substantially parallel to the air flow entering the rotor 
    • F03D1/02Wind motors with rotation axis substantially parallel to the air flow entering the rotor  having a plurality of rotors
    • FMECHANICAL ENGINEERING; LIGHTING; HEATING; WEAPONS; BLASTING
    • F03MACHINES OR ENGINES FOR LIQUIDS; WIND, SPRING, OR WEIGHT MOTORS; PRODUCING MECHANICAL POWER OR A REACTIVE PROPULSIVE THRUST, NOT OTHERWISE PROVIDED FOR
    • F03DWIND MOTORS
    • F03D13/00Assembly, mounting or commissioning of wind motors; Arrangements specially adapted for transporting wind motor components
    • F03D13/20Arrangements for mounting or supporting wind motors; Masts or towers for wind motors
    • FMECHANICAL ENGINEERING; LIGHTING; HEATING; WEAPONS; BLASTING
    • F03MACHINES OR ENGINES FOR LIQUIDS; WIND, SPRING, OR WEIGHT MOTORS; PRODUCING MECHANICAL POWER OR A REACTIVE PROPULSIVE THRUST, NOT OTHERWISE PROVIDED FOR
    • F03DWIND MOTORS
    • F03D7/00Controlling wind motors 
    • F03D7/02Controlling wind motors  the wind motors having rotation axis substantially parallel to the air flow entering the rotor
    • F03D7/0204Controlling wind motors  the wind motors having rotation axis substantially parallel to the air flow entering the rotor for orientation in relation to wind direction
    • FMECHANICAL ENGINEERING; LIGHTING; HEATING; WEAPONS; BLASTING
    • F03MACHINES OR ENGINES FOR LIQUIDS; WIND, SPRING, OR WEIGHT MOTORS; PRODUCING MECHANICAL POWER OR A REACTIVE PROPULSIVE THRUST, NOT OTHERWISE PROVIDED FOR
    • F03DWIND MOTORS
    • F03D80/00Details, components or accessories not provided for in groups F03D1/00 - F03D17/00
    • F03D80/50Maintenance or repair
    • FMECHANICAL ENGINEERING; LIGHTING; HEATING; WEAPONS; BLASTING
    • F03MACHINES OR ENGINES FOR LIQUIDS; WIND, SPRING, OR WEIGHT MOTORS; PRODUCING MECHANICAL POWER OR A REACTIVE PROPULSIVE THRUST, NOT OTHERWISE PROVIDED FOR
    • F03DWIND MOTORS
    • F03D80/00Details, components or accessories not provided for in groups F03D1/00 - F03D17/00
    • F03D80/80Arrangement of components within nacelles or towers
    • F03D80/82Arrangement of components within nacelles or towers of electrical components
    • F03D80/85Cabling
    • FMECHANICAL ENGINEERING; LIGHTING; HEATING; WEAPONS; BLASTING
    • F05INDEXING SCHEMES RELATING TO ENGINES OR PUMPS IN VARIOUS SUBCLASSES OF CLASSES F01-F04
    • F05BINDEXING SCHEME RELATING TO WIND, SPRING, WEIGHT, INERTIA OR LIKE MOTORS, TO MACHINES OR ENGINES FOR LIQUIDS COVERED BY SUBCLASSES F03B, F03D AND F03G
    • F05B2240/00Components
    • F05B2240/20Rotors
    • F05B2240/21Rotors for wind turbines
    • F05B2240/221Rotors for wind turbines with horizontal axis
    • YGENERAL TAGGING OF NEW TECHNOLOGICAL DEVELOPMENTS; GENERAL TAGGING OF CROSS-SECTIONAL TECHNOLOGIES SPANNING OVER SEVERAL SECTIONS OF THE IPC; TECHNICAL SUBJECTS COVERED BY FORMER USPC CROSS-REFERENCE ART COLLECTIONS [XRACs] AND DIGESTS
    • Y02TECHNOLOGIES OR APPLICATIONS FOR MITIGATION OR ADAPTATION AGAINST CLIMATE CHANGE
    • Y02EREDUCTION OF GREENHOUSE GAS [GHG] EMISSIONS, RELATED TO ENERGY GENERATION, TRANSMISSION OR DISTRIBUTION
    • Y02E10/00Energy generation through renewable energy sources
    • Y02E10/70Wind energy
    • Y02E10/72Wind turbines with rotation axis in wind direction
    • YGENERAL TAGGING OF NEW TECHNOLOGICAL DEVELOPMENTS; GENERAL TAGGING OF CROSS-SECTIONAL TECHNOLOGIES SPANNING OVER SEVERAL SECTIONS OF THE IPC; TECHNICAL SUBJECTS COVERED BY FORMER USPC CROSS-REFERENCE ART COLLECTIONS [XRACs] AND DIGESTS
    • Y02TECHNOLOGIES OR APPLICATIONS FOR MITIGATION OR ADAPTATION AGAINST CLIMATE CHANGE
    • Y02EREDUCTION OF GREENHOUSE GAS [GHG] EMISSIONS, RELATED TO ENERGY GENERATION, TRANSMISSION OR DISTRIBUTION
    • Y02E10/00Energy generation through renewable energy sources
    • Y02E10/70Wind energy
    • Y02E10/728Onshore wind turbines

Landscapes

  • Engineering & Computer Science (AREA)
  • Life Sciences & Earth Sciences (AREA)
  • Sustainable Development (AREA)
  • Sustainable Energy (AREA)
  • Chemical & Material Sciences (AREA)
  • Combustion & Propulsion (AREA)
  • Mechanical Engineering (AREA)
  • General Engineering & Computer Science (AREA)
  • Wind Motors (AREA)

Abstract

본 발명은 수평형 다단 수평형 풍력 발전 장치에 관한 것으로서, 더욱 상세하게는, 프레임이 없는 구조로, 발전 효율을 극대화할 수 있는 다단 수평형 풍력 발전 장치에 관한 것이다.

Description

다단 수평형 풍력 발전 장치{MULTI-STAGE HORIZONTAL WINDTURBINE}
본 발명은 다단 수평형 풍력 발전 장치에 관한 것으로서, 더욱 상세하게는, 소형 풍력발전 장치를 프레임 없이 블록을 쌓아 올리듯이 수평형 소형 풍력 발전기를 쌓아 올려 기둥으로 불어오는 바람의 전부를 이용 가능하게 하는 것이다.
풍력 발전은 바람의 힘을 이용하여 전력을 생산하는 발전 방식으로서, 친환경 발전이 가능하여 미래 에너지로 각광받고 있다. 이에, 최근에는 다양한 형태의 다단 수평형 풍력 발전 장치가 개발되어 폭넓게 사용되고 있다.
그러나, 종래의 다단 수평형 풍력 발전 장치는 풍력 발전기의 상부 부분으로 불어오는 기둥의 최대 1/3의 바람만 사용하여 발전할 수 있었다.
공개특허 10-2009-0035060
본 발명의 과제는, 상부로 불어오는 바람과 나머지 사용되지 않는 기둥의 중단부와 하단부의 바람을 이용하는 것이다. 따라서, 풍력 발전기의 기둥으로 불어오는 바람의 전체를 이용하려 하는 것이다. 즉, 본 발명품은 풍력발전 기둥의 중앙 부분과 하단으로 불어오는 바람도 가용하게 하여 풍력 발전 효율을 극대화 시켰다.
본 발명의 일 실시예에 따른 다단 수평형 풍력 발전 장치는, 지면 상에 세워지는 프레임; 복수 개의 강관 부재가 일렬로 세워지게 구성되는 타워 유닛; 상기 타워 유닛의 상기 강관 부재 사이에 각각 배치되어 회전 가능하게 구성되는 나셀 고정기; 및 풍력에 의해서 전기를 생산하는 풍력 발전 유닛;을 포함하며,
상기 타워 유닛은 상기 프레임에 연결되어 대형 선박을 포함하는 지면 상에 세워지며,
상기 풍력 발전 유닛은, 상기 나셀 고정기에 탑재 가능하게 구성되고 내부에 전력 생산을 위한 전력 생산 모듈이 내장되는 유닛 바디, 상기 유닛 바디의 전방에 배치되며 풍력에 의해서 회전하여 전기를 생산할 수 있는 회전 날개, 및 상기 유닛 바디의 후방에 배치되는 꼬리 날개부를 갖고,
상기 풍력 발전 유닛은 상기 나셀 고정기 내에 탑재되어 상기 꼬리 날개부에 가해지는 바람에 의해서 회전 가능하게 구성된다.
바람직하게는, 상기 나셀 고정기는, 나셀 고정 바디를 갖되, 상기 나셀 고정 바디는, 수평 방향으로 관통되어 상기 풍력 발전 유닛이 전후 방향으로 탑재될 수 있는 탑재 공간이 마련된 관형의 수평 탑재부, 및 상기 수평 탑재부의 상부 및 하부에 각각 마련되어 상기 강관 부재에 내삽되어 회전 가능한 원통형의 상하 연결부를 포함한다.
바람직하게는, 상기 타워 유닛은, 소정의 내경을 갖는 고리 형태로 구성되고 각각의 상기 강관 부재의 상단 및 하단에 각각 배치되는 받침 부재를 더 포함하며, 상기 받침 부재는 상기 강관 부재의 상단 또는 하단에 끼워지도록 고리 형태로 구성된 끼움 홈, 및 상기 끼움 홈의 반대편에 위치하는 고리 형태의 제1 구름면이 구비되며, 상기 나셀 고정기는, 링 형태로 구성되며 상면과 하면 사이에 미끄럼을 제공하는 제1 베어링을 더 포함하며, 상기 나셀 고정 바디는, 상기 상하 연결부의 외주연부에 각각 마련되며 상기 상하 연결부를 중심으로 하는 링 형태의 제1 구름면을 갖되, 상기 제1 구름면과 상기 제2 구름면은 서로 연직 방향으로 마주보게 위치하는 베어링 지지부를 포함하고, 상기 제1 베어링은 상기 제1 구름면과 상기 제2 구름면 사이에 배치된다.
바람직하게는, 상기 나셀 고정기는, 내주면과 외주면 사이에 미끄럼을 제공하는 제2 베어링을 더 포함하고, 상기 나셀 고정 바디의 상하 연결부의 외주면과 상기 강관 부재의 내주면 사이에는 직경 방향으로 소정의 간격이 마련되어 링 형태의 공간이 형성되고, 상기 제2 베어링은 상기 나셀 고정 바디의 상하 연결부의 외주면과 상기 강관 부재의 내주면 사이에 상기 제2 베어링이 배치된다.
바람직하게는, 상기 풍력 발전 유닛과 전기적으로 연결되어 상기 풍력 발전 유닛에서 생산된 전력을 외부로 전달할 수 있도록 하는 배선부;를 더 포함한다.
바람직하게는, 상기 배선부는, 상기 강관 부재에 배치되는 제1 배선 수단, 및 상기 풍력 발전 유닛에 배치되며 상기 나셀 고정기의 회전에도 불구하고 상기 제1 배선 수단과 전기적으로 연결되는 제2 배선 수단을 포함한다.
본 발명에 따라서, 상부로 불어오는 바람과 나머지 사용되지 않는 기둥의 중단부와 하단부의 바람을 이용가능하다. 따라서, 풍력 발전기의 기둥으로 불어오는 바람의 전체를 이용하려 하는 것이다. 즉, 본 발명품은 풍력발전 기둥의 중앙 부분과 하단으로 불어오는 바람도 가용하게 하여 풍력 발전 효율을 극대화 시켰다.
또한, 본 발명은 각각의 풍력 발전 유닛이 풍향에 따라서 회전 가능하다. 따라서, 바람이 불 경우 나셀 고정기가 풍향에 따라서 회전하며, 풍향과 나란한 방향으로 풍력 발전 유닛이 위치하게 된다. 따라서, 풍력 발전 유닛의 회전 날개가 바람을 정면을 받아 풍력을 더 크게 받을 수 있으며, 높은 효율로 전력을 생산할 수 있다.
또한, 나셀 고정기의 회전에도 불구하고 꼬임 최소화 구조를 갖는 배선부를 가짐에 따라서, 효과적인 전력 생산이 가능하다.
또한, 풍력 발전 유닛은 나셀 고정기에 탑재되며 탈착 가능함에 따라서, 특정한 풍력 발전 유닛에 고장이 발생할 경우, 고장이 발생한 풍력 발전 유닛만을 나셀 고정기에서 제거한 후 교체할 수 있으므로, 경제적인 운용 및 유지 관리가 가능하다.
또한, 제2 배선 수단은 코일형 전선을 사용하여 나셀 고정기의 회전에 불구하고 제1 배선 수단과 제2 배선 수단간의 꼬임을 최소화한다.
도 1 은 본 발명의 일 실시예에 따른 다단 수평형 풍력 발전 장치의 구조를 나타낸 도면이다.
도 2 는 본 발명의 일 실시예에 따른 다단 수평형 풍력 발전 장치의 타워 유닛과 나셀 고정기의 연결 구조를 나타낸 도면이다.
도 3 은 본 발명의 일 실시예에 따른 다단 수평형 풍력 발전 장치의 나셀 고정기의 구조를 나타낸 도면이다.
도 4 는 본 발명의 일 실시예에 따른 다단 수평형 풍력 발전 장치의 배선부의 구조를 나타낸 도면이다.
도 5 는 본 발명의 일 실시예에 따른 다단 수평형 풍력 발전 장치의 풍력 발전 유닛 및 배선부 사이의 연결 구조를 나타낸 도면이다.
도 6 은 도 5 에 도시된 풍력 발전 유닛과 배선부 사이의 연결 구조를 나타낸 도면이다.
이하, 첨부된 도면을 참조하여, 본 발명에 따른 바람직한 실시예에 대하여 설명한다.
본 발명의 일 실시예에 따른 다단 수평형 풍력 발전 장치는, 지면 상에 세워지는 프레임(100); 복수 개의 강관 부재(210)가 일렬로 세워지게 구성되는 타워 유닛(200); 상기 타워 유닛(200)의 상기 강관 부재(210) 사이에 각각 배치되어 회전 가능하게 구성되는 나셀 고정기(300); 풍력에 의해서 전기를 생산하는 풍력 발전 유닛(400); 및 배선부(500);를 포함하여 구성될 수 있다.
프레임(100)은 소정의 높이로 지면 상에 세워지는 구조물로 구성될 수 있다. 프레임(100)은 예컨대 소정의 높이를 갖는 수직형 바(bar)와 수직형 바에 연결되어 소정의 높이 상에 위치하는 수평형 바(bar)를 포함하는 구성을 가질 수 있고, 이에 한정하지 않는다. 바람직하게는 프레임(100)은 이동 설치 가능한 구성을 가질 수 있다. 아울러, 프레임(100)이 설치되는 지면이란 반드시 땅 위에 한정하지 않고 선박 위, 건물 등의 구조물 위 등도 모두 포함하는 개념이다. 즉, 프레임(100)의 구체적인 형상, 구조, 설치 장소 등은 한정되지 않는다.
타워 유닛(200)은 프레임(100)에 연결되어 소정의 높이를 갖고 세워지는 타워형 구조물이다. 타워 유닛(200)은 예컨대 프레임(100)에 구비된 수평형 바에 상단이 연결되고 하단은 지면 상에 지지되는 구성을 가질 수 있다. 타워 유닛(200)은 복수 개가 마련될 수 있으며, 프레임(100)에 각각 연결되는 배치 구조를 가질 수 있다.
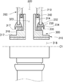
타워 유닛(200)은 복수 개의 강관 부재(210)와 상기 강관 부재(210)에 고정되는 받침 부재(230)를 포함하여 구성될 수 있다.
강관 부재(210)는 중공(220)이 형성되어 소정의 외경과 내경을 갖는 파이프 형태의 부재로 구성될 수 있다. 강관 부재(210)는 중공(220)이 상하로 관통되도록 세워질 수 있다. 아울러 하나의 타워 유닛(200)은 복수 개의 강관 부재(210)가 상하로 나란하게 소정의 간격을 갖고 배열되는 구성을 가질 수 있다.
받침 부재(230)는 각각의 강관 부재(210)의 상단 및 하단에 고정될 수 있는 부재이다. 받침 부재(230)는 소정의 내경과 외경을 갖는 링 형태의 부재이다. 물론, 일 타워 유닛(200)의 최 상단에 위치한 강관 부재(210)의 상단에는 프레임(100)이 연결되므로 상기 최 상단에 위치한 강관 부재(210)는 하단에만 받침 부재(230)가 고정될 수 있다. 또한, 일 타워 유닛(200)의 최 하단에 위치한 강관 부재(210)의 하단에는 지면이 있으므로 상기 최 하단에 위치한 강관 부재(210)는 상단에만 받침 부재(230)가 고정될 수 있다.
이하에서는 도 2 를 참조하여, 강관 부재(210)의 하단에 고정되는 받침 부재(230)를 기준으로 설명한다. 강관 부재(210)의 상단에 고정되는 받침 부재(230)의 경우, 아래 설명의 위, 아래 방향을 반대로 적용한다.
받침 부재(230)의 상면에는 강관 부재(210)의 하단이 삽입되어 고정될 수 있도록 고리 형태로 형성된 끼움 홈(232)이 마련된다. 아울러, 상기 끼움 홈(232)이 형성된 면의 반대면, 즉 받침 부재(230)의 하면에는 고리 형태의 제1 구름면(234)이 형성되어 있다. 상기 제1 구름면(234)은 후술하는 제1 베어링(330)의 상면과 맞닿는 부분으로서, 평면으로 구성될 수 있으며, 이에 반드시 한정하지 않는다.
상기와 같은 받침 부재(230)가 마련됨에 따라서, 일 강관 부재(210)의 상단 및 하단에 상기 받침 부재(230)가 각각 끼워지면, 강관 부재(210)의 상단부 및 하단부에는 각각 받침 부재(230)에 의한 제1 구름면(234)이 형성되게 된다.
나셀 고정기(300)는, 내부에 풍력 발전 유닛(400)이 탑재된 상태로 상기 타워 유닛(200)에 연결되어 회전 가능한 장치이다. 상기 나셀 고정기(300)는, 나셀 고정 바디(310), 제1 베어링(330), 및 제2 베어링(340)을 포함하여 구성될 수 있다.
나셀 고정 바디(310)는 수평 탑재부(312), 상하 연결부(314), 및 베어링 지지부(316)를 포함할 수 있다. 나셀 고정 바디(310)는 수평 중심선 C1 을 중심으로 하여 상하 대칭이며, 아울러 좌우로도 대칭인 구성을 가질 수 있다.
수평 탑재부(312)는 수평 방향으로 관통되어 관형으로 구성되어, 상기 풍력 발전 유닛(400)이 전후 방향으로 탑재될 수 있는 탑재 공간(318)을 갖는다. 즉, 수평 탑재부(312)는 전후 방향으로 관통된 파이프 형태로 구성될 수 있다. 단, 수평 탑재부(312)는 풍력 발전 유닛(400)이 탑재될 수 있는 어떠한 구성도 가질 수 있고, 위와 같은 원통형 파이프 형태를 갖는 것으로 반드시 한정하지 않는다.
상하 연결부(314)는 상기 수평 탑재부(312)의 상부 및 하부에 각각 마련되어 소정의 높이로 돌출된다. 상하 연결부(314)는 소정의 내경과 외경을 갖는 파이프 형태로 구성되며, 따라서 상하로 관통된 상하 중공(320)을 가질 수 있다. 상하 연결부(314)는 상기 강관 부재(210)에 내삽되어 회전 가능하게 구성된다. 바람직하게는, 상하 연결부(314)의 외경은 상기 강관 부재(210)에 고정된 받침 부재(230)의 내경보다 작아서, 상하 연결부(314)가 받침 부재(230)가 고정된 강관 부재(210) 내에 내삽되었을 때, 상하 연결부(314)의 외면과 강관 부재(210)의 내면 사이에는 소정의 폭의 간격을 갖는 링 형태의 공간이 마련될 수 있다.
베어링 지지부(316)는 상기 상하 연결부(314)의 외주연부에 각각 마련되어 상하 연결부(314)를 중심으로 하는 고리 형태의 형상을 갖고 상기 수평 탑재부(312) 상에서 소정의 높이를 갖고 돌출되는 링 형태의 부분이다. 따라서 베어링 지지부(316) 또한 수평 탑재부(312)의 상부 및 하부에 각각 대칭으로 마련된다. 베어링 지지부(316)의 상면, 또는 하면에는 고리 형태의 제2 구름면(317)이 형성되어 있다. 상기 제2 구름면(317)은 후술하는 제1 베어링(330)의 하면과 맞닿는 부분으로서, 평면으로 구성될 수 있으며, 이에 반드시 한정하지 않는다.
제1 베어링(330)은 링 형태로 구성되며, 상면과 하면 사이에 미끄럼을 제공하는 부재이다. 제1 베어링(330)은 나셀 고정 바디(310)의 베어링 지지부(316) 상에 배치되어 하면이 베어링 지지부(316) 상에 맞닿을 수 있다. 또한, 제1 베어링(330)은 상하 연결부(314)와 동심으로 위치한다.
제2 베어링(340)은 링 형태로 구성되며, 내주면과 외주면 사이에 미끄럼을 제공하는 부재이다. 제2 베어링(340)의 내면은 나셀 고정 바디(310)의 상하 연결부(314)의 단부 외주면에 각각 고정될 수 있다.
상기 타워 유닛(200)에 나셀 고정기(300)가 설치되는 형태를 설명하면 이하와 같다. 우선, 앞서 설명한 바와 같이, 강관 부재(210)의 상단 및 하단에 각각 받침 부재(230)가 끼워진다. 아울러, 나셀 고정 바디(310)에 제1 베어링(330), 제2 베어링(340)을 설치한다. 이때, 제1 베어링(330)은 상기 베어링 지지부(316) 상에 고정되며, 제2 베어링(340)은 상하 연결부(314)의 단부 외주면에 고정될 수 있다.
이어서, 상기 나셀 고정기(300)를 상기 받침 부재(230)가 끼워진 강관 부재(210)에 설치한다. 이때, 강관 부재(210)의 중공(220) 내에 상기 나셀 고정기(300)의 상하 연결부(314)가 투입된다. 이에 따라서, 강관 부재(210)의 중공(220)과 나셀 고정기(300)의 상하 연결부(314)의 상하 중공(320)이 서로 연통할 수 있다.
또한, 받침 부재(230)의 제1 구름면(234)과 나셀 고정 바디(310)의 제2 구름면(317)이 서로 마주본 상태로 위치하게 되며, 따라서 제1 구름면(234)과 제2 구름면(317) 사이에 상기 제1 베어링(330)이 위치한다. 상기 제1 베어링(330)은 상기 제1 구름면(234)과 제2 구름면(317) 사이에 미끄럼을 제공한다. 또한, 상하 연결부(314)의 외주면과 강관 부재(210)의 내주면 사이에는 제2 베어링(340)이 위치한다. 상기 제2 베어링(340)은 상하 연결부(314)의 외주면과 강관 부재(210)의 내주면 사이에 미끄럼을 제공한다. 이에 따라서, 타워 유닛(200) 내에서 상기 나셀 고정기(300)가 자유롭게 회전할 수 있다.
풍력 발전 유닛(400)은 상기 나셀 고정기(300)에 탑재 가능하게 구성되며 바람에 의해서 전력을 생산할 수 있는 장치이다. 풍력 발전 유닛(400)은, 내부에 전력 생산을 위한 전력 생산 모듈이 내장되는 유닛 바디(410), 상기 유닛 바디(410)의 전방에 배치되며 풍력에 의해서 회전 가능하여 상기 전력 생산 모듈에서 전력을 생산하도록 하는 회전 팬(420), 및 상기 유닛 바디(410)의 후방에 배치되는 꼬리 날개부(430)를 갖는다.
상기 풍력 발전 유닛(400)은 상기 나셀 고정기(300) 내에 탑재되어 상기 꼬리 날개부(430)에 가해지는 풍향에 의해서 회전 가능하다. 즉, 상기 꼬리 날개부(430)에 바람이 가해지면 나셀 고정기(300) 및 풍력 발전 유닛(400)이 타워 유닛(200)을 중심으로 하여 회전할 수 있다.
바람직하게는, 풍력 발전 유닛(400)은 나셀 고정기(300)에 대해 탈착 가능하게 탑재될 수 있다. 일 예로 소정의 나사 등의 고정 수단을 통해 풍력 발전 유닛(400)이 나셀 고정기(300)에 탈착 가능하게 고정될 수 있다.
배선부(500)는 풍력 발전 유닛(400)에서 생산된 전기를 외부로 전달하거나, 또는 외부의 신호를 풍력 발전 유닛(400)에 전달할 수 있도록 마련된 전기 선로로 구성될 수 있다.
예컨대, 도 4 에 도시된 바와 같이, 배선부(500)는 상기 타워 유닛(200)에 배치되는 통하는 소정의 바, 또는 전선 형태로 구성되는 제1 배선 수단(510), 및 상기 나셀 고정기(300)에 마련되는 제2 배선 수단(520)을 포함할 수 있다.
제1 배선 수단(510)은 상기 강관 부재(210) 내부에 배치되어 상하로 연장되는 배선 장치(512)와, 상기 배선 장치(512)의 상단 및 하단에 마련되며, 강관 부재(210)의 상부 또는 하부로 돌출되는 복수 개의 제1 단자부(514)를 가질 수 있다. 배선 장치(512)는 강관 부재(210) 내부에 배치되되, 나셀 고정기(300)의 상하 연결부(314)의 상하 중공(320)을 관통하여 탑재 공간(318)에 인접하게 연장될 수 있다. 따라서, 배선 장치(512)의 단부에 마련된 제1 단자부(514)가 탑재 공간(318) 내부로 돌출될 수 있다.
상기 복수 개의 제1 단자부(514)는, 예컨대 나셀 고정기(310)의 회전 중심축(C2)상에 위치하는 제1 센터 단자부(514a)와, 상기 제1 센터 단자부(514a)에 대해서 수평 방향으로 소정의 거리를 갖고 이격되게 배치되는 제1 사이드 단자부(514b)를 포함하여 구성될 수 있다. 바람직하게는, 제1 단자부(514)는 탄성을 갖는 재질로 구성되거나, 또는 상하로 탄성을 갖게 변위되도록 소정의 탄성 핀과 같은 구조를 가질 수 있다.
또한, 제1 배선 수단(510)은 프레임(100)을 통해 외부로 연장되어 전기를 외부로 전달할 수 있다.
제2 배선 수단(520)은 나셀 고정기(300)에 마련되며, 나셀 고정기(300)의 수평 탑재부(312)에 배치될 수 있다. 바람직하게는 제2 배선 수단(520)은, 나셀 고정기(300)의 회전 중심축을 중심으로 하여 동심으로 구성되는 복수 개의 제2 단자부를 포함하여 구성될 수 있다. 예컨대, 제2 단자부는, 나셀 고정기(310)의 회전 중심축(C2)상에 위치하는 제2 센터 단자부(522)와, 상기 제2 센터 단자부(522)에 대해서 수평 방향으로 소정의 거리를 갖고 이격되게 배치되며 제2 센터 단자부(522)와 동심으로 배치된 링 형태의 형상을 는 제2 사이드 단자부(524)를 포함하여 구성될 수 있다.
따라서, 풍력 발전 유닛(400)이 나셀 고정기(300) 내에 탑재되고, 나셀 고정기(300)가 강관 부재(210)에 연결되면 제2 배선 수단(520)의 제2 단자부는 제1 배선 수단(510)의 제1 단자부(514)와 전기적으로 연결될 수 있다.
위 제1 배선 수단(510)과 제2 배선 수단(520)은 나셀 고정기(300)의 회전에도 불구하고 전기적 연결을 유지하는 구성을 가질 수 있다. 일 예로, 제1 배선 수단(510)의 중심에 위치한 제1 센터 단자부(514a)는 제2 배선 수단(520)의 중심에 위치한 제2 센터 단자부(522)와 연결될 수 있다. 아울러, 제1 배선 수단(510)의 외측에 위치한 제1 사이드 단자부(514b)는 제2 배선 수단(520)의 외측에 위치한 제2 사이드 단자부(524)와 연결될 수 있다. 즉, 제1 센터 단자부(514a)와 제1 사이드 단자부(514b) 사이의 거리는, 제2 센터 단자부(522)와 제2 사이드 단자부(524) 사이의 거리와 대응될 수 있다.
앞서 설명한 바와 같이, 제1 센터 단자부(514a)와 제2 센터 단자부(524) 는 나셀 고정기(300)의 회전 중심축(C2) 상에 위치하므로, 나셀 고정기(300)의 회전에도 불구하고 접촉한 상태를 유지한다. 또한, 외측에 위치한 제1 사이드 단자부(514b)와 제2 사이드 단자부(524) 또한, 회전 중심축(C2)을 중심으로 하여 직경 방향으로 동일한 거리에 위치하므로 접촉한 상태를 유지하게 된다.
위와 같은 배선부(500)가 마련됨에 따라서, 연직 방향으로 배열된 복수 개의 풍력 발전 유닛(400)이 전기적으로 연결되며 생산된 전력을 외부로 전달할 수 있다. 또한, 풍력 발전 유닛(400) 및 나셀 고정기(300)의 회전에도 불구하고 전선이 꼬이지 않고 전기적 연결을 유지할 수 있다.
도 5 는 본 발명의 일 실시예에 따른 다단 수평형 풍력 발전 장치의 풍력 발전 유닛(400) 및 배선부(500) 사이의 연결 구조를 나타낸 도면이고, 도 6 은 도 5 에 도시된 풍력 발전 유닛(400)과 배선부(500) 사이의 연결 구조를 나타낸 도면이다.
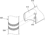
본 발명의 일 실시예에 따른 다단 수평형 풍력 발전 장치의 풍력 발전 유닛(400)은, 전후 방향으로 분리 가능한 구조를 가질 수 있다. 또한, 유닛 바디(410)의 내부에는 상하로 관통되는 상하 관통 공간(412)이 마련되어 있을 수 있다. 구체적으로는, 유닛 바디(410)와 꼬리 날개부(430)가 서로 분리 가능하게 구성될 수 있다. 아울러, 유닛 바디(410)의 후방에는 전방으로 움푹 패인 부분이 마련되어 상기 상하 관통 공간(412)이 형성될 수 있다. 아울러, 상기 상하 관통 공간(412)의 적어도 일 면에는 후술하는 배선 타워(530)의 외경 단자부(534)와 전기적으로 연결되도록 내경 방향으로 돌출되는 내경 단자부(440)가 구비될 수 있다.
본 실시 형태에서, 배선부(500)는 타워 유닛(200) 내부를 상하로 길게 관통하는 타워 형태로 구성되어, 구체적으로 배선 타워(530)의 형태를 가질 수 있다. 배선 타워(530)는 타워 유닛(200) 내부를 상하로 관통하되, 나셀 고정기(300) 및 상기 나셀 고정기(300)에 고정된 풍력 발전 유닛(400)을 상하로 관통한다. 구체적으로는, 상기 풍력 발전 유닛(400)의 유닛 바디(410)에 형성된 상하 관통 공간(412)을 관통할 수 있다. 앞서 설명한 바와 같이, 풍력 발전 유닛(400)은 전후 방향으로 분리 가능하므로, 배선 타워(530)의 전후에서 풍력 발전 유닛(400)의 전후를 서로 결합시켜서 상하 관통 공간(412) 내에 배선 타워(530)가 위치되도록 할 수 있다.
배선 타워(530) 내부에는 배선 타워(530)를 상하 방향으로 관통하며 전기를 전달하는 배선 구조(532)가 마련된다. 아울러, 배선 타워(530)의 외면에는 외경 단자부(534)가 구비된다. 외경 단자부(534)는 배선 타워(530)의 외측 둘레면을 따라서 연장되는 원형 단자로서, 배선 타워(530) 내부의 배선 구조(532)와 전기적으로 연결된다. 외경 단자부(534)는 풍력 발전 유닛(400)의 내경 단자부(440)와 대응되는 개수 및 배치를 갖는다. 즉, 하나의 풍력 발전 유닛(400)에 대해 복수 개의 외경 단자부(534)가 마련되며, 하나의 풍력 발전 유닛(400)에 연결되는 외경 단자부(534)는 적어도 하나의 - 극과 + 극을 갖는다.
배선 타워(530)의 외측에 풍력 발전 유닛(400)이 위치하면 상기 배선 타워(530)의 외경 단자부(534)와 풍력 발전 유닛(400)의 내경 단자부(440)가 서로 접촉할 수 있다. 이때, 배선 타워(530)는 풍력 발전 유닛(400)의 회전 중심축 상에 위치하여, 도 5 의 화살표 R 과 같이, 풍력 발전 유닛(400)이 배선 타워(530)를 중심으로 회전할 수 있다. 따라서, 풍력 발전 유닛(400)이 회전함에도 불구하고 배선 타워(530)의 외경 단자부(534)와 풍력 발전 유닛(400)의 내경 단자부(440)가 서로 접촉하여 전기 연결이 가능해질 수 있다.
본 발명에 따라서, 각각의 풍력 발전 유닛(400)이 풍향에 따라서 회전 가능하다. 따라서, 바람이 불 경우 나셀 고정기(300)가 풍향에 따라서 회전하며, 풍향과 나란한 방향으로 풍력 발전 유닛(400)이 위치하게 된다. 따라서, 풍력 발전 유닛(400)의 회전 팬(420)이 바람을 정면을 받아 풍력을 더 크게 받을 수 있으며, 높은 효율로 전력을 생산할 수 있다.
또한, 나셀 고정기(300)의 회전에도 불구하고 꼬임 없는 구조를 갖는 배선부(500)를 가짐에 따라서, 효과적인 전력 생산이 가능하다.
또한, 풍력 발전 유닛(400)은 나셀 고정기(300)에 탑재되며 탈착 가능함에 따라서, 특정한 풍력 발전 유닛(400)에 고장이 발생할 경우, 고장이 발생한 풍력 발전 유닛(400)만을 나셀 고정기(300)에서 제거한 후 교체할 수 있으므로, 경제적인 운용 및 유지 관리가 가능하다.
이상에서는 바람직한 실시예에 대하여 도시하고 설명하였지만, 본 발명은 상술한 특정의 실시예에 한정되지 아니하며, 청구범위에서 청구하는 본 발명의 요지를 벗어남이 없이 당해 발명이 속하는 기술분야에서 통상의 지식을 가진자에 의해 다양한 변형실시가 가능한 것은 물론이고, 이러한 변형실시들은 본 발명의 기술적 사상이나 전망으로부터 개별적으로 이해되어져서는 안될 것이다.
100: 프레임
200: 타워 유닛
210: 강관 부재
220: 중공
230: 받침 부재
232: 끼움 홈
234: 제1 구름면
300: 나셀 고정기
310: 나셀 고정 바디
312: 수평 탑재부
314: 상하 연결부
316: 베어링 지지부
317: 제2 구름면
318: 탑재 공간
320: 상하 중공
330: 제1 베어링
340: 제2 베어링
400: 풍력 발전 유닛
410: 유닛 바디
412: 상하 관통 공간
420: 회전 팬
430: 꼬리 날개부
440: 내경 단자부
500: 배선부
510: 제1 배선 수단
512: 배선 장치
514: 제1 단자부
514a: 제1 센터 단자부
514b: 제1 사이드 단자부
520: 제2 배선 수단
522: 제2 센터 단자부
524: 제2 사이드 단자부
530: 배선 타워
532: 배선 구조
534: 외경 단자부

Claims (8)

  1. 다단 수평형 풍력 발전 장치에 있어서,
    지면 상에 세워지는 프레임;
    복수 개의 강관 부재가 일렬로 세워지게 구성되는 타워 유닛;
    상기 타워 유닛의 상기 강관 부재 사이에 각각 배치되어 회전 가능하게 구성되는 나셀 고정기; 및
    풍력에 의해서 전기를 생산하는 풍력 발전 유닛;을 포함하며,
    상기 타워 유닛은 상기 프레임에 연결되어 지면 상에 세워지며,
    상기 풍력 발전 유닛은,
    상기 나셀 고정기에 탑재 가능하게 구성되고 내부에 전력 생산을 위한 전력 생산 모듈이 내장되는 유닛 바디,
    상기 유닛 바디의 전방에 배치되며 풍력에 의해서 회전하여 전기를 생산할 수 있는 회전 팬, 및
    상기 유닛 바디의 후방에 배치되는 꼬리 날개부를 갖고,
    상기 풍력 발전 유닛은 상기 나셀 고정기 내에 탑재되어 상기 꼬리 날개부에 가해지는 풍향에 의해서 회전 가능하게 구성되는 다단 수평형 풍력 발전 장치.
  2. 청구항 1에 있어서,
    상기 나셀 고정기는,
    나셀 고정 바디를 갖되,
    상기 나셀 고정 바디는,
    수평 방향으로 관통되어 상기 풍력 발전 유닛이 전후 방향으로 탑재될 수 있는 탑재 공간이 마련된 관형의 수평 탑재부, 및
    상기 수평 탑재부의 상부 및 하부에 각각 마련되어 상기 강관 부재에 내삽되어 회전 가능한 원통형의 상하 연결부를 포함하는 다단 수평형 풍력 발전 장치.
  3. 청구항 2에 있어서,
    상기 타워 유닛은,
    소정의 내경을 갖는 고리 형태로 구성되고 각각의 상기 강관 부재의 상단 및 하단에 각각 배치되는 받침 부재를 더 포함하며,
    상기 받침 부재는
    상기 강관 부재의 상단 또는 하단에 끼워지도록 고리 형태로 구성된 끼움 홈, 및
    상기 끼움 홈의 반대편에 위치하는 고리 형태의 제1 구름면이 구비되며,
    상기 나셀 고정기는,
    링 형태로 구성되며 상면과 하면 사이에 미끄럼을 제공하는 제1 베어링을 더 포함하며,
    상기 나셀 고정 바디는,
    상기 상하 연결부의 외주연부에 각각 마련되며 상기 상하 연결부를 중심으로 하는 링 형태의 제1 구름면을 갖되, 상기 제1 구름면과 상기 제2 구름면은 서로 연직 방향으로 마주보게 위치하는 베어링 지지부를 포함하고,
    상기 제1 베어링은 상기 제1 구름면과 상기 제2 구름면 사이에 배치되는 다단 수평형 풍력 발전 장치.
  4. 청구항 3에 있어서,
    상기 나셀 고정기는,
    내주면과 외주면 사이에 미끄럼을 제공하는 제2 베어링을 더 포함하고,
    상기 나셀 고정 바디의 상하 연결부의 외주면과 상기 강관 부재의 내주면 사이에는 직경 방향으로 소정의 간격이 마련되어 링 형태의 공간이 형성되고,
    상기 제2 베어링은 상기 나셀 고정 바디의 상하 연결부의 외주면과 상기 강관 부재의 내주면 사이에 상기 제2 베어링이 배치되는 다단 수평형 풍력 발전 장치.
  5. 청구항 4에 있어서,
    상기 풍력 발전 유닛과 전기적으로 연결되어 상기 풍력 발전 유닛에서 생산된 전력을 외부로 전달할 수 있도록 하는 배선부;를 더 포함하는 다단 수평형 풍력 발전 장치.
  6. 청구항 5에 있어서,
    상기 배선부는,
    상기 강관 부재에 배치되는 제1 배선 수단, 및
    상기 풍력 발전 유닛에 배치되며 상기 나셀 고정기의 회전에도 불구하고 상기 제1 배선 수단과 전기적으로 연결되는 제2 배선 수단을 포함하는 다단 수평형 풍력 발전 장치.
  7. 청구항 6에 있어서,
    상기 제1 배선 수단은,
    상기 강관 부재 내부에 배치되어 상하로 연장되는 배선 장치, 및
    상기 배선 장치의 상단 및 하단에 마련되며 강관 부재의 상부 또는 하부로 돌출되는 복수 개의 제1 단자부를 포함하며,
    상기 제2 배선 수단은,
    상기 풍력 발전 유닛에 구비되는 제2 단자부를 포함하되,
    상기 나셀 고정기의 회전 중심축과 상기 각각의 제1 단자부 사이의 거리는,
    상기 나셀 고정기의 회전 중심축과 상기 각각의 제2 단자부 사이의 거리에 대응하여, 상기 나셀 고정기의 회전에도 불구하고 상기 제1 배선 수단과 전기적으로 연결되는 다단 수평형 풍력 발전 장치.
  8. 청구항 5에 있어서,
    상기 풍력 발전 유닛의 유닛 바디는,
    전후 방향으로 분리 가능하게 구성되고 중심부에 상하로 관통되는 상하 관통 공간을 가지며,
    상기 상하 관통 공간의 내면에 내경 방향으로 돌출되는 내경 배선부가 구비되며,
    상기 배선부는 상기 풍력 발전 유닛의 상하 관통 공간을 관통하며 상하로 연장된다. 상기 배선 타워의 둘레면에는 상기 내경 코일형 배선부와 전기적으로 연결되는 다단 수평형 풍력 발전 장치.
KR1020180007292A 2018-01-19 2018-01-19 다단 수평형 풍력 발전 장치 Expired - Fee Related KR102066665B1 (ko)

Priority Applications (1)

Application Number Priority Date Filing Date Title
KR1020180007292A KR102066665B1 (ko) 2018-01-19 2018-01-19 다단 수평형 풍력 발전 장치

Applications Claiming Priority (1)

Application Number Priority Date Filing Date Title
KR1020180007292A KR102066665B1 (ko) 2018-01-19 2018-01-19 다단 수평형 풍력 발전 장치

Publications (2)

Publication Number Publication Date
KR20190088782A true KR20190088782A (ko) 2019-07-29
KR102066665B1 KR102066665B1 (ko) 2020-01-15

Family

ID=67480630

Family Applications (1)

Application Number Title Priority Date Filing Date
KR1020180007292A Expired - Fee Related KR102066665B1 (ko) 2018-01-19 2018-01-19 다단 수평형 풍력 발전 장치

Country Status (1)

Country Link
KR (1) KR102066665B1 (ko)

Cited By (2)

* Cited by examiner, † Cited by third party
Publication number Priority date Publication date Assignee Title
CN111022265A (zh) * 2019-12-18 2020-04-17 上海致远绿色能源股份有限公司 一种安装在通讯塔上的风力发电机组
CN111425358A (zh) * 2020-05-15 2020-07-17 北京三力新能科技有限公司 一种多叶轮风电系统的塔架联接支撑结构的型式

Citations (4)

* Cited by examiner, † Cited by third party
Publication number Priority date Publication date Assignee Title
KR20090035060A (ko) 2007-10-05 2009-04-09 최외수 다단 블레이드 풍력 발전 시스템
KR100946198B1 (ko) * 2009-10-09 2010-03-09 태창엔이티 주식회사 모듈형 멀티 풍력발전기 시스템
KR101084464B1 (ko) * 2009-12-30 2011-11-22 윤정현 블록화한 조립식 소형풍력발전장치
KR101310122B1 (ko) * 2010-01-29 2013-09-17 유지산 지주부설식 풍력발전장치

Patent Citations (5)

* Cited by examiner, † Cited by third party
Publication number Priority date Publication date Assignee Title
KR20090035060A (ko) 2007-10-05 2009-04-09 최외수 다단 블레이드 풍력 발전 시스템
KR100924003B1 (ko) * 2007-10-05 2009-10-28 태창엔이티 주식회사 다단 블레이드 풍력 발전 시스템
KR100946198B1 (ko) * 2009-10-09 2010-03-09 태창엔이티 주식회사 모듈형 멀티 풍력발전기 시스템
KR101084464B1 (ko) * 2009-12-30 2011-11-22 윤정현 블록화한 조립식 소형풍력발전장치
KR101310122B1 (ko) * 2010-01-29 2013-09-17 유지산 지주부설식 풍력발전장치

Cited By (2)

* Cited by examiner, † Cited by third party
Publication number Priority date Publication date Assignee Title
CN111022265A (zh) * 2019-12-18 2020-04-17 上海致远绿色能源股份有限公司 一种安装在通讯塔上的风力发电机组
CN111425358A (zh) * 2020-05-15 2020-07-17 北京三力新能科技有限公司 一种多叶轮风电系统的塔架联接支撑结构的型式

Also Published As

Publication number Publication date
KR102066665B1 (ko) 2020-01-15

Similar Documents

Publication Publication Date Title
US20090196748A1 (en) Wind turbine improvements
ES2375140T3 (es) Instalación de pararrayos para plantas de energ�?a eólica.
JP2009085167A (ja) 風力発電用浮体装置
KR20190088782A (ko) 다단 수평형 풍력 발전 장치
KR20140105487A (ko) 재생 가능한 소스로부터 에너지 생산용 시스템
MX2011008033A (es) Generador de potencia de viento de las aspas de molino de viento variable.
US20100109336A1 (en) Apparatus for wind power generation with a vertical axis
CN105553398A (zh) 一种可调节角度的太阳能支架
JP5416191B2 (ja) 懸架支持式ソーラー発電装置
US11933274B2 (en) Lightning suppression-type wind power generation equipment
US10871147B2 (en) Wind turbine apparatuses
EP1945947B1 (en) Wind power plant with lightning protection arrangement
KR100744992B1 (ko) 풍력발전기의 풍차지지용 삼각 8면체 지지장치
WO2018141523A1 (en) Wind turbine with a tubular support structure and a bearing assembly
EP3771817A1 (en) Tower-mounted wind power system
CN214124744U (zh) 一种风电专用母线槽结构
KR102145052B1 (ko) 멀티형 풍력 발전기
US10495065B2 (en) Multi-turbine platform tower assembly and related methods systems, and apparatus
CN223563271U (zh) 轴承组件及光伏跟踪支架
CN221722964U (zh) 一种风力发电机组安装设备
KR102327897B1 (ko) 점퍼선 홀더
CN221380852U (zh) 柔性光伏跟踪支架
KR102082490B1 (ko) 멀티형 풍력 발전기
EP3455490B1 (en) Water current power generating systems
CN219041036U (zh) 一种风力发电架的避雷装置

Legal Events

Date Code Title Description
A201 Request for examination
PA0109 Patent application

St.27 status event code: A-0-1-A10-A12-nap-PA0109

PA0201 Request for examination

St.27 status event code: A-1-2-D10-D11-exm-PA0201

D13-X000 Search requested

St.27 status event code: A-1-2-D10-D13-srh-X000

D14-X000 Search report completed

St.27 status event code: A-1-2-D10-D14-srh-X000

E902 Notification of reason for refusal
PE0902 Notice of grounds for rejection

St.27 status event code: A-1-2-D10-D21-exm-PE0902

E13-X000 Pre-grant limitation requested

St.27 status event code: A-2-3-E10-E13-lim-X000

P11-X000 Amendment of application requested

St.27 status event code: A-2-2-P10-P11-nap-X000

P13-X000 Application amended

St.27 status event code: A-2-2-P10-P13-nap-X000

E701 Decision to grant or registration of patent right
PE0701 Decision of registration

St.27 status event code: A-1-2-D10-D22-exm-PE0701

PG1501 Laying open of application

St.27 status event code: A-1-1-Q10-Q12-nap-PG1501

R18-X000 Changes to party contact information recorded

St.27 status event code: A-3-3-R10-R18-oth-X000

GRNT Written decision to grant
PR0701 Registration of establishment

St.27 status event code: A-2-4-F10-F11-exm-PR0701

PR1002 Payment of registration fee

St.27 status event code: A-2-2-U10-U11-oth-PR1002

Fee payment year number: 1

PG1601 Publication of registration

St.27 status event code: A-4-4-Q10-Q13-nap-PG1601

P22-X000 Classification modified

St.27 status event code: A-4-4-P10-P22-nap-X000

R18-X000 Changes to party contact information recorded

St.27 status event code: A-5-5-R10-R18-oth-X000

PR1001 Payment of annual fee

St.27 status event code: A-4-4-U10-U11-oth-PR1001

Fee payment year number: 4

PC1903 Unpaid annual fee

St.27 status event code: A-4-4-U10-U13-oth-PC1903

Not in force date: 20240110

Payment event data comment text: Termination Category : DEFAULT_OF_REGISTRATION_FEE

P22-X000 Classification modified

St.27 status event code: A-4-4-P10-P22-nap-X000

PC1903 Unpaid annual fee

St.27 status event code: N-4-6-H10-H13-oth-PC1903

Ip right cessation event data comment text: Termination Category : DEFAULT_OF_REGISTRATION_FEE

Not in force date: 20240110