KR20190060454A - Oral cleaner - Google Patents

Oral cleaner Download PDF

Info

Publication number
KR20190060454A
KR20190060454A KR1020170158667A KR20170158667A KR20190060454A KR 20190060454 A KR20190060454 A KR 20190060454A KR 1020170158667 A KR1020170158667 A KR 1020170158667A KR 20170158667 A KR20170158667 A KR 20170158667A KR 20190060454 A KR20190060454 A KR 20190060454A
Authority
KR
South Korea
Prior art keywords
housing
vibration
tip
connecting member
head
Prior art date
Legal status (The legal status is an assumption and is not a legal conclusion. Google has not performed a legal analysis and makes no representation as to the accuracy of the status listed.)
Granted
Application number
KR1020170158667A
Other languages
Korean (ko)
Other versions
KR102057151B1 (en
Inventor
이승민
Original Assignee
주식회사 블루레오
Priority date (The priority date is an assumption and is not a legal conclusion. Google has not performed a legal analysis and makes no representation as to the accuracy of the date listed.)
Filing date
Publication date
Application filed by 주식회사 블루레오 filed Critical 주식회사 블루레오
Priority to KR1020170158667A priority Critical patent/KR102057151B1/en
Priority to PCT/KR2018/014478 priority patent/WO2019103501A1/en
Publication of KR20190060454A publication Critical patent/KR20190060454A/en
Application granted granted Critical
Publication of KR102057151B1 publication Critical patent/KR102057151B1/en
Expired - Fee Related legal-status Critical Current
Anticipated expiration legal-status Critical

Links

Images

Classifications

    • AHUMAN NECESSITIES
    • A61MEDICAL OR VETERINARY SCIENCE; HYGIENE
    • A61CDENTISTRY; APPARATUS OR METHODS FOR ORAL OR DENTAL HYGIENE
    • A61C17/00Devices for cleaning, polishing, rinsing or drying teeth, teeth cavities or prostheses; Saliva removers; Dental appliances for receiving spittle
    • A61C17/16Power-driven cleaning or polishing devices
    • A61C17/22Power-driven cleaning or polishing devices with brushes, cushions, cups, or the like
    • A61C17/32Power-driven cleaning or polishing devices with brushes, cushions, cups, or the like reciprocating or oscillating
    • A61C17/34Power-driven cleaning or polishing devices with brushes, cushions, cups, or the like reciprocating or oscillating driven by electric motor
    • A61C17/3409Power-driven cleaning or polishing devices with brushes, cushions, cups, or the like reciprocating or oscillating driven by electric motor characterized by the movement of the brush body
    • A61C17/3454Translation along the axis perpendicular of the axis of toothbrush handle and in the plane defined by the bristle holder
    • AHUMAN NECESSITIES
    • A61MEDICAL OR VETERINARY SCIENCE; HYGIENE
    • A61CDENTISTRY; APPARATUS OR METHODS FOR ORAL OR DENTAL HYGIENE
    • A61C17/00Devices for cleaning, polishing, rinsing or drying teeth, teeth cavities or prostheses; Saliva removers; Dental appliances for receiving spittle
    • A61C17/16Power-driven cleaning or polishing devices
    • A61C17/22Power-driven cleaning or polishing devices with brushes, cushions, cups, or the like
    • AHUMAN NECESSITIES
    • A61MEDICAL OR VETERINARY SCIENCE; HYGIENE
    • A61CDENTISTRY; APPARATUS OR METHODS FOR ORAL OR DENTAL HYGIENE
    • A61C17/00Devices for cleaning, polishing, rinsing or drying teeth, teeth cavities or prostheses; Saliva removers; Dental appliances for receiving spittle
    • A61C17/16Power-driven cleaning or polishing devices
    • A61C17/22Power-driven cleaning or polishing devices with brushes, cushions, cups, or the like
    • A61C17/225Handles or details thereof
    • AHUMAN NECESSITIES
    • A61MEDICAL OR VETERINARY SCIENCE; HYGIENE
    • A61CDENTISTRY; APPARATUS OR METHODS FOR ORAL OR DENTAL HYGIENE
    • A61C17/00Devices for cleaning, polishing, rinsing or drying teeth, teeth cavities or prostheses; Saliva removers; Dental appliances for receiving spittle
    • A61C17/16Power-driven cleaning or polishing devices
    • A61C17/22Power-driven cleaning or polishing devices with brushes, cushions, cups, or the like
    • A61C17/32Power-driven cleaning or polishing devices with brushes, cushions, cups, or the like reciprocating or oscillating
    • A61C17/34Power-driven cleaning or polishing devices with brushes, cushions, cups, or the like reciprocating or oscillating driven by electric motor
    • AHUMAN NECESSITIES
    • A61MEDICAL OR VETERINARY SCIENCE; HYGIENE
    • A61CDENTISTRY; APPARATUS OR METHODS FOR ORAL OR DENTAL HYGIENE
    • A61C17/00Devices for cleaning, polishing, rinsing or drying teeth, teeth cavities or prostheses; Saliva removers; Dental appliances for receiving spittle
    • A61C17/16Power-driven cleaning or polishing devices
    • A61C17/22Power-driven cleaning or polishing devices with brushes, cushions, cups, or the like
    • A61C17/32Power-driven cleaning or polishing devices with brushes, cushions, cups, or the like reciprocating or oscillating
    • A61C17/34Power-driven cleaning or polishing devices with brushes, cushions, cups, or the like reciprocating or oscillating driven by electric motor
    • A61C17/3409Power-driven cleaning or polishing devices with brushes, cushions, cups, or the like reciprocating or oscillating driven by electric motor characterized by the movement of the brush body
    • A61C17/3463Translation along the axis perpendicular to the plane defined by the bristle holder

Landscapes

  • Health & Medical Sciences (AREA)
  • Dentistry (AREA)
  • Epidemiology (AREA)
  • Life Sciences & Earth Sciences (AREA)
  • Animal Behavior & Ethology (AREA)
  • General Health & Medical Sciences (AREA)
  • Public Health (AREA)
  • Veterinary Medicine (AREA)
  • Brushes (AREA)

Abstract

구강 세정기를 개시한다. 일 실시 예에 따른 구강 세정기는, 일측에 형성된 개구부를 포함하는 하우징; 상기 하우징 내부에 위치하는 몸체부; 일측은 상기 몸체부에 연결되고, 타측은 상기 하우징 외부에 위치하는 헤드부; 및 상기 헤드부에 연결되어, 상기 헤드부를 진동시키는 진동부를 포함하고, 상기 하우징 외부에 위치한 헤드부 타단의 진동변위는, 상기 하우징 내에 위치한 헤드부의 진동변위보다 클 수 있다.Discloses an oral cleanser. An oral cleanser according to one embodiment comprises: a housing including an opening formed in one side; A body positioned within the housing; A head part connected to the body part at one side and to the outside of the housing at the other side; And a vibrating part connected to the head part and vibrating the head part. The vibration displacement of the other end of the head part located outside the housing may be larger than the vibration displacement of the head part located in the housing.

Description

구강 세정기{ORAL CLEANER}ORAL CLEANER

아래의 실시예는 구강 세정기에 관한 것이다.The following example relates to an oral cleanser.

일반적으로 음식물을 섭취 후, 치아 사이에 끼인 음식찌꺼기, 플라그, 치석 등을 제거하기 위해 사용되는 칫솔은 구강위생용 용구로서 충치, 치주질환, 치은염등을 방지하는데 큰 역할을 해왔다.Generally, a toothbrush used for removing food residue, plaque, and calculus between teeth after eating food has played a major role in preventing tooth decay, periodontal disease and gingivitis as an oral hygiene tool.

칫솔(Toothbrush)은, 치아의 건강관리와 위생 청결을 위해 치약을 묻혀 치아를 닦기 위해 사용되는 도구로써, 스틱 형태의 손잡이부와 손잡이부의 선단에 형성된 몸체에 가느다란 모 부재가 촘촘하게 식모되는 브러쉬(brush)를 포함한다.Toothbrush is a tool used for brushing teeth with toothpaste for health care and hygiene cleansing of teeth. It is composed of a stick-shaped handle and a brush formed of a thin body member formed on the body formed at the tip of the handle brush.

치아 세정시에는, 칫솔의 브러쉬를 치아에 대고 문지르면서 구강 내의 양칫물을 제거하는 행동을 반복하게 되며, 이러한 브러싱 동작을 완료하면 세정수로 구강 내를 세척하고 양칫물을 뱉어내게 된다. When the tooth is cleaned, the brush is rubbed against the tooth and rubbed to remove the tooth in the mouth. When the brushing operation is completed, the inside of the mouth is cleaned with the cleansing water and the tooth is spit out.

전동 칫솔은, 이러한 브러싱 동작을 자동으로 수행하는 장치로써, 전기를 공급받아 작동하는 모터를 통해 브러쉬의 진동을 발생시키고, 이를 통해 치아의 표면을 세정하는 동작을 수행하게 된다. 이 경우, 진동에 따른 브러쉬의 진동 변위가 커질수록 보다 효과적인 치아 세정이 수행될 수 있다. The electric toothbrush is an apparatus that automatically performs such brushing operation. The electric toothbrush generates vibrations of the brush through a motor that operates with electricity, thereby cleaning the surface of the tooth. In this case, the greater the vibration displacement of the brush due to the vibration, the more effective tooth cleaning can be performed.

한편, 브러쉬의 진동은 브러쉬에 연결된 손잡이로 전달되게 되는데, 손잡이에 전달되는 진동 에너지가 커질수록, 브러쉬의 진동 변위는 감소되며 손잡이를 파지한 사용자의 불편함 또한 증가하게 된다.On the other hand, the vibration of the brush is transmitted to the grip connected to the brush. As the vibration energy transmitted to the grip increases, the vibration displacement of the brush decreases, and the inconvenience of the user gripping the grip also increases.

따라서, 효과적인 치아 세정을 위해 브러쉬의 진동을 최대화 하면서도, 사용자가 파지한 손잡이로 전달되는 진동의 세기를 최소화 할 수 있는 장치가 필요한 실정이다. Accordingly, there is a need for a device that can maximize the vibration of the brush for effective tooth cleaning while minimizing the intensity of the vibration transmitted to the handle held by the user.

이와 관련하여, 국내등록공보 제10-0999270호는 칫솔모가 심어진 칫솔판과 칫솔 헤드부 사이에 편평형의 진동 모터를 구비하는 전동 칫솔을 개시한다.In this regard, Korean Patent Registration No. 10-0999270 discloses a powered toothbrush having a flat vibration motor between a toothbrush plate on which bristles are planted and a toothbrush head.

일 실시 예에 따른 목적은, 사용자의 치아를 닦는 브러쉬의 진동을 극대화 할 수 있는 구강 세정기를 제공하기 위한 것이다.An object according to an embodiment is to provide a mouth washer capable of maximizing the vibration of a brush for wiping a user's teeth.

일 실시 예에 따른 목적은, 사용자가 파지하는 하우징의 진동을 최소화 할 수 있는 구강 세정기를 제공하기 위한 것이다.An object according to an embodiment is to provide a mouth washer capable of minimizing vibration of a housing held by a user.

일 실시 예에 따른 구강 세정기는, 일측에 형성된 개구부를 포함하는 하우징; 상기 하우징 내부에 위치하는 몸체부; 일측은 상기 몸체부에 연결되고, 타측은 상기 하우징 외부에 위치하는 헤드부; 및 상기 헤드부에 연결되어, 상기 헤드부를 진동시키는 진동부를 포함하고, 상기 하우징 외부에 위치한 헤드부 타측 단부의 진동변위는, 상기 하우징 내에 위치한 헤드부의 진동변위보다 클 수 있다.An oral cleanser according to one embodiment comprises: a housing including an opening formed in one side; A body positioned within the housing; A head part connected to the body part at one side and to the outside of the housing at the other side; And a vibration part connected to the head part to vibrate the head part. The vibration displacement at the other end of the head part located outside the housing may be larger than the vibration displacement of the head part located in the housing.

일 측에 있어서, 상기 헤드부는, 일측이 상기 몸체부에 연결되고 길이 방향으로 연장되며, 상기 진동부와 연결되는 연결부재; 상기 몸체부에 이격되도록, 상기 연결부재의 타측에 연결되는 지지부재; 및 상기 지지부재에 연결되고, 상기 개구부를 통과하도록 길이 방향으로 연장되는 팁을 포함할 수 있다.In one aspect of the present invention, the head unit includes: a connecting member having one side connected to the body and extending in the longitudinal direction, and connected to the vibrating unit; A supporting member connected to the other side of the connecting member so as to be spaced apart from the body portion; And a tip connected to the support member and extending longitudinally to pass through the opening.

일 측에 있어서, 상기 지지부재에 대한 상기 팁 및 연결부재의 연결부위의 중심은 서로 이격될 수 있다.On one side, the center of the tip and the connecting portion of the connecting member with respect to the supporting member may be spaced apart from each other.

일 측에 있어서, 상기 진동부 및 상기 연결부재의 접촉부위는, 상기 개구부의 중심을 통과하는 가상의 축으로부터 편심될 수 있다.The contacting portion of the vibrating portion and the connecting member may be eccentric from an imaginary axis passing through the center of the opening.

일 측에 있어서, 상기 몸체부는, 외면에 형성되는 슬릿; 및 일측은 상기 몸체부에 고정되고, 타측은 상기 슬릿 내에 위치하는 감쇄부재를 포함하고, 상기 연결부재는 상기 감쇄부재에 연결될 수 있다.In one aspect of the present invention, the body portion may include: a slit formed on an outer surface; And a damping member having one side fixed to the body portion and the other side positioned in the slit, and the connecting member can be connected to the damping member.

일 측에 있어서, 상기 감쇄부재는, 상기 연결부재의 진동에 따라 상기 슬릿 내에서 진동함으로써, 상기 몸체부로 전달되는 진동을 감쇄시킬 수 있다.In one side, the damping member may vibrate in the slit according to the vibration of the connecting member, thereby attenuating the vibration transmitted to the body.

일 측에 있어서, 상기 진동부는, 전동모터와, 상기 전동모터의 회전축에 연결되는 접촉부재를 포함하고, 상기 접촉부재는 상기 전동모터의 회전에 따라 상기 연결부재에 선택적으로 접촉할 수 있다.In one aspect of the present invention, the vibrating portion includes an electric motor and a contact member connected to a rotating shaft of the electric motor, and the contact member can selectively contact the connecting member in accordance with rotation of the electric motor.

일 측에 있어서, 상기 연결부재에 연결되는 수용부재를 더 포함하고, 상기 전동모터는 상기 수용부재에 고정될 수 있다.[0027] In one aspect of the present invention, the electric motor further includes a housing member connected to the connecting member, and the electric motor can be fixed to the housing member.

일 측에 있어서, 상기 하우징 외부에 위치한 팁의 단부는 상기 팁의 길이방향에 대하여 구부러지는 만곡면을 포함할 수 있다.On one side, an end of the tip located outside the housing may include a curved surface bent against the longitudinal direction of the tip.

일 측에 있어서, 상기 구강 세정기는, 상기 개구부 및 팁 사이에 배치되고, 상기 팁의 진동에 따른 충격력을 감쇄시키기 위한 버퍼부를 더 포함할 수 있다.In one aspect of the present invention, the oral cleaner may further include a buffer part disposed between the opening and the tip for attenuating an impact force due to vibration of the tip.

일 측에 있어서, 상기 구강 세정기는, 상기 팁에 연결되고, 상기 사용자의 구강을 세정하기 위한 브러쉬가 구비된 브러쉬부를 더 포함할 수 있다.In one aspect, the oral cleaner may further include a brush portion connected to the tip, the brush portion having a brush for cleaning the mouth of the user.

일 측에 있어서, 상기 구강 세정기는, 상기 하우징 및 몸체부 사이에 배치되고, 상기 몸체부의 진동에 따른 충격력을 감소시키는 충격흡수부재를 더 포함할 수 있다.In one aspect of the present invention, the oral cleaner may further include an impact absorbing member disposed between the housing and the body portion, the impact absorbing member reducing the impact force due to the vibration of the body portion.

일 실시 예에 따른 구강 세정기는, 진동을 발생시키는 진동원을 헤드부에 직접 연결함으로써, 헤드부의 진동을 최대화할 수 있다.The oral cleaner according to one embodiment can maximize the vibration of the head portion by directly connecting the vibration source that generates the vibration to the head portion.

일 실시 예에 따른 구강 세정기는, 몸체부 및 헤드부의 연결부위를 통해 전달되는 진동을 감쇄시킴으로써, 몸체부에 전달되는 진동을 최소화 할 수 있다.The oral cleanser according to an embodiment attenuates the vibration transmitted through the connecting portion of the body portion and the head portion, thereby minimizing the vibration transmitted to the body portion.

일 실시 예에 따른 구강 세정기는, 몸체부 및 하우징 사이의 진동을 감쇄시킴으로써, 하우징에 전달되는 진동을 최소화 할 수 있다.The oral cleanser according to one embodiment can minimize vibrations transmitted to the housing by attenuating vibrations between the body and the housing.

일 실시예에 따른 구강 세정기의 효과는 이상에서 언급된 것들에 한정되지 않으며, 언급되지 아니한 다른 효과들은 아래의 기재로부터 통상의 기술자에게 명확하게 이해될 수 있을 것이다.The effects of the oral cleanser according to one embodiment are not limited to those mentioned above, and other effects not mentioned may be clearly understood by those of ordinary skill in the art from the following description.

본 명세서에 첨부되는 다음의 도면들은 본 발명의 바람직한 일 실시예를 예시하는 것이며, 발명의 상세한 설명과 함께 본 발명의 기술적 사상을 더욱 이해시키는 역할을 하는 것이므로, 본 발명은 그러한 도면에 기재된 사항에만 한정되어 해석 되어서는 아니 된다.
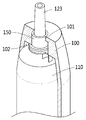
도 1은, 일 실시 예에 따른 구강 세정기의 투시도이다.
도 2는 일 실시 예에 따른 헤드부의 평면도이다.
도 3은 일 실시 예에 따른 헤드부의 평면도이다.
도 4는 일 실시 예에 따른 헤드부 및 몸체부의 사시도이다.
도 5는 일 실시 예에 따른 헤드부 및 몸체부의 측면도이다.
도 6은 일 실시 예에 따른 진동부를 도시하는 사시도이다.
도 7은 일 실시 예에 따른 버퍼부를 도시하는 투시도이다.
도 8은 일 실시 예에 따른 구강 세정기의 평면 투시도이다.
도 9는 일 실시 예에 따른 브러쉬부를 도시하는 투시도이다.
BRIEF DESCRIPTION OF THE DRAWINGS The accompanying drawings, which are incorporated in and constitute a part of the specification, illustrate preferred embodiments of the invention and, together with the description, serve to further the understanding of the technical idea of the invention, It should not be construed as limited.
1 is a perspective view of an oral cleanser according to one embodiment.
2 is a plan view of a head according to one embodiment.
3 is a plan view of the head according to one embodiment.
4 is a perspective view of a head and a body according to one embodiment.
5 is a side view of the head and body according to one embodiment.
6 is a perspective view showing a vibrating part according to an embodiment.
7 is a perspective view showing a buffer unit according to one embodiment.
8 is a plan perspective view of an oral cleanser according to one embodiment.
9 is a perspective view showing a brush part according to an embodiment.

이하, 실시 예들을 예시적인 도면을 통해 상세하게 설명한다. 각 도면의 구성요소들에 참조부호를 부가함에 있어서, 동일한 구성요소들에 대해서는 비록 다른 도면상에 표시되더라도 가능한 한 동일한 부호를 가지도록 하고 있음에 유의해야 한다. 또한, 실시 예를 설명함에 있어, 관련된 공지 구성 또는 기능에 대한 구체적인 설명이 실시 예에 대한 이해를 방해한다고 판단되는 경우에는 그 상세한 설명은 생략한다. Hereinafter, embodiments will be described in detail with reference to exemplary drawings. It should be noted that, in adding reference numerals to the constituent elements of the drawings, the same constituent elements are denoted by the same reference symbols as possible even if they are shown in different drawings. In the following description of the embodiments, detailed description of known functions and configurations incorporated herein will be omitted when it may make the best of an understanding clear.

또한, 실시 예의 구성 요소를 설명하는 데 있어서, 제 1, 제 2, A, B, (a), (b) 등의 용어를 사용할 수 있다. 이러한 용어는 그 구성 요소를 다른 구성 요소와 구별하기 위한 것일 뿐, 그 용어에 의해 해당 구성 요소의 본질이나 차례 또는 순서 등이 한정되지 않는다. 어떤 구성 요소가 다른 구성요소에 "연결", "결합" 또는 "접속"된다고 기재된 경우, 그 구성 요소는 그 다른 구성요소에 직접적으로 연결되거나 접속될 수 있지만, 각 구성 요소 사이에 또 다른 구성 요소가 "연결", "결합" 또는 "접속"될 수도 있다고 이해되어야 할 것이다. In describing the components of the embodiment, terms such as first, second, A, B, (a), and (b) may be used. These terms are intended to distinguish the constituent elements from other constituent elements, and the terms do not limit the nature, order or order of the constituent elements. When a component is described as being "connected", "coupled", or "connected" to another component, the component may be directly connected or connected to the other component, Quot; may be " connected, " " coupled, " or " connected. &Quot;

어느 하나의 실시 예에 포함된 구성요소와, 공통적인 기능을 포함하는 구성요소는, 다른 실시 예에서 동일한 명칭을 사용하여 설명하기로 한다. 반대되는 기재가 없는 이상, 어느 하나의 실시 예에 기재한 설명은 다른 실시 예에도 적용될 수 있으며, 중복되는 범위에서 구체적인 설명은 생략하기로 한다.The components included in any one embodiment and the components including common functions will be described using the same names in other embodiments. Unless otherwise stated, the description of any one embodiment may be applied to other embodiments, and a detailed description thereof will be omitted in the overlapping scope.

도 1은, 일 실시 예에 따른 구강 세정기의 투시도이다.1 is a perspective view of an oral cleanser according to one embodiment.

도 1을 참조하면, 일 실시 예에 따른 구강 세정기(1)는, 사용자의 구강 내를 효과적으로 세정할 수 있다. 예를 들어, 구강 세정기(1)는, 사용자의 별도 동작 없이도, 진동에 따른 브러싱(brushing) 동작을 통해, 사용자의 치아를 자동으로 세정할 수 있다. 또한, 구강 세정기(1)는, 브러싱 동작에 따른 진동이, 구강 세정기를 파지한 사용자의 손으로 전달되는 것을 최소화 함으로써, 동작간에 사용자가 느낄 수 있는 불편함을 최소화 할 수 있다. 일 실시 예에 따른 구강 세정기(1)는, 하우징(100), 몸체부(110), 헤드부(120), 유동부(140), 진동부(130), 버퍼부(150) 및 발광부(160)를 포함할 수 있다.Referring to FIG. 1, the oral cleanser 1 according to one embodiment can effectively clean the oral cavity of a user. For example, the oral cleanser 1 can automatically clean the user's teeth through a brushing action according to vibration, without the user's separate action. In addition, the oral cleanser 1 minimizes the inconvenience that the user may feel during operation, by minimizing the transmission of vibration due to brushing to the user's hand holding the oral cleanser. The oral cleaner 1 according to an embodiment includes a housing 100, a body 110, a head 120, a fluid 140, a vibrator 130, a buffer 150, 160 < / RTI >

하우징(100)은 사용자의 파지가 가능하도록, 구강 세정기(1)의 외관을 형성할 수 있다. 하우징(100)은 사용자의 용이한 파지가 가능하도록, 길이 방향을 가지는 손잡이 형태로 형성될 수 있다. 하우징(100)은 절연 재질, 예를 들어, 플라스틱과 같은 재질로 형성됨으로써, 내부에 배치되는 전자 부품으로 인한 감전의 문제를 방지할 수 있다. 하우징(100)의 외면에는, 구강 세정기(1)의 작동을 위해 사용자가 조작 가능한 스위치(미도시)등이 구비될 수 있다.The housing 100 can form the appearance of the mouth washer 1 so that the user can grasp it. The housing 100 may be formed in the form of a handle having a longitudinal direction so that the user can easily grasp it. The housing 100 is made of an insulating material, for example, a plastic material, so that the problem of electric shock due to the electronic parts disposed therein can be prevented. A switch (not shown) or the like which can be operated by the user for operating the oral care appliance 1 may be provided on the outer surface of the housing 100.

하우징(100)은 내부에 마련되는 수용공간(102), 일측에 형성되는 개구부(101) 및 타측에 형성되는 삽입구(미도시)를 포함할 수 있다.The housing 100 may include a receiving space 102 provided therein, an opening 101 formed at one side, and an insertion port (not shown) formed at the other side.

수용공간(102)에는 구강 세정기(1)의 몸체부(110)가 배치될 수 있다. 수용공간(102)은 몸체부(110)의 형상 및 크기에 대응되게 형성됨으로써, 하우징(100) 내부에 삽입된 몸체부(110)의 위치를 견고하게 유지시킬 수 있다. 이 경우, 몸체부(110)는 삽입구를 통해 삽입될 수 있다.The body portion 110 of the oral cleanser 1 may be disposed in the accommodation space 102. The receiving space 102 is formed to correspond to the shape and size of the body 110 so that the position of the body 110 inserted into the housing 100 can be firmly maintained. In this case, the body portion 110 can be inserted through the insertion opening.

개구부(101)는 하우징(100)의 일측을 관통하도록 형성되고, 상기 수용공간(102)과 연통될 수 있다. 개구부(101)를 통해서 몸체부(110)와 연결된 헤드부(120)의 일부가 하우징(100)의 외부에 배치될 수 있다. 이하에서는, 몸체부(110)가 하우징(100)의 내부에 설치된 상태를 기준으로 일 실시 예에 따른 구강 세정기(1)를 설명하도록 한다.The opening 101 is formed to penetrate through one side of the housing 100 and can communicate with the accommodation space 102. A part of the head part 120 connected to the body part 110 through the opening part 101 may be disposed outside the housing 100. [ Hereinafter, an oral care appliance 1 according to an embodiment will be described with reference to a state where the body 110 is installed inside the housing 100.

몸체부(110)는 하우징(100)의 내측에 위치할 수 있다. 몸체부(110)는 구강 세정기(1)의 작동을 위한 각 부품요소들을 포함하는 모듈로 형성될 수 있다. 예를 들어, 몸체부(110)는 구강 세정기(1)의 작동을 위한 PCB 회로기판, 작동 스위치, 전력을 공급하기 위한 휴대용 배터리, 충전수단 등의 다양한 부품을 포함할 수 있다. 다만, 이는 일 예시에 불과하며, 몸체부(110)가 포함하는 부품 요소들은, 실질적으로 구강 세정기(1)에 적용 가능한 다양한 종류를 포함할 수 있다. 이에 대해서는 생략하도록 한다.The body 110 may be located inside the housing 100. The body portion 110 may be formed of a module comprising respective component elements for operation of the mouth washer 1. [ For example, the body portion 110 may include various components such as a PCB circuit board for operation of the oral care appliance 1, an operation switch, a portable battery for supplying electric power, a charging means, and the like. However, this is merely an example, and the component elements included in the body portion 110 may include various kinds substantially applicable to the oral care cleanser 1. This should be omitted.

헤드부(120)는 진동부(130)에 의해 진동함으로써, 사용자 구강을 세정하기 위한 브러싱 동작을 수행할 수 있다. 예를 들어, 헤드부(120)는 후술하는 브러쉬부(180, 도 9)와 연결됨으로써, 사용자의 구강 내로 진동을 전달할 수 있다. 한편, 헤드부(120)는 후술하는 유동부(140)와 연결됨으로써, 사용자의 구강 및 몸체부(110) 사이의 유체 유동을 위한 경로를 제공할 수 있다.The head portion 120 can perform a brushing operation for cleaning the user's mouth by vibrating the vibrating portion 130. [ For example, the head portion 120 may be connected to a brush portion 180 (FIG. 9) described later to thereby transmit vibration into the user's mouth. Meanwhile, the head 120 may be connected to a fluid unit 140, which will be described later, to provide a path for fluid flow between the user's mouth and the body 110.

헤드부(120)의 일측은 몸체부(110)에 연결됨으로써 하우징(100)의 수용공간(102) 내에 배치되고, 타측은 개구부(101)를 통과함으로써 하우징(100)의 외부에 위치할 수 있다. 헤드부(120)는 연결부재(121), 지지부재(122) 및 팁(123)을 포함할 수 있다. One side of the head part 120 may be disposed in the housing space 102 of the housing 100 by being connected to the body part 110 and the other side may be located outside the housing 100 by passing through the opening part 101 . The head portion 120 may include a connecting member 121, a supporting member 122, and a tip 123. [

연결부재(121)는 몸체부(110) 및 지지부재(122)를 연결할 수 있다. 다시 말해, 헤드부(120)는 연결부재(121)에 의해, 몸체부(110)에 연결될 수 있다. 연결부재(121)는 일측이 몸체부(110)에 연결되고, 타측이 지지부재(122)에 연결될 수 있다. 연결부재(121)는 몸체부(110)로부터 지지부재(122) 방향으로 연장되는 길이 방향, 예를 들어, 몸체부(110)의 일단에 수직한 길이 방향을 가질 수 있다. 이 경우, 연결부재(121)는 하우징(100)의 내부에 위치할 수 있다.The connecting member 121 can connect the body 110 and the supporting member 122. In other words, the head part 120 can be connected to the body part 110 by the connecting member 121. One end of the connecting member 121 may be connected to the body 110 and the other end may be connected to the supporting member 122. The connecting member 121 may have a longitudinal direction extending from the body 110 toward the support member 122, for example, a longitudinal direction perpendicular to one end of the body 110. In this case, the connecting member 121 may be located inside the housing 100.

지지부재(122)는 몸체부(110)에 이격되도록 연결부재(121)의 타측에 연결될 수 있다. 지지부재(122)는 연결부재(121)에 의해 몸체부(110)에 대하여 일정 간격 이격될 수 있다. 지지부재(122)는 하우징(100)의 내부에 위치할 수 있다. 이 경우, 지지부재(122)는 개구부(101)를 통해 하우징(100) 외부로 이탈되지 않도록, 개구부(101)보다 큰 면적을 가질 수 있다.The support member 122 may be connected to the other side of the connection member 121 so as to be spaced apart from the body 110. The support member 122 may be spaced apart from the body 110 by a predetermined distance. The support member 122 may be located inside the housing 100. In this case, the support member 122 may have a larger area than the opening 101 so as not to be detached from the housing 100 through the opening 101.

팁(123)은, 일측이 지지부재(122)에 연결되고, 개구부(101)를 통과하도록 길이 방향으로 연장될 수 있다. 다시 말하면, 지지부재(122)에 연결된 팁(123)의 일측은 하우징(100)의 수용공간(102) 내에 위치하고, 팁(123)의 타측은 개구부(101)를 통과함으로써 하우징(100)의 외부에 위치할 수 있다.The tip 123 may be connected to the support member 122 on one side and may extend in the longitudinal direction to pass through the opening 101. In other words, one side of the tip 123 connected to the support member 122 is located in the housing space 102 of the housing 100, and the other side of the tip 123 passes through the opening 101, Lt; / RTI >

팁(123)은 길이 방향을 따라 관통 형성되는 유동구(1231)를 포함할 수 있다. 이 경우, 지지부재(122)는 유동구(1231)와 연통되도록, 외면을 관통하여 형성되는 중공을 포함할 수 있다. 유동구(1231) 및 중공은, 유동부(140)와 연결됨으로써, 오수 또는 세정액의 유동 경로를 제공할 수 있다. The tip 123 may include a flow hole 1231 formed to penetrate along the longitudinal direction. In this case, the support member 122 may include a hollow formed through the outer surface so as to communicate with the flow port 1231. The flow port (1231) and the hollow are connected to the flow portion (140), thereby providing a flow path of the wastewater or the cleaning liquid.

유동부(140)는 구강 세정기(1)의 유체의 유동을 발생시킬 수 있다. 예를 들어, 유동부(140)는 유체의 유동 압력을 변동시킴으로써, 사용자 구강 내의 오수를 흡입하거나, 사용자 구강 내로 세정액을 분사시킬 수 있다. 유동부(140)는, 유체 펌프(141), 유동관(142) 및 배출관(143)을 포함할 수 있다.The lubrication portion 140 can generate a flow of the fluid in the mouth washer 1. For example, the moving part 140 can change the flow pressure of the fluid to suck the wastewater in the user's mouth or spray the cleaning liquid into the user's mouth. The fluid section 140 may include a fluid pump 141, a flow tube 142, and a discharge tube 143.

유체 펌프(141)는 유체의 유동을 위한 압력을 제공할 수 있다. 유체 펌프(141)는, 예를 들어, 수용 용기와 수용 용기 내의 압력을 변동시키기 위한 모터를 포함할 수 있다. 유동관(142)은 수용 용기 및 헤드부(120), 예를 들어, 팁(123)에 형성된 유동구(1231)와 연결됨으로써, 헤드부(120)로부터 수용 용기까지의 유동 경로를 제공하고, 배출관(143)의 일측은 수용 용기와 연결되고 타측은 몸체부(110)의 외부에 연결됨으로써, 수용 용기로부터 몸체부(110) 외부까지의 유체 유동 경로를 제공할 수 있다.The fluid pump 141 may provide a pressure for fluid flow. The fluid pump 141 may include, for example, a housing container and a motor for varying the pressure in the housing container. The flow tube 142 is connected to the receiving container and the flow port 1231 formed in the head portion 120, for example, the tip 123, thereby providing a flow path from the head portion 120 to the receiving container, 143 may be connected to the receptacle and the other may be connected to the outside of the body 110 to provide a fluid flow path from the receptacle to the outside of the body 110.

다만, 상술한 유동부(140)를 통한 유체 유동의 구성은 예시에 불과하며, 일 실시 예에 따른 구강 세정기(1)에는 다양한 유체 유동 방식이 제공될 수 있다.However, the configuration of the fluid flow through the above-described fluid portion 140 is merely an example, and the oral cleaner 1 according to one embodiment may be provided with various fluid flow methods.

진동부(130)는 구강 세정기(1)의 브러싱 동작이 수행되도록, 헤드부(120)를 진동시킬 수 있다. 진동부(130)는 헤드부(120)에 연결되어 헤드부(120)를 직접 진동시킬 수 있다. 이 경우, 진동부(130)는 몸체부(110)에 직접 접촉하지 않음으로써, 진동부(130)의 작동에 따른 진동이 몸체부(110)로 전달되는 것을 최소화 할 수 있다. 진동부(130)는 전력을 공급받아 작동하는 전동모터(131) 및 전동모터(131)의 회전축에 연결되는 접촉부재(132)를 포함할 수 있다.The vibration unit 130 may vibrate the head unit 120 so that the brushing operation of the oral cleanser 1 is performed. The vibration unit 130 may be connected to the head unit 120 to vibrate the head unit 120 directly. In this case, since the vibration unit 130 does not directly contact the body 110, it is possible to minimize the transmission of vibration due to the vibration of the vibration unit 130 to the body 110. The vibration unit 130 may include an electric motor 131 that is operated by receiving power and a contact member 132 that is connected to the rotation axis of the electric motor 131.

버퍼부(150)는 헤드부(120) 및 하우징(100) 사이에 배치되어, 헤드부(120) 및 하우징(100) 사이의 진동을 감쇄시킬 수 있다. 예를 들어, 버퍼부(150)는, 개구부(101)를 관통하는 팁(123)을 감싸도록 하우징(100)의 개구부(101)에 배치됨으로써, 팁(123)의 진동에 따른 충격력이 하우징(100)으로 전달되는 것을 감쇄시킬 수 있다.The buffer unit 150 may be disposed between the head unit 120 and the housing 100 so as to attenuate vibration between the head unit 120 and the housing 100. For example, the buffer unit 150 is disposed in the opening 101 of the housing 100 so as to surround the tip 123 passing through the opening 101, so that an impact force due to the vibration of the tip 123 is transmitted to the housing 100 can be attenuated.

발광부(160)는 구강 세정기(1)를 사용하는 사용자의 구강 내로 광을 조사할 수 있다. 발광부(160)는 몸체부(110)와 헤드부(120) 사이에 배치되고, 헤드부(120) 방향으로 빛을 조사할 수 있다. 이 경우, 헤드부(120)는 발광부(160)에 의해 조사되는 빛이 투과 가능하도록, 투명성 재질로 형성될 수 있다. 이와 같은 구조에 의하면, 발광부(160)가 하우징(100)의 내부에 위치함으로써, 구강 세정기(1)의 사용에 따른 손상이 방지되면서도, 사용자의 구강 내로 빛을 조사할 수 있다.The light emitting portion 160 can irradiate light into the oral cavity of the user using the oral cleanser 1. The light emitting portion 160 is disposed between the body portion 110 and the head portion 120 and is capable of emitting light in the direction of the head portion 120. In this case, the head part 120 may be made of a transparent material so that light emitted by the light emitting part 160 can be transmitted. According to this structure, since the light emitting unit 160 is positioned inside the housing 100, it is possible to irradiate light into the oral cavity of the user while preventing damage caused by the use of the oral cleanser 1.

도 2는 일 실시 예에 따른 헤드부의 평면도이다.2 is a plan view of a head according to one embodiment.

도 2를 참조하면, 일 실시 예에 따른 헤드부(120)는, 하우징(100) 외부에 위치한 헤드부(120)의 진동변위가, 하우징(100) 내에 위치한 헤드부(120)의 진동변위보다 클 수 있다.Referring to FIG. 2, the head 120 according to an embodiment of the present invention is configured such that the vibration displacement of the head portion 120 located outside the housing 100 is less than the vibration displacement of the head portion 120 located in the housing 100 It can be big.

예를 들어, 헤드부(120)의 연결부재(121)는 전동모터(131)의 회전에 따라 접촉부재(132)와 접촉함으로써, 가진력을 제공받을 수 있다. 지지부재(122)는 연결부재(121) 및 팁(123)을 연결함으로써, 연결부재(121)의 진동 에너지를 팁(123)으로 전달할 수 있다. 이 경우, 지지부재(122)에 대한 팁(123) 및 연결부재(121)의 각각의 연결 지점은 서로 이격될 수 있다. 예를 들어, 지지부재(122)가 원형의 단면 형상을 가지는 경우, 팁(123)은 지지부재(122)의 중심에 연결되고, 연결부재(121)는 지지부재(122)의 외측에 연결될 수 있다. For example, the connecting member 121 of the head portion 120 can be provided with an exciting force by contacting the contact member 132 in accordance with the rotation of the electric motor 131. [ The supporting member 122 can transmit the vibration energy of the connecting member 121 to the tip 123 by connecting the connecting member 121 and the tip 123. [ In this case, the respective connection points of the tip 123 and the connecting member 121 to the support member 122 may be spaced from each other. For example, when the support member 122 has a circular cross-sectional shape, the tip 123 may be connected to the center of the support member 122, and the connection member 121 may be connected to the outside of the support member 122 have.

다시 말해서, 도 2와 같이, 접촉부재(132)에 의한 연결부재(121)의 진동부위는, 개구부(101, 도 1 참조)의 중심을 통과하는 가상의 축(Y)으로부터 편심될 수 있다. 팁(123)은 연결부재(121)의 길이보다 긴 길이를 가지기 때문에, 팁(123)의 단부의 진동변위(A2)는, 연결부재(121)의 진동부위의 진동변위(A1)보다 클 수 있다. 결과적으로, 헤드부(120)는 브러쉬부(180, 도 9)와 연결되는 부위의 진동 변위를 향상시킬 수 있다. 즉, 팁(123)의 단부의 진동이 극대화됨으로써, 사용자의 치아를 세정하기 위한 브러싱 동작이 효과적으로 수행될 수 있다. 또한, 접촉부재(132)에 의해 연결부재(121)에 전달되는 가진력의 크기가 제한됨으로써, 구강 세정기(1)를 파지한 사용자에게 전달되는 떨림이 경감될 수 있다.In other words, as shown in Fig. 2, the vibrating portion of the connecting member 121 by the contact member 132 can be eccentric from a virtual axis Y passing through the center of the opening 101 (see Fig. 1). The vibration displacement A2 of the end portion of the tip 123 is larger than the vibration displacement A1 of the vibration portion of the connecting member 121 because the tip 123 has a length longer than the length of the connecting member 121 have. As a result, the head portion 120 can improve the vibration displacement at a portion connected to the brush portion 180 (Fig. 9). That is, the vibration of the tip of the tip 123 is maximized, so that the brushing operation for cleaning the user's teeth can be effectively performed. In addition, since the magnitude of the force transmitted to the connection member 121 is limited by the contact member 132, the vibration transmitted to the user holding the mouth washer 1 can be alleviated.

한편, 지지부재(122)에 대하여, 연결부재(121) 및 팁(123)이 서로 이격 되도록 연결되는 경우, 팁(123)을 통해 유체 유동이, 연결부재(121)에 의해 간섭되는 것을 방지할 수 있다.On the other hand, when the connection member 121 and the tip 123 are connected to the support member 122 so as to be spaced apart from each other, fluid flow through the tip 123 is prevented from being interfered by the connection member 121 .

도 3은 일 실시 예에 따른 헤드부의 평면도이다.3 is a plan view of the head according to one embodiment.

도 3을 참조하면, 일 실시 예에 따른 헤드부(120')는, 팁(123')의 단부의 진동 변위를 증가시킬 수 있도록, 팁(123')의 단부가 길이방향에 대하여 구부러지는 만곡면을 포함할 수 있다. 도 3과 같이, 팁(123')의 단부가 만곡면을 포함하는 경우, 팁(123')의 단부의 진동 변위(A2)가 구부러진 만곡면의 길이만큼 증가할 수 있다. 다시 말해, 가상의 축(Y)에 대하여 편심된 팁(123')의 단부의 거리가 증가할 수 있다. 따라서, 가진력에 의한 팁(123') 단부의 진동 변위가 보다 향상될 수 있다.Referring to FIG. 3, the head 120 'according to an embodiment is configured such that the end portion of the tip 123' is curved in the longitudinal direction so as to increase the vibration displacement of the end portion of the tip 123 ' Plane. As shown in FIG. 3, when the end of the tip 123 'includes a curved surface, the vibration displacement A2 at the end of the tip 123' may increase by the length of the curved surface. In other words, the distance of the end of the eccentric tip 123 'with respect to the imaginary axis Y may increase. Therefore, the vibration displacement of the end of the tip 123 'by the excitation force can be further improved.

도 4는 일 실시 예에 따른 헤드부 및 몸체부의 사시도이고, 도 5는 일 실시 예에 따른 헤드부 및 몸체부의 측면도이다.FIG. 4 is a perspective view of a head part and a body part according to an embodiment, and FIG. 5 is a side view of a head part and a body part according to an embodiment.

도 4 및 도 5를 참조하면, 일 실시 예에 따른 헤드부(120) 및 몸체부(110)는, 헤드부(120)의 진동에 따라 몸체부(110)로 전달되는 충격력을 감쇄시킬 수 있다. 몸체부(110)는 외면에 형성되는 슬릿(111) 및, 상기 슬릿(111) 내에 위치하는 감쇄부재(112)를 포함할 수 있다.4 and 5, the head part 120 and the body part 110 according to the embodiment can attenuate the impact force transmitted to the body part 110 according to the vibration of the head part 120 . The body 110 may include a slit 111 formed on the outer surface and a damping member 112 located within the slit 111. [

슬릿(111)은 몸체부(110)의 외면의 일부를 따라 관통 형성될 수 있다. 다시 말해, 슬릿(111)은 몸체부(110)의 외면으로부터 내면을 관통하도록 형성되는 홈 형태일 수 있다. The slit 111 may be formed through a part of the outer surface of the body 110. In other words, the slit 111 may be in the form of a groove that is formed to penetrate the inner surface from the outer surface of the body portion 110.

감쇄부재(112)는 일측은 몸체부(110)의 외면에 고정되고, 타측은 슬릿(111)의 형상에 대응하여 연장될 수 있다. 감쇄부재(112)의 타측은 슬릿(111) 내에 위치함으로써, 외력에 의해 슬릿(111) 내에서 움직일 수 있다. One side of the damping member 112 is fixed to the outer surface of the body 110 and the other side of the damping member 112 can be extended corresponding to the shape of the slit 111. The other side of the damping member 112 is located in the slit 111, so that it can move in the slit 111 by an external force.

감쇄부재(112)의 타측에는 연결부재(121)가 연결될 수 있다. 이 경우, 연결부재(121)에는 전동모터(131)를 수용하기 위한 수용부재(124)가 연결될 수 있다. 수용부재(124)는 전동모터(131)를 수용 가능하도록 전동모터(131)에 대응하는 형상으로 형성되고, 양 측이 감쇄부재(112) 및 연결부재(121)에 연결됨으로써, 연결부재(121) 및 감쇄부재(112)를 연결시킬 수 있다.The connecting member 121 may be connected to the other side of the damping member 112. In this case, the receiving member 124 for receiving the electric motor 131 may be connected to the connecting member 121. The housing member 124 is formed in a shape corresponding to the electric motor 131 so as to accommodate the electric motor 131 and is connected to the damping member 112 and the connecting member 121 on both sides, And the damping member 112 can be connected to each other.

슬릿(111) 및 감쇄부재(112)는 몸체부(110)에 한 쌍으로 구비될 수 있다. 예를 들어, 도 4와 같이 한 쌍의 슬릿(111)은 몸체부(110) 외면의 반대측에 서로 마주보도록 형성되고, 한 쌍의 감쇄부재(112)는 각각의 슬릿(111) 내에 위치할 수 있다. 이 경우, 수용부재(124)는 한 쌍의 감쇄부재(112)를 통해 몸체부(110)에 연결됨으로써, 안정적인 지지상태를 확보할 수 있다.The slit 111 and the damping member 112 may be provided on the body 110 in pairs. For example, as shown in FIG. 4, a pair of slits 111 are formed to face each other on the opposite side of the outer surface of the body 110, and a pair of the damping members 112 can be located in the respective slits 111 have. In this case, the housing member 124 is connected to the body portion 110 through the pair of dampers 112, thereby ensuring a stable support state.

연결부재(121)가 전동모터(131)의 작동에 따라 진동하는 경우, 감쇄부재(112)는 연결부재(121)의 진동에 대응하여 슬릿(111) 내에서 진동함으로써, 몸체부(110)로 전달되는 진동을 감쇄시킬 수 있다. 다시 말해서, 감쇄부재(112)는 연결부재(121)로부터 몸체부(110)로 전달되는 진동 에너지를 흡수하는 완충재로의 역할을 수행함으로써, 몸체부(110)에서 발생하는 진동을 저감시킬 수 있다.When the connecting member 121 vibrates in accordance with the operation of the electric motor 131, the damping member 112 vibrates in the slit 111 in response to the vibration of the connecting member 121, The transmitted vibration can be attenuated. In other words, the damping member 112 serves as a damping material absorbing the vibration energy transmitted from the connecting member 121 to the body 110, thereby reducing vibration generated in the body 110 .

한편, 전동모터(131)가 수용부재(124)에 수용되는 경우, 전동모터(131)는 몸체부(110)에 직접 접촉하지 않으면서도, 헤드부(120)에만 접촉함으로써 헤드부(120)를 진동시킬 수 있다. 이와 같은 구조에 의하면, 전동모터(131) 자체의 떨림에 따른 진동 에너지가 몸체부(110)로 직접 전달되지 않고, 감쇄부재(112)를 통해 몸체부(110)로 전달되기 때문에, 몸체부(110)에 발생하는 진동을 저감시킬 수 있다.When the electric motor 131 is housed in the housing member 124, the electric motor 131 does not directly contact the body 110, but contacts the head 120 only, It can vibrate. According to this structure, since the vibration energy due to the tremble of the electric motor 131 itself is not transmitted directly to the body portion 110 but is transmitted to the body portion 110 through the damping member 112, 110 can be reduced.

도 6은 일 실시 예에 따른 진동부를 도시하는 사시도이다.6 is a perspective view showing a vibrating part according to an embodiment.

도 6을 참조하면, 접촉부재(132)는 연결부재(121)와 접촉함으로써, 헤드부의 진동을 발생시킬 수 있다. 접촉부재(132)는 몸체부(110) 및 헤드부(120)의 지지부재(122) 사이에 배치되고, 회전에 따라 연결부재(121)에 선택적으로 접촉할 수 있다.Referring to Fig. 6, the contact member 132 can come into contact with the connecting member 121, thereby causing vibration of the head portion. The contact member 132 is disposed between the body portion 110 and the support member 122 of the head portion 120 and can selectively contact the connection member 121 in accordance with the rotation.

접촉부재(132)는 도 6과 같이, 일측면이 돌출되는 형상으로 형성될 수 있다. 다시 말해, 접촉부재(132)는 회전 중심을 기준으로, 외측의 일부가 돌출되는 단면의 형상을 가질 수 있다. 이 경우, 접촉부재(132)는 돌출된 외측면을 통해 연결부재(121)에 접촉할 수 있다. 이와 같은 구조에 의하면, 접촉부재(132)의 회전에 따라 돌출된 외측면이 반복적으로 연결부재(121)에 접촉하면서 헤드부(120)를 진동시킬 수 있다. 결과적으로, 접촉부재(132)에 의해 연결부재(121)에 발생된 진동은, 지지부재(122)를 통해 팁(123)으로 전달될 수 있다. 다만, 도면에 도시된 접촉부재(132)의 형상은 일 예시에 불과하며, 접촉부재(132)에는 동일한 기능을 수행할 수 있는 다양한 형상이 적용될 수 있다.As shown in FIG. 6, the contact member 132 may be formed to have one side protruding. In other words, the contact member 132 may have a cross-sectional shape in which a part of the outer side protrudes from the center of rotation. In this case, the contact member 132 can contact the connecting member 121 through the protruded outer surface. According to this structure, the head portion 120 can be vibrated while the outer surface protruding along the rotation of the contact member 132 repeatedly contacts the connecting member 121. As a result, the vibration generated in the connection member 121 by the contact member 132 can be transmitted to the tip 123 through the support member 122. [ However, the shape of the contact member 132 shown in the figure is merely an example, and various shapes capable of performing the same function can be applied to the contact member 132. [

진동부(130, 도 1)는 헤드부의 진동에 따른 주기를 조절할 수 있다. 구체적으로, 설정된 제어 조건에 따라 전동모터의 회전 속도가 조절됨으로써, 연결부재(121) 및 접촉부재(132)의 접촉 주기가 조절될 수 있다. 예를 들어, 보다 높은 강도의 진동이 요구되는 경우에는, 전동모터(131)의 회전 속도를 증가시킴으로써, 헤드부(120)의 진동에 따른 주파수(frequency)를 증가시키고, 보다 낮은 강도의 진동이 요구되는 경우에는 전동모터(131)의 회전 속도를 감소시킴으로써, 헤드부(120)의 진동에 따른 주파수를 감소시킬 수 있다.The vibration unit 130 (FIG. 1) can adjust the period of vibration of the head unit. Specifically, by controlling the rotational speed of the electric motor in accordance with the set control conditions, the contact period of the connecting member 121 and the contact member 132 can be adjusted. For example, when a higher intensity of vibration is required, by increasing the rotational speed of the electric motor 131, the frequency according to the vibration of the head 120 can be increased, The frequency corresponding to the vibration of the head 120 can be reduced by reducing the rotational speed of the electric motor 131 when required.

도 7은 일 실시 예에 따른 버퍼부를 도시하는 투시도이다.7 is a perspective view showing a buffer unit according to one embodiment.

도 7을 참조하면, 버퍼부(150)는 팁(123)의 진동에 따라 하우징(100)으로 전달되는 충격력을 감쇄시킬 수 있다. 버퍼부(150)는 개구부(101) 및 팁 사이에 배치될 수 있다. 예를 들어, 버퍼부(150)는 내부를 관통하여 형성되는 중공을 포함할 수 있다. 버퍼부(150)의 중공에는 개구부(101)에 위치한 팁(123) 부분이 삽입될 수 있다. 버퍼부(150)는 탄성 재질로 형성됨으로써, 팁(123) 및 하우징(100) 사이의 완충재 역할을 수행할 수 있다. 또한, 버퍼부(150)는 팁(123)이 진동하면서 하우징(100)에 충돌하는 것을 방지함으로써, 하우징(100) 및 팁(123)이 손상되는 것을 방지할 수 있다. 결과적으로, 버퍼부(150)는 하우징(100)을 파지한 사용자가, 하우징(100)의 진동으로 인해 느끼는 불쾌함을 저감시킬 수 있다.Referring to FIG. 7, the buffer unit 150 may attenuate the impact force transmitted to the housing 100 according to the vibration of the tip 123. The buffer portion 150 may be disposed between the opening portion 101 and the tip. For example, the buffer unit 150 may include a hollow formed through the inside thereof. A portion of the tip 123 located in the opening 101 may be inserted into the hollow of the buffer unit 150. The buffer unit 150 is made of an elastic material, and can function as a buffer material between the tip 123 and the housing 100. In addition, the buffer unit 150 prevents the tip 123 from colliding with the housing 100 while vibrating, thereby preventing the housing 100 and the tip 123 from being damaged. As a result, the buffer unit 150 can reduce the unpleasantness felt by the user holding the housing 100 due to the vibration of the housing 100.

버퍼부(150)는 개구부(101)에 대응하는 형상 및 크기로 형성됨으로써, 팁(123)과 개구부(101) 사이의 공간을 실링(sealing)할 수 있다. 이와 같은 구조에 의하면, 버퍼부(150)는 구강 세정기의 사용간에 개구부(101)를 통해 하우징(100) 내부로 이물질이 유입되는 것을 방지함으로써, 구강 세정기(1) 내부의 부품들이 손상되는 것을 방지할 수 있다.The buffer portion 150 is formed in a shape and size corresponding to the opening portion 101 so that the space between the tip portion 123 and the opening portion 101 can be sealed. According to such a structure, the buffer unit 150 prevents the foreign substances from flowing into the housing 100 through the opening 101 between the use of the oral cleanser, thereby preventing the parts inside the oral cleanser 1 from being damaged can do.

도 8은, 일 실시 예에 따른 구강 세정기의 평면 투시도이다.8 is a plan perspective view of an oral cleanser in accordance with one embodiment.

도 8을 참조하면, 일 실시 예에 따른 구강 세정기는 하우징(100) 및 몸체부(110) 사이에 배치되는 충격흡수부재(170)를 포함할 수 있다. 충격흡수부재(170)는 하우징(100) 내면에 구비됨으로써, 하우징(100)의 수용공간에 삽입된 몸체부(110)의 진동을 흡수하는 완충재의 역할을 수행할 수 있다. 충격흡수부재(170)는 예를 들어, 부드러운 탄성 재질의 폼(foam), 예를 들어, 폴리우레탄과 같은 탄성 중합체를 포함하는 다공성 탄성체일 수 있다. 이 경우, 충격흡수부재(170)는 몸체부(110)의 진동에 따른 충격력이 전달되면 압축되면서 충격을 흡수하고, 충격력이 제거되면 원래 형태로 복구되면서, 반복적인 충격력 흡수를 수행할 수 있다. 다만, 이는 일 예시에 불과하며, 충격흡수부재(170)는 충격을 흡수할 수 있는 다양한 재질을 포함할 수 있다.8, an oral cleanser according to one embodiment may include a shock absorbing member 170 disposed between a housing 100 and a body portion 110. The shock absorbing member 170 may be provided on the inner surface of the housing 100 to serve as a shock absorber for absorbing vibration of the body 110 inserted into the housing space of the housing 100. The shock absorbing member 170 may be, for example, a foam of a soft elastic material, for example, a porous elastic material including an elastic polymer such as polyurethane. In this case, when the impact force due to the vibration of the body portion 110 is transmitted, the impact absorbing member 170 absorbs the impact while being compressed. When the impact force is removed, the impact absorbing member 170 is restored to its original shape and can repeatedly absorb the impact force. However, this is merely an example, and the shock absorbing member 170 may include various materials capable of absorbing impact.

결과적으로, 충격흡수부재(170)는 몸체부(110)에 의해 하우징(100)으로 전달되는 충격을 흡수함으로써, 하우징(100)을 파지한 사용자가 느끼는 불편함을 저감시킬 수 있다. 반면, 충격흡수부재(170)는 하우징(100)이 충격을 받는 경우에, 몸체부(110)로 전달되는 충격을 완화시킴으로써, 몸체부(110)가 손상되는 것을 방지할 수도 있다.As a result, the impact absorbing member 170 absorbs the impact transmitted to the housing 100 by the body 110, thereby reducing the inconvenience experienced by the user holding the housing 100. On the other hand, when the housing 100 receives an impact, the impact absorbing member 170 may mitigate the impact transmitted to the body 110, thereby preventing the body 110 from being damaged.

도 9는 일 실시 예에 따른 브러쉬부를 도시하는 투시도이다.9 is a perspective view showing a brush part according to an embodiment.

도 9를 참조하면, 일 실시 예에 따른 사용자의 구강내에 삽입되어, 사용자의 구강을 세정하기 위한 브러쉬부(180)를 포함할 수 있다. 브러쉬부(180)는 팁(123)에 연결됨으로써, 팁(123)의 진동에 따른 진동을 전달받아, 사용자의 구강내에서 진동할 수 있다. 브러쉬부(180)는 길이 방향을 따라 연장됨으로써, 팁(123)으로부터 전달되는 진동의 움직임을 보다 극대화 할 수 있다. 다시 말해서, 연결부재(121)로부터 전달되는 진동이, 팁(123)을 통해 브러쉬부(180)에 전달됨으로써, 브러쉬부(180)의 진동에 따른 변위가 보다 증가될 수 있다.Referring to FIG. 9, a brush 180 may be included in the mouth of a user according to an embodiment to clean a mouth of a user. The brush part 180 is connected to the tip 123, so that the brush part 180 receives the vibration due to the vibration of the tip 123 and can vibrate in the user's mouth. The brush part 180 extends along the longitudinal direction, thereby maximizing the movement of the vibration transmitted from the tip 123. [ In other words, the vibration transmitted from the connecting member 121 is transmitted to the brush portion 180 through the tip 123, so that the displacement due to the vibration of the brush portion 180 can be further increased.

브러쉬부(180)는, 길이 방향을 따라 내부에 형성되는 중공부(181)를 포함할 수 있다. 이 경우, 중공부(181)에는 팁(123)이 삽입됨으로써, 헤드부 및 브러쉬부(180)가 연결될 수 있다. 이 경우, 중공부(181) 및 팁(123)에는 서로 체결 가능한 결합부재가 구비될 수 있다.The brush portion 180 may include a hollow portion 181 formed in the longitudinal direction. In this case, by inserting the tip 123 into the hollow portion 181, the head portion and the brush portion 180 can be connected. In this case, the hollow portion 181 and the tip 123 may be provided with engageable members.

브러쉬부(180)의 일측에는 유동구(1231)와 연통되는 복수의 통공(182)이 형성될 수 있다. 팁(123)에 유체 유동을 위한 유동구(1231)가 형성되는 경우, 통공(182)은 중공부(181)를 통해 유동구(1231)와 연통될 수 있다. 각각의 통공(182)에는 사용자의 치아에 접촉함으로서, 치아를 세척하기 위한 복수의 브러쉬(brush)가 구비될 수 있다. 이 경우, 브러시와 통공(182)이 동일한 방향에 형성되기 때문에, 브러쉬를 통한 치아 세척과, 통공(182)을 통한 유체의 분사가 동시에 수행될 수 있다.A plurality of through holes 182 communicating with the flow port 1231 may be formed at one side of the brush portion 180. The through hole 182 can communicate with the flow port 1231 through the hollow portion 181 when the tip 123 is formed with a flow port 1231 for fluid flow. Each of the through holes 182 may be provided with a plurality of brushes for cleaning the teeth by contacting the user's teeth. In this case, since the brush and the through-hole 182 are formed in the same direction, tooth cleaning through the brush and injection of the fluid through the through-hole 182 can be performed simultaneously.

정리하면, 일 실시 예에 따른 구강 세정기는, 헤드부를 통해 사용자의 구강에 전달되는 진동을 증가시킴으로써 효과적인 구강 세정을 도모할 수 있다. 또한, 헤드부로부터 몸체부로 전달되는 진동을 감쇄부재를 통해 감쇄시키고, 버퍼부 및 충격흡수부재를 통해 하우징으로 전달되는 진동을 이중으로 감쇄시킴으로써, 하우징을 파지한 사용자가 느끼는 진동에 따른 불편함을 저감시킬 수 있다.In summary, the oral cleanser according to one embodiment can achieve effective oral cleansing by increasing the vibration transmitted to the user's mouth through the head portion. In addition, since the vibrations transmitted from the head portion to the body portion are attenuated through the attenuating member, and the vibrations transmitted to the housing through the buffer portion and the shock absorbing member are attenuated in a double manner, the inconvenience due to the vibration felt by the user holding the housing Can be reduced.

이상과 같이 비록 한정된 도면에 의해 실시 예들이 설명되었으나, 해당 기술분야에서 통상의 지식을 가진 자라면 상기의 기재로부터 다양한 수정 및 변형이 가능하다. 예를 들어, 설명된 기술들이 설명된 방법과 다른 순서로 수행되거나, 및/또는 설명된 구조, 장치 등의 구성요소들이 설명된 방법과 다른 형태로 결합 또는 조합되거나, 다른 구성요소 또는 균등물에 의하여 대치되거나 치환되더라도 적절한 결과가 달성될 수 있다.Although the preferred embodiments of the present invention have been disclosed for illustrative purposes, those skilled in the art will appreciate that various modifications, additions and substitutions are possible, without departing from the scope and spirit of the invention as disclosed in the accompanying claims. For example, it is contemplated that the techniques described may be performed in a different order than the described methods, and / or that components of the described structures, devices, and the like may be combined or combined in other ways than the described methods, Appropriate results can be achieved even if they are replaced or replaced.

그러므로, 다른 구현들, 다른 실시 예들 및 청구범위와 균등한 것들도 후술하는 청구범위의 범위에 속한다.Therefore, other implementations, equivalents to other embodiments and the claims are also within the scope of the following claims.

1: 구강 세정기
100: 하우징
110: 몸체부
120: 헤드부
130: 진동부
140: 유동부
150: 버퍼부
160: 발광부
170: 충격흡수부재
180: 브러쉬부
1: Oral cleanser
100: Housing
110:
120:
130:
140:
150:
160:
170: shock absorbing member
180: Brush part

Claims (12)

일측에 형성된 개구부를 포함하는 하우징;
상기 하우징 내부에 위치하는 몸체부;
일측은 상기 몸체부에 연결되고, 타측은 상기 하우징 외부에 위치하는 헤드부; 및
상기 헤드부에 연결되어, 상기 헤드부를 진동시키는 진동부를 포함하고,
상기 하우징 외부에 위치한 헤드부 타측 단부의 진동변위는, 상기 하우징 내에 위치한 헤드부의 진동변위보다 큰, 구강 세정기.
A housing including an opening formed in one side;
A body positioned within the housing;
A head part connected to the body part at one side and to the outside of the housing at the other side; And
And a vibration part connected to the head part to vibrate the head part,
Wherein the vibration displacement at the other end of the head portion located outside the housing is larger than the vibration displacement of the head portion located within the housing.
제1항에 있어서,
상기 헤드부는,
일측이 상기 몸체부에 연결되고 길이 방향으로 연장되며, 상기 진동부와 연결되는 연결부재;
상기 몸체부에 이격되도록, 상기 연결부재의 타측에 연결되는 지지부재; 및
상기 지지부재에 연결되고, 상기 개구부를 통과하도록 길이 방향으로 연장되는 팁을 포함하는, 구강 세정기.
The method according to claim 1,
Wherein:
A connecting member connected to the body part at one side and extending in the longitudinal direction, the connecting member being connected to the vibrating part;
A supporting member connected to the other side of the connecting member so as to be spaced apart from the body portion; And
And a tip connected to the support member and extending longitudinally to pass through the opening.
제2항에 있어서,
상기 지지부재에 대한 상기 팁 및 연결부재의 연결부위의 중심은 서로 이격된, 구강 세정기.
3. The method of claim 2,
Wherein a center of a connection portion of the tip and the connection member with respect to the support member is spaced apart from each other.
제2항에 있어서,
상기 진동부 및 상기 연결부재의 접촉부위는, 상기 개구부의 중심을 통과하는 가상의 축으로부터 편심된, 구강 세정기.
3. The method of claim 2,
Wherein the contact portions of the vibrating portion and the connecting member are eccentric from an imaginary axis passing through the center of the opening.
제2항에 있어서,
상기 몸체부는,
외면에 형성되는 슬릿; 및
일측은 상기 몸체부에 고정되고, 타측은 상기 슬릿 내에 위치하는 감쇄부재를 포함하고,
상기 연결부재는 상기 감쇄부재에 연결되는, 구강 세정기.
3. The method of claim 2,
The body portion
A slit formed on the outer surface; And
Wherein one side is fixed to the body part and the other side is a damping member located in the slit,
Wherein the connecting member is connected to the damping member.
제5항에 있어서,
상기 감쇄부재는, 상기 연결부재의 진동에 따라 상기 슬릿 내에서 진동함으로써, 상기 몸체부로 전달되는 진동을 감쇄시키는, 구강 세정기.
6. The method of claim 5,
Wherein the damping member vibrates in the slit in accordance with the vibration of the connecting member to attenuate vibration transmitted to the body.
제2항에 있어서,
상기 진동부는,
전동모터와, 상기 전동모터의 회전축에 연결되는 접촉부재를 포함하고,
상기 접촉부재는 상기 전동모터의 회전에 따라 상기 연결부재에 선택적으로 접촉하는, 구강 세정기.
3. The method of claim 2,
The vibrating unit may include:
An electric motor, and a contact member connected to a rotating shaft of the electric motor,
Wherein the contact member selectively contacts the connecting member in accordance with rotation of the electric motor.
제7항에 있어서,
상기 연결부재에 연결되는 수용부재를 더 포함하고,
상기 전동모터는 상기 수용부재에 고정되는, 구강 세정기.
8. The method of claim 7,
And a receiving member connected to the connecting member,
Wherein the electric motor is fixed to the housing member.
제2항에 있어서,
상기 하우징 외부에 위치한 팁의 단부는 상기 팁의 길이방향에 대하여 구부러지는 만곡면을 포함하는, 구강 세정기.
3. The method of claim 2,
Wherein an end of the tip located outside the housing comprises a curved surface that is bent relative to the longitudinal direction of the tip.
제2항에 있어서,
상기 개구부 및 팁 사이에 배치되고, 상기 팁의 진동에 따른 충격력을 감쇄시키기 위한 버퍼부를 더 포함하는, 구강 세정기.
3. The method of claim 2,
Further comprising a buffer portion disposed between the opening and the tip, for damping an impact force due to vibration of the tip.
제2항에 있어서,
상기 팁에 연결되고, 사용자의 구강을 세정하기 위한 브러쉬가 구비된 브러쉬부를 더 포함하는, 구강 세정기.
3. The method of claim 2,
Further comprising a brush portion coupled to the tip, the brush portion having a brush for cleaning a user ' s mouth.
제1항에 있어서,
상기 하우징 및 몸체부 사이에 배치되고, 상기 몸체부의 진동에 따른 충격력을 감소시키는 충격흡수부재를 더 포함하는, 구강 세정기.
The method according to claim 1,
Further comprising an impact absorbing member disposed between the housing and the body portion, the impact absorbing member reducing the impact force due to the vibration of the body portion.
KR1020170158667A 2017-11-24 2017-11-24 Oral cleaner Expired - Fee Related KR102057151B1 (en)

Priority Applications (2)

Application Number Priority Date Filing Date Title
KR1020170158667A KR102057151B1 (en) 2017-11-24 2017-11-24 Oral cleaner
PCT/KR2018/014478 WO2019103501A1 (en) 2017-11-24 2018-11-23 Oral cleaner

Applications Claiming Priority (1)

Application Number Priority Date Filing Date Title
KR1020170158667A KR102057151B1 (en) 2017-11-24 2017-11-24 Oral cleaner

Publications (2)

Publication Number Publication Date
KR20190060454A true KR20190060454A (en) 2019-06-03
KR102057151B1 KR102057151B1 (en) 2019-12-18

Family

ID=66631499

Family Applications (1)

Application Number Title Priority Date Filing Date
KR1020170158667A Expired - Fee Related KR102057151B1 (en) 2017-11-24 2017-11-24 Oral cleaner

Country Status (2)

Country Link
KR (1) KR102057151B1 (en)
WO (1) WO2019103501A1 (en)

Families Citing this family (1)

* Cited by examiner, † Cited by third party
Publication number Priority date Publication date Assignee Title
CN115224866A (en) * 2022-08-05 2022-10-21 深圳素士科技股份有限公司 Oral cleaning equipment

Family Cites Families (7)

* Cited by examiner, † Cited by third party
Publication number Priority date Publication date Assignee Title
CA2066469A1 (en) 1991-04-22 1992-10-23 Hiroshi Hukuba Toothbrush
GB0329678D0 (en) * 2003-12-22 2004-01-28 Glaxosmithkline Consumer Healt Toothbrush
JP5547468B2 (en) * 2009-12-25 2014-07-16 パナソニック株式会社 electric toothbrush
KR20110113129A (en) * 2010-04-08 2011-10-14 주식회사 엘지생활건강 Electric toothbrush
KR101639314B1 (en) * 2016-01-13 2016-07-14 이승민 Power toothbrush
KR101822646B1 (en) * 2017-07-28 2018-01-26 주식회사 블루레오 Oral cleaner
KR101822645B1 (en) * 2017-07-28 2018-01-26 주식회사 블루레오 Oral cleaner

Also Published As

Publication number Publication date
WO2019103501A1 (en) 2019-05-31
KR102057151B1 (en) 2019-12-18

Similar Documents

Publication Publication Date Title
KR101822645B1 (en) Oral cleaner
CN106231967B (en) Powered Skin Care Device
JP6362709B2 (en) Power skin care device
US6955539B2 (en) Characterization of motion of dual motor oral hygiene device
EP1509115B1 (en) Apparatus for treating a person's skin
ES2393106T3 (en) Toothbrush
US20050155622A1 (en) Cleaning system and method using ultrasonic vibrations and a fluid stream
EP1429670A2 (en) Method for cleaning skin
WO2012144328A1 (en) Oral hygiene device
KR20130004811U (en) Mouthpiece type automatic toothbrush
US10987203B2 (en) Multiple mode dental device
KR20170005022A (en) Powered skin care device
KR101822646B1 (en) Oral cleaner
KR100886164B1 (en) Vibrating toothbrush
KR20190060454A (en) Oral cleaner
KR200418868Y1 (en) Vibrating toothbrush
KR100604484B1 (en) Non-contact ultrasonic mouthwash using piezoelectric ceramic
KR102129118B1 (en) oral insertable electric toothbrush
KR20190060457A (en) Oral cleaner
JP2005342489A (en) Mouth cleaning tool
KR200326602Y1 (en) A Vibration Tooth Brush For Utrasonic Generator
JP2013215337A (en) Intraoral cleaner
JP2023065235A (en) Toilet bowl cleaning tool
KR102517703B1 (en) sonic vibration conversion module of electric motion toothbrush
JP3202837U (en) Gum washer

Legal Events

Date Code Title Description
A201 Request for examination
PA0109 Patent application

St.27 status event code: A-0-1-A10-A12-nap-PA0109

PA0201 Request for examination

St.27 status event code: A-1-2-D10-D11-exm-PA0201

P11-X000 Amendment of application requested

St.27 status event code: A-2-2-P10-P11-nap-X000

P13-X000 Application amended

St.27 status event code: A-2-2-P10-P13-nap-X000

D13-X000 Search requested

St.27 status event code: A-1-2-D10-D13-srh-X000

D14-X000 Search report completed

St.27 status event code: A-1-2-D10-D14-srh-X000

E902 Notification of reason for refusal
PE0902 Notice of grounds for rejection

St.27 status event code: A-1-2-D10-D21-exm-PE0902

AMND Amendment
E13-X000 Pre-grant limitation requested

St.27 status event code: A-2-3-E10-E13-lim-X000

P11-X000 Amendment of application requested

St.27 status event code: A-2-2-P10-P11-nap-X000

P13-X000 Application amended

St.27 status event code: A-2-2-P10-P13-nap-X000

E601 Decision to refuse application
PE0601 Decision on rejection of patent

St.27 status event code: N-2-6-B10-B15-exm-PE0601

X091 Application refused [patent]
T11-X000 Administrative time limit extension requested

St.27 status event code: U-3-3-T10-T11-oth-X000

T13-X000 Administrative time limit extension granted

St.27 status event code: U-3-3-T10-T13-oth-X000

AMND Amendment
P11-X000 Amendment of application requested

St.27 status event code: A-2-2-P10-P11-nap-X000

P13-X000 Application amended

St.27 status event code: A-2-2-P10-P13-nap-X000

PX0901 Re-examination

St.27 status event code: A-2-3-E10-E12-rex-PX0901

PG1501 Laying open of application

St.27 status event code: A-1-1-Q10-Q12-nap-PG1501

E90F Notification of reason for final refusal
PE0902 Notice of grounds for rejection

St.27 status event code: A-1-2-D10-D21-exm-PE0902

AMND Amendment
P11-X000 Amendment of application requested

St.27 status event code: A-2-2-P10-P11-nap-X000

P13-X000 Application amended

St.27 status event code: A-2-2-P10-P13-nap-X000

PX0701 Decision of registration after re-examination

St.27 status event code: A-3-4-F10-F13-rex-PX0701

X701 Decision to grant (after re-examination)
GRNT Written decision to grant
PR0701 Registration of establishment

St.27 status event code: A-2-4-F10-F11-exm-PR0701

PR1002 Payment of registration fee

St.27 status event code: A-2-2-U10-U11-oth-PR1002

Fee payment year number: 1

PG1601 Publication of registration

St.27 status event code: A-4-4-Q10-Q13-nap-PG1601

PR1001 Payment of annual fee

St.27 status event code: A-4-4-U10-U11-oth-PR1001

Fee payment year number: 4

PR1001 Payment of annual fee

St.27 status event code: A-4-4-U10-U11-oth-PR1001

Fee payment year number: 5

R18-X000 Changes to party contact information recorded

St.27 status event code: A-5-5-R10-R18-oth-X000

PC1903 Unpaid annual fee

St.27 status event code: A-4-4-U10-U13-oth-PC1903

Not in force date: 20241213

Payment event data comment text: Termination Category : DEFAULT_OF_REGISTRATION_FEE

H13 Ip right lapsed

Free format text: ST27 STATUS EVENT CODE: N-4-6-H10-H13-OTH-PC1903 (AS PROVIDED BY THE NATIONAL OFFICE); TERMINATION CATEGORY : DEFAULT_OF_REGISTRATION_FEE

Effective date: 20241213

PC1903 Unpaid annual fee

St.27 status event code: N-4-6-H10-H13-oth-PC1903

Ip right cessation event data comment text: Termination Category : DEFAULT_OF_REGISTRATION_FEE

Not in force date: 20241213