KR20190057520A - 인조잔디용 배수블록 - Google Patents

인조잔디용 배수블록 Download PDF

Info

Publication number
KR20190057520A
KR20190057520A KR1020170154522A KR20170154522A KR20190057520A KR 20190057520 A KR20190057520 A KR 20190057520A KR 1020170154522 A KR1020170154522 A KR 1020170154522A KR 20170154522 A KR20170154522 A KR 20170154522A KR 20190057520 A KR20190057520 A KR 20190057520A
Authority
KR
South Korea
Prior art keywords
circular
artificial turf
upper portion
rods
lifting
Prior art date
Legal status (The legal status is an assumption and is not a legal conclusion. Google has not performed a legal analysis and makes no representation as to the accuracy of the status listed.)
Granted
Application number
KR1020170154522A
Other languages
English (en)
Other versions
KR102121100B1 (ko
KR102121100B9 (ko
Inventor
전명자
Original Assignee
전명자
Priority date (The priority date is an assumption and is not a legal conclusion. Google has not performed a legal analysis and makes no representation as to the accuracy of the date listed.)
Filing date
Publication date
Application filed by 전명자 filed Critical 전명자
Priority to KR1020170154522A priority Critical patent/KR102121100B1/ko
Publication of KR20190057520A publication Critical patent/KR20190057520A/ko
Application granted granted Critical
Publication of KR102121100B1 publication Critical patent/KR102121100B1/ko
Publication of KR102121100B9 publication Critical patent/KR102121100B9/ko
Expired - Fee Related legal-status Critical Current
Anticipated expiration legal-status Critical

Links

Images

Classifications

    • EFIXED CONSTRUCTIONS
    • E01CONSTRUCTION OF ROADS, RAILWAYS, OR BRIDGES
    • E01CCONSTRUCTION OF, OR SURFACES FOR, ROADS, SPORTS GROUNDS, OR THE LIKE; MACHINES OR AUXILIARY TOOLS FOR CONSTRUCTION OR REPAIR
    • E01C13/00Pavings or foundations specially adapted for playgrounds or sports grounds; Drainage, irrigation or heating of sports grounds
    • E01C13/08Surfaces simulating grass ; Grass-grown sports grounds
    • E01C13/083Construction of grass-grown sports grounds; Drainage, irrigation or heating arrangements therefor
    • EFIXED CONSTRUCTIONS
    • E01CONSTRUCTION OF ROADS, RAILWAYS, OR BRIDGES
    • E01CCONSTRUCTION OF, OR SURFACES FOR, ROADS, SPORTS GROUNDS, OR THE LIKE; MACHINES OR AUXILIARY TOOLS FOR CONSTRUCTION OR REPAIR
    • E01C2201/00Paving elements
    • E01C2201/12Paving elements vertically interlocking
    • EFIXED CONSTRUCTIONS
    • E01CONSTRUCTION OF ROADS, RAILWAYS, OR BRIDGES
    • E01CCONSTRUCTION OF, OR SURFACES FOR, ROADS, SPORTS GROUNDS, OR THE LIKE; MACHINES OR AUXILIARY TOOLS FOR CONSTRUCTION OR REPAIR
    • E01C2201/00Paving elements
    • E01C2201/20Drainage details

Landscapes

  • Engineering & Computer Science (AREA)
  • Architecture (AREA)
  • Civil Engineering (AREA)
  • Structural Engineering (AREA)
  • Road Paving Structures (AREA)

Abstract

본 발명은 받침부재들을 탄성력을 통해 승강이 가능하게 하여 인조잔디의 완충 효과를 증대시킬 수 있고, 상부에서 인가되는 하중으로 인하여 받침부재가 쉽게 손상되는 것을 방지할 수 있도록 하는 인조잔디용 배수블록에 관한 것으로, 상면에는 좌우 간격과 전후 간격으로 두고 다수의 원형봉이 수직으로 돌출되게 형성되는 직사각형 형상의 하부판과; 각각의 상기 원형봉의 상부에 구비되어 수직 방향으로 신축되는 수직 탄성부재와; 상기 원형봉들 중 타 배수블록에 연결되는 원형봉들을 제외하고 나머지 각각의 원형봉에 삽입되고, 상기 원형봉에 상부에서 하부로 승강이 가능하게 삽입되는 원통관을 포함하며, 원통관의 상부에는 상기 수직 탄성부재의 상부에 밀착되는 상판이 형성되는 다수의 받침부재;를 포함하는 것을 특징으로 한다.

Description

인조잔디용 배수블록{Drainage blocks for artificial turf}
본 발명은 인조잔디용 배수블록에 관한 것으로, 보다 상세하게는 받침부재들을 탄성력을 통해 승강이 가능하게 하여 인조잔디의 완충 효과를 증대시킬 수 있고, 상부에서 인가되는 하중으로 인하여 받침부재가 쉽게 손상되는 것을 방지할 수 있도록 하는 인조잔디용 배수블록에 관한 것이다.
일반적으로 인조잔디는 축구장이나 야구장과 같은 운동경기장에 시공되기도 하고 또는 공원에 소형 면적으로 시공되기도 한다. 운동장, 골프 연습장, 어린이 놀이터, 산책로 등의 바닥재로써도 인조잔디 매트가 많이 사용되고 있는데, 인조잔디는 자연잔디 보다 견고하여 유지관리비가 적게 소요되며, 외관을 장기간 미려하게 유지시킬 수 있다는 장점이 있다.
이와 같은 인조잔디는 전술된 것과 같이 운동경기장, 운동장 등의 외부에 시공될 때 우천시에 빗물을 외부로 배수시키기 위한 배수블록 상부에 시공되는데, 이와 같은 배수블록은 특정면적의 단위체로 구성되어 각각의 단위체를 결합시킴에 의해 목적하는 장소의 면적에 맞추어 시공할 수 있도록 하고 있으며, 그 상부에는 빗물을 외측으로 배수시키기 위한 슬릿이 다수 배열되어 형성된다.
이에, 본 발명은 종래의 인조잔디용 배수블록을 개량한 것으로, 먼저, 종래의 인조잔디용 배수블록의 일예로 대한민국 실용신안등록 제0461057호의 "인조잔디용 배수블록"(이하, "종래의 인조잔디용 배수블록"이라 한다.)을 살펴보면 다음과 같다.
종래의 인조잔디용 배수블록은 인조잔디와 지반 사이에 개재되어 인조잔디에 탄성을 부여하고 배수성을 증가시키는 인조잔디용 배수블럭에 있어서, 상기 배수블럭은 다수의 돌기가 형성된 사각의 몸체부로 형성되되, 상기 몸체부 측면에 결합돌기가 형성되고 상기 결합돌기가 삽입 내장되도록 형성된 결합홈이 형성되는 제1결합부와 상기 몸체 측면에 안착편이 형성되고 상기 안착편에 안착되는 안착턱이 형성되는 제2결합부를 포함하며, 상기 결합돌기와 안착편은 몸체부의 일측면에 형성되고, 상기 결합홈과 안착턱은 몸체부의 타측면에 형성되고, 상기 몸체부 저면에 저면돌기가 형성되어 구성된다.
그런데, 상기와 같이 구성된 종래의 인조잔디용 배수블록은 인조잔디를 밟을 경우에 배수홈이 형성되도록 다수의 돌기가 형성되는데, 이와 같은 돌기의 모서리부는 상부에서 인가되는 하중에 대단히 취약하여 쉽게 파손됨으로써, 인조잔디의 수명이 매우 짧게 단축되는 문제점을 가지고 있었다.
대한민국 실용신안등록 제0461057호의 "인조잔디용 배수블록"(2012.06.13. 등록)
이에 본 발명은 상기와 같은 종래의 제반 문제점을 해소하기 위한 안출된 것으로,
본 발명의 목적은, 받침부재들을 탄성력을 통해 승강이 가능하게 함으로써, 인조잔디의 완충 효과를 증대시킴은 물론, 상부에서 받침부재의 상부 모서리부로 인가되는 하중을 완충시켜 받침부재의 상부 모서리부의 손상을 최소로 줄일 수 있도록 하는 인조잔디용 배수블록을 제공함에 있다.
또한, 본 발명의 다른 목적은, 배수블록들의 연결을 견고하게 함과 동시에 간단하면서 신속하게 할 수 있도록 하는 인조잔디용 배수블록을 제공함에 있다.
상기와 같은 목적을 달성하기 위한 본 발명에 따른 "인조잔디용 배수블록"은 상면에는 좌우 간격과 전후 간격으로 두고 다수의 원형봉이 수직으로 돌출되게 형성되는 직사각형 형상의 하부판과; 각각의 상기 원형봉의 상부에 구비되어 수직 방향으로 신축되는 수직 탄성부재와; 상기 원형봉들 중 타 배수블록에 연결되는 원형봉들을 제외하고 나머지 각각의 원형봉에 삽입되고, 상기 원형봉에 상부에서 하부로 승강이 가능하게 삽입되는 원통관을 포함하며, 원통관의 상부에는 상기 수직 탄성부재의 상부에 밀착되는 상판이 형성되는 다수의 받침부재;를 포함하는 것을 특징으로 한다.
또한, 본 발명에 따른 "인조잔디용 배수블록"의 상기 배수블록은 사방으로 연결이 가능하고, 서로 연결되는 두 개의 배수블록의 연결 부분에는 두 개씩 쌍을 이루는 다수 쌍의 상기 원형봉들이 밀착되며, 서로 밀착되어 연결되는 각 쌍을 이루는 두 개의 원형봉에는 연결 받침부재가 상부에서 하부로 승강 가능하게 삽입되어 배수블록들을 서로 연결하는 것을 특징으로 한다.
또한, 본 발명에 따른 "인조잔디용 배수블록"의 상기 연결 받침부재는 양측 단부가 반원통관으로 형성되어 서로 연결되는 두 개의 원형봉에 상부에서 하부로 삽입되는 전후방 폭보다 양측 폭이 긴 연결 수직관과, 상기 연결 수직관의 상부에 수평으로 형성되어 서로 연결되는 두 개의 원형봉의 상부에 형성된 수직 탄성부재의 상부에 밀착되는 상판,을 포함하는 것을 특징으로 한다.
상술한 바와 같이 구성된 본 발명은, 받침부재들을 탄성력을 통해 승강이 가능하게 함으로써, 인조잔디의 완충 효과를 증대시켜 안전사고를 좀 더 예방할 수 있는 효과가 있고, 상부에서 받침부재의 상부 모서리부로 인가되는 하중을 완충시켜 받침부재의 상부 모서리부의 손상을 최소로 줄여 인조잔디의 수명을 최대로 연장시킬 수 있는 효과도 있다.
또한, 본 발명은 배수블록들의 연결을 견고하게 하여 내구성이 향상된 인조잔디용 배수블록을 제공하는 효과도 있고, 배수블록들을 간단하면서 신속하게 연결할 수 있는 시공성이 우수한 인조잔디용 배수블록을 제공하는 효과도 있다.
도 1은 본 발명에 따른 인조잔디용 배수블록을 나타낸 사시도.
도 2는 본 발명에 따른 인조잔디용 배수블록들의 연결 상태를 나타낸 요부 확대도.
도 3은 도 1의 A-A선 단면도.
도 4는 본 발명을 구성하는 받침부재의 승강 상태를 나타낸 개략 단면도로서,
도 4a는 받침부재의 복귀 위치를 나타내고,
도 4b는 받침부재가 하부로 눌러진 상태를 나타낸다.
도 5는 본 발명을 구성하는 받침부재들의 연결 상태를 나타낸 개략 사시도이다.
도 6은 본 발명을 구성하는 연결 받침부재들의 연결 상태를 나타낸 개략 사시도이다.
이하 본 발명의 바람직한 실시예가 도시된 첨부 도면을 참조하여 보다 상세하게 설명하면 다음과 같다. 그러나 본 발명은 다수의 상이한 형태로 구현될 수 있고, 기술된 실시예에 제한되지 않음을 이해하여야 한다.
도 1은 본 발명에 따른 인조잔디용 배수블록을 나타낸 사시도이고, 도 2는 본 발명에 따른 인조잔디용 배수블록들의 연결 상태를 나타낸 요부 확대도이며, 도 3은 도 1의 A-A선 단면도이다. 그리고 도 4는 본 발명을 구성하는 받침부재의 승강 상태를 나타낸 개략 단면도로서, 도 4a는 받침부재의 복귀 위치를 나타내고, 도 4b는 받침부재가 하부로 눌러진 상태를 나타낸다.
도면에 도시된 바와 같이, 본 발명에 따른 인조잔디용 배수블록은 지면이나 바닥에 깔리고 상면에는 다수의 원형봉(11)이 돌출 형성된 하부판(1)과, 각각의 상기 원형봉(11)의 상부에 형성된 수직 탄성부재(2)와, 각각의 상기 원형봉(11)에 삽입되는 다수의 받침부재(3)를 포함한다.
상기 하부판(1)은 직사각형으로 형성되는 것으로, 상면에는 좌우 간격과 전후 간격으로 두고 다수의 원형봉(11)이 수직으로 돌출되게 형성되는 것이다. 그리고 상기 원형봉(11)의 상면은 상기 수직 탄성부재(2)를 구비할 수 있도록 수평면으로 형성되는 것이 바람직하다.
상기 수직 탄성부재(2)는 각각의 상기 원형봉(11)의 상부에 구비되어 수직 방향으로 신축됨으로써 배수블록의 상부에 구비되는 인조잔디의 완충 역할을 하는 것이다. 그리고 상기 수직 탄성부재(2)는 원형봉(11)의 성형시 간단하게 함께 성형할 수 있도록, 중앙이 상부로 돌출되게 반원호형의 형상으로 구성되고 양단이 상기 수평면에 연결되는 반원호형 판스프링(21)으로 구성되는 것이 바람직하다.
즉 상기 반원호형 판스프링(21)은 받침부재(3)가 눌려질 경우에 상부가 하부로 하강되어 활처럼이 휘어졌다가, 상기 받침부재(3)의 누름이 해제되면 상부가 상부로 상승되어 복원되는 것으로 인조잔디의 완충 역할을 하게 된다.
또한, 상기 받침부재(3)는 도 2 내지 도 4에 도시된 바와 같이, 상기 원형봉(11)들 중 타 배수블록에 연결되는 원형봉(11)들을 제외하고 나머지 각각의 원형봉(11)에 삽입되는 것으로, 받침부재(3)들의 상부에는 인조잔디가 시공되거나 형성된다. 이러한 받침부재(3)들은 받침부재(3)들의 사이로 물이 배수되는 배수로를 형성하는 역할을 한다.
그리고 상기 받침부재(3)는 원형봉(1)에 견고하게 조립될 수 있도록, 상기 원형봉(11)에 상부에서 하부로 승강이 가능하게 삽입되는 원통관(31)과, 원통관(31)의 상부에 수평으로 형성되어 상기 수직 탄성부재(2)의 상부에 밀착되는 상판(32)으로 구성되는 것이 바람직하다. 그리고 상기 상판(32)의 상면에는 인조잔디의 배수를 원활하게 할 수 있도록 다수의 배수홈(G)이 더 형성되는 것이 바람직하다.
특히 상기 받침부재(3)가 원형봉(11)에서 이탈되는 것으로 방지할 수 있도록, 상기 원형봉(11)의 둘레에는 승강 걸림홈(111)이 더 형성되고, 상기 받침부재(3)의 원통관(31) 하단에는 상기 승강 걸림홈(111)에 승강 가능하게 삽입되어 걸리는 다수의 승강 걸림턱(33)이 더 형성되는 것이 바람직하다.
그리고 상기 원통관(31)의 둘레 하부의 각각의 상기 걸림턱(33)의 양측에는 걸림턱(33)을 상기 원형봉(11)에 용이하게 삽입시킬 수 있도록, 하부가 개방된 다수의 수직 장홀(H)이 더 형성되는 것이 바람직하다.
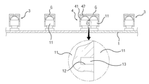
또한, 본 발명에 따른 배수블록은 도 2 및 도 3에 도시된 바와 같이, 사방으로 연결이 가능하다. 따라서 서로 연결되는 두 개의 배수블록의 연결 부분에는 두 개씩 쌍을 이루는 다수 쌍의 상기 원형봉(11)들이 밀착된다. 그리고 서로 밀착되어 연결되는 각 쌍을 이루는 두 개의 원형봉(11)에는 연결 받침부재(4)가 상부에서 하부로 승강 가능하게 삽입되어 배수블록들을 서로 연결하는 것이다.
상기 연결 받침부재(4)는 각 쌍을 이루는 두 개의 원형봉(11)을 상부에서 하부로 삽입하는 과정만을 통해 신속하면서 용이하게 연결시킬 수 있도록, 양측 단부가 반원통관(31)으로 형성되어 서로 연결되는 두 개의 원형봉(11)에 상부에서 하부로 삽입되는 전후방 폭보다 양측 폭이 긴 연결 수직관(41)과, 상기 연결 수직관(41)의 상부에 수평으로 형성되어 서로 연결되는 두 개의 원형봉(11)의 상부에 형성된 수직 탄성부재(2)의 상부에 밀착되는 상판(42)으로 구성되는 것이 바람직하다. 그리고 상기 상판(42)의 상면에는 인조잔디의 배수를 원활하게 할 수 있도록 다수의 배수홈(G)이 더 형성되는 것이 바람직하다.
특히 상기 연결 받침부재(4)가 쌍을 이루는 두 개의 원형봉(11)에서 이탈되는 것을 방지할 수 있도록, 상기 원형봉(11)의 둘레에는 승강 걸림홈(111)이 더 형성되고, 상기 연결 수직관(41)의 양측 반원통관의 하단에는 상기 승강 걸림홈()에 승강 가능하게 삽입되어 걸리는 다수의 승강 걸림턱(43)이 더 형성되는 것이 바람직하다.
그리고 상기 원통관(31)의 둘레 하부의 각각의 상기 걸림턱(43)의 양측에는 걸림턱(43)을 상기 원형봉(11)에 용이하게 삽입시킬 수 있도록 하부가 개방된 다수의 수직 장홀(H)이 더 형성되는 것이 바람직하다.
한편 서로 연결되는 각 쌍을 이루는 두 개의 원형봉(11)이 연결된 상태에서 서로가 상하 방향으로 뒤틀리게 유동되는 것을 방지할 수 있도록, 서로 밀착되어 연결되는 각 쌍을 이루는 두 개의 원형봉(11) 중 하나의 원형봉(11)의 둘레에는 연결 삽입홈(12)이 수평 방향으로 더 형성되고, 다른 하나의 원형봉(11)에서는 상기 연결 삽입홈(12)에 삽입되는 연결 삽입봉(13)이 수평 방향으로 더 형성될 수도 있다.
이하, 상기와 같이 구성된 본 발명에 따른 배수블록의 시공 과정과 사용 상태를 설명하면 다음과 같다.
도 1 내지 도 4에 도시된 바와 같이, 본 발명에 따른 배수블록을 시공할 경우에는, 먼저, 상기 하부판(1)에 형성된 원형봉(11)들에 받침부재(3)들을 탄성 승강이 가능하게 삽입한다.
다음 인조잔디를 시공할 지면이나 바닥에 받침부재(3)들이 삽입된 다수의 배수블록들을 좌우 방향과 전후 방향으로 깔면서, 서로 연결될 각각의 쌍을 이루는 두 개의 원형봉(11)에 연결 받침부재(4)를 탄성 승강이 가능하게 삽입함으로써 다수의 배수블록들을 지면이나 바닥에 연결되게 시공한다.
그런 다음, 서로 연결되어 시공된 배수블록들의 상부로 돌출된 받침부재(3)들과 연결 받침부재(4)(3)들의 상면에 인조잔디를 시공함으로써 인조잔디의 시공을 완료하는 것이다.
따라서 본 발명은 받침부재(3)들과 연결 받침부재(4)들을 탄성력을 통해 승강이 가능하게 함으로써, 인조잔디의 완충 효과를 증대시켜 어린이들의 안전사고를 좀 더 예방할 수 있는 유용한 발명이다. 또한 본 발명은 받침부재(3)들과 연결 받침부재(4)들을 탄성력에 의해 승강이 가능하게 함으로써, 상부에서 받침부재(3)나 연결 받침부재(4)의 상부 모서리부로 인가되는 하중을 완충시켜 받침부재(3)나 연결 받침부재(4)의 상부 모서리부의 손상을 최소로 줄여 인조잔디의 수명을 최대로 연장시킬 수 있는 유용한 발명이다.
그리고 본 발명은 연결 받침부재(4)들의 삽입만을 통해 배수블록들의 연결을 견고하게 하여 내구성이 향상된 인조잔디용 배수블록을 제공할 수 있고, 연결 받침부재(4)들의 삽입만을 통해 배수블록들을 간단하면서 신속하게 연결할 수 있는 시공성이 우수한 인조잔디용 배수블록을 제공할 수 있는 유용한 발명이다.
도 5는 본 발명을 구성하는 받침부재들의 연결 상태를 나타낸 개략 사시도이고, 도 6은 본 발명을 구성하는 연결 받침부재들의 연결 상태를 나타낸 개략 사시도이다.
도 5 및 도 6에 도시된 바와 같이, 상기 받침부재(3)들은 제조를 용이하게 하면서 받침부재(3)들을 다수의 원형봉(11)에 동시에 삽입 시킬 수 있도록, 상하 방향으로 절곡이 가능한 다수의 수평 연결대(C)를 통해 일체로 연결될 수도 있는 것이다.
또한 상기 연결 받침부재(4)들도 제조를 용이하게 하면서 연결 받침부재(4)들을 다수의 원형봉(11)에 동시에 삽입 시킬 수 있도록, 상하 방향으로 절곡이 가능한 다수의 수평 연결대(C)를 통해 일체로 연결될 수도 있는 것이다.
따라서 본 발명은 상기 받침부재(3)들을 다수의 수평 연결대(C)를 통해 일체로 연결하고, 상기 연결 받침부재(4)들을 다수의 수평 연결대(C)를 통해 일체로 연결함으로써, 받침부재(3)들이나 연결 받침부재(4)들을 다수의 원형봉(11)에 신속하게 삽입시킬 수 있음에 따라 시공성이 좀 더 우수한 인조잔디용 배수블록을 제공하는 유용한 발명이다.
이상에서 본 발명의 바람직한 실시예를 설명하였으나, 본 발명은 다양한 변화와 변경 및 균등물을 사용할 수 있다. 본 발명은 상기 실시예를 적절히 변형하여 동일하게 응용할 수 있음이 명확하다. 따라서 상기 기재 내용은 하기 특허청구범위의 한계에 의해 정해지는 발명의 범위를 한정하는 것이 아니다.
한편, 본 발명의 상세한 설명에서는 구체적인 실시 예에 관해서 설명하였으나, 본 발명의 범위에서 벗어나지 않는 한도 내에서 여러 가지 변형이 가능함을 당해 분야에서 통상의 지식을 가진 자에게 있어서 자명하다 할 것이다.
1 : 하부판
11 : 원형봉, 111 : 승강 걸림홈,
12 : 연결 삽입홈, 13 : 연결 삽입봉
2 : 수직 탄성부재
21 : 반원호형 판스프링
3 : 받침부재
31 : 원통관, 32 : 상판
33 : 승강 걸림턱
4 : 연결 받침부재
41 : 연결 수직관, 42 : 상판
43 : 승강 걸림턱
C : 수평 연결대

Claims (9)

  1. 상면에는 좌우 간격과 전후 간격으로 두고 다수의 원형봉(11)이 수직으로 돌출되게 형성되는 직사각형 형상의 하부판(1)과;
    각각의 상기 원형봉(11)의 상부에 구비되어 수직 방향으로 신축되는 수직 탄성부재(2)와;
    상기 원형봉(11)들 중 타 배수블록에 연결되는 원형봉(11)들을 제외하고 나머지 각각의 원형봉(11)에 삽입되고, 상기 원형봉(11)에 상부에서 하부로 승강이 가능하게 삽입되는 원통관(31)을 포함하며, 원통관(31)의 상부에는 상기 수직 탄성부재(2)의 상부에 밀착되는 상판(32)이 형성되는 다수의 받침부재(3);
    를 포함하는 것을 특징으로 하는 인조잔디용 배수블록.
  2. 제1항에 있어서,
    상기 원형봉(11)의 둘레에는 승강 걸림홈(111)이 더 형성되고,
    상기 받침부재(3)의 원통관(31) 하단에는 상기 승강 걸림홈(111)에 승강 가능하게 삽입되어 걸리는 다수의 승강 걸림턱(33)이 더 형성되는 것을 특징으로 하는 인조잔디용 배수블록.
  3. 제1항에 있어서,
    상기 배수블록은 사방으로 연결이 가능하고,
    서로 연결되는 두 개의 배수블록의 연결 부분에는 두 개씩 쌍을 이루는 다수 쌍의 상기 원형봉(11)들이 밀착되며,
    서로 밀착되어 연결되는 각 쌍을 이루는 두 개의 원형봉(11)에는 연결 받침부재(4)가 상부에서 하부로 승강 가능하게 삽입되어 배수블록들을 서로 연결하는 것을 특징으로 하는 인조잔디용 배수블록.
  4. 제3항에 있어서,
    상기 연결 받침부재(4)는
    양측 단부가 반원통관(31)으로 형성되어 서로 연결되는 두 개의 원형봉(11)에 상부에서 하부로 삽입되는 전후방 폭보다 양측 폭이 긴 연결 수직관(41)과,
    상기 연결 수직관(41)의 상부에 수평으로 형성되어 서로 연결되는 두 개의 원형봉(11)의 상부에 형성된 수직 탄성부재(2)의 상부에 밀착되는 상판(42),
    을 포함하는 것을 특징으로 하는 인조잔디용 배수블록.
  5. 제4항에 있어서,
    상기 원형봉(11)의 둘레에는 승강 걸림홈(111)이 더 형성되고,
    상기 연결 수직관(41)의 양측 반원통관(31)의 하단에는 상기 승강 걸림홈(111)에 승강 가능하게 삽입되어 걸리는 다수의 승강 걸림턱(43)이 더 형성되는 것을 특징으로 하는 인조잔디용 배수블록.
  6. 제3항에 있어서,
    서로 밀착되어 연결되는 각 쌍을 이루는 두 개의 원형봉(11) 중 하나의 원형봉(11)의 둘레에는 연결 삽입홈(12)이 더 형성되고, 다른 하나의 원형봉(11)에는 상기 연결 삽입홈(12)에 삽입되는 연결 삽입봉(13)이 더 형성되는 것을 특징으로 하는 인조잔디용 배수블록.
  7. 제1항 내지 제6항 중 어느 한 항에 있어서,
    상기 원형봉(11)의 상부는 수평면으로 형성되고,
    상기 수직 탄성부재(2)는 중앙이 상부로 돌출되게 반원호형의 형상으로 구성되고 양단이 상기 수평면에 연결되는 반원호형 판스프링(21)으로 구성되는 것을 특징으로 하는 인조잔디용 배수블록.
  8. 제1항 내지 제6항 중 어느 한 항에 있어서,
    상기 받침부재(3)들은 상하 방향으로 절곡이 가능한 다수의 수평 연결대(C)를 통해 일체로 연결되는 것을 특징으로 하는 인조잔디용 배수블록.
  9. 제1항 내지 제6항 중 어느 한 항에 있어서,
    상기 연결 받침부재(4)들은 상하 방향으로 절곡이 가능한 다수의 수평 연결대(C)를 통해 일체로 연결되는 것을 특징으로 하는 인조잔디용 배수블록.
KR1020170154522A 2017-11-20 2017-11-20 인조잔디용 배수블록 Expired - Fee Related KR102121100B1 (ko)

Priority Applications (1)

Application Number Priority Date Filing Date Title
KR1020170154522A KR102121100B1 (ko) 2017-11-20 2017-11-20 인조잔디용 배수블록

Applications Claiming Priority (1)

Application Number Priority Date Filing Date Title
KR1020170154522A KR102121100B1 (ko) 2017-11-20 2017-11-20 인조잔디용 배수블록

Publications (3)

Publication Number Publication Date
KR20190057520A true KR20190057520A (ko) 2019-05-29
KR102121100B1 KR102121100B1 (ko) 2020-06-09
KR102121100B9 KR102121100B9 (ko) 2022-07-18

Family

ID=66672969

Family Applications (1)

Application Number Title Priority Date Filing Date
KR1020170154522A Expired - Fee Related KR102121100B1 (ko) 2017-11-20 2017-11-20 인조잔디용 배수블록

Country Status (1)

Country Link
KR (1) KR102121100B1 (ko)

Families Citing this family (1)

* Cited by examiner, † Cited by third party
Publication number Priority date Publication date Assignee Title
KR20250077684A (ko) 2023-11-24 2025-06-02 주식회사 히기아 대마부산물과 폐플라스틱을 활용한 수평 배수 파렛트

Citations (6)

* Cited by examiner, † Cited by third party
Publication number Priority date Publication date Assignee Title
KR200160430Y1 (ko) * 1997-09-10 1999-11-01 문동해 보도 블록
KR20000029708A (ko) * 1996-07-31 2000-05-25 요시다 미노루 지지부를갖는마루패널및그시공방법
KR100461057B1 (ko) 2002-08-13 2004-12-13 현대자동차주식회사 자동차용 펜더패널과 범퍼커버의 결합구조
KR100578039B1 (ko) * 2003-09-17 2006-05-12 (주)앙투카 운동장용 기층재
KR20090035125A (ko) * 2007-10-05 2009-04-09 김학원 건물의 바닥의 형성을 위한 모듈화된 바닥완충재 및 이를이용한 건물의 바닥시공방법
KR101433842B1 (ko) * 2014-02-07 2014-08-26 장안하이텍주식회사 공용 주택의 층간 소음방지 패널 및 그 패널을 이용한 소음 방지 시공방법

Patent Citations (6)

* Cited by examiner, † Cited by third party
Publication number Priority date Publication date Assignee Title
KR20000029708A (ko) * 1996-07-31 2000-05-25 요시다 미노루 지지부를갖는마루패널및그시공방법
KR200160430Y1 (ko) * 1997-09-10 1999-11-01 문동해 보도 블록
KR100461057B1 (ko) 2002-08-13 2004-12-13 현대자동차주식회사 자동차용 펜더패널과 범퍼커버의 결합구조
KR100578039B1 (ko) * 2003-09-17 2006-05-12 (주)앙투카 운동장용 기층재
KR20090035125A (ko) * 2007-10-05 2009-04-09 김학원 건물의 바닥의 형성을 위한 모듈화된 바닥완충재 및 이를이용한 건물의 바닥시공방법
KR101433842B1 (ko) * 2014-02-07 2014-08-26 장안하이텍주식회사 공용 주택의 층간 소음방지 패널 및 그 패널을 이용한 소음 방지 시공방법

Also Published As

Publication number Publication date
KR102121100B1 (ko) 2020-06-09
KR102121100B9 (ko) 2022-07-18

Similar Documents

Publication Publication Date Title
US7458192B2 (en) Chair for supporting wire mesh
EP0507415B1 (en) Mat
RU2416702C2 (ru) Система для укладки плитки, комплект плиток и соединительный элемент для использования в этой системе, способ укладки плитки и способ ремонта пола, выложенного плиткой
RU2549645C2 (ru) Синтетическая напольная плитка, имеющая частично податливую опорную конструкцию
DK155616B (da) Rist- eller maatteelement til dannelse af en gulvbeklaedning ved sammenkobling med lignende elementer
HK1007271B (en) Mat
US20170367513A1 (en) Floor mat
US20140173978A1 (en) Grass protection mat
US20090058155A1 (en) Ganging device for chair
KR200467911Y1 (ko) 조립식 매트
KR20190057520A (ko) 인조잔디용 배수블록
KR101969973B1 (ko) 조립식 스포츠 코트 블럭
CA3113196A1 (en) Support system for raised floors
CN107023142B (zh) 改进的合成地板装置
KR102152380B1 (ko) 인조잔디식재 및 조립이 용이한 잔디보호매트
KR102812463B1 (ko) 적재가 용이한 잔디보호매트
US20170292273A1 (en) Combination of elements to construct a threshold ramp construction, ramp construction, and method to construct a threshold ramp construction
JP3050701U (ja) 連結敷設用床材
CN215978252U (zh) 一种六边形塑料拼装塑格
KR101961746B1 (ko) 바닥재 설치모듈
KR102184445B1 (ko) 축조가 용이한 조립식 체인블록
KR101614447B1 (ko) 비닐하우스 프레임 구조물
KR101153890B1 (ko) 비닐하우스용 비닐 고정패드
KR101998596B1 (ko) 조립식 스포츠 코트 블럭
KR20140120988A (ko) 전복 양식 그물 고정용 하부틀

Legal Events

Date Code Title Description
A201 Request for examination
PA0109 Patent application

St.27 status event code: A-0-1-A10-A12-nap-PA0109

PA0201 Request for examination

St.27 status event code: A-1-2-D10-D11-exm-PA0201

D13-X000 Search requested

St.27 status event code: A-1-2-D10-D13-srh-X000

PG1501 Laying open of application

St.27 status event code: A-1-1-Q10-Q12-nap-PG1501

D14-X000 Search report completed

St.27 status event code: A-1-2-D10-D14-srh-X000

E902 Notification of reason for refusal
PE0902 Notice of grounds for rejection

St.27 status event code: A-1-2-D10-D21-exm-PE0902

E13-X000 Pre-grant limitation requested

St.27 status event code: A-2-3-E10-E13-lim-X000

P11-X000 Amendment of application requested

St.27 status event code: A-2-2-P10-P11-nap-X000

P13-X000 Application amended

St.27 status event code: A-2-2-P10-P13-nap-X000

E90F Notification of reason for final refusal
PE0902 Notice of grounds for rejection

St.27 status event code: A-1-2-D10-D21-exm-PE0902

P11-X000 Amendment of application requested

St.27 status event code: A-2-2-P10-P11-nap-X000

P13-X000 Application amended

St.27 status event code: A-2-2-P10-P13-nap-X000

E701 Decision to grant or registration of patent right
PE0701 Decision of registration

St.27 status event code: A-1-2-D10-D22-exm-PE0701

GRNT Written decision to grant
PR0701 Registration of establishment

St.27 status event code: A-2-4-F10-F11-exm-PR0701

PR1002 Payment of registration fee

Fee payment year number: 1

St.27 status event code: A-2-2-U10-U11-oth-PR1002

PG1601 Publication of registration

St.27 status event code: A-4-4-Q10-Q13-nap-PG1601

P14-X000 Amendment of ip right document requested

St.27 status event code: A-5-5-P10-P14-nap-X000

P16-X000 Ip right document amended

St.27 status event code: A-5-5-P10-P16-nap-X000

Q16-X000 A copy of ip right certificate issued

St.27 status event code: A-4-4-Q10-Q16-nap-X000

P14-X000 Amendment of ip right document requested

St.27 status event code: A-5-5-P10-P14-nap-X000

R15-X000 Change to inventor requested

St.27 status event code: A-5-5-R10-R15-oth-X000

P16-X000 Ip right document amended

St.27 status event code: A-5-5-P10-P16-nap-X000

PN2301 Change of applicant

St.27 status event code: A-5-5-R10-R11-asn-PN2301

Q16-X000 A copy of ip right certificate issued

St.27 status event code: A-4-4-Q10-Q16-nap-X000

R16-X000 Change to inventor recorded

St.27 status event code: A-5-5-R10-R16-oth-X000

PN2301 Change of applicant

St.27 status event code: A-5-5-R10-R14-asn-PN2301

P14-X000 Amendment of ip right document requested

St.27 status event code: A-5-5-P10-P14-nap-X000

P16-X000 Ip right document amended

St.27 status event code: A-5-5-P10-P16-nap-X000

Q16-X000 A copy of ip right certificate issued

St.27 status event code: A-4-4-Q10-Q16-nap-X000

G170 Re-publication after modification of scope of protection [patent]
PG1701 Publication of correction

Patent document republication publication date: 20220718

Republication note text: Request for Correction Notice (Document Request)

Gazette number: 1021211000000

Gazette reference publication date: 20200609

St.27 status event code: A-5-5-P10-P19-oth-PG1701

PC1903 Unpaid annual fee

Not in force date: 20230604

Payment event data comment text: Termination Category : DEFAULT_OF_REGISTRATION_FEE

St.27 status event code: A-4-4-U10-U13-oth-PC1903

K11-X000 Ip right revival requested

St.27 status event code: A-6-4-K10-K11-oth-X000

PC1903 Unpaid annual fee

Ip right cessation event data comment text: Termination Category : DEFAULT_OF_REGISTRATION_FEE

Not in force date: 20230604

St.27 status event code: N-4-6-H10-H13-oth-PC1903

PR0401 Registration of restoration

St.27 status event code: A-6-4-K10-K13-oth-PR0401

R401 Registration of restoration
PR1001 Payment of annual fee

Fee payment year number: 4

St.27 status event code: A-4-4-U10-U11-oth-PR1001

PC1903 Unpaid annual fee

Not in force date: 20240604

Payment event data comment text: Termination Category : DEFAULT_OF_REGISTRATION_FEE

St.27 status event code: A-4-4-U10-U13-oth-PC1903

PC1903 Unpaid annual fee

Ip right cessation event data comment text: Termination Category : DEFAULT_OF_REGISTRATION_FEE

Not in force date: 20240604

St.27 status event code: N-4-6-H10-H13-oth-PC1903