KR20190033775A - 압연기의 롤 교체장치 - Google Patents

압연기의 롤 교체장치 Download PDF

Info

Publication number
KR20190033775A
KR20190033775A KR1020170122358A KR20170122358A KR20190033775A KR 20190033775 A KR20190033775 A KR 20190033775A KR 1020170122358 A KR1020170122358 A KR 1020170122358A KR 20170122358 A KR20170122358 A KR 20170122358A KR 20190033775 A KR20190033775 A KR 20190033775A
Authority
KR
South Korea
Prior art keywords
roll
rolls
rolling mill
frame
center
Prior art date
Legal status (The legal status is an assumption and is not a legal conclusion. Google has not performed a legal analysis and makes no representation as to the accuracy of the status listed.)
Granted
Application number
KR1020170122358A
Other languages
English (en)
Other versions
KR101987660B1 (ko
Inventor
임승호
이성진
김진호
Original Assignee
주식회사 포스코
Priority date (The priority date is an assumption and is not a legal conclusion. Google has not performed a legal analysis and makes no representation as to the accuracy of the date listed.)
Filing date
Publication date
Application filed by 주식회사 포스코 filed Critical 주식회사 포스코
Priority to KR1020170122358A priority Critical patent/KR101987660B1/ko
Publication of KR20190033775A publication Critical patent/KR20190033775A/ko
Application granted granted Critical
Publication of KR101987660B1 publication Critical patent/KR101987660B1/ko
Active legal-status Critical Current
Anticipated expiration legal-status Critical

Links

Images

Classifications

    • BPERFORMING OPERATIONS; TRANSPORTING
    • B21MECHANICAL METAL-WORKING WITHOUT ESSENTIALLY REMOVING MATERIAL; PUNCHING METAL
    • B21BROLLING OF METAL
    • B21B31/00Rolling stand structures; Mounting, adjusting, or interchanging rolls, roll mountings, or stand frames
    • B21B31/08Interchanging rolls, roll mountings, or stand frames, e.g. using C-hooks; Replacing roll chocks on roll shafts
    • B21B31/10Interchanging rolls, roll mountings, or stand frames, e.g. using C-hooks; Replacing roll chocks on roll shafts by horizontally displacing, i.e. horizontal roll changing
    • B21B31/103Manipulators or carriages therefor
    • BPERFORMING OPERATIONS; TRANSPORTING
    • B21MECHANICAL METAL-WORKING WITHOUT ESSENTIALLY REMOVING MATERIAL; PUNCHING METAL
    • B21BROLLING OF METAL
    • B21B2203/00Auxiliary arrangements, devices or methods in combination with rolling mills or rolling methods
    • B21B2203/18Rolls or rollers

Landscapes

  • Engineering & Computer Science (AREA)
  • Mechanical Engineering (AREA)
  • Metal Rolling (AREA)

Abstract

압연기의 롤 교체장치를 개시한다. 본 발명의 실시 예에 따른 압연기의 롤 교체장치는 압연기의 롤 축선과 평행하게 배치되는 이송프레임; 이송프레임을 따라 이동하는 이송대차; 이송대차에 장착되며, 이송대차와 함께 이동하며 압연기로부터 롤을 추출하거나 압연기로 롤을 투입하는 롤 핸들러; 및 이송프레임 상부에 마련되며 이송되는 롤을 지지하는 다수의 가이드롤;을 포함하고, 롤 핸들러는 이송대차에 설치된 회전부재; 회전부재를 회전시키는 회전구동부; 회전부재의 회전중심과 편심된 위치로부터 롤의 추출 및 투입방향으로 연장된 연장바; 및 연장바의 자유단에 마련되며 롤의 단부가 부착될 수 있는 제1자석클램프; 연장바 반대편 회전부재의 편심 위치에 설치되며, 롤의 단부가 부착될 수 있는 제2자석클램프;를 포함한다.

Description

압연기의 롤 교체장치{ROLLER REPLACEMENT DEVICE FOR ROLLING MILL}
본 발명은 사용한 롤을 분리하는 작업과 새로운 롤을 장착하는 작업을 연속적으로 수행하여 롤 교체시간을 줄일 수 있는 압연기의 롤 교체장치에 관한 것이다.
소재의 강도가 큰 규소강판이나 스테인레스강판을 냉간 압연할 때 사용하는 압연기로 센지미어 압연기(Sendzimir mill)가 알려져 있다.
센지미어 압연기는 상하로 배치된 한쌍의 작업롤을 지지하는 다수의 중간롤과 다수의 보강롤을 구비한다. 예를 들어 20개의 롤로 구성된 센지미어 압연기의 상측 작업롤은 2개의 1차 중간롤, 3개의 2차 중간롤, 4개의 보강롤에 의해 지지된다. 마찬가지로 하측 작업롤도 위쪽과 대칭을 이루는 형태로 같은 수의 중간롤들과 보강롤들에 의해 지지된다.
이러한 압연기는 소재와 롤의 접촉에 의해 롤의 마모가 생겨 압연품질의 저하를 초래하기 때문에 작업롤 또는 중간롤의 빈번한 교체가 필요하다. 하지만 압연기의 롤을 교체하는 작업은 사용한 롤을 분리한 후 새로운 롤을 장착해야 하기 때문에 교체시간이 오래 걸리고, 이로 인해 작업 휴지시간이 길어져 생산성 저하를 초래한다. 또 작업자가 무거운 롤을 반복적으로 취급해야 하고, 한정된 시간 내에 작업을 완료해야 하기 때문에 롤을 교체하는 과정에서 안전사고가 발생할 수 있다.
본 발명의 실시 예는 사용한 롤을 분리하는 작업과 새로운 롤을 장착하는 작업을 연속적으로 수행하여 롤 교체시간을 줄일 수 있는 압연기의 롤 교체장치를 제공하고자 한다.
본 발명의 일 측면에 따르면, 압연기의 롤 축선과 평행하게 배치되는 이송프레임; 상기 이송프레임을 따라 이동하는 이송대차; 상기 이송대차에 장착되며, 상기 이송대차와 함께 이동하며 상기 압연기로부터 롤을 추출하거나 상기 압연기로 롤을 투입하는 롤 핸들러; 및 상기 이송프레임 상부에 마련되며 이송되는 롤을 지지하는 다수의 가이드롤;을 포함하고, 상기 롤 핸들러는 상기 이송대차에 설치된 회전부재; 상기 회전부재를 회전시키는 회전구동부; 상기 회전부재의 회전중심과 편심된 위치로부터 롤의 추출 및 투입방향으로 연장된 연장바; 및 상기 연장바의 자유단에 마련되며 롤의 단부가 부착될 수 있는 제1자석클램프; 상기 연장바 반대편 상기 회전부재의 편심 위치에 설치되며, 롤의 단부가 부착될 수 있는 제2자석클램프;를 포함하는 압연기의 롤 교체장치가 제공될 수 있다.
상기 연장바는 작업롤의 추출 및 투입을 위한 제1연장바; 및 중간롤의 추출 및 투입을 위해 상기 제1연장바와 평행한 상태로 상기 제1연장바 양측에 배치된 복수의 제2연장바;를 포함할 수 있다.
상기 제1연장바는 길이방향으로 신축되는 신축로드와, 이 신축로드를 동작시키는 신축장치를 포함할 수 있다.
상기 다수의 가이드롤은 작업롤의 이송을 안내하며 그 축선이 상기 이송대차의 이동방향과 교차하는 방향으로 배치된 센터롤; 및 축선이 상기 센터롤과 일치하도록 상기 센터롤의 양측에 각각 마련되고, 상기 센터롤과 별도로 회전하는 두 사이드롤을 포함할 수 있다.
상기 압연기의 롤 교체장치는 상기 사이드롤 위에 놓인 롤을 상기 이송프레임의 양 측방으로 이동시키는 복수의 제1횡방향 이송장치; 및 상기 사이드롤 위에 놓인 롤을 상기 센터롤 쪽으로 이동시키는 복수의 제2횡방향 이송장치;를 더 포함할 수 있다.
상기 제1횡방향 이송장치는 상승에 의해 상기 사이드롤에 놓인 롤을 측방으로 밀어 내는 승강부와, 이 승강부를 승강시키는 승강유닛을 포함할 수 있고, 상기 제2횡방향 이송장치는 상승에 의해 상기 사이드롤에 놓인 롤을 상기 센터롤 쪽으로 이동시키며 상면이 센터롤 쪽으로 기울어진 승강부와, 이 승강부를 승강시키는 승강유닛을 포함할 수 있다.
상기 이송대차는 상기 이송프레임 상부의 레일을 따라 이동하는 몸체부와, 상기 몸체부를 이송하는 이송구동부를 포함할 수 있고, 상기 이송구동부는 상기 이송프레임에 길이방향으로 마련된 랙기어에 치합되는 피니언기어와, 상기 피니언기어를 구동하는 구동모터를 포함할 수 있다.
상기 압연기의 롤 교체장치는 상기 압연기로부터 추출되어 상기 다수의 가이드롤을 따라 이송된 롤을 정지시키기 위해 상기 이송프레임 후단 쪽 상부에 마련된 완충스토퍼; 및 상기 완충스토퍼 전방의 상기 이송프레임 상부에 마련되며 롤 단부의 홈을 걸어서 지지하는 탄성걸림부;를 더 포함할 수 있다.
상기 압연기의 롤 교체장치는 상기 이송프레임을 승강시키는 승강장치를 더 포함할 수 있다.
상기 압연기의 롤 교체장치는 상기 이송프레임의 측방에 배치되며 상기 압연기로 투입할 새로운 롤을 보관하는 제1보관대; 상기 이송프레임 측방에 배치되며 사용 후 상기 압연기로부터 추출한 롤을 보관하는 제2보관대; 및 상기 제1보관대로부터 상기 이송프레임 또는 상기 이송프레임으로부터 상기 제2보관대로 롤을 이송하는 롤 이송장치를 더 포함할 수 있다.
본 발명의 다른 측면에 따르면, 압연기의 롤 축선과 평행하게 배치되는 이송프레임; 상기 이송프레임을 따라 이동하는 이송대차; 상기 이송대차에 장착되며, 상기 이송대차와 함께 이동하며 상기 압연기로부터 롤을 추출하거나 상기 압연기로 롤을 투입하는 롤 핸들러; 및 상기 이송프레임 상부에 마련되며 이송되는 롤을 지지하는 다수의 가이드롤;을 포함하고, 상기 다수의 가이드롤은 작업롤의 이송을 안내하며 그 축선이 상기 이송대차의 이동방향과 교차하는 방향으로 배치된 센터롤; 축선이 상기 센터롤과 일치하도록 상기 센터롤의 양측에 각각 마련되고, 상기 센터롤과 별도로 회전하는 두 사이드롤을 포함할 수 있다.
본 발명의 실시 예에 따른 압연기의 롤 교체장치는 사용한 롤을 압연기로부터 분리하는 작업과 새로운 롤을 압연기에 장착하는 작업을 연속하여 수행할 수 있기 때문에 이를 이용하면, 롤 교체작업을 용이하게 수행할 수 있고 롤의 교체시간을 최소화하여 압연공장의 생산성을 현저히 높일 수 있다.
본 발명의 실시 예에 따른 롤 교체장치는 롤 교체작업을 할 때 롤 핸들러의 제2자석클램프를 이용해 미리 새로운 작업롤을 압연기에 가까운 대기위치로 옮겨둔 상태에서 제1연장바에 설치된 제1자석클램프를 이용해 롤의 추출 및 투입작업을 하기 때문에 이송대차의 전후방향 이동을 최소화하면서 롤의 교체작업을 할 수 있고, 이를 통해 롤 교체시간을 단축할 수 있다.
도 1은 통상적인 센지미어 압연기(Sendzimir mill)의 롤 구성을 나타낸다.
도 2는 롤의 교체를 위해 센지미어 압연기 측면을 개방한 상태를 나타낸 사시도이다.
도 3은 롤 교체작업을 위해 본 발명의 실시 예에 따른 롤 교체장치를 압연기에 접근시킨 상태를 나타낸 평면도이다.
도 4는 도 3의 측면도이다.
도 5는 본 발명의 실시 예에 따른 롤 교체장치의 사시도이다.
도 6은 본 발명의 실시 예에 따른 롤 교체장치의 이송대차와 롤 핸들러를 상세하게 도시한 사시도이다.
도 7은 본 발명의 실시 예에 따른 롤 교체장치의 가이드롤, 제1횡방향 이송장치, 제2횡방향 이송장치의 사시도이다.
도 8은 본 발명의 실시 예에 따른 롤 교체장치의 제1횡방향 이송장치 동작을 나타낸다.
도 9는 본 발명의 실시 예에 따른 롤 교체장치의 제2횡방향 이송장치 동작을 나타낸다.
도 10은 본 발명의 실시 예에 따른 롤 교체장치의 완충스토퍼 사시도이다.
도 11은 본 발명의 실시 예에 따른 롤 교체장치의 완충스토퍼 측면도이다.
도 12는 본 발명의 실시 예에 따른 롤 교체장치의 제1보관대와 제2보관대를 나타낸 사시도다.
도 13 본 발명의 실시 예에 따른 롤 교체장치의 제1보관대와 제2보관대를 나타낸 평면도이다.
도 14 내지 도 23은 본 발명의 실시 예에 따른 롤 교체장치를 이용하여 압연기로부터 사용한 작업롤을 추출하는 과정 및 압연기로 새로운 작업롤을 투입하는 과정을 단계적으로 나타낸다.
이하에서는 본 발명의 실시 예를 첨부 도면을 참조하여 상세히 설명한다. 이하의 실시 예는 본 발명이 속하는 기술분야에서 통상의 지식을 가진 자에게 본 발명의 사상을 충분히 전달하기 위해 제시하는 것이며, 여기서 제시한 것으로 한정되지 않고 다른 형태로 구체화될 수도 있다. 도면은 본 발명을 명확히 하기 위해 설명과 관계 없는 부분의 도시를 생략할 수 있고, 이해를 돕기 위해 구성요소의 크기를 다소 과장하여 표현할 수 있다.
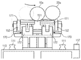
도 1은 통상적인 센지미어 압연기(Sendzimir mill)의 롤 구성을 나타낸다. 도 1에 도시한 바와 같이, 센지미어 압연기(30)는 상하로 배치되어 소재를 압연하는 한쌍의 작업롤(10,20)과, 작업롤(10,20) 주위를 둘러 싸는 형태로 배치되어 작업롤(10,20)을 지지하는 다수의 중간롤(11~15,21~25)과 다수의 보강롤(16~19,26~29)을 구비한다. 상측의 작업롤(10)은 2개의 1차 중간롤(11,12), 3개의 2차 중간롤(13,14,15), 4개의 보강롤(16,17,18,19)에 의해 지지될 수 있다. 마찬가지로 하측의 작업롤(20)도 2개의 1차 중간롤(21,22), 3개의 2차 중간롤(23,24,25), 4개의 보강롤(26,27,28,29)에 의해 지지될 수 있다. 외곽에 배치된 보강롤들(16~19,26~29)은 상부하우징(31)과 하부하우징(32)에 회전 가능하게 지지된다.
중심부에 설치된 한쌍의 작업롤(10,20)은 작업에 의해 마모되거나 변형되므로 교체하거나 분리하여 연마할 필요가 있다. 작업롤(10,20)의 교체를 할 때는 도 2에 도시한 바와 같이, 압연기(30) 측면에 마련된 지지도어(40)를 개방한다. 지지도어(40)는 힌지부(41)를 중심으로 회전하고, 실린더(42)에 의해 당겨짐으로써 개방될 수 있다.
도 3은 롤 교체작업을 위해 본 발명의 실시 예에 따른 롤 교체장치를 압연기에 접근시킨 상태를 나타낸 평면도이고, 도 4는 도 3의 측면도이다. 도 5는 본 발명의 실시 예에 따른 롤 교체장치의 사시도이다.
도 3, 도 4, 도 5를 참조하면, 롤 교체장치(100)는 압연기(30)의 측방에 위치한 상태에서 압연기(30)의 롤들을 교체할 수 있다. 롤 교체장치(100)는 이송프레임(110), 승강장치(120), 이송대차(130), 롤 핸들러(140), 다수의 가이드롤(150)을 포함할 수 있다.
이송프레임(110)은 길이가 긴 직선 형강으로 마련될 수 있고, 압연기(30)의 롤 축선과 평행하도록 압연기(30) 측방에 길게 배치될 수 있다. 이송프레임(110) 상면에는 이송대차(130)의 이동을 안내할 수 있도록 길이방향으로 길게 연장된 레일(111)이 설치된다. 또 이송프레임(110)에는 이송대차(130)의 이동을 위해 레일(111)과 평행하게 랙기어(112)가 설치된다.
승강장치(120)는 이송프레임(110)을 지지하며, 필요 시 이송프레임(110)을 승강시켜 높이를 조절할 수 있다. 승강장치(120)는 이송프레임(110)의 전방 측과 후방 측에 각각 대등한 형태로 마련될 수 있다. 승강장치(120)는 이송프레임(110) 상면의 수평을 유지하면서 이송프레임(110)을 승강시킬 수 있다. 여기서 이송프레임(110)의 전방은 압연기(30)에 근접하는 쪽, 이송프레임(110)의 후방은 그 반대편을 의미한다.
승강장치(120)는 이송프레임(110) 양 측면의 복수 개소에 설치된 나사축 연결부(121), 각 나사축 연결부(121)에 체결되며 수직으로 설치된 복수의 나사축(122), 복수의 나사축(122) 하부를 회전 가능하게 지지하며 복수의 나사축(122)이 동시에 회전하도록 연결하는 동력연결부(123), 동력연결부(123)를 구동하는 구동모터(124)를 포함할 수 있다.
승강장치(120)는 구동모터(124)의 동작에 의해 이송프레임(110)을 지지하는 복수의 나사축(122)이 동시에 정방향 또는 역방향으로 회전함으로써 이송프레임(110)을 승강시킬 수 있다. 이송프레임(110)은 승강장치(120)의 동작에 의해 승강할 수 있기 때문에 도 4의 예처럼 압연기(30)로부터 사용한 롤을 추출하거나 압연기(30)로 새로운 롤을 투입할 때 그 높이를 적절하게 조정할 수 있다. 여기서는 일 예로써 나사식 승강장치를 제시하였으나, 승강장치(120)의 형태가 이에 한정되는 것은 아니다. 승강장치는 복수의 유압실린더에 의해 구성될 수도 있다.
이송대차(130)는 도 5와 도 6에 도시한 바와 같이, 이송프레임(110) 상부의 레일(111)을 따라 이동하는 몸체부(131)와, 몸체부(131)를 이송하는 이송구동부(132)를 구비한다.
몸체부(131)는 하부가 양측 레일(111)에 각각 슬라이딩 가능하게 지지된 교각부(131a)와, 두 교각부(131a)의 상부를 연결하는 상판부(131b)를 포함한다. 몸체부(131)는 두 교각부(131a)와 상판부(131b) 사이에 공간이 형성되도록 함으로써 이송프레임(110) 상부에 설치된 다수의 가이드롤(150)과 간섭 없이 이송프레임(110)을 따라 이동할 수 있다.
이송구동부(132)는 몸체부(131)의 측면에 회전 가능하게 설치되며 이송프레임(110)의 랙기어(112)에 치합되는 피니언기어(132a), 피니언기어(132a)와 연결된 복수의 연결기어(132b,132c), 몸체부(131)의 상판부(131b)에 설치된 상태로 상측 연결기어(132c)를 구동하는 구동모터(132d)를 포함할 수 있다. 이송구동부(132)는 구동모터(132d)의 동작에 의해 피니언기어(132a)가 회전함으로써 이송대차(130)의 몸체부(131)를 이송프레임(110)의 길이방향으로 이동시킬 수 있다.
롤 핸들러(140)는 이송대차(130)의 전방 측에 장착된 상태에서 이송대차(130)와 함께 이동하며 압연기(30)로부터 사용한 롤을 추출하거나 압연기(30)로 새로운 롤을 투입할 수 있다.
롤 핸들러(140)는 도 4와 도 6에 도시한 바와 같이, 이송대차(130)의 전방 상측에 회전 가능하게 설치된 회전부재(141)와, 이송대차(130)의 상판부(131b) 위에 설치되며 회전부재(141)를 회전시키는 회전구동부(142)를 구비한다. 회전부재(141)는 직사각 평판형태로 마련될 수 있고, 한쪽 평면이 전방을 향한 상태로 대략 중심부분이 회전구동부(142)에 회전 가능하게 연결될 수 있다.
롤 핸들러(140)는 회전부재(141)의 회전중심과 편심된 위치로부터 롤의 추출 및 투입방향으로 길게 연장된 복수의 연장바(143,144,145)와, 각 연장바(143,144,145)의 자유단에 마련되며 교체할 롤의 단부가 부착될 수 있는 제1자석클램프(146a,146b,146c)와, 연장바(143,144,145) 반대편의 회전부재(141) 편심 위치에 설치되며 역시 교체할 롤의 단부가 부착될 수 있는 복수의 제2자석클램프(147a,147b)를 포함할 수 있다.
복수의 연장바(143,144,145)는 압연기 작업롤(10,20)의 추출 및 투입을 위한 제1연장바(143)와, 압연기 중간롤(11,12,21,22)의 추출 및 투입을 위해 제1연장바(143)의 양측에 배치되며 제1연장바(143)와 평행하게 설치된 복수의 제2연장바(144,145)를 포함할 수 있다. 양측의 제2연장바(144,145)는 제1연장바(143)를 이용한 롤의 추출과 투입에 간섭되지 않도록 도 3과 도 4에 도시한 바와 같이, 제1연장바(143)보다 위쪽에 배치될 수 있다. 즉 제2연장바(144,145)의 위치는 회전부재(141)의 회전중심으로부터의 거리가 제1연장바(143)보다 가깝다.
제1연장바(143) 및 제2연장바(144,145)의 자유단에 각각 설치되는 제1자석클램프(146a,146b,146c)는 전원 인가에 의해 자화되는 전자석으로 이루질 수 있다. 회전부재(141) 반대편에 설치되는 제2자석클램프들(147a,147b)도 마찬가지다.
제1연장바(143)는 도 6에 도시한 바와 같이, 길이방향으로 신장되는 신축로드(143a)와, 신축로드(143a)를 동작시키도록 내장된 신축장치(미도시)를 포함할 수 있다. 신축장치는 공압실린더로 구성될 수 있다.
제1연장바(143)는 도 3과 도 4에 도시한 바와 같이, 신축로드(143a)의 동작에 의해 그 길이가 신장될 수 있기 때문에 제2연장바(144,145)가 압연기(30)의 중간롤들(11,12,21,22)과 간섭되지 않도록 한 상태에서 압연기(30)로부터 작업롤(10,20)을 쉽게 추출하거나 압연기(30)에 작업롤을 쉽게 투입할 수 있다.
롤 핸들러(140)는 도 5와 도 6에 도시한 바와 같이, 회전부재(141)의 회전에 의해 제1자석클램프(146a,146b,146c)가 설치된 제1 및 제2연장바(143,144,145)가 하부에 위치하고 제2자석클램프(147a,147b)가 상부에 위치하도록 하거나, 이들의 위치가 상호 바뀌도록 할 수 있다. 압연기(30)에 투입할 새로운 롤들(10a,10b)을 압연기(30) 쪽으로 이송할 때는 도 5에 도시한 예처럼, 제2자석클램프(147a,147b)를 이용할 수 있고, 압연기로부터 사용한 롤(10,20)을 추출하거나 압연기에 새로운 롤(10a,10b)을 투입할 때는 도 4와 도 6에 도시한 예처럼, 제1 및 제2연장바(143,144,145)를 하부로 위치시킨 후 제1 및 제2연장바(143,144,145)를 이용할 수 있다.
다수의 가이드롤(150)은 도 7에 도시한 바와 같이, 롤 핸들러(140)에 의해 이송되는 롤을 지지할 수 있도록 이송프레임(110) 상부에 상호 이격된 상태로 설치된다. 다수의 가이드롤(150)은 작업롤(10,20)의 이송을 안내하며 그 축선이 이송대차(130)의 이동방향과 교차하는 방향으로 배치된 센터롤(151), 축선이 센터롤(151)과 일치하도록 센터롤(151) 양측에 각각 마련되고 센터롤(151)과 별도로 회전하는 두 사이드롤(152)을 포함한다.
가이드롤(150)은 센터롤(151)과 두 사이드롤(152)이 하나의 롤축(153)에 결합되고, 롤축(153)의 양단이 이송프레임(110) 상부에 설치된 롤지지체(154)에 결합된다. 센터롤(151)과 두 사이드롤(152)의 외면은 롤의 외면에 대응하는 곡면을 구비한다.
롤 교체장치(100)는 도 7 내지 도 9에 도시한 바와 같이, 두 사이드롤(152) 위에 놓인 롤(10a,20a)을 이송프레임(110) 양 측방으로 이동시키는 복수의 제1횡방향 이송장치(160)와, 사이드롤(152) 위에 놓인 롤(10a,20a)을 센터롤(151) 쪽으로 이동시키는 복수의 제2횡방향 이송장치(170)를 포함할 수 있다.
제1횡방향 이송장치(160)는 도 8에 도시한 바와 같이, 상승에 의해 사이드롤(152)에 놓인 롤(10a,20a)을 이송프레임(110) 양 측방으로 밀어 내는 승강부(161)와, 이 승강부(161)를 승강시키는 승강유닛(162)을 구비한다. 승강유닛(162)은 공압실린더일 수 있다.
제2횡방향 이송장치(170)는 도 9에 도시한 바와 같이, 상승에 의해 사이드롤(152)에 놓인 롤(10a,20a)을 센터롤(151) 쪽으로 이동시킬 수 있는 승강부(171)와, 이 승강부(171)를 승강시키는 승강유닛(172)을 구비한다. 승강부(171)는 상면이 센터롤(151) 쪽으로 기울어진 경사면일 수 있다.
제1횡방향 이송장치(160)는 도 5의 예처럼 양쪽 사이드롤(152)을 따라 전방으로 이송된 롤(10a,20a)을 도 8의 예처럼 이송프레임(110) 양 측방의 대기위치(A)로 이동시킬 수 있다. 이처럼 롤들(10a,20a)을 측방으로 이동시키면, 압연기(30)로부터 추출되어 센터롤(151)를 통해 이송되는 롤이나 센터롤(151)을 통해 압연기(30) 쪽으로 투입되는 롤이 양측 대기위치(A)에 놓인 롤들(10a,20a)과 간섭되지 않는다.
제2횡방향 이송장치(170)는 도 9에 도시한 바와 같이, 양쪽 사이드롤(152) 쪽에 위치하는 롤들(10a,20a) 중 하나를 센터롤(151) 쪽으로 이동시킬 수 있다. 센터롤(151) 위로 이송된 롤(10a)은 제1연장바(143)의 제1자석클램프(146a)에 결합된 상태에서 압연기(30)로 투입될 수 있다.
롤 교체장치(100)는 도 5, 도 10, 도 11에 도시한 바와 같이, 이송프레임(110)의 후단 쪽 상부에 마련되며 압연기(30)로부터 추출된 후 다수 가이드롤(150)의 센터롤(151)을 따라 후방으로 이송된 롤(10)을 정지시키는 완충스토퍼(181)와, 완충스토퍼(181) 전방의 이송프레임(110) 상부에 마련되며 이송된 롤 단부의 홈을 걸어서 지지하는 탄성걸림부(182)를 더 포함할 수 있다. 완충스토퍼(181)는 로드부(181a)가 신축하는 공압실린더일 수 있다.
압연기(30)로부터 작업롤(10)을 추출할 때는 도 4에 도시한 바와 같이, 롤 핸들러(140)의 제1연장바(143) 단부에 마련된 제1자석클램프(146a)로 작업롤(10)을 부착시킨 상태에서 이송대차(130)가 후방으로 이동한다. 이때 추출되는 작업롤(10)은 이송프레임(110) 상부의 센터롤(151)을 따라 이송된다. 이송과정에서 제1자석클램프(146a)는 자력이 해제되어 작업롤(10)로부터 분리되고, 회전부재(141)는 90도 또는 180도 회전한다. 그리고 제1자석클램프(146a)로부터 분리된 작업롤(10)은 관성에 의해 센터롤들(151)을 따라 후방으로 이송되어 완충스토퍼(181)의 위치에 이른다.
완충스토퍼(181)는 도 11에 도시한 바와 같이, 관성에 의해 후방으로 이송된 작업롤(10) 단부를 지지해 완충시키며 정지시킨다. 탄성걸림부(182)는 완충스토퍼(181)에 지지된 작업롤(10)이 다시 전방으로 이동하지 않도록 작업롤(10) 단부의 홈을 걸어서 지지한다. 탄성걸림부(182)는 완충스토퍼(181) 전방에 배치되기 때문에 완충스토퍼(181) 쪽으로 진행하는 롤 선단을 간섭해 완충하는 역할도 한다.
롤 교체장치(100)는 도 12와 도 13에 도시한 바와 같이, 이송프레임(110) 양측에 각각 배치된 제1보관대(191)와 제2보관대(192), 그리고 제1보관대(191)로부터 이송프레임(110) 상부 또는 이송프레임(110) 상부로부터 제2보관대(192)로 롤을 이송하는 롤 이송장치(193)를 포함할 수 있다.
제1보관대(191)는 이송프레임(110)의 측방에 배치된 상태에서 압연기(30)로 투입할 새로운 작업롤(10a,20a)을 적재하여 보관할 수 있다. 제2보관대(192)는 이송프레임(110) 측방에 배치된 상태에서 사용 후 압연기(30)로부터 추출된 작업롤(10,20)을 적재하여 보관할 수 있다. 롤 이송장치(193)는 롤들을 들어서 올리거나 내리기 위해 승강할 수 있고, 이송프레임(110)의 폭방향으로 이동할 수 있다. 따라서 새로운 롤의 투입을 위해 제1보관대(191)에 놓인 롤들을 이송프레임(110) 위로 옮길 수 있고, 압연기(30)로부터 추출된 후 이송프레임(110)에 놓인 롤들을 제2보관대(192)로 옮길 수 있다.
다음은 도 14 내지 도 21을 참조하면서 본 발명의 실시 예에 따른 롤 교체장치를 이용해 압연기의 롤을 교체하는 방법에 대해 설명한다. 도 14 내지 도 21은 롤 교체장치를 이용하여 압연기로부터 사용한 작업롤을 추출하는 과정 및 압연기로 새로운 작업롤을 투입하는 과정을 단계적으로 나타낸다.
압연기(30)로 투입할 새로운 작업롤(10a,20a)은 도 14에 도시한 바와 같이, 이송프레임(110)의 한쪽 측방에 마련된 제1보관대(191)에 보관될 수 있다. 이러한 작업롤(10a,20a)은 롤 이송장치(193)의 동작에 의해 도 15에 도시한 예처럼 한쌍이 동시에 이송프레임(110)의 가이드롤(150) 위로 옮겨질 수 있다. 이송프레임(110)으로 옮겨진 한쌍의 작업롤(10a,20a)은 센터롤(151) 양측의 사이드롤(152) 위에 놓인 상태에서 롤 핸들러(140)의 제2자석클램프(147a,147b)에 부착된다. 투입할 작업롤들(10a,20a)을 롤 핸들러(140)의 제2자석클램프(147a,147b)에 부착시키면, 이송대차(130)의 후퇴를 최소화하면서도 롤들을 이송할 수 있다. 즉 이송프레임(110)의 길이를 짧게 할 수 있다.
도 15의 상태에서 이송대차(130)가 이송프레임(110)의 전방(압연기 쪽)으로 이동하면, 도 5에 도시한 바와 같이, 압연기(30)로 투입할 한쌍의 작업롤(10a,20a)이 압연기(30)에 인접한 위치로 이송된다. 이 상태에서 롤 핸들러(140)는 제2자석클램프(147a,147b)의 자력을 해제하여 한 쌍의 작업롤(10a,20a)이 분리되도록 하고, 복수의 제1횡방향 이송장치(160)는 도 8과 도 16에 도시한 바와 같이, 사이드롤(152) 위에 놓인 새로운 작업롤들(10a,20a)을 이송프레임(110) 양 측방의 대기위치(A)로 이동시킨다.
새로운 작업롤(10a,20a)을 도 16과 같이 대기위치(A)로 이송한 후에는 도 3, 도 4, 도 17에 도시한 바와 같이, 제1연장바(143)가 하측으로 이동하도록 롤 핸들러(140)의 회전부재(141)가 회전하고, 압연기(30)로부터 사용한 작업롤(10)을 추출하기 위해 이송대차(130)가 압연기(30) 쪽(전방)으로 이동한다. 아울러, 승강장치(120)는 이송프레임(110)을 승강시켜 추출할 작업롤(10)과 제1연장바(143) 선단에 설치된 제1자석클램프(146a)의 위치가 일치하도록 한다. 이 상태에서 롤 핸들러(140)의 제1연장바(143)는 도 4에 도시한 바와 같이, 신축로드(143a)를 신장시켜 제1자석클램프(146a)가 추출할 작업롤(10) 단부에 부착되도록 한다.
제1연장바(143)의 제1자석클램프(146a)에 사용한 작업롤(10)이 부착된 후에는 도 18에 도시한 바와 같이, 이송대차(130)가 후방으로 이동하여 작업롤(10)을 추출함과 동시에 후방으로 이동시킨다. 이때 추출된 작업롤(10)은 이송프레임(110) 상부의 센터롤(151)을 따라 후방으로 이송된 후 롤 이송장치(193)의 동작에 의해 한쪽 사이드롤(152)로 옮겨진다. 그리고 이송대차(130)와 롤 핸들러(140)는 도 19에 도시한 바와 같이, 같은 동작을 반복하여 압연기(30)로부터 나머지 작업롤(20)을 추출해 후방으로 이송한다.
도 19의 예처럼 압연기(30)로부터 한쌍의 작업롤(10,20)을 추출한 후에는 도 20에 도시한 바와 같이, 이송프레임(110) 전방 양측 대기위치(A)로 옮겨 둔 새로운 작업롤 중 하나(10a)를 이송프레임(110)의 센터롤(152) 위로 옮기고, 이송대차(130)가 전방으로 이동해 롤 핸들러(140)의 제1연장바(143)에 마련된 제1자석클램프(146a)에 투입할 새로운 작업롤(10a)이 부착되도록 한다.
새로운 작업롤(10a)이 제1연장바(143)의 제1자석클램프(146a)에 부착된 후에는 도 21에 도시한 바와 같이, 이송대차(130)가 압연기(30) 쪽으로 이동하여 새로운 작업롤 중 하나(10a)를 압연기(30)에 투입한다. 아울러 롤 핸들러(140)의 제1연장바(143)는 신축로드(143a)를 신장시켜 작업롤(10a)이 압연기(30)의 최종 설치위치로 진입하도록 한다.
하나의 새로운 작업롤(10a)을 압연기(30)로 투입한 후에는 도 22와 도 23에 도시한 바와 같이, 다른 작업롤(20a) 같은 방식으로 압연기(30)에 투입한다. 롤 핸들러(140)가 이송프레임(110)의 전방에 위치한 상태에서 작업롤(20a)을 투입하는 동안, 롤 이송장치(193)는 도 23에 도시한 바와 같이, 압연기(30)로부터 추출한 사용한 작업롤들(10,20)을 제2보관대(192)로 옮긴다.
본 실시 예에 따른 롤 교체장치(100)는 한쌍의 작업롤(10,20)의 교체 뿐 아니라, 압연기(30)의 중간롤들(11,12,21,22)을 교체하는 경우에도 이용될 수 있다. 중간롤들(11,12,21,22)을 교체하는 경우에는 롤 핸들러(140)의 제2연장바(144,145) 및 제2연장바(144,145)에 설치된 다른 제1자석클램프들(146b,146c)이 이용될 수 있다.
이처럼 본 실시 예에 따른 롤 교체장치(100)는 사용한 롤을 압연기로부터 분리하는 작업과 새로운 롤을 압연기에 장착하는 작업을 연속하여 수행할 수 있기 때문에 이를 이용하면, 롤 교체작업을 용이하게 수행할 수 있고 롤의 교체시간을 최소화하여 압연공장의 생산성을 현저히 높일 수 있다.
또 본 실시 예에 따른 롤 교체장치(100)는 롤 교체작업을 할 때 롤 핸들러(140)의 제2자석클램프(147a,147b)를 이용해 미리 새로운 작업롤(10a,20a)을 압연기(30)에 가까운 대기위치(A)로 옮겨둔 상태에서 제1연장바(146)에 설치된 제1자석클램프(146a)를 이용해 롤의 추출 및 투입작업을 하기 때문에 이송대차(130)의 전후방향 이동을 최소화하면서 롤의 교체작업을 할 수 있고, 이를 통해 롤 교체시간을 단축할 수 있다.
10,20: 사용한 작업롤, 10a,20a: 새로운 작업롤,
100: 롤 교체장치, 110: 이송프레임,
120: 승강장치, 130: 이송대차,
140: 롤 핸들러, 150: 가이드롤,
160: 제1횡방향 이송장치, 170: 제2횡방향 이송장치,
181: 완충스토퍼, 191: 제1보관대,
192: 제2보관대, 193: 롤 이송장치.

Claims (13)

  1. 압연기의 롤 축선과 평행하게 배치되는 이송프레임;
    상기 이송프레임을 따라 이동하는 이송대차;
    상기 이송대차에 장착되고, 상기 이송대차와 함께 이동하며 상기 압연기로부터 롤을 추출하거나 상기 압연기로 롤을 투입하는 롤 핸들러; 및
    상기 이송프레임 상부에 마련되며 이송되는 롤을 지지하는 다수의 가이드롤;을 포함하고,
    상기 롤 핸들러는,
    상기 이송대차에 설치된 회전부재;
    상기 회전부재를 회전시키는 회전구동부;
    상기 회전부재의 회전중심과 편심된 위치로부터 롤의 추출 및 투입방향으로 연장된 연장바; 및
    상기 연장바의 자유단에 마련되며 롤의 단부가 부착될 수 있는 제1자석클램프;
    상기 연장바 반대편 상기 회전부재의 편심 위치에 설치되며, 롤의 단부가 부착될 수 있는 제2자석클램프;를 포함하는 압연기의 롤 교체장치.
  2. 제1항에 있어서,
    상기 연장바는,
    작업롤의 추출 및 투입을 위한 제1연장바; 및
    중간롤의 추출 및 투입을 위해 상기 제1연장바와 평행한 상태로 상기 제1연장바 양측에 배치된 복수의 제2연장바;를 포함하는 압연기의 롤 교체장치.
  3. 제2항에 있어서,
    상기 제1연장바는 길이방향으로 신축되는 신축로드와, 이 신축로드를 동작시키는 신축장치를 포함하는 압연기의 롤 교체장치.
  4. 제1항에 있어서,
    상기 다수의 가이드롤은,
    작업롤의 이송을 안내하며 그 축선이 상기 이송대차의 이동방향과 교차하는 방향으로 배치된 센터롤; 및
    축선이 상기 센터롤과 일치하도록 상기 센터롤의 양측에 각각 마련되고, 상기 센터롤과 별도로 회전하는 두 사이드롤을 포함하는 압연기의 롤 교체장치.
  5. 제4항에 있어서,
    상기 사이드롤 위에 놓인 롤을 상기 이송프레임의 양 측방으로 이동시키는 복수의 제1횡방향 이송장치; 및
    상기 사이드롤 위에 놓인 롤을 상기 센터롤 쪽으로 이동시키는 복수의 제2횡방향 이송장치;를 더 포함하는 압연기의 롤 교체장치.
  6. 제5항에 있어서,
    상기 제1횡방향 이송장치는 상승에 의해 상기 사이드롤에 놓인 롤을 측방으로 밀어 내는 승강부와, 이 승강부를 승강시키는 승강유닛을 포함하고,
    상기 제2횡방향 이송장치는 상승에 의해 상기 사이드롤에 놓인 롤을 상기 센터롤 쪽으로 이동시키며 상면이 센터롤 쪽으로 기울어진 승강부와, 이 승강부를 승강시키는 승강유닛을 포함하는 압연기의 롤 교체장치.
  7. 제1항에 있어서,
    상기 이송대차는 상기 이송프레임 상부의 레일을 따라 이동하는 몸체부와, 상기 몸체부를 이송하는 이송구동부를 포함하고,
    상기 이송구동부는 상기 이송프레임에 길이방향으로 마련된 랙기어에 치합되는 피니언기어와, 상기 피니언기어를 구동하는 구동모터를 포함하는 압연기의 롤 교체장치.
  8. 제1항에 있어서,
    상기 압연기로부터 추출되어 상기 다수의 가이드롤을 따라 이송된 롤을 정지시키기 위해 상기 이송프레임 후단 쪽 상부에 마련된 완충스토퍼; 및
    상기 완충스토퍼 전방의 상기 이송프레임 상부에 마련되며 롤 단부의 홈을 걸어서 지지하는 탄성걸림부;를 더 포함하는 압연기의 롤 교체장치.
  9. 제1항에 있어서,
    상기 이송프레임을 승강시키는 승강장치를 더 포함하는 압연기의 롤 교체장치.
  10. 제1항에 있어서,
    상기 이송프레임의 측방에 배치되며 상기 압연기로 투입할 새로운 롤을 보관하는 제1보관대;
    상기 이송프레임 측방에 배치되며 사용 후 상기 압연기로부터 추출한 롤을 보관하는 제2보관대; 및
    상기 제1보관대로부터 상기 이송프레임 또는 상기 이송프레임으로부터 상기 제2보관대로 롤을 이송하는 롤 이송장치를 더 포함하는 압연기의 롤 교체장치.
  11. 압연기의 롤 축선과 평행하게 배치되는 이송프레임;
    상기 이송프레임을 따라 이동하는 이송대차;
    상기 이송대차에 장착되며, 상기 이송대차와 함께 이동하며 상기 압연기로부터 롤을 추출하거나 상기 압연기로 롤을 투입하는 롤 핸들러; 및
    상기 이송프레임 상부에 마련되며 이송되는 롤을 지지하는 다수의 가이드롤;을 포함하고,
    상기 다수의 가이드롤은,
    작업롤의 이송을 안내하며 그 축선이 상기 이송대차의 이동방향과 교차하는 방향으로 배치된 센터롤; 및
    축선이 상기 센터롤과 일치하도록 상기 센터롤의 양측에 각각 마련되고, 상기 센터롤과 별도로 회전하는 두 사이드롤을 포함하는 압연기의 롤 교체장치.
  12. 제11항에 있어서,
    상기 사이드롤 위에 놓인 롤을 상기 이송프레임의 양 측방으로 이동시키는 복수의 제1횡방향 이송장치; 및
    상기 사이드롤 위에 놓인 롤을 상기 센터롤 쪽으로 이동시키는 복수의 제2횡방향 이송장치;를 더 포함하는 압연기의 롤 교체장치.
  13. 제12항에 있어서,
    상기 제1횡방향 이송장치는 상승에 의해 상기 사이드롤에 놓인 롤을 측방으로 밀어 내는 승강부와, 이 승강부를 승강시키는 승강유닛을 포함하고,
    상기 제2횡방향 이송장치는 상승에 의해 상기 사이드롤에 놓인 롤을 상기 센터롤 쪽으로 이동시키며 상면이 센터롤 쪽으로 기울어진 승강부와, 이 승강부를 승강시키는 승강유닛을 포함하는 압연기의 롤 교체장치.
KR1020170122358A 2017-09-22 2017-09-22 압연기의 롤 교체장치 Active KR101987660B1 (ko)

Priority Applications (1)

Application Number Priority Date Filing Date Title
KR1020170122358A KR101987660B1 (ko) 2017-09-22 2017-09-22 압연기의 롤 교체장치

Applications Claiming Priority (1)

Application Number Priority Date Filing Date Title
KR1020170122358A KR101987660B1 (ko) 2017-09-22 2017-09-22 압연기의 롤 교체장치

Publications (2)

Publication Number Publication Date
KR20190033775A true KR20190033775A (ko) 2019-04-01
KR101987660B1 KR101987660B1 (ko) 2019-06-12

Family

ID=66104507

Family Applications (1)

Application Number Title Priority Date Filing Date
KR1020170122358A Active KR101987660B1 (ko) 2017-09-22 2017-09-22 압연기의 롤 교체장치

Country Status (1)

Country Link
KR (1) KR101987660B1 (ko)

Cited By (3)

* Cited by examiner, † Cited by third party
Publication number Priority date Publication date Assignee Title
WO2020101050A1 (ko) * 2018-11-13 2020-05-22 주식회사 포스코 압연기의 롤 교체장치
CN114472534A (zh) * 2022-01-17 2022-05-13 肇庆宏旺金属实业有限公司 一种用于钢带加工线的换辊车
EP4523809A1 (en) * 2023-09-15 2025-03-19 Primetals Technologies Japan, Ltd. Roll rearrangement device and roll rearrangement method

Citations (3)

* Cited by examiner, † Cited by third party
Publication number Priority date Publication date Assignee Title
KR200275343Y1 (ko) * 2002-02-18 2002-05-11 포철산기주식회사 압연로울러 교체용 로울러 체인징 장치
KR20020046987A (ko) * 2000-12-13 2002-06-21 마스다 노부유키 압연기의 롤 교체 장치 및 롤 교체 방법
KR20090010314A (ko) * 2007-07-23 2009-01-30 주식회사 포스코 염산탱크내 서포트롤 분리장치

Patent Citations (3)

* Cited by examiner, † Cited by third party
Publication number Priority date Publication date Assignee Title
KR20020046987A (ko) * 2000-12-13 2002-06-21 마스다 노부유키 압연기의 롤 교체 장치 및 롤 교체 방법
KR200275343Y1 (ko) * 2002-02-18 2002-05-11 포철산기주식회사 압연로울러 교체용 로울러 체인징 장치
KR20090010314A (ko) * 2007-07-23 2009-01-30 주식회사 포스코 염산탱크내 서포트롤 분리장치

Cited By (3)

* Cited by examiner, † Cited by third party
Publication number Priority date Publication date Assignee Title
WO2020101050A1 (ko) * 2018-11-13 2020-05-22 주식회사 포스코 압연기의 롤 교체장치
CN114472534A (zh) * 2022-01-17 2022-05-13 肇庆宏旺金属实业有限公司 一种用于钢带加工线的换辊车
EP4523809A1 (en) * 2023-09-15 2025-03-19 Primetals Technologies Japan, Ltd. Roll rearrangement device and roll rearrangement method

Also Published As

Publication number Publication date
KR101987660B1 (ko) 2019-06-12

Similar Documents

Publication Publication Date Title
CN107934544B (zh) 一种板材自动送料设备及其使用方法
CN107472932B (zh) 装车机和装车系统
AU655619B2 (en) A device for transferring a work piece from a first machine to a second machine
CN107857118B (zh) 一种全自动上下片的玻璃生产线
CN107934543B (zh) 一种框架式板料输送设备
CN102596500B (zh) 用于操纵板坯以磨削板坯表面的方法和装置
US12337429B2 (en) Manufacturing cell comprising a tool carrier
KR101987660B1 (ko) 압연기의 롤 교체장치
US12491623B2 (en) Production cell with at least two machining robots
US12421039B2 (en) Automatic high-speed stacking machine
CN104960895A (zh) 纸箱高速整列装置
JPH0214128B2 (ko)
CN207723965U (zh) 一种送料系统
CN105773273A (zh) 电梯导轨全自动金加工输送线
CN204584838U (zh) 板料多工位输送装置
CN106081474B (zh) 一种送料机构
US7272881B2 (en) Production installation
CN110509098B (zh) 一种带定位孔的异形工件输送及定位翻转装置及自动化生产线
WO2020101050A1 (ko) 압연기의 롤 교체장치
CN212420164U (zh) 一种电梯门板组装加强筋用的定位装置
CN216402976U (zh) 一种制管机用管件落料装置
KR101990937B1 (ko) 압연기 롤 교체시스템 및 그를 이용한 롤 교체방법
US7032428B2 (en) Feeding unit for transfer press
CN115535516B (zh) 一种棒料的移动输送设备及其输送方法
CN214055520U (zh) 一种用于板材定位的进料装置

Legal Events

Date Code Title Description
A201 Request for examination
PA0109 Patent application

St.27 status event code: A-0-1-A10-A12-nap-PA0109

PA0201 Request for examination

St.27 status event code: A-1-2-D10-D11-exm-PA0201

R18-X000 Changes to party contact information recorded

St.27 status event code: A-3-3-R10-R18-oth-X000

D13-X000 Search requested

St.27 status event code: A-1-2-D10-D13-srh-X000

D14-X000 Search report completed

St.27 status event code: A-1-2-D10-D14-srh-X000

E902 Notification of reason for refusal
PE0902 Notice of grounds for rejection

St.27 status event code: A-1-2-D10-D21-exm-PE0902

E13-X000 Pre-grant limitation requested

St.27 status event code: A-2-3-E10-E13-lim-X000

P11-X000 Amendment of application requested

St.27 status event code: A-2-2-P10-P11-nap-X000

P13-X000 Application amended

St.27 status event code: A-2-2-P10-P13-nap-X000

PG1501 Laying open of application

St.27 status event code: A-1-1-Q10-Q12-nap-PG1501

E701 Decision to grant or registration of patent right
PE0701 Decision of registration

St.27 status event code: A-1-2-D10-D22-exm-PE0701

GRNT Written decision to grant
PR0701 Registration of establishment

St.27 status event code: A-2-4-F10-F11-exm-PR0701

PR1002 Payment of registration fee

St.27 status event code: A-2-2-U10-U11-oth-PR1002

Fee payment year number: 1

PG1601 Publication of registration

St.27 status event code: A-4-4-Q10-Q13-nap-PG1601

R18-X000 Changes to party contact information recorded

St.27 status event code: A-5-5-R10-R18-oth-X000

R18-X000 Changes to party contact information recorded

St.27 status event code: A-5-5-R10-R18-oth-X000

PR1001 Payment of annual fee

St.27 status event code: A-4-4-U10-U11-oth-PR1001

Fee payment year number: 4

R18-X000 Changes to party contact information recorded

St.27 status event code: A-5-5-R10-R18-oth-X000

PN2301 Change of applicant

St.27 status event code: A-5-5-R10-R11-asn-PN2301

PN2301 Change of applicant

St.27 status event code: A-5-5-R10-R14-asn-PN2301

R18-X000 Changes to party contact information recorded

St.27 status event code: A-5-5-R10-R18-oth-X000

PR1001 Payment of annual fee

St.27 status event code: A-4-4-U10-U11-oth-PR1001

Fee payment year number: 5

R18-X000 Changes to party contact information recorded

St.27 status event code: A-5-5-R10-R18-oth-X000

PR1001 Payment of annual fee

St.27 status event code: A-4-4-U10-U11-oth-PR1001

Fee payment year number: 6

PR1001 Payment of annual fee

St.27 status event code: A-4-4-U10-U11-oth-PR1001

Fee payment year number: 7

R18 Changes to party contact information recorded

Free format text: ST27 STATUS EVENT CODE: A-5-5-R10-R18-OTH-X000 (AS PROVIDED BY THE NATIONAL OFFICE)

R18-X000 Changes to party contact information recorded

St.27 status event code: A-5-5-R10-R18-oth-X000