KR20190011025A - Fence assembly for antenna of base station - Google Patents

Fence assembly for antenna of base station Download PDF

Info

Publication number
KR20190011025A
KR20190011025A KR1020170093417A KR20170093417A KR20190011025A KR 20190011025 A KR20190011025 A KR 20190011025A KR 1020170093417 A KR1020170093417 A KR 1020170093417A KR 20170093417 A KR20170093417 A KR 20170093417A KR 20190011025 A KR20190011025 A KR 20190011025A
Authority
KR
South Korea
Prior art keywords
fastening member
fastening
panel
assembled
mounting
Prior art date
Legal status (The legal status is an assumption and is not a legal conclusion. Google has not performed a legal analysis and makes no representation as to the accuracy of the status listed.)
Abandoned
Application number
KR1020170093417A
Other languages
Korean (ko)
Inventor
박승선
Original Assignee
박승선
Priority date (The priority date is an assumption and is not a legal conclusion. Google has not performed a legal analysis and makes no representation as to the accuracy of the date listed.)
Filing date
Publication date
Application filed by 박승선 filed Critical 박승선
Priority to KR1020170093417A priority Critical patent/KR20190011025A/en
Publication of KR20190011025A publication Critical patent/KR20190011025A/en
Abandoned legal-status Critical Current

Links

Images

Classifications

    • HELECTRICITY
    • H01ELECTRIC ELEMENTS
    • H01QANTENNAS, i.e. RADIO AERIALS
    • H01Q1/00Details of, or arrangements associated with, antennas
    • H01Q1/12Supports; Mounting means
    • HELECTRICITY
    • H01ELECTRIC ELEMENTS
    • H01QANTENNAS, i.e. RADIO AERIALS
    • H01Q1/00Details of, or arrangements associated with, antennas
    • H01Q1/12Supports; Mounting means
    • H01Q1/22Supports; Mounting means by structural association with other equipment or articles
    • H01Q1/24Supports; Mounting means by structural association with other equipment or articles with receiving set
    • H01Q1/241Supports; Mounting means by structural association with other equipment or articles with receiving set used in mobile communications, e.g. GSM
    • H01Q1/246Supports; Mounting means by structural association with other equipment or articles with receiving set used in mobile communications, e.g. GSM specially adapted for base stations

Landscapes

  • Engineering & Computer Science (AREA)
  • Computer Networks & Wireless Communication (AREA)
  • Support Of Aerials (AREA)

Abstract

본 발명은 건물의 옥상 등에 설치되는 이동 통신용 기지국 또는 중계기로 사용되는 안테나를 외부로부터 차폐하기 위한 위장용 펜스 조립모듈과 이를 이용하여 설치된 안테나 위장용 펜스에 관한 것으로, 펜스 조립모듈은 소정의 길이를 갖는 바 형상으로, 적어도 일 측면에는 길이 방향으로 절개되는 슬라이딩 홈이 형성되고, 양 단부의 측면 중앙에는 제1 장착홈이 형성되는 프레임; 소정의 두께, 폭 및 길이를 갖는 플레이트 형상으로, 양 단부의 측면에는 상기 제1 장착홈과 동일한 형상의 제2 장착 홈이 형성되는 패널; 상기 프레임의 슬라이딩 홈에 대응하는 형상의 슬라이딩 돌기를 갖는 제1 체결부재; 및 상기 제1 장착홈 또는 상기 제2 장착홈에 대응하는 형상의 장착돌기를 갖는 제2 체결부재;를 포함하되, 상기 제1 체결부재와 상기 제2 체결부재는 서로 대응하는 형상의 체결돌기와 체결홈을 더 구비하여 체결이 이루어지도록 구성되는 것을 특징으로 한다.BACKGROUND OF THE INVENTION 1. Field of the Invention The present invention relates to a gastronomic fence assembly module for shielding an antenna used as a mobile communication base station or a repeater installed on a roof of a building from the outside and an antenna for fogging an antenna installed using the same. A frame having a sliding groove formed at least on one side thereof in the longitudinal direction and having a first mounting groove formed at a center of a lateral side of both ends thereof; A panel having a plate shape having a predetermined thickness, a width, and a length, and a second mounting groove having the same shape as that of the first mounting groove formed on both side ends thereof; A first fastening member having a sliding protrusion having a shape corresponding to a sliding groove of the frame; And a second fastening member having a mounting protrusion having a shape corresponding to the first mounting recess or the second mounting recess, wherein the first fastening member and the second fastening member are fastened with fastening protrusions of corresponding shapes, And a groove is further provided so as to be fastened.

Description

건물 옥상 안테나 위장용 펜스 조립모듈 및 이를 이용하여 설치된 안테나 위장 펜스{Fence assembly for antenna of base station}[0001] The present invention relates to a fence assembly module for a rooftop antenna and a fence assembly for an antenna,

본 발명은 안테나 위장용 펜스에 관한 것으로, 더욱 상세하게는 건물의 옥상 등에 설치되는 이동 통신용 기지국 또는 중계기로 사용되는 안테나를 외부로부터 차폐하기 위한 안테나 위장용 펜스 조립모듈과 이를 이용하여 설치된 안테나 위장 펜스에 관한 것이다.The present invention relates to an antenna fogging fence, and more particularly, to an antenna fogging fence assembly module for shielding an antenna used as a mobile communication base station or a repeater installed on a roof of a building from the outside, and an antenna camouflage fence .

일반적으로 이동 통신용 기지국 안테나는 이동단말기와의 접속을 취합하여 교환망으로 보내는 역할을 하는 것으로, 도심지의 경우 건축물의 옥상 등에 다수가 설치된다. 이러한 이동통신용 기지국 안테나는 건축물의 옥상 등에 설치됨으로서 사람들의 눈에 잘 띄어 외관상 보기에 좋지 못하고 도시의 미관을 해칠 수 있는 문제점이 있다.Generally, a base station antenna for mobile communication collects a connection with a mobile terminal and sends it to a switching network. In the case of a downtown area, a large number of antennas are installed on the roof of a building. Such a base station antenna for mobile communication is installed on the roof of a building, and thus is easily visible to people's eyes, which is not good for appearance and can detract from the beauty of the city.

따라서 이동 통신용 기지국 안테나는 외관의 미려함을 향상시키기 위하여 인조로 제작된 나무 형태 또는 넝쿨 등으로 가린 상태로 설치된다. 이와 같이 인조로 제작된 나무 또는 넝쿨 등을 이동 통신용 기지국 안테나와 함께 설치하는 것은 고가의 제작비용이 소요될 뿐만 아니라 비, 바람 등으로 인조 나무 또는 넝쿨 등의 시설물이 손상되어 주기적인 교환이 필요하고 여전히 도시 미관을 개선하지 못하는 문제점이 있다.Therefore, the base station antenna for mobile communication is installed in a state of being shielded by artificial wood or vine to improve the appearance of the appearance. The installation of such artificial woods or vines together with the base station antennas for mobile communication not only requires high production cost but also requires periodic replacement due to damages of artificial trees or vines due to rain, There is a problem that the beauty of the city can not be improved.

이러한 문제점을 해소하기 위한 기술로, 한국 등록특허공보 제10-0777005호(선행문헌1)에는 "안테나 보호부재, 이 보호부재의 제작방법, 그리고 이를 이용한 안테나 보호구"가 소개되어 있고, 한국 등록특허공보 10-1431243호(선행문헌2)에는 "안테나 기지국용 옥상 위장막 휀스"가 소개되어 있다.Korean Patent Registration No. 10-0777005 (Prior Art 1) discloses "Antenna protecting member, method of manufacturing this protecting member and antenna protecting member using the same, " 10-1431243 (Prior Art 2), "Antenna base station rooftop camouflage fence" is introduced.

상기 선행문헌들의 위장용 펜스는 다수의 프레임에 보호부재가 결합되어 내부에 설치된 안테나 구조물을 외부로부터 차폐하고 보호하는 효과를 나타낸다. 그러나 상기 선행문헌들의 위장용 펜스는 다수의 프레임, 브라켓 및 보호부재들이 통상의 볼트 및 너트 등으로 체결되어 체결 구조와 설치 과정이 복잡한 단점이 있다. 또한, 상기 선행문헌들의 위장용 펜스는 옥상 안테나 구조물의 측면만 차폐하는 구조로서, 안테나 구조물의 상부는 차폐하지 못하여 상측에서 유입되는 이물질 등으로부터는 안테나를 제대로 보호하지 못하는 단점이 있다. The gastrointestinal fence of the above-mentioned documents has an effect of shielding and protecting the antenna structure provided inside from the outside by a protection member coupled to a plurality of frames. However, the gastrointestinal fence of the above-mentioned documents has a disadvantage in that a plurality of frames, brackets, and protective members are fastened with ordinary bolts and nuts, complicating the fastening structure and installation process. In addition, the gastrointestinal fence of the above-mentioned prior art has a disadvantage in that it can not shield the upper portion of the antenna structure and shields the antenna from the foreign substances entering from the upper side because it shields only the side surface of the roof antenna structure.

한국등록특허 10-0777005(2007.11.09.등록, 안테나 보호부재, 이 보호부재의 제작방법, 그리고 이를 이용한 안테나 보호구)Korean Registered Patent No. 10-0777005 (Registered, Antenna Protection Member, Manufacturing Method of the Protection Member, and Antenna Protector Using the same) 한국등록특허 10-1431243(2014.08.11.등록, 안테나 기지국용 옥상 위장막 펜스Korean Registered Patent No. 10-1431243 (Registered, November, 2014, Rooftop Facing Fence for Antenna Base Station

본 발명은 상기와 같은 문제점을 해결하기 위하여 제안된 것으로, 건물 옥상에 설치된 안테나 구조물을 외부로부터 차폐하고 보호하기 위한 위장용 펜스 장치에 있어서, 설치가 용이하면서 원활한 통풍을 유도하여 안테나 구조물을 효과적으로 보호할 수 있는 건물 옥상 안테나 위장용 펜스 조립모듈을 제공하는 것을 목적으로 한다.The present invention has been proposed in order to solve the above problems, and it is an object of the present invention to provide a gastronomic fence device for shielding and protecting an antenna structure installed on a building roof from the outside, The present invention provides a fence assembly module for a rooftop antenna for a building.

또한, 본 발명은 안테나 구조물의 상부에도 쉽게 설치할 수 있어, 상부로부터도 안테나를 효과적으로 보호할 수 있는 건물 옥상 안테나 위장용 펜스 조립모듈을 제공하는 것을 목적으로 한다.It is another object of the present invention to provide a fence assembly module for a building rooftop antenna capable of being easily installed on an upper part of an antenna structure and effectively protecting the antenna from above.

상기와 같은 목적을 달성하기 위한 본 발명의 건물 옥상 안테나 위장용 펜스 조립모듈은 소정의 길이를 갖는 바 형상으로, 적어도 일 측면에는 길이 방향으로 절개되는 슬라이딩 홈이 형성되고, 양 단부의 측면 중앙에는 제1 장착홈이 형성되는 프레임; 소정의 두께, 폭 및 길이를 갖는 플레이트 형상으로, 양 단부의 측면에는 상기 제1 장착홈과 동일한 형상의 제2 장착 홈이 형성되는 패널; 상기 프레임의 슬라이딩 홈에 대응하는 형상의 슬라이딩 돌기를 갖는 제1 체결부재; 및 상기 제1 장착홈 또는 상기 제2 장착홈에 대응하는 형상의 장착돌기를 갖는 제2 체결부재;를 포함하되, 상기 제1 체결부재와 상기 제2 체결부재는 서로 대응하는 형상의 체결돌기와 체결홈을 더 구비하여 체결이 이루어지도록 구성되는 것을 특징으로 한다.In order to accomplish the above object, the present invention provides a fence assembly module for a roof of a building, comprising: a bar having a predetermined length, at least one side of which is formed with a sliding groove cut in the longitudinal direction, A frame in which the first mounting groove is formed; A panel having a plate shape having a predetermined thickness, a width, and a length, and a second mounting groove having the same shape as that of the first mounting groove formed on both side ends thereof; A first fastening member having a sliding protrusion having a shape corresponding to a sliding groove of the frame; And a second fastening member having a mounting protrusion having a shape corresponding to the first mounting recess or the second mounting recess, wherein the first fastening member and the second fastening member are fastened with fastening protrusions of corresponding shapes, And a groove is further provided so as to be fastened.

또한, 상기 프레임은 단면이 사각 형상을 이루며, 상기 슬라이딩 홈은 수직으로 이웃하는 양 측면 또는 서로 마주하는 양 측면에 형성되는 것을 특징으로 한다.In addition, the frame has a rectangular cross section, and the sliding groove is formed on both side surfaces which are vertically adjacent to each other or on both sides facing each other.

또한, 상기 슬라이딩 홈과 상기 슬라이딩 돌기는 단면이 서로 대응하는 'T' 형상을 이루는 것을 특징으로 한다.In addition, the sliding groove and the sliding protrusion may have a 'T' shape corresponding to each other in cross section.

또한, 상기 제2 장착홈은 상기 패널 측면의 중심에서 편심된 양 측부에 형성되는 것을 특징으로 한다.Further, the second mounting groove is formed on both side portions eccentric from the center of the panel side surface.

또한, 상기 제1 체결부재와 상기 제2 체결부재는 상기 체결돌기와 상기 체결홈이 연결되는 축을 중심으로 회전 가능하도록 체결되고, 상기 체결돌기와 상기 체결홈은 서로 대응하는 볼 형상을 이루는 볼 조인트 구조로 체결되는 것을 특징으로 한다.The first fastening member and the second fastening member are coupled to each other so as to be rotatable about a shaft connected to the fastening protrusion and the fastening groove, and the fastening protrusion and the fastening groove are formed in a ball- And is fastened.

또한, 상기 제2 체결부재는 서로 대칭되는 한 쌍으로 분리되어 구성되는 것을 특징으로 한다. Further, the second fastening members may be separated into a pair symmetrical to each other.

그리고 상기와 같은 구성의 펜스 조립모듈을 이용하여 설치되는 본 발명의 건물 옥상 안테나 위장용 펜스는, 상기 프레임이 소정 간격을 이루면서 옥상 바닥면에 대하여 직립되도록 설치되는 다수의 포스트 바; 및, 상기 포스트 바 사이의 공간을 차폐하면서 한 쌍의 포스트 바에 조립되는 다수의 측부 패널;을 포함하되, 상기 측부 패널은, 상기 제2 체결부재의 상기 장착돌기가 상기 제2 장착홈에 삽입되고, 상기 제1 체결부재의 상기 슬라이딩 돌기가 상기 슬라이딩 홈에 삽입되면서 상기 포스트 바에 조립되는 것을 특징으로 한다.The fence for a building of a building according to the present invention, which is installed using a fence assembling module having the above-described structure, includes a plurality of post bars installed so that the frames stand at a predetermined interval and are erected with respect to the roof bottom; And a plurality of side panels that are assembled to the pair of post bars while shielding the space between the post bars, wherein the side panels are arranged such that the mounting projections of the second fastening members are inserted into the second mounting grooves And the sliding protrusion of the first fastening member is inserted into the sliding groove and assembled to the post bar.

또한, 상기 측부 패널은 상기 제2 체결부재가 측면의 중심에서 편심된 상기 제2 장착홈에 삽입되어 상기 측부 패널이 상기 제2 체결부재를 중심축으로 회전 가능하도록 조립되는 것을 특징으로 한다.The side panels may be inserted into the second mounting recesses eccentric from the center of the side surfaces of the second fastening members so that the side panels are assembled to be rotatable about the second fastening members about the center axis.

또한, 상기 건물 옥상 안테나 위장용 펜스는, 상기 프레임이 마주하는 한 쌍의 상기 포스트 바 상단부를 연결하면서 조립되는 다수의 크로스 바; 및 상기 크로스 바 사이의 공간을 차폐하면서 한 쌍의 크로스 바에 조립되는 다수의 상부 패널;을 더 포함하되, 상기 크로스 바는, 상기 제2 체결부재의 상기 장착돌기가 상기 포스트 바의 상기 제1 장착홈에 삽입되고, 상기 제1 체결부재의 상기 슬라이딩 돌기가 상기 크로스 바의 상기 슬라이딩 홈에 삽입되면서 상기 포스트 바에 조립되며, 상기 상부 패널은, 한 쌍의 상기 제2 체결부재의 상기 장착돌기가 상기 제2 장착홈에 삽입되고, 한 쌍의 상기 제1 체결부재의 상기 슬라이딩 돌기가 상기 크로스 바의 상기 슬라이딩 홈에 삽입되면서 상기 크로스 바에 조립되는 것을 특징으로 한다.Also, the building rooftop antenna camouflage fence may include a plurality of cross bars assembled while connecting a pair of the upper ends of the post bars facing the frame; And a plurality of upper panels that are assembled to a pair of cross bars while shielding the space between the cross bars, wherein the cross bars are configured such that the mounting projections of the second fastening members are engaged with the first mounting And the upper protrusions of the pair of second fastening members are inserted into the groove of the cross bar and inserted into the groove of the cross bar, And the sliding protrusions of the pair of first fastening members are inserted into the sliding groove of the cross bar and assembled to the cross bar.

상기와 같은 구성의 본 발명은 삽입 및 슬라이딩 방식으로 조립되어 설치가 용이하다.The present invention having the above-described structure is assembled in an insertion and sliding manner and is easy to install.

또한, 본 발명은 내외부를 차폐하는 패널이 바람에 의하여 회전되어 안테나 구조물을 향하여 원활한 통풍이 이루어지도록 함으로써, 안테나 구조물을 효과적으로 보호할 수 있다.Further, the present invention can effectively protect the antenna structure by allowing the panel for shielding the inside and the outside to be rotated by the wind to smoothly flow toward the antenna structure.

또한, 본 발명은 안테나 구조물의 상부에도 쉽게 설치할 수 있어, 상부로부터도 안테나를 효과적으로 보호할 수 있다.Further, the present invention can be easily installed on the upper part of the antenna structure, thereby effectively protecting the antenna from above.

도 1은 본 발명의 실시예에 따른 안테나 위장용 펜스의 제1 설치예를 나타낸 사시도,
도 2는 도 1의 주요부인 프레임과 패널의 제1 조립 구조를 보인 분해 사시도,
도 3은 도 1의 주요부인 프레임과 패널의 제2 조립 구조를 보인 분해 사시도,
도 4는 도 1의 안테나 위장용 펜스의 패널 유동 구조를 나타낸 단면도,
도 5는 도 1의 주요부인 프레임의 높이 조절 구조를 보인 사시도,
도 6은 본 발명의 다른 실시예에 따른 안테나 위장용 펜스의 제2 설치예를 나타낸 사시도,
도 7은 도 6의 주요부인 포스트 바와 크로스 바의 조립 구조를 보인 분해 사시도,
도 8은 도 6의 주요부인 크로스 바와 패널의 조립 구조를 보인 분해 사시도,
도 9는 본 발명의 실시예에 따른 펜스 조립모듈의 주요부인 제1 체결부재의 다른 예를 나타낸 사시도,
도 10은 도 9의 제1 체결부재의 조립 상태를 도시한 사시도이다.
1 is a perspective view showing a first installation example of an antenna fog for an antenna according to an embodiment of the present invention;
2 is an exploded perspective view showing a first assembly structure of a frame and a panel,
3 is an exploded perspective view showing a second assembly structure of a frame and a panel,
Fig. 4 is a cross-sectional view showing a panel flow structure of the antenna fogging fence of Fig. 1,
FIG. 5 is a perspective view showing a height adjustment structure of a main part of FIG. 1,
6 is a perspective view showing a second installation example of the antenna fogging fence according to another embodiment of the present invention,
7 is an exploded perspective view showing an assembly structure of a post bar and a cross bar,
8 is an exploded perspective view showing an assembly structure of a cross bar and a panel,
9 is a perspective view showing another example of the first fastening member which is a main part of the fence assembling module according to the embodiment of the present invention,
10 is a perspective view showing an assembled state of the first fastening member in Fig.

본 발명과 본 발명의 실시에 의해 달성되는 기술적 과제는 다음에서 설명하는 바람직한 실시예들에 의해 명확해질 것이다. 이하, 첨부된 도면을 참조하여 본 발명의 바람직한 실시예를 상세히 살펴보기로 한다. BRIEF DESCRIPTION OF THE DRAWINGS The above and other objects, features and advantages of the present invention will be more apparent from the following detailed description taken in conjunction with the accompanying drawings, in which: FIG. Hereinafter, preferred embodiments of the present invention will be described in detail with reference to the accompanying drawings.

도 1은 본 발명의 실시예에 따른 안테나 위장용 펜스의 제1 설치예를 나타낸 사시도이고, 도 2 및 도 3은 도 1의 주요부인 프레임과 패널의 조립 구조를 보인 분해도이며, 도 4는 도 1의 안테나 위장용 펜스의 패널 유동 구조를 나타낸 단면도이고, 도 5는 도 1의 주요부인 프레임의 높이 조절 구조를 보인 분해도이다.FIG. 1 is a perspective view showing a first installation example of an antenna camouflage fence according to an embodiment of the present invention, FIGS. 2 and 3 are exploded views showing an assembly structure of a frame and a panel, FIG. 5 is an exploded view showing a height adjustment structure of a frame, which is a main part of FIG. 1. FIG.

먼저, 도 1 내지 도 3에 도시된 바와 같이 본 발명의 건물 옥상 안테나 위장용 펜스는 가로 및 세로 방향으로 설치되어 지주를 형성하는 다수의 프레임(100), 각 프레임 사이를 차폐하는 다수의 패널(200) 및 패널(200)을 프레임(100)에 체결시키는 제1 및 제2 체결부재(300,400)를 포함한다.1 to 3, the fence for disposing of a building rooftop antenna according to the present invention includes a plurality of frames 100 installed in the lateral and longitudinal directions to form a post, a plurality of panels (not shown) 200 and the first and second fastening members 300, 400 for fastening the panel 200 to the frame 100.

상기 프레임(100)은 소정의 길이를 갖는 바 형상을 이루며, 안테나 구조물이 설치된 영역을 둘러싸면서 소정의 간격을 이루도록 건물 옥상의 바닥면에서 종 방향으로 설치되는 포스트 바(100p)와, 이웃하는 포스트 바(100p)의 상단부를 연결하면서 횡 방향으로 설치되는 크로스 바(도 6의 100c 참고)를 포함한다. 이하에서, 종 방향으로 설치되는 프레임을 포스트 바(post bar)로 혼용하고, 횡 방향으로 설치되는 프레임을 크로스 바(cross bar)로 혼용한다. 다수의 상기 포스트 바(100p)와 크로스 바(100c)들이 서로 체결되면서 내부 공간에 안테나 구조물을 수용한다. 이때, 포스트 바(100p)는 외부에서 안테나 구조물이 보이지 않도록 소정의 높이(길이)를 갖도록 설치된다.The frame 100 has a bar shape having a predetermined length and includes a post bar 100p installed in the longitudinal direction on the bottom surface of the roof of the building so as to surround the area where the antenna structure is installed, And a cross bar (see 100c in Fig. 6) that is installed laterally while connecting the upper end of the bar 100p. Hereinafter, the longitudinally mounted frame is used as a post bar and the laterally mounted frame is used as a cross bar. A plurality of the post bars 100p and the cross bars 100c are fastened to each other to receive the antenna structure in the inner space. At this time, the post bar 100p is installed to have a predetermined height (length) so that the antenna structure is not visible from the outside.

상기 패널(200)은 소정의 두께, 폭 및 길이를 갖는 플레이트 형상을 이루며, 양 단부가 제1,2 체결부재(300,400)를 매개로 포스트 바(100p)에 조립된다. 다수의 패널(200)은 건물 옥상의 바닥면(즉, 포스프 바의 하단부)에서 상측으로 연속적으로 조립되어 한 쌍의 포스트 바(100p) 사이의 측면 공간을 차폐한다.The panel 200 has a plate shape having a predetermined thickness, width, and length. Both ends of the panel 200 are assembled to the post bar 100p through the first and second fastening members 300 and 400. The plurality of panels 200 are successively assembled upward from the floor surface of the building roof (i.e., the lower end of the post bar) to shield the side space between the pair of post bars 100p.

따라서 본 발명의 제1 설치예에 따른 펜스는 안테나 구조물이 설치된 영역에 대응하여 해당 영역을 가리도록 다수의 포스트 바(100p)가 소정 간격으로 설치되고, 각 포스트 바(100p) 사이에서 다수의 패널(200)이 체결되어 안테나 구조물을 외부로부터 차폐한다.Therefore, the fence according to the first embodiment of the present invention has a plurality of post bars 100p arranged at predetermined intervals so as to cover a corresponding area corresponding to an area where the antenna structure is installed, and between the post bars 100p, (200) is fastened to shield the antenna structure from the outside.

이를 위한 펜스 모듈의 구체적인 구성과 조립 구조를 살펴본다.The concrete structure and the assembly structure of the fence module for this purpose will be described.

상기 프레임(100)은 소정의 길이를 가지면서 단면은 정사각 형상을 이루는 사각 프레임으로 구성될 수 있다. 프레임(100)은 열이나 빛 등의 외부적인 자연 환경에 우수한 내구성을 갖는 합성수지 소재로 구성되는 것이 바람직하다. 이러한 프레임(100)은 길이 방향을 따르는 측면에 제1 체결부재(300)가 조립되는 슬라이딩 홈(110)이 형성되고, 길이 방향 단부의 측면에 제2 체결부재(400)가 조립되는 제1 장착홈(120)이 형성된다. The frame 100 may be a square frame having a predetermined length and a square cross section. The frame 100 is preferably made of a synthetic resin material having excellent durability in an external natural environment such as heat or light. The frame 100 has a sliding groove 110 in which a first fastening member 300 is assembled on a side surface along a longitudinal direction and a first mounting member 400 on which a second fastening member 400 is assembled Grooves 120 are formed.

상기 슬라이딩 홈(110)은 프레임(100)의 길이 방향을 따라 형성되며, 적어도 일측 단부의 측면으로 노출되어 개구되면서 그 단면이 'T' 형상을 이루는것이 바람직하다. 또한, 슬라이딩 홈(110)은 사각 형상의 프레임(100)에 대하여, 도 2에 도시된 바와 같이 수직으로 이웃하는 양 측면 또는 도 3에 도시된 바와 같이 나란하게 마주하는 양 측면에 형성될 수 있다. 슬라이딩 홈(110)이 수직으로 이웃하는 양 측면에 형성되는 프레임(100)은 사각 형상의 펜스에 대하여 모서리부에 설치되고, 나란하게 마주하는 양 측면에 형성되는 프레임(100)은 모서리부 사이의 중앙부에 설치될 수 있다. 또한, 슬라이딩 홈(110)은 도 3에 도시된 바와 같이 서로 마주하는 양 측면과 함께 수직하는 어느 일 측면에도 더 형성되어, 프레임(100)이 모서리부 또는 중앙부의 어느 위치에 선택적으로 설치되도록 구성될 수도 있다.The sliding groove 110 may be formed along the longitudinal direction of the frame 100, and may have a T-shaped cross section while being exposed at a side of at least one end thereof. Further, the sliding grooves 110 may be formed on both sides of the rectangular frame 100, which are vertically adjacent to each other, as shown in Fig. 2, or on both sides facing each other as shown in Fig. 3 . The frame 100 formed on both sides of the sliding groove 110 on the vertically adjacent sides is provided at the corner with respect to the rectangular fence and the frame 100 formed at both sides facing each other in parallel is formed between the corner portions And can be installed in the central portion. 3, the sliding grooves 110 are formed on both side surfaces facing each other and perpendicular to each other, so that the frame 100 is selectively installed at any position of the corner portion or the central portion .

상기 제1 장착홈(120)은 정사각 형상을 이루면서, 프레임(100) 단면의 대략 중앙 영역에 형성된다. 이때, 제1 장착홈(120)은 다수의 상기 슬라이딩 홈(110)과는 서로 간섭되지 않는 위치에 형성되어야 한다.The first mounting groove 120 is formed in a substantially central region of a cross section of the frame 100 in a square shape. At this time, the first mounting groove 120 should be formed at a position where the first mounting groove 120 does not interfere with the plurality of the sliding grooves 110.

상기 패널(200)은 소정의 두께, 폭 및 길이를 가지면서 단면은 직사각 형상을 이루는 플레이트로 구성된다. 패널(200)은 열이나 빛 등의 외부적인 자연 환경에 우수한 내구성을 갖는 합성수지 소재로 구성되는 것이 바람직하다. 이러한 패널(200)은 길이 방향의 양 측면에 제2 체결부재(400)가 조립되는 제2 장착홈(210)이 형성된다.The panel 200 is formed of a plate having a predetermined thickness, width, and length and having a rectangular cross section. The panel 200 is preferably made of a synthetic resin material having excellent durability in an external natural environment such as heat or light. The panel 200 is formed with a second mounting groove 210 in which the second fastening member 400 is assembled on both sides in the longitudinal direction.

상기 제2 장착홈(210)은 프레임(100)의 제1 장착홈(120)과 동일한 크기의 정사각 형상을 이루면서, 직사각 형상인 패널의 단면에 대하여 길이 방향 양 측부에 각각 형성된다. 즉, 상기 제2 장착홈(210)은 패널(200)의 측단면 중앙에서 양 측으로 편심되는 위치에서 한 쌍으로 형성된다.The second mounting recesses 210 are formed on both sides of the longitudinal direction with respect to the cross section of the rectangular panel, which has the same size as the first mounting recess 120 of the frame 100. That is, the second mounting grooves 210 are formed in pairs at positions eccentric to both sides at the center of the side surface of the panel 200.

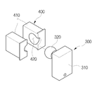
상기 제1 체결부재(300)는 패널(200)을 프레임(100)에 조립시키는 구성으로, 프레임(100)에 조립되는 슬라이딩 돌기(310)와, 제2 체결부재(400)와 조립되기 위한 체결돌기(320)로 구성된다. The first fastening member 300 has a structure in which the panel 200 is assembled to the frame 100 and includes a sliding protrusion 310 assembled to the frame 100 and a fastening member 310 fastened to the second fastening member 400 And a protrusion 320.

상기 슬라이딩 돌기(310)는 프레임(100)의 슬라이딩 홈(110)의 형상에 대응하는 'T' 형상을 이룬다. 즉, 프레임(100)의 슬라이딩 홈(110)과 제1 체결부재(300)의 슬라이딩 돌기(310)는 서로 대응하는 'T' 형상의 레일 구조를 이루며, 슬라이딩 돌기(310)가 프레임(100)의 단부에서 슬라이딩 홈(110)에 삽입되고 길이 방향을 따라 슬라이딩되면서 조립된다.The sliding protrusion 310 has a 'T' shape corresponding to the shape of the sliding groove 110 of the frame 100. That is, the sliding groove 110 of the frame 100 and the sliding protrusion 310 of the first fastening member 300 form a 'T' shaped rail structure corresponding to each other. When the sliding protrusion 310 is inserted into the frame 100, And is assembled while being slid along the longitudinal direction.

상기 체결돌기(320)는 슬라이딩 돌기의 일측 단부에서 둥근 볼(ball) 형상으로 돌출되며, 제2 체결부재(400)에 조립된다.The fastening protrusion 320 protrudes in the form of a ball at one end of the sliding protrusion and is assembled to the second fastening member 400.

상기 제2 체결부재(400)는 제1 체결부재(300)와 연결되어 패널(200)을 프레임(100)에 조립시키는 구성으로, 패널(200)의 제2 장착홈(210)에 삽입되기 위하여 단면이 정사각 형상을 이루는 육면체의 장착돌기(410)와 상기 제1 체결부재(300)의 체결돌기(320)가 조립되기 위하여 상기 장착돌기(410)의 일측면에 형성되는 체결홈(420)으로 구성된다. 상기 체결홈(420)은 상기 체결돌기(320)에 대응하는 볼 형상의 홈을 이룬다. 또한, 상기 제2 체결부재(400)는 상기 장착돌기(410)의 과삽입을 방지하기 위하여 장착돌기(410)의 가장자리를 따라 형성되는 걸림리브(430)를 포함한다.The second fastening member 400 is connected to the first fastening member 300 to assemble the panel 200 to the frame 100. In order to be inserted into the second mounting recess 210 of the panel 200, A locking protrusion 410 of a hexagonal shape having a square cross section and a locking groove 420 formed at one side of the mounting protrusion 410 for assembling the locking protrusion 320 of the first locking member 300 . The fastening groove 420 has a ball-like groove corresponding to the fastening protrusion 320. The second fastening member 400 includes a fastening rib 430 formed along an edge of the mounting protrusion 410 to prevent overfitting of the fastening protrusion 410. [

즉, 상기 제1 체결부재(300)와 제2 체결부재(400)는 서로 연결되면서 프레임(100)과 패널(200)을 조립시키는 구성이다. 이를 위하여 제1 체결부재(300)의 일측에는 프레임(100)에 조립되기 위한 슬라이딩 돌기(310)를 형성하고, 제2 체결부재(400)의 일측에는 패널(200)에 조립되기 위한 장착돌기(410)를 형성하며, 제1 체결부재(300)와 제2 체결부재(400)의 연결 측에는 서로 대응하는 형상의 체결돌기(320)와 체결홈(420)이 각각 형성된다. That is, the first fastening member 300 and the second fastening member 400 are connected to each other to assemble the frame 100 and the panel 200 together. A sliding protrusion 310 for assembling to the frame 100 is formed at one side of the first fastening member 300 and a mounting protrusion 310 for assembling to the panel 200 is formed at one side of the second fastening member 400 And a fastening protrusion 320 and a fastening groove 420 having a shape corresponding to each other are formed on the connection side of the first fastening member 300 and the second fastening member 400.

특히, 본 발명의 제1 체결부재(300)와 제2 체결부재(400)는 서로 연결되는 중심을 축으로 회전 가능하도록 체결이 이루어지며, 이를 위한 체결돌기(320)와 체결홈(420)은 볼 조인트(ball joint) 체결 구조를 이룰 수 있다. 여기서, 체결돌기(320)가 제1 체결부재(300)에 형성되고 체결홈(420)이 제2 체결부재(400)에 형성되는 구성을 예시하였으나, 체결홈(420)이 제1 체결부재(300)에 형성되고 체결돌기(320)가 제2 체결부재(400)에 형성되는 구성도 가능하다. 또한, 제1 체결부재(300)와 제2 체결부재(400)의 볼 조인트 체결 구조는 연결 축을 중심으로 하는 회전뿐만 아니라 패널(200)이 프레임(100)을 축으로 방사상의 다양한 방향으로 회전 가능하므로, 프레임(100)과 패널(200)의 조립이 더욱 용이하고 효율적으로 이루어질 수 있다. Particularly, the first fastening member 300 and the second fastening member 400 of the present invention are fastened together so as to be rotatable about the center axis, and the fastening protrusion 320 and the fastening groove 420 A ball joint fastening structure can be achieved. Here, the fastening protrusion 320 is formed in the first fastening member 300 and the fastening groove 420 is formed in the second fastening member 400, but the fastening groove 420 may be formed in the first fastening member 300 and the fastening protrusions 320 may be formed on the second fastening member 400. In addition, the ball joint fastening structure of the first fastening member 300 and the second fastening member 400 can rotate not only about the connection shaft but also the panel 200 in various directions radially about the frame 100 Therefore, the frame 100 and the panel 200 can be assembled more easily and efficiently.

상기와 같은 구성의 펜스 조립모듈을 이용한 펜스의 조립은 도 2 및 도 3에 도시된 바와 같이, 패널(200)의 양 측면에 제1 체결부재(300)와 제2 체결부재(400)가 조립된다. 제1 체결부재(300)와 제2 체결부재(400)는 체결돌기(320)와 체결홈(420)이 볼 조인트 구조로 연결되어 하나의 체결모듈을 구성할 수 있으며, 제2 체결부재(400)의 장착돌기(410)가 패널의 제2 장착홈(210)에 삽입되어 패널(200)과 조립이 이루어진다. 이때, 제2 체결부재(400)는 상하 방향 폭을 갖는 패널(200)의 측면에 대하여 상부의 제2 장착홈(210)에 삽입되면서 체결된다. As shown in FIGS. 2 and 3, the first and second fastening members 300 and 400 are assembled on both sides of the panel 200, do. The first fastening member 300 and the second fastening member 400 are connected to each other by a ball joint structure so that the fastening protrusions 320 and the fastening grooves 420 can constitute one fastening module, Is inserted into the second mounting groove 210 of the panel so as to be assembled with the panel 200. At this time, the second fastening member 400 is inserted into the upper second mounting groove 210 with respect to the side surface of the panel 200 having the vertical width.

이와 같이 패널(200)의 양 단부에 제1,2 체결부재(300,400)가 조립된 상태에서 도 2 및 도 3에서와 같이 소정 간격 이격되어 설치된 포스트 바(100p)의 슬라이딩 홈(110)에 제1 체결부재(300)의 슬라이딩 돌기(310)을 삽입시켜 패널(200)을 조립한다. 제1,2 체결부재(300,400)를 매개로 슬라이딩 조립되는 패널(200)은 제1 체결부재(300)와 포스트 바(100p)를 관통하는 스크류(330)에 의하여 포스트 바(100p)의 특정 위치에 고정될 수 있다. 이와 같이 포스트 바(100p)의 상측에서 하측 방향으로 다수의 패널(200)을 순차적으로 슬라이딩 삽입시키는 과정으로 펜스의 설치가 이루어진다. 이때, 펜스 최상단의 마감은 포스트 바(100p)을 횡 방향으로 연결하도록 설치되는 크로스 바(100c)에 의하여 이루어질 수 있다.2 and 3, in a state where the first and second fastening members 300 and 400 are assembled to both ends of the panel 200, the first and second fastening members 300 and 400 are fixed to the sliding groove 110 of the post bar 100p, The panel 200 is assembled by inserting the sliding protrusions 310 of the first fastening member 300. The panel 200 slidably assembled via the first and second fastening members 300 and 400 is fixed to the specific position of the post bar 100p by the screw 330 passing through the first fastening member 300 and the post bar 100p, As shown in FIG. In this manner, the fences are installed by sequentially slidingly inserting the plurality of panels 200 in the downward direction from above the post bar 100p. At this time, the top end of the fence may be formed by a cross bar 100c installed to connect the post bars 100p in the lateral direction.

한편, 패널(200)은 상하 방향의 폭을 갖는 플레이트에 대하여 상측으로 편향된 제2 장착홈(420)을 축으로 조립이 이루어지고, 제1 체결부재(300)와 제2 체결부재(400)는 체결 축을 중심으로 회전 가능하다. 따라서, 도 4에 도시된 바와 같이 패널(200)은 프레임(100)에 조립된 상태에서 제1 체결부재(300)와 제2 체결부재(400)를 축으로 회전 가능하게 된다. 패널(200)의 회전은 바람에 의하여 이루어지며, 바람이 불지 않을 때는 패널이 수직 방향을 이루어 내외부가 차폐되지만, 바람이 불때는 소정의 각도로 회전되어 내외부가 관통되면서 외부의 바람이 내부로 유입된다.The first and second fastening members 300 and 400 are assembled together with the second mounting groove 420 deflected upward with respect to the plate having the width in the vertical direction, It is rotatable about the fastening axis. Accordingly, as shown in FIG. 4, the panel 200 is rotatable about the first fastening member 300 and the second fastening member 400 in a state where the panel 200 is assembled to the frame 100. The panel 200 is rotated by the wind. When the wind is not blowing, the panel is vertically oriented so that the inside and the outside are shielded. However, when the wind is blown, the inside and outside of the panel 200 are rotated, do.

즉, 본 발명의 펜스는 바람이 불지 않을 때는 내외부를 차폐하여 외부의 이물질이나 조류 등이 안테나 구조물로 유입되는 것을 방지하면서, 바람이 불때는 외부의 바람을 내부로 유입시켜 안테나 구조물 내에서 발생되는 열을 방출시키게 된다. 이와 같이 본 발명의 펜스는 안테나 구조물을 외부로부터 차폐함과 동시에 내부의 열도 효율적으로 방출시킬 수 있어 안테나 구조물이 안정적으로 운영될 수 있도록 한다. 이때, 다수의 패널(200)에 대하여 간헐적으로 특정 패널(200) 단면에서 양 측부의 제2 장착홈(210) 모두에 제1,2 체결부재(300,400)를 조립하여 해당 패널(200)은 회전되지 않도록 할 수도 있을 것이다. That is, the fence of the present invention shields the inside and the outside when the wind is not blowing, thereby preventing foreign matter or algae from entering the antenna structure, while blowing outside air into the antenna structure when the wind is blowing, Heat is released. As described above, the fence of the present invention can shield the antenna structure from the outside and efficiently discharge the heat inside the fence, so that the antenna structure can be stably operated. At this time, the first and second fastening members 300 and 400 are assembled intermittently in all of the second mounting recesses 210 on both sides in the end face of the specific panel 200 with respect to the plurality of panels 200, It can be done.

또한, 본 발명의 펜스는 포스트 바(100p)가 건물 옥상의 바닥면에 직립되도록 설치되며, 포스트 바(100p)의 높이 조절이 가능하도록 설치된다. 이를 위한 펜스는 도 5에 도시된 바와 같이, 옥상 바닥면에 앙카 등을 이용한 기초 블록(500)이 고정 설치되고, 기초 블록(500)의 상부에서 높이 조절을 위한 제3 체결부재(600)가 체결된다. 제3 체결부재(600)는 포스트 바(100p)의 제1 장착홈(120)에 삽입되기 위하여 단면이 정사각 형상을 이루는 육면체의 블록 형상을 이루며, 내부에는 기초 블록(500)의 나사산에 대응하는 나사산을 가진 스크류 홈(610)이 형성된다. 상기 제3 체결부재(600)가 스크류 구조로 상기 기초 블록(500)에 체결되면서 높이가 조절될 수 있으며, 포스트 바(100p)는 상기 기초 블록(500)에 대한 상기 제3 체결부재(600)의 체결 위치에 따라 설치되는 높이가 조절된다.In addition, the fence of the present invention is installed so that the post bar 100p stands upright on the bottom surface of the roof of the building, and the height of the post bar 100p is adjustable. 5, a base block 500 using an anchor or the like is fixedly installed on the floor of the roof, and a third fastening member 600 for height adjustment is provided on the base block 500 Respectively. The third fastening member 600 has a hexahedral block shape having a square cross section so as to be inserted into the first mounting groove 120 of the post bar 100p, A screw groove 610 having a thread is formed. The post bar 100p may be attached to the third fastening member 600 with respect to the base block 500. In this case, The height to be installed is adjusted according to the fastening position.

도 6은 본 발명의 다른 실시예에 따른 안테나 위장용 펜스의 제2 설치예를 나타낸 사시도이고, 도 7은 도 6의 주요부인 포스트 바와 크로스 바의 조립 구조를 보인 분해 사시도이며, 도 8은 도 6의 주요부인 크로스 바와 패널의 조립 구조를 보인 분해 사시도이다.6 is an exploded perspective view showing an assembly structure of a post bar and a cross bar, which is a main part of Fig. 6, and Fig. 8 is an exploded perspective view of the cross bar according to another embodiment of the present invention. 6 is an exploded perspective view showing the assembled structure of a cross bar and a panel.

본 발명의 안테나 위장용 펜스의 제2 설치예는 펜스가 안테나 구조물의 상부를 차폐하도록 설치된다. 이를 위한 제2 설치예는, 도 6에 도시된 바와 같이 다수의 포스트 바(100p) 상단을 연결하는 크로스 바(100c)가 더 조립된다.The second installation example of the antenna camouflage fence of the present invention is such that the fence shields the top of the antenna structure. In the second installation example, a cross bar 100c connecting the upper ends of the plurality of post bars 100p is further assembled as shown in FIG.

포스트 바(100p)와 크로스 바(100c)의 조립은, 도 7에 도시된 바와 같이 포스트 바(100p)의 상단 제1 장착홈(120)에 제2 체결부재(400)의 장착돌기(410)를 삽입하여 제2 체결부재(400)를 포스트 바(100p)에 조립한다. 그리고 제1 체결부재(300)는 슬리이딩 돌기(310)를 크로스 바(100c)의 하측면 슬라이딩 홈(110)에 삽입하여 체결한다. 이때, 제1 체결부재(300)와 제2 체결부재(400)는 미리 조립되어 하나의 체결모듈을 이룰 수 있다. 이와 같은 제1 체결돌기(320) 및 제2 체결돌기(320)를 매개로 크로스 바(100c)는 포스트 바(100p)에 조립되며, 크로스 바(100c)는 길이 방향의 양 단부에서 포스트 바(100p)와 조립된다. 이때, 크로스 바(100c)는 다른 슬라이딩 홈(110)이 패널(200)이 조립되는 수평 방향의 측면을 향하도록 조립된다.The post bar 100p and the cross bar 100c are assembled by attaching the mounting protrusion 410 of the second fastening member 400 to the upper first mounting groove 120 of the post bar 100p, The second fastening member 400 is assembled to the post bar 100p. The first fastening member 300 is inserted into the lower side sliding groove 110 of the cross bar 100c and fastened. At this time, the first fastening member 300 and the second fastening member 400 may be assembled in advance to form one fastening module. The cross bar 100c is assembled to the post bar 100p through the first fastening protrusion 320 and the second fastening protrusion 320. The cross bar 100c is fixed to the post bar 100c at both ends in the longitudinal direction 100p. At this time, the cross bar 100c is assembled such that the other sliding grooves 110 are directed to the side of the horizontal direction in which the panel 200 is assembled.

그리고 포스트 바(100p)와 크로스 바(100c)가 조립된 후, 한 쌍의 크로스 바(100c) 사이를 따라 패널(200)이 조립되면서 상부 공간을 차폐하게 된다. 크로스 바(100c)와 패널(200)의 조립은, 도 8에 도시된 바와 같이, 패널(200)의 제2 장착홈(210)에 제2 체결부재(400)가 삽입된다. 이때, 제2 체결부재(400)는 패널(200) 단면에 형성되는 양 측부의 제2 장착홈(210)에 모두 조립된다. 따라서 패널(200)은 크로스 바(100c)에 조립된 후 폭 방향 양 단부에서 제1,2 체결부재(300,400)에 의하여 지지되므로 수평 방향이 유지되어 상부 방향을 차폐한다.After the post bar 100p and the cross bar 100c are assembled, the panel 200 is assembled along the pair of cross bars 100c to cover the upper space. As shown in FIG. 8, the second fastening member 400 is inserted into the second mounting groove 210 of the panel 200, in order to assemble the cross bar 100c and the panel 200. FIG. At this time, the second fastening member 400 is assembled to the second mounting grooves 210 on both sides of the panel 200. Accordingly, since the panel 200 is assembled to the cross bar 100c and then supported by the first and second fastening members 300 and 400 at both ends in the width direction, the panel 200 is held in the horizontal direction to shield the upper direction.

그리고 길이 방향 양 단부에 한 쌍의 제1,2 체결부재(300,400)가 조립된 패널(200)은 제1 체결부재(300)의 슬라이딩 돌기(310)가 크로스 바(100c)의 슬라이딩 홈(110)을 따라 슬라이딩 삽입되면서 크로스 바(100c)에 조립된다. 이와 같이 크로스 바(100c)의 일측에서 수평 방향으로 다수의 패널(200)을 순차적으로 슬라이딩 삽입시키는 과정으로 상부를 차폐하는 펜스의 설치가 이루어진다. 이때, 간헐적으로 패널(200) 단면에서 어느 일측의 제2 장착홈(210)에만 제1,2 체결부재(300,400)를 조립하여 해당 패널(200)이 크로스 바(100c)에 조립된 상태에서 수직 방향으로 회전되도록 함으로써, 상부 펜스에 개구부를 형성할 수도 있을 것이다. The panel 200 in which the pair of first and second fastening members 300 and 400 are assembled at both ends in the longitudinal direction has a structure in which the sliding protrusion 310 of the first fastening member 300 is inserted into the sliding groove 110 of the cross bar 100c And is assembled to the cross bar 100c. In this way, a plurality of panels 200 are slid sequentially inserted from one side of the cross bar 100c in the horizontal direction, thereby installing a fence for shielding the upper portion. At this time, the first and second fastening members 300 and 400 are intermittently assembled to only one of the second mounting recesses 210 on the cross section of the panel 200, and the panel 200 is assembled to the cross bar 100c in the vertical The opening may be formed in the upper fence.

이와 같이 본 발명의 펜스 조립모듈은 조립 방식에 따라 안테나 구조물의 측부뿐만 아니라 상부까지 차폐할 수 있다.As described above, the fence assembly module according to the present invention can shield up to the side of the antenna structure as well as the top according to the assembly method.

도 9는 본 발명의 실시예에 따른 펜스 조립모듈의 주요부인 제2 체결부재의 다른 예를 나타낸 사시도이고, 도 10은 도 9의 제2 체결부재의 조립 상태를 도시한 사시도이다.FIG. 9 is a perspective view showing another example of the second fastening member which is a main part of the fence assembling module according to the embodiment of the present invention, and FIG. 10 is a perspective view showing an assembled state of the second fastening member in FIG.

본 발명의 실시예에 따른 펜스 조립모듈에서 제1 체결부재(300)와 제2 체결부재(400)는 볼 조인트 체결 구조를 이룬다. 이를 위하여 체결홈(420)이 형성되는 제2 체결부재(420)는 도 9에 도시된 바와 같이 서로 분리되는 한 쌍의 블록으로 구성된다. 즉, 제2 체결부재(400)는 서로 대칭되는 형상으로 분리되며, 체결홈(420) 내부에 제1 체결부재(300)의 볼 형상의 체결돌기(320)를 위치시킨 후 서로 결합된다. 그리고, 하나로 결합된 제2 체결부재(400)는 도 10에 도시된 바와 같이 장착돌기(410)가 패널(200)의 제2 장착홈(210)에 삽입되면서 결합이 유지되며, 결국, 제1 체결부재(300)와 제2 체결부재(400)의 볼 조인트 체결이 유지된다. In the fence assembling module according to the embodiment of the present invention, the first fastening member 300 and the second fastening member 400 form a ball joint fastening structure. The second fastening member 420, on which the fastening groove 420 is formed, is formed of a pair of blocks separated from each other as shown in FIG. That is, the second fastening members 400 are separated into symmetrical shapes, and the ball-shaped fastening protrusions 320 of the first fastening member 300 are positioned within the fastening grooves 420 and then are coupled with each other. 10, the coupling protrusion 410 is inserted into the second fitting groove 210 of the panel 200, and the coupling is maintained. As a result, the first and second coupling members 400, The ball joint fastening between the fastening member 300 and the second fastening member 400 is maintained.

이상에서 본 발명에 있어서, 실시예를 참고로 설명되었으나, 본 기술분야의 통상의 지식을 가진 자라면 이로부터 다양한 변형 및 균등한 타 실시예가 가능하다는 점을 이해할 것이다.While the present invention has been particularly shown and described with reference to exemplary embodiments thereof, it will be understood by those skilled in the art that various changes and modifications may be made without departing from the scope of the present invention.

100 : 프레임
100p : 포스트 바 100c : 크로스 바
110 : 슬라이딩 홈 120 : 제1 장착홈
200 : 패널 210 : 제2 장착홈
300 : 제1 체결부재
310 : 슬라이딩 돌기 320 : 체결돌기
400 : 제2 체결부재
410 : 장착돌기 420 : 체결홈
100: frame
100p: post bar 100c: cross bar
110: sliding groove 120: first mounting groove
200: panel 210: second mounting groove
300: first fastening member
310: sliding protrusion 320: fastening protrusion
400: second fastening member
410: mounting projection 420: fastening groove

Claims (10)

소정의 길이를 갖는 바 형상으로, 적어도 일 측면에는 길이 방향으로 절개되는 슬라이딩 홈이 형성되고, 양 단부의 측면 중앙에는 제1 장착홈이 형성되는 프레임;
소정의 두께, 폭 및 길이를 갖는 플레이트 형상으로, 양 단부의 측면에는 상기 제1 장착홈과 동일한 형상의 제2 장착 홈이 형성되는 패널;
상기 프레임의 슬라이딩 홈에 대응하는 형상의 슬라이딩 돌기를 갖는 제1 체결부재; 및
상기 제1 장착홈 및 상기 제2 장착홈에 대응하는 형상의 장착돌기를 갖는 제2 체결부재;를 포함하되,
상기 제1 체결부재와 상기 제2 체결부재는 서로 대응하는 형상의 체결돌기와 체결홈을 더 구비하여 체결이 이루어지도록 구성되는 것을 특징으로 하는 건물 옥상 안테나 위장용 펜스 조립모듈.
A frame having a bar shape having a predetermined length, a sliding groove formed at least on one side surface thereof in the longitudinal direction, and a first mounting groove formed on a side of the side surface at both ends;
A panel having a plate shape having a predetermined thickness, a width, and a length, and a second mounting groove having the same shape as that of the first mounting groove formed on both side ends thereof;
A first fastening member having a sliding protrusion having a shape corresponding to a sliding groove of the frame; And
And a second fastening member having a mounting protrusion of a shape corresponding to the first mounting groove and the second mounting groove,
Wherein the first fastening member and the second fastening member are further configured to have fastening protrusions and fastening grooves corresponding to each other to be fastened.
제1항에 있어서, 상기 프레임은,
단면이 사각 형상을 이루며, 상기 슬라이딩 홈은 수직으로 이웃하는 양 측면 또는 서로 마주하는 양 측면에 형성되는 것을 특징으로 하는 건물 옥상 안테나 위장용 펜스 조립모듈.
The apparatus of claim 1,
And the sliding groove is formed on both side surfaces of the adjacent vertically adjacent sides or opposite side surfaces facing each other.
제1항에 있어서, 상기 슬라이딩 홈과 상기 슬라이딩 돌기는,
단면이 서로 대응하는 'T' 형상을 이루는 것을 특징으로 하는 건물 옥상 안테나 위장용 펜스 조립모듈.
[2] The apparatus as claimed in claim 1, wherein the sliding groove and the sliding protrusion comprise:
Wherein the cross-section of the fence assembly has a 'T' shape corresponding to a cross section of the fence.
제1항에 있어서, 상기 제2 장착홈은,
상기 패널 측면의 중심에서 편심된 양 측부에 형성되는 것을 특징으로 하는 건물 옥상 안테나 위장용 펜스 조립모듈.
The apparatus according to claim 1,
Wherein the panel is formed on both side portions eccentric from the center of the panel side.
제1항에 있어서, 상기 제1 체결부재와 상기 제2 체결부재는,
상기 체결돌기와 상기 체결홈이 연결되는 축을 중심으로 회전 가능하도록 체결되는 것을 특징으로 하는 건물 옥상 안테나 위장용 펜스 조립모듈.
The connector according to claim 1, wherein the first fastening member and the second fastening member
Wherein the fastening protrusion is fastened to be rotatable about an axis connecting the fastening protrusion and the fastening groove.
제5항에 있어서, 상기 제1 체결부재와 상기 제2 체결부재는,
상기 체결돌기와 상기 체결홈은 서로 대응하는 볼 형상을 이루는 볼 조인트 구조로 체결되는 것을 특징으로 하는 건물 옥상 안테나 위장용 펜스 조립모듈.
The connector according to claim 5, wherein the first fastening member and the second fastening member
Wherein the fastening protrusion and the fastening groove are fastened to each other by a ball joint structure having a ball shape corresponding to each other.
제6항에 있어서, 상기 제2 체결부재는,
서로 대칭되는 한 쌍으로 분리되어 구성되는 것을 특징으로 하는 건물 옥상 안테나 위장용 펜스 조립모듈.
The connector according to claim 6, wherein the second fastening member
Wherein the first and second antennas are separated from each other by symmetrical pairs.
제1항 내지 제8항 중 어느 한 항의 펜스 조립모듈을 이용하여 설치되는 건물 옥상 안테나 위장용 펜스에 있어서,
상기 프레임이 소정 간격을 이루면서 옥상 바닥면에 대하여 직립되도록 설치되는 다수의 포스트 바; 및,
상기 포스트 바 사이의 공간을 차폐하면서 한 쌍의 포스트 바에 조립되는 다수의 측부 패널;을 포함하되,
상기 측부 패널은, 상기 제2 체결부재의 상기 장착돌기가 상기 제2 장착홈에 삽입되고, 상기 제1 체결부재의 상기 슬라이딩 돌기가 상기 슬라이딩 홈에 삽입되면서 상기 포스트 바에 조립되는 것을 특징으로 하는 건물 옥상 안테나 위장 펜스.
A building rooftop antenna gastrointestinal fence installed using a fence assembly module according to any one of claims 1 to 8,
A plurality of post bars installed so that the frames stand upright with respect to a roof top surface at predetermined intervals; And
And a plurality of side panels that are assembled to the pair of post bars while shielding the space between the post bars,
Wherein the side panel is assembled to the post bar while the mounting projection of the second fastening member is inserted into the second mounting groove and the sliding protrusion of the first fastening member is inserted into the sliding groove. Rooftop antenna camouflage fence.
제8항에 있어서, 상기 측부 패널은,
상기 제2 체결부재가 측면의 중심에서 편심된 상기 제2 장착홈에 삽입되어 상기 측부 패널이 상기 제2 체결부재를 중심축으로 회전 가능하도록 조립되는 것을 특징으로 하는 건물 옥상 안테나 위장 펜스.
9. The side panel as claimed in claim 8,
Wherein the second fastening member is inserted into the second mounting groove which is eccentric from the center of the side surface so that the side panel is assembled so as to be rotatable about the second fastening member about the center axis.
제8항에 있어서,
상기 프레임이 마주하는 한 쌍의 상기 포스트 바 상단부를 연결하면서 조립되는 다수의 크로스 바; 및
상기 크로스 바 사이의 공간을 차폐하면서 한 쌍의 크로스 바에 조립되는 다수의 상부 패널;을 더 포함하되,
상기 크로스 바는, 상기 제2 체결부재의 상기 장착돌기가 상기 포스트 바의 상기 제1 장착홈에 삽입되고, 상기 제1 체결부재의 상기 슬라이딩 돌기가 상기 크로스 바의 상기 슬라이딩 홈에 삽입되면서 상기 포스트 바에 조립되며,
상기 상부 패널은, 한 쌍의 상기 제2 체결부재의 상기 장착돌기가 상기 제2 장착홈에 삽입되고, 한 쌍의 상기 제1 체결부재의 상기 슬라이딩 돌기가 상기 크로스 바의 상기 슬라이딩 홈에 삽입되면서 상기 크로스 바에 조립되는 것을 특징으로 하는 건물 옥상 안테나 위장 펜스.
9. The method of claim 8,
A plurality of cross bars assembled while connecting a pair of the upper ends of the post bars facing the frame; And
And a plurality of upper panels that are assembled to the pair of cross bars while shielding the space between the cross bars,
Wherein the cross bar is formed such that the mounting projection of the second fastening member is inserted into the first mounting groove of the post bar and the sliding projection of the first fastening member is inserted into the sliding groove of the cross bar, Assembled in a bar,
Wherein the upper panel is configured such that the mounting protrusions of the pair of second fastening members are inserted into the second mounting groove and the sliding protrusions of the pair of first fastening members are inserted into the sliding groove of the cross bar Wherein the antenna is assembled to the crossbar.
KR1020170093417A 2017-07-24 2017-07-24 Fence assembly for antenna of base station Abandoned KR20190011025A (en)

Priority Applications (1)

Application Number Priority Date Filing Date Title
KR1020170093417A KR20190011025A (en) 2017-07-24 2017-07-24 Fence assembly for antenna of base station

Applications Claiming Priority (1)

Application Number Priority Date Filing Date Title
KR1020170093417A KR20190011025A (en) 2017-07-24 2017-07-24 Fence assembly for antenna of base station

Publications (1)

Publication Number Publication Date
KR20190011025A true KR20190011025A (en) 2019-02-01

Family

ID=65368047

Family Applications (1)

Application Number Title Priority Date Filing Date
KR1020170093417A Abandoned KR20190011025A (en) 2017-07-24 2017-07-24 Fence assembly for antenna of base station

Country Status (1)

Country Link
KR (1) KR20190011025A (en)

Cited By (4)

* Cited by examiner, † Cited by third party
Publication number Priority date Publication date Assignee Title
KR20220023422A (en) * 2020-08-21 2022-03-02 김가훈 Screen fence for the base station antenna
KR102431582B1 (en) * 2021-11-24 2022-08-11 (주)젠트로그룹 Prefabricated mobile communication antenna screen
KR102440565B1 (en) * 2021-06-24 2022-09-05 김남진 Antenna camouflage device having a function outdoor advertsing
KR102440572B1 (en) * 2021-06-24 2022-09-05 김남진 Antenna camouflage device

Citations (2)

* Cited by examiner, † Cited by third party
Publication number Priority date Publication date Assignee Title
KR100777005B1 (en) 2006-06-12 2007-11-16 주식회사 케이티프리텔 Antenna protective member, manufacturing method of the protective member, and antenna protective device using the same
KR101431243B1 (en) 2014-05-09 2014-08-18 (주)비디씨 Fence for Antenna of base station

Patent Citations (2)

* Cited by examiner, † Cited by third party
Publication number Priority date Publication date Assignee Title
KR100777005B1 (en) 2006-06-12 2007-11-16 주식회사 케이티프리텔 Antenna protective member, manufacturing method of the protective member, and antenna protective device using the same
KR101431243B1 (en) 2014-05-09 2014-08-18 (주)비디씨 Fence for Antenna of base station

Cited By (4)

* Cited by examiner, † Cited by third party
Publication number Priority date Publication date Assignee Title
KR20220023422A (en) * 2020-08-21 2022-03-02 김가훈 Screen fence for the base station antenna
KR102440565B1 (en) * 2021-06-24 2022-09-05 김남진 Antenna camouflage device having a function outdoor advertsing
KR102440572B1 (en) * 2021-06-24 2022-09-05 김남진 Antenna camouflage device
KR102431582B1 (en) * 2021-11-24 2022-08-11 (주)젠트로그룹 Prefabricated mobile communication antenna screen

Similar Documents

Publication Publication Date Title
US20190338557A1 (en) Fence Brace System Adapted For Use With Alternative Fence Post Arrangements
KR20190011025A (en) Fence assembly for antenna of base station
US10760298B2 (en) Fence brace system adapted for use with cylindrical fence posts
US10392821B2 (en) Four-device-in-one splash-and-drip-eliminating gazebo, comprising self-ventilating anti-mosquito top-roof system, splash-drip-eliminating bottom-roof system, leaf-filtering gutter-spout post system, multi-purpose multi-configuration panel system, and height-adjustable base system
KR101431243B1 (en) Fence for Antenna of base station
US20110248230A1 (en) Fence covering system
US8458961B2 (en) Modular work station with air collector
US6217007B1 (en) Fence system
JP4679435B2 (en) Wiring storage structure for installations on the roof
US6726183B2 (en) Fence system
WO2011104393A1 (en) Single-column advertising structure including a mobile telephone station
KR100775636B1 (en) Installation Structure of Environment-friendly Wireless Antenna
US11988009B2 (en) Fence brace system adapted for use with corner post arrangements
CA2505082A1 (en) Interlocking privacy fence
US11988010B2 (en) Fence brace system adapted to secure a fence rail to a fence post
US20200149311A1 (en) Outdoor portable privacy structure
US10961743B2 (en) Fence brace system adapted for use with corner fence post arrangements
KR20190104916A (en) Combination structure of canopy
KR20220036487A (en) Screen fence for the base station antenna
US10995517B2 (en) Fence brace system
KR102265209B1 (en) Antenna camouflage device and that the constructing method
EP0846818A1 (en) Garden fence
CN217790568U (en) Landscape assembled tendril climbing rack
KR101839200B1 (en) Exterior pannel of bulding
KR20150052715A (en) louver

Legal Events

Date Code Title Description
A201 Request for examination
PA0109 Patent application

Patent event code: PA01091R01D

Comment text: Patent Application

Patent event date: 20170724

PA0201 Request for examination
E902 Notification of reason for refusal
PE0902 Notice of grounds for rejection

Comment text: Notification of reason for refusal

Patent event date: 20180619

Patent event code: PE09021S01D

E701 Decision to grant or registration of patent right
PE0701 Decision of registration

Patent event code: PE07011S01D

Comment text: Decision to Grant Registration

Patent event date: 20180705

PG1501 Laying open of application
PC1904 Unpaid initial registration fee