KR20180137951A - Method for constructing a retaining wall using lightweight flowable fills - Google Patents

Method for constructing a retaining wall using lightweight flowable fills Download PDF

Info

Publication number
KR20180137951A
KR20180137951A KR1020170077913A KR20170077913A KR20180137951A KR 20180137951 A KR20180137951 A KR 20180137951A KR 1020170077913 A KR1020170077913 A KR 1020170077913A KR 20170077913 A KR20170077913 A KR 20170077913A KR 20180137951 A KR20180137951 A KR 20180137951A
Authority
KR
South Korea
Prior art keywords
unit
wall
walls
retaining wall
filling
Prior art date
Legal status (The legal status is an assumption and is not a legal conclusion. Google has not performed a legal analysis and makes no representation as to the accuracy of the status listed.)
Granted
Application number
KR1020170077913A
Other languages
Korean (ko)
Other versions
KR102003843B1 (en
Inventor
도종남
남문석
이병주
Original Assignee
한국도로공사
Priority date (The priority date is an assumption and is not a legal conclusion. Google has not performed a legal analysis and makes no representation as to the accuracy of the date listed.)
Filing date
Publication date
Application filed by 한국도로공사 filed Critical 한국도로공사
Priority to KR1020170077913A priority Critical patent/KR102003843B1/en
Publication of KR20180137951A publication Critical patent/KR20180137951A/en
Application granted granted Critical
Publication of KR102003843B1 publication Critical patent/KR102003843B1/en
Active legal-status Critical Current
Anticipated expiration legal-status Critical

Links

Images

Classifications

    • EFIXED CONSTRUCTIONS
    • E02HYDRAULIC ENGINEERING; FOUNDATIONS; SOIL SHIFTING
    • E02DFOUNDATIONS; EXCAVATIONS; EMBANKMENTS; UNDERGROUND OR UNDERWATER STRUCTURES
    • E02D29/00Independent underground or underwater structures; Retaining walls
    • E02D29/02Retaining or protecting walls
    • E02D29/0258Retaining or protecting walls characterised by constructional features
    • E02D29/0283Retaining or protecting walls characterised by constructional features of mixed type
    • EFIXED CONSTRUCTIONS
    • E02HYDRAULIC ENGINEERING; FOUNDATIONS; SOIL SHIFTING
    • E02DFOUNDATIONS; EXCAVATIONS; EMBANKMENTS; UNDERGROUND OR UNDERWATER STRUCTURES
    • E02D2450/00Gaskets
    • EFIXED CONSTRUCTIONS
    • E02HYDRAULIC ENGINEERING; FOUNDATIONS; SOIL SHIFTING
    • E02DFOUNDATIONS; EXCAVATIONS; EMBANKMENTS; UNDERGROUND OR UNDERWATER STRUCTURES
    • E02D2600/00Miscellaneous
    • E02D2600/20Miscellaneous comprising details of connection between elements

Landscapes

  • Engineering & Computer Science (AREA)
  • Environmental & Geological Engineering (AREA)
  • Life Sciences & Earth Sciences (AREA)
  • General Life Sciences & Earth Sciences (AREA)
  • Mining & Mineral Resources (AREA)
  • Paleontology (AREA)
  • Civil Engineering (AREA)
  • General Engineering & Computer Science (AREA)
  • Structural Engineering (AREA)
  • Revetment (AREA)
  • Retaining Walls (AREA)

Abstract

The present invention relates to a method to construct a reinforced earth retaining wall using a flowable filling material, which comprises: a step of installing a base part on a ground to install a retaining wall thereon; a step of coupling unit wall plates of one stage on both sides of the base part to form a unit wall on both the sides of the base part; a step of connecting two unit walls with a plurality of unit horizontal connection units to prevent the two unit walls from being separated; a step of filling and hardening the flowable filling material in a filling space formed by the two unit walls; a unit wall forming step of coupling each unit wall plate of one stage to the unit walls of a unit retaining wall including the unit walls, the unit horizontal connection units, and the hardened filling material to form a unit wall in the unit walls of the unit retaining wall; a connection step of connecting the two unit walls with a plurality of unit horizontal connection units to prevent the two unit walls from being separated; a filling step of filling and hardening the flowable filling material in a filling space formed by the two unit walls; and a step of repeating the unit wall forming step, the connection step, and the filling step up to a set height. Accordingly, subsidence is minimized when excessive load is applied or rain falls, and a construct period is reduced.

Description

유동성 채움재를 이용한 보강토옹벽 시공방법{METHOD FOR CONSTRUCTING A RETAINING WALL USING LIGHTWEIGHT FLOWABLE FILLS}TECHNICAL FIELD [0001] The present invention relates to a method for constructing a reinforced earth retaining wall using a fluid filler,

본 발명은 유동성 채움재를 이용한 보강토옹벽 시공방법에 관한 것이다.The present invention relates to a method of constructing a reinforced earth retaining wall using a fluid filler.

도로나 철도의 성토 및 절개지, 하천제방, 해안도로나 주거지역의 사면 등에는 사면 안정화를 위하여 옹벽이 시공되고, 또한 사면의 평탄 작업을 위하여 옹벽이 시공된다.In order to stabilize the slope, a retaining wall is constructed, and a retaining wall is constructed for flattening the slope in the embankment and cutout of roads and railways, river embankments, slopes of coastal roads and residential areas.

일반적으로, 옹벽은 현장 타설식 시공방법으로 시공된다. 현장 타설식 시공방법은 지반굴착, 기초콘크리트 타설, 옹벽 구조에 상응하는 철근 구조물 조립 및 거푸집 설치, 거푸집에 콘크리트 타설, 뒷채움 공사 등의 과정을 거치게 된다. 이와 같은 시공방법은 사전 설계에 의해 제작된 배근도를 바탕으로 현장에서 철근 구조물의 배근작업을 수행하게 되고, 또한 거푸집에 타설한 콘크리트가 자립 및 뒷채움을 할 수 있는 강도로 양생되기 위하여 많은 시간이 필요하게 되므로 공사 기간이 길게 된다.Generally, the retaining wall is constructed by a field installation method. Field installation methods include ground excavation, foundation concrete installation, reinforcing structure assembly and formwork installation corresponding to the retaining wall structure, concrete pouring in the formwork, and backfill construction. In this method, the reinforcing structure of the concrete is placed on the ground based on the preliminary design. Also, it takes much time to cure the concrete that has been placed in the form of self-supporting and back-filling. The construction period will be longer.

이로 인하여, 공사 비용이 많이 소요되고, 장기간의 차량 제한이 필요하게 되므로 시민불편이 크고 안전사고의 위험이 크게 된다.As a result, the construction cost is high and a long-term vehicle restriction is required, so that the inconvenience of citizens is large and the risk of safety accidents increases.

대한민국 등록특허 제 10-0764135호(2007. 10. 08. 공고일)(이하, 선행기술이라 함)에는 블록들이 횡방향과 종방향을 따라 다단으로 축조되고, 축조된 블록들의 후방에 뒷채움재로 채워지고, 축조된 블록들에 보강재가 연결되고 그 보강재가 뒷채움재에 매립되어 블록들을 지지하는 기술이 개시되어 있다. 그러나, 선행기술은 시공이 간단하고 시공기간이 짧은 장점이 있지만, 블록들이 다단으로 축조되므로 뒷채움재의 상면에 과도한 하중이 작용하거나 호우 등으로 지반이 연약해질 경우 축조된 블록들이 앞으로 밀려나오거나 침하되어 붕괴될 우려가 있다. 특히, 보강재가 불량일 경우 침하 및 붕괴의 우려가 더 커지게 된다.Korean Patent Registration No. 10-0764135 (hereinafter referred to as prior art) discloses a method of constructing blocks in a multi-tiered structure along a lateral direction and a longitudinal direction, filling the backside of the constructed blocks with a backing material Discloses a technique in which a reinforcing member is connected to a roughened block and the reinforcing member is embedded in a backing member to support the blocks. However, the prior art is advantageous in that the construction is simple and the construction period is short. However, since the blocks are formed in multiple stages, when the load is excessively applied to the upper surface of the backfill material or when the ground is weakened due to heavy rain or the like, There is a concern. In particular, when the reinforcing material is defective, there is a greater possibility of settlement and collapse.

본 발명의 목적은 과도한 하중이 작용하거나 강우시 침하가 발생되는 것을 최소화하는, 유동성 채움재를 이용한 보강토옹벽 시공방법을 제공하는 것이다.SUMMARY OF THE INVENTION It is an object of the present invention to provide a method for constructing a reinforced earth retaining wall using a fluid filled material that minimizes occurrence of an excessive load or sinkage upon rainfall.

본 발명의 다른 목적은 시공 기간을 단축시키는, 유동성 채움재를 이용한 보강토옹벽 시공방법을 제공하는 것이다.Another object of the present invention is to provide a method of constructing a reinforced earth retaining wall using a fluid filled material that shortens a construction period.

본 발명의 목적을 달성하기 위하여, 옹벽이 시공될 지반에 기초부를 시공하는 단계; 상기 기초부의 양쪽에 각각, 벽체단위판들을 1단으로 결합하여 상기 기초부의 양쪽에 각각 단위벽체를 형성하는 단계; 상기 두 개의 단위벽체들이 벌어지지 않도록 상기 두 개의 단위벽체를 복수 개의 단위수평연결유닛들로 연결하는 단계; 상기 두 개의 단위벽체들에 의해 형성된 채움공간에 유동성 채움재로 채우고 고결시키는 단계; 상기 단위벽체들과 단위수평연결유닛들과 고결된 채움재를 포함하는 단위옹벽의 단위벽체들에 각각 벽체단위판들을 1단으로 결합하여 단위옹벽의 단위벽체들에 각각 단위벽체를 형성하는 단위벽체형성단계; 상기 두 개의 단위벽체들이 벌어지지 않도록 상기 두 개의 단위벽체를 복수 개의 단위수평연결유닛들로 연결하는 연결단계; 상기 두 개의 단위벽체들에 의해 형성된 채움공간에 유동성 채움재로 채우고 고결시키는 채움단계; 상기 단위벽체형성단계, 연결단계, 채움단계를 설정된 높이까지 반복하는 단계;를 포함하는, 유동성 채움재를 이용한 보강토옹벽 시공방법이 제공된다.In order to achieve the object of the present invention, there is provided a method of constructing a foundation, Forming a unit wall on both sides of the base portion by joining the wall unit plates to one another in both sides of the base portion; Connecting the two unit walls to a plurality of unit horizontal connecting units so that the two unit walls are not opened; Filling and solidifying the filling space formed by the two unit walls with a fluid filler; A unit wall is formed by uniting the wall unit plates with the unit walls of the unit retaining wall including the unit walls, the unit horizontal connecting units and the solidified filler to form the unit wall on each unit wall of the unit retaining wall step; A connecting step of connecting the two unit walls to a plurality of unit horizontal connecting units so that the two unit walls are not opened; Filling the filling space formed by the two unit walls with a fluid filling material and consolidating the filling space; And repeating the unit wall forming step, the connecting step, and the filling step to a set height, wherein the reinforcing soil retaining wall construction method using the fluid filled material is provided.

상기 단위벽체에서 서로 인접하는 두 장의 벽체단위판 사이에 실링부재가 구비되는 것이 바람직하다.It is preferable that a sealing member is provided between two adjacent wall unit plates in the unit wall.

상기 실링부재는 고무재질의 판(패킹)인 것이 바람직하다.The sealing member is preferably a plate (packing) made of rubber.

상기 벽체단위판은 균일한 두께를 갖는 두 장의 정사각판이 겹쳐져 일체로 형성되되, 일부분이 겹쳐지고 그 겹쳐지는 부분이 정사각형을 이루며, 그 겹쳐지는 정사각형 부분의 가운데 관통구멍이 형성되는 것이 바람직하다.It is preferable that the wall unit plate is formed by integrally forming two square plates having a uniform thickness and partially overlapping each other, forming a square shape of the overlapping portions, and forming a through hole in the overlapping square portion.

상기 벽체단위판은 균일한 두께를 갖는 사각판부와, 상기 사각판부의 상단부의 후면에 균일한 폭과 두께로 형성된 사각단턱홈부와, 상기 사각판부의 하단부의 전면에 균일한 두께로 형성된 홈에 의해 형성되는 사각단턱돌기부와, 상기 사각판부의 가운데 형성되는 관통구멍을 포함할 수도 있다.Wherein the wall unit unit comprises a rectangular plate portion having a uniform thickness, a rectangular stepped groove portion formed at a rear surface of the upper end portion of the rectangular plate portion with a uniform width and thickness, and a groove formed at a uniform thickness on the entire lower surface of the rectangular plate portion And a through hole formed in the center of the rectangular plate portion.

상기 단위수평연결유닛은 서로 마주보는 벽체단위판들에 각각 결합되는 볼트들과, 상기 볼트들을 연결하는 연결와이어와, 상기 벽체단위판의 외측에서 상기 볼트에 체결되는 너트를 포함하는 것이 바람직하다.The unit horizontal connecting unit may include bolts respectively coupled to the wall unit plates facing each other, a connecting wire connecting the bolts, and a nut fastened to the bolt from the outside of the wall unit plate.

상기 단위수평연결유닛은 양단부에 수나사산부가 각각 구비되며 서로 마주보는 두 장의 벽체단위판들을 가로 질러 한쪽 수나사산부가 한 장의 벽체단위판을 관통하고 다른 한쪽 수나사산부가 다른 한 장의 벽체단위판을 관통하는 수평바와, 상기 벽체단위판의 바깥쪽 면에 접촉되도록 상기 수평바의 수나사산부에 체결되는 외측너트와, 상기 벽체단위판의 안쪽 면에 접촉되도록 상기 수평바의 수나사산부에 체결되는 외측너트를 포함할 수도 있다.Wherein the unit horizontal connecting unit is provided with male threaded portions at both ends thereof, and the one male threaded portion penetrates through one wall unit plate across the two wall unit plates facing each other, and the other male threaded portion penetrates through the other walled unit plate An outer nut fastened to the male screw portion of the horizontal bar to be in contact with the outer surface of the wall unit unit plate and an outer nut fastened to the male screw portion of the horizontal bar to be brought into contact with the inner surface of the wall unit plate, .

상기 외측너트가 체결된 외측으로 돌출된 수평바의 수나사산부에 덮개가 체결되는 것이 바람직하다.And the lid is fastened to the male screw part of the horizontal bar projected outwardly to which the outer nut is fastened.

상기 유동성 채움재는 현장유용토와, 물과, 시멘트와, 과산화수소를 포함하는 것이 바람직하다. 현장유용토는 62~67 중량%이고, 물은 20~30 중량%이고, 시멘트는 3~10 중량%이고, 과산화수소는 5중량%인 것이 바람직하다.Preferably, the fluid filler comprises in situ soil, water, cement, and hydrogen peroxide . It is preferable that the amount of the useful soil in the field is 62 to 67% by weight, the water content is 20 to 30% by weight, the cement content is 3 to 10% by weight and the hydrogen peroxide is 5% by weight.

상기 유동성 채움재는 고결시간이 4 ~ 7분 사이인 것이 바람직하다.The fluid filler preferably has a curing time of 4 to 7 minutes.

본 발명은 단위벽체들 사이에 형성된 채움공간에 유동성 채움재가 뒷채움되고 그 유동성 채움재가 고결되어 단위벽체들과 일체화되어 옹벽을 이루게 되므로 뒷채움재의 침하가 최소화될 뿐만 아니라 하중을 지지하는 지지력이 커지게 된다. 또한, 강우시 뒷채움재에 세굴이 발생되는 것을 방지하게 되어 강우로 인한 옹벽의 붕괴를 방지하게 된다.The present invention is characterized in that the fluid filling material is backfilled in the filling space formed between the unit walls and the fluid filling material is solidified to integrate with the unit walls to form a retaining wall so that the settlement of the backfill is minimized and the supporting force for supporting the load is increased . It is also possible to prevent the generation of oysters on the backfill material during rainfall, thereby preventing collapse of the retaining wall due to rainfall.

또한, 본 발명은 단위벽체들 사이인 채움공간에 유동성 채움재가 뒷채움되고 그 유동성 채움재가 고결되어 옹벽을 이루게 되므로 유동성 채움재의 고결시간이 빠르게 되어 시공 기간을 단축시키게 된다.Also, since the fluid filler is backfilled in the filling space between the unit walls and the fluid filler is solidified to form the retaining wall, the curing time of the fluid filler is fast, shortening the construction period.

도 1은 본 발명에 따른 유동성 채움재를 이용한 보강토옹벽 시공방법의 일실시예를 도시한 순서도,
도 2는 본 발명에 따른 유동성 채움재를 이용한 보강토옹벽 시공방법의 일실시예에서 기초부를 도시한 측면도,
도 3은 본 발명에 따른 유동성 채움재를 이용한 보강토옹벽 시공방법의 일실시예에서 단위벽체를 설치한 상태를 도시한 측면도,
도 4는 본 발명에 따른 유동성 채움재를 이용한 보강토옹벽 시공방법의 일실시예에서 단위벽체 및 그 단위벽체를 구성하는 벽체단위판을 도시한 정면도,
도 5는 본 발명에 따른 유동성 채움재를 이용한 보강토옹벽 시공방법의 일실시예에서 실링부재를 도시한 측면도,
도 6은 본 발명에 따른 유동성 채움재를 이용한 보강토옹벽 시공방법의 일실시예에서 단위벽체 및 그 단위벽체를 구성하는 벽체단위판의 다른 실시예를 도시한 정면도,
도 7은 본 발명에 따른 유동성 채움재를 이용한 보강토옹벽 시공방법의 일실시예에서 단위수평연결유닛을 설치한 상태를 도시한 측면도,
도 8은 본 발명에 따른 유동성 채움재를 이용한 보강토옹벽 시공방법의 일실시예에서 단위수평연결유닛에 체결되는 덮개를 도시한 단면도,
도 9는 본 발명에 따른 유동성 채움재를 이용한 보강토옹벽 시공방법의 일실시예에서 단위수평연결유닛의 다른 실시예를 도시한 측면도,
도 10은 본 발명에 따른 유동성 채움재를 이용한 보강토옹벽 시공방법의 일실시예에서 유동성 채움재를 채운 상태를 도시한 측면도,
도 11은 본 발명에 따른 유동성 채움재를 이용한 보강토옹벽 시공방법의 일실시예에 따라 시공된 보강토옹벽을 도시한 측면도.
BRIEF DESCRIPTION OF THE DRAWINGS FIG. 1 is a flow chart showing an embodiment of a method of constructing a reinforced earth retaining wall using a fluid filler according to the present invention;
FIG. 2 is a side view showing a base portion in an embodiment of a reinforced earth retaining wall construction method using a fluid filler according to the present invention. FIG.
3 is a side view showing a state in which a unit wall is installed in an embodiment of a reinforced earth retaining wall construction method using a fluid filler according to the present invention;
FIG. 4 is a front view showing a unit wall and a wall unit plate constituting the unit wall in the embodiment of the method of constructing the reinforced earth retaining wall using the fluid filling material according to the present invention. FIG.
FIG. 5 is a side view showing a sealing member in an embodiment of a reinforced earth retaining wall construction method using a fluid filler according to the present invention,
FIG. 6 is a front view showing a unit wall and a wall unit plate constituting the unit wall according to an embodiment of the method of constructing a reinforced earth retaining wall using the fluid filling material according to the present invention. FIG.
FIG. 7 is a side view showing a state in which a unit horizontal connecting unit is installed in an embodiment of a reinforced earth retaining wall construction method using a fluid filler according to the present invention;
FIG. 8 is a cross-sectional view of a lid fastened to a unit horizontal connecting unit in an embodiment of a method for constructing a reinforced earth retaining wall using a fluid filler according to the present invention,
9 is a side view showing another embodiment of the unit horizontal connecting unit in the embodiment of the reinforced earth retaining wall construction method using the fluid filler according to the present invention,
10 is a side view showing a state in which a fluid filler is filled in a method of constructing a reinforced earth retaining wall using a fluid filler according to the present invention,
11 is a side view of a reinforced earth retaining wall constructed according to an embodiment of a reinforced earth retaining wall construction method using a fluid filler according to the present invention.

이하, 본 발명에 따른 유동성 채움재를 이용한 보강토옹벽 시공방법의 실시예를 첨부도면을 참조하여 설명한다.DESCRIPTION OF THE PREFERRED EMBODIMENTS Hereinafter, embodiments of a method for constructing a reinforced earth retaining wall using a fluid filler according to the present invention will be described with reference to the accompanying drawings.

도 1은 본 발명에 따른 유동성 채움재를 이용한 보강토옹벽 시공방법의 일실시예를 도시한 순서도이다.1 is a flowchart showing an embodiment of a method of constructing a reinforced earth retaining wall using a fluid filler according to the present invention.

도 1에 도시한 바와 같이, 본 발명에 따른 유동성 채움재를 이용한 보강토옹벽 시공방법의 일실시예는, 먼저, 보강토옹벽이 시공될 지반에 기초부를 시공하는 단계(S1)가 진행된다(도 2 참조). 기초부의 일예로, 기초부(B)는 지반에 터파기를 하고 그 터파기한 바닥에 잡석(또는 자갈)들(1)을 부설하고 잡석들(1) 위에 철근(2)을 배근하고 콘크리트(3)를 타설하고 양생시킨다. 이때, 배근된 철근구조물의 양쪽에 기초부(B)의 폭 방향 양쪽으로 각각 기초블록(4)들을 일자로 배열한 후 콘크리트(3)를 타설하여 일체로 형성하는 것이 바람직하다. 한편, 콘크리트(3)를 타설하기 전 기초블록(4)들이 형성되도록 거푸집(미도시)으로 설치한 후 콘크리트(3)를 타설하여 기초블록(4)들을 형성할 수도 있다. 기초블록(4)들에 의해 기초부(B)의 양쪽으로 각각 직선형태의 라인결합홈(5)이 형성된다.As shown in FIG. 1, an embodiment of a method of constructing a reinforced earth retaining wall using a fluid filler according to the present invention includes steps of constructing a foundation on a ground on which a reinforced earth retaining wall is to be installed (refer to FIG. 2) ). The base portion B has a structure in which the reinforcing rods 2 are placed on the rubble 1 and the concrete 3 is laid on the bottom of the foundation. . At this time, it is preferable that the base blocks 4 are arranged on both sides in the width direction of the base portion B on both sides of the reinforced steel structure and the concrete 3 is laid integrally. It is also possible to form the foundation blocks 4 by installing the concrete blocks 3 before the concrete blocks 3 are laid and then molding the concrete blocks 3 to form the foundation blocks 4. The line connecting grooves 5 are formed on both sides of the base portion B by the base blocks 4 in a straight line.

기초부(B)를 시공한 후 기초부(B)의 양쪽에 각각, 벽체단위판(10)들을 1단으로 결합하여 기초부(B)의 양쪽에 각각 단위벽체(W)를 형성하는 단계(S2)가 진행된다. 벽체단위판(10)들은 기초부(B)의 기초블록(4)에 의해 형성된 라인결합홈(5)에 결합된다. 벽체단위판(10)의 일예로, 도 4에 도시한 바와 같이, 벽체단위판(10)은 균일한 두께를 갖는 두 장의 정사각판(11)이 겹쳐져 일체로 형성되되, 일부분만이 겹쳐지고 그 겹쳐지는 부분이 정사각형을 이루며, 그 겹쳐지는 정사각형 부분(12)의 가운데 관통구멍(13)이 형성되고, 그 두 장의 정사각판(11)들이 겹쳐지지 않은 위쪽부분(기역자 부분)(14)과 아래쪽 부분(니은자 부분)(15)의 폭이 서로 같다. 벽체단위판(10)의 아래쪽 비겹침 부분(15)이 기초부(B)의 라인결합홈(5)에 삽입되어 결합된다. 단위벽체(W)를 이루는 서로 인접한 두 장의 벽체단위판(10)들은 비겹침 부분들이 서로 겹쳐지면서 결합된다. 도 5에 도시한 바와 같이, 기초부(B)의 라인결합홈(5)과 벽체단위판(10)의 아래쪽 비겹침 부분(15) 사이는 실링부재(S)가 결합되고, 또한, 서로 인접하는 두 장의 벽체단위판(10)들의 결합부분에 실링부재(S)가 결합됨이 바람직하다. 실링부재(S)는 고무재질의 판(또는 패킹)인 것이 바람직하다.A step of forming a unitary wall W on both sides of the base portion B by combining the wall unit plates 10 in one stage on both sides of the base portion B after the base portion B is applied S2). The wall unit plates 10 are joined to the line coupling grooves 5 formed by the base block 4 of the base portion B. As shown in FIG. 4, the wall unit plate 10 includes two square plates 11 having a uniform thickness, which are integrally formed by overlapping one another. The upper part (the navigator part) 14, in which the two square plates 11 are not overlapped, and the lower part 13, which is the lower part of the square part 12, And the widths of the portions (silver portions) 15 are equal to each other. The lower non-overlapping portion 15 of the wall unit plate 10 is inserted into the line coupling groove 5 of the base portion B and engaged. The two adjacent wall unit plates 10 constituting the unit wall W are joined while overlapping the non-overlapping portions. 5, the sealing member S is coupled between the line coupling groove 5 of the base portion B and the lower non-overlapping portion 15 of the wall unit plate 10, It is preferable that the sealing member S is coupled to the coupling portion of the two sheets of the wall unit plates 10. The sealing member S is preferably a rubber plate (or packing).

벽체단위판(10)의 다른 일예로, 도 6에 도시한 바와 같이, 벽체단위판(10')은 균일한 두께를 갖는 사각판부(16)와, 그 사각판부(16)의 상단부의 후면에 균일한 폭과 두께로 형성된 사각단턱홈부(17)와, 사각판부(16)의 하단부의 전면에 균일한 두께로 형성된 홈에 의해 형성되는 사각단턱돌기부(18)와, 그 사각판부(16)의 가운데 형성되는 관통구멍(13)을 포함한다. 사각단턱홈부(17)의 크기와 깊이는 사각단턱돌기부(18)의 크기와 두께가 서로 같아 사각단턱돌기부(18)가 사각단턱홈부(17)에 형합될 수 있는 것이 바람직하다. 벽체단위판(10)의 아래쪽인 사각단턱돌기부(18)가 기초부(B)의 라인결합홈(5)에 삽입되어 결합된다. 기초부(B)의 라인결합홈(5)과 벽체단위판(10)의 사각단턱돌기부(18) 사이에 실링부재(S)가 결합됨이 바람직하다. 실링부재(S)는 고무재질의 판(또는 패킹)인 것이 바람직하다.6, the wall unit plate 10 'has a rectangular plate portion 16 having a uniform thickness, and a rectangular plate portion 16 having a uniform thickness. The wall unit plate 10' A rectangular stepped protrusion 18 formed by a groove formed to have a uniform thickness on the entire lower surface of the lower end of the rectangular plate portion 16, And a through hole 13 formed in the center. It is preferable that the size and depth of the rectangular stepped groove portion 17 are equal to each other in the size and thickness of the rectangular stepped protrusion portion 18 so that the rectangular stepped protrusion portion 18 can be formed into the rectangular stepped groove portion 17. [ The rectangular stepped protrusion 18 which is the lower side of the wall unit plate 10 is inserted into the line coupling groove 5 of the base portion B and is engaged. It is preferable that the sealing member S is coupled between the line connecting groove 5 of the base portion B and the rectangular stepped protrusion 18 of the wall unit plate 10. The sealing member S is preferably a rubber plate (or packing).

벽체단위판은 다양한 형태로 구현될 수 있다.The wall unit plate can be implemented in various forms.

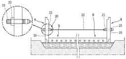
기초부(B)의 양쪽에 각각 단위벽체(W)를 형성한 후 두 개의 단위벽체(W)들이 벌어지지 않도록 두 개의 단위벽체(W)를 복수 개의 단위수평연결유닛(20)들로 연결하는 단계(S3)가 진행된다(도 7 참조). 단위수평연결유닛(20)은 서로 대면되는 벽체단위판(10)을 일대일로 서로 연결하는 것이 바람직하다. 단위수평연결유닛(20)의 일예로, 단위수평연결유닛(20)은 서로 마주보는 벽체단위판(10)들에 각각 결합되는 볼트(21)들과, 그 볼트(21)들을 연결하는 연결와이어(22)와, 벽체단위판(10)의 외측에서 볼트(21)에 체결되는 너트(23)를 포함한다. 서로 마주보는 벽체단위판(10)들 중 한 개의 벽체단위판(10)의 관통구멍(13)에 볼트(21)가 관통 삽입되고 그 볼트(21)에 너트(23)가 체결되고 다른 한 개의 벽체단위판(10)의 관통구멍(13)에 볼트(21)가 관통 삽입되고 그 볼트(21)에 너트(23)가 체결된다. 이때, 너트(23)는 벽체단위판(10)의 외측에서 체결된다. 도 8에 도시한 바와 같이, 너트(23)의 외측으로 돌출된 볼트(21)에 덮개(27)가 체결되는 것이 바람직하다.The unit walls W are formed on both sides of the base portion B and then the two unit walls W are connected to the plurality of unit horizontal connecting units 20 so that the two unit walls W do not spread The step S3 proceeds (see Fig. 7). It is preferable that the unit horizontal connecting unit 20 connects the wall unit plates 10 facing each other one on the other. The unit horizontal connecting unit 20 includes bolts 21 that are respectively coupled to the wall unit plates 10 facing each other and connecting wires 21 that connect the bolts 21 to each other, And a nut 23 which is fastened to the bolt 21 on the outside of the wall unit plate 10. A bolt 21 is inserted into the through hole 13 of one of the wall unit plates 10 facing each other and the nut 23 is fastened to the bolt 21, The bolt 21 is inserted into the through hole 13 of the wall unit plate 10 and the nut 23 is fastened to the bolt 21. At this time, the nut 23 is fastened to the outside of the wall unit plate 10. It is preferable that the lid 27 is fastened to the bolt 21 protruding outside the nut 23 as shown in Fig.

단위수평연결유닛(20)의 다른 일예로, 도 9에 도시한 바와 같이, 단위수평연결유닛(20')은 양단부에 수나사산부(24a)가 각각 구비되며 서로 마주보는 두 장의 벽체단위판(10)들을 가로 질러 한쪽 수나사산부가 한 장의 벽체단위판(10)을 관통하고 다른 한쪽 수나사산부(24a)가 다른 한 장의 벽체단위판(10)을 관통하는 수평바(24)와, 벽체단위판(10)의 바깥쪽 면에 접촉되도록 수평바(24)의 수나사산부(24a)에 체결되는 외측너트(25)와, 벽체단위판(10)의 안쪽 면에 접촉되도록 수평바(24)의 수나사산부(24a)에 체결되는 외측너트(26)를 포함한다. 수평바(24)의 수나사산부(24a)는 벽체단위판(10)의 관통구멍(13)에 관통 삽입된다. 외측너트(26)의 외측으로 돌출된 수평바(24)의 수나사산부(24a)에 덮개(27)가 체결되는 것이 바람직하다.9, the unit horizontal connecting unit 20 'is provided with two male threaded portions 24a at both end portions thereof and two wall unit plates 10' facing each other, A horizontal bar 24 through which one screw thread section passes through one wall unit plate 10 and the other screw thread section 24a passes through another one of the wall unit plates 10, An outer nut 25 which is fastened to the male screw thread portion 24a of the horizontal bar 24 so as to be brought into contact with the outer surface of the horizontal bar 24 so as to be brought into contact with the outer surface of the horizontal bar 24, And an outer nut 26 that is fastened to the outer surface 24a. The male screw portion 24a of the horizontal bar 24 is inserted through the through hole 13 of the wall unit plate 10. [ It is preferable that the lid 27 is fastened to the male screw portion 24a of the horizontal bar 24 protruding outside the outer nut 26. [

두 개의 단위벽체(W)들에 단위수평연결유닛(20)들을 연결한 후 두 개의 단위벽체(W)들에 의해 형성된 채움공간에 유동성 채움재(30)로 채우고 고결시키는 단계(S4)가 진행된다(도 10 참조). 유동성 채움재(30)는 단위벽체(W)의 벽체단위판(10)들의 각 중첩부분(12) 위쪽 이하로 채우는 것이 바람직하다. 유동성 채움재(30)는 현장유용토와, 물과, 시멘트와, 과산화수소를 포함하는 것이 바람직하다. 보다 바람직하게는, 현장유용토는 62~67 중량%이고, 물은 20~30 중량%이고, 시멘트는 3~10 중량%이고, 과산화수소는 5중량%인 것이 바람직하다. 시멘트는 석회를 포함하며 그 석회는 시멘트 중량의 10%인 것이 바람직하다. 정확한 배합성분비율은 현장유용토의 #200 통과량(세립분)에 따라 결정하는 것이 바람직하다. 일예로, 실험치에 따르면, 현장유용토의 #200 통과량이 10인 경우 현장유용토 67중량%, 물 25 중량%, 시멘트 3 중량%, 과산화수소 5 중량% 포함한다.The unit horizontal connecting units 20 are connected to the two unit walls W and then the filling space formed by the two unit walls W is filled with the fluid filler 30 and solidified in step S4 (See Fig. 10). It is preferable that the fluid filler 30 is filled above or below each overlap portion 12 of the wall unit plates 10 of the unit wall W. [ The fluid filler 30 preferably comprises on-site useful soil, water, cement, and hydrogen peroxide . More preferably, it is 62 to 67 wt%, the water is 20 to 30 wt%, the cement is 3 to 10 wt%, and the hydrogen peroxide is 5 wt%. The cement comprises lime and the lime is preferably 10% of the weight of the cement. It is desirable to determine the exact ratio of ingredients in accordance with the amount of # 200 throughput (finely divided) of the useful soil on site. For example, according to the experimental data, when the amount of # 200 passing through the field useful soil is 10, it includes 67% by weight of on-site useful soil, 25% by weight of water, 3% by weight of cement and 5% by weight of hydrogen peroxide.

이와 같은, 유동성 채움재(30)는 고결 시간이 4 ~ 7분 사이가 된다. 아울러, 위와 같은 배합비율은 재굴착이 가능하면서도 가장 높은 배압강도를 유지하게 된다.As described above, the fluidity filler 30 has a curing time of 4 to 7 minutes. In addition, the above mixing ratio maintains the highest back pressure strength while re-excavation is possible.

채움공간에 유동성 채움재(30)를 채우고 고결시킨 후 단위벽체(W)들과 단위수평연결유닛(20)들과 고결된 채움재를 포함하는 단위옹벽의 단위벽체(W)들에 각각 벽체단위판(10)들을 1단으로 결합하여 단위옹벽의 단위벽체(W)들에 각각 또 하나의 단위벽체(W)를 형성하는 단위벽체형성단계(S5)가 진행된다. 또 하나의 단위벽체(W)를 구성하는 벽체단위판(10)은 단위옹벽의 단위벽체(W)를 구성하는 벽체단위판(10)과 같다. 단위옹벽의 단위벽체(W)들에 벽체단위판(10)을 결합할 때 단위옹벽의 벽체단위판(10)의 위쪽 비겹침 부분(14)과 벽체단위판(10)의 아래쪽 비겹침 부분(15)이 결합된다.The fluidized filler 30 is filled in the filling space and cemented, and then the unit walls W, the unit horizontal connecting units 20 and the unit wall W of the unit retaining wall including the filled padding material are respectively mounted on the wall unit plates 10 are combined in one step to form a unit wall forming step S5 in which another unit wall W is formed on the unit walls W of the unit retaining wall. The wall unit plate 10 constituting another unit wall W is the same as the wall unit plate 10 constituting the unit wall W of the unit retaining wall. The upper non-overlapping portion 14 of the wall unit plate 10 of the unit retaining wall and the lower non-overlapping portion 14 of the wall unit plate 10 when the wall unit plate 10 is coupled to the unit walls W of the unit retaining wall 15).

단위벽체형성단계 후 두 개의 단위벽체(W)들이 벌어지지 않도록 두 개의 단위벽체(W)를 복수 개의 단위수평연결유닛(20)들로 연결하는 연결단계(S6)가 진행된다. 단위수평연결유닛(20)은 단위옹벽을 구성하는 단위수평연결유닛(20)의 구성과 같다.A connecting step S6 is performed in which two unit walls W are connected to a plurality of unit horizontal connecting units 20 so that two unit walls W are not opened after the unit wall forming step. The unit horizontal connecting unit 20 is the same as the unit horizontal connecting unit 20 constituting the unit retaining wall.

연결단계 후 두 개의 단위벽체(W)들에 의해 형성된 채움공간에 유동성 채움재(30)로 채우고 고결시키는 채움단계(S7)가 진행된다. 유동성 채움재(30)는 위에서 설명한 유동성 채움재(30)와 같다. 위의 단위벽체형성단계, 연결단계, 채움단계가 진행됨에 의해 단위옹벽 위에 그 단위옹벽과 일체로 연결되는 또 하나의 단위옹벽이 형성된다.After the connection step, the filling space formed by the two unit walls W is filled with the fluid filler 30 and the filling step S7 is performed. The fluid filler 30 is the same as the fluid filler 30 described above. As the unit wall forming step, the connecting step, and the filling step are performed, another unit retaining wall integrally connected to the unit retaining wall is formed on the unit retaining wall.

이어, 위의 단위벽체형성단계, 연결단계, 채움단계를 설정된 높이까지 반복하는 단계(S8)가 진행된다(도 11 참조).Then, a step S8 of repeating the unit wall forming step, the connecting step, and the filling step is repeated until the set height is reached (refer to FIG. 11).

이하, 본 발명에 따른 유동성 채움재를 이용한 보강토옹벽 시공방법의 작용과 효과를 설명한다.Hereinafter, the operation and effect of the method of constructing the reinforced earth retaining wall using the fluid filler according to the present invention will be described.

본 발명은 보강토옹벽이 시공될 지반에 콘크리트로 기초부(B)를 시공하고 그 기초부(B)에 벽체단위판(10)들을 수직 방향으로 1단으로 결합하여 내부에 채움공간이 형성되는 단위벽체(W)를 형성하고 그 단위벽체(W)의 벽체단위판(10)들 중 서로 마주보는 벽체단위판(10)들이 벌어지지 않도록 단위수평연결유닛(20)으로 연결하고 그 단위벽체(W)의 채움공간 내부에 유동성 채움재(30)로 뒷채움하고 고결시켜 단위옹벽을 시공하고 그 단위옹벽 위에 설정된 높이까지 단위옹벽을 반복적으로 시공한다.The present invention relates to a method of manufacturing a reinforced earth retaining wall in which a concrete base portion (B) is applied to a foundation where a reinforced earth retaining wall is to be installed, and a unit space in which a filling space is formed by joining the wall unit plates (10) A wall W is formed and connected to the unit horizontal connecting unit 20 so that the wall unit plates 10 facing each other among the wall unit plates 10 of the unit wall W are not opened, The unit retaining wall is constructed by backfilling and cementing with the fluid filling material 30 and the unit retaining wall is repeatedly constructed up to the height set on the unit retaining wall.

이와 같이, 본 발명은 단위벽체(W)들 사이에 형성된 채움공간에 유동성 채움재(30)가 뒷채움되고 그 유동성 채움재(30)가 고결되어 단위벽체(W)들과 일체화되어 옹벽을 이루게 되므로 뒷채움재의 침하가 최소화될 뿐만 아니라 하중을 지지하는 지지력이 커지게 된다. 또한, 강우시 뒷채움재에 세굴이 발생되는 것을 방지하게 되어 강우로 인한 옹벽의 붕괴를 방지하게 된다.As described above, according to the present invention, the fluid filling material 30 is backfilled in the filling space formed between the unit walls W, and the fluid filling material 30 is solidified and integrated with the unit walls W to form a retaining wall. Not only the settlement is minimized but also the supporting force for supporting the load is increased. It is also possible to prevent the generation of oysters on the backfill material during rainfall, thereby preventing collapse of the retaining wall due to rainfall.

또한, 본 발명은 단위벽체(W)들 사이인 채움공간에 유동성 채움재(30)가 뒷채움되고 그 유동성 채움재(30)가 고결되어 옹벽을 이루게 되므로 유동성 채움재(30)의 고결시간이 빠르게 되어 시공 기간을 단축시키게 된다.Also, since the fluid filler 30 is backfilled in the filling space between the unitary walls W and the fluid filler 30 is solidified to form a retaining wall, the curing time of the fluid filler 30 is fast, .

10; 벽체단위판 20; 단위수평연결유닛
30; 유동성 채움재 B; 기초부
W; 단위벽체
10; Wall unit plate 20; Unit horizontal connecting unit
30; Flowable filler B; Base portion
W; Unit wall

Claims (10)

옹벽이 시공될 지반에 기초부를 시공하는 단계;
상기 기초부의 양쪽에 각각, 벽체단위판들을 1단으로 결합하여 상기 기초부의 양쪽에 각각 단위벽체를 형성하는 단계;
상기 두 개의 단위벽체들이 벌어지지 않도록 상기 두 개의 단위벽체를 복수 개의 단위수평연결유닛들로 연결하는 단계;
상기 두 개의 단위벽체들에 의해 형성된 채움공간에 유동성 채움재로 채우고 고결시키는 단계;
상기 단위벽체들과 단위수평연결유닛들과 고결된 채움재를 포함하는 단위옹벽의 단위벽체들에 각각 벽체단위판들을 1단으로 결합하여 단위옹벽의 단위벽체들에 각각 단위벽체를 형성하는 단위벽체형성단계;
상기 두 개의 단위벽체들이 벌어지지 않도록 상기 두 개의 단위벽체를 복수 개의 단위수평연결유닛들로 연결하는 연결단계;
상기 두 개의 단위벽체들에 의해 형성된 채움공간에 유동성 채움재로 채우고 고결시키는 채움단계;
상기 단위벽체형성단계, 연결단계, 채움단계를 설정된 높이까지 반복하는 단계;를 포함하며,
상기 유동성 채움재는 현장유용토, 물, 시멘트, 과산화수소를 포함하는, 유동성 채움재를 이용한 보강토옹벽 시공방법.
Constructing a foundation on the ground where the retaining wall is to be constructed;
Forming a unit wall on both sides of the base portion by joining the wall unit plates to one another in both sides of the base portion;
Connecting the two unit walls to a plurality of unit horizontal connecting units so that the two unit walls are not opened;
Filling and solidifying the filling space formed by the two unit walls with a fluid filler;
A unit wall is formed by uniting the wall unit plates with the unit walls of the unit retaining wall including the unit walls, the unit horizontal connecting units and the solidified filler to form the unit wall on each unit wall of the unit retaining wall step;
A connecting step of connecting the two unit walls to a plurality of unit horizontal connecting units so that the two unit walls are not opened;
Filling the filling space formed by the two unit walls with a fluid filling material and consolidating the filling space;
Repeating the unit wall forming step, the connecting step, and the filling step to a set height,
Wherein the flowable filler comprises on-site useful soil, water, cement, hydrogen peroxide, and a flowable filler material.
제 1 항에 있어서, 상기 단위벽체에서 서로 인접하는 두 장의 벽체단위판 사이에 실링부재가 구비되는 것을 특징으로 하는, 유동성 채움재를 이용한 보강토옹벽 시공방법.The method as claimed in claim 1, wherein a sealing member is provided between two adjacent wall unit plates adjacent to each other in the unit wall. 제 2 항에 있어서, 상기 실링부재는 고무재질의 판인 것을 특징으로 하는, 유동성 채움재를 이용한 보강토옹벽 시공방법.The method as claimed in claim 2, wherein the sealing member is a rubber plate. 제 1 항에 있어서, 상기 벽체단위판은 균일한 두께를 갖는 두 장의 정사각판이 겹쳐져 일체로 형성되되, 일부분이 겹쳐지고 그 겹쳐지는 부분이 정사각형을 이루며, 그 겹쳐지는 정사각형 부분의 가운데 관통구멍이 형성되는 것을 특징으로 하는, 유동성 채움재를 이용한 보강토옹벽 시공방법.[2] The apparatus according to claim 1, wherein the wall unit plate is formed by integrally forming two square plates having a uniform thickness and partially overlapping each other, and the overlapping portions form a square, and a through hole in the overlapping square portion is formed Wherein the reinforcing soil retaining wall is made of a flexible filler. 제 1 항에 있어서, 상기 벽체단위판은 균일한 두께를 갖는 사각판부와, 상기 사각판부의 상단부의 후면에 균일한 폭과 두께로 형성된 사각단턱홈부와, 상기 사각판부의 하단부의 전면에 균일한 두께로 형성된 홈에 의해 형성되는 사각단턱돌기부와, 상기 사각판부의 가운데 형성되는 관통구멍을 포함하되, 상기 사각단턱홈부의 크기와 깊이는 상기 사각단턱돌기부의 크기와 두께가 서로 같아 사각단턱돌기부가 사각단턱홈부에 형합될 수 있는 것을 특징으로 하는, 유동성 채움재를 이용한 보강토옹벽 시공방법.2. The flat panel display according to claim 1, wherein the wall unit plate has a rectangular plate portion having a uniform thickness, a rectangular stepped groove portion formed at a rear surface of the upper end portion of the rectangular plate portion with a uniform width and thickness, Wherein the rectangular recess has a size and a depth equal to a size and a thickness of the square recess, and the square recess has a size and a thickness equal to each other, Wherein the reinforcing filler can be formed into a rectangular stepped groove. 제 1 항에 있어서, 상기 단위수평연결유닛은 서로 마주보는 벽체단위판들에 각각 결합되는 볼트들과, 상기 볼트들을 연결하는 연결와이어와, 상기 벽체단위판의 외측에서 상기 볼트에 체결되는 너트를 포함하는 유동성 채움재를 이용한 보강토옹벽 시공방법.The unit horizontal connecting unit according to claim 1, wherein the unit horizontal connecting unit includes bolts respectively coupled to the wall unit plates facing each other, a connecting wire connecting the bolts, and a nut fastened to the bolt from the outside of the wall unit plate A method of constructing a reinforced earth retaining wall using a fluid filler material. 제 1 항에 있어서, 상기 단위수평연결유닛은 양단부에 수나사산부가 각각 구비되며 서로 마주보는 두 장의 벽체단위판들을 가로 질러 한쪽 수나사산부가 한 장의 벽체단위판을 관통하고 다른 한쪽 수나사산부가 다른 한 장의 벽체단위판을 관통하는 수평바와, 상기 벽체단위판의 바깥쪽 면에 접촉되도록 상기 수평바의 수나사산부에 체결되는 외측너트와, 상기 벽체단위판의 안쪽 면에 접촉되도록 상기 수평바의 수나사산부에 체결되는 외측너트를 포함하는, 유동성 채움재를 이용한 보강토옹벽 시공방법.The unit horizontal connecting unit as claimed in claim 1, wherein the unit horizontal connecting unit includes a plurality of wall unit plates, each having a male threaded portion at both ends thereof, through which one wall unit unit passes through one wall unit unit plate, An outer nut fastened to the male thread portion of the horizontal bar so as to be brought into contact with the outer surface of the wall unit plate; and an outer nut which is brought into contact with the inner surface of the wall unit plate, And an outer nut to be fastened to the reinforcing rod retaining wall. 제 7 항에 있어서, 상기 외측너트가 체결된 외측으로 돌출된 수평바의 수나사산부에 덮개가 체결되는 것을 특징으로 하는, 유동성 채움재를 이용한 보강토옹벽 시공방법.8. The method as claimed in claim 7, wherein the lid is fastened to the male threaded portion of the horizontally protruded horizontal bar fastened with the outer nut. 제 1 항에 있어서, 상기 유동성 채움재는 고결시간이 4 ~ 7분 사이인 것을 특징으로 하는, 유동성 채움재를 이용한 보강토옹벽 시공방법.The reinforced soil retaining wall construction method according to claim 1, wherein the flowable filler has a cementation time of 4 to 7 minutes. 제 1 항에 있어서, 현장유용토는 62~67 중량%이고, 물은 20~30 중량%이고, 시멘트는 3~10 중량%이고, 과산화수소는 5중량%인 것을 특징으로 하는, 유동성 채움재를 이용한 보강토옹벽 시공방법.The method according to claim 1, characterized in that the field useful soil is from 62 to 67% by weight, the water is from 20 to 30% by weight, the cement is from 3 to 10% by weight and the hydrogen peroxide is from 5% Construction method of reinforced earth retaining wall.
KR1020170077913A 2017-06-20 2017-06-20 Method for constructing a retaining wall using lightweight flowable fills Active KR102003843B1 (en)

Priority Applications (1)

Application Number Priority Date Filing Date Title
KR1020170077913A KR102003843B1 (en) 2017-06-20 2017-06-20 Method for constructing a retaining wall using lightweight flowable fills

Applications Claiming Priority (1)

Application Number Priority Date Filing Date Title
KR1020170077913A KR102003843B1 (en) 2017-06-20 2017-06-20 Method for constructing a retaining wall using lightweight flowable fills

Publications (2)

Publication Number Publication Date
KR20180137951A true KR20180137951A (en) 2018-12-28
KR102003843B1 KR102003843B1 (en) 2019-07-25

Family

ID=65008767

Family Applications (1)

Application Number Title Priority Date Filing Date
KR1020170077913A Active KR102003843B1 (en) 2017-06-20 2017-06-20 Method for constructing a retaining wall using lightweight flowable fills

Country Status (1)

Country Link
KR (1) KR102003843B1 (en)

Citations (4)

* Cited by examiner, † Cited by third party
Publication number Priority date Publication date Assignee Title
JPH1121860A (en) * 1997-07-04 1999-01-26 Fujita Corp Construction method of wall-like concrete structure
JP2001115468A (en) * 1999-10-19 2001-04-24 Tomio Honbo Execution method of concrete structure
KR100823348B1 (en) * 2007-12-28 2008-04-22 (주)경동기술공사 Steel composite retaining wall construction method
KR20160093151A (en) * 2015-01-28 2016-08-08 한국도로공사 Composite to stabilize soil and constructing method of slope using it

Patent Citations (4)

* Cited by examiner, † Cited by third party
Publication number Priority date Publication date Assignee Title
JPH1121860A (en) * 1997-07-04 1999-01-26 Fujita Corp Construction method of wall-like concrete structure
JP2001115468A (en) * 1999-10-19 2001-04-24 Tomio Honbo Execution method of concrete structure
KR100823348B1 (en) * 2007-12-28 2008-04-22 (주)경동기술공사 Steel composite retaining wall construction method
KR20160093151A (en) * 2015-01-28 2016-08-08 한국도로공사 Composite to stabilize soil and constructing method of slope using it

Also Published As

Publication number Publication date
KR102003843B1 (en) 2019-07-25

Similar Documents

Publication Publication Date Title
KR100799358B1 (en) Prefabricated Retaining Wall and Construction Method
KR101193896B1 (en) Pc wall with ancher wire for structrue
CN101939492B (en) Precast temporary facility structure and construction method for the same
CN107524159A (en) A kind of hybrid reinforced soil retaining wall
KR20160089215A (en) Non-abutment bridge structure using precast concrete retaining wall and pile, and method for constructing this same
KR101390683B1 (en) Retaining wall using precast concrete panel and construction method of the same
KR101118263B1 (en) Rain retaining facility and constructing method thereof using precast concrete block
KR101211469B1 (en) Retaining wall structure having prefabricated block and method for constructing retaining wall using the same
KR100936668B1 (en) Composite pile for wall and centrifugal wall using it
US4453366A (en) Process of forming a continuous wall in the ground
JP2000265484A (en) Construction method of underground structure by PCa pile ground wall
KR100468034B1 (en) Construction Method of Reinforced Earth Retaining-Wall for using Anchoring
JP3914073B2 (en) Dry block, molding frame, molding method, reinforced soil structure using dry block
JP2009185487A (en) Septic tank foundation structural body and its construction method
JP3818939B2 (en) Reinforced soil structure, embankment reinforcement and reinforced soil block
KR102003843B1 (en) Method for constructing a retaining wall using lightweight flowable fills
JP2004060220A (en) Reinforcing soil structure and wall surface block
KR101975502B1 (en) Manufacturing method of composite block and composite block
JP2004019100A (en) Underground structure construction method and underground structure
KR102272258B1 (en) Apparatus for withstanding against displacement, and construction method for the same
KR100975847B1 (en) Retaining wall block with guide cover for brace formation and retaining wall construction method using the same
KR100436896B1 (en) Construction method for back-fill area of abutment
KR101110208B1 (en) Retaining wall-block having variable support and connecting wall-block and method for constructing retaining wall using the same
KR101650312B1 (en) Concrete retaining wall and method for manufacturing the same
KR20140036767A (en) Construction method for railway roadbed

Legal Events

Date Code Title Description
A201 Request for examination
PA0109 Patent application

Patent event code: PA01091R01D

Comment text: Patent Application

Patent event date: 20170620

PA0201 Request for examination
PG1501 Laying open of application
E902 Notification of reason for refusal
PE0902 Notice of grounds for rejection

Comment text: Notification of reason for refusal

Patent event date: 20190121

Patent event code: PE09021S01D

E701 Decision to grant or registration of patent right
PE0701 Decision of registration

Patent event code: PE07011S01D

Comment text: Decision to Grant Registration

Patent event date: 20190708

PR0701 Registration of establishment

Comment text: Registration of Establishment

Patent event date: 20190719

Patent event code: PR07011E01D

PR1002 Payment of registration fee

Payment date: 20190719

End annual number: 3

Start annual number: 1

PG1601 Publication of registration
PR1001 Payment of annual fee

Payment date: 20220704

Start annual number: 4

End annual number: 4

PR1001 Payment of annual fee

Payment date: 20230703

Start annual number: 5

End annual number: 5

PR1001 Payment of annual fee

Payment date: 20240701

Start annual number: 6

End annual number: 6

PR1001 Payment of annual fee

Payment date: 20250624

Start annual number: 7

End annual number: 7