KR20180050119A - 반사부재를 이용한 천장조형 - Google Patents

반사부재를 이용한 천장조형 Download PDF

Info

Publication number
KR20180050119A
KR20180050119A KR1020160146901A KR20160146901A KR20180050119A KR 20180050119 A KR20180050119 A KR 20180050119A KR 1020160146901 A KR1020160146901 A KR 1020160146901A KR 20160146901 A KR20160146901 A KR 20160146901A KR 20180050119 A KR20180050119 A KR 20180050119A
Authority
KR
South Korea
Prior art keywords
ceiling
molding
reflection
present
actual
Prior art date
Legal status (The legal status is an assumption and is not a legal conclusion. Google has not performed a legal analysis and makes no representation as to the accuracy of the status listed.)
Granted
Application number
KR1020160146901A
Other languages
English (en)
Other versions
KR101954334B1 (ko
Inventor
유주헌
Original Assignee
유주헌
Priority date (The priority date is an assumption and is not a legal conclusion. Google has not performed a legal analysis and makes no representation as to the accuracy of the date listed.)
Filing date
Publication date
Application filed by 유주헌 filed Critical 유주헌
Priority to KR1020160146901A priority Critical patent/KR101954334B1/ko
Publication of KR20180050119A publication Critical patent/KR20180050119A/ko
Application granted granted Critical
Publication of KR101954334B1 publication Critical patent/KR101954334B1/ko
Expired - Fee Related legal-status Critical Current
Anticipated expiration legal-status Critical

Links

Images

Classifications

    • FMECHANICAL ENGINEERING; LIGHTING; HEATING; WEAPONS; BLASTING
    • F21LIGHTING
    • F21VFUNCTIONAL FEATURES OR DETAILS OF LIGHTING DEVICES OR SYSTEMS THEREOF; STRUCTURAL COMBINATIONS OF LIGHTING DEVICES WITH OTHER ARTICLES, NOT OTHERWISE PROVIDED FOR
    • F21V7/00Reflectors for light sources
    • F21V7/0008Reflectors for light sources providing for indirect lighting
    • F21V7/0016Reflectors for light sources providing for indirect lighting on lighting devices that also provide for direct lighting, e.g. by means of independent light sources, by splitting of the light beam, by switching between both lighting modes
    • FMECHANICAL ENGINEERING; LIGHTING; HEATING; WEAPONS; BLASTING
    • F21LIGHTING
    • F21WINDEXING SCHEME ASSOCIATED WITH SUBCLASSES F21K, F21L, F21S and F21V, RELATING TO USES OR APPLICATIONS OF LIGHTING DEVICES OR SYSTEMS
    • F21W2121/00Use or application of lighting devices or systems for decorative purposes, not provided for in codes F21W2102/00 – F21W2107/00

Landscapes

  • Engineering & Computer Science (AREA)
  • General Engineering & Computer Science (AREA)
  • Optical Elements Other Than Lenses (AREA)

Abstract

본 발명은 실물조형과 반사부재에 의한 반사조형이 통합되어 하나의 완성된 천장조형을 형성하도록 함으로써, 좁은 실내 공간에서도 대형 조형을 설치한 효과를 얻을 수 있고 실내에 배치되는 가구나 사용자의 간섭 없이 용이하게 식별할 수 있는 반사부재를 이용한 천장조형에 대한 것이다.
본 발명 반사부재를 이용한 천장조형은 적어도 하나 이상의 벽체와 벽체 상부에 천장이 구비되는 건축물에 설치되는 것으로, 천장에 설치되는 실물조형; 및 상단이 천장 하면까지 연장되도록 일측의 벽체에 설치되어 상기 실물조형이 비춰 실물조형과 동일한 반사조형을 형성함으로써 상기 실물조형과 함께 완성된 천장조형을 형성하는 반사부재; 로 구성되는 것을 특징으로 한다.

Description

반사부재를 이용한 천장조형{Ceiling decoration using reflection members}
본 발명은 실물조형과 반사부재에 의한 반사조형이 통합되어 하나의 완성된 천장조형을 형성하도록 함으로써, 좁은 실내 공간에서도 대형 조형을 설치한 효과를 얻을 수 있고 실내에 배치되는 가구나 사용자의 간섭 없이 용이하게 식별할 수 있는 반사부재를 이용한 천장조형에 대한 것이다.
종래 상업시설로 사용되는 건축물의 내부에는 건물을 사용하는 회사를 홍보하거나 실내 미관 향상 등의 목적을 위해 주로 벽면이나 기둥 등에 로고, CI 등의 조형을 부착하거나 표시한다.
그러나 일반적으로 벽면이나 기둥은 면적 상의 제한으로 조형 크기에 한계가 있다. 또한, 사용자 공간 배치시 조형을 가리지 않아야 하기 때문에 실내 공간 배치 측면에서 제약이 따르며, 각종 가구나 사용자의 간섭 등으로 인해 조형이 제대로 보이지 않는 경우가 많이 발생할 수 있다.
아울러 조형물의 크기나 두께 등에 따라 중량의 조형 재료를 부착하여야 하는 경우가 있으므로, 시공시 작업자의 안전 문제 및 조형물 탈락으로 인한 사용자의 위험 문제가 수반될 수 있다.
KR 20-0442202 Y1
상기와 같은 문제점을 해결하기 위하여 본 발명은 좁은 실내 공간에서도 대형 조형을 설치한 효과를 얻을 수 있는 반사부재를 이용한 천장조형을 제공하고자 한다.
본 발명은 실내에 배치되는 가구나 사용자의 간섭 없이 용이하게 식별 가능한 반사부재를 이용한 천장조형을 제공하고자 한다.
본 발명은 원하는 크기의 조형물에 비하여 재료의 무게를 줄일 수 있어, 경량 제작으로 작업자 및 사용자의 안전성을 확보할 수 있는 반사부재를 이용한 천장조형을 제공하고자 한다.
바람직한 실시예에 따른 본 발명은 적어도 하나 이상의 벽체와 벽체 상부에 천장이 구비되는 건축물에 설치되는 것으로, 천장에 설치되는 실물조형; 및 상단이 천장 하면까지 연장되도록 일측의 벽체에 설치되어 상기 실물조형이 비춰 실물조형과 동일한 반사조형을 형성함으로써 상기 실물조형과 함께 완성된 천장조형을 형성하는 반사부재; 로 구성되는 것을 특징으로 하는 반사부재를 이용한 천장조형을 제공한다.
다른 바람직한 실시예에 따른 본 발명은 상기 실물조형은 천장 하부로 돌출되도록 입체로 구성되는 것을 특징으로 하는 반사부재를 이용한 천장조형을 제공한다.
다른 바람직한 실시예에 따른 본 발명은 상기 실물조형에는 천장에 설치되는 조명기구의 위치에 공간부가 관통 형성되는 것을 특징으로 하는 반사부재를 이용한 천장조형을 제공한다.
다른 바람직한 실시예에 따른 본 발명은 상기 실물조형에는 천장에 설치되는 설비기구의 위치에 공간부가 관통 형성되는 것을 특징으로 하는 반사부재를 이용한 천장조형을 제공한다.
다른 바람직한 실시예에 따른 본 발명은 상기 실물조형은 1방향으로 서로 이격되게 배치되거나 2방향으로 교차하여 배치됨으로써 사이에 상기 공간부를 형성하는 복수의 격벽부재에 의해 구성되는 것을 특징으로 하는 반사부재를 이용한 천장조형을 제공한다.
다른 바람직한 실시예에 따른 본 발명은 상기 격벽부재는 경사 각도를 조절할 수 있는 것을 특징으로 하는 반사부재를 이용한 천장조형을 제공한다.
다른 바람직한 실시예에 따른 본 발명은 상기 격벽부재 중 적어도 어느 하나 이상에는 공기유동공이 형성되는 것을 특징으로 하는 반사부재를 이용한 천장조형을 제공한다.
본 발명에 따르면 다음과 같은 효과가 있다.
첫째, 천장에 설치되는 실물조형과 반사부재에 의하여 벽체에 형성되는 반사조형이 통합되어 하나의 완성된 천장조형을 형성함으로써, 좁은 실내 공간에서도 대형 조형을 설치한 효과를 얻을 수 있다. 이에 따라 기업 홍보 효과 등 천장조형이 표현하고자 효과를 극대화할 수 있다.
둘째, 천장조형이 천장과 벽체 상면에 형성되므로 실내에 배치되는 가구나 사용자의 간섭 없이 식별이 용이한 천장조형을 제공할 수 있다.
셋째, 원하는 조형물의 1/2 크기로 실물조형을 설치하면 되므로, 실제 조형물 무게의 반으로 경량 제작이 가능하다. 따라서 작업자 및 사용자의 안전성을 확보할 수 있다.
넷째, 실물조형이 천장 하부로 돌출되도록 입체로 구성하는 경우, 반사부재에 비춘 상들의 현실성을 향상시키고 이에 따라 공간 확장성을 더욱 극대화할 수 있다.
다섯째, 실물조형에 관통 형성된 공간부의 내측에 조명기구를 위치시키는 경우, 광원의 외부 노출을 차단하여 제대로 된 반사조형을 구현할 수 있다.
여섯째, 실물조형에 관통 형성된 공간부의 내측에 설비기구를 위치시키는 경우, 설비기구들이 외부로 노출되는 것을 차단하여 천장 외관을 향상시킬 수 있다.
도 1은 본 발명 반사부재를 이용한 천장조형의 실시예를 도시하는 도면.
도 2는 본 발명 반사부재를 이용한 천장조형의 다른 실시예를 도시하는 도면.
도 3은 입체 형상의 실물조형이 구비된 본 발명 반사부재를 이용한 천장조형의 단면도.
도 4는 실물조형에 공간부가 형성된 본 발명 반사부재를 이용한 천장조형의 단면도.
도 5는 1방향의 격벽부재가 구비된 본 발명 반사부재를 이용한 천장조형을 도시하는 도면.
도 6은 2방향의 격벽부재가 구비된 본 발명 반사부재를 이용한 천장조형을 도시하는 도면.
도 7은 격벽부재가 구비된 본 발명 반사부재를 이용한 천장조형의 단면도.
도 8은 실물조형의 실시예를 도시하는 사시도.
이하, 첨부한 도면 및 바람직한 실시예에 따라 본 발명을 상세히 설명한다.
도 1은 본 발명 반사부재를 이용한 천장조형의 실시예를 도시하는 도면이다.
도 1에 도시된 바와 같이 본 발명 반사부재를 이용한 천장조형은 적어도 하나 이상의 벽체(1)와 벽체(1) 상부에 천장(2)이 구비되는 건축물에 설치되는 것으로, 천장(2)에 설치되는 실물조형(3); 및 상단이 천장(2) 하면까지 연장되도록 일측의 벽체(1)에 설치되어 상기 실물조형(3)이 비춰 실물조형(3)과 동일한 반사조형(4)을 형성함으로써 상기 실물조형(3)과 함께 완성된 천장조형(5)을 형성하는 반사부재(6); 로 구성되는 것을 특징으로 한다.
본 발명은 벽체(1)와 천장(2)이 구비되는 건축물에 사용되는 것으로 실내 공간뿐 아니라 실외 공간에서도 적용 가능하다.
본 발명 반사부재를 이용한 천장조형은 실물조형(3)과 반사부재(6)에 의하여 형성되는 반사조형(4)이 통합되어 하나의 완성된 천장조형(5)을 형성한다.
상기 실물조형(3)은 천장(2)에 설치되는 것으로, 원하는 천장조형(5)의 절반에 해당하는 크기로 제작한다.
상기 반사부재(6)는 일측 벽체(1)에 설치되는 것으로, 상기 실물조형(3)의 상이 반사되어 벽체(1)에 반사조형(4)이 형성된다.
상기 반사부재(6)는 실물조형(3)이 잘 반사될 수 있는 소재를 사용하며, 거울이 바람직하나 디자인 또는 사용자의 기호 등에 따라 금속판 등을 사용하는 것도 가능하다.
상기 반사부재(6)는 상단이 천장(2) 하면에 위치되는 것으로 벽체(1) 높이 전체에 걸쳐 설치될 수 있다. 또는 실물조형(3)이 반사되어 실물조형(3) 전체가 비추어질 수 있는 정도의 높이면 충분하므로 천장(2) 하부로 일정 길이까지만 반사부재(6)를 설치하여도 된다.
상기와 같이 본 발명에서는 단순히 반사부재(6)를 이용하는 것이 아니라 실물조형(3)과 반사부재(6)에 반사된 실물조형(3)에 의하여 형성되는 반사조형(4)이 통합되어 하나의 완성된 천장조형(5)을 형성한다. 따라서 반사부재(6)에 비춘 상들의 현실성을 향상시키고 이에 따라 공간의 확장성을 극대화할 수 있어 좁은 공간에서도 대형 조형을 구현할 수 있다.
다시 말하면 실물조형(3)과 반사조형(4)이 합해져야 비로소 완성된 천장조형(5)이 형성되게 되므로, 사용자는 반사조형(4)이 반사부재(6)에 반사된 상이 아니라 실제 존재하는 상으로 인식하게 된다. 이에 따라 반사부재(6)에 비친 반사조형(4) 뿐 아니라 반사부재(6)에 비친 실내 공간 역시 실제 존재하는 공간으로 인식하여 공간 확장성을 극대화할 수 있다.
아울러 실내에 배치되는 가구나 사용자의 간섭 없이 식별이 용이한 천장조형(5)을 구현할 수 있다.
상기 실물조형(3)과 반사조형(4)에 의하여 형성되는 천장조형(5)은 각종 로고 또는 회사의 CI 등일 수 있다. 따라서 로고 또는 CI 등을 절반으로 나누어 실물조형(3)으로 설치하면, 사용자는 원래의 전체 로고 또는 CI 등으로 인식함과 동시에 반사부재(6)에 비친 공간까지 실제 공간으로 인식할 수 있다.
그러므로 상기 천장조형(5)은 실내 공간의 사용 주체, 목적, 행위 등을 대표하는 상징성을 얻을 수 있도록 하며 동시에 미관을 개선하는 미관 향상 등의 효과도 얻을 수 있다.
도 2는 본 발명 반사부재를 이용한 천장조형의 다른 실시예를 도시하는 도면이고, 도 3은 입체 형상의 실물조형이 구비된 본 발명 반사부재를 이용한 천장조형의 단면도이다.
도 2에 도시된 바와 같이, 상기 실물조형(3)은 천장(2) 하부로 돌출되도록 입체로 구성할 수 있다.
상기 실물조형(3)은 도 1의 실시예와 같이 천장(2) 저면에 표시되는 평면 형상으로 구성할 수 있으나, 도 2의 실시예와 같이 천장(2) 하부로 돌출되는 입체 형상으로 구성하는 것도 가능하다.
후자의 경우 실물조형(3)에 부여된 입체감을 반사체인 반사조형(4)까지 확장할 수 있으므로, 천장조형(5) 전체에 입체감을 획득할 수 있다.
또한, 입체로 구성된 실물조형(3)에 의하여 반사부재(6)에 반사된 반사조형(4)이 보다 부각될 수 있으므로, 실물조형(3)과 반사조형(4)의 일체성을 도모할 수 있다.
아울러 도 3에 도시된 바와 같이 상기 실물조형(3)은 일단의 높이가 낮고 타단은 반사부재(6) 측으로 갈수록 높이가 증가하도록 구성할 수 있다.
이 경우 실물조형(3)과 반사부재(6)가 만나는 부분에서 실물조형(3)과 반사조형(4)의 입체감 및 이에 따른 일체성을 더욱 부각시킬 수 있다.
도 4는 실물조형에 공간부가 형성된 본 발명 반사부재를 이용한 천장조형의 단면도이다.
도 4에 도시된 바와 같이, 상기 실물조형(3)에는 천장(2)에 설치되는 조명기구(21)의 위치에 공간부(31)가 관통 형성되도록 구성할 수 있다.
천장(2)에 설치되는 조명기구(21)의 광원이 외부로 노출되면 반사부재(6)에 광원이 반사되어 반사조형(4)이 제대로 보이지 않을 수 있다.
따라서 조명기구(21)가 실물조형(3)에 관통 형성된 공간부(31) 내에 위치하도록 함으로써, 광원이 외부로 직접 보이지 않도록 하여 반사조형(4)이 제대로 구현될 수 있도록 하였다.
아울러 상기 실물조형(3)에는 천장(2)에 설치되는 설비기구(22)의 위치에 공간부(31)가 관통 형성될 수 있다.
냉난방이나 환기 등을 위한 공조 설비의 실내기 또는 각종 감지기 등의 설비기구(22)는 건축물 내에 반드시 설치되어야 하는 것들이나 설치 위치에 따라 미관을 해치는 요소가 될 수 있다.
따라서 이러한 설비기구(22)들을 실물조형(3)에 관통 형성된 공간부(31) 내에 위치시켜, 설비기구(22)들이 외부로 노출되지 않도록 함으로써 천장(2)의 외관을 향상시킬 수 있도록 구성할 수 있다.
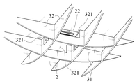
도 5는 1방향의 격벽부재가 구비된 본 발명 반사부재를 이용한 천장조형을 도시하는 도면이고, 도 6은 2방향의 격벽부재가 구비된 본 발명 반사부재를 이용한 천장조형을 도시하는 도면이다.
도 5 및 도 6에 도시된 바와 같이, 상기 실물조형(3)은 1방향으로 서로 이격되게 배치되거나 2방향으로 교차하여 배치됨으로써 사이에 상기 공간부(31)를 형성하는 복수의 격벽부재(32)에 의해 구성되도록 할 수 있다.
조명기구(21)를 포함하는 대부분의 천장 설비들은 모듈화되어 있으므로, 모듈화된 사이즈를 갖는 격벽부재(32)를 이용하여 실물조형(3)을 설치하면 다양한 설비에 대응 가능하다. 아울러 인접하는 복수의 격벽부재(32)에 의하여 천장(2)에 다수의 공간부(31)가 형성되므로 천장(2) 공간의 개방감을 증대시킬 수 있다.
도 5의 실시예와 같이 상기 격벽부재(32)가 1방향으로 배치되는 경우에는 공간부(31) 내의 각종 설비기구(22)들이 반사부재(6)에 반사되어 보이는 것을 방지할 수 있도록 격벽부재(32)를 반사부재(6)와 평행하게 배치하는 것이 바람직하다.
도 7은 격벽부재가 구비된 본 발명 반사부재를 이용한 천장조형의 단면도이다.
도 7에 도시된 바와 같이, 상기 격벽부재(32)는 경사 각도를 조절할 수 있도록 구성 가능하다.
도 7의 실시예에서 상기 격벽부재(32)는 상호 수직이 되도록 2방향으로 구성되었으며, 벽체(1)와 수직으로 배치되는 방향의 격벽부재(32)를 각 경사 각도를 다양하게 구성하여 복수 개 배치하였다.
상기 격벽부재(32)는 일측 방향의 격벽부재(32)만 경사 각도를 조절하도록 구성할 수도 있고, 일측 및 타측 방향의 격벽부재(32) 모두 경사 각도를 자유롭게 조절하도록 구성하는 것도 가능하다.
이에 따라 공간부(31) 내측에 설치되는 조명기구(21)에서 조사되는 빛의 각도를 다양하게 조절할 수 있다.
아울러 상기 격벽부재(32)의 경사 각도를 조절하여 냉난방기 등 설비기구(22)에서 배출되는 공기의 분사 방향을 조절하는 것이 가능하다.
또한, 상기 격벽부재(32)의 경사 각도 조절에 따라 천장조형(5)에 역동성을 부여할 수 있다.
도 8은 실물조형의 실시예를 도시하는 사시도이다.
도 8에 도시된 바와 같이, 상기 격벽부재(32) 중 적어도 어느 하나 이상에는 공기유동공(321)이 형성될 수 있다.
천장(2)에 복수의 격벽부재(32)가 설치된 경우, 공기 조화 설비 등 설비기구(22)에서 공급되는 공기의 흐름이 격벽부재(32)에 의해 방해되어 실내 환경이 저하될 수 있다.
따라서 격벽부재(32)에 공기유동공(321)을 형성함으로써 공기 조화 설비에서 배출되는 공기가 공기유동공(321)을 통하여 자유롭게 이동하도록 구성할 수 있다.
공기가 골고루 이동 가능하도록 상기 공기유동공(321)은 공기 조화 설비의 실내기 주변의 격벽부재(32)에 형성함이 바람직하다.
1: 벽체
2: 천장
21: 조명기구
22: 설비기구
3: 실물조형
31: 공간부
32: 격벽부재
321: 공기유동공
4: 반사조형
5: 천장조형
6: 반사부재

Claims (7)

  1. 적어도 하나 이상의 벽체(1)와 벽체(1) 상부에 천장(2)이 구비되는 건축물에 설치되는 것으로,
    천장(2)에 설치되는 실물조형(3); 및
    상단이 천장(2) 하면까지 연장되도록 일측의 벽체(1)에 설치되어 상기 실물조형(3)이 비춰 실물조형(3)과 동일한 반사조형(4)을 형성함으로써 상기 실물조형(3)과 함께 완성된 천장조형(5)을 형성하는 반사부재(6); 로 구성되는 것을 특징으로 하는 반사부재를 이용한 천장조형.
  2. 제1항에서,
    상기 실물조형(3)은 천장(2) 하부로 돌출되도록 입체로 구성되는 것을 특징으로 하는 반사부재를 이용한 천장조형.
  3. 제2항에서,
    상기 실물조형(3)에는 천장(2)에 설치되는 조명기구(21)의 위치에 공간부(31)가 관통 형성되는 것을 특징으로 하는 반사부재를 이용한 천장조형.
  4. 제2항에서,
    상기 실물조형(3)에는 천장(2)에 설치되는 설비기구(22)의 위치에 공간부(31)가 관통 형성되는 것을 특징으로 하는 반사부재를 이용한 천장조형.
  5. 제3항 또는 제4항에서,
    상기 실물조형(3)은 1방향으로 서로 이격되게 배치되거나 2방향으로 교차하여 배치됨으로써 사이에 상기 공간부(31)를 형성하는 복수의 격벽부재(32)에 의해 구성되는 것을 특징으로 하는 반사부재를 이용한 천장조형.
  6. 제5항에서,
    상기 격벽부재(32)는 경사 각도를 조절할 수 있는 것을 특징으로 하는 반사부재를 이용한 천장조형.
  7. 제5항에서,
    상기 격벽부재(32) 중 적어도 어느 하나 이상에는 공기유동공(321)이 형성되는 것을 특징으로 하는 반사부재를 이용한 천장조형.
KR1020160146901A 2016-11-04 2016-11-04 반사부재를 이용한 천장조형 Expired - Fee Related KR101954334B1 (ko)

Priority Applications (1)

Application Number Priority Date Filing Date Title
KR1020160146901A KR101954334B1 (ko) 2016-11-04 2016-11-04 반사부재를 이용한 천장조형

Applications Claiming Priority (1)

Application Number Priority Date Filing Date Title
KR1020160146901A KR101954334B1 (ko) 2016-11-04 2016-11-04 반사부재를 이용한 천장조형

Publications (2)

Publication Number Publication Date
KR20180050119A true KR20180050119A (ko) 2018-05-14
KR101954334B1 KR101954334B1 (ko) 2019-03-05

Family

ID=62187906

Family Applications (1)

Application Number Title Priority Date Filing Date
KR1020160146901A Expired - Fee Related KR101954334B1 (ko) 2016-11-04 2016-11-04 반사부재를 이용한 천장조형

Country Status (1)

Country Link
KR (1) KR101954334B1 (ko)

Cited By (1)

* Cited by examiner, † Cited by third party
Publication number Priority date Publication date Assignee Title
WO2019212148A1 (ko) 2018-04-30 2019-11-07 주식회사 엘지화학 이차 전지 테스트 장치 및 방법

Families Citing this family (1)

* Cited by examiner, † Cited by third party
Publication number Priority date Publication date Assignee Title
KR102544221B1 (ko) 2022-11-15 2023-06-16 주식회사 시공테크 키네틱 동작 구현을 위한 로보틱스 기계 장치

Citations (5)

* Cited by examiner, † Cited by third party
Publication number Priority date Publication date Assignee Title
JPH05250910A (ja) * 1992-03-06 1993-09-28 Naka Ind Ltd 照明装置
JP2004160056A (ja) * 2002-11-15 2004-06-10 Ichihara:Kk 仏壇
KR200438491Y1 (ko) * 2007-02-16 2008-02-20 주식회사 강산이엔에스 천정마감용 등박스 구조
KR200442202Y1 (ko) 2007-11-13 2008-10-16 김태준 천장 직부형 인테리어 조명장치
KR20160003273U (ko) * 2015-03-16 2016-09-26 주식회사 카시드 화장실 안내판

Patent Citations (5)

* Cited by examiner, † Cited by third party
Publication number Priority date Publication date Assignee Title
JPH05250910A (ja) * 1992-03-06 1993-09-28 Naka Ind Ltd 照明装置
JP2004160056A (ja) * 2002-11-15 2004-06-10 Ichihara:Kk 仏壇
KR200438491Y1 (ko) * 2007-02-16 2008-02-20 주식회사 강산이엔에스 천정마감용 등박스 구조
KR200442202Y1 (ko) 2007-11-13 2008-10-16 김태준 천장 직부형 인테리어 조명장치
KR20160003273U (ko) * 2015-03-16 2016-09-26 주식회사 카시드 화장실 안내판

Cited By (1)

* Cited by examiner, † Cited by third party
Publication number Priority date Publication date Assignee Title
WO2019212148A1 (ko) 2018-04-30 2019-11-07 주식회사 엘지화학 이차 전지 테스트 장치 및 방법

Also Published As

Publication number Publication date
KR101954334B1 (ko) 2019-03-05

Similar Documents

Publication Publication Date Title
CN101706052B (zh) 包含反射镜的照明方法及装置
US10984775B2 (en) Light fixture for absorbing sound energy
CN106164576B (zh) 光学设备和照明器
KR20170008262A (ko) 크로매틱 미러, 크로매틱 패널 및 그 응용장치
KR101954334B1 (ko) 반사부재를 이용한 천장조형
US20250305280A1 (en) Apparatus and system for acoustic curved ceiling baffle and methods of manufacturing thereof
CN208959339U (zh) 灯具、模块化表面覆盖布置和灯具套件
JP6482586B2 (ja) ふかし壁の施工方法及びふかし壁ユニット
JP7217128B2 (ja) 空間構成用構造体
JP6628656B2 (ja) 吹出口装置
KR20160000824U (ko) 조명등용 프레임
US7874706B2 (en) Shade for a recessed light fixture
US20230094666A1 (en) Centralized appliance hubs and related systems and methods
JP2012529137A (ja) 照明デバイス
CN205048375U (zh) 散射反射模块及系统
EP3073190B1 (en) Ornament mechanism, and ornament, sports equipment, and amusement equipment using same
US20160060866A1 (en) Sculpted Grid System
KR101461409B1 (ko) 천장 마감 조립체
KR101553197B1 (ko) 각도 조절 가능한 천장 마감재의 설치 구조
JP7714143B1 (ja) 木漏れ日模擬照明装置及びアート照明装置
JP2018012950A (ja) 採光用内装材及びそれを用いた採光方法
RU76041U1 (ru) Светопроницаемый стеклоблок для стен и витражей
JPS6133151Y2 (ko)
USD1100158S1 (en) Air conditioner indoor ceiling unit
CN207162317U (zh) 导视型集成终端模组

Legal Events

Date Code Title Description
PA0109 Patent application

St.27 status event code: A-0-1-A10-A12-nap-PA0109

PA0201 Request for examination

St.27 status event code: A-1-2-D10-D11-exm-PA0201

D13-X000 Search requested

St.27 status event code: A-1-2-D10-D13-srh-X000

R17-X000 Change to representative recorded

St.27 status event code: A-3-3-R10-R17-oth-X000

D14-X000 Search report completed

St.27 status event code: A-1-2-D10-D14-srh-X000

R18-X000 Changes to party contact information recorded

St.27 status event code: A-3-3-R10-R18-oth-X000

E902 Notification of reason for refusal
PE0902 Notice of grounds for rejection

St.27 status event code: A-1-2-D10-D21-exm-PE0902

PG1501 Laying open of application

St.27 status event code: A-1-1-Q10-Q12-nap-PG1501

T11-X000 Administrative time limit extension requested

St.27 status event code: U-3-3-T10-T11-oth-X000

N231 Notification of change of applicant
PN2301 Change of applicant

St.27 status event code: A-3-3-R10-R13-asn-PN2301

St.27 status event code: A-3-3-R10-R11-asn-PN2301

E13-X000 Pre-grant limitation requested

St.27 status event code: A-2-3-E10-E13-lim-X000

P11-X000 Amendment of application requested

St.27 status event code: A-2-2-P10-P11-nap-X000

P13-X000 Application amended

St.27 status event code: A-2-2-P10-P13-nap-X000

E701 Decision to grant or registration of patent right
PE0701 Decision of registration

St.27 status event code: A-1-2-D10-D22-exm-PE0701

GRNT Written decision to grant
PR0701 Registration of establishment

St.27 status event code: A-2-4-F10-F11-exm-PR0701

PR1002 Payment of registration fee

St.27 status event code: A-2-2-U10-U11-oth-PR1002

Fee payment year number: 1

PG1601 Publication of registration

St.27 status event code: A-4-4-Q10-Q13-nap-PG1601

PR1001 Payment of annual fee

St.27 status event code: A-4-4-U10-U11-oth-PR1001

Fee payment year number: 4

PC1903 Unpaid annual fee

St.27 status event code: A-4-4-U10-U13-oth-PC1903

Not in force date: 20230227

Payment event data comment text: Termination Category : DEFAULT_OF_REGISTRATION_FEE

PC1903 Unpaid annual fee

St.27 status event code: N-4-6-H10-H13-oth-PC1903

Ip right cessation event data comment text: Termination Category : DEFAULT_OF_REGISTRATION_FEE

Not in force date: 20230227