KR20180037523A - 재활용 쓰레기 수거함 - Google Patents

재활용 쓰레기 수거함 Download PDF

Info

Publication number
KR20180037523A
KR20180037523A KR1020160127807A KR20160127807A KR20180037523A KR 20180037523 A KR20180037523 A KR 20180037523A KR 1020160127807 A KR1020160127807 A KR 1020160127807A KR 20160127807 A KR20160127807 A KR 20160127807A KR 20180037523 A KR20180037523 A KR 20180037523A
Authority
KR
South Korea
Prior art keywords
guide
slot
moving member
garbage
spring
Prior art date
Legal status (The legal status is an assumption and is not a legal conclusion. Google has not performed a legal analysis and makes no representation as to the accuracy of the status listed.)
Ceased
Application number
KR1020160127807A
Other languages
English (en)
Inventor
심은렬
김지성
권세훈
Original Assignee
영진전문대학 산학협력단
김지성
권세훈
심은렬
Priority date (The priority date is an assumption and is not a legal conclusion. Google has not performed a legal analysis and makes no representation as to the accuracy of the date listed.)
Filing date
Publication date
Application filed by 영진전문대학 산학협력단, 김지성, 권세훈, 심은렬 filed Critical 영진전문대학 산학협력단
Priority to KR1020160127807A priority Critical patent/KR20180037523A/ko
Publication of KR20180037523A publication Critical patent/KR20180037523A/ko
Ceased legal-status Critical Current

Links

Images

Classifications

    • BPERFORMING OPERATIONS; TRANSPORTING
    • B65CONVEYING; PACKING; STORING; HANDLING THIN OR FILAMENTARY MATERIAL
    • B65FGATHERING OR REMOVAL OF DOMESTIC OR LIKE REFUSE
    • B65F1/00Refuse receptacles; Accessories therefor
    • B65F1/14Other constructional features; Accessories
    • B65F1/1478Other constructional features; Accessories relating to noise reduction in receptacles during collecting of refuse, e.g. of glass
    • BPERFORMING OPERATIONS; TRANSPORTING
    • B65CONVEYING; PACKING; STORING; HANDLING THIN OR FILAMENTARY MATERIAL
    • B65FGATHERING OR REMOVAL OF DOMESTIC OR LIKE REFUSE
    • B65F2210/00Equipment of refuse receptacles
    • B65F2210/128Data transmitting means
    • BPERFORMING OPERATIONS; TRANSPORTING
    • B65CONVEYING; PACKING; STORING; HANDLING THIN OR FILAMENTARY MATERIAL
    • B65FGATHERING OR REMOVAL OF DOMESTIC OR LIKE REFUSE
    • B65F2240/00Types of refuse collected
    • B65F2240/112Bottles
    • B65F2240/1123Glass

Landscapes

  • Engineering & Computer Science (AREA)
  • Mechanical Engineering (AREA)
  • Refuse Receptacles (AREA)

Abstract

본 발명은 유리병 등과 같이 서로 부딪히면 깨지기 쉽거나 심한 소음이 발생하는 재활용 쓰레기를 수거할 때 파손 및/또는 소음을 방지할 수 있으며, 수거함 내부를 확인하지 않고 외부에서 수거된 쓰레기의 양을 확인할 수 있는 재활용 쓰레기 수거함에 관한 것이다.
이를 위해 본 발명의 재활용 쓰레기 수거함은 본체부(100); 스프링(200); 및 상기 본체부(100)에 상기 스프링(200)을 매개로 이동 가능하게 결합된 이동부재(300, 300-1)를 포함하며, 상기 본체부(100)는 쓰레기를 보관할 수 있도록 형성된 몸체(110); 및 상기 몸체(110)의 측면에 수직으로 형성된 슬롯부(130)를 포함하고, 상기 이동부재(300, 300-1)는 수거되는 쓰레기를 받치도록 형성된 받침대(310, 310-1); 및 상기 슬롯부(130)를 따라 이동할 수 있도록 상기 이동부재(300, 300-1)의 일측에 형성된 위치확인 돌기(320, 320-1)를 포함한다.

Description

재활용 쓰레기 수거함{Bin for Recycling Waste}
본 발명은 재활용 쓰레기 수거함에 관한 것으로, 보다 상세하게는 수거 중에 충돌 등에 의해 깨지기 쉽거나 큰 소음이 발생할 수 있는 유리병 등의 재활용 쓰레기를 파손이나 불편한 소음 없이 수거할 수 있고, 외부에서 수거된 쓰레기의 양을 확인할 수 있는 재활용 쓰레기 수거함에 관한 발명이다.
현대 사회에서는 다양한 제품들이 많이 생산되고 있고 그로 인해 다양한 쓰레기도 함께 발생하고 있다. 모든 쓰레기를 매립하거나 소각하게 된다면, 환경을 오염시킬 수 있을 뿐 아니라 경제적인 측면에서도 많은 손실이 발생하게 된다. 따라서, 가능하면 쓰레기를 수거할 때 종류별로 분리 수거하여 재활용 가능한 것은 재활용하는 것이 필요하고, 쓰레기 분리수거 및 재활용은 우리의 일상에서 많이 정착되어 있다.
하지만, 유리병 등과 같이 서로 부딪히면 불편한 소음이 발생할 뿐 아니라 파손될 가능성이 높은 재활용 쓰레기는 수거함에 투입할 때 파손 방지 등을 위해 수거함 내부로 몸을 숙여 조심스럽게 투입하거나 깨지는/깨질 것 같은 불편한 소음을 감수해야 하는 문제점이 있고, 수거된 재활용 쓰레기를 회수할 때에도 작업자가 재활용 쓰레기의 파편 등에 의해 다칠 수 있는 문제점도 있다.
이를 해결하기 위한 기술 중의 하나로 등록실용신안공보 제20-0409823호(2006.03.03. 공고)에 나타난 바와 같이 쓰레기 수납부(21)가 높이 형성되어 있다가 쓰레기가 투입되면서 수납부(21)의 높이가 점차 낮아지도록 하여 투입되는 유리병이 서로 부딪혀 소음을 발생시키거나 깨지는 것을 방지하는 기술(이하, ‘종래기술’이라 한다.)이 있다. 하지만, 종래기술은 받침판(23)이 탄성스프링(22)에 탄성지지되어 투입되는 유리병의 무게에 의해 조금씩 받침판(23)의 높이가 낮아지므로, 수납부(21)의 양만큼 유리병이 완전히 수거되지 않은 상태에서도 높이가 높아진 상태에 있으므로, 개폐구(11)를 개방하지 않고는 쓰레기통이 다 찼는지 더 수거할 수 있는지 여부를 확인할 수 없는 문제점이 있다. 또한, 종래기술에서는 수납부(21)를 항상 교체해 주어야 하는 문제점도 있다.
등록실용신안공보 제20-0409823호(2006.03.03. 공고)
본 발명이 이루고자 하는 기술적 과제는 유리병 등과 같이 서로 부딪히면 깨지기 쉽거나 심한 소음이 발생하는 재활용 쓰레기를 수거할 때 파손 및/또는 소음을 방지할 수 있으며, 수거함 내부나 개폐부를 열어서 확인하지 않고 외부에서 수거된 쓰레기의 양을 확인할 수 있어 편리하게 사용할 수 있는 재활용 쓰레기 수거함을 제공하는 것이다.
또한, 본 발명은 쓰레기 수거 중에 함께 배출되는 잔류 액체를 이동부재(300-1)에서 수거하여 수거함 전체가 오염되는 것을 방지할 수 있으며 위생적으로 사용할 수 있는 재활용 쓰레기 수거함을 제공하는 것이다.
본 발명이 이루고자 하는 기술적 과제는 이상에서 언급한 기술적 과제로 제한되지 않으며, 언급되지 않은 또 다른 기술적 과제들은 아래의 기재로부터 본 발명이 속하는 기술 분야에서 통상의 지식을 가진 자에게 명확하게 이해될 수 있을 것이다.
상기 기술적 과제를 달성하기 위하여, 본 발명의 일 실시예에 따른 재활용 쓰레기 수거함은 본체부(100)와 스프링(200) 및 상기 본체부(100)에 상기 스프링(200)을 매개로 이동 가능하게 결합된 이동부재(300)를 포함하고 있는데, 상기 본체부(100)는 쓰레기를 보관할 수 있도록 형성된 몸체(110)와 상기 몸체(110)의 측면에 수직으로 형성된 슬롯부(130)를 포함하고, 상기 이동부재(300, 300-1)는 수거되는 쓰레기를 받치도록 형성된 받침대(310, 310-1)와 상기 슬롯부(130)를 따라 이동할 수 있도록 상기 이동부재(300, 300-1)의 일측에 형성된 위치확인 돌기(320, 320-1)를 포함하고 있다.
또 다른 실시예로, 상기 몸체(110)에는 바닥면으로부터 수직으로 다수의 가이드 기둥(120)이 형성되어 있고, 상기 스프링(200)은 상기 가이드 기둥(120)의 둘레에 설치되는 코일스프링으로 구성되어 있으며, 상기 받침대(310, 310-1)에는 상기 가이드 기둥(120)을 따라 상기 이동부재(300, 300-1)가 이동할 수 있도록 다수의 가이드 홀(330)이 형성되어 있을 수 있다.
또한, 상기 이동부재(300-1)에는 받침대(310-1)의 둘레를 따라 측면 연장부(350)가 형성되어 있고, 상기 가이드 홀(330)의 둘레를 따라 가이드 홀 연장부(330-1)가 형성되어 있으며, 상기 위치확인 돌기(320-1)는 상기 슬롯(130)을 따라 이동할 수 있도록 상기 받침판(310-1) 또는 상기 측면 연장부(350)에 형성되어 있을 수 있다.
또 다른 실시예로, 상기 몸체(110)에는 바닥면으로부터 수직으로 다수의 중공 가이드(121)가 형성되어 있고, 상기 중공 가이드(121)의 내부에 상기 스프링(200)이 설치되어 있으며, 상기 받침대(310, 310-1)에는 상기 중공 가이드(121)를 따라 상기 이동부재(300, 300-1)가 이동할 수 있도록 다수의 가이드 돌기(331, 331-1)가 형성되어 있을 수 있다.
또한, 상기 이동부재(300-1)에는 받침대(310-1)의 둘레를 따라 측면 연장부(350)가 형성되어 있고, 상기 가이드 돌기(331-1)는 상기 중공 가이드(121)를 따라 이동할 수 있도록 상기 받침판(310-1) 또는 상기 측면 연장부(350)에 형성되어 있으며, 상기 위치확인 돌기(320-1)는 상기 슬롯(130)을 따라 이동할 수 있도록 상기 받침판(310-1) 또는 상기 측면 연장부(350)에 형성되어 있을 수 있다.
또 다른 실시예로, 상기 슬롯부(130)에는 상기 슬롯부(130)를 덮을 수 있는 투명커버(400)가 추가로 형성되어 있을 수 있다.
또한, 상기 슬롯부(130)는 상기 위치확인 돌기(320, 320-1)가 이동하도록 형성된 슬롯(131); 및 상기 슬롯(131)의 외부로 오목부(132)가 형성되어 있으며, 상기 투명커버(400)는 원호부(410); 및 상기 오목부(132)와 결합되도록 상기 원호부(410)의 양단에 결합부(420)가 형성되어 있을 수 있다.
본 발명의 실시예에 따르면, 유리병 등과 같이 파손이나 소음이 발생하기 쉬운 재활용 쓰레기를 파손이나 소음 없이 수거할 수 있고, 외부에서 수거된 쓰레기의 양을 쉽게 확인할 수 있는 재활용 쓰레기 수거함을 제공할 수 있다.
또한, 본 발명의 재활용 쓰레기 수거함은 이동부재를 액체 수거가 가능하도록 형성하여 유리병 등과 같이 잔류 액체가 존재할 수 있는 재활용 쓰레기를 수거할 때 수거함 전체가 오염되는 것을 방지하고 몸체와 분리될 수 있도록 형성된 이동부재만을 세척하여 깨끗하고 위생적으로 사용할 수 있는 장점이 있다.
도 1. 종래의 재활용 쓰레기 수거함.
도 2. 본 발명의 제1 실시예에 따른 재활용 쓰레기 수거함의 분해도.
도 3. 본 발명의 제1 실시예에 따른 재활용 쓰레기 수거함의 결합 사시도.
도 4. 본 발명의 제2 실시예에 따른 재활용 쓰레기 수거함의 분해도.
도 5. 본 발명의 제2 실시예에 따른 재활용 쓰레기 수거함의 결합 사시도.
도 6. 제3, 4 실시예에 따른 측면 연장부가 형성된 이동부재의 사시도.
(a) 관통홀이 형성된 이동부재 (b) 결합돌기가 형성된 이동부재
이하에서는 첨부한 도면을 참조하여 본 발명을 설명하기로 한다. 그러나 본 발명은 여러 가지 상이한 형태로 구현될 수 있으며, 따라서 여기에서 설명하는 실시예로 한정되는 것은 아니다.
명세서 전체에서, 어떤 부분이 다른 부분과 "연결(접속, 접촉, 결합)"되어 있다고 할 때, 이는 "직접적으로 연결"되어 있는 경우뿐 아니라, 그 중간에 다른 부재를 사이에 두고 "간접적으로 연결"되어 있는 경우도 포함한다. 또한 어떤 부분이 어떤 구성요소를 "포함"한다고 할 때, 이는 특별히 반대되는 기재가 없는 한 다른 구성요소를 제외하는 것이 아니라 다른 구성요소를 더 구비할 수 있다는 것을 의미한다.
본 명세서에서 사용한 용어는 단지 특정한 실시예를 설명하기 위해 사용된 것으로, 본 발명을 한정하려는 의도가 아니다. 단수의 표현은 문맥상 명백하게 다르게 뜻하지 않는 한, 복수의 표현을 포함한다. 본 명세서에서, "포함하다" 또는 "가지다" 등의 용어는 명세서상에 기재된 특징, 숫자, 단계, 동작, 구성요소, 부품 또는 이들을 조합한 것이 존재함을 지정하려는 것이지, 하나 또는 그 이상의 다른 특징들이나 숫자, 단계, 동작, 구성요소, 부품 또는 이들을 조합한 것들의 존재 또는 부가 가능성을 미리 배제하지 않는 것으로 이해되어야 한다.
이하, 본 발명의 바람직한 실시 예를 첨부한 도면을 참조하여 당해 분야에 통상의 지식을 가진 자가 용이하게 실시할 수 있도록 설명한다.
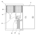
도 2는 본 발명의 제1 실시예에 따른 재활용 쓰레기 수거함의 분해도이고, 도 3은 본 발명의 제1 실시예에 따른 결합 사시도를 도시하였다.
본 발명의 제1 실시예로 나타난 재활용 쓰레기 수거함은 도 2에 도시된 바와 같이, 본체부(100)와 스프링(200)과 상기 본체부(100)에 상기 스프링을 매개로 이동 가능하게 결합된 이동부재(300)를 포함하고, 투명커버(400)를 추가로 포함할 수 있다.
본 발명의 제1 실시예의 본체부(100)는 도 2에 도시된 바와 같이 통상적인 쓰레기통처럼 내부는 개방되어 있고 바닥면이 형성되어 있는 몸체(110)를 포함한다. 다만, 본 발명의 몸체(110)에는 통상적인 쓰레기통과 달리, 측면에는 수직방향으로 길게 슬롯부(130)가 형성되어 있다. 상기 슬롯부(130)는 몸체(110)의 내주면에 형성되어 있는 슬롯(131)과 슬롯(131)의 외부, 즉 몸체의 두께 방향으로 오목부(132)가 형성되어 있다. 또한, 슬롯부(130)의 하단에는 슬롯(131)은 형성되어 있지 않고 좌우측으로 오목부(132)가 형성되어 있는 슬롯 하단부(133)가 형성되어 있을 수도 있고, 슬롯 하단부(133)의 형상은 투명커버(400)의 형상에 상응하도록 구성되며 곡률을 갖도록 구성할 수도 있다.
또한, 본 발명의 제1 실시예에서는 몸체(110)의 바닥면에 일단이 고정되며 수직으로 돌출되어 있는 다수 개의 가이드 기둥(120)이 간격을 두고 형성되어 있다. 상기 가이드 기둥(120)은 도 2에 나타난 코일 스프링 형상의 스프링(200)을 상기 가이드 기둥(120)에 끼우고 그 위에 상기 이동부재(300)를 결합하여 이동부재(300)의 상하 이동을 안내해 주는 기능을 하는 구성요소이다. 하지만, 이동부재(300)가 몸체(110)의 바닥면 방향으로 이동하게 되면 가이드 기둥(120)은 돌출되어, 이로 인해 수거할 수 있는 쓰레기의 크기나 양이 감소할 수 있으므로, 가능하면 상기 가이드 기둥(120)은 몸체(110)의 내주면에 가깝게 형성하는 것이 바람직하다.
도 2에는 본 발명의 제1 실시예에 나타난 상하로 이동할 수 있게 구성된 이동부재(300)가 나타나 있다. 이동부재(300)에는 받침대(310)가 형성되어 있고, 상기 받침대(310)에는 상기 가이드 기둥(120)과 이동 가능하게 결합되도록 다수의 가이드 홀(330)이 형성되어 있으며, 받침대(310)의 일측에는 위치확인 돌기(320)가 형성되어 있다. 또한, 받침대(310)의 하부면에는 상기 가이드 홀(330)의 주위로 상기 스프링(200)의 상단부와 안전하게 접촉하고 받침대(310)의 변형을 방지할 수 있도록 스프링 받침용 보강부(340)가 형성되어 있을 수도 있다.
상기 이동부재(300)는 상기 몸부(110)에 설치할 때 상기 위치확인 돌기(320)가 상기 몸체(110)에 형성된 슬롯(131)에 돌출되도록 설치하고, 상기 위치확인 돌기(320)는 외부에서 확인할 수 있을 정도로 돌출되어 있으면 충분하고, 다양한 색깔이나 형상 등으로 시인성이 좋게 형성할 수도 있을 것이다.
한편, 몸체(110)의 측면에 슬롯부(130)가 형성되어 있어, 몸체(110)의 바닥면에 먼지나 물 등이 유입되어 오염이 될 수 있는데, 이를 방지하기 위하여 도 2에 나타난 바와 같은 투명한 재질의 투명커버(400)를 부착하여 사용할 수도 있다.
투명커버(400)는 중앙에 형성된 원호부(410)과 상기 원호부(410)의 양측면에 형성된 결합부(420)를 포함하도록 구성될 수 있다. 상기 결합부(420)는 위에서 살펴본 슬롯부(130)의 오목부(132)와 결합되도록 구성되며, 투명커버(400)를 상기 슬롯부(130)에 끼워서 결합시키면 외부에서 상기 중앙에 형성된 원호부(410)를 통해 이동부재(300)의 위치확인 돌기(320)는 확인할 수 있으며, 슬롯(131)은 밀폐되어 슬롯(131)으로 먼지나 물 등이 몸체(110)의 내부로 유입되는 것을 방지할 수 있다. 상기 결합부(420)에는 오목부(132)의 형상에 따라 경사부(430)가 추가로 형성되어 있을 수도 있다.
상기 본체부(100)에 스프링(200)과 이동부재(300)를 결합하면 도 3에 도시한 바와 같이 본 발명의 제1 실시예인 재활용 쓰레기 수거함이 완성될 수 있다. 이 때 필요에 따라 투명커버(400)를 추가로 결합할 수도 있다.
본 발명의 제2 실시예로 도 4에 도시된 바와 같이 몸체(110)의 바닥면에 가이드 기둥(120)이 형성되어 있는 것이 아니고 몸체(110)의 측면에 다수의 중공 가이드(121)가 형성되어 있는 재활용 쓰레기 수거함이 있다. 중공 가이드(121)는 필요에 따라 오목하게, 즉, 몸체(110)의 내부로 오목하게 형성되도록 할 수도 있지만, 도 4에 도시된 바와 같이 몸체(110)의 외부로 돌출되도록 형성되어 있는 것이 보다 바람직하다.
도 4에서와 같이 몸체(110)의 측면에 중공 가이드(121)가 형성되어 있으면 이에 따라 이동부재(300)의 형상도 변해야 하는데, 도 4에 도시된 바와 같이 이동부재(300)는 받침판(310)과 받침판의 측면으로 돌출되어 성형된 가이드 돌기(331)가 형성되어 있으며, 받침대(310)의 일측에 위치확인 돌기(320)가 형성되어 있다.
본 실시예는 도 4에 도시된 바와 같이 상기 몸체(110)의 측면에 형성된 중공 가이드(120)와 이동부재(300)에 형성된 가이드 돌기(331)를 제외하고는 위에서 살펴본 제1 실시예와 동일한 구성을 가지는데, 이를 결합하면, 본체부(100)의 중공 가이드(121)에 스프링(200)을 삽입한 다음, 상기 이동부재(300)의 가이드 돌기(331)와 위치확인 돌기(320)를 각각 중공 가이드(121)과 슬롯(131)에 이동 가능하게 결합되도록 구성할 수 있으며, 도 5는 이를 나타낸 본 발명의 제2 실시예의 결합 사시도이다.
한편, 본 발명의 제3, 4 실시예로 도 6에 도시된 바와 같이 액체를 수거할 수 있도록 구성된 이동부재(300)를 갖는 재활용 쓰레기 수거함이 있다.
도 6(a)에 나타난 이동부재(300-1)는 도 2에서와 같이 몸체(110)에 가이드 기둥(120)이 형성된 경우에 사용하는 이동부재(300-1)로써, 받침대(310-1)에 다수의 가이드 홀(310)이 형성되어 있으며, 받침대(310-1)의 둘레 및 가이드 홀(330)의 둘레를 따라 측면 연장부(350) 및 가이드 홀 연장부(330-1)가 각각 연장 형성되어 있다. 이 이동부재(300-1)에서 위치확인 돌기(320-1)는 받침대(310-1) 또는 측면 연장부(350)에 형성되어 상기 슬롯(131)에 이동 가능하게 결합되어 있으며, 받침대(310-1)의 하부면에는 가이드 홀(330)의 둘레를 따라 가이드 홀 보강부(340-1)가 형성되어 있을 수 있다.
또한, 도 6(b)에 나타난 이동부재(300-1)는 몸체(110)에 중공 가이드(121)가 형성된 이동부재(300-1)로써, 받침대(310-1)의 둘레를 따라 측면 연장부(350)가 연장 형성되어 있으며, 가이드 돌기(331-1)와 위치확인 돌기(320-1)는 각각 받침대(310-1) 또는 측면 연장부(350)에 형성되어 상기 중공 가이드(121)와 상기 슬롯(131)에 각각 이동 가능하게 결합된다.
위에서 살펴본 본 발명의 재활용 쓰레기 수거함은 도 3, 5에 도시한 바와 같이 쓰레기가 투입되지 않았을 때에는 이동부재(300)의 받침판(310)이 높이 올라와 있다. 이 때 이동부재(300)의 높이는 스프링(200)의 강도를 조절하여 도 3, 5에서와 같이 몸체(110)의 상단부보다 일정 높이 낮게 형성할 수도 있고, 몸체(110)의 상단부에 보다 근접한 높이가 되도록 형성할 수도 있다.
도 3, 5에서와 같이 형성된 수거함에 유리병 등이 투입되면 그 무게에 의해 스프링(200)이 압축되어 이동부재(300)는 투입되는 쓰레기의 양만큼 점차 아래로 이동하게 된다. 이로 인해 다음에 유리병 등이 투입되더라도 유입된 유리병이 낙하하지 않아 부딪힘에 의한 불편한 소음이나 파손을 방지할 수 있고, 수거하는 작업자가 파손된 파편 등에 의한 부상의 위험도 감소하게 된다.
한편, 이러한 수거함은 투입된 쓰레기의 무게에 따라 이동부재(300)가 이동하게 되므로, 수거함에 재활용 쓰레기가 완전히 투입되지 않은 상태에서도 재활용 쓰레기는 수거함에 가득 차 있는 것처럼 보이므로 쓰레기를 더 수거할 수 있는 상태인지 여부를 확인하는 것이 필요하다. 이를 위해, 본 발명의 수거함에는 몸체(110)의 측면에 위치확인 돌기(320)가 형성되어 있어, 외부에서 위치확인 돌기(320)를 확인하여 쉽게 재활용 쓰레기를 추가로 투입해도 되는지 여부를 확인할 수 있다.
도 3에서와 같이 가이드 기둥(120)이 형성되어 있는 경우에는 재활용 쓰레기가 수거함에 추가로 투입됨에 따라 이동부재(300)는 하부로 이동하여 가이드 기둥(120)이 돌출되게 된다. 한편, 도 5에서와 같이 중공 가이드(121)가 형성되어 있는 경우에는 받침대(310)에 추가로 가이드 돌기(321)가 형성되어 있으나, 받침대(310)가 하부로 이동하더라도 몸체(110)의 내부에 가이드 기둥과 같이 돌출되는 구성요소 없이 재활용 쓰레기를 수거할 수 있다.
한편, 본 발명의 재활용 쓰레기 수거함은 몸체(110)의 측면에 형성된 슬롯(131)을 통해 몸체(110)의 내부 바닥면에 이물질이 유입되어 수거함이 지저분해질 수 있으나, 슬롯부(130)에 투명한 투명커버(400)를 부착하여 이를 방지할 수 있고, 투명한 투명커버(400)를 통해 위치확인 돌기(320)의 위치는 여전히 외부에서 쉽게 확인할 수 있다.
마지막으로, 도 6(a), (b)에 도시된 바와 같이 액체를 수거할 수 있도록 구성된 이동부재(300-1)를 설치한 재활용 쓰레기 수거함의 경우, 쓰레기의 투입에 따른 이동부재(300-1)의 작동 및 쓰레기의 양을 확인하는 방법은 도 3, 5에 나타난 수거함과 동일하다. 다만, 본 실시예에서는 수거함에 보관된 쓰레기로부터 잔류 액체 등이 흘러나오더라도, 이동부재(300-1)에만 모이도록 하여, 몸체(110)의 바닥면 등과 같이 수거함 전체에서 잔류 액체에 의해 오염이 되는 것을 방지할 수 있다. 이 경우, 수거함에 채워진 재활용 쓰레기를 재활용하기 위해 수거함으로부터 꺼내면, 이동부재(300-1)는 점점 위로 상승하게 되며, 이동부재(300-1)가 잔류 액체 등으로 오염이 되어 있으면, 수거함으로부터 이동부재(300-1)만을 분리하여 세척이 가능하므로, 보다 편리하게 위생적으로 수거함을 사용할 수 있다.
전술한 본 발명의 설명은 예시를 위한 것이며, 본 발명이 속하는 기술분야의 통상의 지식을 가진 자는 본 발명의 기술적 사상이나 필수적인 특징을 변경하지 않고서 다른 구체적인 형태로 쉽게 변형이 가능하다는 것을 이해할 수 있을 것이다. 그러므로 이상에서 기술한 실시예들은 모든 면에서 예시적인 것이며 한정적이 아닌 것으로 이해해야만 한다. 예를 들어, 단일형으로 설명되어 있는 각 구성 요소는 분산되어 실시될 수도 있으며, 마찬가지로 분산된 것으로 설명되어 있는 구성 요소들도 결합된 형태로 실시될 수 있다.
본 발명의 범위는 후술하는 특허청구범위에 의하여 나타내어지며, 특허청구범위의 의미 및 범위 그리고 그 균등 개념으로부터 도출되는 모든 변경 또는 변형된 형태가 본 발명의 범위에 포함되는 것으로 해석되어야 한다.
100: 본체부 110 : 몸체
120 : 가이드 기둥 121 : 중공 가이드
130 : 슬롯부 131 : 슬롯
132 : 오목부 133 : 슬롯 하단부
200 : 스프링 300, 300-1 : 이동부재
310, 301-1 : 받침 320, 320-1 : 위치확인 돌기
330 : 가이드 홀 330-1 : 가이드 홀 연장부
331, 331-1 : 가이드 돌기 340, 340-1 : 스프링 받침용 보강부
350 : 측면 연장부 400 : 투명 커버
410 : 원호부 420 : 결합부
430 : 경사면

Claims (7)

  1. 본체부(100); 스프링(200); 및 상기 본체부(100)에 상기 스프링(200)을 매개로 이동 가능하게 결합된 이동부재(300, 300-1)를 포함하는 재활용 쓰레기 수거함에 있어서, 상기 본체부(100)는 쓰레기를 보관할 수 있도록 형성된 몸체(110); 및 상기 몸체(110)의 측면에 수직으로 형성된 슬롯부(130)를 포함하고, 상기 이동부재(300, 300-1)는 수거되는 쓰레기를 받치도록 형성된 받침대(310, 310-1); 및 상기 슬롯부(130)를 따라 이동할 수 있도록 상기 이동부재(300, 300-1)의 일측에 형성된 위치확인 돌기(320, 320-1)를 포함하는 것을 특징으로 하는 재활용 쓰레기 수거함.
  2. 제1항에서 있어서,
    상기 몸체(110)에는 바닥면으로부터 수직으로 다수의 가이드 기둥(120)이 형성되어 있고, 상기 스프링(200)은 상기 가이드 기둥(120)의 둘레에 설치되는 코일스프링으로 구성되어 있으며, 상기 받침대(310, 310-1)에는 상기 가이드 기둥(120)을 따라 상기 이동부재(300, 300-1)가 이동할 수 있도록 다수의 가이드 홀(330)이 형성되어 있는 것을 특징으로 하는 재활용 쓰레기 수거함.
  3. 제2항에 있어서,
    상기 이동부재(300-1)에는 받침대(310-1)의 둘레를 따라 측면 연장부(350)가 형성되어 있고, 상기 가이드 홀(330)의 둘레를 따라 가이드 홀 연장부(330-1)가 형성되어 있으며, 상기 위치확인 돌기(320-1)는 상기 슬롯부(130)를 따라 이동할 수 있도록 상기 받침판(310-1) 또는 상기 측면 연장부(350)에 형성되어 있는 것을 특징으로 하는 재활용 쓰레기 수거함.
  4. 제1항에 있어서,
    상기 몸체(110)에는 바닥면으로부터 수직으로 다수의 중공 가이드(121)가 형성되어 있고, 상기 중공 가이드(121)의 내부에 상기 스프링(200)이 형성되어 있으며, 상기 받침대(310, 310-1)에는 상기 중공 가이드(121)를 따라 상기 이동부재(300, 300-1)가 이동할 수 있도록 다수의 가이드 돌기(331, 331-1)가 형성되어 있는 것을 특징으로 하는 재활용 쓰레기 수거함.
  5. 제4항에 있어서,
    상기 이동부재(300-1)에는 받침대(310-1)의 둘레를 따라 측면 연장부(350)가 형성되어 있고, 상기 가이드 돌기(331-1)는 상기 중공 가이드(121)를 따라 이동할 수 있도록 상기 받침판(310-1) 또는 상기 측면 연장부(350)에 형성되어 있으며, 상기 위치확인 돌기(320-1)는 상기 슬롯(130)을 따라 이동할 수 있도록 상기 받침판(310-1) 또는 상기 측면 연장부(350)에 형성되어 있는 것을 특징으로 하는 재활용 쓰레기 수거함.
  6. 제1항 내지 제5항 중 어느 한 항에 있어서,
    상기 슬롯부(130)에는 상기 슬롯부(130)를 덮을 수 있는 투명한 투명커버(400)가 추가로 형성되어 있는 것을 특징으로 하는 재활용 쓰레기 수거함.
  7. 제6항에 있어서,
    상기 슬롯부(130)는 상기 위치확인 돌기(320, 320-1)가 이동 가능하도록 형성된 슬롯(131); 및 상기 슬롯(131)의 외부로 오목부(132)가 형성되어 있으며, 상기 투명커버(400)는 원호부(410); 및 상기 오목부(132)와 결합되도록 상기 원호부(410)의 양단에 결합부(420)가 형성되어 있는 것을 특징으로 하는 재활용 쓰레기 수거함.
KR1020160127807A 2016-10-04 2016-10-04 재활용 쓰레기 수거함 Ceased KR20180037523A (ko)

Priority Applications (1)

Application Number Priority Date Filing Date Title
KR1020160127807A KR20180037523A (ko) 2016-10-04 2016-10-04 재활용 쓰레기 수거함

Applications Claiming Priority (1)

Application Number Priority Date Filing Date Title
KR1020160127807A KR20180037523A (ko) 2016-10-04 2016-10-04 재활용 쓰레기 수거함

Publications (1)

Publication Number Publication Date
KR20180037523A true KR20180037523A (ko) 2018-04-12

Family

ID=61969290

Family Applications (1)

Application Number Title Priority Date Filing Date
KR1020160127807A Ceased KR20180037523A (ko) 2016-10-04 2016-10-04 재활용 쓰레기 수거함

Country Status (1)

Country Link
KR (1) KR20180037523A (ko)

Cited By (2)

* Cited by examiner, † Cited by third party
Publication number Priority date Publication date Assignee Title
IT202100026045A1 (it) 2021-10-12 2023-04-12 Marv S R L Fondo mobile per contenitori di rifiuti
KR20250108943A (ko) 2024-01-09 2025-07-16 주식회사 제이에스엘디자인 페트 재활용 분리수거함

Citations (3)

* Cited by examiner, † Cited by third party
Publication number Priority date Publication date Assignee Title
KR200409823Y1 (ko) * 2005-12-02 2006-03-03 방남석 재활용 분리 수거용 쓰레기통
KR20110003363U (ko) * 2009-09-28 2011-04-05 지학구 원뿔형 종이컵 수거용구
KR20120115462A (ko) * 2011-04-10 2012-10-18 이승용 편리유리병 재활용 수거함

Patent Citations (3)

* Cited by examiner, † Cited by third party
Publication number Priority date Publication date Assignee Title
KR200409823Y1 (ko) * 2005-12-02 2006-03-03 방남석 재활용 분리 수거용 쓰레기통
KR20110003363U (ko) * 2009-09-28 2011-04-05 지학구 원뿔형 종이컵 수거용구
KR20120115462A (ko) * 2011-04-10 2012-10-18 이승용 편리유리병 재활용 수거함

Cited By (2)

* Cited by examiner, † Cited by third party
Publication number Priority date Publication date Assignee Title
IT202100026045A1 (it) 2021-10-12 2023-04-12 Marv S R L Fondo mobile per contenitori di rifiuti
KR20250108943A (ko) 2024-01-09 2025-07-16 주식회사 제이에스엘디자인 페트 재활용 분리수거함

Similar Documents

Publication Publication Date Title
RU2040452C1 (ru) Блок идентификации для мусорного контейнера
CA2059679C (en) Combined waste paper and trash basket
KR20180037523A (ko) 재활용 쓰레기 수거함
US20060186187A1 (en) Device for the collection of articles, such as waste, dirty laundry, and the like
KR20170054343A (ko) 쓰레기봉투 거치 쓰레기통
YU47978B (sh) Bure sa čepovima
US10160596B2 (en) Refuse container support apparatus
KR20160031313A (ko) 분리수거함
KR200492458Y1 (ko) 재활용 쓰레기 분리수거기
JP2009208850A (ja) ごみ容器の固定設置装置
CN215827556U (zh) 一种环保绿化大容量垃圾桶
RU2004123577A (ru) Контейнер для транспортировки и/или хранения
CN209258879U (zh) 一种垃圾分类箱
KR200432728Y1 (ko) 투명 쓰레기통
KR200487348Y1 (ko) 재활용 가능한 생활쓰레기 수거용 쓰레기통
US20120279886A1 (en) Dumpster for holding waste material
KR200487826Y1 (ko) 롤 비닐봉지를 구비한 쓰레기통
CN106241104A (zh) 一种分类垃圾箱
CN210557111U (zh) 一种多功能垃圾桶
KR930006254Y1 (ko) 폐 일회용컵 수거용기
KR102418689B1 (ko) 하부 교체형 팔레트를 갖는 화장품 케이스
KR102603172B1 (ko) 제습 밀폐형 휴지통
KR20130001601U (ko) 신문 분리수거함
KR200440427Y1 (ko) 재활용 분리수거함
KR200351212Y1 (ko) 컵 회수대

Legal Events

Date Code Title Description
A201 Request for examination
PA0109 Patent application

Patent event code: PA01091R01D

Comment text: Patent Application

Patent event date: 20161004

PA0201 Request for examination
E902 Notification of reason for refusal
PE0902 Notice of grounds for rejection

Comment text: Notification of reason for refusal

Patent event date: 20171209

Patent event code: PE09021S01D

E601 Decision to refuse application
PE0601 Decision on rejection of patent

Patent event date: 20180319

Comment text: Decision to Refuse Application

Patent event code: PE06012S01D

Patent event date: 20171209

Comment text: Notification of reason for refusal

Patent event code: PE06011S01I

PG1501 Laying open of application