KR20170103597A - A skin care device - Google Patents

A skin care device Download PDF

Info

Publication number
KR20170103597A
KR20170103597A KR1020160090703A KR20160090703A KR20170103597A KR 20170103597 A KR20170103597 A KR 20170103597A KR 1020160090703 A KR1020160090703 A KR 1020160090703A KR 20160090703 A KR20160090703 A KR 20160090703A KR 20170103597 A KR20170103597 A KR 20170103597A
Authority
KR
South Korea
Prior art keywords
skin
light source
light
pair
contact
Prior art date
Legal status (The legal status is an assumption and is not a legal conclusion. Google has not performed a legal analysis and makes no representation as to the accuracy of the status listed.)
Granted
Application number
KR1020160090703A
Other languages
Korean (ko)
Other versions
KR102287036B1 (en
Inventor
이정인
황정환
장지혜
방연호
정상동
노승윤
유진영
Original Assignee
(주)아모레퍼시픽
주식회사 아모센스
Priority date (The priority date is an assumption and is not a legal conclusion. Google has not performed a legal analysis and makes no representation as to the accuracy of the date listed.)
Filing date
Publication date
Priority claimed from KR1020160025922A external-priority patent/KR101642248B1/en
Application filed by (주)아모레퍼시픽, 주식회사 아모센스 filed Critical (주)아모레퍼시픽
Priority to KR1020160090703A priority Critical patent/KR102287036B1/en
Publication of KR20170103597A publication Critical patent/KR20170103597A/en
Application granted granted Critical
Publication of KR102287036B1 publication Critical patent/KR102287036B1/en
Active legal-status Critical Current
Anticipated expiration legal-status Critical

Links

Images

Classifications

    • AHUMAN NECESSITIES
    • A61MEDICAL OR VETERINARY SCIENCE; HYGIENE
    • A61NELECTROTHERAPY; MAGNETOTHERAPY; RADIATION THERAPY; ULTRASOUND THERAPY
    • A61N5/00Radiation therapy
    • A61N5/06Radiation therapy using light
    • A61N5/0613Apparatus adapted for a specific treatment
    • A61N5/0616Skin treatment other than tanning
    • AHUMAN NECESSITIES
    • A61MEDICAL OR VETERINARY SCIENCE; HYGIENE
    • A61HPHYSICAL THERAPY APPARATUS, e.g. DEVICES FOR LOCATING OR STIMULATING REFLEX POINTS IN THE BODY; ARTIFICIAL RESPIRATION; MASSAGE; BATHING DEVICES FOR SPECIAL THERAPEUTIC OR HYGIENIC PURPOSES OR SPECIFIC PARTS OF THE BODY
    • A61H23/00Percussion or vibration massage, e.g. using supersonic vibration; Suction-vibration massage; Massage with moving diaphragms
    • A61H23/02Percussion or vibration massage, e.g. using supersonic vibration; Suction-vibration massage; Massage with moving diaphragms with electric or magnetic drive
    • A61H23/0254Percussion or vibration massage, e.g. using supersonic vibration; Suction-vibration massage; Massage with moving diaphragms with electric or magnetic drive with rotary motor
    • AHUMAN NECESSITIES
    • A61MEDICAL OR VETERINARY SCIENCE; HYGIENE
    • A61NELECTROTHERAPY; MAGNETOTHERAPY; RADIATION THERAPY; ULTRASOUND THERAPY
    • A61N1/00Electrotherapy; Circuits therefor
    • A61N1/02Details
    • A61N1/04Electrodes
    • A61N1/0404Electrodes for external use
    • A61N1/0408Use-related aspects
    • A61N1/0412Specially adapted for transcutaneous electroporation, e.g. including drug reservoirs
    • A61N1/0416Anode and cathode
    • AHUMAN NECESSITIES
    • A61MEDICAL OR VETERINARY SCIENCE; HYGIENE
    • A61NELECTROTHERAPY; MAGNETOTHERAPY; RADIATION THERAPY; ULTRASOUND THERAPY
    • A61N1/00Electrotherapy; Circuits therefor
    • A61N1/02Details
    • A61N1/08Arrangements or circuits for monitoring, protecting, controlling or indicating
    • AHUMAN NECESSITIES
    • A61MEDICAL OR VETERINARY SCIENCE; HYGIENE
    • A61NELECTROTHERAPY; MAGNETOTHERAPY; RADIATION THERAPY; ULTRASOUND THERAPY
    • A61N1/00Electrotherapy; Circuits therefor
    • A61N1/18Applying electric currents by contact electrodes
    • A61N1/20Applying electric currents by contact electrodes continuous direct currents
    • A61N1/30Apparatus for iontophoresis, i.e. transfer of media in ionic state by an electromotoric force into the body, or cataphoresis
    • FMECHANICAL ENGINEERING; LIGHTING; HEATING; WEAPONS; BLASTING
    • F21LIGHTING
    • F21SNON-PORTABLE LIGHTING DEVICES; SYSTEMS THEREOF; VEHICLE LIGHTING DEVICES SPECIALLY ADAPTED FOR VEHICLE EXTERIORS
    • F21S10/00Lighting devices or systems producing a varying lighting effect
    • F21S10/02Lighting devices or systems producing a varying lighting effect changing colors
    • F21S10/023Lighting devices or systems producing a varying lighting effect changing colors by selectively switching fixed light sources
    • H05B37/0227
    • AHUMAN NECESSITIES
    • A61MEDICAL OR VETERINARY SCIENCE; HYGIENE
    • A61HPHYSICAL THERAPY APPARATUS, e.g. DEVICES FOR LOCATING OR STIMULATING REFLEX POINTS IN THE BODY; ARTIFICIAL RESPIRATION; MASSAGE; BATHING DEVICES FOR SPECIAL THERAPEUTIC OR HYGIENIC PURPOSES OR SPECIFIC PARTS OF THE BODY
    • A61H2201/00Characteristics of apparatus not provided for in the preceding codes
    • A61H2201/10Characteristics of apparatus not provided for in the preceding codes with further special therapeutic means, e.g. electrotherapy, magneto therapy or radiation therapy, chromo therapy, infrared or ultraviolet therapy
    • AHUMAN NECESSITIES
    • A61MEDICAL OR VETERINARY SCIENCE; HYGIENE
    • A61HPHYSICAL THERAPY APPARATUS, e.g. DEVICES FOR LOCATING OR STIMULATING REFLEX POINTS IN THE BODY; ARTIFICIAL RESPIRATION; MASSAGE; BATHING DEVICES FOR SPECIAL THERAPEUTIC OR HYGIENIC PURPOSES OR SPECIFIC PARTS OF THE BODY
    • A61H2201/00Characteristics of apparatus not provided for in the preceding codes
    • A61H2201/10Characteristics of apparatus not provided for in the preceding codes with further special therapeutic means, e.g. electrotherapy, magneto therapy or radiation therapy, chromo therapy, infrared or ultraviolet therapy
    • A61H2201/105Characteristics of apparatus not provided for in the preceding codes with further special therapeutic means, e.g. electrotherapy, magneto therapy or radiation therapy, chromo therapy, infrared or ultraviolet therapy with means for delivering media, e.g. drugs or cosmetics
    • AHUMAN NECESSITIES
    • A61MEDICAL OR VETERINARY SCIENCE; HYGIENE
    • A61HPHYSICAL THERAPY APPARATUS, e.g. DEVICES FOR LOCATING OR STIMULATING REFLEX POINTS IN THE BODY; ARTIFICIAL RESPIRATION; MASSAGE; BATHING DEVICES FOR SPECIAL THERAPEUTIC OR HYGIENIC PURPOSES OR SPECIFIC PARTS OF THE BODY
    • A61H2205/00Devices for specific parts of the body
    • A61H2205/02Head
    • A61H2205/022Face
    • AHUMAN NECESSITIES
    • A61MEDICAL OR VETERINARY SCIENCE; HYGIENE
    • A61NELECTROTHERAPY; MAGNETOTHERAPY; RADIATION THERAPY; ULTRASOUND THERAPY
    • A61N5/00Radiation therapy
    • A61N5/06Radiation therapy using light
    • A61N2005/065Light sources therefor
    • A61N2005/0651Diodes

Landscapes

  • Health & Medical Sciences (AREA)
  • Engineering & Computer Science (AREA)
  • Life Sciences & Earth Sciences (AREA)
  • Veterinary Medicine (AREA)
  • Biomedical Technology (AREA)
  • Animal Behavior & Ethology (AREA)
  • General Health & Medical Sciences (AREA)
  • Public Health (AREA)
  • Nuclear Medicine, Radiotherapy & Molecular Imaging (AREA)
  • Radiology & Medical Imaging (AREA)
  • Biophysics (AREA)
  • Pathology (AREA)
  • Bioinformatics & Cheminformatics (AREA)
  • General Engineering & Computer Science (AREA)
  • Epidemiology (AREA)
  • Pain & Pain Management (AREA)
  • Physical Education & Sports Medicine (AREA)
  • Rehabilitation Therapy (AREA)
  • Heart & Thoracic Surgery (AREA)
  • Neurology (AREA)
  • Radiation-Therapy Devices (AREA)

Abstract

Provided is a skin care device. According to an embodiment of the present invention, the skin care device comprises: a main body including at least one light source capable of emitting light having each different wavelength range onto skin of a user; a pair of contact electrodes separated on the same plane of the main body for simultaneous contact with the skin of the user, and altering electric environments in skin by creating potential differences in skin upon power application; and a light-penetrable cover disposed at the front side of the light source. According to the present invention, it is possible to increase user convenience.

Description

피부 미용기기{A skin care device}{A skin care device}

본 발명은 피부 미용기기에 관한 것으로, 더욱 상세하게는 서로 다른 파장의 빛을 통하여 각각의 파장 대역에 의한 다양한 효과를 구현할 수 있고 광원으로부터 발생되는 빛으로부터 사용자의 눈을 보호할 수 있는 피부 미용기기에 관한 것이다.The present invention relates to a skin care device, and more particularly, to a skin care device capable of realizing various effects by respective wavelength bands through light of different wavelengths and protecting a user's eyes from light emitted from a light source .

일반적으로 피부 미용기기는 사용자의 피부에 초음파를 전달하는 피부 미용기기와 전류를 인가하는 피부 미용기기로 크게 구분된다.In general, skin beauty devices are roughly classified into skin beauty devices that transmit ultrasonic waves to users' skin and skin beauty devices that apply currents.

즉, 초음파를 이용한 피부 미용기기는 피부를 물리적으로 두드려주는 기능을 하고, 전류를 인가하는 피부 미용기기는 사용자의 피부에 전류를 인가하여 피지나 노폐물 등을 이온화하여 피부로부터 제거하거나 피부 영양 물질들이 피부 깊숙이 흡수되도록 하는 방식이다.That is, the skin-beauty apparatus using ultrasound physically taps the skin, and the skin-beauty apparatus applying the electric current applies current to the skin of the user to ionize the sebum or waste materials to remove it from the skin, It is a way to absorb deeply into the skin.

이중, 피부에 가해지는 전기적인 자극을 통해 앰플이 피부에 잘 흡수되도록 하는 피부 미용기기는 케어를 받고자 하는 피부 측에 앰플을 골고루 바른 후, 피부 미용기기를 가동한 상태에서 한쪽 손에 통전용 손잡이를 잡고, 이온 헤드로 앰플이 도포된 부위를 고르게 문지르면, 통전용 손잡이 및 이온 헤드를 통해 전원이 인가되어 피부가 전기적인 자극을 받음으로써 앰플의 흡수를 촉진하게 된다.The skin beauty device that allows the ampoule to be absorbed by the skin through the electrical stimulation applied to the skin, evenly applying the ampoule to the skin side to be cared for, then, while operating the skin beauty device, And when the ion head is rubbed evenly over the area to which the ampoule is applied, the power is applied through the conduit handle and the ion head to stimulate the absorption of the ampoule by receiving electrical stimulation of the skin.

그러나 종래의 피부 미용기기는 이온 헤드를 피부 케어를 받고자 하는 부위에 접촉하면서 한쪽 손이 통전용 손잡이와 계속 접촉된 상태를 유지해야 하므로, 사용자는 항상 정해진 위치를 파지해야 하는 불편함이 존재한다.However, the conventional skin beauty device has to keep the state in which the one hand is kept in contact with the nosing hand while touching the area where the skin care is desired, so that the user always has to handle the predetermined position.

또한, 종래의 피부 미용기기는 피부 개선 효과를 위한 소정의 파장을 발생시키는 광원이 구비되는 경우 광원으로부터 조사되는 빛이 사용자의 눈에 곧바로 조사되는 것을 방지하기 위한 수단이 마련되어 있지 않기 때문에 광원에 의한 눈부심을 방지하기 위하여 별도의 보안경을 착용해야 하는 불편함이 존재한다.In addition, since the conventional skin beauty device does not have means for preventing the light irradiated from the light source from directly irradiating the user's eyes when the light source generating the predetermined wavelength for the skin improvement effect is provided, There is an inconvenience that a separate safety goggle must be worn to prevent glare.

KRKR 10-2014-003945910-2014-0039459 AA

본 발명은 상기와 같은 점을 감안하여 안출한 것으로, 한 쌍의 접촉전극이 동일면 상에 배치됨으로써 사용자가 정해진 위치를 파지하지 않더라도 이온토포레시스 기능을 수행할 수 있는 피부 미용기기를 제공하는데 그 목적이 있다.SUMMARY OF THE INVENTION The present invention has been made in view of the above-mentioned problems, and provides a skin care device in which a pair of contact electrodes are disposed on the same surface to perform an iontophoresis function even if the user does not grasp a predetermined position. There is a purpose.

또한, 본 발명은 하나의 광원을 통하여 서로 다른 파장 대역의 빛을 조사할 수 있음으로써 하나의 기기를 통하여 다양한 피부 개선 효과를 얻을 수 있는 피부 미용기기를 제공하는데 다른 목적이 있다.It is another object of the present invention to provide a skin care device capable of irradiating light of different wavelength band through a single light source, thereby obtaining various skin improving effects through one device.

더욱이, 본 발명은 한 쌍의 접촉전극을 통하여 광원에서 조사되는 광의 조사각도를 제한함으로써 사용자의 눈을 보호할 수 있는 피부 미용기기를 제공하는데 또 다른 목적이 있다.It is another object of the present invention to provide a skin care device that can protect a user's eyes by limiting the angle of irradiation of light emitted from a light source through a pair of contact electrodes.

상술한 과제를 해결하기 위하여 본 발명은 케이스; 상기 케이스의 내부에 배치되고, 서로 다른 파장 대역의 빛의 조사가 가능한 적어도 하나의 광원; 사용자의 피부에 동시에 접촉할 수 있도록 상기 케이스의 동일면 상에 이격배치되고, 전원 인가시 상기 피부에 전위차를 발생시켜 피부의 전기적 환경을 변화시키는 한 쌍의 접촉전극; 및 상기 광원의 전방측에 배치되는 투광성 커버;를 포함하는 피부 미용기기를 제공한다.According to an aspect of the present invention, At least one light source disposed inside the case and capable of irradiating light of different wavelength bands; A pair of contact electrodes which are disposed on the same surface of the case so as to simultaneously contact the skin of the user and generate a potential difference on the skin when power is applied to change the electrical environment of the skin; And a translucent cover disposed on the front side of the light source.

또한, 상기 광원은 서로 다른 파장 대역을 갖는 복수 개의 발광소자가 일체로 형성될 수 있다. 일례로, 상기 복수 개의 발광소자는 400~480nm 대역 내의 임의의 파장을 갖는 제1발광소자, 550~610nm 대역 내의 임의의 파장을 갖는 제2발광소자 및 610~650nm 대역 내의 임의의 파장을 갖는 제3발광소자를 포함할 수 있다.The light source may include a plurality of light emitting devices having different wavelength bands. For example, the plurality of light emitting devices may include a first light emitting device having an arbitrary wavelength in a band of 400 to 480 nm, a second light emitting device having an arbitrary wavelength in a 550 to 610 nm band, and a second light emitting device having an arbitrary wavelength in a 610 to 650 nm band. 3 light emitting devices.

또한, 상기 케이스는 상부테두리를 따라 내측으로 연장되는 중공의 안착면을 포함하고, 상기 한 쌍의 접촉전극은 상기 안착면에 배치되며, 상기 투광성 커버는 상기 안착면의 중공부에 배치될 수 있다.In addition, the case may include a hollow seating surface extending inwardly along an upper rim, the pair of contact electrodes being disposed on the seating surface, and the translucent cover may be disposed on a hollow portion of the seating surface .

또한, 상기 광원은 상기 투광성 커버의 하부측에 배치되고, 상기 광원으로부터 외부로 방출되는 빛은 상기 안착면 및 접촉전극 중 적어도 어느 하나에 의해 외부로 방출되는 빛의 방출범위가 제한될 수 있다.In addition, the light source is disposed on the lower side of the transparent cover, and the light emitted from the light source to the outside may be limited in the emission range of light emitted to the outside by at least one of the seating surface and the contact electrode.

또한, 상기 접촉전극은 테두리로부터 하방으로 일정길이 연장되는 연장부가 구비되고, 상기 연장부 및 접촉전극의 테두리에 의해 형성되는 모서리는 곡면으로 형성될 수 있다.Further, the contact electrode may have an extension extending a certain length downward from the rim, and the edge formed by the rim of the extension and the contact electrode may be formed as a curved surface.

또한, 상기 광원과 피부 사이의 거리를 감지하기 위한 센서를 포함하고, 상기 광원은 상기 센서에 의해 감지된 거리가 기설정된 범위 이내인 경우 점등되고 기설정된 범위를 초과할 경우 소등될 수 있다.The light source may be turned on when the distance sensed by the sensor is within a predetermined range, and may be turned off when the distance exceeds the predetermined range.

또한, 상기 광원은 상기 한 쌍의 접촉전극이 사용자의 피부에 모두 접촉된 상태와, 상기 광원 및 피부 사이의 거리가 기설정된 범위 이내인 경우 상기 광원의 초기점등이 이루어질 수 있다.The light source may be turned on when the pair of contact electrodes are all in contact with the user's skin and the distance between the light source and the skin is within a predetermined range.

또한, 상기 광원이 실장되는 회로기판을 포함하고, 상기 한 쌍의 접촉전극은 전기전도성을 갖는 한 쌍의 탄성부재를 매개로 상기 회로기판과 전기적으로 각각 연결될 수 있다.The circuit board may include a circuit board on which the light source is mounted. The pair of contact electrodes may be electrically connected to the circuit board through a pair of elastic members having electrical conductivity.

또한, 상기 탄성부재는 상기 회로기판에 실장되는 제1부분과 상기 제1부분의 단부로부터 소정의 각도로 기울어지는 제2부분을 포함하고, 상기 제2부분의 일부가 상기 접촉전극의 하부면과 접촉될 수 있다.The elastic member includes a first portion mounted on the circuit board and a second portion inclined at a predetermined angle from an end of the first portion, and a portion of the second portion is connected to a lower surface of the contact electrode Can be contacted.

또한, 상기 케이스는 개방된 하부가 단부캡을 통해 밀폐되고, 상기 회로기판은 상기 케이스의 내부에 삽입되는 지지프레임에 착탈가능하게 결합될 수 있다.In addition, the case may be hermetically sealed by an open bottom through an end cap, and the circuit board may be detachably coupled to a support frame inserted into the case.

또한, 상기 투광성 커버 및 한 쌍의 접촉전극은 상기 케이스와 일체로 형성될 수 있다.Further, the transparent cover and the pair of contact electrodes may be formed integrally with the case.

또한, 상기 투광성 커버는 상기 접촉전극의 테두리로부터 하방으로 일정길이 연장되는 연장부가 삽입될 수 있도록 상부면으로부터 하부로 일정깊이 절개형성되는 삽입홈이 형성될 수 있다.In addition, the light-transmitting cover may have an insertion groove formed at a predetermined depth from the upper surface so as to insert an extended portion extending a certain length downward from the rim of the contact electrode.

또한, 상기 케이스의 일측에는 전원의 온/오프 및 상기 광원의 발광모드를 선택하기 위한 버튼이 구비될 수 있다.In addition, a button for selecting on / off of the power source and a light emitting mode of the light source may be provided on one side of the case.

또한, 상기 버튼의 조작과 연동되는 알림부를 포함할 수 있다.In addition, it may include a notification unit linked with the operation of the button.

또한, 상기 알림부는 버튼의 조작시 일정시간 진동을 발생시키는 진동모터이거나 소리를 외부로 출력하는 음향출력수단일 수 있다.The notification unit may be a vibration motor that generates vibration for a predetermined time during operation of the button, or may be sound output means for outputting sound to the outside.

또한, 상기 투광성 커버는 70~90%의 투과율을 가질 수 있다.The translucent cover may have a transmittance of 70 to 90%.

또한, 상기 안착면은 수평면에 대하여 소정의 기울기를 갖는 경사면을 포함하고, 상기 경사면에 한 쌍의 접촉전극이 배치될 수 있다.In addition, the seating surface may include an inclined surface having a predetermined inclination with respect to the horizontal surface, and a pair of contact electrodes may be disposed on the inclined surface.

본 발명에 의하면, 한 쌍의 접촉전극이 동일면 상에 배치되어 사용자가 정해진 위치를 파지하지 않더라도 이온토포레시스 기능을 수행할 수 있음으로써 사용편의성을 높일 수 있다.According to the present invention, the pair of contact electrodes are disposed on the same surface, and the iontophoresis function can be performed even if the user does not grasp the predetermined position, thereby improving the usability.

또한, 본 발명은 하나의 광원을 통하여 서로 다른 파장대역의 빛을 조사할 수 있음으로써 하나의 기기를 통하여 다양한 피부 개선 효과를 동시에 얻을 수 있다.In addition, the present invention can irradiate light of different wavelength band through a single light source, so that various skin improving effects can be simultaneously obtained through one device.

더욱이, 본 발명은 한 쌍의 접촉전극을 통하여 광원에서 조사되는 광의 조사각도를 제한하여 보안경과 같은 별도의 부자재를 사용하지 않더라도 사용자의 눈을 보호할 수 있음으로써 안전성을 높일 수 있다.Furthermore, the present invention can protect the eyes of the user by limiting the angle of irradiation of the light emitted from the light source through the pair of contact electrodes, so that safety can be improved without using any additional member such as a safety glass.

도 1은 본 발명의 일 실시예에 피부 미용기기를 나타낸 도면,
도 2는 도 1의 분리도,
도 3은 도 2에서 케이스, 접촉전극 및 투광성 커버가 일체화되기 전 상태를 나타낸 분리도,
도 4는 도 2에서 회로기판, 탄성부재, 센서 및 진동모터의 연결관계를 나타낸 도면,
도 5는 본 발명에 따른 피부 미용기기에서 케이스의 전방측을 일부 절개한 도면,
도 6은 도 5에서 "A"부분의 확대도, 그리고,
도 7은 본 발명에 따른 피부 미용기기에서 케이스의 측부를 일부 절개한 도면이다.
BRIEF DESCRIPTION OF THE DRAWINGS FIG. 1 is a view showing a skin beauty device according to an embodiment of the present invention;
FIG. 2 is a sectional view of FIG. 1,
Fig. 3 is a view showing a state before the casing, the contact electrode and the transparent cover are integrated in Fig. 2,
Fig. 4 is a view showing the connection relationship between the circuit board, the elastic member, the sensor and the vibration motor in Fig. 2,
FIG. 5 is a partial cut-away view of a front side of a case in a skin care device according to the present invention,
Fig. 6 is an enlarged view of the portion "A " in Fig. 5,
FIG. 7 is a partially cutaway side view of a case of a skin care device according to the present invention.

이하, 첨부한 도면을 참고로 하여 본 발명의 실시예에 대하여 본 발명이 속하는 기술분야에서 통상의 지식을 가진 자가 용이하게 실시할 수 있도록 상세히 설명한다. 본 발명은 여러 가지 상이한 형태로 구현될 수 있으며 여기에서 설명하는 실시예에 한정되지 않는다. 도면에서 본 발명을 명확하게 설명하기 위해서 설명과 관계없는 부분은 생략하였으며, 명세서 전체를 통하여 동일 또는 유사한 구성요소에 대해서는 동일한 참조부호를 부가한다.Hereinafter, exemplary embodiments of the present invention will be described in detail with reference to the accompanying drawings, which will be readily apparent to those skilled in the art to which the present invention pertains. The present invention may be embodied in many different forms and is not limited to the embodiments described herein. In order to clearly illustrate the present invention, parts not related to the description are omitted, and the same reference numerals are assigned to the same or similar components throughout the specification.

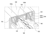
본 발명의 일 실시예에 따른 피부 미용기기(100)는 도 1 및 도 2에 도시된 바와 같이 케이스(110), 광원(120), 접촉전극(130a,130b) 및 투광성 커버(140)를 포함한다.The skin care device 100 according to an embodiment of the present invention includes a case 110, a light source 120, contact electrodes 130a and 130b and a translucent cover 140 as shown in FIGS. 1 and 2 do.

상기 케이스(110)는 전체적인 외형을 이루며, 광원(120), 회로기판(122) 및 배터리(162) 등과 같은 각종 부품을 수용하여 외부환경으로부터 보호하기 위한 것이다.The case 110 has a general outer shape and is adapted to receive various components such as the light source 120, the circuit board 122, and the battery 162 and protect them from the external environment.

이를 위해, 상기 케이스(110)는 상기 각종 부품을 수용할 수 있도록 소정의 수용공간을 갖는 함체형상으로 구비된다. 이때, 상기 케이스(110)의 일면에는 상기 접촉전극(130a,130b)이 배치되는 안착면(112)이 구비될 수 있다(도 3 참조).To this end, the case 110 is provided in an enclosure shape having a predetermined accommodation space for accommodating the various components. At this time, a seating surface 112 on which the contact electrodes 130a and 130b are disposed may be provided on one side of the case 110 (see FIG. 3).

일례로, 상기 케이스(110)는 상부테두리를 따라 내측으로 일정길이 연장되는 중공의 안착면(112)이 구비될 수 있으며, 상기 안착면(112)의 중공부에 투광성 커버(140)가 배치될 수 있다.For example, the case 110 may have a hollow seating surface 112 extending a predetermined length inward along an upper rim, and a translucent cover 140 may be disposed on the hollow portion of the seating surface 112 .

그리고, 상기 케이스(110)는 상기 수용공간 측으로 상기 각종 부품을 삽입할 수 있도록 일측이 개방형성되며, 단부캡(170)을 통해 개방된 일측이 밀폐된다. 일례로, 상기 케이스(110)는 하부가 개방형성되고, 상기 케이스(110)의 하부에 착탈가능하게 결합되는 단부캡(170)을 통해 개방된 하부가 밀폐될 수 있다.One side of the case 110 is opened to allow the various components to be inserted into the accommodation space side, and one side opened through the end cap 170 is sealed. For example, the lower portion of the case 110 may be opened and the lower portion may be closed through an end cap 170 detachably coupled to the lower portion of the case 110.

여기서, 상기 케이스(110)는 상기 안착면(112)에 배치되는 한 쌍의 접촉전극(130a,130b)과 상기 접촉전극(130a,130b)의 사이에 배치되는 투광성 커버(140)가 일체화될 수 있다. 일례로, 상기 케이스(110), 접촉전극(130a,130b) 및 투광성 커버(140)는 인서트몰딩을 통해 일체화될 수 있다.The case 110 may include a pair of contact electrodes 130a and 130b disposed on the seating surface 112 and a transparent cover 140 disposed between the contact electrodes 130a and 130b, have. For example, the case 110, the contact electrodes 130a and 130b, and the transparent cover 140 may be integrated through insert molding.

이를 통해, 상기 투광성 커버(140), 접촉전극(130a,130b) 및 케이스(110)가 일체화된 상태에서 상기 케이스(110)의 개방된 하부를 통해 수용공간 측으로 각종 부품들이 체결된 지지프레임(160)을 삽입한 후 단부캡(170)을 체결하게 되면 모든 부품의 조립이 완성될 수 있게 된다.The supporting frame 160 (see FIG. 1) in which various components are fastened to the receiving space side through the opened lower portion of the case 110 in a state where the transparent cover 140, the contact electrodes 130a and 130b and the case 110 are integrated And then the end cap 170 is fastened, the assembling of all parts can be completed.

이때, 상기 안착면(112)은 수평면에 대하여 일정각도 기울어지는 소정의 기울기를 갖는 경사면으로 형성될 수 있다. 일례로, 상기 안착면(112)은 도 1에 도시된 바와 같이 케이스(110)의 바닥면에 대하여 좌측이 우측보다 상대적으로 낮은 높이를 갖는 경사면을 포함할 수 있으며, 상기 경사면에 한 쌍의 접촉전극(130a,130b)이 배치될 수 있다.At this time, the seating surface 112 may be formed as an inclined surface having a predetermined inclination at an angle with respect to the horizontal plane. For example, the seating surface 112 may include an inclined surface having a relatively lower height than the left side of the bottom surface of the case 110, as shown in FIG. 1, and a pair of contacts The electrodes 130a and 130b may be disposed.

이에 따라, 상기 경사면에 구비되는 한 쌍의 접촉전극(130a,130b) 역시 수평면에 대하여 소정의 기울기를 갖도록 배치된다. 이로 인해, 사용자 피부와의 접촉시 한 쌍의 접촉전극(130a,130b)과 피부와의 접촉면적을 넓힐 수 있으며, 사용시 사용자가 케이스(110)를 파지한 상태에서 한 쌍의 접촉전극(130a,130b)을 피부와 접촉시키기 위하여 손목을 과도하게 꺾지 않더라도 사용자의 피부와 접촉전극(130a,130b)간의 자연스러운 접촉이 이루어질 수 있게 된다.Accordingly, the pair of contact electrodes 130a and 130b provided on the inclined surface are also arranged to have a predetermined slope with respect to the horizontal plane. This makes it possible to widen the contact area between the pair of contact electrodes 130a and 130b and the skin when the user touches the user's skin. When the user holds the case 110 in use, the pair of contact electrodes 130a, 130b to contact the skin, even if the wrist is not excessively broken, natural contact between the user's skin and the contact electrodes 130a, 130b can be achieved.

여기서, 상기 안착면(112)은 전체가 경사면으로 형성될 수도 있고, 부분적으로 경사면이 형성될 수도 있다.Here, the seating surface 112 may be formed as an inclined surface or a partially inclined surface.

상기 광원(120)은 소정의 파장 대역을 갖는 빛을 발생시켜 사용자의 피부 측으로 조사함으로써 사용자가 빛의 파장에 따른 이로운 효과를 얻기 위한 것이다.The light source 120 generates light having a predetermined wavelength band and irradiates the light to the user's skin side so that the user can obtain a beneficial effect according to the wavelength of light.

이때, 본 발명에 따른 피부 미용기기(100)는 하나의 기기를 통하여 서로 다른 파장 대역에서 얻을 수 있는 고유의 효과를 얻을 수 있도록 상기 광원(120)이 서로 다른 파장 대역의 빛의 조사가 가능하도록 구비될 수 있으며, 상기 광원(120)은 하나 또는 복수 개로 구비될 수 있다. At this time, the skin care device 100 according to the present invention is configured to allow the light source 120 to irradiate light of different wavelength bands so as to obtain a unique effect that can be obtained in different wavelength bands through one device And one or more light sources 120 may be provided.

이를 위해, 상기 광원(120)은 서로 다른 파장 대역의 빛을 조사하는 복수 개의 발광소자가 일체로 형성될 수 있다. 즉, 상기 광원(120)은 서로 다른 파장 대역의 빛을 조사하는 LED 형태의 복수 개의 발광소자가 하나의 기판 상에 실장되어 단일 칩 형태로 구현될 수 있다. 일례로, 상기 복수 개의 발광소자는 서로 다른 파장 대역의 빛을 조사하는 3개가 하나의 칩 형태로 일체로 형성될 수 있다. To this end, the light source 120 may include a plurality of light emitting devices that emit light of different wavelength bands. That is, the light source 120 may be implemented as a single chip by mounting a plurality of LEDs, each emitting light of different wavelength band, on one substrate. For example, the plurality of light emitting devices may be integrally formed in a single chip shape in which three light emitting units for emitting light of different wavelength bands are formed.

여기서, 상기 복수 개의 발광소자는 400~480nm 대역 내의 임의의 파장의 빛을 조사하는 제1발광소자와, 550~610nm 대역 내의 임의의 파장의 빛을 조사하는 제2발광소자 및 610~650nm 대역 내의 임의의 파장의 빛을 조사하는 제3발광소자를 포함할 수 있다. The plurality of light emitting devices may include a first light emitting device that emits light of a certain wavelength within a band of 400 to 480 nm, a second light emitting device that emits light of a certain wavelength within a band of 550 to 610 nm, And a third light emitting element that emits light of an arbitrary wavelength.

이를 통해, 사용자는 상기 광원(120)을 구성하는 제1발광소자, 제2발광소자 및 제3발광소자 중 어느 하나의 발광소자가 작동되도록 선택함으로써 피부의 진정효과, 피부결 개선, 민감성 피부의 진정 케어, 피부 윤곽 개선, 피부 탄력 개선, 피부 탄성 복원력, 피부 리프팅 개선 및 피부 윤기 개선 등의 효과를 하나의 기기를 통하여 얻을 수 있게 된다.Accordingly, the user can select one of the first light emitting device, the second light emitting device, and the third light emitting device, which constitute the light source 120, to operate, thereby improving the calming effect of the skin, It is possible to obtain effects such as calm care, skin contour improvement, skin elasticity improvement, skin elasticity restoration, skin lifting improvement and skin luster improvement through a single device.

그러나, 본 발명에 따른 피부 미용기기(100)에 사용되는 광원의 종류를 이에 한정하는 것은 아니며, 얻고자 하는 피부 개선 효과에 적합한 파장을 발생시키는 적절한 광원이 사용될 수 있음을 밝혀둔다. However, the kind of the light source used in the skin care device 100 according to the present invention is not limited thereto, and it is revealed that an appropriate light source for generating a wavelength suitable for the skin improvement effect to be obtained can be used.

일례로, 상기 발광소자는 400~970nm 대역 내에서 선택된 임의의 서로 다른 파장 대역의 빛을 조사할 수 있으며, 서로 다른 두 개의 발광소자는 일부의 파장대역이 서로 중첩되는 파장대역의 빛을 조사하도록 구비될 수도 있다. For example, the light emitting device may emit light in any of different wavelength bands selected within a band of 400 to 970 nm, and two different light emitting devices may emit light in a wavelength band in which some wavelength bands overlap each other .

또한, 상기 광원은 400~970nm 대역 내에서 소정의 파장 대역을 갖는 빛을 조사하는 하나의 발광소자로 구비될 수도 있다. 이와 같은 경우 상기 광원은 서로 다른 파장 대역의 빛을 조사하는 2개 이상의 광원이 적절하게 사용될 수 있다.In addition, the light source may be provided as one light emitting device for emitting light having a predetermined wavelength band within a band of 400 to 970 nm. In this case, the light source may suitably use two or more light sources that emit light of different wavelength bands.

더불어, 상기 광원은 점등이 연속적으로 이루어질 수도 있고 점등과 소등이 반복될 수도 있다.In addition, the light source may be turned on continuously or turned on and off repeatedly.

한편, 상기 광원(120)이 서로 다른 파장 대역의 빛을 조사하는 복수 개의 발광소자를 포함하는 경우, 상기 광원의 발광모드 선택은 상기 케이스(110)의 일측에 구비되는 버튼부(150)의 조작을 통해 이루어질 수 있다. In the case where the light source 120 includes a plurality of light emitting devices that emit light of different wavelength bands, the light emitting mode selection of the light source may be performed by operating the button unit 150 provided at one side of the case 110 Lt; / RTI >

여기서, 상기 버튼부(150)는 도 2에 도시된 바와 같이 상기 케이스(110)의 일측에 노출되는 적어도 하나의 버튼(152)과 상기 케이스(110)의 내부에 배치되어 상기 버튼(152)의 조작에 대응되는 신호를 발생시키는 회로부(154)를 포함하며, 상기 회로부(154)는 후술할 중앙제어장치(180)와 전기적으로 연결된다.2, the button unit 150 includes at least one button 152 exposed at one side of the case 110 and at least one button 152 disposed at the inside of the case 110, And a circuit unit 154 for generating a signal corresponding to the operation. The circuit unit 154 is electrically connected to a central control unit 180, which will be described later.

일례로, 사용자가 상기 버튼(152)의 누름 횟수에 따라 제1발광모드, 제2발광모드 및 제3발광모드가 순차적으로 변경될 수 있다. 그러나, 상기 버튼(152)을 이에 한정하는 것은 아니며 제1발광모드, 제2발광모드 및 제3발광모드와 일대일로 매칭되는 복수 개의 버튼으로 구비될 수도 있음을 밝혀둔다. 또한, 상기 버튼부(150)의 조작시 광원의 발광모드를 선택하는 조작 이외에 미용기기의 전체구동을 온/오프 조작이 이루어질 수도 있다.For example, the first light emitting mode, the second light emitting mode, and the third light emitting mode may be sequentially changed according to the number of times the button 152 is pressed by the user. However, it should be noted that the button 152 is not limited thereto, but may be a plurality of buttons matched one-to-one with the first, second, and third light emitting modes. In addition to the operation of selecting the light-emitting mode of the light source when the button unit 150 is operated, the on / off operation of the overall operation of the beauty apparatus may be performed.

상기 광원(120)은 상기 케이스(110)의 내부에 배치되며, 상기 투광성 커버(140)의 하부측에 배치된다. 이때, 상기 광원(120)은 일측이 상기 투광성커버(140)와 접하도록 배치될 수도 있고 상기 투광성 커버(140)의 일면으로부터 소정의 간격을 두고 이격배치될 수 있다. 더불어, 상기 광원(120)이 복수 개로 구비되는 경우 복수 개의 광원(120)은 상기 투광성 커버(140)와 서로 동일한 거리로 이격배치될 수도 있고 상기 투광성 커버(140)와 서로 다른 거리로 이격배치될 수도 있다.The light source 120 is disposed inside the case 110 and disposed on the lower side of the transparent cover 140. At this time, the light source 120 may be arranged so that one side thereof contacts the transmissive cover 140 or may be spaced apart from the other side of the transmissive cover 140 at a predetermined interval. When the plurality of light sources 120 are provided, the plurality of light sources 120 may be spaced apart from each other by the same distance from the light-transmissive cover 140, and may be spaced apart from the light- It is possible.

일례로, 상기 광원(120)은 상기 투광성 커버(140)의 하부측에 이격배치되는 회로기판(122)의 일면에 실장될 수 있으며(도 4 및 도 6 참조), 상기 광원(120)이 복수 개로 구비되는 경우 소정의 패턴으로 실장될 수 있다. For example, the light source 120 may be mounted on one side of the circuit board 122 spaced apart from the lower side of the transparent cover 140 (see FIGS. 4 and 6) It can be mounted in a predetermined pattern.

이때, 상기 광원(120)은 상기 투광성 커버(140)와 대응되는 면적의 직하부에 배치될 수 있다. 이를 통해, 본 발명에 따른 피부 미용기기(100)는 빛을 발생시키는 광원(120)이 상기 케이스(110)의 내부에 수용된 상태에서 상기 투광성 커버(140)의 하부측에 소정의 간격을 두고 이격배치됨으로써 외부로 방출되는 빛의 방출각도가 제한된다.At this time, the light source 120 may be disposed directly below the area corresponding to the transparent cover 140. Accordingly, the skin care apparatus 100 according to the present invention is configured such that the light source 120 generating light is accommodated in the case 110 and separated from the transparent cover 140 at a predetermined interval The angle of emission of the light emitted to the outside is limited.

즉, 상기 광원(120)으로부터 방출되는 빛은 상기 안착면(112)의 중공부에 배치되는 투광성 커버(140)를 통해 광원 자체의 조사각도보다 상대적으로 좁은 범위로 방출된다.That is, the light emitted from the light source 120 is emitted through the translucent cover 140 disposed in the hollow portion of the seating surface 112 in a range narrower than the irradiation angle of the light source itself.

이에 따라, 사용자의 피부, 특히 얼굴에 근접한 상태에서 광원(120)이 작동되더라도 광원(120)으로부터 발생된 빛이 케어가 필요한 피부 측에 좁은 범위로 방출됨으로써 사용자의 눈으로 빛이 들어오는 것을 방지할 수 있게 된다.Accordingly, even if the light source 120 is operated in the state of being close to the skin of the user, particularly the face, the light generated from the light source 120 is emitted in a narrow range on the side of the skin requiring care, .

이때, 본 발명에 따른 미용기기(100)는 광원(120)과 피부 사이의 거리가 기설정된 범위 이내인 경우에만 광원(120)이 점등되고, 상기 광원(120)과 피부 사이의 거리가 기설정된 범위 이상인 경우에는 광원(120)이 소등될 수 있다.At this time, the cosmetic device 100 according to the present invention illuminates the light source 120 only when the distance between the light source 120 and the skin is within a predetermined range, and the distance between the light source 120 and the skin is preset The light source 120 may be turned off.

이는, 사용과정 중에 의도치 않게 상기 투광성 커버(140) 측이 사용자의 눈을 향하는 경우 광원(120)에서 방출되는 빛에 사용자의 눈이 직접적으로 노출되는 것을 방지함으로써 사용자가 눈에 손상을 입는 것을 미연에 방지하기 위함이다.This prevents the user's eyes from being directly exposed to the light emitted from the light source 120 when the transparent cover 140 is inadvertently directed toward the user's eyes during the use process, This is to prevent it.

이를 위해, 상기 광원(120)이 실장되는 회로기판(122) 상에는 적어도 하나의 근접센서(124)가 구비됨으로써 상기 광원(120)과 피부 사이의 거리를 감지하여 광원(120)의 점등 및 소등을 제어할 수 있도록 한다(도 4 참조).To this end, at least one proximity sensor 124 is provided on the circuit board 122 on which the light source 120 is mounted, thereby detecting the distance between the light source 120 and the skin, (See FIG. 4).

여기서, 상기 근접센서(124)는 복수 개로 구비될 수 있고, 서로 이웃하는 광원(120) 사이에 배치될 수도 있으며, 최외곽에 배치되는 광원(120)의 외측에 배치될 수도 있다.Here, the proximity sensors 124 may be provided in plural or may be disposed between the adjacent light sources 120, or may be disposed outside the light source 120 disposed at the outermost position.

더불어, 상기 광원(120)은 상기 한 쌍의 접촉전극(130a,130b)이 사용자의 피부에 모두 접촉된 상태와 상기 광원(120) 및 피부 사이의 거리가 기설정된 범위 이내인 경우를 모두 만족하는 경우에만 초기점등이 이루어질 수 있다.In addition, the light source 120 may satisfy both the state where the pair of contact electrodes 130a and 130b are in contact with the user's skin and the case where the distance between the light source 120 and the skin is within a predetermined range Only initial lighting can be done.

이는, 사용자가 케어를 하고자 하는 신체부위로 이동하는 과정에서 광원(120)과 피부 사이의 거리가 기설정된 범위 이내의 근접거리에 위치하더라도 사용자 피부와의 접촉여부를 감지하여 초기점등을 제어함으로써 사용자가 최종적으로 케어를 원하는 정확한 위치로 이동한 상태에서 초기점등이 이루어질 수 있도록 하기 위함이다. 이를 통해, 사용자의 의도와 상관없이 급작스런 작동이 이루어지는 것을 방지할 수 있게 된다.This is because, even if the distance between the light source 120 and the skin is within a predetermined range in a process of moving to a body part to be cared by a user, So that the initial lighting can be performed in a state where it is finally moved to the precise position desired for the care. This makes it possible to prevent sudden operation regardless of the intention of the user.

상기 한 쌍의 접촉전극(130a,130b)은 전원인가시 사용자의 피부에 전위차를 발생시켜 피부의 전기적 환경을 변화시킴으로써 이온성 약물의 피부투과를 증가시키기 위한 것이다. The pair of contact electrodes 130a and 130b are used to increase the skin permeation of the ionic drug by changing the electrical environment of the skin by generating a potential difference on the user's skin when the power is applied.

즉, 상기 한 쌍의 접촉전극(130a,130b)은 공지의 이온토포레시스의 기능을 구현하기 위한 것으로, 배터리(162)를 통해 공급된 전원을 이용하여 사용자의 신체에 직류전류를 인가하여 사용자의 피부 및 한 쌍의 접촉전극(130a,130b)이 폐회로를 구성함으로써 이온의 이동이 발생하게 된다.That is, the pair of contact electrodes 130a and 130b are used to realize the function of a known iontophoresis. By applying a DC current to a user's body by using a power source supplied through a battery 162, And the pair of contact electrodes 130a and 130b constitute a closed circuit, so that ion movement occurs.

일례로, 사용자의 피부에 화장품을 도포한 후 상기 한 쌍의 접촉전극(130a,130b)에 직류전류를 인가하여 사용자의 피부에 도포된 화장품을 이온화시키면 화장품이 피부점막을 쉽게 통과하여 피부 내 조직으로 침투되는 이온도입의 효과가 발생하게 된다.For example, when cosmetics are applied to the skin of the user, direct current is applied to the pair of contact electrodes 130a and 130b to ionize the cosmetics applied to the skin of the user, the cosmetics easily pass through the skin mucosa, The effect of introducing ions into the substrate is generated.

이와 같은 한 쌍의 접촉전극(130a,130b)은 상술한 바와 같이 상기 케이스(110)의 동일면 상에 이격 배치된다. 즉, 본 발명에 따른 피부 미용기기(100)는 이온토포레시스 기능을 위한 한 쌍의 접촉전극(130a,130b)이 동일면인 케이스(110)의 안착면(112)에 서로 이격된 상태로 각각 고정되는 양극성(bi-polar) 방식으로 구현된다.The pair of contact electrodes 130a and 130b are disposed on the same surface of the case 110 as described above. That is, the skin care apparatus 100 according to the present invention is configured such that a pair of contact electrodes 130a and 130b for the iontophoresis function are spaced apart from each other on the seating surface 112 of the case 110, And is implemented in a fixed bi-polar manner.

이에 따라, 사용자가 케어를 하고자 하는 신체부위에 화장품을 도포한 상태에서 상기 신체부위 측에 상기 케이스(110)의 상부측을 접촉하게 되면, 동일면 상에 이격배치된 한 쌍의 접촉전극(130a,130b)이 신체부위와 동시에 접촉된다. 이로 인해, 사용과정 중에 사용자가 케이스(110)의 파지위치를 변경하더라도 항상 한 쌍의 접촉전극(130a,130b)이 피부와 접촉된 상태를 유지하므로 이온토포레시스 기능을 이용할 수 있게 된다.Accordingly, when the upper part of the case 110 is brought into contact with the body part in a state where the user applies cosmetics to the body part to be cared, the pair of contact electrodes 130a, 130b are simultaneously in contact with the body part. Therefore, even if the user changes the gripping position of the case 110 during use, the pair of contact electrodes 130a and 130b are kept in contact with the skin, so that the iontophoresis function can be used.

이때, 상기 한 쌍의 접촉전극(130a,130b)은 피부와의 접촉면적을 넓힐 수 있도록 소정의 면적을 갖는 판상의 부재로 이루어질 수 있으며, 상기 안착면(112)을 따라 전체적으로 구비될 수도 있고 부분적으로 구비될 수도 있다.The pair of contact electrodes 130a and 130b may be a plate-like member having a predetermined area to widen the contact area with the skin. The pair of contact electrodes 130a and 130b may be provided entirely along the seating surface 112, As shown in FIG.

또한, 상기 한 쌍의 접촉전극(130a,130b)은 테두리로부터 하방으로 일정길이 연장되는 연장부(132)를 포함할 수 있으며, 상기 연장부(132) 및 접촉전극의 테두리에 의해 형성되는 모서리는 곡면으로 형성될 수 있다.The pair of contact electrodes 130a and 130b may include an extended portion 132 extending downward from the rim by a predetermined length and the edge formed by the rim of the extended portion 132 and the contact electrode It may be formed as a curved surface.

이는, 상기 한 쌍의 접촉전극(130a,130b)이 사용자의 피부와 접촉되어 사용자의 피부를 문지르는 과정에서 날카로운 모서리에 의해 사용자의 피부가 손상되는 것을 방지하기 위함이다.This is to prevent the skin of the user from being damaged by sharp edges when the pair of contact electrodes 130a and 130b are in contact with the user's skin and rubbing the user's skin.

한편, 상기 한 쌍의 접촉전극(130a,130b)은 상기 광원(120)이 실장되는 회로기판(122)과 탄성부재(134)를 매개로 서로 전기적으로 연결됨으로써 각각의 접촉전극(130a,130b)은 상기 회로기판(122)을 통해 배터리(162)에서 제공되는 직류전류가 흐를 수 있게 된다. 여기서, 상기 탄성부재(134)는 전기전도성과 탄성력을 갖는 재질로 이루어진다.The pair of contact electrodes 130a and 130b are electrically connected to each other via the elastic member 134 and the circuit board 122 on which the light source 120 is mounted so that the contact electrodes 130a and 130b are electrically connected to each other. The DC current supplied from the battery 162 can flow through the circuit board 122. Here, the elastic member 134 is made of a material having electrical conductivity and elastic force.

이를 위해, 상기 탄성부재(134)는 상기 회로기판(122)에 실장되는 제1부분(134a)과, 상기 제1부분(134a)의 단부로부터 소정의 각도로 기울어지는 제2부분(134b)을 포함하고, 상기 제2부분(134b)의 적어도 일부가 상기 접촉전극(130a,130b)의 하부면과 접촉되도록 상기 회로기판(122) 및 접촉전극(130a,130b) 사이에 배치된다(도 4 및 도 7 참조).The elastic member 134 includes a first portion 134a mounted on the circuit board 122 and a second portion 134b inclined at a predetermined angle from the end of the first portion 134a And is disposed between the circuit board 122 and the contact electrodes 130a and 130b such that at least a portion of the second portion 134b contacts the lower surface of the contact electrodes 130a and 130b 7).

이에 따라, 지지프레임(160)에 회로기판(122)이 고정된 상태에서 상기 지지프레임(160)을 케이스(110)의 내부로 삽입한 후 단부캡(170)과 케이스(110)를 결합하게 되면 상기 제2부분(134b)이 각각의 접촉전극(130a,130b)과 밀착된 상태가 유지되어 상기 회로기판(122)과 각각의 접촉전극(130a,130b)이 탄성부재(134)를 통해 서로 통전된다.Accordingly, when the support frame 160 is inserted into the case 110 while the circuit board 122 is fixed to the support frame 160, the end cap 170 and the case 110 are coupled to each other The second portion 134b is kept in close contact with the respective contact electrodes 130a and 130b so that the circuit board 122 and the respective contact electrodes 130a and 130b are electrically connected to each other through the elastic member 134. [ do.

즉, 본 발명에 따른 피부 미용기기(100)는 상기 접촉전극(130a,130b)과 회로기판(122)이 탄성부재(134)를 통해 서로 전기적으로 연결됨으로써 상기 회로기판(122)과 접촉전극(130a,130b)을 전기적으로 연결하기 위한 별도의 도선 연결작업이나 배선작업이 불필요하게 되므로 작업 공정이 단순하고 조립성을 향상시킬 수 있게 된다.That is, in the skin care device 100 according to the present invention, the contact electrodes 130a and 130b and the circuit board 122 are electrically connected to each other through the elastic member 134, 130a, and 130b, it is possible to simplify the work process and improve the assemblability.

여기서, 상기 안착면(112) 상에는 상기 탄성부재(134)의 제2부분(134b)이 통과하여 각각의 접촉전극(130a,130b)과 밀착될 수 있도록 장공의 통과공(113)이 관통형성된다. 더불어, 도면에는 상기 탄성부재(134)를 선형으로 도시하였지만 이에 한정하는 것은 아니며 접촉면적을 넓힐 수 있도록 소정의 폭을 갖도록 구비될 수도 있음을 밝혀둔다.A through hole 113 of the elongated hole is formed on the seating surface 112 so that the second portion 134b of the elastic member 134 passes through the elongated hole so as to be in close contact with the respective contact electrodes 130a and 130b . In addition, although the elastic member 134 is shown in a linear shape in the drawing, the elastic member 134 is not limited thereto, and it may be provided to have a predetermined width to widen the contact area.

상기 투광성 커버(140)는 외부환경으로부터 상기 광원(120)을 보호하고 상기 광원(120)의 점등시 외부로 방출되는 빛으로부터 사용자의 눈을 보호하기 위한 것이다. 더불어, 상기 투광성 커버(140)는 균일한 빛이 외부로 방출될 수 있도록 상기 광원(120)에서 발생되는 빛의 확산성을 높여주는 기능을 수행할 수도 있다.The translucent cover 140 protects the light source 120 from the external environment and protects the user's eyes from light emitted to the outside when the light source 120 is turned on. In addition, the transmissive cover 140 may perform a function of increasing the diffusibility of light generated in the light source 120 so that uniform light is emitted to the outside.

이를 위해, 상기 투광성 커버(140)는 상기 광원(120)의 전방측에 배치되며 상기 광원(120)에서 발생되어 외부로 방출되는 빛의 강도를 줄일 수 있도록 소정의 투과율을 갖도록 구비될 수 있으며, 균일한 빛을 외부로 방출할 수 있도록 빛의 확산시키는 성분을 포함할 수 있다.The transmissive cover 140 may be disposed on the front side of the light source 120 and may have a predetermined transmittance to reduce the intensity of light emitted from the light source 120 and emitted to the outside. And may include a light diffusing component so as to emit uniform light to the outside.

일례로, 상기 투광성 커버(140)는 70~90%의 투과율을 가질 수 있으며, 바람직하게는 투과율이 70~90%인 광확산 PC가 사용될 수 있다. 여기서, 상기 투광성 커버(140)의 투과율을 70~90%로 예시하였지만 이에 한정하는 것은 아니며 사용자의 눈을 보호하면서도 빛의 확산성을 높여줄 수 있다면 적절하게 조절될 수 있음을 밝혀둔다.For example, the light transmissive cover 140 may have a transmittance of 70 to 90%, and a light diffusion PC having a transmittance of 70 to 90% may be used. The transmittance of the transparent cover 140 is 70 to 90%. However, the transmittance of the transparent cover 140 is not limited to 70% to 90%. It is noted that the transmittance of the transparent cover 140 can be appropriately adjusted if it can protect the eyes of the user and enhance the light diffusibility.

이때, 상기 투광성 커버(140)의 상부면에는 상기 접촉전극(130a,130b)의 테두리로부터 하방으로 연장되는 연장부(132)가 삽입될 수 있도록 상부면으로부터 하부로 일정깊이 절개형성되는 한 쌍의 삽입홈(142)이 형성될 수 있다.The upper surface of the transparent cover 140 is provided with a pair of protrusions formed at a predetermined depth from the upper surface so that the extension 132 extending downward from the rim of the contact electrodes 130a and 130b can be inserted. An insertion groove 142 may be formed.

이를 통해, 상기 투광성 커버(140)가 상기 안착면(112)의 중공부에 배치되는 경우 상기 투광성 커버(140)는 상기 한 쌍의 접촉전극(130a,130b)보다 상대적으로 케이스의 내측에 배치되며, 상기 한 쌍의 접촉전극(130a,130b)은 상기 투광성 커버(140)보다 상대적으로 외부로 돌출됨으로써 피부와의 접촉이 원활하게 이루어질 수 있게 된다.When the translucent cover 140 is disposed on the hollow portion of the seating surface 112, the translucent cover 140 is disposed inside the case relatively to the pair of the contact electrodes 130a and 130b The pair of contact electrodes 130a and 130b protrude to the outside relative to the transparent cover 140 so that contact with the skin can be smoothly performed.

한편, 본 발명에 따른 피부 미용기기(100)는 상기 케이스(110)의 수용공간에 삽입되는 지지프레임(160)이 구비될 수 있다. 이러한 지지프레임(160)은 상기 광원(120)이 실장되는 회로기판(122) 등을 고정하기 위한 것이다.Meanwhile, the skin care apparatus 100 according to the present invention may include a support frame 160 inserted into the accommodation space of the case 110. The support frame 160 is for fixing the circuit board 122 on which the light source 120 is mounted.

상기 지지프레임(160)은 프레임구조물로 이루어지며 상부측에 상기 회로기판(122)이 착탈가능하게 결합된다. 더불어, 상기 지지프레임(160)에는 전원을 공급하기 위한 배터리(162), 상기 버튼(152)의 조작을 검출하기 위한 회로부(154) 등이 고정된다. 즉, 상술한 투광성 커버(140) 및 접촉전극(130a,130b)을 제외한 각종 부품들이 모두 지지프레임(160)에 결합되며, 하부측이 상기 단부캡(170)과 착탈가능하게 결합된다.The support frame 160 is made of a frame structure, and the circuit board 122 is detachably coupled to the upper side. In addition, a battery 162 for supplying power to the support frame 160, a circuit unit 154 for detecting the operation of the button 152, and the like are fixed. That is, all the components other than the transparent cover 140 and the contact electrodes 130a and 130b are coupled to the support frame 160 and the lower side is detachably coupled to the end cap 170. [

이에 따라, 배터리(162), 회로부(154) 및 회로기판(122) 등이 모두 체결된 지지프레임(160)을 단부캡(170)과 결합한 상태에서 상기 케이스(110)의 내부로 삽입하게 되면 모든 조립이 완료될 수 있게 된다.Accordingly, when the support frame 160, to which the battery 162, the circuit unit 154, and the circuit board 122 are all coupled, is inserted into the case 110 while being coupled with the end cap 170, Assembly can be completed.

한편, 본 발명에 따른 피부 미용기기(100)는 버튼(152)의 조작에 따른 광원의 발광모드 변경, 전원의 공급/차단, 광원의 점등/소등 및 근접센서(124)에 의해 획득된 정보 등을 처리하여 전체적인 구동을 제어하기 위한 중앙제어장치(180)가 구비된다. 이러한 중앙제어장치(180)는 회로기판(182)의 일면에 실장되는 칩셋의 형태로 구현될 수 있으며, 근접센서(124)를 통해 획득된 피부와 광원(120)과의 거리에 따라 광원(120)의 동작상태 및 출력강도를 조절하거나 접촉전극(130a,130b)에 인가되는 직류전류의 크기를 적절하게 조절할 수 있는 룩업테이블이 저장될 수 있다.The skin care apparatus 100 according to the present invention may be configured to change the light emitting mode of the light source, turn on / off the power source, turn on / off the light source, and information obtained by the proximity sensor 124 And a central control unit 180 for controlling overall driving. The central control unit 180 may be implemented in the form of a chipset mounted on one side of the circuit board 182 and may include a light source 120 Up table can be stored that can adjust the operating state and output strength of the contact electrodes 130a and 130b or the magnitude of the direct current applied to the contact electrodes 130a and 130b.

또한, 본 발명에 따른 피부 미용기기(100)는 상기 버튼(152)의 조작과 연동되는 알림부가 구비될 수 있다. 이러한 알림부는 사용자가 상기 버튼(152)을 조작하는 경우 이를 사용자가 용이하게 인식할 수 있도록 한다. 일례로, 상기 알림부는 회로기판(122)의 일면에 홀더(125)를 매개로 결합되는 진동모터(126)일 수 있고(도 4 참조), 소리를 외부로 출력하는 스피커와 같은 음향출력수단(미도시)일 수 있다. In addition, the skin care apparatus 100 according to the present invention may be provided with a notification unit interlocked with the operation of the button 152. The notification unit allows the user to easily recognize the operation of the button 152 by the user. For example, the notification unit may be a vibration motor 126 (see FIG. 4) coupled to one surface of the circuit board 122 through a holder 125 (see FIG. 4), and an acoustic output means Not shown).

즉, 사용자가 상기 버튼(152)을 누르는 경우 상기 버튼(152)의 후측에 배치되는 회로부(154)를 통해 중앙제어장치(180)는 버튼(152)의 조작을 인식하고 상기 알림부를 구동시킴으로써 진동모터(126)를 통해 일정시간 동안 진동을 발생시키거나 소리를 외부로 출력하게 된다. 이에 따라, 사용자는 버튼(152)의 조작을 통해 전원의 온/오프 및 광원의 발광모드의 변경을 용이하게 인식함으로써 원하는 모드로 정확하게 변경할 수 있게 된다.That is, when the user presses the button 152, the central control device 180 recognizes the operation of the button 152 through the circuit part 154 disposed at the rear side of the button 152, The motor 126 generates vibration for a predetermined time or outputs sound to the outside. Accordingly, the user can easily change the desired mode by easily recognizing the on / off state of the power source and the change of the light emission mode of the light source through the operation of the button 152. [

여기서, 알림부의 출력패턴은 각 모드마다 서로 다른 패턴으로 출력될 수 있다. 일례로, 진동모터(126)에 의해 발생되는 진동패턴의 경우 제1발광모드, 제2발광모드, 제3발광모드로의 선택 및 변경시 진동의 강도 및 진동의 지속시간 중 적어도 어느 하나가 서로 다른 패턴으로 출력될 수 있고, 스피커를 통해 소리가 출력되는 경우 각각의 모드마다 고유의 소리가 외부로 출력될 수 있다.Here, the output pattern of the notification unit may be output in a different pattern for each mode. For example, in the case of a vibration pattern generated by the vibration motor 126, at least one of the intensity of vibration and the duration of vibration at the time of selection and change to the first light emitting mode, the second light emitting mode, It is possible to output the sound in a different pattern, and when sound is outputted through the speaker, a sound unique to each mode can be outputted to the outside.

한편, 본 발명에 따른 피부 미용기기(100)는 상기 케이스의 상부측에 외부로 노출되는 한 쌍의 접촉전극(130a,130b) 및 투광성 커버(140)를 외부환경으로부터 보호할 수 있도록 상기 케이스(110)와 착탈가능하게 결합되는 덮개(190)를 포함할 수 있다.The skin care device 100 according to the present invention may include a pair of contact electrodes 130a and 130b and a translucent cover 140 exposed to the outside on the upper side of the case, And a cover 190 that is detachably coupled to the housing 110.

또한, 본 발명에 따른 피부 미용기기(100)는 상기 케이스(110)의 일측에 외부로 노출되는 충전단자(164)가 구비됨으로써 상기 케이스(110)의 내부에 배치되는 배터리(162)를 간편하게 충전할 수도 있다.The skin care device 100 according to the present invention is provided with a charging terminal 164 which is exposed to one side of the case 110 to easily charge the battery 162 disposed inside the case 110 You may.

이상에서 본 발명의 일 실시예에 대하여 설명하였으나, 본 발명의 사상은 본 명세서에 제시되는 실시 예에 제한되지 아니하며, 본 발명의 사상을 이해하는 당업자는 동일한 사상의 범위 내에서, 구성요소의 부가, 변경, 삭제, 추가 등에 의해서 다른 실시 예를 용이하게 제안할 수 있을 것이나, 이 또한 본 발명의 사상범위 내에 든다고 할 것이다.While the present invention has been particularly shown and described with reference to exemplary embodiments thereof, it is to be understood that the invention is not limited to the disclosed exemplary embodiments, It will be understood by those skilled in the art that various changes in form and details may be made therein without departing from the spirit and scope of the invention as defined by the appended claims.

100 : 피부 미용기기
110 : 케이스 112 : 안착면
113 : 통과공 120 : 광원
122 : 회로기판 124 : 근접센서
125 : 홀더 126 : 진동모터
130a,130b : 접촉전극 132 : 연장부
134 : 탄성부재 134a : 제1부분
134b : 제2부분 140 : 투광성 커버
142 : 삽입홈 150 : 버튼부
152 : 버튼 154 : 회로부
160 : 지지프레임 162 : 배터리
164 : 충전단자 170 : 단부캡
180 : 중앙제어장치 190 : 덮개
100: Beauty Equipment
110: Case 112: Seat face
113: through hole 120: light source
122: circuit board 124: proximity sensor
125: Holder 126: Vibration motor
130a, 130b: contact electrode 132: extension
134: elastic member 134a: first part
134b: second part 140: translucent cover
142: insertion groove 150: button portion
152: Button 154:
160: Support frame 162: Battery
164: charging terminal 170: end cap
180: central control unit 190: cover

Claims (15)

케이스;
상기 케이스의 내부에 배치되고, 서로 다른 파장 대역의 빛의 조사가 가능한 적어도 하나의 광원;
사용자의 피부에 동시에 접촉할 수 있도록 상기 케이스의 동일면 상에 이격배치되고, 전원 인가시 상기 피부에 전위차를 발생시켜 피부의 전기적 환경을 변화시키는 한 쌍의 접촉전극; 및
상기 광원의 전방측에 배치되는 투광성 커버;를 포함하는 피부 미용기기.
case;
At least one light source disposed inside the case and capable of irradiating light of different wavelength bands;
A pair of contact electrodes which are disposed on the same surface of the case so as to simultaneously contact the skin of the user and generate a potential difference on the skin when power is applied to change the electrical environment of the skin; And
And a translucent cover disposed on a front side of the light source.
제 1항에 있어서,
상기 광원은 서로 다른 파장 대역의 빛을 조사하는 복수 개의 발광소자가 일체로 형성되는 피부 미용기기.
The method according to claim 1,
Wherein the light source is formed integrally with a plurality of light emitting devices for emitting light of different wavelength bands.
제 2항에 있어서,
상기 복수 개의 발광소자는 400~480nm 대역 내의 임의의 파장의 빛을 조사하는 제1발광소자, 550~610nm 대역 내의 임의의 파장의 빛을 조사하는 제2발광소자 및 610~650nm 대역 내의 임의의 파장의 빛을 조사하는 제3발광소자를 포함하는 피부 미용기기.
3. The method of claim 2,
The plurality of light emitting devices may include a first light emitting device that emits light of a certain wavelength within a band of 400 to 480 nm, a second light emitting device that emits light of a certain wavelength within a band of 550 to 610 nm, And a third light emitting element for emitting light of a predetermined wavelength.
제 1항에 있어서,
상기 케이스는 상부테두리를 따라 내측으로 연장되는 중공의 안착면을 포함하고,
상기 한 쌍의 접촉전극은 상기 안착면에 배치되며, 상기 투광성 커버는 상기 안착면의 중공부에 배치되는 피부 미용기기.
The method according to claim 1,
The case includes a hollow seating surface extending inwardly along an upper rim,
Wherein the pair of contact electrodes are disposed on the seating surface, and the transparent cover is disposed on a hollow portion of the seating surface.
제 4항에 있어서,
상기 광원은 상기 투광성 커버의 하부측에 배치되고, 상기 광원으로부터 외부로 방출되는 빛은 상기 안착면 및 접촉전극 중 적어도 어느 하나에 의해 외부로 방출되는 빛의 방출범위가 제한되는 피부 미용기기.
5. The method of claim 4,
Wherein the light source is disposed on a lower side of the translucent cover and light emitted to the outside from the light source is limited in the emission range of light emitted to the outside by at least one of the seating surface and the contact electrode.
제 1항에 있어서,
상기 접촉전극은 테두리로부터 하방으로 일정길이 연장되는 연장부가 구비되고, 상기 연장부 및 접촉전극의 테두리에 의해 형성되는 모서리는 곡면으로 형성되는 피부 미용기기.
The method according to claim 1,
Wherein the contact electrode is provided with an extension extending downward from the rim by a predetermined length and the edge formed by the rim of the extension and the contact electrode is formed as a curved surface.
제 1항에 있어서,
상기 광원과 피부 사이의 거리를 감지하기 위한 센서를 포함하고,
상기 광원은 상기 센서에 의해 감지된 거리가 기설정된 범위 이내인 경우 점등되고 기설정된 범위를 초과할 경우 소등되는 피부 미용기기.
The method according to claim 1,
And a sensor for sensing a distance between the light source and the skin,
Wherein the light source is illuminated when the distance sensed by the sensor is within a predetermined range and is turned off when the distance exceeds a predetermined range.
제 7항에 있어서,
상기 광원은 상기 한 쌍의 접촉전극이 사용자의 피부에 모두 접촉된 상태와, 상기 광원 및 피부 사이의 거리가 기설정된 범위 이내인 경우 상기 광원의 초기점등이 이루어지는 피부 미용기기.
8. The method of claim 7,
Wherein the light source is turned on when the pair of contact electrodes are in contact with the user's skin and the distance between the light source and the skin is within a predetermined range.
제 1항에 있어서,
상기 광원이 실장되는 회로기판을 포함하고, 상기 한 쌍의 접촉전극은 전기전도성을 갖는 한 쌍의 탄성부재를 매개로 상기 회로기판과 전기적으로 각각 연결되는 피부 미용기기.
The method according to claim 1,
And a circuit board on which the light source is mounted, wherein the pair of contact electrodes are electrically connected to the circuit board through a pair of elastic members having electrical conductivity.
제 9항에 있어서,
상기 탄성부재는 상기 회로기판에 실장되는 제1부분과 상기 제1부분의 단부로부터 소정의 각도로 기울어지는 제2부분을 포함하고, 상기 제2부분의 일부가 상기 접촉전극의 하부면과 접촉되는 피부 미용기기.
10. The method of claim 9,
The elastic member includes a first portion mounted on the circuit board and a second portion inclined at a predetermined angle from an end of the first portion, and a portion of the second portion is in contact with a lower surface of the contact electrode Skin beauty equipment.
제 1항에 있어서,
상기 투광성 커버 및 한 쌍의 접촉전극은 상기 케이스와 일체로 형성되는 피부 미용기기.
The method according to claim 1,
Wherein the transparent cover and the pair of contact electrodes are formed integrally with the case.
제 11항에 있어서,
상기 투광성 커버는 상기 접촉전극의 테두리로부터 하방으로 일정길이 연장되는 연장부가 삽입될 수 있도록 상부면으로부터 하부로 일정깊이 절개형성되는 삽입홈이 형성되는 피부 미용기기.
12. The method of claim 11,
Wherein the transparent cover has an insertion groove formed at a predetermined depth from an upper surface thereof so that an extension extending downward from the rim of the contact electrode to a predetermined length can be inserted.
제 1항에 있어서,
상기 피부 미용기기는 전원의 온/오프 및 상기 광원의 발광모드를 선택하기 위한 버튼부; 및
상기 버튼부의 조작과 연동되어 진동을 발생시키는 진동모터를 포함하는 피부 미용기기.
The method according to claim 1,
The skin care device includes a button unit for selecting on / off of a power source and a light emitting mode of the light source; And
And a vibration motor that generates vibration by interlocking with the operation of the button unit.
제 1항에 있어서,
상기 투광성 커버는 70~90%의 투과율을 갖는 피부 미용기기.
The method according to claim 1,
Wherein the translucent cover has a transmittance of 70 to 90%.
제 4항에 있어서,
상기 안착면은 수평면에 대하여 소정의 기울기를 갖는 경사면을 포함하고, 상기 경사면에 한 쌍의 접촉전극이 배치되는 피부 미용기기.
5. The method of claim 4,
Wherein the seating surface includes an inclined surface having a predetermined inclination with respect to a horizontal plane, and a pair of contact electrodes are disposed on the inclined surface.
KR1020160090703A 2016-03-03 2016-07-18 A skin care device Active KR102287036B1 (en)

Priority Applications (1)

Application Number Priority Date Filing Date Title
KR1020160090703A KR102287036B1 (en) 2016-03-03 2016-07-18 A skin care device

Applications Claiming Priority (2)

Application Number Priority Date Filing Date Title
KR1020160025922A KR101642248B1 (en) 2016-03-03 2016-03-03 A skin care device
KR1020160090703A KR102287036B1 (en) 2016-03-03 2016-07-18 A skin care device

Related Parent Applications (1)

Application Number Title Priority Date Filing Date
KR1020160025922A Division KR101642248B1 (en) 2016-03-03 2016-03-03 A skin care device

Publications (2)

Publication Number Publication Date
KR20170103597A true KR20170103597A (en) 2017-09-13
KR102287036B1 KR102287036B1 (en) 2021-08-06

Family

ID=59967857

Family Applications (1)

Application Number Title Priority Date Filing Date
KR1020160090703A Active KR102287036B1 (en) 2016-03-03 2016-07-18 A skin care device

Country Status (1)

Country Link
KR (1) KR102287036B1 (en)

Cited By (11)

* Cited by examiner, † Cited by third party
Publication number Priority date Publication date Assignee Title
KR20190088795A (en) 2018-01-19 2019-07-29 주식회사 아모센스 Apparatus and method for controlling output of skin care device
KR20190088796A (en) 2018-01-19 2019-07-29 주식회사 아모센스 Apparatus for controlling output of skin care device
KR20190102625A (en) 2018-02-26 2019-09-04 주식회사 아모센스 Skin care device and method for controlling therefore
JP2020151478A (en) * 2019-03-20 2020-09-24 アモーレパシフィック コーポレーションAmorepacific Corporation Skin beauty equipment and its control method
WO2020218745A1 (en) * 2019-04-25 2020-10-29 주식회사 아모센스 Skin care device
KR20200125433A (en) * 2019-04-25 2020-11-04 주식회사 아모센스 A skin care device
KR102186870B1 (en) * 2020-07-16 2020-12-04 김상민 Skin care device having high frequency wave, micro-current, ultrasonic wave and led module
KR20210000347U (en) * 2019-08-06 2021-02-17 김시호 Power laser to improve blood circulation
KR20210030087A (en) * 2019-09-09 2021-03-17 주식회사 파커스 Skin care apparatus
KR20230063120A (en) 2021-11-01 2023-05-09 석문정 Finger wearable skin care apparatus
CN119158190A (en) * 2024-11-08 2024-12-20 江苏旷爱医疗科技有限公司 Ultraviolet light therapy device control system and control method based on distributed sensing

Citations (6)

* Cited by examiner, † Cited by third party
Publication number Priority date Publication date Assignee Title
KR20100000861U (en) * 2008-07-17 2010-01-27 (주)아모레퍼시픽 Massager
KR20110018021A (en) * 2009-08-17 2011-02-23 (주)메딕콘 Heterogeneous light irradiation portable skin treatment device
KR20110083169A (en) * 2010-01-13 2011-07-20 주식회사 뉴피아 Skin care device
KR101065611B1 (en) * 2010-12-01 2011-09-19 주식회사 은성글로벌상사 Radio frequency skin beauty device
KR20130004722U (en) * 2012-01-27 2013-08-06 주식회사 아이젤크리에이티브 A equipment of skin care
KR20140039459A (en) 2012-09-24 2014-04-02 이용식 Nebulizer with iontophoresis

Patent Citations (6)

* Cited by examiner, † Cited by third party
Publication number Priority date Publication date Assignee Title
KR20100000861U (en) * 2008-07-17 2010-01-27 (주)아모레퍼시픽 Massager
KR20110018021A (en) * 2009-08-17 2011-02-23 (주)메딕콘 Heterogeneous light irradiation portable skin treatment device
KR20110083169A (en) * 2010-01-13 2011-07-20 주식회사 뉴피아 Skin care device
KR101065611B1 (en) * 2010-12-01 2011-09-19 주식회사 은성글로벌상사 Radio frequency skin beauty device
KR20130004722U (en) * 2012-01-27 2013-08-06 주식회사 아이젤크리에이티브 A equipment of skin care
KR20140039459A (en) 2012-09-24 2014-04-02 이용식 Nebulizer with iontophoresis

Cited By (13)

* Cited by examiner, † Cited by third party
Publication number Priority date Publication date Assignee Title
KR20190088795A (en) 2018-01-19 2019-07-29 주식회사 아모센스 Apparatus and method for controlling output of skin care device
KR20190088796A (en) 2018-01-19 2019-07-29 주식회사 아모센스 Apparatus for controlling output of skin care device
KR20190102625A (en) 2018-02-26 2019-09-04 주식회사 아모센스 Skin care device and method for controlling therefore
JP2020151478A (en) * 2019-03-20 2020-09-24 アモーレパシフィック コーポレーションAmorepacific Corporation Skin beauty equipment and its control method
CN113710310A (en) * 2019-04-25 2021-11-26 阿莫善斯有限公司 Skin beauty equipment
KR20200125433A (en) * 2019-04-25 2020-11-04 주식회사 아모센스 A skin care device
WO2020218745A1 (en) * 2019-04-25 2020-10-29 주식회사 아모센스 Skin care device
US12128247B2 (en) 2019-04-25 2024-10-29 Amosense Co., Ltd. Skin care device
KR20210000347U (en) * 2019-08-06 2021-02-17 김시호 Power laser to improve blood circulation
KR20210030087A (en) * 2019-09-09 2021-03-17 주식회사 파커스 Skin care apparatus
KR102186870B1 (en) * 2020-07-16 2020-12-04 김상민 Skin care device having high frequency wave, micro-current, ultrasonic wave and led module
KR20230063120A (en) 2021-11-01 2023-05-09 석문정 Finger wearable skin care apparatus
CN119158190A (en) * 2024-11-08 2024-12-20 江苏旷爱医疗科技有限公司 Ultraviolet light therapy device control system and control method based on distributed sensing

Also Published As

Publication number Publication date
KR102287036B1 (en) 2021-08-06

Similar Documents

Publication Publication Date Title
KR101642248B1 (en) A skin care device
KR20170103597A (en) A skin care device
JP7083184B2 (en) Skin beauty equipment
US20080119913A1 (en) Light therapy personal care device
CN100506322C (en) a beauty device
US20080103563A1 (en) Light therapy personal care device
JP7572788B2 (en) Skin beauty device and control method thereof
KR200471948Y1 (en) Face mask
CN113967322A (en) Skin beauty instrument and control method thereof
US12128247B2 (en) Skin care device
CN117751693A (en) Portable beauty instrument and its charging stand
KR102001016B1 (en) A skin care device
KR102092375B1 (en) Microcurrent Pain Therapy Device Combining Low Level Laser
KR102800780B1 (en) Skin care apparatus
KR102348416B1 (en) skin care device
JP2009034235A (en) Hair growth control light irradiation device
CN114470254A (en) Nail clippers sterilizing equipment
JP2017153810A (en) Beauty treatment instrument
JP3206112U (en) Light solidification equipment
KR20200137915A (en) Mask device comprising a light emitting module and control method thereof
KR20200137063A (en) Mask sheet provided with conductive pattern an mask device including the same
KR102441740B1 (en) skin beauty device
KR20230108866A (en) Skin massage device
KR200233008Y1 (en) The light therapy device for knee bend type
JP2009034240A (en) Hair growth control light irradiation device

Legal Events

Date Code Title Description
A107 Divisional application of patent
PA0107 Divisional application

St.27 status event code: A-0-1-A10-A18-div-PA0107

St.27 status event code: A-0-1-A10-A16-div-PA0107

R18-X000 Changes to party contact information recorded

St.27 status event code: A-3-3-R10-R18-oth-X000

PG1501 Laying open of application

St.27 status event code: A-1-1-Q10-Q12-nap-PG1501

R18-X000 Changes to party contact information recorded

St.27 status event code: A-3-3-R10-R18-oth-X000

R18-X000 Changes to party contact information recorded

St.27 status event code: A-3-3-R10-R18-oth-X000

P22-X000 Classification modified

St.27 status event code: A-2-2-P10-P22-nap-X000

P22-X000 Classification modified

St.27 status event code: A-2-2-P10-P22-nap-X000

P22-X000 Classification modified

St.27 status event code: A-2-2-P10-P22-nap-X000

R18-X000 Changes to party contact information recorded

St.27 status event code: A-3-3-R10-R18-oth-X000

PN2301 Change of applicant

St.27 status event code: A-3-3-R10-R13-asn-PN2301

St.27 status event code: A-3-3-R10-R11-asn-PN2301

A201 Request for examination
E13-X000 Pre-grant limitation requested

St.27 status event code: A-2-3-E10-E13-lim-X000

P11-X000 Amendment of application requested

St.27 status event code: A-2-2-P10-P11-nap-X000

P13-X000 Application amended

St.27 status event code: A-2-2-P10-P13-nap-X000

PA0201 Request for examination

St.27 status event code: A-1-2-D10-D11-exm-PA0201

E902 Notification of reason for refusal
PE0902 Notice of grounds for rejection

St.27 status event code: A-1-2-D10-D21-exm-PE0902

P11-X000 Amendment of application requested

St.27 status event code: A-2-2-P10-P11-nap-X000

P13-X000 Application amended

St.27 status event code: A-2-2-P10-P13-nap-X000

E701 Decision to grant or registration of patent right
PE0701 Decision of registration

St.27 status event code: A-1-2-D10-D22-exm-PE0701

GRNT Written decision to grant
PR0701 Registration of establishment

St.27 status event code: A-2-4-F10-F11-exm-PR0701

PR1002 Payment of registration fee

St.27 status event code: A-2-2-U10-U11-oth-PR1002

Fee payment year number: 1

PG1601 Publication of registration

St.27 status event code: A-4-4-Q10-Q13-nap-PG1601

PN2301 Change of applicant

St.27 status event code: A-5-5-R10-R13-asn-PN2301

St.27 status event code: A-5-5-R10-R11-asn-PN2301

PR1001 Payment of annual fee

St.27 status event code: A-4-4-U10-U11-oth-PR1001

Fee payment year number: 4

PN2301 Change of applicant

St.27 status event code: A-5-5-R10-R13-asn-PN2301

St.27 status event code: A-5-5-R10-R11-asn-PN2301

PR1001 Payment of annual fee

St.27 status event code: A-4-4-U10-U11-oth-PR1001

Fee payment year number: 5