KR20170090256A - Air intake unit and ventilation apparatus having the same - Google Patents

Air intake unit and ventilation apparatus having the same Download PDF

Info

Publication number
KR20170090256A
KR20170090256A KR1020160010881A KR20160010881A KR20170090256A KR 20170090256 A KR20170090256 A KR 20170090256A KR 1020160010881 A KR1020160010881 A KR 1020160010881A KR 20160010881 A KR20160010881 A KR 20160010881A KR 20170090256 A KR20170090256 A KR 20170090256A
Authority
KR
South Korea
Prior art keywords
air
filter
dust
housing
unit
Prior art date
Legal status (The legal status is an assumption and is not a legal conclusion. Google has not performed a legal analysis and makes no representation as to the accuracy of the status listed.)
Granted
Application number
KR1020160010881A
Other languages
Korean (ko)
Other versions
KR102193124B1 (en
Inventor
최영광
박찬정
김형태
김종민
이경환
홍현진
Original Assignee
코웨이 주식회사
Priority date (The priority date is an assumption and is not a legal conclusion. Google has not performed a legal analysis and makes no representation as to the accuracy of the date listed.)
Filing date
Publication date
Application filed by 코웨이 주식회사 filed Critical 코웨이 주식회사
Priority to KR1020160010881A priority Critical patent/KR102193124B1/en
Priority to PCT/KR2017/000110 priority patent/WO2017119721A1/en
Priority to CN202010199748.4A priority patent/CN111365806B/en
Priority to CN201780005729.XA priority patent/CN108474573B/en
Priority to US16/067,853 priority patent/US10888811B2/en
Publication of KR20170090256A publication Critical patent/KR20170090256A/en
Application granted granted Critical
Publication of KR102193124B1 publication Critical patent/KR102193124B1/en
Active legal-status Critical Current
Anticipated expiration legal-status Critical

Links

Images

Classifications

    • FMECHANICAL ENGINEERING; LIGHTING; HEATING; WEAPONS; BLASTING
    • F24HEATING; RANGES; VENTILATING
    • F24FAIR-CONDITIONING; AIR-HUMIDIFICATION; VENTILATION; USE OF AIR CURRENTS FOR SCREENING
    • F24F7/00Ventilation
    • F24F7/007Ventilation with forced flow
    • EFIXED CONSTRUCTIONS
    • E06DOORS, WINDOWS, SHUTTERS, OR ROLLER BLINDS IN GENERAL; LADDERS
    • E06BFIXED OR MOVABLE CLOSURES FOR OPENINGS IN BUILDINGS, VEHICLES, FENCES OR LIKE ENCLOSURES IN GENERAL, e.g. DOORS, WINDOWS, BLINDS, GATES
    • E06B7/00Special arrangements or measures in connection with doors or windows
    • E06B7/02Special arrangements or measures in connection with doors or windows for providing ventilation, e.g. through double windows; Arrangement of ventilation roses
    • FMECHANICAL ENGINEERING; LIGHTING; HEATING; WEAPONS; BLASTING
    • F24HEATING; RANGES; VENTILATING
    • F24FAIR-CONDITIONING; AIR-HUMIDIFICATION; VENTILATION; USE OF AIR CURRENTS FOR SCREENING
    • F24F13/00Details common to, or for air-conditioning, air-humidification, ventilation or use of air currents for screening
    • F24F13/02Ducting arrangements
    • F24F13/06Outlets for directing or distributing air into rooms or spaces, e.g. ceiling air diffuser
    • FMECHANICAL ENGINEERING; LIGHTING; HEATING; WEAPONS; BLASTING
    • F24HEATING; RANGES; VENTILATING
    • F24FAIR-CONDITIONING; AIR-HUMIDIFICATION; VENTILATION; USE OF AIR CURRENTS FOR SCREENING
    • F24F13/00Details common to, or for air-conditioning, air-humidification, ventilation or use of air currents for screening
    • F24F13/08Air-flow control members, e.g. louvres, grilles, flaps or guide plates
    • FMECHANICAL ENGINEERING; LIGHTING; HEATING; WEAPONS; BLASTING
    • F24HEATING; RANGES; VENTILATING
    • F24FAIR-CONDITIONING; AIR-HUMIDIFICATION; VENTILATION; USE OF AIR CURRENTS FOR SCREENING
    • F24F13/00Details common to, or for air-conditioning, air-humidification, ventilation or use of air currents for screening
    • F24F13/20Casings or covers
    • FMECHANICAL ENGINEERING; LIGHTING; HEATING; WEAPONS; BLASTING
    • F24HEATING; RANGES; VENTILATING
    • F24FAIR-CONDITIONING; AIR-HUMIDIFICATION; VENTILATION; USE OF AIR CURRENTS FOR SCREENING
    • F24F13/00Details common to, or for air-conditioning, air-humidification, ventilation or use of air currents for screening
    • F24F13/28Arrangement or mounting of filters
    • EFIXED CONSTRUCTIONS
    • E06DOORS, WINDOWS, SHUTTERS, OR ROLLER BLINDS IN GENERAL; LADDERS
    • E06BFIXED OR MOVABLE CLOSURES FOR OPENINGS IN BUILDINGS, VEHICLES, FENCES OR LIKE ENCLOSURES IN GENERAL, e.g. DOORS, WINDOWS, BLINDS, GATES
    • E06B7/00Special arrangements or measures in connection with doors or windows
    • E06B7/02Special arrangements or measures in connection with doors or windows for providing ventilation, e.g. through double windows; Arrangement of ventilation roses
    • E06B2007/023Air flow induced by fan
    • F24F2003/1639

Landscapes

  • Engineering & Computer Science (AREA)
  • Chemical & Material Sciences (AREA)
  • Combustion & Propulsion (AREA)
  • Mechanical Engineering (AREA)
  • General Engineering & Computer Science (AREA)
  • Civil Engineering (AREA)
  • Structural Engineering (AREA)
  • Filtering Of Dispersed Particles In Gases (AREA)

Abstract

본 발명은 건물의 벽체에 매립형으로 설치되되 필터 교체가 용이한 흡기유닛 및 이를 포함하는 환기장치를 제공하는 것을 목적으로 한다.
본 발명의 일 실시예에 따른 흡기유닛은 실외측면에 공기흡입부를 구비하고, 실내측면에 공기토출부를 구비하는 하우징; 상기 하우징의 내부에 구비되는 송풍팬; 상기 하우징의 내부에 구비되며, 상기 하우징의 하단으로 인출 가능하되 상기 하우징의 실내측면 방향으로 경사지게 인출 가능한 공기정화필터;를 포함한다.
SUMMARY OF THE INVENTION It is an object of the present invention to provide an intake unit which is installed in a wall of a building and is easy to replace a filter, and a ventilator including the intake unit.
According to an aspect of the present invention, there is provided an intake unit including: a housing having an air intake part on an outdoor side surface and an air discharge part on an indoor side; A blowing fan provided inside the housing; And an air purifying filter provided inside the housing and capable of being drawn out to the lower end of the housing and drawn out in an inclined direction toward the interior side of the housing.

Description

흡기유닛 및 이를 포함하는 환기장치{AIR INTAKE UNIT AND VENTILATION APPARATUS HAVING THE SAME}BACKGROUND OF THE INVENTION 1. Field of the Invention [0001] The present invention relates to an air intake unit and a ventilation unit including the air intake unit.

본 발명은 흡기유닛 및 이를 포함하는 환기장치에 관한 것으로, 더욱 상세하게는 건물의 벽체에 매립 설치되어 실외 공기를 정화하여 실내로 도입시키는 흡기유닛 및 이를 포함하는 환기장치에 관한 것이다.BACKGROUND OF THE INVENTION 1. Field of the Invention The present invention relates to an intake unit and a ventilator including the same, and more particularly, to an intake unit installed in a wall of a building to clean outdoor air and introduce it into the room.

일반적으로 환기장치는 건물의 창호나 벽체에 설치되어 실내 공기를 배출시키고 실외 공기를 정화하여 실내로 도입시키는 실내 환기기능을 수행한다. Generally, a ventilator is installed in a window or a wall of a building to perform an indoor ventilation function of discharging indoor air, purifying outdoor air, and introducing the indoor air into a room.

이러한 환기장치 중에는 건물의 벽체나 천장에 매립형으로 설치되는 타입이 있다. Among these ventilation devices, there is a type that is installed in a wall or ceiling of a building in a buried type.

그러나, 종래의 기술에 의한 매립형 환기장치는 장치본체가 벽체나 천장에 매립되어 있어 필터 교체시 필터를 인출할 수 있는 공간확보가 어려우므로, 필터 교체 작업이 용이하지 않다는 단점이 있다. However, in the conventional ventilating method, since the apparatus main body is embedded in a wall or a ceiling, it is difficult to secure a space for taking out the filter when the filter is replaced, which is disadvantageous in that it is not easy to replace the filter.

또한, 종래의 기술에 의한 매립형 환기장치의 경우. 실내로 도입된 공기가 실내 공기를 실외로 배출시키는 배기팬의 흡입력으로 인해 곧바로 배기팬으로 재흡입되어 실외로 배출되는 문제가 발생할 수 있다.Further, in the case of the conventional ventilating method according to the prior art. The air introduced into the room may be sucked back into the exhaust fan immediately due to the suction force of the exhaust fan that discharges the indoor air to the outside and may be discharged to the outside of the room.

본 발명은 상기와 같은 종래 기술의 문제점 중 적어도 일부를 해결하고자 안출된 것으로, 일 측면으로서, 건물의 벽체에 매립형으로 설치되되 필터 교체가 용이한 흡기유닛 및 이를 포함하는 환기장치를 제공하는 것을 목적으로 한다. SUMMARY OF THE INVENTION The present invention has been made to solve at least some of the problems of the prior art as described above, and it is an object of the present invention to provide an intake unit and a ventilator including the same, which are installed in a wall of a building, .

또한, 본 발명은 다른 일 측면으로서, 실내로 도입된 외부 공기를 실내 공간에 널리 순환시킬 수 있는 흡기유닛 및 이를 포함하는 환기장치를 제공하는 것을 목적으로 한다.Another aspect of the present invention is to provide an intake unit capable of widely circulating outside air introduced into a room to an indoor space, and a ventilating apparatus including the same.

상기 목적 중 적어도 일부를 달성하기 위한 일 측면으로서, 본 발명은 실외측면에 공기흡입부를 구비하고, 실내측면에 공기토출부를 구비하는 하우징; 상기 하우징의 내부에 구비되는 송풍팬; 상기 하우징의 내부에 구비되며, 상기 하우징의 하단으로 인출 가능하되 상기 하우징의 실내측면 방향으로 경사지게 인출 가능한 공기정화필터;를 포함하는 흡기유닛을 제공한다. According to an aspect of the present invention, there is provided an air conditioner comprising: a housing having an air suction part on an outdoor side surface and an air discharge part on an indoor side surface; A blowing fan provided inside the housing; And an air purifying filter provided inside the housing and capable of being drawn out to a lower end of the housing and being drawn out in an inclined direction toward the interior side of the housing.

일 실시예에서, 상기 공기정화필터는 하단이 상단보다 상기 실내측면에 가깝게 배치되도록 상기 하우징의 내부에 경사지게 장착될 수 있다.In one embodiment, the air purifying filter may be inclined inside the housing such that a lower end thereof is closer to the interior side than the upper end.

또한, 본 발명의 일 실시예에 따른 흡기유닛은 상기 공기흡입부와 상기 송풍팬 사이에 구비되어 공기 중의 먼지를 포집하는 프리필터부; 및 상기 하우징의 하단에 장착되며 상기 프리필터부에 포집된 후 낙하하는 먼지를 저장하는 먼지트레이를 포함할 수 있다. According to another aspect of the present invention, there is provided an air intake unit including: a pre-filter unit disposed between the air intake unit and the blowing fan to collect dust in the air; And a dust tray mounted on a lower end of the housing and storing dust falling down after being collected in the pre-filter unit.

또한, 일 실시예에서, 상기 하우징의 하단에는 상기 공기정화필터가 인출되는 필터인출구가 형성되고, 상기 먼지트레이는 상기 필터인출구를 덮도록 상기 하우징에 장착될 수 있다.Also, in one embodiment, a filter outlet port through which the air purifying filter is drawn is formed at a lower end of the housing, and the dust tray may be mounted to the housing to cover the filter outlet port.

또한, 일 실시예에서, 상기 프리필터부는 상부 권취롤러와, 상기 상부 권취롤러의 하방에 구비되는 하부 권취롤러와, 상기 상부 권취롤러와 하부 권취롤러에 벨트형태로 권취되어 회전하는 롤필터를 포함하고, 상기 먼지트레이에는 상기 롤필터의 표면을 브러싱하는 브러시부재가 구비될 수 있다.Further, in one embodiment, the pre-filter portion includes an upper take-up roller, a lower take-up roller provided below the upper take-up roller, and a roll filter wound around the upper take-up roller and the lower take- And the dust tray may be provided with a brush member for brushing the surface of the roll filter.

또한, 일 실시예에서, 상기 하우징에는 상기 공기토출부를 개폐하고 상기 공기토출부에서 토출되는 공기의 토출방향을 가이드하는 토출루버가 구비되고, 상기 토출루버는 상향 경사진 방향으로 공기를 가이드할 수 있다.
Further, in one embodiment, the housing is provided with a discharge louver that opens and closes the air discharge portion and guides the discharge direction of air discharged from the air discharge portion, and the discharge louver can guide air in an upward sloping direction have.

한편, 다른 일 측면으로서, 본 발명은 실외 공기를 실내로 도입하도록 건물의 벽체에 설치되는 상기 흡기유닛; 및 실내 공기를 실외로 배출하도록 건물의 벽체에 설치되는 배기유닛;을 포함하는 환기장치를 제공한다. According to another aspect of the present invention, there is provided an air conditioner comprising: an intake unit installed in a wall of a building to introduce outdoor air into the room; And an exhaust unit installed in the wall of the building so as to discharge indoor air outdoors.

일 실시예에서, 상기 배기유닛은, 실내측면에 흡기구를 구비하고 실외측면에 배기구를 구비하는 본체; 상기 본체의 내부에 구비되는 배기팬; 및 상기 흡기구와 상기 배기팬 사이에 구비되는 먼지제거부;를 포함할 수 있다.In one embodiment, the exhaust unit includes: a main body having an inlet port on an inner side surface and an exhaust port on an outdoor side surface; An exhaust fan provided inside the main body; And a dust removing unit provided between the intake port and the exhaust fan.

또한, 일 실시예에서, 상기 먼지제거부는, 상부롤러; 상기 상부롤러의 하방에 구비되는 하부롤러; 및 상기 상부롤러와 하부롤러에 벨트형태로 권취되어 회전하고, 공기 중의 먼지를 포집하는 먼지여과필터;를 포함할 수 있다.Further, in one embodiment, the dust removing portion includes: an upper roller; A lower roller provided below the upper roller; And a dust filtration filter wound around the upper roller and the lower roller in the form of a belt and rotating and collecting dust in the air.

또한, 일 실시예에서, 상기 배기유닛은, 상기 본체에 인입 및 인출 가능하게 구비되고, 상기 먼지여과필터에 포집된 후 낙하하는 먼지를 저장하는 먼지수집통을 더 포함하고, 상기 먼지수집통에는 상기 먼지여과필터의 표면을 브러시하는 청소솔이 구비될 수 있다.Further, in one embodiment, the exhaust unit may further include a dust collecting container provided in the main body so as to be capable of being drawn in and drawn out and storing dust falling after being collected in the dust filtering filter, A cleaning brush for brushing the surface of the dust filter may be provided.

또한, 일 실시예에서, 상기 흡기유닛은 상기 배기유닛의 상방에 설치되며 공기를 실내의 천장 방향으로 경사지게 토출할 수 있다.Further, in one embodiment, the intake unit is installed above the exhaust unit and can discharge the air obliquely toward the ceiling of the room.

이러한 구성을 갖는 본 발명의 일 실시예에 의하면, 실내에서 필터를 용이하게 분리할 수 있으므로, 장치의 사용 편리성이 향상되는 효과를 얻을 수 있다.According to the embodiment of the present invention having such a configuration, since the filter can be easily separated from the room, convenience of use of the apparatus can be improved.

또한, 본 발명의 일 실시예에 의하면, 정화된 실외 공기가 실내 공간 전체에 걸쳐 널리 유동할 수 있으므로, 실내 공기정화효율이 향상된다는 효과를 얻을 수 있다.In addition, according to the embodiment of the present invention, the purified outdoor air can be widely distributed throughout the indoor space, thereby improving the indoor air cleaning efficiency.

도 1은 본 발명의 일 실시예에 따른 환기장치가 벽체에 설치된 모습을 실내측에서 바라본 사시도이다.
도 2는 1에 도시된 환기장치가 벽체에 설치된 모습을 실외측에서 바라본 사시도이다.
도 3은 도 1에 도시된 환기장치의 환기 동작을 도시한 측단면도이다.
도 4는 본 발명의 일 실시예에 따른 흡기유닛의 분해 사시도이다.
도 5는 도 4에 도시된 흡기유닛의 측단면도이다.
도 6은 도 4에 도시된 흡기유닛의 공기정화필터 분리 구조를 도시한 측단면도이다.
도 7은 도 1에 도시된 환기장치에 포함되는 배기유닛의 분해 사시도이다.
도 8은 도 7에 도시된 배기유닛의 측단면도이다.
FIG. 1 is a perspective view of a ventilating apparatus according to an embodiment of the present invention, viewed from a room side.
Fig. 2 is a perspective view of the ventilation device shown in Fig.
3 is a side sectional view showing the ventilation operation of the ventilator shown in Fig.
4 is an exploded perspective view of an intake unit according to an embodiment of the present invention.
5 is a side cross-sectional view of the intake unit shown in Fig.
6 is a side cross-sectional view showing the air purifying filter separation structure of the intake unit shown in FIG.
7 is an exploded perspective view of the exhaust unit included in the ventilator shown in Fig.
8 is a side sectional view of the exhaust unit shown in Fig.

본 명세서에서 사용한 용어는 단지 특정한 실시예를 설명하기 위해 사용된 것으로, 본 발명을 한정하려는 의도가 아니다. 또한, 본 명세서에서 단수의 표현은 문맥상 명백하게 다르게 뜻하지 않는 한, 복수의 표현을 포함한다.
The terminology used herein is for the purpose of describing particular embodiments only and is not intended to be limiting of the invention. Furthermore, the singular forms "a", "an," and "the" include plural referents unless the context clearly dictates otherwise.

이하, 첨부한 도면을 참고로 하여 본 발명의 바람직한 실시예에 대하여 설명한다.Hereinafter, preferred embodiments of the present invention will be described with reference to the accompanying drawings.

먼저, 도 1 내지 도 3을 참조하여, 본 발명의 일 실시예에 따른 환기장치(100)에 대해서 설명한다. 1 to 3, a ventilator 100 according to an embodiment of the present invention will be described.

도 1 내지 도 3에 도시된 바와 같이, 본 발명의 일 실시예에 따른 환기장치(100)는 흡기유닛(200) 및 배기유닛(300)을 포함할 수 있다.
1 to 3, the ventilator 100 according to an embodiment of the present invention may include an intake unit 200 and an exhaust unit 300.

상기 흡기유닛(200)은 건물의 벽체(1)를 관통하도록 벽체(1)에 매립형으로 설치되어 실외 공기를 실내로 도입할 수 있다. 이러한 흡기유닛(200)은 실외 공기를 정화한 후 실내로 도입시킬 수 있다. The intake unit 200 may be installed in the wall 1 so as to pass through the wall 1 of the building so as to introduce outdoor air into the room. The intake unit 200 can purify the outdoor air and introduce it into the room.

일 실시예에서, 흡기유닛(200)은 도 1 내지 도 3에 도시된 바와 같이 후술할 배기유닛(300)의 상방에 설치되어 실내 공간의 상부로 공기를 토출시킬 수 있다. In one embodiment, the intake unit 200 may be installed above the exhaust unit 300, which will be described later, as shown in Figs. 1 to 3, and may discharge air to the upper portion of the indoor space.

이러한 흡기유닛(200)의 구체적인 구성에 대해서는 도 4 내지 도 6을 참조하여 후술하도록 한다.
The specific structure of the intake unit 200 will be described later with reference to Figs. 4 to 6. Fig.

상기 배기유닛(300)은 흡기유닛(200)과 마찬가지로 건물의 벽체(1)를 관통하도록 벽체(1)에 매립형으로 설치될 수 있으며, 흡기유닛(200)과 반대로 실내 공기를 실외로 배출시킬 수 있다. The exhaust unit 300 may be installed in the wall 1 so as to pass through the wall 1 of the building as in the intake unit 200. The exhaust unit 300 may be configured to discharge room air outdoors have.

일 실시예에서, 배기유닛(300)은 도 1 내지 도 3에 도시된 바와 같이 흡기유닛(200)의 하방에 설치되어 실내 공간의 하부에서 공기를 흡입하여 실외로 배출시킬 수 있다. In one embodiment, the exhaust unit 300 may be installed below the intake unit 200 as shown in FIGS. 1 to 3, so that air can be sucked from the lower part of the indoor space and discharged to the outside of the room.

이러한 배기유닛(300)의 구체적인 구성에 대해서는 도 7 및 도 8을 참조하여 후술하도록 한다.
A specific configuration of the exhaust unit 300 will be described later with reference to Figs. 7 and 8. Fig.

한편, 전술한 바와 같은 본 발명의 일 실시예에 따른 환기장치(100)에서, 흡기유닛(200)은 도 3에 도시된 바와 같이 정화한 실외 공기를 실내의 천장 방향으로 경사지게 토출할 수 있다. 이를 통해, 흡기유닛(200)을 통해 정화된 공기가 실내 전체 공간으로 널리 유동하지 않고 배기유닛(300)으로 재흡입되는 현상이 방지될 수 있다. Meanwhile, in the ventilator 100 according to an embodiment of the present invention, the intake unit 200 may discharge the purified outdoor air obliquely toward the ceiling of the room, as shown in FIG. Accordingly, it is possible to prevent the air that has been purified through the intake unit 200 from being sucked into the exhaust unit 300 without being widely flowed into the entire space of the room.

즉, 흡기유닛(200)에서 실내의 천장방향으로 공기를 토출시킴으로써 흡기유닛(200)에서 토출된 공기의 도달거리가 증가할 수 있으며, 이를 통해, 실내에는 실내 공간 전체에 걸쳐 상부에서 하부로 유동하여 외부로 배출되는 순환기류가 형성될 수 있다. That is, by discharging the air in the direction of the ceiling of the room from the intake unit 200, the reaching distance of the air discharged from the intake unit 200 can be increased, A circulating air stream discharged to the outside can be formed.

참고로, 일반적으로 공기보다 무거운 먼지 입자, 냄새 입자 및 이물질의 농도가 실내 공간의 상부 영역보다 하부 영역에서 높기 때문에, 본 발명의 일 실시예에 따른 환기장치(100)와 같이 정화된 공기를 실내 공간의 상부로 유동시키고, 실내 공간의 하부 영역에 존재하는 공기를 실외로 배출시키는 경우, 실내 공기정화효율이 향상된다.
For reference, since the concentrations of dust particles, odor particles, and foreign matter heavier than air are generally higher in the lower region than the upper region of the indoor space, the purified air, such as the ventilator 100 according to the embodiment of the present invention, The indoor air purifying efficiency is improved when the air flowing to the upper part of the space and the air existing in the lower area of the indoor space is discharged to the outside of the room.

다음으로, 도 4 내지 도 6을 참조하여, 본 발명의 일 실시예에 따른 흡기유닛(200)에 대해서 설명한다. Next, an intake unit 200 according to an embodiment of the present invention will be described with reference to FIGS. 4 to 6. FIG.

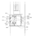
도 4 내지 도 6에 도시된 바와 같이, 본 발명의 일 실시예에 다른 흡기유닛(200)은 하우징(210), 토출루버(220), 송풍팬(230), 팬케이싱(232), 프리필터부(240), 공기정화필터(250), 먼지트레이(260) 및 브러시부재(270)를 포함할 수 있다.
4 to 6, an intake unit 200 according to an embodiment of the present invention includes a housing 210, a discharge louver 220, a blowing fan 230, a fan casing 232, An air purifying filter 250, a dust tray 260,

상기 하우징(210)은 본 발명의 일 실시예에 따른 흡기유닛(200)의 외관을 구성하며, 송풍팬(230), 프리필터부(240), 공기정화필터(250) 및 먼지트레이(260)가 설치될 수 있는 내부공간을 마련한다. The housing 210 constitutes an appearance of the intake unit 200 according to an embodiment of the present invention and includes a blowing fan 230, a prefilter 240, an air purifying filter 250, and a dust tray 260. Thereby providing an internal space in which the battery can be installed.

일 실시예에서, 하우징(210)은 건물의 벽체(1) 또는 천장 구조물을 관통하여 매립형으로 설치될 수 있다. In one embodiment, the housing 210 may be installed in a buried form through the wall 1 or ceiling structure of the building.

이때, 하우징(210)은 실외에 노출되는 실외측면에 공기흡입부(212)를 구비하고, 실내에 노출되는 실내측면에 공기토출부(214)를 구비할 수 있다.
At this time, the housing 210 is provided with the air suction part 212 at the outdoor side exposed to the outside, and the air discharge part 214 may be provided at the indoor side face exposed to the room.

상기 토출루버(220)는 공기토출부(214)를 개폐하도록 하우징(210)에 구비될 수 있다. The discharge louver 220 may be installed in the housing 210 to open or close the air discharge part 214.

일 실시예에서, 토출루버(220)는 흡기유닛(200)의 작동시 공기토출부(214)를 개방할 수 있고, 흡기유닛(200)이 작동하지 않을 때 실외 공기가 실내로 유입되지 않도록 공기토출부(214)를 폐쇄할 수 있다. The discharge louver 220 can open the air discharging portion 214 when the intake unit 200 operates and can discharge the air to the room so that the outdoor air does not enter the room when the intake unit 200 is not operating. The discharge portion 214 can be closed.

또한, 이러한 토출루버(220)는 공기토출부(214)를 개방한 경우에 공기토출부(214)에서 토출되는 공기의 토출방향을 가이드할 수 있다. The discharge louver 220 can guide the discharge direction of the air discharged from the air discharge portion 214 when the air discharge portion 214 is opened.

일 실시예에서, 토출루버(220)는 하우징(210)에 상하로 회전 가능하게 결합된 플레이트 형태의 부재로 구성될 수 있으며, 스테핑 모터(222)를 통해 회전각도가 조절될 수 있다. In one embodiment, the discharge louver 220 may be configured as a plate-shaped member rotatably coupled to the housing 210 up and down, and the rotation angle may be adjusted through the stepping motor 222.

또한, 일 실시예에서, 토출루버(220)는 도 5에 도시된 바와 같이 흡기유닛(200)의 작동시 상향 경사지게 회전되어 상향 경사진 방향으로 공기를 가이드할 수 있다. 이를 통해, 전술한 바와 같이 본 발명의 흡기유닛(200)은 실내의 천장 방향으로 공기를 토출시킬 수 있다.
In addition, in one embodiment, the discharge louver 220 may be rotated upwardly sloping to guide the air in an upward sloping direction during operation of the intake unit 200, as shown in FIG. Accordingly, as described above, the intake unit 200 of the present invention can discharge air in the ceiling direction of the room.

상기 송풍팬(230)은 하우징(210)의 내부에 구비되며, 실외 공기가 실내로 유입되는 공기 유동을 발생시킬 수 있다. The air blowing fan 230 is installed inside the housing 210 and can generate an air flow in which outdoor air flows into the room.

일 실시예에서, 송풍팬(230)은 축방향으로 공기를 흡입하고 토출하는 축류팬으로 구성될 수 있으나, 이에 한정되는 것은 아니며, 원심팬, 사류팬 및 측류팬 등 다양한 형태의 팬으로 구성될 수 있다. In one embodiment, the blowing fan 230 may be configured as an axial flow fan that sucks and discharges air in the axial direction, but is not limited thereto, and may include various types of fans such as a centrifugal fan, .

또한, 송풍팬(230)이 축류팬으로 구성된 경우, 송풍팬(230)은 도 5에 도시된 바와 같이 상향 경사진 방향으로 토출되는 공기의 유동에 대응하여 토출방향이 상향 경사지게 형성되도록 하우징(210) 내부에 경사진 형태로 배치될 수 있으나, 이에 한정되는 것은 아니며, 직립한 형태로 배치될 수도 있다.
5, when the blowing fan 230 is constituted by an axial flow fan, the blowing fan 230 is rotated by the housing 210 (see FIG. 5) so that the discharge direction is upwardly inclined corresponding to the flow of air discharged in the upward inclining direction , But it is not limited thereto and may be arranged in an upright form.

상기 팬케이싱(232)은 하우징(210) 내부에 송풍팬(230)을 지지시킬 수 있다.The fan casing 232 can support the blowing fan 230 inside the housing 210.

팬케이싱(232)은 송풍팬(230)의 외곽을 둘러싸며 공기흡입부(212)를 통해 하우징(210) 내부로 흡입된 공기를 팬케이싱(232)으로 가이드하는 덕트형태로 구성될 수 있다. The fan casing 232 surrounds the outer periphery of the ventilation fan 230 and can be configured as a duct for guiding air sucked into the housing 210 through the air suction part 212 to the fan casing 232.

일 실시예에서, 팬케이싱(232)은 송풍팬(230)을 둘러싸는 외곽 구조가 후술할 공기정화필터(250)의 외곽을 둘러싸도록 연장될 수 있다. In one embodiment, the fan casing 232 can extend so that the enclosure surrounding the blowing fan 230 surrounds the outer periphery of the air purifying filter 250, which will be described later.

이와 같이 송풍팬(230)과 공기정화필터(250)의 외곽을 일체로 둘러싸는 팬케이싱(232) 구조는 공기정화필터(250)와 송풍팬(230)을 통과하는 공기의 유로를 일체로 형성함으로써, 공기정화필터(250)를 우회하는 누설 공기의 발생을 최소화한다는 장점을 가진다.
The structure of the fan casing 232 integrally enclosing the outer surfaces of the air blowing fan 230 and the air purifying filter 250 integrally forms the air flow path passing through the air purifying filter 250 and the air blowing fan 230 Thereby minimizing the generation of leaked air that bypasses the air purifying filter 250.

상기 프리필터부(240)는 송풍팬(230)과 공기흡입부(212) 사이에 구비되며, 공기흡입부(212)에서 송풍팬(230)으로 유동하는 공기 중의 비교적 큰 먼지를 여과할 수 있다.The pre-filter unit 240 is provided between the blowing fan 230 and the air suction unit 212 and can filter relatively large dust in the air flowing from the air suction unit 212 to the blowing fan 230 .

일 실시예에서, 프리필터부(240)는 상부 권취롤러(242), 하부 권취롤러(244) 및 롤필터(246)를 포함하여 구성될 수 있다. In one embodiment, the pre-filter section 240 may comprise an upper take-up roller 242, a lower take-up roller 244, and a roll filter 246.

여기서, 상부 권취롤러(242)와 하부 권취롤러(244)는 하우징(210)의 내부에 상하로 배치될 수 있고, 상부 권취롤러(242) 및 하부 권취롤러(244) 중 적어도 하나는 작동모터(248)에 의해 회전될 수 있다. At least one of the upper take-up roller 242 and the lower take-up roller 244 may be disposed in the upper portion of the housing 210 and the upper take-up roller 242 and the lower take- 248, respectively.

그리고, 롤필터(246)는 상부 권취롤러(242)와 하부 권취롤러(244)에 벨트형태로 권취되어 회전할 수 있다.
The roll filter 246 is wound around the upper take-up roller 242 and the lower take-up roller 244 in the form of a belt and can rotate.

상기 공기정화필터(250)는 송풍팬(230)과 프리필터부(240) 사이에 구비되어, 프리필터부(240)의 롤필터(246)에서 여과되지 않은 미세 먼지, 악취, 세균 및 바이러스를 제거할 수 있다. The air purifying filter 250 is provided between the blowing fan 230 and the pre-filter unit 240 so that fine dust, odor, bacteria, and viruses not filtered from the roll filter 246 of the pre- Can be removed.

일 예로, 공기정화필터(250)는 헤파(HEPA)필터로 구성될 수 있으나, 이에 한정되는 것은 아니며, 다른 공기정화기능을 구비하는 필터로 구성될 수 있다. For example, the air purifying filter 250 may be a HEPA filter, but the present invention is not limited thereto. The air purifying filter 250 may include a filter having another air purifying function.

또한, 공기정화필터(250)는 단일 필터로 구성될 수도 있고, 서로 다른 기능을 가지는 복수의 필터가 중첩된 필터 조립체로 구성될 수도 있다.In addition, the air purifying filter 250 may be constituted by a single filter or a filter assembly in which a plurality of filters having different functions are superimposed.

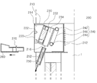
일 실시예에서, 공기정화필터(250)는 도 6에 도시된 바와 같이 하우징(210)의 하단으로 인출 가능하되, 하우징(210)의 실내측면 방향으로 경사지게 인출 가능할 수 있다. In one embodiment, the air purifying filter 250 may be drawn out to the lower end of the housing 210 as shown in FIG. 6, but may be drawn obliquely toward the interior side of the housing 210.

이를 위해, 일 실시예에서, 공기정화필터(250)는 하단이 상단보다 하우징(210)의 실내측면에 가깝게 배치되도록 하우징(210)의 내부에 경사지게 장착될 수 있다. To this end, in one embodiment, the air purifying filter 250 may be inclined inside the housing 210 such that the lower end of the air purifying filter 250 is disposed closer to the interior side of the housing 210 than the upper end.

구체적으로, 공기정화필터(250)는 필터프레임(252)에 장착될 수 있으며, 필터프레임(252)은 하우징(210) 내부에 고정된 팬케이싱(232)에 슬라이드 결합될 수 있다. 여기서, 팬케이싱(232)에는 필터프레임(252)이 경사진 방향으로 결합될 수 있도록 경사진 필터장착홈(234)이 형성될 수 있다. The air purifying filter 250 may be mounted to the filter frame 252 and the filter frame 252 may be slidably coupled to the fan casing 232 fixed inside the housing 210. [ Here, the fan casing 232 may be provided with an inclined filter mounting groove 234 so that the filter frame 252 can be coupled in an inclined direction.

한편, 공기정화필터(250)의 인출 및 인입을 위해, 하우징(210)의 하단에는 공기정화필터(250)가 인출 및 인입될 수 있도록 개구된 필터인출구(216)가 형성될 수 있다. A filter outlet 216 may be formed at the lower end of the housing 210 to allow the air purifying filter 250 to be drawn out and drawn in.

이러한 필터인출구(216)는 하우징(210)이 벽체(1)에 매립 설치된 경우 실내측에 배치될 수 있게 된다. The filter outlet 216 can be disposed on the indoor side when the housing 210 is embedded in the wall 1.

따라서, 사용자는 실내에서 공기정화필터(250)를 용이하게 인출할 수 있다. Therefore, the user can easily draw out the air purifying filter 250 from the room.

이와 달리, 공기정화필터(250)가 하우징(210)의 내부에 직립하게 설치되는 구조는 실내에서 공기정화필터(250)를 인출할 수 있는 공간을 확보하기 위해 공기정화필터(250)가 장착된 부위까지 장치의 몸체가 벽체(1)에서 실내로 돌출되어야 하기 때문에 장치의 부피가 크고 실내 미관을 해친다는 단점이 있다. The air purifying filter 250 may be installed upright inside the housing 210. The air purifying filter 250 may be installed in the interior of the housing 210 to secure a space for drawing the air purifying filter 250 The body of the apparatus must protrude from the wall body 1 to the room so that the volume of the apparatus is large and the aesthetics of the room are deteriorated.

또한, 본 발명의 일 실시예에 따른 흡기유닛(200)은 전술한 바와 같이 하우징(210) 내부에 공기 유로가 상향 경사지게 형성되므로, 경사지게 배치된 공기정화필터(250)가 유동 공기에 수직하게 배치되어 공기정화필터(250)를 통과하는 공기의 부압이 감소되는 장점이 있다.
As described above, the air intake unit 200 according to the embodiment of the present invention is formed such that the air flow path is inclined upward in the housing 210, so that the air purification filter 250 arranged at an angle is disposed vertically And the negative pressure of the air passing through the air purifying filter 250 is reduced.

상기 먼지트레이(260)는 하우징(210)의 하단에 탈착 가능하게 구비되며, 프리필터부(240)의 롤필터(246)에 포집된 후 낙하하는 먼지를 저장할 수 있다. The dust tray 260 is detachably attached to the lower end of the housing 210 and can store the dust falling after being collected by the roll filter 246 of the pre-filter unit 240.

일 실시예에서, 먼지트레이(260)는 하우징(210)의 실내측면 방향으로 슬라이드되어 하우징(210)에서 분리되도록 구성될 수 있다. In one embodiment, the dust tray 260 may be configured to be slid toward the interior side of the housing 210 and separated from the housing 210.

이러한 먼지트레이(260)는 하우징(210) 하단의 필터인출구(216)를 덮도록 하우징(210)에 장착될 수 있다. The dust tray 260 may be mounted on the housing 210 so as to cover the filter outlet 216 at the lower end of the housing 210.

이러한 먼지트레이(260)는 필터프레임(252)의 하단을 지지하여, 공기정화필터(250)가 장치의 작동시 진동 및 기타 하중에 의해 팬케이싱(232)의 필터장착홈(234)에서 탈거되더라도 공기정화필터(250)의 정위치를 유지시킬 수 있다.This dust tray 260 supports the lower end of the filter frame 252 so that even though the air purifying filter 250 is removed from the filter mounting groove 234 of the fan casing 232 by vibration and other loads during operation of the apparatus The air purifying filter 250 can be maintained in the correct position.

사용자는 먼지트레이(260)를 하우징(210)에서 분리한 뒤 필터인출구(216)를 통해 공기정화필터(250)를 인출할 수 있다. The user can take out the air purifying filter 250 through the filter outlet 216 after separating the dust tray 260 from the housing 210. [

한편, 도시하지는 않았지만, 본 발명의 일 실시예에 따른 흡기유닛(200)은 먼지트레이(260)에 저장된 먼지의 무게 또는 적재 높이를 감지하는 센서(미도시)를 구비하여 먼지트레이(260)에 저장된 먼지 제거 시기를 사용자에게 알리는 기능을 구비할 수 있다.
Although not shown, the intake unit 200 according to an embodiment of the present invention includes a sensor (not shown) for sensing the weight or stack height of dust stored in the dust tray 260, And a function of notifying the user of the stored dust removal time.

상기 브러시부재(270)는 먼지트레이(260)에 구비되며, 롤필터(246)의 회전에 따라 롤필터(246)의 표면을 브러싱할 수 있다.The brush member 270 is provided in the dust tray 260 and can brush the surface of the roll filter 246 in accordance with the rotation of the roll filter 246.

일 실시예에서, 브러시부재(270)는 먼지트레이(260)가 하우징(210)의 하단에 장착된 경우 롤필터(246)의 외측 표면에 접하도록 구비되어, 롤필터(246)의 회전에 의해 롤필터(246)의 표면을 브러싱함으로써 롤필터(246)에 포집된 먼지를 모을 수 있다. The brush member 270 is provided to abut the outer surface of the roll filter 246 when the dust tray 260 is mounted at the lower end of the housing 210 so that the rotation of the roll filter 246 The dust collected in the roll filter 246 can be collected by brushing the surface of the roll filter 246.

이때, 브러시부재(270)에 모인 먼지는 낙하하여 먼지트레이(260)에 저장될 수 있다. At this time, the dust collected on the brush member 270 can be dropped and stored in the dust tray 260.

이러한 브러시부재(270)는 흡기유닛(200)의 작동시 롤필터(246)를 자동으로 청소하는 기능을 수행하게 된다.
The brush member 270 functions to automatically clean the roll filter 246 during operation of the intake unit 200.

다음으로, 도 7 및 도 8을 참조하여, 배기유닛(300)에 대해서 설명한다. Next, the exhaust unit 300 will be described with reference to Figs. 7 and 8. Fig.

도 7 및 도 8에 도시된 바와 같이, 배기유닛(300)은 본체(310), 배기팬(320), 먼지제거부(330), 먼지수집통(340) 및 청소솔(350)을 구비할 수 있다.
7 and 8, the exhaust unit 300 includes a main body 310, an exhaust fan 320, a dust removing unit 330, a dust collecting container 340, and a cleaning brush 350 .

상기 본체(310)는 배기유닛(300)의 외관을 구성하며, 배기팬(320), 먼지제거부(330) 및 먼지수집통(340)이 설치될 수 있는 내부공간을 마련한다. The main body 310 constitutes an external appearance of the exhaust unit 300 and provides an internal space through which the exhaust fan 320, the dust removing unit 330 and the dust collecting container 340 can be installed.

일 실시예에서, 본체(310)는 건물의 벽체(1) 또는 천장 구조물을 관통하여 매립형으로 설치될 수 있다. In one embodiment, the body 310 may be installed in a buried form through the wall 1 of the building or the ceiling structure.

이때, 본체(310)는 실내에 노출되는 실내측면에 흡기구(312)를 구비하고, 실외에 노출되는 실외측면에 배기구(316)를 구비할 수 있다. At this time, the main body 310 may have an air inlet 312 on the side of the room exposed to the inside of the room, and an air outlet 316 on the outside side of the room exposed to the outside.

또한, 일 실시예에서, 본체(310)에는 흡기구(312)를 개폐하는 흡기루버(314)가 구비될 수 있다. Also, in one embodiment, the main body 310 may be provided with an intake louver 314 for opening and closing the intake port 312. [

일 실시예에서, 흡기루버(314)는 배기유닛(300)의 작동시 흡기구(312)를 개방할 수 있고, 배기유닛(300)이 작동하지 않을 때 실내 공기가 실외로 배출되거나 실외 공기가 실내로 유입되지 않도록 흡기구(312)를 폐쇄할 수 있다. In one embodiment, the intake louvers 314 can open the intake ports 312 during operation of the exhaust unit 300, and when the exhaust unit 300 is not operating, the indoor air is discharged outdoors, The intake port 312 can be closed.

일 실시예에서, 흡기루버(314)는 본체(310)에 상하로 회전 가능하게 결합된 플레이트 형태의 부재로 구성될 수 있으며, 스테핑 모터(315)를 통해 회전각도가 조절될 수 있다.
In one embodiment, the intake louver 314 can be configured as a plate-shaped member rotatably coupled to the main body 310 up and down, and the angle of rotation can be adjusted through the stepping motor 315.

상기 배기팬(320)은 본체(310)의 내부에 구비되어, 실내 공기가 흡기구(312)를 통해 본체(310) 내부로 흡입된 후 배기구(316)를 통해 실외로 배출되도록 공기 유동을 발생시킬 수 있다. The exhaust fan 320 is provided inside the main body 310 to generate an air flow so that room air is sucked into the main body 310 through the intake port 312 and then discharged through the exhaust port 316 to the outside .

이러한 배기팬(320)은 특별히 한정되지 않으며, 공지된 다양한 형태의 팬으로 구성될 수 있다.
The exhaust fan 320 is not particularly limited, and may be constructed of various types of fans known in the art.

상기 먼지제거부(330)는 흡기구(312)와 배기팬(320) 사이에 구비되어, 흡기구(312)에서 흡입된 실내 공기 중에 포함된 비교적 큰 먼지를 여과할 수 있다. The dust removing unit 330 is provided between the intake port 312 and the exhaust fan 320 and can filter relatively large dust contained in the room air sucked in the intake port 312.

이러한 먼지제거부(330)는 공기의 유동방향을 기준으로 배기팬(320)의 전단에 구비되어, 공기 중의 먼지를 제거함으로써 배기팬(320)이 먼지에 의해 오염되는 것을 방지할 수 있다. The dust removing unit 330 is provided at the front end of the exhaust fan 320 with respect to the flow direction of the air to remove dust in the air, thereby preventing the exhaust fan 320 from being contaminated by dust.

일 실시예에서, 먼지제거부(330)는 상부롤러(332), 하부롤러(334) 및 먼지여과필터(336)를 포함할 수 있다. In one embodiment, the dust remover 330 may include an upper roller 332, a lower roller 334, and a dust filtering filter 336.

여기서, 상부롤러(332)와 하부롤러(334)는 본체(310)의 내부에 상하로 배치될 수 있고, 상부롤러(332)와 하부롤러(334) 중 적어도 어느 하나는 작동모터(338)에 의해 회전될 수 있다. The upper roller 332 and the lower roller 334 may be vertically disposed in the body 310 and at least one of the upper roller 332 and the lower roller 334 may be disposed on the operation motor 338 As shown in FIG.

그리고, 상기 먼지여과필터(336)는 상부롤러(332)와 하부롤러(334)에 벨트형태로 권취되어 회전할 수 있으며, 몸체를 통과하는 공기 중의 먼지를 포집할 수 있다.
The dust filter 336 may be wound around the upper roller 332 and the lower roller 334 in a belt shape to rotate and collect dust in the air passing through the body.

상기 먼지수집통(340)은 본체(310)에 인입 및 인출 가능하게 구비되고, 먼지여과필터(336)에 포집된 후 낙하하는 먼지를 저장할 수 있다. The dust collecting container 340 is provided to be able to be drawn into and drawn out from the main body 310 and can store dust falling after being collected by the dust filtering filter 336.

일 실시예에서, 먼지수집통(340)이 본체(310)의 실내측면에서 인출 가능하도록 구성되어, 사용자는 실내에서 먼지수집통(340)을 인출할 수 있다. In one embodiment, the dust collecting container 340 is configured to be able to be drawn out from the indoor side of the main body 310, so that the user can take out the dust collecting container 340 from the room.

한편, 도시하지는 않았지만, 배기유닛(300)은 전술한 흡기유닛(200)과 마찬가지로 먼지수집통(340)에 저장된 먼지의 무게 또는 적재 높이를 감지하는 센서(미도시)를 구비하여 먼지수집통(340)에 저장된 먼지 제거 시기를 사용자에게 알리는 기능을 구비할 수 있다.
Although not shown, the exhaust unit 300 includes a sensor (not shown) for sensing the weight or stack height of dust stored in the dust collecting cylinder 340, like the intake unit 200 described above, 340 to the user.

상기 청소솔(350)은 먼지수집통(340)의 내측에 구비되며, 먼지여과필터(336)의 회전에 따라 먼지여과필터(336)의 표면을 브러싱할 수 있다. The cleaning brush 350 is provided inside the dust collecting box 340 and can brush the surface of the dust filtering filter 336 according to the rotation of the dust filtering filter 336.

일 실시예에서, 청소솔(350)은 먼지수집통(340)이 본체(310)에 장착된 경우 먼지여과필터(336)의 외측 표면에 접하도록 구비되어, 먼지여과필터(336)의 회전에 의해 먼지여과필터(336)의 표면을 브러싱함으로써 먼지여과필터(336)에 포집된 먼지를 모을 수 있다. The cleaning brush 350 is provided so as to contact the outer surface of the dust filter 336 when the dust collector 340 is mounted on the body 310 so that the dust filter 336 is rotated The dust collected in the dust filter 336 can be collected by brushing the surface of the dust filter 336.

이때, 청소솔(350)에 모인 먼지는 낙하하여 먼지수집통(340)에 저장될 수 있다. At this time, the dust collected in the cleaning brush 350 can be dropped and stored in the dust collecting container 340.

이러한 청소솔(350)은 배기유닛(300)의 작동시 먼지여과필터(336)를 자동으로 청소하는 기능을 수행하게 된다.
The cleaning brush 350 performs a function of automatically cleaning the dust filter 336 during operation of the exhaust unit 300.

본 발명은 특정한 실시예에 관하여 도시하고 설명하였지만, 당업계에서 통상의 지식을 가진 자라면 이하의 특허청구범위에 기재된 본 발명의 사상 및 영역을 벗어나지 않는 범위 내에서 본 발명을 다양하게 수정 및 변경시킬 수 있음을 밝혀두고자 한다.While the present invention has been particularly shown and described with reference to particular embodiments thereof, it is evident that many alternatives, modifications and variations will be apparent to those skilled in the art without departing from the spirit and scope of the invention as defined by the following claims I would like to make it clear.

1: 벽체
100: 환기장치
200: 흡기유닛 210: 하우징
212: 공기흡입부 214: 공기토출부
216: 필터인출구 220: 토출루버
222, 315: 스테핑 모터 230: 송풍팬
232: 팬케이싱 234: 필터장착홈
240: 프리필터부 242: 상부 권취롤러
244: 하부 권취롤러 246: 롤필터
248, 338: 작동모터 250: 공기정화필터
252: 필터프레임 260: 먼지트레이
270: 브러시부재
300: 배기유닛 310: 본체
312: 흡기구 314: 흡기루버
316: 배기구 320: 배기팬
330: 먼지제거부 332: 상부롤러
334: 하부롤러 336: 먼지여과필터
340: 먼지수집통 350: 청소솔
1: Wall
100: Ventilation device
200: intake unit 210: housing
212: air suction part 214: air discharge part
216: filter outlet 220: discharge louver
222, 315: stepping motor 230: blowing fan
232: fan casing 234: filter mounting groove
240: pre-filter portion 242: upper take-up roller
244: Lower winding roller 246: Roll filter
248, 338: Operation motor 250: Air filter
252: Filter frame 260: Dust tray
270: Brush member
300: exhaust unit 310:
312: intake port 314: intake louver
316: exhaust port 320: exhaust fan
330: dust removing unit 332: upper roller
334: Lower roller 336: Dust filter
340: Dust collector 350: Cleaning brush

Claims (11)

실외측면에 공기흡입부를 구비하고, 실내측면에 공기토출부를 구비하는 하우징;
상기 하우징의 내부에 구비되는 송풍팬;
상기 하우징의 내부에 구비되며, 상기 하우징의 하단으로 인출 가능하되 상기 하우징의 실내측면 방향으로 경사지게 인출 가능한 공기정화필터;
를 포함하는 흡기유닛.
A housing having an air suction part on an outdoor side surface and an air discharge part on an indoor side surface;
A blowing fan provided inside the housing;
An air purifying filter provided inside the housing and capable of being drawn out to a lower end of the housing,
.
제1항에 있어서,
상기 공기정화필터는 하단이 상단보다 상기 실내측면에 가깝게 배치되도록 상기 하우징의 내부에 경사지게 장착되는 흡기유닛.
The method according to claim 1,
Wherein the air purifying filter is obliquely mounted inside the housing such that a lower end thereof is closer to the indoor side than the upper end.
제1항에 있어서,
상기 공기흡입부와 상기 송풍팬 사이에 구비되어 공기 중의 먼지를 포집하는 프리필터부; 및
상기 하우징의 하단에 장착되며 상기 프리필터부에 포집된 후 낙하하는 먼지를 저장하는 먼지트레이를 포함하는 흡기유닛.
The method according to claim 1,
A pre-filter unit provided between the air suction unit and the blowing fan to collect dust in the air; And
And a dust tray mounted on a lower end of the housing and storing dust falling down after being collected by the pre-filter unit.
제3항에 있어서,
상기 하우징의 하단에는 상기 공기정화필터가 인출되는 필터인출구가 형성되고,
상기 먼지트레이는 상기 필터인출구를 덮도록 상기 하우징에 장착되는 흡기유닛.
The method of claim 3,
A filter outlet port through which the air purifying filter is drawn is formed at a lower end of the housing,
And the dust tray is mounted to the housing to cover the filter outlet.
제3항에 있어서,
상기 프리필터부는 상부 권취롤러와, 상기 상부 권취롤러의 하방에 구비되는 하부 권취롤러와, 상기 상부 권취롤러와 하부 권취롤러에 벨트형태로 권취되어 회전하는 롤필터를 포함하고,
상기 먼지트레이에는 상기 롤필터의 표면을 브러싱하는 브러시부재가 구비된 흡기유닛.
The method of claim 3,
The pre-filter portion includes an upper winding roller, a lower winding roller provided below the upper winding roller, and a roll filter wound in a belt form on the upper winding roller and the lower winding roller,
Wherein the dust tray is provided with a brush member for brushing the surface of the roll filter.
제1항에 있어서,
상기 하우징에는 상기 공기토출부를 개폐하고 상기 공기토출부에서 토출되는 공기의 토출방향을 가이드하는 토출루버가 구비되고,
상기 토출루버는 상향 경사진 방향으로 공기를 가이드하는 흡기유닛.
The method according to claim 1,
Wherein the housing is provided with a discharge louver that opens and closes the air discharge portion and guides the discharge direction of the air discharged from the air discharge portion,
Wherein said discharge louver guides air in an upward sloping direction.
실외 공기를 실내로 도입하도록 건물의 벽체에 설치되는 상기 제1항 내지 제6항 중 어느 한 항에 기재된 흡기유닛; 및
실내 공기를 실외로 배출하도록 건물의 벽체에 설치되는 배기유닛;
을 포함하는 환기장치.
The intake unit according to any one of claims 1 to 6, which is installed in a wall of a building so as to introduce outdoor air into the room; And
An exhaust unit installed on the wall of the building to discharge indoor air outdoors;
.
제7항에 있어서,
상기 배기유닛은,
실내측면에 흡기구를 구비하고 실외측면에 배기구를 구비하는 본체;
상기 본체의 내부에 구비되는 배기팬; 및
상기 흡기구와 상기 배기팬 사이에 구비되는 먼지제거부;
를 포함하는 환기장치.
8. The method of claim 7,
The exhaust unit includes:
A main body having an inlet port on the side of the room and an outlet port on the outside side;
An exhaust fan provided inside the main body; And
A dust removing unit provided between the intake port and the exhaust fan;
.
제8항에 있어서,
상기 먼지제거부는,
상부롤러;
상기 상부롤러의 하방에 구비되는 하부롤러; 및
상기 상부롤러와 하부롤러에 벨트형태로 권취되어 회전하고, 공기 중의 먼지를 포집하는 먼지여과필터;를 포함하는 환기장치.
9. The method of claim 8,
The dust-
An upper roller;
A lower roller provided below the upper roller; And
And a dust filtration filter wound around the upper roller and the lower roller in the form of a belt and rotated to collect dust in the air.
제9항에 있어서,
상기 배기유닛은,
상기 본체에 인입 및 인출 가능하게 구비되고, 상기 먼지여과필터에 포집된 후 낙하하는 먼지를 저장하는 먼지수집통을 더 포함하고,
상기 먼지수집통에는 상기 먼지여과필터의 표면을 브러시하는 청소솔이 구비된 환기장치.
10. The method of claim 9,
The exhaust unit includes:
Further comprising a dust collecting box provided in the main body so as to be able to be drawn in and drawn out and storing dust falling down after being collected by the dust filtering filter,
Wherein the dust collecting container is provided with a cleaning brush for brushing the surface of the dust filter.
제7항에 있어서,
상기 흡기유닛은 상기 배기유닛의 상방에 설치되며 공기를 실내의 천장 방향으로 경사지게 토출하는 환기장치.
8. The method of claim 7,
Wherein the intake unit is installed above the exhaust unit and discharges the air obliquely toward the ceiling of the room.
KR1020160010881A 2016-01-05 2016-01-28 Ventilation apparatus Active KR102193124B1 (en)

Priority Applications (5)

Application Number Priority Date Filing Date Title
KR1020160010881A KR102193124B1 (en) 2016-01-28 2016-01-28 Ventilation apparatus
PCT/KR2017/000110 WO2017119721A1 (en) 2016-01-05 2017-01-04 Air purifying unit and air cleaning/ventilation device comprising same
CN202010199748.4A CN111365806B (en) 2016-01-05 2017-01-04 Air cleaning unit and air cleaning/ventilating device including the same
CN201780005729.XA CN108474573B (en) 2016-01-05 2017-01-04 Air cleaning units and air cleaning/ventilation devices including air cleaning units
US16/067,853 US10888811B2 (en) 2016-01-05 2017-01-04 Air purifying unit and air cleaning/ventilation device comprising same

Applications Claiming Priority (1)

Application Number Priority Date Filing Date Title
KR1020160010881A KR102193124B1 (en) 2016-01-28 2016-01-28 Ventilation apparatus

Publications (2)

Publication Number Publication Date
KR20170090256A true KR20170090256A (en) 2017-08-07
KR102193124B1 KR102193124B1 (en) 2020-12-18

Family

ID=59653809

Family Applications (1)

Application Number Title Priority Date Filing Date
KR1020160010881A Active KR102193124B1 (en) 2016-01-05 2016-01-28 Ventilation apparatus

Country Status (1)

Country Link
KR (1) KR102193124B1 (en)

Cited By (4)

* Cited by examiner, † Cited by third party
Publication number Priority date Publication date Assignee Title
CN113250592A (en) * 2020-10-26 2021-08-13 连云港指诺智能物联有限公司 Ventilating type intelligent anti-theft door for building
KR20220082323A (en) * 2020-12-10 2022-06-17 김도원 Window frame module with air cleaning and circulation function
CN115371167A (en) * 2021-05-20 2022-11-22 广东大熊环保科技有限公司 Integrated environment-friendly window with fresh air and air purification functions
CN117225096A (en) * 2023-09-13 2023-12-15 宁波灏天建设有限公司 Protection equipment with dust collection function for building construction

Citations (5)

* Cited by examiner, † Cited by third party
Publication number Priority date Publication date Assignee Title
JPH10253108A (en) * 1997-03-14 1998-09-25 Chikamasa Uehara Ventilation fan
JP2006159103A (en) * 2004-12-08 2006-06-22 Matsushita Electric Ind Co Ltd Air purification unit
JP2010196941A (en) * 2009-02-24 2010-09-09 Panasonic Corp Ventilation fan mounting device
KR20110035636A (en) * 2009-09-30 2011-04-06 웅진코웨이주식회사 Filter unit of air purifier
KR20130026186A (en) * 2011-09-05 2013-03-13 심용섭 Ventilation system for windows without heat loss

Patent Citations (5)

* Cited by examiner, † Cited by third party
Publication number Priority date Publication date Assignee Title
JPH10253108A (en) * 1997-03-14 1998-09-25 Chikamasa Uehara Ventilation fan
JP2006159103A (en) * 2004-12-08 2006-06-22 Matsushita Electric Ind Co Ltd Air purification unit
JP2010196941A (en) * 2009-02-24 2010-09-09 Panasonic Corp Ventilation fan mounting device
KR20110035636A (en) * 2009-09-30 2011-04-06 웅진코웨이주식회사 Filter unit of air purifier
KR20130026186A (en) * 2011-09-05 2013-03-13 심용섭 Ventilation system for windows without heat loss

Cited By (5)

* Cited by examiner, † Cited by third party
Publication number Priority date Publication date Assignee Title
CN113250592A (en) * 2020-10-26 2021-08-13 连云港指诺智能物联有限公司 Ventilating type intelligent anti-theft door for building
KR20220082323A (en) * 2020-12-10 2022-06-17 김도원 Window frame module with air cleaning and circulation function
CN115371167A (en) * 2021-05-20 2022-11-22 广东大熊环保科技有限公司 Integrated environment-friendly window with fresh air and air purification functions
CN117225096A (en) * 2023-09-13 2023-12-15 宁波灏天建设有限公司 Protection equipment with dust collection function for building construction
CN117225096B (en) * 2023-09-13 2024-04-02 宁波灏天建设有限公司 Protection equipment with dust collection function for building construction

Also Published As

Publication number Publication date
KR102193124B1 (en) 2020-12-18

Similar Documents

Publication Publication Date Title
US10888811B2 (en) Air purifying unit and air cleaning/ventilation device comprising same
KR101897571B1 (en) Ventilator with air cleaner
EP3330624B1 (en) Slim-type air processing device
JP5864344B2 (en) Air purifier
CN101535730B (en) Air purifier
KR102170721B1 (en) Air cleaner and ventilator having the same
KR101876224B1 (en) Air cleaner
KR102193124B1 (en) Ventilation apparatus
KR20250078390A (en) Buried Type Air Purifier
JP4390738B2 (en) Air cleaner
JP2002059028A (en) Air purification equipment
CN105518393B (en) Air conditioner
KR20160027292A (en) Air cleaner
JP2019011875A (en) Humidified air purifier
KR20120125019A (en) Air cleaner
JP7384638B2 (en) mobile air purifier
KR20040097613A (en) wall air-cleaner combined ventilation function
JP4708069B2 (en) Air cleaner
JP2015205224A (en) Air cleaner
JP6137799B2 (en) Blower
JP2006289169A (en) Air cleaner
JPH08168622A (en) Air purifier
KR101876223B1 (en) Humidification type air cleaner
JP2011185579A (en) Blower
JP2015021703A (en) Air cleaner

Legal Events

Date Code Title Description
PA0109 Patent application

St.27 status event code: A-0-1-A10-A12-nap-PA0109

A201 Request for examination
PA0201 Request for examination

St.27 status event code: A-1-2-D10-D11-exm-PA0201

PG1501 Laying open of application

St.27 status event code: A-1-1-Q10-Q12-nap-PG1501

E902 Notification of reason for refusal
PE0902 Notice of grounds for rejection

St.27 status event code: A-1-2-D10-D21-exm-PE0902

AMND Amendment
E13-X000 Pre-grant limitation requested

St.27 status event code: A-2-3-E10-E13-lim-X000

P11-X000 Amendment of application requested

St.27 status event code: A-2-2-P10-P11-nap-X000

P13-X000 Application amended

St.27 status event code: A-2-2-P10-P13-nap-X000

E601 Decision to refuse application
PE0601 Decision on rejection of patent

St.27 status event code: N-2-6-B10-B15-exm-PE0601

AMND Amendment
E13-X000 Pre-grant limitation requested

St.27 status event code: A-2-3-E10-E13-lim-X000

P11-X000 Amendment of application requested

St.27 status event code: A-2-2-P10-P11-nap-X000

P13-X000 Application amended

St.27 status event code: A-2-2-P10-P13-nap-X000

PX0901 Re-examination

St.27 status event code: A-2-3-E10-E12-rex-PX0901

E902 Notification of reason for refusal
PE0902 Notice of grounds for rejection

St.27 status event code: A-1-2-D10-D21-exm-PE0902

AMND Amendment
E13-X000 Pre-grant limitation requested

St.27 status event code: A-2-3-E10-E13-lim-X000

P11-X000 Amendment of application requested

St.27 status event code: A-2-2-P10-P11-nap-X000

P13-X000 Application amended

St.27 status event code: A-2-2-P10-P13-nap-X000

P11-X000 Amendment of application requested

St.27 status event code: A-2-2-P10-P11-nap-X000

P13-X000 Application amended

St.27 status event code: A-2-2-P10-P13-nap-X000

PX0601 Decision of rejection after re-examination

St.27 status event code: N-2-6-B10-B17-rex-PX0601

PN2301 Change of applicant

St.27 status event code: A-3-3-R10-R13-asn-PN2301

St.27 status event code: A-3-3-R10-R11-asn-PN2301

J201 Request for trial against refusal decision
PJ0201 Trial against decision of rejection

St.27 status event code: A-3-3-V10-V11-apl-PJ0201

PN2301 Change of applicant

St.27 status event code: A-3-3-R10-R13-asn-PN2301

St.27 status event code: A-3-3-R10-R11-asn-PN2301

R18-X000 Changes to party contact information recorded

St.27 status event code: A-3-3-R10-R18-oth-X000

PN2301 Change of applicant

St.27 status event code: A-3-3-R10-R13-asn-PN2301

St.27 status event code: A-3-3-R10-R11-asn-PN2301

R18-X000 Changes to party contact information recorded

St.27 status event code: A-3-3-R10-R18-oth-X000

PN2301 Change of applicant

St.27 status event code: A-3-3-R10-R13-asn-PN2301

St.27 status event code: A-3-3-R10-R11-asn-PN2301

J301 Trial decision

Free format text: TRIAL NUMBER: 2019101001121; TRIAL DECISION FOR APPEAL AGAINST DECISION TO DECLINE REFUSAL REQUESTED 20190402

Effective date: 20200528

PJ1301 Trial decision

St.27 status event code: A-3-3-V10-V15-crt-PJ1301

Decision date: 20200528

Appeal event data comment text: Appeal Kind Category : Appeal against decision to decline refusal, Appeal Ground Text : 2016 0010881

Appeal request date: 20190402

Appellate body name: Patent Examination Board

Decision authority category: Office appeal board

Decision identifier: 2019101001121

PS0901 Examination by remand of revocation

St.27 status event code: A-6-3-E10-E12-rex-PS0901

E902 Notification of reason for refusal
PE0902 Notice of grounds for rejection

St.27 status event code: A-1-2-D10-D21-exm-PE0902

P11-X000 Amendment of application requested

St.27 status event code: A-2-2-P10-P11-nap-X000

P13-X000 Application amended

St.27 status event code: A-2-2-P10-P13-nap-X000

GRNO Decision to grant (after opposition)
PS0701 Decision of registration after remand of revocation

St.27 status event code: A-3-4-F10-F13-rex-PS0701

GRNT Written decision to grant
PR0701 Registration of establishment

St.27 status event code: A-2-4-F10-F11-exm-PR0701

PR1002 Payment of registration fee

St.27 status event code: A-2-2-U10-U11-oth-PR1002

Fee payment year number: 1

PG1601 Publication of registration

St.27 status event code: A-4-4-Q10-Q13-nap-PG1601

P22-X000 Classification modified

St.27 status event code: A-4-4-P10-P22-nap-X000

R18-X000 Changes to party contact information recorded

St.27 status event code: A-5-5-R10-R18-oth-X000

R18-X000 Changes to party contact information recorded

St.27 status event code: A-5-5-R10-R18-oth-X000

P22-X000 Classification modified

St.27 status event code: A-4-4-P10-P22-nap-X000

R18-X000 Changes to party contact information recorded

St.27 status event code: A-5-5-R10-R18-oth-X000

PR1001 Payment of annual fee

St.27 status event code: A-4-4-U10-U11-oth-PR1001

Fee payment year number: 4

PN2301 Change of applicant

St.27 status event code: A-5-5-R10-R13-asn-PN2301

St.27 status event code: A-5-5-R10-R11-asn-PN2301

PR1001 Payment of annual fee

St.27 status event code: A-4-4-U10-U11-oth-PR1001

Fee payment year number: 5

PR1001 Payment of annual fee

St.27 status event code: A-4-4-U10-U11-oth-PR1001

Fee payment year number: 6

U11 Full renewal or maintenance fee paid

Free format text: ST27 STATUS EVENT CODE: A-4-4-U10-U11-OTH-PR1001 (AS PROVIDED BY THE NATIONAL OFFICE)

Year of fee payment: 6