KR20170085165A - 조립식 미끄럼방지 포장블록, 그 포장블록의 시공방법 및 그 포장블록을 이용한 미끄럼방지 시설물 - Google Patents

조립식 미끄럼방지 포장블록, 그 포장블록의 시공방법 및 그 포장블록을 이용한 미끄럼방지 시설물 Download PDF

Info

Publication number
KR20170085165A
KR20170085165A KR1020160004155A KR20160004155A KR20170085165A KR 20170085165 A KR20170085165 A KR 20170085165A KR 1020160004155 A KR1020160004155 A KR 1020160004155A KR 20160004155 A KR20160004155 A KR 20160004155A KR 20170085165 A KR20170085165 A KR 20170085165A
Authority
KR
South Korea
Prior art keywords
fixing
slip
block
packing
blocks
Prior art date
Legal status (The legal status is an assumption and is not a legal conclusion. Google has not performed a legal analysis and makes no representation as to the accuracy of the status listed.)
Ceased
Application number
KR1020160004155A
Other languages
English (en)
Inventor
성기태
이승용
송재섭
Original Assignee
한국교통대학교산학협력단
주식회사 호연기술공사
Priority date (The priority date is an assumption and is not a legal conclusion. Google has not performed a legal analysis and makes no representation as to the accuracy of the date listed.)
Filing date
Publication date
Application filed by 한국교통대학교산학협력단, 주식회사 호연기술공사 filed Critical 한국교통대학교산학협력단
Priority to KR1020160004155A priority Critical patent/KR20170085165A/ko
Publication of KR20170085165A publication Critical patent/KR20170085165A/ko
Ceased legal-status Critical Current

Links

Images

Classifications

    • EFIXED CONSTRUCTIONS
    • E01CONSTRUCTION OF ROADS, RAILWAYS, OR BRIDGES
    • E01CCONSTRUCTION OF, OR SURFACES FOR, ROADS, SPORTS GROUNDS, OR THE LIKE; MACHINES OR AUXILIARY TOOLS FOR CONSTRUCTION OR REPAIR
    • E01C5/00Pavings made of prefabricated single units
    • E01C5/001Pavings made of prefabricated single units on prefabricated supporting structures or prefabricated foundation elements except coverings made of layers of similar elements
    • EFIXED CONSTRUCTIONS
    • E01CONSTRUCTION OF ROADS, RAILWAYS, OR BRIDGES
    • E01CCONSTRUCTION OF, OR SURFACES FOR, ROADS, SPORTS GROUNDS, OR THE LIKE; MACHINES OR AUXILIARY TOOLS FOR CONSTRUCTION OR REPAIR
    • E01C11/00Details of pavings
    • E01C11/24Methods or arrangements for preventing slipperiness or protecting against influences of the weather
    • EFIXED CONSTRUCTIONS
    • E01CONSTRUCTION OF ROADS, RAILWAYS, OR BRIDGES
    • E01CCONSTRUCTION OF, OR SURFACES FOR, ROADS, SPORTS GROUNDS, OR THE LIKE; MACHINES OR AUXILIARY TOOLS FOR CONSTRUCTION OR REPAIR
    • E01C5/00Pavings made of prefabricated single units
    • E01C5/005Individual couplings or spacer elements for joining the prefabricated units
    • EFIXED CONSTRUCTIONS
    • E01CONSTRUCTION OF ROADS, RAILWAYS, OR BRIDGES
    • E01CCONSTRUCTION OF, OR SURFACES FOR, ROADS, SPORTS GROUNDS, OR THE LIKE; MACHINES OR AUXILIARY TOOLS FOR CONSTRUCTION OR REPAIR
    • E01C5/00Pavings made of prefabricated single units
    • E01C5/20Pavings made of prefabricated single units made of units of plastics, e.g. concrete with plastics, linoleum
    • EFIXED CONSTRUCTIONS
    • E01CONSTRUCTION OF ROADS, RAILWAYS, OR BRIDGES
    • E01CCONSTRUCTION OF, OR SURFACES FOR, ROADS, SPORTS GROUNDS, OR THE LIKE; MACHINES OR AUXILIARY TOOLS FOR CONSTRUCTION OR REPAIR
    • E01C2201/00Paving elements
    • E01C2201/12Paving elements vertically interlocking
    • EFIXED CONSTRUCTIONS
    • E01CONSTRUCTION OF ROADS, RAILWAYS, OR BRIDGES
    • E01CCONSTRUCTION OF, OR SURFACES FOR, ROADS, SPORTS GROUNDS, OR THE LIKE; MACHINES OR AUXILIARY TOOLS FOR CONSTRUCTION OR REPAIR
    • E01C2201/00Paving elements
    • E01C2201/16Elements joined together

Landscapes

  • Engineering & Computer Science (AREA)
  • Architecture (AREA)
  • Civil Engineering (AREA)
  • Structural Engineering (AREA)
  • Road Paving Structures (AREA)

Abstract

본 발명은 조립식 미끄럼방지 포장블록, 그 포장블록의 시공방법 및 그 포장블록을 이용한 미끄럼방지 시설물에 대한 것이다. 보다 상세하게는 미끄럼방지 포장블록에 있어서, 상면에 다수의 미끄럼 방지줄눈이 형성된 몸체판; 상기 몸체판의 상면에서 하면으로 관통형성되는 적어도 하나의 고정용 홀; 및 상기 몸체판을 지반에 정착시키기 위해, 상기 고정용 홀에 삽입되어 상기 지반에 고정설치된 바닥고정식 너트 앵커과 결합되는 고정볼트;를 포함하는 것을 특징으로 하는 조립식 미끄럼방지 포장블록에 관한 것이다.

Description

조립식 미끄럼방지 포장블록, 그 포장블록의 시공방법 및 그 포장블록을 이용한 미끄럼방지 시설물{Assembled pavement block with slip­resistant and Method for constructing safety structures using assembled pavement block}
본 발명은 조립식 미끄럼방지 포장블록, 그 포장블록의 시공방법 및 그 포장블록을 이용한 미끄럼방지 시설물에 대한 것이다.
최근 어린이 보호구역 등에 교통안전을 목적으로 다양한 안전시설이 설치되어지고 있다. 도 1a은 종래 미끄럼 방지 포장된 고원식 교차로의 평면도를 도시한 것이고, 도 1b는 도 1a의 A-A 단면도를 도시한 것이고, 도 1c는 도 1a의 B-B 단면도를 도시한 것이다.
도 1a, 도 1b 및 도 1c에 도시된 바와 같이, 고원식 교차로(1)는 안전시설의 하나로 교차로 전체 높이를 높이고, 암적색의 미끄럼 방지 포장을 설치하여 시인성 확보와 자동차의 감속을 목적으로 설치되어 짐을 알 수 있다.
도 2는 미끄럼 방지포장이 손상된 고원식 교차로 사진을 도시한 것이다. 도 2a 및 도 2b에 도시된 바와 같이, 포장면의 마모로 인해 2년간의 보증기간을 만족하지 못하고, 1년 이내에 암적색 포장층이 벗겨지거나, 도색이 사라지는 현상이 발생되고, 이로 인한 재시공이 빈번하게 일어나게 됨을 알 수 있다.
한편, 이러한 고원식 교차로의 시공은 기존 도로면을 일부 컷팅 및 절삭한 후, 포장을 실시하며, 이로 인해 많은 공사비와 공사기간이 필요하며, 통행이 전면 제한으로 인한 불편함이 발생되는 문제점이 존재한다.
따라서, 이러한 문제점을 해결하기 위하여, 마모에도 암적색 포장층의 변색이 발생하지 않고, 뛰어난 마찰력 확보로 차량의 제동거리를 최소화할 수 있으며, 시공성, 경제성, 차량 주향에 따른 구조적 안정성이 확보될 수 있고, 유지관리가 간편하고, 유지관리 비용을 최소화할 수 있으며, 고장시 빠른 복구가 가능하고, 아스팔트 도로 포장 덧씌우기, 절삭 등에 대응이 가능하며, 환경친화적일 수 있는 미끄럼 방지 시설물의 개발이 요구되었다.
대한민국 등록실용신안 제0462739호 대한민국 등록특허 제1012968호 대한민국 등록특허 제0943221호 대한민국 등록특허 제0820732호
따라서 본 발명은 상기와 같은 종래의 문제점을 해결하기 위하여 안출된 것으로서, 본 발명의 일실시예에 따르면, 내구성이 뛰어난 암적색의 재생 플라스틱 재질의 블록을 사용하여 암적색 포장층의 변색을 방지할 수 있고, 표면에 형성된 미끄럼방지 줄눈에 의한 뛰어난 마찰력 확보로 차량의 제동거리를 최소화시킬 수 있으며, 일정간격으로 설치하여 충분한 정착력이 확보된 바닥 고정앵커에 수직으로 블록을 조립 정착시키고, 블록의 들뜸방지 및 블록의 일체 거동을 위해 블록 간에 수평방향으로 U형 볼트로 고정시키게 됨으로써 차량통과 하중에 대한 안정적인 정착력 확보할 수 있으며, 조립식 블록 유닛단위로 재설치 및 제거가 간편하여 제품의 손상, 도로의 개보수로 인한 포장 덧씌우기, 절삭 등에도 대응이 가능한, 조립식 미끄럼방지 포장블록, 그 포장블록의 시공방법 및 그 포장블록을 이용한 미끄럼방지 시설물을 제공하는데 그 목적이 있다.
한편, 본 발명에서 이루고자 하는 기술적 과제들은 이상에서 언급한 기술적 과제들로 제한되지 않으며, 언급하지 않은 또 다른 기술적 과제들은 아래의 기재로부터 본 발명이 속하는 기술분야에서 통상의 지식을 가진 자에게 명확하게 이해될 수 있을 것이다.
본 발명의 제1목적은, 미끄럼방지 포장블록에 있어서, 상면에 다수의 미끄럼 방지줄눈이 형성된 몸체판; 상기 몸체판의 상면에서 하면으로 관통형성되는 적어도 하나의 고정용 홀; 및 상기 몸체판을 지반에 정착시키기 위해, 상기 고정용 홀에 삽입되어 상기 지반에 고정설치된 바닥고정식 너트 앵커과 결합되는 고정볼트;를 포함하는 것을 특징으로 하는 조립식 미끄럼방지 포장블록으로서 달성될 수 있다.
또한, 암적색의 재생 플라스틱으로 구성되는 것을 특징으로 할 수 있다.
그리고, 상기 미끄럼 방지줄눈은 상기 몸체판의 상면에 격자 형태로 형성되는 것을 특징으로 할 수 있다.
또한, 상기 몸체판의 상면 일측에서 측면 일측으로 관통형성된 연결용 홀; 및 다수의 상기 포장블록이 평면방향으로 접촉된 상태에서, 상기 연결용 홀이 서로 연통되며, 상기 포장블록을 서로 연결, 고정시키기 위해, 연통된 상기 연결용 홀에 삽입되어 고정되는 고정연결볼트;를 더 포함하는 것을 특징으로 할 수 있다.
그리고, 고정용 홀은, 고정볼트의 봉부가 삽입되어지는 삽입부와, 상기 고정볼트의 머리부가 삽입되어지며 상기 삽입부의 상부에 연결되며 상기 삽입부의 직경보다 확대된 직경을 갖는 확장부를 포함하는 것을 특징으로 할 수 있다.
또한, 상기 고정볼트 머리부와 상기 확장부 사이에 장착되어 풀림을 방지하는 와셔와, 상기 고정볼트 상측에 구비되는 보호캡을 더 포함하는 것을 특징으로 할 수 있다.
본 발명의 제2목적은, 미끄럼방지 시설물에 있어서, 앞서 언급한 제1목적에 따른 포장블록이 평면방향으로 연결되어 설치되는 것을 특징으로 하는 조립식 미끄럼방지 시설물로서 달성될 수 있다.
그리고, 시설물의 상면은 특정 경사각을 갖는 것을 특징으로 할 수 있다.
본 발명의 제3목적은, 콘크리트 기초 정착식으로 미끄럼 방지 시설물을 시공하는 방법에 있어서, 시설물을 설치할 노면 표층을 제거하는 단계; 노면 표층이 제거된 상부측으로 철근을 배근하고, 삽입홈이 형성된 바닥고정식 너트앵커를 설치하는 단계; 노면표층이 제거된 상부측으로 콘크리트를 타설, 양생시키는 단계; 콘크리트 상부로, 앞서 언급한 제 1목적에 따른 포장블록의 고정용 홀이 상기 너트앵커의 삽입홈의 위치에 대응되도록 상기 포장블록을 거치시키는 단계; 및 고정볼트를 상기 고정용 홀에 삽입하여, 상기 너트앵커와 결합시켜 상기 포장블록을 정착시키는 단계를 포함하는 것을 특징으로 하는 조립식 미끄럼방지 포장블록을 이용한 미끄럼방지 시설물의 시공방법으로서 달성될 수 있다.
또한, 상기 포장블록을 거치시키는 단계는, 복수의 포장블록의 측면이 서로 접촉되도록 거치되며, 각각의 포장블록의 고정용 홀에 고정볼트를 삽입하여 정착시키고, 다수의 상기 포장블록이 평면방향으로 접촉된 상태에서, 포장블록의 상면 일측에서 측면 일측으로 관통형성된 연결용 홀이 서로 연통되며, 연결용 홀에 고정연결볼트를 설치하여, 상기 포장블록을 서로 연결, 고정시키는 단계를 더 포함하는 것을 특징으로 할 수 있다.
본 발명의 제4목적은, 아스팔트 앵커 정착식으로 미끄럼 방지 시설물을 시공하는 방법에 있어서, 시설물을 설치할 지반의 정착부 일측에 천공을 형성하고, 형성된 천공 내부 먼지를 제거하는 단계; 상기 천공 내부에 접착제를 충진하는 단계; 상기 접착제가 충진된 천공으로 너트앵커를 정착하는 단계; 상부로, 앞서 언급한 제 1목적에 따른 포장블록의 고정용 홀이 상기 너트앵커의 삽입홈의 위치에 대응되도록 상기 포장블록을 거치시키는 단계; 및 고정볼트를 상기 고정용 홀에 삽입하여, 상기 너트앵커와 결합시켜 상기 포장블록을 정착시키는 단계를 포함하는 것을 특징으로 하는 조립식 미끄럼방지 포장블록을 이용한 미끄럼방지 시설물의 시공방법으로서 달성될 수 있다.
또한, 포장블록을 거치시키는 단계는, 복수의 포장블록의 측면이 서로 접촉되도록 거치되며, 각각의 포장블록의 고정용 홀에 고정볼트를 삽입하여 정착시키고, 다수의 상기 포장블록이 평면방향으로 접촉된 상태에서, 포장블록의 상면 일측에서 측면 일측으로 관통형성된 연결용 홀이 서로 연통되며, 연결용 홀에 고정연결볼트를 설치하여, 상기 포장블록을 서로 연결, 고정시키는 단계를 더 포함하는 것을 특징으로 할 수 있다.
본 발명의 일실시예에 따르면, 내구성이 뛰어난 암적색의 재생 플라스틱 재질의 블록을 사용하여 포장층의 변색 방지할 수 있고, 블록 표면에 구비된 미끄럼방지 줄눈에 의한 뛰어난 마찰력 확보로 차량의 제동거리 최소화할 수 있으며, 블록 정착에 고성능 매립형 너트 앵커의 사용으로 콘크리트 도로는 물론 아스팔트 도로에서 안정적인 정착력 발휘(설치와 동시에 초기 정착력 발휘)할 수 있고, 조립식블록 유닛단위로 재설치 및 제거가 간편하여 제품의 손상, 도로의 개보수로 인한 포장 덧씌우기, 절삭 등에도 대응이 가능하며, 공장에서 생산되는 블록을 현장에서 조립 설치하여, 운반 및 시공이 간편하고, 기존 도로표면에 조립 설치하는 구조로서 재포장 등의 공정이 필요 없으므로 신규 시공비 절감될 수 있으며, 도로의 파손 및 기타 원인으로 제품이 손상된 경우 유닛단위로 간편한 교체시공이 가능하여 유지관리비가 절감되는 장점을 갖는다.
한편, 본 발명에서 얻을 수 있는 효과는 이상에서 언급한 효과들로 제한되지 않으며, 언급하지 않은 또 다른 효과들은 아래의 기재로부터 본 발명이 속하는 기술분야에서 통상의 지식을 가진 자에게 명확하게 이해될 수 있을 것이다.
본 명세서에 첨부되는 다음의 도면들은 본 발명의 바람직한 일실시예를 예시하는 것이며, 발명의 상세한 설명과 함께 본 발명의 기술적 사상을 더욱 이해시키는 역할을 하는 것이므로, 본 발명은 그러한 도면에 기재된 사항에만 한정되어 해석 되어서는 아니 된다.
도 1a은 종래 미끄럼 방지 포장된 고원식 교차로의 평면도,
도 1b는 도 1a의 A-A 단면도,
도 1c는 도 1a의 B-B 단면도,
도 2는 미끄럼 방지포장이 손상된 고원식 교차로 사진
도 3은 본 발명의 일실시예에 따른 조립식 미끄럼방지 포장블록을 이용한 미끄럼방지 시설물이 설치된 고원식 교차로의 평면도,
도 4는 본 발명의 일실시예에 따른 콘크리트 기초 정착식으로 시공된 미끄럼 방지 시설물의 단면도,
도 5는 본 발명의 일실시예에 따른 아스팔트 앵커 정착식으로 시공된 미끄럼 방지 시설물의 단면도,
도 6a는 본 발명의 일실시예에 따른 조립식 미끄럼 방지 포장블록의 평면도,
도 6b는 도 6a의 a-a 단면도,
도 6c는 도 6b에서 고정볼트와 고정연결볼트가 설치된 상태의 단면도,
도 7a는 본 발명의 일실시예에 따른 조립식 미끄럼 방지 포장블록의 저면도,
도 7b는 도 7a의 b-b 단면도,
도 7c는 도 7b에서 고정연결볼트가 설치
된 상태의 단면도,
도 8a 내지 도 8e는 본 발명의 다양한 실시예에 따른 조립식 미끄럼방지 포장블록의 평면도, 종측단면도, 횡측단면도,
도 9는 본 발명의 일실시예에 따른 콘크리트 기초 정착식으로 시공되는 단계별로 나타낸 평면도와 단면도,
도 10은 본 발명의 일실시예에 따른 콘크리트 기초 정착식으로 시공되는 미끄럼 방지 시설물의 분해 단면도,
도 11a는 본 발명의 일실시예에 따른 콘크리트 기초 정착식 시공방법에 따라, 노면표층을 제거하는 상태를 나타낸 단면도,
도 11b는 본 발명의 일실시예 따른 콘크리트 기초 정착식 시공방법에 따라, 철근을 배근하고, 너트앵커를 설치한 상태를 나타낸 단면도,
도 11c는 본 발명의 일실시예에 따른 콘크리트 기초 정착식 시공방법에 따라, 기초 콘크리트를 타설한 상태를 나타낸 단면도,
도 11d는 본 발명의 일실시예에 따른 콘크리트 기초 정착식 시공방법에 따라조립식 미끄럼방지 포장블록을 정착한 상태의 단면도,
도 11e는 콘크리트 기초 정착식 시공방법에 따라 시공된, 미끄럼 방지 시설물의 단면도,
도 12는 본 발명의 일실시예에 따른 아스팔트 앵커 정착식으로 시공된 미끄럼 방지 시설물의 단면도,
도 13a는 본 발명의 일실시예에 따른 아스팔트 앵커 정착식 시공방법에 따라, 정착부위를 천공하는 상태의 단면도,
도 13b는 본 발명의 일실시예에 따른 아스팔트 앵커 정착식 시공방법에 따라, 천공 부위 먼지를 제거하는 상태의 단면도,
도 13c는 본 발명의 일실시예에 따른 아스팔트 앵커 정착식 시공방법에 따라, 천공 내로 접착제를 충진하는 상태의 단면도,
도 13d는 본 발명의 일실시예에 따른 아스팔트 앵커 정착식 시공방법에 따라, 천공 내로 너트 앵커를 정착시키는 상태의 단면도,
도 13e는 본 발명의 일실시예에 따른 아스팔트 앵커 정착식 시공방법에 따라, 조립식 미끄럼방지 포장블록을 정착하는 상태의 단면도,
도 13f는 본 발명의 일실시예에 따른 아스팔트 앵커 정착식 시공방법에 따라 시공된 미끄럼방지 시설물의 단면도,
도 14는 본 발명의 일실시예에 따른 시공된 미끄럼 방지 시설물의 평면도와 단면도를 도시한 것이다.
이상의 본 발명의 목적들, 다른 목적들, 특징들 및 이점들은 첨부된 도면과 관련된 이하의 바람직한 실시예들을 통해서 쉽게 이해될 것이다. 그러나 본 발명은 여기서 설명되는 실시예들에 한정되지 않고 다른 형태로 구체화될 수도 있다. 오히려, 여기서 소개되는 실시예들은 개시된 내용이 철저하고 완전해질 수 있도록 그리고 통상의 기술자에게 본 발명의 사상이 충분히 전달될 수 있도록 하기 위해 제공되는 것이다.
본 명세서에서, 어떤 구성요소가 다른 구성요소 상에 있다고 언급되는 경우에 그것은 다른 구성요소 상에 직접 형성될 수 있거나 또는 그들 사이에 제 3의 구성요소가 개재될 수도 있다는 것을 의미한다. 또한 도면들에 있어서, 구성요소들의 두께는 기술적 내용의 효과적인 설명을 위해 과장된 것이다.
본 명세서에서 기술하는 실시예들은 본 발명의 이상적인 예시도인 단면도 및/또는 평면도들을 참고하여 설명될 것이다. 도면들에 있어서, 막 및 영역들의 두께는 기술적 내용의 효과적인 설명을 위해 과장된 것이다. 따라서 제조 기술 및/또는 허용 오차 등에 의해 예시도의 형태가 변형될 수 있다. 따라서 본 발명의 실시예들은 도시된 특정 형태로 제한되는 것이 아니라 제조 공정에 따라 생성되는 형태의 변화도 포함하는 것이다. 예를 들면, 직각으로 도시된 영역은 라운드지거나 소정 곡률을 가지는 형태일 수 있다. 따라서 도면에서 예시된 영역들은 속성을 가지며, 도면에서 예시된 영역들의 모양은 소자의 영역의 특정 형태를 예시하기 위한 것이며 발명의 범주를 제한하기 위한 것이 아니다. 본 명세서의 다양한 실시예들에서 제1, 제2 등의 용어가 다양한 구성요소들을 기술하기 위해서 사용되었지만, 이들 구성요소들이 이 같은 용어들에 의해서 한정되어서는 안 된다. 이들 용어들은 단지 어느 구성요소를 다른 구성요소와 구별시키기 위해서 사용되었을 뿐이다. 여기에 설명되고 예시되는 실시예들은 그것의 상보적인 실시예들도 포함한다.
본 명세서에서 사용된 용어는 실시예들을 설명하기 위한 것이며 본 발명을 제한하고자 하는 것은 아니다. 본 명세서에서, 단수형은 문구에서 특별히 언급하지 않는 한 복수형도 포함한다. 명세서에서 사용되는 '포함한다(comprises)' 및/또는 '포함하는(comprising)'은 언급된 구성요소는 하나 이상의 다른 구성요소의 존재 또는 추가를 배제하지 않는다.
아래의 특정 실시예들을 기술하는데 있어서, 여러 가지의 특정적인 내용들은 발명을 더 구체적으로 설명하고 이해를 돕기 위해 작성되었다. 하지만 본 발명을 이해할 수 있을 정도로 이 분야의 지식을 갖고 있는 독자는 이러한 여러 가지의 특정적인 내용들이 없어도 사용될 수 있다는 것을 인지할 수 있다. 어떤 경우에는, 발명을 기술하는 데 있어서 흔히 알려졌으면서 발명과 크게 관련 없는 부분들은 본 발명을 설명하는데 있어 별 이유 없이 혼돈이 오는 것을 막기 위해 기술하지 않음을 미리 언급해 둔다.
이하에서는 본 발명의 일실시예에 따른 조립식 미끄럼방지 포장블록(10)의 구성 및 기능, 그리고, 이러한 포장블록(10)을 이용한 미끄럼방지 시설물(100)의 시공방법에 대해 설명하도록 한다.
먼저, 도 3은 본 발명의 일실시예에 따른 조립식 미끄럼방지 포장블록(10)을 이용한 미끄럼방지 시설물(100)이 설치된 고원식 교차로의 평면도를 도시한 것이다. 그리고, 도 4는 본 발명의 일실시예에 따른 콘크리트 기초 정착식으로 시공된 미끄럼 방지 시설물(100)의 단면도를 도시한 것이고, 도 5는 본 발명의 일실시예에 따른 아스팔트 앵커 정착식으로 시공된 미끄럼 방지 시설물(100)의 단면도를 도시한 것이다.
도 3 내지 도 5에 도시된 바와 같이, 후에 상세하게 설명되어지는 다수의 조립식 포장블록(10)이 정착되고 서로 연결 고정되어 다양한 형태의 조립식 미끄럼방지 시설물(100)을 시공할 수 있게 된다.
도 4에 도시된 바와 같이, 콘크리트 기초에 정착되도록 시공될 수 있고, 도 5에 도시된 바와 같이, 아스팔트 앵커 정착식으로 시공되어질 수도 있다.
이하에서는 본 발명의 일실시예에 따른 조립식 미끄럼방지 포장블록(10)의 구성, 형태 및 기능에 대해 보다 상세하게 설명하도록 한다.
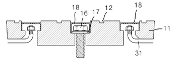
도 6a는 본 발명의 일실시예에 따른 조립식 미끄럼 방지 포장블록(10)의 평면도를 도시한 것이다. 그리고, 도 6b는 도 6a의 a-a 단면도를 도시한 것이다. 또한, 도 6c는 도 6b에서 고정볼트(16)와 고정연결볼트(31)가 설치된 상태의 단면도를 도시한 것이다.
그리고, 도 7a는 본 발명의 일실시예에 따른 조립식 미끄럼 방지 포장블록(10)의 저면도를 도시한 것이다. 또한, 도 7b는 도 7a의 b-b 단면도를 도시한 것이고, 도 7c는 도 7b에서 고정연결볼트(31)가 설치된 상태의 단면도를 도시한 것이다.
도시된 바와 같이, 본 발명의 일실시예에 따른 조립식 미끄럼방지 포장블록(10)은, 상면에 다수의 미끄럼 방지줄눈(12)이 형성된 몸체판(11)과, 몸체판(11)의 상면에서 하면으로 관통형성되는 적어도 하나의 고정용 홀(13)과, 그리고, 몸체판(11)을 지반에 정착시키기 위해, 고정용 홀(13)에 삽입되어 지반에 고정설치된 바닥고정식 너트 캡(18)와 결합되는 고정볼트(16) 등을 포함하여 구성될 수 있음을 알 수 있다.
또한, 몸체부는 암적색의 재생 플라스틱으로 구성되어, 내구성이 뛰어나며, 암적색 포장층의 변색을 방지할 수 있게 된다.
그리고, 도 6a에 도시된 바와 같이, 미끄럼 방지줄눈(12)은 몸체판(11)의 상면에 격자 형태로 다수 형성되어 짐을 알 수 있다. 따라서, 이러한 미끄럼방지줄눈(12)이 형성되어짐으로써 마찰력을 확보로 차량의 제동거리를 최소화시킬 수 있다.
또한, 후에 설명되는 바와 같이, 지반에 설치된 바닥고정식 너트캡(18)와 대응되는 위치에 고정용 홀(13)이 형성되게 되므로, 이러한 고정용 홀(13)에 고정볼트(16)를 삽입하여, 고정볼트(16)를 너트캡(18)와 체결시켜, 포장블록(10)을 정착, 고정, 조립하게 된다. 따라서, 차량통과 하중에 대한 안정적인 정착력을 확보할 수 있다.
또한, 몸체부에 형성된 적어도 하나의 고정용 홀(13)은, 고정볼트(16)의 봉부가 삽입되어지는 삽입부(13-2)와, 고정볼트(16)의 머리부가 삽입되어지며 삽입부(13-2)의 상부에 연결되며 삽입부(13-2)의 직경보다 확대된 직경을 갖는 확장부(13-1)를 포함하여 구성될 수 있다.
그리고, 고정볼트(16) 머리부와 이러한 확장부(13-1) 사이에 장착되어 풀림을 방지하는 와셔(17)와, 고정볼트(16) 상측에 구비되는 앵커 보호캡(18)을 포함하여 구성될 수 있다.
그리고 본 발명의 일실시예에 따른 포장블록(10)은, 연결용 홀(30)과, 고정연결볼트(31)를 더 포함하여 구성된다. 연결용 홀(30)은 도 6a 내지 도 6c 및 도 7a 내지 도 7c에 도시된 바와 같이, 몸체판(11)의 상면 일측에서 측면 일측으로 관통형성된 ‘┛’자형 단면 또는 ‘┗ ’자형 단면을 갖고, 고정연결볼트(31)는 도 6c 및 도 7c에 도시된 바와 같이, 다수의 포장블록(10)이 평면방향으로 접촉된 상태에서, 연결용 홀(30)이 서로 연통되며, 포장블록(10)을 서로 연결, 고정시키기 위해, 연통된 연결용 홀(30)에 삽입되어 고정되게 되며, U형 볼트로 구성될 수 있다.
따라서, 포장블록(10)의 들뜸방지 및 블록(10)의 일체거동이 가능하여 차량통과 하중에 대한 안정적인 정착력 확보가 가능하다.
또한, 이러한 본 발명의 일실시예에 따른 포장블록(10)의 상부면은 다양한 경사각을 가질 수 있고, 다양한 높이, 형태를 가질 수 있다. 따라서, 이러한 다양한 형상, 사이즈의 포장블록(10)을 공장에서 제작하여, 조립식으로 미끄럼방지 시설물(100)을 시공할 수 있게 된다. 도 8a 내지 도 8e는 본 발명의 다양한 실시예에 따른 조립식 미끄럼방지 포장블록(10)의 평면도, 종측단면도, 횡측단면도를 도시한 것이다.
이하에서는 앞서 언급한 본 발명의 일실시예에 따른 조립식 포장블록(10)을 이용한 미끄럼방지 시설물(100)의 시공방법에 대해 설명하도록 한다. 먼저, 콘크리트 기초 정착식 시공방법에 대해 설명하도록 한다.
도 9는 본 발명의 일실시예에 따른 콘크리트 기초 정착식으로 시공되는 단계별로 나타낸 평면도와 단면도를 도시한 것이다. 그리고, 도 10은 본 발명의 일실시예에 따른 콘크리트 기초 정착식으로 시공되는 미끄럼 방지 시설물(100)의 분해 단면도를 도시한 것이다.
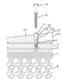
도 9에 도시된 바와 같이, 콘크리트 기초 정착식으로 미끄럼 방지 시설물(100)을 시공하는 방법은 먼저, 지반 상부로 철근(5)을 배근하고 바닥고정식 너트캡(18)를 설치하고(도 9의 ①단계), 철근(5)이 배근된 부분에 콘크리트(3)를 타설, 양생하고(도 9의 ②단계), 앞서 언급한 포장블록(10)을 정착시켜 시공하게 됨을 알 수 있다(도 9의 ③단계).
이하에서는 콘크리트 기초 정착식으로 미끄럼 방지 시설물(100)을 시공하는 방법에 대해 보다 상세하게 설명하도록 한다. 먼저, 시설물을 설치할 노면 표층(6)을 제거하게 된다. 도 11a는 본 발명의 일실시예에 따른 콘크리트 기초 정착식 시공방법에 따라, 노면표층(6)을 제거하는 상태를 나타낸 단면도를 도시한 것이다.
그리고, 노면 표층(6)이 제거된 상부측으로 철근(5)을 배근하고, 삽입홈(21)이 형성된 바닥고정식 너트캡(18)를 설치하게 된다. 도 11b는 본 발명의 일실시예 따른 콘크리트 기초 정착식 시공방법에 따라, 철근(5)을 배근하고, 너트캡(18)를 설치한 상태를 나타낸 단면도를 도시한 것이다.
그리고, 노면표층(6)이 제거된 상부측으로 콘크리트(3)를 타설, 양생시키게 된다. 도 11c는 본 발명의 일실시예에 따른 콘크리트 기초 정착식 시공방법에 따라, 기초 콘크리트(3)를 타설한 상태를 나타낸 단면도를 도시한 것이다.
그리고, 콘크리트(3) 상부로, 앞서 언급한 본 발명의 일실시예에 따른 포장블록(10)의 고정용 홀(13)이 너트캡(18)의 삽입홈(21)의 위치에 대응되도록 포장블록(10)을 거치시키게 된다. 도 11d는 본 발명의 일실시예에 따른 콘크리트 기초 정착식 시공방법에 따라조립식 미끄럼방지 포장블록(10)을 정착한 상태의 단면도를 도시한 것이다.
그리고, 고정볼트(16)를 고정용 홀(13)에 삽입하여, 너트캡(18)와 결합시켜 포장블록(10)을 정착, 고정시키게 된다. 도 11e는 콘크리트 기초 정착식 시공방법에 따라 시공된, 미끄럼 방지 시설물(100)의 단면도를 도시한 것이다.
그리고, 포장블록(10)은 시공될 미끄럼방지 시설물(100)의 형태에 따라 상부면이 특정 경사를 갖고 있으며, 다수의 포장블록(10)이 정착, 고정되게 된다. 복수의 포장블록(10)이 결합되는 경우, 복수의 포장블록(10)의 측면이 서로 접촉되도록 거치되며, 각각의 포장블록(10)의 고정용 홀(13)에 고정볼트(16)를 삽입하여 정착시키게 된다.
그리고, 다수의 포장블록(10)이 평면방향으로 접촉된 상태에서, 포장블록(10)의 상면 일측에서 측면 일측으로 관통형성된 연결용 홀(30)이 서로 연통되며, 연결용 홀(30)에 고정연결볼트(31)를 설치하여, 포장블록(10)을 서로 연결, 고정시키게 된다. 도 14는 본 발명의 일실시예에 따른 시공된 미끄럼 방지 시설물(100)의 평면도와 단면도를 도시한 것이다.
이하에서는 본 발명의 일실시예에 따른 아스팔트 앵커 정착식으로 미끄럼방지 시설물(100)을 시공하는 방법에 대해 설명하도록 한다. 먼저, 도 12는 본 발명의 일실시예에 따른 아스팔트 앵커 정착식으로 시공된 미끄럼 방지 시설물(100)의 분해 단면도를 도시한 것이다.
본 발명의 일실시예에 따른 아스팔트 앵커 정착식으로 미끄럼 방지 시설물(100)을 시공하는 방법은 먼저, 시설물을 설치할 지반의 정착부 일측에 천공(4)을 형성하게 된다. 도 13a는 본 발명의 일실시예에 따른 아스팔트 앵커 정착식 시공방법에 따라, 정착부위를 천공(4)하는 상태의 단면도를 도시한 것이다.
그리고, 형성된 천공(4) 내부의 먼지를 제거하게 된다. 도 13b는 본 발명의 일실시예에 따른 아스팔트 앵커 정착식 시공방법에 따라, 천공(4) 부위 먼지를 제거하는 상태의 단면도를 도시한 것이다.
그리고, 형성된 천공(4) 내부에 접착제(9)를 충진시키게 된다. 도 13c는 본 발명의 일실시예에 따른 아스팔트 앵커 정착식 시공방법에 따라, 천공(4) 내로 접착제(9)를 충진하는 상태의 단면도를 도시한 것이다.
그리고, 접착제(9)가 충진된 천공(4)으로 너트캡(18)를 정착시키게 된다. 도 13d는 본 발명의 일실시예에 따른 아스팔트 앵커 정착식 시공방법에 따라, 천공(4) 내로 너트 캡(18)를 정착시키는 상태의 단면도를 도시한 것이다.
그리고, 상부로, 앞서 언급한 본 발명의 일실시예에 따른 포장블록(10)의 고정용 홀(13)이 너트캡(18)의 삽입홈(21)의 위치에 대응되도록 포장블록(10)을 거치시키게 된다. 도 13e는 본 발명의 일실시예에 따른 아스팔트 앵커 정착식 시공방법에 따라, 조립식 미끄럼방지 포장블록(10)을 정착하는 상태의 단면도를 도시한 것이다.
그리고, 고정볼트(16)를 고정용 홀(13)에 삽입하여, 너트캡(18)와 결합시켜 포장블록(10)을 정착시키게 된다. 도 13f는 본 발명의 일실시예에 따른 아스팔트 앵커 정착식 시공방법에 따라 시공된 미끄럼방지 시설물(100)의 단면도를 도시한 것이다.
그리고, 포장블록(10)은 시공될 미끄럼방지 시설물(100)의 형태에 따라 상부면이 특정 경사를 갖고 있으며, 다수의 포장블록(10)이 정착, 고정되게 된다. 복수의 포장블록(10)이 결합되는 경우, 복수의 포장블록(10)의 측면이 서로 접촉되도록 거치되며, 각각의 포장블록(10)의 고정용 홀(13)에 고정볼트(16)를 삽입하여 정착시키게 된다.
그리고, 다수의 포장블록(10)이 평면방향으로 접촉된 상태에서, 포장블록(10)의 상면 일측에서 측면 일측으로 관통형성된 연결용 홀(30)이 서로 연통되며, 연결용 홀(30)에 고정연결볼트(31)를 설치하여, 포장블록(10)을 서로 연결, 고정시키게 된다.
또한, 상기와 같이 설명된 장치 및 방법은 상기 설명된 실시예들의 구성과 방법이 한정되게 적용될 수 있는 것이 아니라, 상기 실시예들은 다양한 변형이 이루어질 수 있도록 각 실시예들의 전부 또는 일부가 선택적으로 조합되어 구성될 수도 있다.
1:고원식 교차로
2:횡단보도
3:콘크리트
4:천공
5:철근
6:표층
7:기층
8:보조기층
9:접착제
10:포장블록
11:몸체판
12:미끄럼방지줄눈
13:고정용 홀
13-1:확장부
13-2:삽입부
16:고정볼트
17:와셔
18:보호캡
20:바닥고정식 너트앵커
21:삽입홈
30:연결용 홀
31:고정연결볼트
100:조립식 미끄럼방지 시설물

Claims (12)

  1. 미끄럼방지 포장블록에 있어서,
    상면에 다수의 미끄럼 방지줄눈이 형성된 몸체판;
    상기 몸체판의 상면에서 하면으로 관통형성되는 적어도 하나의 고정용 홀; 및
    상기 몸체판을 지반에 정착시키기 위해, 상기 고정용 홀에 삽입되어 상기 지반에 고정설치된 바닥고정식 너트 앵커과 결합되는 고정볼트;를 포함하는 것을 특징으로 하는 조립식 미끄럼방지 포장블록.
  2. 제 1항에 있어서,
    암적색의 재생 플라스틱으로 구성되는 것을 특징으로 하는 조립식 미끄럼방지 포장블록.
  3. 제 1항에 있어서,
    상기 미끄럼 방지줄눈은 상기 몸체판의 상면에 격자 형태로 형성되는 것을 특징으로 하는 조립식 미끄럼방지 포장블록.
  4. 제 1항에 있어서,
    상기 몸체판의 상면 일측에서 측면 일측으로 관통형성된 연결용 홀; 및
    다수의 상기 포장블록이 평면방향으로 접촉된 상태에서, 상기 연결용 홀이 서로 연통되며, 상기 포장블록을 서로 연결, 고정시키기 위해, 연통된 상기 연결용 홀에 삽입되어 고정되는 고정연결볼트;를 더 포함하는 것을 특징으로 하는 조립식 미끄럼방지 포장블록.
  5. 제 1항에 있어서,
    상기 고정용 홀은,
    상기 고정볼트의 봉부가 삽입되어지는 삽입부와, 상기 고정볼트의 머리부가 삽입되어지며 상기 삽입부의 상부에 연결되며 상기 삽입부의 직경보다 확대된 직경을 갖는 확장부를 포함하는 것을 특징으로 하는 조립식 미끄럼방지 포장블록.
  6. 제 5항에 있어서,
    상기 고정볼트 머리부와 상기 확장부 사이에 장착되어 풀림을 방지하는 와셔와, 상기 고정볼트 상측에 구비되는 보호캡을 더 포함하는 것을 특징으로 하는 조립식 미끄럼방지 포장블록.
  7. 미끄럼방지 시설물에 있어서,
    제 1항 내지 제 6항 중 어느 한 항에 따른 포장블록이 평면방향으로 연결되어 설치되는 것을 특징으로 하는 조립식 미끄럼방지 시설물.
  8. 제 7항에 있어서,
    상기 시설물의 상면은 특정 경사각을 갖는 것을 특징으로 하는 조립식 미끄럼방지 시설물.
  9. 콘크리트 기초 정착식으로 미끄럼 방지 시설물을 시공하는 방법에 있어서,
    시설물을 설치할 노면 표층을 제거하는 단계;
    노면 표층이 제거된 상부측으로 철근을 배근하고, 삽입홈이 형성된 바닥고정식 너트앵커를 설치하는 단계;
    노면표층이 제거된 상부측으로 콘크리트를 타설, 양생시키는 단계;
    콘크리트 상부로, 제 1항 내지 제 6항 중 어느 한 항에 따른 포장블록의 고정용 홀이 상기 너트앵커의 삽입홈의 위치에 대응되도록 상기 포장블록을 거치시키는 단계; 및
    고정볼트를 상기 고정용 홀에 삽입하여, 상기 너트앵커와 결합시켜 상기 포장블록을 정착시키는 단계를 포함하는 것을 특징으로 하는 조립식 미끄럼방지 포장블록을 이용한 미끄럼방지 시설물의 시공방법.
  10. 제 9항에 있어서,
    상기 포장블록을 거치시키는 단계는,
    복수의 포장블록의 측면이 서로 접촉되도록 거치되며, 각각의 포장블록의 고정용 홀에 고정볼트를 삽입하여 정착시키고,
    다수의 상기 포장블록이 평면방향으로 접촉된 상태에서, 포장블록의 상면 일측에서 측면 일측으로 관통형성된 연결용 홀이 서로 연통되며, 연결용 홀에 고정연결볼트를 설치하여, 상기 포장블록을 서로 연결, 고정시키는 단계를 더 포함하는 것을 특징으로 하는 조립식 미끄럼방지 포장블록을 이용한 미끄럼방지 시설물의 시공방법.
  11. 아스팔트 앵커 정착식으로 미끄럼 방지 시설물을 시공하는 방법에 있어서,
    시설물을 설치할 지반의 정착부 일측에 천공을 형성하고, 형성된 천공 내부 먼지를 제거하는 단계;
    상기 천공 내부에 접착제를 충진하는 단계;
    상기 접착제가 충진된 천공으로 너트앵커를 정착하는 단계;
    상부로, 제 1항 내지 제 6항 중 어느 한 항에 따른 포장블록의 고정용 홀이 상기 너트앵커의 삽입홈의 위치에 대응되도록 상기 포장블록을 거치시키는 단계; 및
    고정볼트를 상기 고정용 홀에 삽입하여, 상기 너트앵커와 결합시켜 상기 포장블록을 정착시키는 단계를 포함하는 것을 특징으로 하는 조립식 미끄럼방지 포장블록을 이용한 미끄럼방지 시설물의 시공방법.
  12. 제 11항에 있어서,
    상기 포장블록을 거치시키는 단계는,
    복수의 포장블록의 측면이 서로 접촉되도록 거치되며, 각각의 포장블록의 고정용 홀에 고정볼트를 삽입하여 정착시키고,
    다수의 상기 포장블록이 평면방향으로 접촉된 상태에서, 포장블록의 상면 일측에서 측면 일측으로 관통형성된 연결용 홀이 서로 연통되며, 연결용 홀에 고정연결볼트를 설치하여, 상기 포장블록을 서로 연결, 고정시키는 단계를 더 포함하는 것을 특징으로 하는 조립식 미끄럼방지 포장블록을 이용한 미끄럼방지 시설물의 시공방법.
KR1020160004155A 2016-01-13 2016-01-13 조립식 미끄럼방지 포장블록, 그 포장블록의 시공방법 및 그 포장블록을 이용한 미끄럼방지 시설물 Ceased KR20170085165A (ko)

Priority Applications (1)

Application Number Priority Date Filing Date Title
KR1020160004155A KR20170085165A (ko) 2016-01-13 2016-01-13 조립식 미끄럼방지 포장블록, 그 포장블록의 시공방법 및 그 포장블록을 이용한 미끄럼방지 시설물

Applications Claiming Priority (1)

Application Number Priority Date Filing Date Title
KR1020160004155A KR20170085165A (ko) 2016-01-13 2016-01-13 조립식 미끄럼방지 포장블록, 그 포장블록의 시공방법 및 그 포장블록을 이용한 미끄럼방지 시설물

Publications (1)

Publication Number Publication Date
KR20170085165A true KR20170085165A (ko) 2017-07-24

Family

ID=59429082

Family Applications (1)

Application Number Title Priority Date Filing Date
KR1020160004155A Ceased KR20170085165A (ko) 2016-01-13 2016-01-13 조립식 미끄럼방지 포장블록, 그 포장블록의 시공방법 및 그 포장블록을 이용한 미끄럼방지 시설물

Country Status (1)

Country Link
KR (1) KR20170085165A (ko)

Cited By (1)

* Cited by examiner, † Cited by third party
Publication number Priority date Publication date Assignee Title
KR102685630B1 (ko) * 2024-05-28 2024-07-18 (주)원전기업 잡초 생장 방지형 콘크리트 블럭 시공방법

Cited By (1)

* Cited by examiner, † Cited by third party
Publication number Priority date Publication date Assignee Title
KR102685630B1 (ko) * 2024-05-28 2024-07-18 (주)원전기업 잡초 생장 방지형 콘크리트 블럭 시공방법

Similar Documents

Publication Publication Date Title
US9408772B2 (en) Tactile plate assembly
KR101633431B1 (ko) 기존 교량 콘크리트와 구조적 일체화를 확보한 교량 확장형 인도 및 이의 시공방법
JP2007138467A (ja) 高架道路の荷重支持型伸縮装置とその施工法
KR102250711B1 (ko) 맨홀 충격 방지구
KR20170085165A (ko) 조립식 미끄럼방지 포장블록, 그 포장블록의 시공방법 및 그 포장블록을 이용한 미끄럼방지 시설물
JP2011042985A (ja) 鋼床版補強工法及びその工法に用いられる鋼コンクリート合成パネル
KR20130047094A (ko) 과속방지 도로블록
KR20110108500A (ko) 매립형 프리캐스트 콘크리트 과속방지턱 구조물 및 이를 이용한 과속방지턱 시공방법
KR101609760B1 (ko) 경사지용 옹벽을 이용한 확장 인도 시공방법
JP3499843B2 (ja) 道路橋伸縮継手の施工方法
KR100807660B1 (ko) 절연성 맨홀구조
JP4564020B2 (ja) 縁石ブロック
KR200446327Y1 (ko) 미끄럼방지용 경계석
KR200403742Y1 (ko) 절연성 맨홀구조
KR100508773B1 (ko) 시트파일을 이용한 가교 상판 및 그것의 시공방법
KR100889521B1 (ko) 재생고무매트를 이용하여 상하수관거가 매설되는 도로의 가포장방법
KR200234664Y1 (ko) 도로경계블럭
KR20090015529A (ko) 구조개선된 시각장애인 유도블록
JP3531862B2 (ja) ポール式標識取付け型側溝用コンクリート蓋
JP7200429B1 (ja) 縁石一体型排水ブロック
KR102376748B1 (ko) 아스팔트 포장도로 보수용 보강장치 및 이를 이용한 보수공법
KR200302138Y1 (ko) 시트파일을 이용한 가교 상판
KR20240001595U (ko) 재귀반사가 구비된 안전표지용 볼트머리 커버
EP4115017B1 (en) Vehicle refuge for a motor carriageway and methods of forming a vehicle refuge for a motor carriageway
KR102205490B1 (ko) 보도교 바닥판 어셈블리, 보도교 및 보도교 시공방법

Legal Events

Date Code Title Description
A201 Request for examination
PA0109 Patent application

Patent event code: PA01091R01D

Comment text: Patent Application

Patent event date: 20160113

PA0201 Request for examination
E902 Notification of reason for refusal
PE0902 Notice of grounds for rejection

Comment text: Notification of reason for refusal

Patent event date: 20170414

Patent event code: PE09021S01D

PG1501 Laying open of application
E601 Decision to refuse application
PE0601 Decision on rejection of patent

Patent event date: 20171023

Comment text: Decision to Refuse Application

Patent event code: PE06012S01D

Patent event date: 20170414

Comment text: Notification of reason for refusal

Patent event code: PE06011S01I