KR20170065181A - Muti-range bycycle - Google Patents

Muti-range bycycle Download PDF

Info

Publication number
KR20170065181A
KR20170065181A KR1020150171296A KR20150171296A KR20170065181A KR 20170065181 A KR20170065181 A KR 20170065181A KR 1020150171296 A KR1020150171296 A KR 1020150171296A KR 20150171296 A KR20150171296 A KR 20150171296A KR 20170065181 A KR20170065181 A KR 20170065181A
Authority
KR
South Korea
Prior art keywords
gear
speed
speed change
coupled
teeth
Prior art date
Legal status (The legal status is an assumption and is not a legal conclusion. Google has not performed a legal analysis and makes no representation as to the accuracy of the status listed.)
Granted
Application number
KR1020150171296A
Other languages
Korean (ko)
Other versions
KR101793789B1 (en
Inventor
하태환
Original Assignee
하태환
Priority date (The priority date is an assumption and is not a legal conclusion. Google has not performed a legal analysis and makes no representation as to the accuracy of the date listed.)
Filing date
Publication date
Application filed by 하태환 filed Critical 하태환
Priority to KR1020150171296A priority Critical patent/KR101793789B1/en
Publication of KR20170065181A publication Critical patent/KR20170065181A/en
Application granted granted Critical
Publication of KR101793789B1 publication Critical patent/KR101793789B1/en
Expired - Fee Related legal-status Critical Current
Anticipated expiration legal-status Critical

Links

Images

Classifications

    • BPERFORMING OPERATIONS; TRANSPORTING
    • B62LAND VEHICLES FOR TRAVELLING OTHERWISE THAN ON RAILS
    • B62MRIDER PROPULSION OF WHEELED VEHICLES OR SLEDGES; POWERED PROPULSION OF SLEDGES OR SINGLE-TRACK CYCLES; TRANSMISSIONS SPECIALLY ADAPTED FOR SUCH VEHICLES
    • B62M11/00Transmissions characterised by the use of interengaging toothed wheels or frictionally-engaging wheels
    • B62M11/04Transmissions characterised by the use of interengaging toothed wheels or frictionally-engaging wheels of changeable ratio
    • BPERFORMING OPERATIONS; TRANSPORTING
    • B62LAND VEHICLES FOR TRAVELLING OTHERWISE THAN ON RAILS
    • B62MRIDER PROPULSION OF WHEELED VEHICLES OR SLEDGES; POWERED PROPULSION OF SLEDGES OR SINGLE-TRACK CYCLES; TRANSMISSIONS SPECIALLY ADAPTED FOR SUCH VEHICLES
    • B62M11/00Transmissions characterised by the use of interengaging toothed wheels or frictionally-engaging wheels
    • B62M11/04Transmissions characterised by the use of interengaging toothed wheels or frictionally-engaging wheels of changeable ratio
    • B62M11/10Transmissions characterised by the use of interengaging toothed wheels or frictionally-engaging wheels of changeable ratio with bevel gear wheels
    • BPERFORMING OPERATIONS; TRANSPORTING
    • B62LAND VEHICLES FOR TRAVELLING OTHERWISE THAN ON RAILS
    • B62MRIDER PROPULSION OF WHEELED VEHICLES OR SLEDGES; POWERED PROPULSION OF SLEDGES OR SINGLE-TRACK CYCLES; TRANSMISSIONS SPECIALLY ADAPTED FOR SUCH VEHICLES
    • B62M11/00Transmissions characterised by the use of interengaging toothed wheels or frictionally-engaging wheels
    • B62M11/04Transmissions characterised by the use of interengaging toothed wheels or frictionally-engaging wheels of changeable ratio
    • B62M11/14Transmissions characterised by the use of interengaging toothed wheels or frictionally-engaging wheels of changeable ratio with planetary gears
    • BPERFORMING OPERATIONS; TRANSPORTING
    • B62LAND VEHICLES FOR TRAVELLING OTHERWISE THAN ON RAILS
    • B62MRIDER PROPULSION OF WHEELED VEHICLES OR SLEDGES; POWERED PROPULSION OF SLEDGES OR SINGLE-TRACK CYCLES; TRANSMISSIONS SPECIALLY ADAPTED FOR SUCH VEHICLES
    • B62M25/00Actuators for gearing speed-change mechanisms specially adapted for cycles
    • BPERFORMING OPERATIONS; TRANSPORTING
    • B62LAND VEHICLES FOR TRAVELLING OTHERWISE THAN ON RAILS
    • B62MRIDER PROPULSION OF WHEELED VEHICLES OR SLEDGES; POWERED PROPULSION OF SLEDGES OR SINGLE-TRACK CYCLES; TRANSMISSIONS SPECIALLY ADAPTED FOR SUCH VEHICLES
    • B62M25/00Actuators for gearing speed-change mechanisms specially adapted for cycles
    • B62M25/02Actuators for gearing speed-change mechanisms specially adapted for cycles with mechanical transmitting systems, e.g. cables, levers
    • FMECHANICAL ENGINEERING; LIGHTING; HEATING; WEAPONS; BLASTING
    • F16ENGINEERING ELEMENTS AND UNITS; GENERAL MEASURES FOR PRODUCING AND MAINTAINING EFFECTIVE FUNCTIONING OF MACHINES OR INSTALLATIONS; THERMAL INSULATION IN GENERAL
    • F16HGEARING
    • F16H1/00Toothed gearings for conveying rotary motion
    • F16H1/02Toothed gearings for conveying rotary motion without gears having orbital motion
    • F16H1/04Toothed gearings for conveying rotary motion without gears having orbital motion involving only two intermeshing members
    • F16H1/12Toothed gearings for conveying rotary motion without gears having orbital motion involving only two intermeshing members with non-parallel axes
    • F16H1/14Toothed gearings for conveying rotary motion without gears having orbital motion involving only two intermeshing members with non-parallel axes comprising conical gears only
    • FMECHANICAL ENGINEERING; LIGHTING; HEATING; WEAPONS; BLASTING
    • F16ENGINEERING ELEMENTS AND UNITS; GENERAL MEASURES FOR PRODUCING AND MAINTAINING EFFECTIVE FUNCTIONING OF MACHINES OR INSTALLATIONS; THERMAL INSULATION IN GENERAL
    • F16HGEARING
    • F16H25/00Gearings comprising primarily only cams, cam-followers and screw-and-nut mechanisms
    • F16H25/18Gearings comprising primarily only cams, cam-followers and screw-and-nut mechanisms for conveying or interconverting oscillating or reciprocating motions
    • F16H25/20Screw mechanisms
    • FMECHANICAL ENGINEERING; LIGHTING; HEATING; WEAPONS; BLASTING
    • F16ENGINEERING ELEMENTS AND UNITS; GENERAL MEASURES FOR PRODUCING AND MAINTAINING EFFECTIVE FUNCTIONING OF MACHINES OR INSTALLATIONS; THERMAL INSULATION IN GENERAL
    • F16HGEARING
    • F16H3/00Toothed gearings for conveying rotary motion with variable gear ratio or for reversing rotary motion
    • F16H3/44Toothed gearings for conveying rotary motion with variable gear ratio or for reversing rotary motion using gears having orbital motion

Landscapes

  • Engineering & Computer Science (AREA)
  • Mechanical Engineering (AREA)
  • General Engineering & Computer Science (AREA)
  • Chemical & Material Sciences (AREA)
  • Combustion & Propulsion (AREA)
  • Transportation (AREA)
  • Structure Of Transmissions (AREA)
  • Transmission Devices (AREA)

Abstract

다단 변속 자전거는 프레임에 회전 가능하게 고정된 전륜 및 후륜을 포함하는 자전거 몸체; 상기 프레임에 고정되어 회전되는 폐달; 상기 폐달과 함께 회전되며, 표면에 동심원 상으로 형성된 복수개의 변속 치열들 및 외주면에 구동 치열이 형성된 변속판; 상기 구동 치열과 결합되어 회전력을 전달받는 입력축, 상기 입력축에 의하여 회전되는 링 기어, 상기 링 기어 내부에 배치되며 선기어가 형성되며 상기 후륜에 결합되는 출력축, 상기 링 기어의 내측 치열 및 상기 선기어와 결합되는 피니언 기어들, 상기 피니언 기어들을 결합하는 캐리어 및 상기 캐리어에 치차 결합된 구동 기어를 포함하는 변속 유닛; 및 상기 구동 기어의 회전 방향 및 상기 구동 기어의 회전수를 변경하는 회전수 변경 모듈을 포함한다.The multi-speed change bicycle includes a bicycle body including front and rear wheels rotatably fixed to the frame; A pendulum fixedly rotated on the frame; A speed change plate rotated together with the tread and having a plurality of shifting teeth formed concentrically on the surface thereof and a drive tooth array formed on an outer circumferential surface thereof; A ring gear rotatable by the input shaft, an output shaft disposed inside the ring gear and formed of a sun gear and coupled to the rear wheel, an inner gear teeth of the ring gear, and a sun gear coupled to the sun gear A transmission unit including a pinion gears, a carrier coupling the pinion gears, and a drive gear meshed with the carrier; And a rotation number changing module for changing the rotation direction of the driving gear and the rotation number of the driving gear.

Description

다단 변속 자전거{MUTI-RANGE BYCYCLE}Multi-speed change bicycle {MUTI-RANGE BYCYCLE}

본 발명은 폐달 및 후륜에 각각 형성된 다수개의 스프로킷 휠 및 스프로킷 휠에 결합되는 체인 없이 자전거의 후륜을 구동하여 주행이 가능하며, 주행 중 다단 변속에 의한 속도 조절이 가능한 다단 변속 자전거에 관한 것이다.The present invention relates to a multistage variable speed bike capable of driving a rear wheel of a bicycle without a chain coupled to a plurality of sprocket wheels and a sprocket wheel respectively formed on a rear wheel and a rear wheel, and capable of speed control by a multi-stage shift during traveling.

자전거는 일상 생활에서 널리 사용되고 있는 편리한 운송 수단이다.Bicycle is a convenient means of transportation that is widely used in everyday life.

일반적으로 자전거는 자전거의 몸체를 이루며 핸들이 구비된 프레임, 프레임의 앞쪽에 회전 가능하게 고정된 전륜, 프레임의 뒤쪽에 회전 가능하게 고정된 후륜, 전륜과 후륜 사이에 배치된 폐달, 폐달 및 후륜에 결합된 스프로킷 휠, 스프로킷 휠에 결합된 체인을 포함한다.BACKGROUND ART [0002] Generally, a bicycle includes a frame having a handle, a front wheel rotatably fixed to the front of the frame, a rear wheel rotatably fixed to the rear of the frame, a pneumatic tumbler disposed between front and rear wheels, A combined sprocket wheel, and a chain coupled to the sprocket wheel.

자전거는 폐달을 회전시킴으로써 스프로킷 휠 및 체인을 통해 동력이 후륜에 전달되어 주행된다.The bicycle rotates the tires and power is transmitted to the rear wheels through the sprocket wheel and the chain.

또한, 오르막길 또는 평지에서 보다 적은 힘으로 주행이 가능하도록 자전거에는 서로 다른 사이즈를 갖는 스프로킷 휠을 이용한 변속기가 장착되고 있다.Further, the bicycle is equipped with a transmission using sprocket wheels having different sizes so that the vehicle can be driven with less force on an uphill or a flat ground.

그러나 스프로킷 휠 및 체인을 이용하여 주행할 경우 체인이 스프로킷 휠로부터 자주 이탈될 수 있어 불편하며 서로 다른 사이즈를 갖는 스프로킷 휠들을 이용한 변속기의 경우 변속 충격이 심한 문제점을 갖는다.However, when the vehicle is driven using the sprocket wheel and the chain, the chain may frequently be disengaged from the sprocket wheel, which is disadvantageous, and the transmission using the sprocket wheels having different sizes has a problem of high shift shock.

대한민국 등록특허 제10-1532029, 자전거 변속 기어 구조 및 이를 장착한 자전거 (2015년 6월 22일 등록)Korean Registered Patent No. 10-1532029, Structure of a Bicycle Transmission Gear and Bicycle Bicycle (Registered on June 22, 2015)

본 발명은 주행을 위한 스프로킷 휠 및 체인없이 주행이 가능하며, 스프로킷 휠 및 체인을 이용하지 않고 주행중 변속이 가능한 다단 변속 자전거를 제공한다.The present invention provides a multistage variable speed bike capable of traveling without a sprocket wheel and a chain for traveling, and capable of shifting while traveling without using a sprocket wheel and a chain.

일실시예로서, 다단 변속 자전거는 프레임에 회전 가능하게 고정된 전륜 및 후륜을 포함하는 자전거 몸체; 상기 프레임에 고정되어 회전되는 폐달; 상기 폐달과 함께 회전되며, 표면에 동심원 상으로 형성된 복수개의 변속 치열들 및 외주면에 구동 치열이 형성된 변속판; 상기 구동 치열과 결합되어 회전력을 전달받는 입력축, 상기 입력축에 의하여 회전되는 링 기어, 상기 링 기어 내부에 배치되며 선기어가 형성되며 상기 후륜에 결합되는 출력축, 상기 링 기어의 내측 치열 및 상기 선기어와 결합되는 피니언 기어들, 상기 피니언 기어들을 결합하는 캐리어 및 상기 캐리어에 치차 결합된 구동 기어를 포함하는 변속 유닛; 및 상기 구동 기어의 회전 방향 및 상기 구동 기어의 회전수를 변경하는 회전수 변경 모듈을 포함한다.In one embodiment, the multi-speed change bicycle includes a bicycle body including a front wheel and a rear wheel rotatably fixed to the frame; A pendulum fixedly rotated on the frame; A speed change plate rotated together with the tread and having a plurality of shifting teeth formed concentrically on the surface thereof and a drive tooth array formed on an outer circumferential surface thereof; A ring gear rotatable by the input shaft, an output shaft disposed inside the ring gear and formed of a sun gear and coupled to the rear wheel, an inner gear teeth of the ring gear, and a sun gear coupled to the sun gear A transmission unit including a pinion gears, a carrier coupling the pinion gears, and a drive gear meshed with the carrier; And a rotation number changing module for changing the rotation direction of the driving gear and the rotation number of the driving gear.

다단 변속 자전거의 상기 변속 치열들은 서로 다른 직경으로 형성된다.The transmission teeth of the multi-speed change bicycle are formed with different diameters.

다단 변속 자전거의 상기 입력축의 일측단에는 상기 구동 치열과 결합되는 스크루 기어가 형성되고, 상기 입력축의 상기 일측단과 대향하는 타측단에는 상기 링 기어의 외측 치열과 결합되는 평기어가 형성된다.A stepped gear is formed at one end of the input shaft of the multistage speed change bicycle and is coupled to the drive tooth train, and a spur gear is formed at the other end opposite to the one end of the input shaft.

다단 변속 자전거의 상기 출력축 및 상기 후륜은 베벨 기어로 결합되어 상기 출력축의 회전에 의하여 상기 후륜이 구동된다.The output shaft and the rear wheel of the multistage speed change bicycle are coupled with a bevel gear so that the rear wheel is driven by rotation of the output shaft.

다단 변속 자전거의 상기 회전수 변경 모듈은 일측단이 상기 구동 기어에 치차 결합된 구동 기어 축, 상기 구동 기어 축에 복수개가 형성되며 상기 변속 치열들 중 어느 하나에 치차 결합되는 변속 기어들 및 상기 구도 기어 축을 이동시켜 상기 변속 기어들 중 어느 하나를 상기 변속 치열에 치차 결합시키기 위한 위치 변경 유닛을 포함한다.The speed change module of the multi-speed change bicycle comprises a drive gear shaft having one end engaged with the drive gear, a plurality of shift gears formed on the drive gear shaft and being gear-connected to one of the shift teeth, And a position changing unit for moving the gear shaft to gear one of the shift gears to the shift tooth array.

다단 변속 자전거의 상기 구동 기어 축은 원주 방향으로 회전 및 길이 방향으로 신축이 가능하도록 적어도 2 개가 결합되며, 상기 위치 변경 유닛은 2개로 이루어진 상기 구동 기어 축 중 어느 하나를 와이어로 당기거나 미는 와이어 유닛 및 상기 와이어 유닛을 구동하기 위해 상기 프레임의 손잡이에 결합된 조작부를 포함한다.Wherein the driving gear shaft of the multistage speed change bike is coupled to at least two of the driving gear shafts so as to be rotatable in the circumferential direction and extendable and contractible in the longitudinal direction and the position changing unit comprises a wire unit for pulling or pushing any one of the two driving gear shafts, And an operating portion coupled to a handle of the frame for driving the wire unit.

다단 변속 자전거의 상기 와이어 유닛은 상기 와이어에 복원력을 제공하는 탄성 부재를 포함한다.The wire unit of the multi-speed change bicycle includes an elastic member for providing a restoring force to the wire.

다단 변속 자전거의 상기 구동 기어 축은 상기 변속판을 가로지르는 길이로 형성된다.The drive gear shaft of the multistage speed change bike is formed to have a length across the speed change plate.

다단 변속 자전거의 상기 변속 치열은 상기 폐달과 인접하게 배치된 저속 변속 치열 및 상기 저속 변속 치열의 외측에 배치된 고속 변속 치열을 포함한다.The transmission dentition of the multistage speed change bicycle includes a low speed transmission ditch disposed adjacent to the tent and a high speed transmission dentition disposed outside the low speed transmission tooth.

다단 변속 자전거의 상기 회전수 변경 모듈은 상기 구동 기어에 회전력을 인가하는 모터 및 상기 모터의 회전수를 제어하기 위해 상기 프레임의 손잡이에 형성된 조작부를 포함한다.The speed change module of the multistage speed change bike includes a motor for applying a rotational force to the drive gear and an operating portion formed on the handle of the frame for controlling the rotational speed of the motor.

본 발명에 따른 다단 변속 자전거는 주행을 위한 스프로킷 휠 및 체인없이 주행이 가능하며, 스프로킷 휠 및 체인을 이용하지 않고 주행중 변속이 가능한 다단 변속 자전거를 제공한다.The multistage speed change bicycle according to the present invention provides a multistage variable speed bike capable of traveling without a sprocket wheel and a chain for running and capable of shifting while driving without using a sprocket wheel and a chain.

도 1은 본 발명의 일실시예에 따른 다단 변속 자전거의 외관 사시도이다. 도 2는 도 1의 다단 변속 자전거의 케이스 내부를 도시한 단면도이다.
도 3은 도 2에 도시된 변속판의 외관 사시도이다.
도 4는 도 2의 'A' 부분 확대도이다.
도 5는 도 2의 캐리어 및 피니언 기어들을 도시한 사시도이다.
도 6 내지 도 9는 회전수 변경 모듈에 의한 자전거의 속도 변화를 설명하기 위한 변속판 및 변속 치열의 관계를 도시한 평면도이다.
1 is an external perspective view of a multi-speed change bicycle according to an embodiment of the present invention. 2 is a cross-sectional view showing the inside of the case of the multistage speed change bicycle of FIG.
3 is an external perspective view of the speed change plate shown in Fig.
4 is an enlarged view of a portion 'A' in FIG.
5 is a perspective view showing the carrier and pinion gears of FIG. 2;
Figs. 6 to 9 are plan views showing the relationship between the speed change plate and the transmission gear teeth for explaining the speed change of the bicycle by the revolution number changing module. Fig.

이하 설명되는 본 발명은 다양한 변환을 가할 수 있고, 여러 가지 실시 예를 가질 수 있는 바, 특정 실시 예들을 도면에 예시하고 상세한 설명에서 상세하게 설명하고자 한다.BRIEF DESCRIPTION OF THE DRAWINGS The invention, which is set forth below, may be embodied with various changes and may have various embodiments, and specific embodiments thereof are shown by way of example in the drawings and will herein be described in detail.

그러나, 이는 본 발명을 특정한 실시 형태에 대해 한정하려는 것이 아니며, 본 발명의 사상 및 기술 범위에 포함되는 모든 변환, 균등물 내지 대체물을 포함하는 것으로 이해되어야 한다. 본 발명을 설명함에 있어서 관련된 공지 기술에 대한 구체적인 설명이 본 발명의 요지를 흐릴 수 있다고 판단되는 경우 그 상세한 설명을 생략한다.It is to be understood, however, that the invention is not to be limited to the specific embodiments, but includes all modifications, equivalents, and alternatives falling within the spirit and scope of the invention. DETAILED DESCRIPTION OF THE PREFERRED EMBODIMENTS Hereinafter, the present invention will be described in detail with reference to the accompanying drawings.

본 출원에서 사용한 용어는 단지 특정한 실시예를 설명하기 위해 사용된 것으로, 본 발명을 한정하려는 의도가 아니다. 단수의 표현은 문맥상 명백하게 다르게 뜻하지 않는 한, 복수의 표현을 포함한다. 본 출원에서, "포함하다" 또는 "가지다" 등의 용어는 명세서상에 기재된 특징, 숫자, 단계, 동작, 구성요소, 부품 또는 이들을 조합한 것이 존재함을 지정하려는 것이지, 하나 또는 그 이상의 다른 특징들이나 숫자, 단계, 동작, 구성요소, 부품 또는 이들을 조합한 것들의 존재 또는 부가 가능성을 미리 배제하지 않는 것으로 이해되어야 한다.The terminology used in this application is used only to describe a specific embodiment and is not intended to limit the invention. The singular expressions include plural expressions unless the context clearly dictates otherwise. In the present application, the terms "comprises" or "having" and the like are used to specify that there is a feature, a number, a step, an operation, an element, a component or a combination thereof described in the specification, But do not preclude the presence or addition of one or more other features, integers, steps, operations, elements, components, or combinations thereof.

또한 제1, 제2 등의 용어는 다양한 구성요소들을 구분하여 설명하기 위해 사용될 수 있지만, 상기 구성 요소들은 상기 용어들에 의해 한정되어서는 안 된다. 상기 용어들은 하나의 구성요소를 다른 구성요소로부터 구별하는 목적으로만 사용된다.Also, the terms first, second, etc. may be used to distinguish between various components, but the components should not be limited by the terms. The terms are used only for the purpose of distinguishing one component from another.

도 1은 본 발명의 일실시예에 따른 다단 변속 자전거의 외관 사시도이다. 도 2는 도 1의 다단 변속 자전거의 케이스 내부를 도시한 단면도이다.1 is an external perspective view of a multi-speed change bicycle according to an embodiment of the present invention. 2 is a cross-sectional view showing the inside of the case of the multistage speed change bicycle of FIG.

도 1 및 도 2를 참조하면, 다단 변속 자전거(700)는 자전거 몸체(100), 폐달(200), 변속판(300), 변속 유닛(400) 및 회전수 변경 모듈(500)을 포함한다. 이에 더하여 다단 변속 자전거(700)는 변속판(300), 변속 유닛(400) 및 회전수 변경 모듈(500)을 감싸는 케이스(600)를 더 포함한다.1 and 2, the multi-step speed change bicycle 700 includes a bicycle body 100, a dash 200, a speed change plate 300, a speed change unit 400, and a speed change module 500. In addition, the multi-speed change bicycle 700 further includes a case 600 surrounding the speed change plate 300, the speed change unit 400, and the speed change module 500.

자전거 몸체(100)는 프레임(105), 전륜(110) 및 후륜(120)을 포함한다.The bicycle body 100 includes a frame 105, a front wheel 110 and a rear wheel 120.

프레임(105)의 앞쪽에는 전륜(110)이 프레임(105)에 대하여 회전 가능하게 결합되고, 프레임(105)의 뒤쪽에는 후륜(120)이 프레임(105)에 대하여 회전 가능하게 결합된다.A front wheel 110 is rotatably coupled to the frame 105 in front of the frame 105 and a rear wheel 120 is rotatably coupled to the frame 105 on the rear side of the frame 105. [

폐달(200)은 프레임(105)에 결합되며, 폐달(200)은 전륜(110) 및 후륜(120)의 사이에 배치된다.The pendulum 200 is coupled to the frame 105 and the pendulum 200 is disposed between the front wheel 110 and the rear wheel 120.

폐달(200)은 프레임(105)에 대하여 회전 가능하게 결합되며, 사용자가 폐달(200)을 회전시킴으로써 폐달(200)에는 회전력이 발생된다.The pendulum 200 is rotatably coupled to the frame 105, and a rotating force is generated in the pendulum 200 by the user rotating the pendulum 200.

본 발명의 일실시예에서, 폐달(200)에 인가된 회전력은 체인 및 스프로킷 휠 없이 자전거 몸체(100)가 주행할 수 있도록 하는 동력원이 된다.In one embodiment of the present invention, the rotational force applied to the muzzle 200 becomes a power source that allows the bicycle body 100 to travel without the chain and the sprocket wheel.

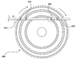
도 3은 도 2에 도시된 변속판의 외관 사시도이다.3 is an external perspective view of the speed change plate shown in Fig.

도 2 및 도 3을 참조하면, 변속판(300)은 폐달(200)에 결합되며, 변속판(300)은 폐달(200)과 함께 동일한 회전수로 회전된다.2 and 3, the transmission plate 300 is coupled to the pendulum 200, and the transmission plate 300 is rotated at the same rotational speed together with the pendulum 200.

변속판(300)은, 예를 들어, 원판 형상으로 형성된다. 원판 형상으로 형성된 변속판(300)은 마주하는 한 쌍의 표면(301)들 및 외주면(302)을 포함한다.The transmission plate 300 is formed, for example, in a disk shape. The transmission plate 300 formed in a disk shape includes a pair of facing surfaces 301 and an outer peripheral surface 302.

변속판(300)의 표면(301)의 중심에는 패달(200)이 결합되기 위한 관통홀(303)이 형성되며, 변속판(300)의 표면(301)에는 변속 치열(310)들이 형성된다.A through hole 303 for coupling the pedal 200 is formed at the center of the surface 301 of the transmission plate 300 and the transmission teeth 310 are formed on the surface 301 of the transmission plate 300.

본 발명의 일실시예에서, 변속 치열(310)들은 관통홀(303)을 중심으로 복수개가 동심원 형태로 형성되며, 변속 치열(310)들은 표면(301)에서 보았을 때 서로 다른 직경으로 형성된다.In the embodiment of the present invention, the plurality of shift teeth 310 are formed concentrically with respect to the through hole 303, and the shift teeth 310 are formed with different diameters when viewed from the surface 301.

변속 치열(310)들은, 예를 들어, 저속 변속 치열(312) 및 고속 변속 치열(314)을 포함한다.The transmission teeth 310 include, for example, a low speed transmission tooth train 312 and a high speed transmission tooth train 314. [

저속 변속 치열(312)는 자전거가 정지 상태에서 저속으로 주행될 때 사용되며, 고속 변속 치열(314)은 자전거를 고속으로 주행할 때 사용된다.The low speed transmission tooth train 312 is used when the bicycle travels at a low speed while the bicycle is stationary, and the high speed transmission tooth train 314 is used when the bicycle is traveling at a high speed.

본 발명의 일실시예에서, 저속 변속 치열(312)은 변속판(300) 중 관통홀(303)과 인접하게 배치되며, 고속 변속 치열(314)은 관통홀(303)을 기준으로 저속 변속 치열(312)의 외곽에 배치된다.In the embodiment of the present invention, the low speed transmission tooth array 312 is arranged adjacent to the through hole 303 in the transmission plate 300, and the high speed transmission teeth array 314 is arranged in the low speed transmission tooth array (312).

비록 본 발명의 일실시예에서는 변속판(300)에 저속 변속 치열(312) 및 고속 변속 치열(314)가 형성된 것이 도시 및 설명되고 있지만, 변속판(300)에는 적어도 3 개의 변속 치열(314)들이 형성될 수 있다.Although it is shown and described that the transmission plate 300 is formed with the low speed transmission teeth array 312 and the high speed transmission teeth array 314 in the embodiment of the present invention, the transmission plate 300 is provided with at least three transmission teeth teeth 314, Can be formed.

본 발명의 일실시예에서, 저속변속 치열(312)의 폭 및 고속 변속 치열(314)들의 폭은 후술 될 변속 기어와의 치차 결합을 위해 서로 다르게 형성될 수 있다.In one embodiment of the present invention, the width of the low speed transmission tooth array 312 and the width of the high speed transmission teeth array 314 may be formed differently for gear engagement with a speed change gear to be described later.

한편, 원판 형상으로 형성된 변속판(300)의 외주면에는 구동 치열(320)들이 형성된다.On the other hand, drive teeth 320 are formed on the outer circumferential surface of the transmission plate 300 formed in a disk shape.

변속판(300)의 외주면에 형성된 구동 치열(320)들은 변속판(300)의 회전력을 후술될 변속 유닛(400)의 링 기어로 제공하여 링 기어가 변속판(300)으로부터 제공된 회전력에 의하여 회전될 수 있도록 한다.The drive teeth rows 320 formed on the outer circumferential surface of the speed change plate 300 provide rotation force of the speed change plate 300 to the ring gear of the transmission unit 400 to be described later, .

도 4는 도 2의 'A' 부분 확대도이다.4 is an enlarged view of a portion 'A' in FIG.

도 2 및 도 4를 참조하면, 변속 유닛(400)는 입력축(410), 링 기어(420), 출력축(430), 피니언 기어(440), 캐리어(450) 및 구동 기어(460)를 포함한다. 이에 더하여 입력축(410)에는 모터와 같은 회전 유닛(412)이 결합될 수 있고, 회전 유닛(412)에는 회전 유닛(412)을 구동하기 위한 배터리(412a)가 전기적으로 접속될 수 있다.2 and 4, the transmission unit 400 includes an input shaft 410, a ring gear 420, an output shaft 430, a pinion gear 440, a carrier 450, and a drive gear 460 . In addition, a rotation unit 412 such as a motor may be coupled to the input shaft 410, and a battery 412a for driving the rotation unit 412 may be electrically connected to the rotation unit 412.

입력축(410)은 폐달(200)에 의하여 변속판(300)으로 제공된 회전력을 링 기어(420)로 제공한다.The input shaft 410 provides rotational force to the ring gear 420 provided to the speed change plate 300 by the pulley 200.

입력축(410)의 일측단은 스크루 기어(411)에 의하여 변속판(300)의 외주면에 형성된 구동 치열(320)들과 치차 결합된다.One end of the input shaft 410 is engaged with the drive teeth 320 formed on the outer circumferential surface of the transmission plate 300 by the screw gear 411.

변속판(300)이 폐달(200)의 회전에 의하여 회전됨에 따라 입력축(410) 역시 구동 치열(320)과 치차 결합된 스크루 기어(411)에 의하여 회전된다.The input shaft 410 is also rotated by the screw gear 411 engaged with the driving gear teeth 320 as the speed change plate 300 is rotated by the rotation of the dampers 200. [

스크루 기어(411)가 형성된 입력축(410)의 일측단과 대향하는 타측단에는 평기어(413)가 형성되며, 평기어(413)는 입력축(410)과 함께 회전된다.A spur gear 413 is formed at the other end opposite to one end of the input shaft 410 on which the screw gear 411 is formed and the spur gear 413 is rotated together with the input shaft 410.

본 발명의 일실시예에서, 링 기어(420)는 폭이 좁은 원통 형상으로 형성되며, 링 기어(420)의 외측면에는 외측 치열(421)이 형성되고 내측면에는 내측 치열(423)이 형성된다.In an embodiment of the present invention, the ring gear 420 is formed in a narrow cylindrical shape, and the ring gear 420 has an outer tooth row 421 formed on the outer side surface thereof and an inner row tooth row 423 formed on the inner side surface thereof do.

링 기어(420)의 외측면에 형성된 외측 치열(421)에는 입력축(410)의 상기 타측단에 형성된 평기어(413)가 치차 결합되며, 입력축(410)의 회전에 의하여 평기어(413)에 치차 결합된 링 기어(420)에는 회전력이 인가되고 이로 인해 링 기어(420)는 회전된다.A spur gear 413 formed on the other end of the input shaft 410 is engaged with the outer teeth 421 formed on the outer surface of the ring gear 420 and connected to the spur gear 413 by the rotation of the input shaft 410 A rotational force is applied to the toothed ring gear 420, which causes the ring gear 420 to rotate.

출력축(430)은 링 기어(420)의 내부에 배치되며, 출력축(430)의 일부는 링 기어(420)의 내부에 배치되고, 출력축(420)의 일부는 링 기어(420)의 외부에 배치된다.The output shaft 430 is disposed inside the ring gear 420 and a part of the output shaft 430 is disposed inside the ring gear 420 and a part of the output shaft 420 is disposed outside the ring gear 420 do.

출력축(430)은 링 기어(420)의 회전 중심에 배치되며, 출력축(430) 중 링 기어(420)의 내부에 배치된 부분에는 선 기어부(432)가 형성된다. 선기어부(432)는 출력축(430)의 외주면을 따라 형성된다.The output shaft 430 is disposed at the center of rotation of the ring gear 420 and a line gear portion 432 is formed at a portion of the output shaft 430 disposed inside the ring gear 420. The sun gear portion 432 is formed along the outer peripheral surface of the output shaft 430.

출력축(430)의 단부에는 베벨 기어 등이 결합되며, 출력축(430)으로부터 출력된 회전력은 후륜(120)으로 제공된다.A bevel gear or the like is coupled to an end of the output shaft 430 and a rotational force output from the output shaft 430 is provided to the rear wheel 120.

본 발명의 일실시예에서는 출력축(430)으로 출력된 회전력이 후륜(120)으로 인가되는 것이 도시 및 설명되고 있지만 이와 다르게 출력축(430)으로 출력된 회전력은 전륜(110)으로 제공되거나, 전륜(110) 및 후륜(120)에 모두 제공되어도 무방하다.The rotational force output to the output shaft 430 is shown as being applied to the rear wheel 120. Alternatively, the rotational force output to the output shaft 430 may be provided to the front wheel 110, 110 and the rear wheel 120, respectively.

피니언 기어(440)는 링 기어(420)의 내부에 배치되며, 피니언 기어(440)는 링 기어(420)의 내부에 복수개가 배치된다.The pinion gear 440 is disposed inside the ring gear 420 and a plurality of pinion gears 440 are disposed inside the ring gear 420.

본 발명의 일실시에에서, 피니언 기어(440)는 링 기어(420)의 내부에 3 개 또는 4 개가 배치될 수 있다.In one embodiment of the present invention, three or four pinion gears 440 may be disposed inside the ring gear 420.

각 피니언 기어(440)의 중심에는 관통홀이 형성되며 관통홀에는 피니언 기어(440)를 관통하는 관통홀에는 피니언 기어 축(442)이 결합된다.A through hole is formed in the center of each pinion gear 440 and a pinion gear shaft 442 is coupled to the through hole through the pinion gear 440 in the through hole.

본 발명의 일실시예에서는 4 개의 피니언 기어(440)들이 링 기어(420)의 내부에 배치된다.In the embodiment of the present invention, four pinion gears 440 are disposed inside the ring gear 420.

각 피니언 기어(440)의 외주면에 형성된 치열들은 링 기어(420)의 내부에 배치된 내측 치열(423) 및 출력축(430)에 형성된 선기어부(432)에 치차 결합된다.The teeth formed on the outer circumferential surface of each pinion gear 440 are meshed with an inner tooth train 423 disposed inside the ring gear 420 and a gear train section 432 formed on the output shaft 430.

피니언 기어(440)들은 후술될 캐리어에 의하여 링 기어(420)의 내부에서 고정된 상태에서 자전 또는 링 기어(420)의 내부에서 출력축(430)을 기준으로 출력축(430)에 대하여 공전된다.The pinion gears 440 are revolved with respect to the output shaft 430 in a state where the pinion gears 440 are fixed within the ring gear 420 by a carrier described later within the ring gear 420 or the output shaft 430.

도 5는 도 2의 캐리어 및 피니언 기어들을 도시한 사시도이다.5 is a perspective view showing the carrier and pinion gears of FIG. 2;

도 2 및 도 5를 참조하면, 캐리어(450)는 피니언 기어(440)들을 링 기어(420) 내부에서 자전 또는 공전 가능하게 고정한다.2 and 5, the carrier 450 rotatably or rotatably fixes the pinion gears 440 in the ring gear 420.

캐리어(450)는 제1 캐리어 몸체부(452) 및 제2 캐리어 몸체부(454)를 포함한다.The carrier 450 includes a first carrier body portion 452 and a second carrier body portion 454.

제1 캐리어 몸체부(452)는 원통 형상으로 형성되며, 제1 캐리어 몸체부(452)의 내부로는 출력축(430)이 삽입된다.The first carrier body portion 452 is formed in a cylindrical shape and the output shaft 430 is inserted into the first carrier body portion 452.

제1 캐리어 몸체부(452)의 일부는 링 기어(420)의 내부에 배치되고, 제1 캐리어 몸체부(452)의 일부는 링 기어(450)의 외부에 배치된다.A portion of the first carrier body portion 452 is disposed inside the ring gear 420 and a portion of the first carrier body portion 452 is disposed outside the ring gear 450.

링 기어(420)의 외부에 배치된 제1 캐리어 몸체부(452)에는 치열(453)이 형성된다.A teeth 453 is formed in the first carrier body portion 452 disposed outside the ring gear 420.

제2 캐리어 몸체부(454)는 제1 캐리어 몸체부(452)의 일부를 확장하여 형성되며, 제2 캐리어 몸체부(454)는 출력축(430)에 형성된 선 기어부(432)와 대응하는 위치에 형성된다.The second carrier body portion 454 is formed by extending a part of the first carrier body portion 452 and the second carrier body portion 454 is formed at a position corresponding to the line gear portion 432 formed on the output shaft 430 As shown in FIG.

제1 캐리어 몸체부(452)로부터 확장된 제2 캐리어 몸체부(454)에는 제1 개구(455)들이 형성되며, 제1 개구(455)들은 피니언 기어(440)들과 대응하는 위치에 형성된다.First openings 455 are formed in the second carrier body portion 454 extending from the first carrier body portion 452 and the first openings 455 are formed in positions corresponding to the pinion gears 440 .

제2 캐리어 몸체부(454)들에는 각각 피니언 기어(440)의 회전 중심에 결합된 피니언 기어 축(442)이 결합되는 홀(456)이 형성된다.The second carrier body portions 454 are each formed with a hole 456 to which a pinion gear shaft 442 coupled to the rotation center of the pinion gear 440 is coupled.

홀(456)에 피니언 기어(440)가 결합된 상태에서 피니언 기어(440)의 치열의 일부는 제2 캐리어 몸체부(454)의 제1 개구(455)들로부터 노출되고, 피니언 기어(440)의 치열은 출력축(430)에 형성된 선 기어부(432) 및 링 기어(420)의 내측 치열(423)에 각각 치차 결합된다.A part of the teeth of the pinion gear 440 is exposed from the first openings 455 of the second carrier body portion 454 in the state where the pinion gear 440 is coupled to the hole 456, Is meshed with the inner gear teeth 423 of the ring gear 420 and the sun gear portion 432 formed on the output shaft 430, respectively.

구동 기어(460)는 캐리어(450)를 정지 또는 회전시키며, 구동 기어(460)는 캐리어(450)를 출력축(430)의 회전 방향과 동일한 제1 방향 또는 출력축(430)의 회전 방향과 반대 방향인 제2 방향으로 회전시킨다.The driving gear 460 is connected to the output shaft 430 in a first direction that is the same as the rotational direction of the output shaft 430 or in a direction opposite to the rotating direction of the output shaft 430 In the second direction.

구동 기어(460)는, 예를 들어, 제2 캐리어 몸체부(454)에 대하여 수직한 방향으로 결합될 수 있다. 구동 기어(460)는, 스크루 기어, 평기어 등이 사용될 수 있으며, 이외에 회전 방향 및 회전수를 변경하는 다양한 웜 기어가 사용되어도 무방하다.The drive gear 460 may be coupled in a direction perpendicular to the second carrier body portion 454, for example. As the driving gear 460, a screw gear, a spur gear, or the like may be used, and in addition, various worm gears for changing the rotational direction and the rotational speed may be used.

본 발명의 일실시예에서, 입력축(410)에 인가된 회전력에 의하여 링 기어(420)가 회전됨에 따라 링 기어(420) 및 출력축(430)에 치차 결합된 피니언 기어(440)는 캐리어(450)에 고정된 상태로 회전된다.The pinion gear 440 meshed with the ring gear 420 and the output shaft 430 by the rotation of the ring gear 420 by the rotational force applied to the input shaft 410 is rotated by the carrier 450 As shown in Fig.

구동 기어(460)에 의하여 캐리어(450)가 고정되어 피니언 기어(440)가 공전 없이 자전만 할 경우 출력축(430)은 매우 빠른 속도로 회전된다.The output shaft 430 rotates at a very high speed when the carrier 450 is fixed by the driving gear 460 so that the pinion gear 440 only rotates without revolving.

반면, 구동 기어(460)가 회전되어 캐리어(450)가 출력축(430)의 회전 방향과 동일한 상기 제1 방향으로 회전될 경우 피니언 기어(440)가 출력축(430)의 주변을 공전하면서 출력축(430)의 회전수는 링 기어(420)의 회전수보다 낮은 회전수로 회전된다.The pinion gear 440 rotates around the output shaft 430 to rotate the output shaft 430 while rotating the drive gear 460 in the first direction which is the same as the rotation direction of the output shaft 430, Is rotated at a rotational speed lower than the rotational speed of the ring gear 420.

즉 본 발명의 일실시예에서는 구동 기어(460)에 의하여 캐리어(450)의 회전수 및 회전 방향을 조절함으로써 출력축(430)으로 출력되는 회전수 또는 회전력을 조절할 수 있다.That is, in one embodiment of the present invention, the number of revolutions or the rotational force output to the output shaft 430 can be adjusted by adjusting the number of revolutions and the direction of rotation of the carrier 450 by the driving gear 460.

정리하면, 링 기어 회전수가 동일할 경우 구동기어(460)가 캐리어(450)를 회전시키지 않을 경우 출력축(430)은 제1 회전수로 회전된다.In short, when the number of rotations of the ring gear is the same, when the drive gear 460 does not rotate the carrier 450, the output shaft 430 is rotated at the first rotation speed.

한편 링 기어 회전수가 동일할 경우 구동 기어(460)가 캐리어(450)를 상기 출력축과 동일한 방향인 제1 방향으로 회전시킬 경우 출력축(430)은 제1 회전수보다 낮은 제2 회전수로 회전된다.On the other hand, when the number of rotations of the ring gear is the same, when the driving gear 460 rotates the carrier 450 in the first direction which is the same direction as the output shaft, the output shaft 430 is rotated at the second rotation number lower than the first rotation number .

한편 링 기어 회전수가 동일할 경우 구동 기어(460)가 캐리어(450)를 상기 출력축과 반대 방향인 제2 방향으로 회전시킬 경우 출력축(430)은 제1 회전수보다 높은 제2 회전수로 회전된다.On the other hand, when the number of rotations of the ring gear is the same, when the driving gear 460 rotates the carrier 450 in the second direction opposite to the output shaft, the output shaft 430 is rotated at the second rotation number higher than the first rotation number .

회전수 변경 모듈(500)은 구동 기어(460)의 회전수를 조절 또는 변경하는 역할을 한다.The rotational speed changing module 500 controls or adjusts the rotational speed of the driving gear 460.

본 발명의 일실시예에서, 회전수 변경 모듈(500)은 구동 기어 축(510), 변속 기어(520) 및 위치 변경 유닛(530)을 포함한다.In one embodiment of the present invention, the speed change module 500 includes a drive gear shaft 510, a speed change gear 520, and a position change unit 530.

구동 기어 축(510)은 변속판(300) 및 구동 기어(460)를 상호 연결하는 역할을 한다.The drive gear shaft 510 serves to interconnect the speed change plate 300 and the drive gear 460.

본 발명의 일실시예에서, 구동 기어 축(510)의 일측단은 구동 기어(460)의 치열과 스크류 기어 등을 이용하여 의하여 상호 연결될 수 있고, 구동 기어 축(510)의 타측단은 변속판(300)을 통과하는 길이로 형성된다.One end of the drive gear shaft 510 can be interconnected by using the teeth of the drive gear 460 and a screw gear or the like and the other end of the drive gear shaft 510 is connected to the output shaft (300).

본 발명의 일실시예에서, 구동 기어 축(510)의 상기 일측단과 대향하는 타측단은 구동 기어(460)에 의하여 또는 구동 기어(460) 없이 스크루 기어 또는 평기어 등에 의하여 캐리어(450)의 제1 캐리어 몸체(452)에 형성된 치열(453)에 직접 결합될 수 있다.The other end of the driving gear shaft 510 opposite to the one end of the driving gear shaft 510 is connected to the carrier 450 by a driving gear 460 or by a screw gear or a spur gear without the driving gear 460. In this embodiment, 1 < / RTI > carrier body < RTI ID = 0.0 > 452. < / RTI >

본 발명의 일실시예에서, 구동 기어 축(510)은 2 개로 분할될 수 있고, 2개로 분할된 구동 기어 축(510)은 회전되면서 길이가 늘어나거나 줄어들 수 있다.In one embodiment of the present invention, the drive gear shaft 510 may be divided into two, and the two divided drive gear shafts 510 may be elongated or reduced in length while being rotated.

구동 기어 축(510)은, 예를 들어, 키(key) 및 키 홈을 이용하여 회전 되면서 길이가 늘어나거나 줄어들수 있도록 하는 것이 바람직하다. 예를들어, 2개로 분할된 구동 기어 축(510)의 일측에는 긴 길이의 키 홈을 형성하고, 구동 기어 축(510)의 타측에는 키 홈에 삽입되는 긴 길이의 키를 형성하여 구동 기어 축(510)이 회전되는 도중 길이가 늘어나거나 줄어들 수 있도록 할 수 있다.Preferably, the driving gear shaft 510 may be elongated or shortened while being rotated using, for example, a key and a key groove. For example, a long key groove may be formed on one side of the two divided driving gear shafts 510, and a long key inserted into the key groove may be formed on the other side of the driving gear shaft 510, It is possible to increase or decrease the length of the rotating shaft 510 during rotation.

변속 기어(520)는 구동 기어 축(510) 상에 복수개가 형성될 수 있으며, 변속 기어(520)는 구동 기어 축(510) 상에 치열 형태로 형성되며, 변속 기어(520)는 구동 기어 축(510)과 일체로 형성된다.A plurality of gears 520 may be formed on the driving gear shaft 510. The speed change gear 520 is formed in a denting shape on the driving gear shaft 510, (Not shown).

변속판(300)을 가로지는 구동 기어 축(510)에 형성되는 변속 기어(520)는 변속판(300)의 관통홀(303)을 기준으로 관통홀(303)의 양쪽에 각각 배치될 수 있다. 이는 구동 기어(460)를 상기 제1 방향 또는 상기 제1 방향과 반대인 상기 제2 방향으로 회전시켜 출력축(430)으로 출력되는 회전력 또는 회전수를 변경하기 위함이다.The transmission gear 520 formed on the driving gear shaft 510 across the transmission plate 300 may be disposed on both sides of the through hole 303 with respect to the through hole 303 of the transmission plate 300 . This is for rotating the driving gear 460 in the first direction or in the second direction opposite to the first direction to change the rotational force or the rotational speed output to the output shaft 430.

즉 변속 기어(520)들을 관통홀(303)을 기준으로 관통홀(303)의 양쪽에 각각 배치할 경우 구동 기어(460)를 출력축(430)의 회전 방향과 동일한 상기 제1 방향으로 회전시키는 저속 모드 또는 구동 기어(460)를 출력축(430)의 회전 방향과 반대인 상기 제2 방향으로 회전시키는 고속 모드가 가능하다.When the transmission gears 520 are disposed on both sides of the through hole 303 with respect to the through hole 303, the speed of the drive gear 460 in the first direction, which is the same as the direction of rotation of the output shaft 430, Mode or the high-speed mode in which the driving gear 460 is rotated in the second direction opposite to the rotation direction of the output shaft 430 is possible.

이하, 설명의 편의를 위하여 변속 기어(520)는 제1 변속 기어(522), 제2 변속 기어(524), 제3 변속 기어(526) 및 제4 변속 기어(528)로서 정의하기로 한다.Hereinafter, for the convenience of explanation, the speed change gear 520 is defined as a first speed change gear 522, a second speed change gear 524, a third speed change gear 526 and a fourth speed change gear 528. [

위치 변경 유닛(530)은 와이어 유닛(532) 및 조작부(535)를 포함한다.The position changing unit 530 includes a wire unit 532 and an operating unit 535. [

위치 변경 유닛(530)의 와이어 유닛(532)는 와이어를 이용하여 구동 기어 축(510) 중 어느 하나를 당기거나 밀어 구동 기어 축(510)에 형성된 복수개의 변속 기어(520)들 중 하나를 변속판(300)에 형성된 변속 치열(310)들 중 어느 하나에 결합시킨다.The wire unit 532 of the position changing unit 530 pulls or pushes one of the drive gear shafts 510 by using a wire to transmit one of the plurality of shift gears 520 formed on the drive gear shaft 510 And the transmission teeth 310 formed on the plate 300.

조작부(535)는 프레임에 장착되는 핸들 등에 장착되며, 와이어 유닛(532)에 장력을 인가하여 구동 기어 축(510)에 형성된 변속 기어(520)들의 위치를 조절한다.The operating portion 535 is mounted on a handle or the like mounted on the frame and applies tension to the wire unit 532 to adjust the position of the speed change gears 520 formed on the driving gear shaft 510.

본 발명의 일실시예에서, 와이어 유닛(532)에는 사용자의 선택에 의하여 장력이 가해진 와이어를 지정된 위치로 복귀 시킬 수 있는 스프링과 같은 탄성 부재가 배치될 수 있다.In one embodiment of the present invention, the wire unit 532 may be provided with an elastic member, such as a spring, which can return the tensioned wire to a designated position at the user's option.

이하 첨부된 도 6 내지 도 9를 참조하여 회전수 변경 모듈에 의한 자전거의 속도 변화를 설명하기로 한다.Hereinafter, the speed change of the bicycle by the speed change module will be described with reference to FIGS. 6 to 9 attached hereto.

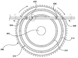
도 6 내지 도 9는 회전수 변경 모듈에 의한 자전거의 속도 변화를 설명하기 위한 변속판 및 변속 치열의 관계를 도시한 평면도이다.Figs. 6 to 9 are plan views showing the relationship between the speed change plate and the transmission gear teeth for explaining the speed change of the bicycle by the revolution number changing module. Fig.

도 6을 참조하면, 폐달(200)의 회전에 의하여 변속판(300)이 회전될 때 제1 변속 기어(522)는 변속 치열(310) 중 내측에 배치된 저속 변속 치열(312)에 치차 결합되고 나머지 제2 내지 제4 변속 기어(524,526,528)들은 변속 치열(310)에 치차 결합되지 않는다.6, when the transmission plate 300 is rotated by the rotation of the dampers 200, the first speed change gear 522 is engaged with the low speed transmission tooth array 312 disposed inside the transmission gear teeth 310, And the remaining second to fourth shift gears 524, 526, and 528 are not gear engaged with the transmission gear teeth 310.

도 6에 의하면, 저속 변속 치열(312)에 제1 변속 기어(522)가 결합됨에 따라 제1 변속 기어(522) 및 구동 기어 축(510)은 고속으로 회전되고 이로 인해 구동 기어(460)는 출력축(430)의 회전 방향과 동일한 상기 제1 방향으로 회전되고 이로 인해 사용자는 정지된 자전거를 적은 힘으로 출발시킬 수 있다.(1단 변속)6, the first speed change gear 522 and the drive gear shaft 510 are rotated at a high speed as the first speed change gear 522 is engaged with the low speed change gear tooth array 312, And is rotated in the first direction which is the same as the rotation direction of the output shaft 430, so that the user can start the stopped bicycle with little force.

도 7을 참조하면, 1단 변속 후 사용자가 자전거의 속력을 내기 위해서 조작부(535)를 조작할 경우 와이어 유닛(532)이 작동하여 구동 기어 축(510)은 회전되면서 이동되고, 이로 인해 제2 변속 기어(524)는 이동되면서 고속 변속 치열(314)에 치차 결합되고, 나머지 제1 변속 기어(522), 제3 및 제4 변속 기어(526,528)들은 변속 치열(310)에 치차 결합되지 않는다.Referring to FIG. 7, when the user operates the operation unit 535 to speed up the bicycle after the one-speed change, the wire unit 532 is operated and the drive gear shaft 510 is rotated and moved, The shift gear 524 is engaged with the high speed transmission gear train 314 while being moved and the remaining first speed change gear 522 and the third and fourth speed change gears 526 and 528 are not engaged with the transmission gear teeth 310.

도 7에 의하면, 고속 변속 치열(312)에 제2 변속 기어(524)가 결합됨에 따라 제2 변속 기어(524) 및 구동 기어 축(510) 역시 도 6에 비하여 낮은 회전수로 회전되고 따라서 구동 기어(460)의 회전수가 감소됨에 따라 출력축(430)은 보다 빠른 회전수로 회전되어 자전거는 제1 속도로 이동된다.(2단 변속)7, the second speed change gear 524 and the drive gear shaft 510 are also rotated at a lower rotation speed than that of FIG. 6 as the second speed change gear 524 is coupled to the high speed transmission gear train 312, As the number of rotations of the gear 460 is reduced, the output shaft 430 is rotated at a higher rotation speed, and the bicycle is moved at the first speed.

도 8을 참조하면, 사용자가 자전거를 제1 속도로 이동시킨 후 적은 힘으로 보다 높은 속력을 내기 위해서 조작부(535)를 조작할 경우 제3 변속 기어(526)는 변속 치열(310) 중 내측에 배치된 저속 변속 치열(312)에 치차 결합되고 나머지 제1 및 제2 변속 기어 및 제4 변속 기어(522,524,528)들은 변속 치열(310)에 치차 결합되지 않는다. 제3 변속 기어(526)는 변속판(300)의 관통홀(303)을 기준으로 제1 및 제2 변속 기어(522,524)의 맞은편에 배치된다.Referring to FIG. 8, when the user operates the operation unit 535 to move the bicycle at the first speed and to increase the speed with less force, the third speed change gear 526 is located inside the speed shift tooth 310 And the remaining first and second shift gears and fourth shift gears 522, 524, and 528 are not engaged with the shift tooth train 310. In this case, The third speed change gear 526 is disposed on the opposite side of the first and second speed change gears 522 and 524 with respect to the through hole 303 of the speed change plate 300.

도 8에 의하면, 저속 변속 치열(312)에 제3 변속 기어(526)가 결합됨에 따라 제3 변속 기어(526)는 도 6 및 도 7의 구동 기어 축(510)의 회전 방향과 반대 방향으로 고속 회전되고 이로 인해 구동 기어 축(510) 역시 도 6 및 도 7의 구동 기어 축(510)의 회전 방향과 반대 방향으로 고속 회전되면서 구동 기어(460)를 출력축(430)의 회전 방향과 반대인 상기 제2 방향으로 고속 회전시키고 이로 인해 사용자는 자전거를 적은 힘으로 자전거를 제1 속도보다 빠른 제2 속도로 이동시킬 수 있다.(3단 변속)8, the third speed change gear 526 is coupled to the low speed shift tooth train 312 in a direction opposite to the rotation direction of the drive gear shaft 510 of FIGS. 6 and 7 The driving gear shaft 510 is also rotated at a high speed in a direction opposite to the rotating direction of the driving gear shaft 510 of FIGS. 6 and 7 so that the driving gear 460 is rotated in a direction opposite to the rotating direction of the output shaft 430 The user is able to move the bicycle at a second speed higher than the first speed with a small force. (3-speed)

도 9를 참조하면, 사용자가 자전거를 상기 제2 속도로 이동하는 도중 적은 힘으로 최고 속력을 내기 위해서 조작부(535)를 조작함에 따라 와이어 유닛(532)이 작동하여 구동 기어 축(510)이 회전되면서 이동되고, 이로 인해 제4 변속 기어(528)는 고속 변속 치열(314)에 치차 결합되고, 나머지 제1 내지 제3 변속 기어(522,524,526)들은 변속 치열(310)에 치차 결합되지 않는다.Referring to FIG. 9, as the user operates the operating unit 535 to operate the operating unit 535 at a maximum speed while moving the bicycle at the second speed, the wire unit 532 operates to rotate the driving gear shaft 510 So that the fourth speed change gear 528 is engaged with the high speed speed shift tooth train 314 while the other first to third speed change gears 522, 524, 526 are not engaged with the speed shift tooth 310.

제4 변속 기어(528)는 변속판(300)의 관통홀(303)을 기준으로 제1 및 제2 변속 기어(522,524)의 맞은편에 배치되며 제3 변속 기어(526)와 인접하게 배치된다.The fourth speed change gear 528 is disposed on the opposite side of the first and second speed change gears 522 and 524 with respect to the through hole 303 of the speed change plate 300 and is disposed adjacent to the third speed change gear 526 .

도 9에 의하면, 고속 변속 치열(312)에 제4 변속 기어(528)가 결합됨에 따라 제4 변속 기어(528)는 도 8에 비하여 보다 저속으로 회전되고, 이로 인해 구동 ㄱ기어 축(510) 역시 도 8에 비하여 저속으로 회전되면서 구동 기어(460)를 출력축(430)과 반대인 상기 제2 방향으로 보다 저속으로 회전되고 결과적으로 자전거를 최고 속도인 제3 속도로 이동시킬 수 있다.(4단 변속)9, the fourth speed change gear 528 is rotated at a lower speed than that of Fig. 8 as the fourth speed change gear 528 is engaged with the high speed speed shift tooth train 312, 8, the driving gear 460 is rotated at a lower speed in the second direction opposite to the output shaft 430, and consequently the bicycle can be moved at the third speed, which is the maximum speed. Speed)

비록 본 발명의 일실시예에서는 4단 변속되는 기술이 설명되고 있지만 변속판(300)에 형성되는 변속 치열(310)의 개수를 증가 및 변속판(300)에 형성되는 변속 치열(310)의 사이즈를 변경함으로써 4단 변속 이상의 변속을 구현할 수 있다.Although the four-speed shifting technique is described in the embodiment of the present invention, the number of shift teeth 310 formed on the speed change plate 300 is increased and the size of the speed change teeth 310 formed on the speed change plate 300 Speed shift or more can be implemented.

반대로 사용자가 자전거의 속도를 줄이거나 오르막길 등을 오르기 위해서 사용자는 조작부(535)를 조절하여 제1 내지 제4 변속 기어(522,524,526,528)의 위치를 변속 치열(310)들 중 어느 하나와 치차 결합함으로써 자전거의 속도를 줄이면서 토크를 증가시켜 보다 적은 힘으로 오르막길 등을 이동할 수 있다.On the contrary, in order to reduce the speed of the bicycle or to climb the uphill road, the user adjusts the operating unit 535 to gear the first to fourth shift gears 522, 524, 526, 528 to any one of the shift tooth rows 310, It is possible to increase the torque while moving the uphill road with a smaller force.

비록 본 발명의 일실시에에서 회전수 변경 모듈은 구동 기어 축, 변속 기어 및 위치 변경 유닛을 이용하여 구동 기어의 회전수 및 회전 방향을 변경하지만 이와 다르게 회전수 변경 모듈은 구동 기어에 회전력을 직접 인가하는 모터 및 상기 모터의 회전수를 제어하기 위해 상기 프레임의 손잡이에 형성된 조작부를 포함하여도 무방하다. In one embodiment of the present invention, the rotational speed changing module changes the rotational speed and the rotational direction of the drive gear using the drive gear shaft, the shift gear, and the position changing unit, And an operation unit provided on the handle of the frame for controlling the number of revolutions of the motor.

이상에서 상세하게 설명한 바에 의하면, 본 발명은 주행을 위한 스프로킷 휠 및 체인없이 주행이 가능하며, 스프로킷 휠 및 체인을 이용하지 않고 주행중 다단 변속이 가능한 효과를 갖는다.As described in detail above, the present invention is capable of traveling without a sprocket wheel and a chain for traveling, and has an effect of enabling a multi-stage shifting during traveling without using a sprocket wheel and a chain.

한편, 본 도면에 개시된 실시예는 이해를 돕기 위해 특정 예를 제시한 것에 지나지 않으며, 본 발명의 범위를 한정하고자 하는 것은 아니다. 여기에 개시된 실시예 이외에도 본 발명의 기술적 사상에 바탕을 둔 다른 변형예들이 실시 가능하다는 것은, 본 발명이 속하는 기술분야에서 통상의 지식을 가진 자에게는 자명한 것이다.It should be noted that the embodiments disclosed in the drawings are merely examples of specific examples for the purpose of understanding, and are not intended to limit the scope of the present invention. It will be apparent to those skilled in the art that other modifications based on the technical idea of the present invention are possible in addition to the embodiments disclosed herein.

100...자전거 몸체 200...폐달
300...변속판 400...변속 유닛
500...회전수 변경 모듈 600...케이스
100 ... Bicycle body 200 ... Bump
300 ... transmission plate 400 ... transmission unit
500 ... rotation number change module 600 ... case

Claims (10)

프레임에 회전 가능하게 고정된 전륜 및 후륜을 포함하는 자전거 몸체;
상기 프레임에 고정되어 회전되는 폐달;
상기 폐달과 함께 회전되며, 표면에 동심원 상으로 형성된 복수개의 변속 치열들 및 외주면에 구동 치열이 형성된 변속판;
상기 구동 치열과 결합되어 회전력을 전달받는 입력축, 상기 입력축에 의하여 회전되는 링 기어, 상기 링 기어 내부에 배치되며 선기어가 형성되며 상기 후륜에 결합되는 출력축, 상기 링 기어의 내측 치열 및 상기 선기어와 결합되는 피니언 기어들, 상기 피니언 기어들을 결합하는 캐리어 및 상기 캐리어에 치차 결합된 구동 기어를 포함하는 변속 유닛; 및
상기 구동 기어의 회전 방향 및 상기 구동 기어의 회전수를 변경하는 회전수 변경 모듈을 포함하는 다단 변속 자전거.
A bicycle body including front and rear wheels rotatably fixed to the frame;
A pendulum fixedly rotated on the frame;
A speed change plate rotated together with the tread and having a plurality of shifting teeth formed concentrically on the surface thereof and a drive tooth array formed on an outer circumferential surface thereof;
A ring gear rotatable by the input shaft, an output shaft disposed inside the ring gear and formed of a sun gear and coupled to the rear wheel, an inner gear teeth of the ring gear, and a sun gear coupled to the sun gear A transmission unit including a pinion gears, a carrier coupling the pinion gears, and a drive gear meshed with the carrier; And
And a rotation number changing module for changing the rotation direction of the drive gear and the rotation number of the drive gear.
제1항에 있어서,
상기 변속 치열들은 서로 다른 직경으로 형성된 다단 변속 자전거.
The method according to claim 1,
Wherein the speed changing teeth are formed at different diameters.
제1항에 있어서,
상기 입력축의 일측단에는 상기 구동 치열과 결합되는 스크루 기어가 형성되고, 상기 입력축의 상기 일측단과 대향하는 타측단에는 상기 링 기어의 외측 치열과 결합되는 평기어가 형성된 다단 변속 자전거.
The method according to claim 1,
And a spur gear engaged with the outside teeth of the ring gear is formed at the other end opposite to the one end of the input shaft.
제1항에 있어서,
상기 출력축 및 상기 후륜은 베벨 기어로 결합되어 상기 출력축의 회전에 의하여 상기 후륜이 구동되는 다단 변속 자전거.
The method according to claim 1,
Wherein the output shaft and the rear wheel are coupled with a bevel gear, and the rear wheel is driven by rotation of the output shaft.
제1항에 있어서,
상기 회전수 변경 모듈은 일측단이 상기 구동 기어에 치차 결합된 구동 기어 축, 상기 구동 기어 축에 복수개가 형성되며 상기 변속 치열들 중 어느 하나에 치차 결합되는 변속 기어들 및 상기 구동 기어 축을 이동시켜 상기 변속 기어들 중 어느 하나를 상기 변속 치열에 치차 결합시키기 위한 위치 변경 유닛을 포함하는 다단 변속 자전거.
The method according to claim 1,
Wherein the rotation speed changing module includes a drive gear shaft having one end coupled to the drive gear, a plurality of transmission gears formed on the drive gear shaft, the change gears being coupled to one of the shift teeth, And a position changing unit for gearing one of the shift gears to the shift tooth train.
제5항에 있어서,
상기 구동 기어 축은 원주 방향으로 회전 및 길이 방향으로 신축이 가능하도록 적어도 2 개가 결합되며,
상기 위치 변경 유닛은 2개로 이루어진 상기 구동 기어 축 중 어느 하나를 와이어로 당기거나 미는 와이어 유닛 및 상기 와이어 유닛을 구동하기 위해 상기 프레임의 손잡이에 결합된 조작부를 포함하는 다단 변속 자전거.
6. The method of claim 5,
At least two driving gear shafts are coupled so as to be rotatable in the circumferential direction and extendable and contractible in the longitudinal direction,
Wherein the position changing unit includes a wire unit for pulling or pushing any one of the two drive gear shafts by a wire and an operating portion coupled to a handle of the frame for driving the wire unit.
제6항에 있어서,
상기 와이어 유닛은 상기 와이어에 복원력을 제공하는 탄성 부재를 포함하는 다단 변속 자전거.
The method according to claim 6,
Wherein the wire unit includes an elastic member that provides restoring force to the wire.
제5항에 있어서,
상기 구동 기어 축은 상기 변속판을 가로 지르는 길이로 형성된 다단 변속 자전거.
6. The method of claim 5,
And the drive gear shaft is formed to have a length across the speed change plate.
제1항에 있어서,
상기 변속 치열은 상기 폐달과 인접하게 배치된 저속 변속 치열 및 상기 저속 변속 치열의 외측에 배치된 고속 변속 치열을 포함하는 다단 변속 자전거.
The method according to claim 1,
Wherein the transmission dentition includes a low-speed shifting tooth arranged adjacent to the pulley and a high-speed shifting teeth disposed outside the low-speed shifting tooth.
제1항에 있어서,
상기 회전수 변경 모듈은 상기 구동 기어에 회전력을 인가하는 모터 및 상기 모터의 회전수를 제어하기 위해 상기 프레임의 손잡이에 형성된 조작부를 포함하는 다단 변속 자전거.
The method according to claim 1,
Wherein the rotation speed changing module includes a motor for applying a rotational force to the driving gear and an operating portion formed on a handle of the frame for controlling the rotational speed of the motor.
KR1020150171296A 2015-12-03 2015-12-03 Muti-range bycycle Expired - Fee Related KR101793789B1 (en)

Priority Applications (1)

Application Number Priority Date Filing Date Title
KR1020150171296A KR101793789B1 (en) 2015-12-03 2015-12-03 Muti-range bycycle

Applications Claiming Priority (1)

Application Number Priority Date Filing Date Title
KR1020150171296A KR101793789B1 (en) 2015-12-03 2015-12-03 Muti-range bycycle

Publications (2)

Publication Number Publication Date
KR20170065181A true KR20170065181A (en) 2017-06-13
KR101793789B1 KR101793789B1 (en) 2017-11-03

Family

ID=59218625

Family Applications (1)

Application Number Title Priority Date Filing Date
KR1020150171296A Expired - Fee Related KR101793789B1 (en) 2015-12-03 2015-12-03 Muti-range bycycle

Country Status (1)

Country Link
KR (1) KR101793789B1 (en)

Cited By (1)

* Cited by examiner, † Cited by third party
Publication number Priority date Publication date Assignee Title
WO2018124341A1 (en) * 2016-12-29 2018-07-05 하태환 Multi-stage transmission bicycle

Cited By (1)

* Cited by examiner, † Cited by third party
Publication number Priority date Publication date Assignee Title
WO2018124341A1 (en) * 2016-12-29 2018-07-05 하태환 Multi-stage transmission bicycle

Also Published As

Publication number Publication date
KR101793789B1 (en) 2017-11-03

Similar Documents

Publication Publication Date Title
US9657822B2 (en) Input synthesis gear system
TWI667171B (en) Electrical bicycle derailleur
US20160052595A1 (en) Vehicle operable by motor power and by muscular power
US10343748B2 (en) Electronic rear derailleur for bicycle
KR20090087179A (en) Power transmission device using planetary gears with multiple gear trains and its use method
US20170030436A1 (en) Continuously variable transmission
DK202300065A1 (en) Electric Pedal Assist Bicycle Powertrain
KR101793789B1 (en) Muti-range bycycle
CN110382341A (en) Multistage speed-changing bicycle
US10800486B2 (en) Damping transmission device
JP2007146986A (en) Gear shift device for bicycle
EP3333455A1 (en) Damping transmission device
KR100915378B1 (en) Speed change hub for bicycle
KR102147025B1 (en) Nonstep variable speed gear for bike
KR20170036189A (en) Chainless transmission mechanism for bicycle
KR101357714B1 (en) Planetary gear transmission using latch gear
KR101321967B1 (en) Transmission
KR100906786B1 (en) Speed change hub for bicycle
KR100956067B1 (en) Power transmission for bicycle
KR20110117757A (en) Hub-type continuously variable transmission and drive wheel including the same
KR200433316Y1 (en) Power Train of Unchained Bikes
CN110118244A (en) Bicycle bidirectional transmission device
KR20140121692A (en) Power transmission device for bicycle and accelerating device
KR20100095213A (en) The front-wheel-drive bicycle and the gear which facilitate changing the direction of power transmission in a bicycle, motorcycle, automobile, robot, and machine
WO2010092215A1 (en) Movement transmission system for velocipedes

Legal Events

Date Code Title Description
A201 Request for examination
PA0109 Patent application

St.27 status event code: A-0-1-A10-A12-nap-PA0109

PA0201 Request for examination

St.27 status event code: A-1-2-D10-D11-exm-PA0201

P11-X000 Amendment of application requested

St.27 status event code: A-2-2-P10-P11-nap-X000

P13-X000 Application amended

St.27 status event code: A-2-2-P10-P13-nap-X000

E902 Notification of reason for refusal
PE0902 Notice of grounds for rejection

St.27 status event code: A-1-2-D10-D21-exm-PE0902

P11-X000 Amendment of application requested

St.27 status event code: A-2-2-P10-P11-nap-X000

P13-X000 Application amended

St.27 status event code: A-2-2-P10-P13-nap-X000

PG1501 Laying open of application

St.27 status event code: A-1-1-Q10-Q12-nap-PG1501

E701 Decision to grant or registration of patent right
PE0701 Decision of registration

St.27 status event code: A-1-2-D10-D22-exm-PE0701

PR0701 Registration of establishment

St.27 status event code: A-2-4-F10-F11-exm-PR0701

PR1002 Payment of registration fee

St.27 status event code: A-2-2-U10-U11-oth-PR1002

Fee payment year number: 1

PG1601 Publication of registration

St.27 status event code: A-4-4-Q10-Q13-nap-PG1601

P22-X000 Classification modified

St.27 status event code: A-4-4-P10-P22-nap-X000

PC1903 Unpaid annual fee

St.27 status event code: A-4-4-U10-U13-oth-PC1903

Not in force date: 20201031

Payment event data comment text: Termination Category : DEFAULT_OF_REGISTRATION_FEE

PC1903 Unpaid annual fee

St.27 status event code: N-4-6-H10-H13-oth-PC1903

Ip right cessation event data comment text: Termination Category : DEFAULT_OF_REGISTRATION_FEE

Not in force date: 20201031