KR20170015266A - 와이어 하네스용 자동 검사 시험 장치 및 이를 포함하는 와이어 하네스용 자동 검사 시험 시스템 - Google Patents

와이어 하네스용 자동 검사 시험 장치 및 이를 포함하는 와이어 하네스용 자동 검사 시험 시스템 Download PDF

Info

Publication number
KR20170015266A
KR20170015266A KR1020160098185A KR20160098185A KR20170015266A KR 20170015266 A KR20170015266 A KR 20170015266A KR 1020160098185 A KR1020160098185 A KR 1020160098185A KR 20160098185 A KR20160098185 A KR 20160098185A KR 20170015266 A KR20170015266 A KR 20170015266A
Authority
KR
South Korea
Prior art keywords
wire harness
support plate
module
automatic inspection
relay
Prior art date
Legal status (The legal status is an assumption and is not a legal conclusion. Google has not performed a legal analysis and makes no representation as to the accuracy of the status listed.)
Granted
Application number
KR1020160098185A
Other languages
English (en)
Other versions
KR101823001B1 (ko
Inventor
허영문
Original Assignee
주식회사 이에이치씨에스
Priority date (The priority date is an assumption and is not a legal conclusion. Google has not performed a legal analysis and makes no representation as to the accuracy of the date listed.)
Filing date
Publication date
Application filed by 주식회사 이에이치씨에스 filed Critical 주식회사 이에이치씨에스
Publication of KR20170015266A publication Critical patent/KR20170015266A/ko
Application granted granted Critical
Publication of KR101823001B1 publication Critical patent/KR101823001B1/ko
Expired - Fee Related legal-status Critical Current
Anticipated expiration legal-status Critical

Links

Images

Classifications

    • GPHYSICS
    • G01MEASURING; TESTING
    • G01RMEASURING ELECTRIC VARIABLES; MEASURING MAGNETIC VARIABLES
    • G01R31/00Arrangements for testing electric properties; Arrangements for locating electric faults; Arrangements for electrical testing characterised by what is being tested not provided for elsewhere
    • G01R31/50Testing of electric apparatus, lines, cables or components for short-circuits, continuity, leakage current or incorrect line connections
    • G01R31/58Testing of lines, cables or conductors
    • GPHYSICS
    • G01MEASURING; TESTING
    • G01RMEASURING ELECTRIC VARIABLES; MEASURING MAGNETIC VARIABLES
    • G01R31/00Arrangements for testing electric properties; Arrangements for locating electric faults; Arrangements for electrical testing characterised by what is being tested not provided for elsewhere
    • G01R31/01Subjecting similar articles in turn to test, e.g. "go/no-go" tests in mass production; Testing objects at points as they pass through a testing station
    • GPHYSICS
    • G01MEASURING; TESTING
    • G01RMEASURING ELECTRIC VARIABLES; MEASURING MAGNETIC VARIABLES
    • G01R27/00Arrangements for measuring resistance, reactance, impedance, or electric characteristics derived therefrom
    • G01R27/02Measuring real or complex resistance, reactance, impedance, or other two-pole characteristics derived therefrom, e.g. time constant
    • GPHYSICS
    • G01MEASURING; TESTING
    • G01RMEASURING ELECTRIC VARIABLES; MEASURING MAGNETIC VARIABLES
    • G01R31/00Arrangements for testing electric properties; Arrangements for locating electric faults; Arrangements for electrical testing characterised by what is being tested not provided for elsewhere
    • G01R31/327Testing of circuit interrupters, switches or circuit-breakers

Landscapes

  • Physics & Mathematics (AREA)
  • General Physics & Mathematics (AREA)
  • Testing Of Short-Circuits, Discontinuities, Leakage, Or Incorrect Line Connections (AREA)

Abstract

와이어 하네스용 자동 검사 시험 장치가 제공된다. 본 발명의 일 실시예에 따른 와이어 하네스용 자동 검사 시험 장치는, 전도성 바디부와 상기 전도성 바디부에 연결된 적어도 하나의 와이어 하네스(wire harness)를 포함하는 와이어 하네스 모듈에 대한 불량 여부를 검사할 수 있는 와이어 하네스용 자동 검사 시험 장치로서, 상기 와이어 하네스의 일단은 상기 전도성 바디부에 연결되고 상기 와이어 하네스의 타단에는 커넥터가 결합되어 있는 것인, 와이어 하네스용 자동 검사 시험 장치에 있어서, 상기 와이어 하네스 모듈을 배치시킬 수 있는 제1 지지판으로서, 상기 제1 지지판은 상기 와이어 하네스 모듈과 전기적으로 연결될 수 있는 복수의 연결선을 포함하고, 상기 제1 지지판은 상기 와이어 하네스 모듈과 연결되는 영역별로 적어도 2개 이상의 연결선을 통해 상기 와이어 하네스 모듈과 연결되는 것인, 제1 지지판; 스위칭 동작에 의해 상기 제1 지지판의 각 연결선과의 연결 여부가 정해지는 릴레이(relay); 및 상기 릴레이 내의 스위칭 동작을 제어하는 제어 모듈로서, 상기 제어 모듈은 상기 와이어 하네스 모듈의 복수의 영역에 대하여 저항 측정이 가능하도록 상기 릴레이 내의 스위칭 동작을 제어하는 것인, 제어 모듈을 포함한다.

Description

와이어 하네스용 자동 검사 시험 장치 및 이를 포함하는 와이어 하네스용 자동 검사 시험 시스템{AUTOMATIC INSPECTING AND TESTING APPARATUS FOR WIRE HARNESS AND AUTOMATIC INSPECTING AND TESTING SYSTEM COMPRISING THE SAME}
본 발명은 와이어 하네스용 자동 검사 시험 장치 및 이를 포함하는 와이어 하네스용 자동 검사 시험 시스템에 관한 것으로, 보다 자세하게는 와이어 하네스 모듈에 대한 자동 검사가 가능한 와이어 하네스용 자동 검사 시험 장치 및 이를 포함하는 와이어 하네스용 자동 검사 시험 시스템에 관한 것이다.
최근 에너지의 효율적인 관리 및 사용이라는 관점에서 ESS(Energy Storage System) 또는 ESS 컨테이너에 대한 관심이 늘어나고 있다. ESS를 제조하기 위해서 ESS용 와이어 하네스 모듈 또는 ESS용 와이어 하네스가 사용되는데, ESS용 와이어 하네스 모듈 또는 ESS용 와이어 하네스가 불량인 경우에는 ESS의 효율에 부정적인 영향을 미칠 수 있다. 따라서, ESS용 와이어 하네스 모듈 또는 ESS용 와이어 하네스가 양품인지 여부에 대하여 사전에 검사를 진행한다.
일반적으로 와이어 하네스 모듈 또는 와이어 하네스에 대한 검사는 검사자의 수작업에 의해 진행되며, 검사자가 와이어 하네스 모듈에서 저항을 측정하고자 하는 포인트에 일일이 프로브를 갖다대는 방식으로 검사가 진행될 수 있다.
와이어 하네스 모듈 또는 와이어 하네스에 대한 검사가 수작업에 의해 진행되면 검사에 많은 시간이 소요된다. 더욱이, 하나의 와이어 하네스 모듈 또는 와이어 하네스에서 저항을 측정하고자 하는 검사 포인트의 수가 늘어나거나, 검사 순서가 복잡하거나, 각각의 와이어 하네스 모듈 또는 각각의 와이어 하네스에 따라 검사 포인트가 제각각인 경우가 많기 때문에, 비숙련자가 와이어 하네스 모듈 또는 와이어 하네스에 대한 검사를 진행하는 경우 검사에 소요되는 시간이 늘어나게 된다.
따라서, 와이어 하네스 모듈 또는 와이어 하네스에 대한 검사를 자동화시킴으로써 검사를 위해 필요한 시간 및 비용을 절감시키는 것이 절실한 상황이다.
위와 같은 문제점으로부터 안출된 본 발명이 해결하고자 하는 기술적 과제는, 와이어 하네스 모듈 또는 와이어 하네스에 대한 검사가 자동적으로 수행됨에 따라 검사를 위해 필요한 시간 및 비용을 절감시킬 수 있는 와이어 하네스용 자동 검사 시험 장치 및 이를 포함하는 와이어 하네스용 자동 검사 시험 시스템을 제공하고자 하는 것이다.
본 발명이 해결하고자 하는 다른 기술적 과제는, 제1 지지판과 와이어 하네스 모듈(또는 와이어 하네스) 사이의 연결 영역별로 적어도 2개 이상의 연결선이 연결되기 때문에, 각 영역에 대하여 적어도 2개 이상의 연결선을 이용하여 와이어 하네스 모듈 또는 와이어 하네스에 대한 검사를 수행하기 때문에, 저항 수치 측정 정확도 및 정밀도를 높일 수 있는 와이어 하네스용 자동 검사 시험 장치 및 이를 포함하는 와이어 하네스용 자동 검사 시험 시스템을 제공하고자 하는 것이다.
본 발명이 해결하고자 하는 또 다른 기술적 과제는, 와이어 하네스 모듈(또는 와이어 하네스)과 연결되는 연결핀과 연결선을 고정 배치시킴으로써 동일한 종류의 와이어 하네스 모듈(또는 와이어 하네스)에 대하여 손쉽게 반복 측정이 가능한 와이어 하네스용 자동 검사 시험 장치 및 이를 포함하는 와이어 하네스용 자동 검사 시험 시스템을 제공하고자 하는 것이다.
본 발명의 기술적 과제들은 이상에서 언급한 기술적 과제들로 제한되지 않으며, 언급되지 않은 또 다른 기술적 과제들은 아래의 기재로부터 당업자에게 명확하게 이해될 수 있을 것이다.
상기 언급된 기술적 과제들을 해결하기 위한, 본 발명의 일 실시예에 따른 와이어 하네스용 자동 검사 시험 장치는, 전도성 바디부와 상기 전도성 바디부에 연결된 적어도 하나의 와이어 하네스(wire harness)를 포함하는 와이어 하네스 모듈에 대한 불량 여부를 검사할 수 있는 와이어 하네스용 자동 검사 시험 장치로서, 상기 와이어 하네스의 일단은 상기 전도성 바디부에 연결되고 상기 와이어 하네스의 타단에는 커넥터가 결합되어 있는 것인, 와이어 하네스용 자동 검사 시험 장치에 있어서, 상기 와이어 하네스 모듈을 배치시킬 수 있는 제1 지지판으로서, 상기 제1 지지판은 상기 와이어 하네스 모듈과 전기적으로 연결될 수 있는 복수의 연결선을 포함하고, 상기 제1 지지판은 상기 와이어 하네스 모듈과 연결되는 영역별로 적어도 2개 이상의 연결선을 통해 상기 와이어 하네스 모듈과 연결되는 것인, 제1 지지판; 스위칭 동작에 의해 상기 제1 지지판의 각 연결선과의 연결 여부가 정해지는 릴레이(relay); 및 상기 릴레이 내의 스위칭 동작을 제어하는 제어 모듈로서, 상기 제어 모듈은 상기 와이어 하네스 모듈의 복수의 영역에 대하여 저항 측정이 가능하도록 상기 릴레이 내의 스위칭 동작을 제어하는 것인, 제어 모듈을 포함한다.
상기 언급된 기술적 과제들을 해결하기 위한, 본 발명의 다른 실시예에 따른 와이어 하네스용 자동 검사 시험 시스템은, 와이어 하네스용 자동 검사 시험 장치; 상기 와이어 하네스용 자동 검사 시험 장치와 연결되어 상기 와이어 하네스 모듈에 대한 저항을 측정하는 저항 측정기; 및 상기 와이어 하네스용 자동 검사 시험 장치를 제어하는 제어 단말로서, 상기 제어 모듈에 대한 제어가 가능한 것인, 제어 단말을 포함한다.
상기와 같은 본 발명에 따르면 다음에 기재된 효과를 얻을 수 있지만, 본 발명에 따라 얻을 수 있는 효과는 이에 제한되지 않는다.
첫째, 본 발명에 따르면, 와이어 하네스 모듈(또는 와이어 하네스)에 대한 검사가 자동적으로 수행됨에 따라 검사를 위해 필요한 시간 및 비용을 절감시킬 수 있다.
둘째로, 본 발명에 따르면, 제1 지지판과 와이어 하네스 모듈 사이의 연결 영역별로 적어도 2개 이상의 연결선이 연결되기 때문에, 각 영역에 대하여 적어도 2개 이상의 연결선을 이용하여 와이어 하네스 모듈에 대한 검사를 수행하기 때문에, 저항 수치 측정 정확도 및 정밀도를 높일 수 있다.
셋째로, 본 발명에 따르면, 와이어 하네스 모듈과 연결되는 제1 연결선과 제2 연결선을 고정 배치시킴으로써 동일한 종류의 와이어 하네스 모듈에 대하여 손쉽게 반복 측정이 가능할 수 있다.
넷째로, 본 발명에 따르면, 저항 수치는 측정 포인트 사이의 거리에 민감하게 변화하기 때문에, 와이어 하네스 모듈과 연결되는 제1 연결선과 제2 연결선을 고정 배치시킴으로써 저항 수치 측정 정확도 및 정밀도를 높일 수 있다.
다섯째로, 본 발명에 따르면, 와이어 하네스 모듈과 연결되는 제1 지지판이 와이어 하네스용 자동 검사 시험 장치로부터 착탈 가능하기 때문에, 와이어 하네스 모듈의 종류에 따라 적합한 제1 지지판을 선택하여 와이어 하네스 자동 검사를 수행할 수 있으므로, 검사의 효율성 및 정확성이 높아질 수 있다.
도 1은 와이어 하네스 모듈의 개략적인 구성을 나타낸 도면이다.
도 2는 도 1의 와이어 하네스 모듈을 세부적으로 표현한 도면이다.
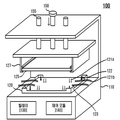
도 3은 본 발명의 일 실시예에 따른 와이어 하네스용 자동 검사 시험 장치의 개략적인 구성을 나타내는 도면이다.
도 4는 도 3의 와이어 하네스용 자동 검사 시험 장치에서 제2 지지판이 하강한 상태를 나타내는 도면이다.
도 5는 도 3의 와이어 하네스용 자동 검사 시험 장치에 도 1의 와이어 하네스 모듈을 위치시킨 도면이다.
도 6는 본 발명의 다른 실시예에 따른 와이어 하네스용 자동 검사 시험 장치의 개략적인 구성을 나타내는 도면이다.
도 7은 본 발명의 일 실시예에 따른 와이어 하네스용 자동 검사 시험 시스템의 개략적인 구성을 나타내는 도면이다.
도 8은 본 발명의 다른 실시예에 따른 와이어 하네스용 자동 검사 시험 시스템의 개략적인 구성을 나타내는 도면이다.
도 9 및 도 10은 와이어 하네스의 실시예를 나타내는 도면이다.
이하, 첨부된 도면을 참조하여 본 발명의 바람직한 실시예를 상세히 설명한다. 본 발명의 이점 및 특징, 그리고 그것들을 달성하는 방법은 첨부되는 도면과 함께 상세하게 후술되어 있는 실시예들을 참조하면 명확해질 것이다. 그러나 본 발명은 이하에서 게시되는 실시예들에 한정되는 것이 아니라 서로 다른 다양한 형태로 구현될 수 있으며, 단지 본 실시예들은 본 발명의 게시가 완전하도록 하고, 본 발명이 속하는 기술분야에서 통상의 지식을 가진 자에게 발명의 범주를 완전하게 알려주기 위해 제공되는 것이며, 본 발명은 청구항의 범주에 의해 정의될 뿐이다. 명세서 전체에 걸쳐 동일 참조 부호는 동일 구성 요소를 지칭한다.
다른 정의가 없다면, 본 명세서에서 사용되는 모든 용어(기술 및 과학적 용어를 포함)는 본 발명이 속하는 기술분야에서 통상의 지식을 가진 자에게 공통적으로 이해될 수 있는 의미로 사용될 수 있을 것이다. 또 일반적으로 사용되는 사전에 정의되어 있는 용어들은 명백하게 특별히 정의되어 있지 않는 한 이상적으로 또는 과도하게 해석되지 않는다.
본 명세서에서 사용된 용어는 실시예들을 설명하기 위한 것이며 본 발명을 제한하고자 하는 것은 아니다. 본 명세서에서, 단수형은 문구에서 특별히 언급하지 않는 한 복수형도 포함한다. 명세서에서 사용되는 "포함한다(comprises)" 및/또는 "포함하는(comprising)"은 언급된 구성요소 외에 하나 이상의 다른 구성요소의 존재 또는 추가를 배제하지 않는다.
우선, 도 1 및 도 2를 참조하여, 와이어 하네스 자동 검사의 대상이 되는 와이어 하네스 모듈(10)에 대해 설명한다. 도 1을 참조하면, 와이어 하네스 모듈(10)의 개략적인 구성을 나타낸 도면이 개시되고, 도 2를 참조하면, 도 1의 와이어 하네스 모듈(10)을 세부적으로 표현한 도면이 개시된다.
도 1을 참조하면, 와이어 하네스 모듈(10)은 전도성 바디부(11)와 전도성 바디부(11)에 연결된 적어도 하나의 와이어 하네스(12)(wire harness)를 포함할 수 있으며, 예컨대, 와이어 하네스 모듈(10)은 ESS 또는 ESS 컨테이너를 구성하는데 이용될 수 있지만, 이에 제한되지 않는다.
구체적으로, 와이어 하네스(12)의 일단은 전도성 바디부(11)에 연결될 수 있으며, 와이어 하네스(12)의 타단에는 커넥터(13)가 결합되어 있을 수 있다. 와이어 하네스 모듈(10)에 대한 검사를 위해서, 제1 지지판(120)은 하네스 모듈(10)과 연결되는 영역별로 적어도 2개 이상의 연결선(121)을 통해 하네스 모듈(10)과 연결될 수 있다. 예컨대, 전도성 바디부(11)에 2개 이상의 제1 연결선(121a)이 접하고 하나의 와이어 하네스(12)에 2개 이상의 제2 연결선(121b)이 연결될 수 있다.
여기서, 와이어 하네스 모듈(10)에 2개 이상의 제1 연결선(121a)과 2개 이상의 제2 연결선(121b)이 연결되는 것과 같이, 제1 지지판(120)은 하네스 모듈(10)과 연결되는 영역별로 적어도 2개 이상의 연결선(121)을 통해 하네스 모듈(10)과 연결되기 때문에, 와이어 하네스 모듈(10)의 저항 측정시 오차를 줄일 수 있기 때문에, 검사의 정밀도가 높아질 수 있다.
한편, 도 2를 참조하면, 와이어 하네스 모듈(10)은 복수의 영역(11a, 11b, 11c, 11d)을 포함할 수 있다. 후술하는 와이어 하네스 자동 검사 단계에서 와이어 하네스 모듈(10)의 각각의 영역에 대하여 검사가 이루어질 수 있다. 구체적으로, 와이어 하네스 모듈(10)의 각 영역마다 적어도 하나의 와이어 하네스(12)가 연결되어 있을 수 있기 때문에, 후술하는 와이어 하네스 자동 검사 단계에서 와이어 하네스 모듈(10)의 각 영역에 대한 저항 측정이 가능할 수 있다.
여기서, 제1 지지판(120)은 하네스 모듈(10)과 연결되는 영역별로 적어도 2개 이상의 연결선(121)을 통해 하네스 모듈(10)과 연결되는 것이 의미하는 것은, 와이어 하네스 모듈(10)의 각 영역마다 적어도 2개 이상의 제1 연결선(121a)이 연결될 수 있으며, 와이어 하네스 모듈(10)에 연결된 적어도 하나의 와이어 하네스(12) 각각에도 적어도 2개 이상의 제2 연결선(121b)이 연결될 수 있다는 의미이다.
그리고, 와이어 하네스 모듈(10)은 그 종류에 따라 어떻게 영역이 분할되었는지 여부가 달라질 수 있다. 따라서, 후술하는 본 발명의 일 실시예에 따른 와이어 하네스용 자동 검사 시험 장치(100)는 각각의 와이어 하네스 모듈(10)에 따라 최적화되도록 제1 연결선(121a)과 제2 연결선(121b)의 위치가 조정될 수 있다.
이하, 도 3 내지 도 5를 참조하여, 본 발명의 일 실시예에 따른 와이어 하네스용 자동 검사 시험 장치(100)를 설명한다. 도 3을 참조하면, 본 발명의 일 실시예에 따른 와이어 하네스용 자동 검사 시험 장치(100)의 개략적인 구성을 나타내는 도면이 개시되고, 도 4를 참조하면, 도 3의 와이어 하네스용 자동 검사 시험 장치(100)에서 제2 지지판(125)이 하강한 상태를 나타내는 도면이 개시되고, 도 5를 참조하면, 도 3의 와이어 하네스용 자동 검사 시험 장치에 도 1의 와이어 하네스 모듈을 위치시킨 도면이 개시된다.
도 3을 참조하면, 와이어 하네스용 자동 검사 시험 장치(100)는 하우징(110), 제1 지지판(120), 제2 지지판(125), 제2 지지판용 고정대(127), 릴레이(130), 제어모듈, 제2 지지판용 구동부(150) 및 가이드(155)를 포함할 수 있다. 다만, 몇몇 실시예에서 도 3에 도시된 구성요소보다 적거나 많은 구성요소를 이용하여 와이어 하네스용 자동 검사 시험 장치(100)를 구현할 수도 있다.
와이어 하네스용 자동 검사 시험 장치(100)는 해당 장치 내에 와이어 하네스 모듈(10)을 위치시키고 와이어 하네스 모듈(10)의 커넥터(13)와의 전기적인 연결을 통해 와이어 하네스 모듈(10)에 대한 와이어 하네스 검사를 수행할 수 있도록 구성되었다.
우선, 도 3을 참조하면, 하우징(110)은 와이어 하네스용 자동 검사 시험 장치(100)의 외관을 구성하는 것으로서, 와이어 하네스용 자동 검사 시험 장치(100)의 구성이 하우징(110)에 결합됨으로써 고정될 수 있다.
이어서, 제1 지지판(120)은 와이어 하네스 모듈(10)을 배치시킬 수 있는 구성으로서, 와이어 하네스 모듈(10)과 전기적으로 연결될 수 있다. 후술하는 제2 지지판(125)에 비해 하부에 위치하고 있으므로, 제1 지지판(120)은 하판일 수 있다.
와이어 하네스 모듈(10)의 지지를 위해, 제1 지지판(120)은 와이어 하네스 모듈(10)을 지지할 수 있는 복수의 지지핀(122)을 포함할 수 있다. 그리고, 복수의 지지핀(122)은 제1 지지판(120)의 상면에 형성됨으로써, 와이어 하네스 모듈(10)이 제1 지지판(120) 상에 배치되는 경우, 와이어 하네스 모듈(10)을 지지할 수 있다.
여기서, 지지핀(122)은 제1 연결선(121a)과 구별되는 것으로, 지지핀(122)은 와이어 하네스 모듈(10)의 고정을 위한 구성이고, 제1 연결선(121a)은 고정된 와이어 하네스 모듈(10)의 저항 측정을 위한 구성이다. 한편, 제1 연결선(121a)은 연결핀 형상일 수 있지만, 이에 제한되지 않는다.
그리고, 와이어 하네스 모듈(10)과의 전기적인 연결을 위해, 제1 지지판(120)은 와이어 하네스 모듈(10)과 전기적으로 연결될 수 있는 복수의 연결선(121)을 포함하고, 제1 지지판(120)은 와이어 하네스 모듈(10)과 연결되는 영역별로 적어도 2개 이상의 연결선(121)을 통해 와이어 하네스 모듈(10)과 연결될 수 있다. 예컨대, 제1 지지판(120)은 전도성 바디부(11)에 접할 수 있는 2개 이상의 제1 연결선(121a)과 와이어 하네스(12)의 커넥터(13)에 연결될 수 있는 2개 이상의 제2 연결선(121b)을 포함할 수 있다. 구체적으로, 도 5를 참조하면, 하나의 와이어 하네스(12)에는 적어도 2개 이상의 제1 연결선(121a)과 적어도 2개 이상의 제2 연결선(121b)이 연결될 수 있으며, 전술한 바와 같이, 이러한 연결을 통해 와이어 하네스 모듈(10)에 대한 검사 정밀도가 높아질 수 있다.
여기서, 제2 연결선(121b)은 저항 측정을 위한 기준점이 될 수 있다는 점에서 제1 연결선(121a)과 그 역할이 상이할 수 있다.
즉, 제1 연결선(121a)의 일단은 제1 지지판(120)의 상면에 고정 연결될 수 있으며, 제1 지지판(120)에 와이어 하네스 모듈(10)이 배치되면 2개 이상의 제1 연결선(121a)이 전도성 바디부(11)에 접할 수 있다. 그리고, 제2 연결선(121b)의 일단은 제1 지지판(120)의 상면에 고정 연결될 수 있으며, 제2 연결선(121b)의 타단은 와이어 하네스 검사 시에 와이어 하네스 모듈(10)의 와이어 하네스(12)에 연결될 수 있다.
이와 같이, 제1 연결선(121a)과 제2 연결선(121b)의 일단은 제1 지지판(120)의 상면에 고정 연결되기 때문에, 본 실시예에 따른 와이어 하네스용 자동 검사 시험 장치(100)를 이용하여 한 종류의 와이어 하네스 모듈(10)을 반복적으로 검사하는데 효율적일 수 있다.
여기서, 저항 수치는 측정 포인트 사이의 거리에 민감하게 변화하기 때문에, 와이어 하네스 모듈(10)과 연결되는 제1 연결선(121a)과 제2 연결선(121b)을 고정 배치시킴으로써 저항 수치 측정 정확도 및 정밀도를 높일 수 있다.
한편, 몇몇 실시예에서, 제1 지지판(120)은 와이어 하네스 모듈(10)의 와이어 하네스(12)의 배치에 대응되도록 제1 연결선(121a)과 제2 연결선(121b)의 일단이 제1 지지판(120)에 고정 연결되는 위치를 조정할 수 있지만, 이에 제한되지 않는다.
구체적으로, 도 2를 참조하면, 와이어 하네스 모듈(10)이 복수의 영역(11a, 11b, 11c, 11d)으로 나누어진 경우에, 각각의 영역(11a, 11b, 11c, 11d)에 2개 이상의 제1 연결선(121a)이 접할 수 있도록 제1 연결선(121a)의 위치가 조정될 수 있으며, 동일한 방식으로 연결선(121b)의 위치도 조정될 수 있다.
이 밖에, 와이어 하네스 검사를 위해 제1 지지판(120)은 적어도 2개의 와이어 하네스(12)와 연결될 수 있으며, 본 실시예에 따른 와이어 하네스용 자동 검사 시험 장치(100)에 따르면, 이렇게 와이어 하네스 모듈(10)과의 2개 이상의 접점을 확보함으로써, 와이어 하네스 모듈(10)의 저항을 측정할 수 있다.
또한, 도 5를 참조하면, 와이어 하네스 모듈(10)이 검사를 위해 와이어 하네스용 자동 검사 시험 장치(100)에 배치되었을 때, 와이어 하네스 모듈(10)의 귀퉁이에 접함으로써 수평방향 이동을 억제할 수 있도록, 제1 지지판(120)은 고정부(123)를 더 포함할 수 있다.
고정부(123)는 제1 및 제2 지지판(120, 125)과 함께 와이어 하네스 모듈(10)의 이동을 억제함으로써, 본 실시예에 따른 와이어 하네스용 자동 검사 시험 장치(100)는 와이어 하네스 모듈(10)을 고정시킨 상태에서 정밀한 검사를 진행할 수 있다. 다만, 몇몇 실시예에서, 고정부(123)는 제1 지지판(120)에 포함되지 않고, 제1 지지판(120)에 인접하여 배치될 수도 있다.
그리고, 본 실시예에 따른 와이어 하네스용 자동 검사 시험 장치(100)에 따르면, 제1 지지판(120)은 와이어 하네스용 자동 검사 시험 장치(100)에 착탈 가능할 수 있기 때문에, 와이어 하네스 검사를 진행하려는 와이어 하네스 모듈(10)에 연결되기에 적합한 구조를 가지는 제1 지지판(120)을 선택하여 와이어 하네스용 자동 검사 시험 장치(100)에 결합시킴으로써, 좀더 효과적인 와이어 하네스 검사가 가능할 수 있다.
이어서, 제2 지지판(125)은 제1 지지판(120)의 상부에 위치하며 수직방향의 이동이 가능할 수 있다. 예컨대, 제2 지지판(125)은 하우징(110)에 연결된 제2 지지판용 고정대(127)에 결합될 수 있으며, 제2 지지판용 고정대(127)에 형성된 가이드라인을 통해 제2 지지판(125)이 제2 지지판용 고정대(127)에 삽입될수 있지만, 결합 방법은 이에 제한되지 않는다.
그리고, 제2 지지판용 고정대(127)에는 제2 지지판용 구동부(150)가 결합되어 있기 ‹š문에, 제2 지지판용 구동부(150)의 구동에 따라 제2 지지판용 고정대(127)가 이동하고, 이에 다라 제2 지지판(125)이 수직방향의 이동을 할 수 있다. 제2 지지판용 구동부(150)의 양 옆에는 가이드(155)가 형성되고, 가이드(155)는 제2 지지판용 고정대(127)에 연결되어 있기 때문에, 제2 지지판용 구동부(150)에 따른 제2 지지판용 고정대(127)의 이동시, 제2 지지판용 고정대(127)가 가이드(155)에 의해 안정되게 수직이동할 수 있다.
한편, 도 5를 참조하면, 제2 지지판(125)의 수직방향의 이동에 따라 와이어 하네스 모듈(10)의 상하면은 각각 제2 지지판(125) 및 제1 지지판(120)에 의해 접할 수 있으며, 이에 따라 와이어 하네스 모듈(10)이 고정될 수 있다. 따라서, 본 실시예에 따른 와이어 하네스용 자동 검사 시험 장치(100)는 와이어 하네스 모듈(10)을 고정시킨 상태에서 정밀한 검사를 진행할 수 있다.
이어서, 릴레이(130)(relay)는 스위칭 동작에 의해 제1 지지판(120)의 각 제1 연결선(121a)과 제2 연결선(121b)과의 연결 여부를 정할 수 있다. 와이어 하네스 모듈(10)의 각 와이어 하네스(12)는 모두 제1 지지판(120)의 제1 연결선(121a)과 제2 연결선(121b)과 연결될 수 있다.
즉, 릴레이(130)의 스위칭 동작에 따라 와이어 하네스용 자동 검사 시험 장치(100)가 제1 지지판(120)의 각 제1 연결선(121a)과 제2 연결선(121b)과 전기적으로 연결되는지 단절되는지가 결정될 수 있으며, 이에 따라 와이어 하네스 모듈(10)의 타겟이 되는 영역에 연결된 연결선(121b)과의 전기적 연결만을 남김으로써, 원하는 영역에 대한 저항 측정이 가능할 수 있다.
이어서, 제어 모듈(140)은 릴레이(130) 내의 스위칭 동작을 제어할 수 있으며, 제어 모듈(140)은 와이어 하네스 모듈(10)의 복수의 영역에 대하여 저항 측정이 가능하도록 릴레이(130) 내의 스위칭 동작을 제어할 수 있다.
이어서, 제2 지지판용 구동부(150)은 액츄에이터 또는 스텝 모터로 구성될 수 있지만, 이에 제한되지 않는다.
따라서, 본 실시예에 따른 와이어 하네스용 자동 검사 시험 장치(100)를 이용하면 와이어 하네스 자동 검사 단계를 자동으로 손쉽게 진행할 수 있으며, 검사의 효율성 및 정확도도 높일 수 있다.
이하, 도 6을 참조하여, 본 발명의 다른 실시예에 따른 와이어 하네스용 자동 검사 시험 장치(100)를 설명한다. 다만, 본 발명의 일 실시예에 따른 와이어 하네스용 자동 검사 시험 장치(100)와의 차이점을 위주로 설명한다. 도 6를 참조하면, 본 발명의 다른 실시예에 따른 와이어 하네스용 자동 검사 시험 장치(100)의 개략적인 구성을 나타내는 도면이 개시된다.
도 6를 참조하면, 본 발명의 다른 실시예에 따른 와이어 하네스용 자동 검사 시험 장치(100)에 따르면, 와이어 하네스용 자동 검사 시험 장치(100)가 저항 측정부(160)를 포함할 수 있다. 따라서, 저항 측정부(160)에서 와이어 하네스 모듈(10)의 각 영역에 대한 저항을 계측할 수 있으므로, 저항 측정기(300)를 별도로 구성하지 않을 수 있다.
이하, 도 7을 참조하여, 본 발명의 일 실시예에 따른 와이어 하네스용 자동 검사 시험 시스템을 설명한다. 도 7을 참조하면, 본 발명의 일 실시예에 따른 와이어 하네스용 자동 검사 시험 시스템의 개략적인 구성을 나타내는 도면이 개시된다.
도 7을 참조하면, 본 발명의 일 실시예에 따른 와이어 하네스용 자동 검사 시험 시스템은 와이어 하네스용 자동 검사 시험 장치(100)와 제어 단말(200)을 포함할 수 있다. 예컨대, 와이어 하네스용 자동 검사 시험 시스템은 저항 측정부(160)를 포함할 수 있으며, 와이어 하네스용 자동 검사 시험 장치(100)는 측정된 저항값을 제어 단말(200)로 전송할 수 있다. 이를 위해, 와이어 하네스용 자동 검사 시험 장치(100)는 유무선의 통신부(미도시)를 포함할 수 있지만, 이에 제한되지 않는다.
제어 단말(200)은 와이어 하네스용 자동 검사 시험 장치(100)를 제어하는 것으로서, 예컨대 와이어 하네스용 자동 검사 시험 장치(100)의 제어 모듈(140)에 대한 제어가 가능할 수 있다. 제어 단말(200)은 와이어 하네스용 자동 검사 시험 장치(100)로부터 계측된 저항값을 수신하고 분석함으로써 미리 지정된 기준값과의 비교를 통해 해당 와이어 하네스 모듈(10)이 양품인지 여부를 판단할 수 있다.
이 밖에, 제어 단말(200)은 필요에 따라 와이어 하네스용 자동 검사 시험 장치(100)의 릴레이(130)를 수동 제어할 수 있으며, 제2 지지판용 구동부(150)를 제어할 수 있고, 와이어 하네스용 자동 검사 시험 장치(100)의 작동 상태를 파악하고 관리할 수 있다.
이하, 도 8을 참조하여, 본 발명의 다른 실시예에 따른 와이어 하네스용 자동 검사 시험 시스템을 설명한다. 다만, 본 발명의 일 실시예에 따른 와이어 하네스용 자동 검사 시험 시스템과의 차이점을 위주로 설명한다. 도 8을 참조하면, 본 발명의 다른 실시예에 따른 와이어 하네스용 자동 검사 시험 시스템의 개략적인 구성을 나타내는 도면이 개시된다.
도 8을 참조하면, 와이어 하네스용 자동 검사 시험 시스템은 와이어 하네스용 자동 검사 시험 장치(100)와 연결되어 와이어 하네스 모듈(10)에 대한 저항을 측정하는 저항 측정기(300)를 포함할 수 있다. 따라서, 와이어 하네스용 자동 검사 시험 장치(100)는 측정 정보를 저항 측정기(300)에 전송하고 저항 측정기(300)에서 와이어 하네스 모듈(10)에 대한 저항값을 계산할 수 있다.
이렇게 저항 측정기(300)에서 계측된 정보는 제어 단말(200)로 전송되어 제어 단말(200)에서 와이어 하네스 모듈(10)에 대한 양품 판정이 수행될 수 있다.
이하, 도 9 및 도 10을 참조하여, 본 발명의 실시예들에 따른 와이어 하네스용 자동 검사 시험 장치(100)의 검사 대상이 되는 와이어 하네스 (20)를 설명한다. 도 9 및 도 10을 참조하면, 와이어 하네스의 실시예가 도시된다.
도 1에는 와이어 하네스(12)의 일단에 전도성 바디부(11)가 연결되는 것으로 도시되었지만, 도 9 및 도 10을 참조하면, 전도성 바디부(21)는 와이어 하네스(20)에 포함되는 하나의 구성일 수 있다. 즉, 와이어 하네스(20)는 전도성 바디부(21), 와이어 하네스 라인(22) 및 커넥터(23)를 포함할 수 있다.
이러한 와이어 하네스(20)는 와이어 하네스 모듈(10)과 마찬가지로 와이어 하네스용 자동 검사 시험 장치의 검사 대상이 될 수 있으며, 와이어 하네스 모듈(10)과 동일한 방식으로 와이어 하네스(20)는 와이어 하네스용 자동 검사 시험 장치에 의해 검사될 수 있다. 여기서, 도 1의 전도성 바디부(11)는 도 9의 전도성 바디부(21)에 대응되고, 도 1의 와이어 하네스(12)는 도 9의 와이어 하네스(22)에 대응되고, 도 1의 커넥터(23)는 도 9의 커넥터(23)에 대응될 수 있다.
이상 첨부된 도면을 참조하여 본 발명의 실시예들을 설명하였지만, 본 발명이 속하는 기술분야에서 통상의 지식을 가진 자는 본 발명이 그 기술적 사상이나 필수적인 특징을 변경하지 않고서 다른 구체적인 형태로 실시될 수 있다는 것을 이해할 수 있을 것이다. 그러므로 이상에서 기술한 실시예들은 모든 면에서 예시적인 것이며 한정적이 아닌 것으로 이해해야만 한다.
10: 와이어 하네스 모듈 11: 전도성 바디부
12: 와이어 하네스 13: 커넥터
20: 와이어 하네스 21: 전도성 바디부
22: 와이어 하네스 라인 23: 커넥터
100: 와이어 하네스용 자동 검사 시험 장치
110: 하우징 120: 제1 지지판
121a: 제1 연결선 121b: 제2 연결선
122: 지지핀 123: 고정부
125: 제2 지지판 127: 제2 지지판용 고정대
130: 릴레이 140: 제어 모듈
150: 제2 지지판용 구동부 155: 가이드
160: 저항 측정부 200: 제어 단말
300: 저항 측정기

Claims (9)

  1. 전도성 바디부와 상기 전도성 바디부에 연결된 적어도 하나의 와이어 하네스(wire harness)를 포함하는 와이어 하네스 모듈에 대한 불량 여부를 검사할 수 있는 와이어 하네스용 자동 검사 시험 장치로서, 상기 와이어 하네스의 일단은 상기 전도성 바디부에 연결되고 상기 와이어 하네스의 타단에는 커넥터가 결합되어 있는 것인, 와이어 하네스용 자동 검사 시험 장치에 있어서,
    상기 와이어 하네스 모듈을 배치시킬 수 있는 제1 지지판으로서, 상기 제1 지지판은 상기 와이어 하네스 모듈과 전기적으로 연결될 수 있는 복수의 연결선을 포함하고, 상기 제1 지지판은 상기 와이어 하네스 모듈과 연결되는 영역별로 적어도 2개 이상의 연결선을 통해 상기 와이어 하네스 모듈과 연결되는 것인, 제1 지지판;
    스위칭 동작에 의해 상기 제1 지지판의 각 연결선과의 연결 여부가 정해지는 릴레이(relay); 및
    상기 릴레이 내의 스위칭 동작을 제어하는 제어 모듈로서, 상기 제어 모듈은 상기 와이어 하네스 모듈의 복수의 영역에 대하여 저항 측정이 가능하도록 상기 릴레이 내의 스위칭 동작을 제어하는 것인, 제어 모듈
    을 포함하는 와이어 하네스용 자동 검사 시험 장치.
  2. 제1항에 있어서,
    상기 복수의 연결선은 상기 전도성 바디부에 접할 수 있는 2개 이상의 제1 연결선과 상기 와이어 하네스의 커넥터에 연결될 수 있는 2개 이상의 제2 연결선을 포함하고, 상기 제1 지지판에 상기 와이어 하네스 모듈이 배치되면 상기 2개 이상의 제1 연결선이 상기 전도성 바디부에 접하고 하나의 상기 와이어 하네스에는 적어도 2개 이상의 제2 연결선이 연결되고, 상기 제1 및 제2 연결선의 일단은 상기 제1 지지판의 상면에 고정 연결된 것인, 와이어 하네스용 자동 검사 시험 장치.
  3. 제2항에 있어서,
    상기 제1 지지판은 상기 와이어 하네스용 자동 검사 시험 장치에 착탈 가능한 것인, 와이어 하네스용 자동 검사 시험 장치.
  4. 제2항에 있어서,
    상기 제1 지지판은 상기 와이어 하네스 모듈의 상기 와이어 하네스의 배치에 대응되도록 상기 제1 연결선과 상기 제2 연결선의 일단이 상기 제1 지지판에 고정 연결되는 위치를 조정할 수 있는 것인, 와이어 하네스용 자동 검사 시험 장치.
  5. 제1항에 있어서,
    상기 제1 지지판의 상부에 위치하며 수직방향의 이동이 가능한 제2 지지판
    을 더 포함하고,
    상기 제2 지지판의 수직방향의 이동에 따라 상기 와이어 하네스 모듈의 상하면은 각각 상기 제2 지지판 및 상기 제1 지지판에 의해 접함으로써, 상기 와이어 하네스 모듈이 고정되는 것인, 와이어 하네스용 자동 검사 시험 장치.
  6. 제1항에 있어서,
    상기 릴레이와 연결되어 상기 와이어 하네스 모듈에 대한 저항을 측정하는 측정 모듈
    을 더 포함하는 것인, 와이어 하네스용 자동 검사 시험 장치.
  7. 제1항 내지 제6항 중 어느 하나의 항에 기재된 와이어 하네스용 자동 검사 시험 장치; 및
    상기 와이어 하네스용 자동 검사 시험 장치를 제어하는 제어 단말로서, 상기 제어 모듈에 대한 제어가 가능한 것인, 제어 단말
    을 포함하는 와이어 하네스용 자동 검사 시험 시스템.
  8. 제1항 내지 제6항 중 어느 하나의 항에 기재된 와이어 하네스용 자동 검사 시험 장치;
    상기 와이어 하네스용 자동 검사 시험 장치와 연결되어 상기 와이어 하네스 모듈에 대한 저항을 측정하는 저항 측정기; 및
    상기 와이어 하네스용 자동 검사 시험 장치를 제어하는 제어 단말로서, 상기 제어 모듈에 대한 제어가 가능한 것인, 제어 단말
    을 포함하는 와이어 하네스용 자동 검사 시험 시스템.
  9. 전도성 바디부와 상기 전도성 바디부에 연결된 적어도 하나의 와이어 하네스 라인을 포함하는 와이어 하네스에 대한 불량 여부를 검사할 수 있는 와이어 하네스용 자동 검사 시험 장치로서, 상기 와이어 하네스 라인의 일단은 상기 전도성 바디부에 연결되고 상기 와이어 하네스 라인의 타단에는 커넥터가 결합되어 있는 것인, 와이어 하네스용 자동 검사 시험 장치에 있어서,
    상기 와이어 하네스를 배치시킬 수 있는 제1 지지판으로서, 상기 제1 지지판은 상기 와이어 하네스와 전기적으로 연결될 수 있는 복수의 연결선을 포함하고, 상기 제1 지지판은 상기 와이어 하네스와 연결되는 영역별로 적어도 2개 이상의 연결선을 통해 상기 와이어 하네스와 연결되는 것인, 제1 지지판;
    스위칭 동작에 의해 상기 제1 지지판의 각 연결선과의 연결 여부가 정해지는 릴레이(relay); 및
    상기 릴레이 내의 스위칭 동작을 제어하는 제어 모듈로서, 상기 제어 모듈은 상기 와이어 하네스의 복수의 영역에 대하여 저항 측정이 가능하도록 상기 릴레이 내의 스위칭 동작을 제어하는 것인, 제어 모듈
    을 포함하는 와이어 하네스용 자동 검사 시험 장치.
KR1020160098185A 2015-07-31 2016-08-01 와이어 하네스용 자동 검사 시험 장치 및 이를 포함하는 와이어 하네스용 자동 검사 시험 시스템 Expired - Fee Related KR101823001B1 (ko)

Applications Claiming Priority (2)

Application Number Priority Date Filing Date Title
KR20150108586 2015-07-31
KR1020150108586 2015-07-31

Publications (2)

Publication Number Publication Date
KR20170015266A true KR20170015266A (ko) 2017-02-08
KR101823001B1 KR101823001B1 (ko) 2018-01-30

Family

ID=58155538

Family Applications (1)

Application Number Title Priority Date Filing Date
KR1020160098185A Expired - Fee Related KR101823001B1 (ko) 2015-07-31 2016-08-01 와이어 하네스용 자동 검사 시험 장치 및 이를 포함하는 와이어 하네스용 자동 검사 시험 시스템

Country Status (1)

Country Link
KR (1) KR101823001B1 (ko)

Cited By (2)

* Cited by examiner, † Cited by third party
Publication number Priority date Publication date Assignee Title
CN110095678A (zh) * 2019-05-07 2019-08-06 武汉辉天同康科技有限公司 一种电子连接器线缆检测装置
KR20250089828A (ko) * 2023-12-12 2025-06-19 서수형 테스트용 와이어 하네스 검사장치 및 방법

Families Citing this family (1)

* Cited by examiner, † Cited by third party
Publication number Priority date Publication date Assignee Title
KR20250055017A (ko) 2023-10-17 2025-04-24 지엠비코리아 주식회사 전선 시험장치

Family Cites Families (2)

* Cited by examiner, † Cited by third party
Publication number Priority date Publication date Assignee Title
KR100439973B1 (ko) * 2004-02-13 2004-07-12 주식회사 세원이씨에스 자동차용 와이어 하네스 검사지그
KR100622695B1 (ko) * 2005-06-09 2006-09-11 김용선 와이어 하네스 양불 검사 시스템 및 방법

Cited By (3)

* Cited by examiner, † Cited by third party
Publication number Priority date Publication date Assignee Title
CN110095678A (zh) * 2019-05-07 2019-08-06 武汉辉天同康科技有限公司 一种电子连接器线缆检测装置
CN110095678B (zh) * 2019-05-07 2021-11-05 武汉辉天同康科技有限公司 一种电子连接器线缆检测装置
KR20250089828A (ko) * 2023-12-12 2025-06-19 서수형 테스트용 와이어 하네스 검사장치 및 방법

Also Published As

Publication number Publication date
KR101823001B1 (ko) 2018-01-30

Similar Documents

Publication Publication Date Title
CN110133429B (zh) 裸露式触点插头的多线程探针接触式检测装置
CN107219398B (zh) 电阻测试装置
KR101421051B1 (ko) 반도체 검사장치
CN101101314B (zh) 显示面板的测试治具及测试方法
KR101823001B1 (ko) 와이어 하네스용 자동 검사 시험 장치 및 이를 포함하는 와이어 하네스용 자동 검사 시험 시스템
CN104614610A (zh) 一种测试pcba的模块化针床工装
CN112068042B (zh) 焊接金属片测试机构和测试方法
CN113253100B (zh) 一种测试装置和检测系统
CN110488141B (zh) 变压器测试装置
KR101671791B1 (ko) 레귤레이터용 단자높이 검사장치
KR20020025786A (ko) 반도체 시험장치용 캘리브레이션 장치, 캘리브레이션 방법및 반도체시험장치
CN108469583A (zh) 一种ict测试仪
JP6918659B2 (ja) 回路基板検査装置
CA2954151C (en) Method and device for testing the connections of batteries
CN111060769B (zh) 一种测试系统和测试方法
JP6618826B2 (ja) 回路基板検査装置
CN117849685A (zh) 一种基于弹簧针的探针卡测试装置、测试方法和测试系统
CN210442481U (zh) 电路板检测装置
CN115951288A (zh) 电容校准系统、方法、设备及存储介质
KR101669558B1 (ko) 차량용 발전기의 레귤레이터용 내전압 검사장치
KR101743922B1 (ko) 이어잭 어셈블리 검사장치
KR20170082357A (ko) Led칩 검사용 지그장치
KR101827303B1 (ko) 다중 전류변성기 시험 지그
CN118068087B (zh) 一种可拆卸的电阻测量装置
CN219918939U (zh) 一种测试装置

Legal Events

Date Code Title Description
A201 Request for examination
PA0109 Patent application

St.27 status event code: A-0-1-A10-A12-nap-PA0109

PA0201 Request for examination

St.27 status event code: A-1-2-D10-D11-exm-PA0201

P11-X000 Amendment of application requested

St.27 status event code: A-2-2-P10-P11-nap-X000

P13-X000 Application amended

St.27 status event code: A-2-2-P10-P13-nap-X000

PG1501 Laying open of application

St.27 status event code: A-1-1-Q10-Q12-nap-PG1501

E902 Notification of reason for refusal
PE0902 Notice of grounds for rejection

St.27 status event code: A-1-2-D10-D21-exm-PE0902

E13-X000 Pre-grant limitation requested

St.27 status event code: A-2-3-E10-E13-lim-X000

P11-X000 Amendment of application requested

St.27 status event code: A-2-2-P10-P11-nap-X000

P13-X000 Application amended

St.27 status event code: A-2-2-P10-P13-nap-X000

E701 Decision to grant or registration of patent right
PE0701 Decision of registration

St.27 status event code: A-1-2-D10-D22-exm-PE0701

GRNT Written decision to grant
PR0701 Registration of establishment

St.27 status event code: A-2-4-F10-F11-exm-PR0701

PR1002 Payment of registration fee

St.27 status event code: A-2-2-U10-U11-oth-PR1002

Fee payment year number: 1

PG1601 Publication of registration

St.27 status event code: A-4-4-Q10-Q13-nap-PG1601

R17-X000 Change to representative recorded

St.27 status event code: A-5-5-R10-R17-oth-X000

PR1001 Payment of annual fee

St.27 status event code: A-4-4-U10-U11-oth-PR1001

Fee payment year number: 4

P22-X000 Classification modified

St.27 status event code: A-4-4-P10-P22-nap-X000

PR1001 Payment of annual fee

St.27 status event code: A-4-4-U10-U11-oth-PR1001

Fee payment year number: 5

R18-X000 Changes to party contact information recorded

St.27 status event code: A-5-5-R10-R18-oth-X000

PR1001 Payment of annual fee

St.27 status event code: A-4-4-U10-U11-oth-PR1001

Fee payment year number: 6

PR1001 Payment of annual fee

St.27 status event code: A-4-4-U10-U11-oth-PR1001

Fee payment year number: 7

PC1903 Unpaid annual fee

St.27 status event code: A-4-4-U10-U13-oth-PC1903

Not in force date: 20250124

Payment event data comment text: Termination Category : DEFAULT_OF_REGISTRATION_FEE

R18-X000 Changes to party contact information recorded

St.27 status event code: A-5-5-R10-R18-oth-X000

PC1903 Unpaid annual fee

St.27 status event code: N-4-6-H10-H13-oth-PC1903

Ip right cessation event data comment text: Termination Category : DEFAULT_OF_REGISTRATION_FEE

Not in force date: 20250124